JP4203441B2 - Tower crane support device and construction method thereof - Google Patents

Tower crane support device and construction method thereof Download PDF

Info

Publication number
JP4203441B2
JP4203441B2 JP2004090751A JP2004090751A JP4203441B2 JP 4203441 B2 JP4203441 B2 JP 4203441B2 JP 2004090751 A JP2004090751 A JP 2004090751A JP 2004090751 A JP2004090751 A JP 2004090751A JP 4203441 B2 JP4203441 B2 JP 4203441B2
Authority
JP
Japan
Prior art keywords
frame
tower crane
bracket
vertical member
support device
Prior art date
Legal status (The legal status is an assumption and is not a legal conclusion. Google has not performed a legal analysis and makes no representation as to the accuracy of the status listed.)
Expired - Fee Related
Application number
JP2004090751A
Other languages
Japanese (ja)
Other versions
JP2005272116A (en
Inventor
繁 井上
義延 望月
亮 水谷
圭司 河原
Current Assignee (The listed assignees may be inaccurate. Google has not performed a legal analysis and makes no representation or warranty as to the accuracy of the list.)
Kajima Corp
Original Assignee
Kajima Corp
Priority date (The priority date is an assumption and is not a legal conclusion. Google has not performed a legal analysis and makes no representation as to the accuracy of the date listed.)
Filing date
Publication date
Application filed by Kajima Corp filed Critical Kajima Corp
Priority to JP2004090751A priority Critical patent/JP4203441B2/en
Publication of JP2005272116A publication Critical patent/JP2005272116A/en
Application granted granted Critical
Publication of JP4203441B2 publication Critical patent/JP4203441B2/en
Anticipated expiration legal-status Critical
Expired - Fee Related legal-status Critical Current

Links

Images

Landscapes

  • Conveying And Assembling Of Building Elements In Situ (AREA)
  • Jib Cranes (AREA)

Description

本発明は、昇降機能付タワークレーンの架台を、建物の躯体で支持する支持装置及びその支持装置の構築方法に関する。   The present invention relates to a support device that supports a frame of a tower crane with an elevating function with a housing of a building and a method for constructing the support device.

従来の昇降機能付クライミングタワークレーン(以下タワークレーンという)において、そのマスト部を支持する架台は建物の躯体を利用して支持しているが、支持手段は架台を梁部材に載置して支持している。しかし、昨今の超高層RC建築物では、柱及び梁部材は施工期間を短縮させるため予め工場で製造するPCa化され、且つ強固な壁やコア壁を設けたものは梁の断面の大きさは小さくされ、スレンダー化されている。従って、建物の全体構造としては何等問題はないが、小さな梁にクレーン架台をそのまま支持させることは不可能となっている。   In a conventional climbing tower crane with a lifting function (hereinafter referred to as a tower crane), the gantry supporting the mast part is supported using the building frame, but the supporting means is supported by placing the gantry on a beam member. is doing. However, in recent high-rise RC buildings, columns and beam members are made into PCa that is manufactured in advance in the factory in order to shorten the construction period, and those with strong walls and core walls are the size of the cross section of the beam It is small and slender. Accordingly, there is no problem with the overall structure of the building, but it is impossible to support the crane mount on a small beam as it is.

上記のような場合、クレーン架台が載る梁自体を予め強固に設計する対策が採用されている。
特開平6−156982号公報 特許第2942054号 特開平11−301973号公報 上記特許文献1は、柱に顎を取り付け、該顎で架台を支持しながら尺取虫のようにタワークレーンを順次上方へ上げていく施工方法である。 また、特許文献2は、柱にブラケットを仮設し、該ブラケット上に走行クレーンのレールを敷設し、該走行クレーンの荷重を柱で受ける支持手段が開示されている。更に、特許文献3は、壁に埋設された鉄骨柱に顎を取り付け、該顎の上に架台を設置している。この支持手段も上記同様、尺取虫のように少しずつクレーンを上昇させていくものである。
In such a case, a countermeasure is adopted in which the beam itself on which the crane mount is placed is designed in advance firmly.
JP-A-6-156882 Japanese Patent No. 2942054 Japanese Patent Laid-Open No. 11-301973 is a construction method in which a jaw is attached to a pillar, and a tower crane is sequentially lifted upward like a scale insect while supporting a gantry with the jaw. Further, Patent Document 2 discloses a support means for temporarily mounting a bracket on a pillar, laying a rail of a traveling crane on the bracket, and receiving the load of the traveling crane with the pillar. Further, in Patent Document 3, a jaw is attached to a steel column embedded in a wall, and a mount is installed on the jaw. Similarly to the above, this support means also lifts the crane little by little like a scale insect.

上記のように、RC造においては、梁が強度的に弱く構築されることが多く、タワークレーンを設置するためには該タワークレーンの基盤を大きくして荷重を分散して、集中荷重を小さくする工夫がなされている。しかし、梁が極端に弱い場合には、上記手段によっても積載荷重のオーバーにより設置が困難なことが生じ、該梁の補強が必要となる。
また、S造においても、上記同様に梁が強度的に弱い場合、相当な補強を必要とする。更に、その補強部分は、後に撤去する場合が多く、余分な部材の調達と無駄な施工を余儀なくされていた。
As described above, in RC construction, beams are often constructed with weak strength, and in order to install a tower crane, the tower crane base is enlarged to distribute the load and reduce the concentrated load. The idea to do is made. However, when the beam is extremely weak, it becomes difficult to install due to the overloading load even by the above means, and the beam needs to be reinforced.
Also in the S structure, if the beam is weak in strength as described above, considerable reinforcement is required. In addition, the reinforcing portion is often removed later, which necessitates procurement of extra members and useless construction.

更に、上記特許文献のように、柱にブラケットを取り付け、該ブラケットに架台を設けてタワークレーンを支持する施工方法は知られているが、いずれのものも尺取虫のようにしてタワークレーンを上方へ移動させることをその対象としているものであり、架台にかかる荷重をすみやかに柱部材や壁部材等の垂直部材へ移動させることを意図するものではなかった。
また、該垂直部材とブラケットの取付構造及びその施工方法については開示も示唆もされていなかった。
Furthermore, as in the above-mentioned patent document, a construction method is known in which a bracket is attached to a pillar and a stand is provided on the bracket to support the tower crane. It is intended to be moved, and is not intended to promptly move a load applied to the gantry to a vertical member such as a column member or a wall member.
In addition, there has been no disclosure or suggestion about the mounting structure of the vertical member and the bracket and the construction method thereof.

本発明は、上記課題を解決したもので、タワークレーンの架台を建物の躯体で支持する支持装置において、建物の躯体となる垂直部材表面にPC鋼棒によりブラケットを固定し、該垂直部材間のブラケットの上面に一方の架台となる仮設受け梁を架け渡し、該仮設受け梁の上方に位置する躯体梁上にタワークレーン側の他方の架台を該躯体梁間に跨るように設置し、上記仮設受け梁とタワークレーン側の架台との間をPC鋼棒により強固に連結して躯体梁を補強してなるタワークレーンの支持装置を特徴とする。 The present invention solves the above-mentioned problem. In a support device for supporting a tower crane frame with a building frame, a bracket is fixed to a surface of a vertical member that is a building frame by a PC steel rod, and the space between the vertical members is fixed. A temporary receiving beam serving as one frame is bridged on the upper surface of the bracket, and the other frame on the tower crane side is installed on the frame beam positioned above the temporary beam so as to straddle the frame beam. The tower crane support device is characterized in that the beam is reinforced with a steel beam between the beam and the tower crane side frame to reinforce the frame beam.

また、仮設受け梁とタワークレーン側の架台との間は、間隔を保持するスペーサ及び躯体梁を含めPC鋼棒により強固に連結してなるタワークレーンの支持装置を特徴とする。 Further, the tower crane support device is characterized in that the temporary support beam and the tower crane-side mount are firmly connected by a PC steel rod including a spacer and a frame beam for maintaining a gap.

更に、上記垂直部材は、柱部材又は壁部材であるタワークレーンの支持装置を特徴とする。   Further, the vertical member is characterized by a tower crane support device which is a column member or a wall member.

また、タワークレーンの架台を建物の躯体で支持する支持装置の構築方法において、ブラケットの取付板を建物の躯体となる垂直部材に配設し、該垂直部材の反対側に配設した取付板とPC鋼棒で連結し、該PC鋼棒を引張して固定することによりブラケットを該垂直部材に固定し、その後、該ブラケットの上面に一方の架台となる仮設受け梁を架け渡し、該仮設受け梁の上方に位置する躯体梁上にタワークレーン側の他方の架台を該躯体梁間に跨るように設置し、その後、該仮設受け梁とタワークレーン側の架台とが一体となるように躯体梁を挟むようにしてPC鋼棒により強固に連結して躯体梁を補強したタワークレーンの支持装置の構築方法を特徴とする。 Further, in a method of constructing a support device for supporting a tower crane stand with a building frame , a bracket mounting plate is disposed on a vertical member serving as a building frame, and a mounting plate disposed on the opposite side of the vertical member; The bracket is fixed to the vertical member by connecting with a PC steel rod, and the PC steel rod is pulled and fixed, and then a temporary receiving beam serving as one frame is bridged on the upper surface of the bracket. Install the other frame on the tower crane side so as to straddle the frame beam on the frame beam located above the beam, and then mount the frame beam so that the temporary support beam and the frame on the tower crane side are integrated. It is characterized by a construction method for a tower crane support device in which a steel beam is reinforced by sandwiching it firmly with a PC steel rod.

更に、タワークレーンの架台を建物の躯体で支持する支持装置の構築方法において、建物の躯体となる垂直部材に予めインサートを埋設し、該垂直部材の表面にブラケットの取付板を配設し、該取付板の孔よりインサートへボルトを挿通して該ブラケットを仮止めし、その後、PC鋼棒を垂直部材の反対側の取付板と連結引張して固定することによりブラケットを該垂直部材に固定し、該ブラケットの上面に一方の架台となる仮設受け梁を架け渡し、該仮設受け梁の上方に位置する躯体梁上にタワークレーン側の他方の架台を該躯体梁間に跨るように設置し、その後、該仮設受け梁とタワークレーン側の架台とが一体となるように躯体梁を挟むようにしてPC鋼棒により強固に連結して躯体梁を補強したタワークレーンの支持装置の構築方法を特徴とする。 Furthermore, in the construction method of the support device for supporting the tower crane stand with the building frame, an insert is embedded in advance in the vertical member that becomes the building frame, and a bracket mounting plate is disposed on the surface of the vertical member, The bracket is fixed to the vertical member by inserting a bolt into the insert from the hole of the mounting plate and temporarily fixing the bracket, and then connecting and pulling the PC steel rod to the mounting plate on the opposite side of the vertical member. Then, a temporary receiving beam serving as one gantry is bridged on the upper surface of the bracket, and the other gantry on the tower crane side is installed on the frame beam positioned above the temporary receiving beam so as to straddle between the gantry beams. , how to build a supporting device for tower cranes and the gantry of the temporary receiving beam and the tower crane side is reinforced firmly connected skeleton beams by PC steel rod so as to sandwich the building frame beam so as to be integrated And features.

また、上記建物の躯体となる垂直部材は、柱部材又は壁部材であるタワークレーンの支持装置の構築方法を特徴とする。 Moreover, the vertical member used as the housing of the said building is characterized by the construction method of the support apparatus of the tower crane which is a pillar member or a wall member.

本発明は、タワークレーンの架台を支持するブラケットを建物の躯体となる柱部材或いは耐力壁等の垂直部材に取り付けるので、タワークレーンの荷重を該垂直部材で支持することが可能となり、従来の梁支持による梁の補強が不要となった。また、大荷重の支持も可能となった。   In the present invention, since the bracket for supporting the tower crane stand is attached to a vertical member such as a pillar member or a load bearing wall which is a building frame, the load of the tower crane can be supported by the vertical member. Reinforcement of the beam by support became unnecessary. In addition, a large load can be supported.

更に、荷重の支持が、PC鋼棒を利用した取付プレートと垂直部材との摩擦力で行うことができ、従来のボルトに集中荷重がかかり、該ボルト周辺のコンクリート面を破壊することがなく、この点からも大荷重を支持することが可能となった。   Furthermore, the load can be supported by the frictional force between the mounting plate using the PC steel bar and the vertical member, the concentrated load is applied to the conventional bolt, and the concrete surface around the bolt is not destroyed, From this point, it was possible to support a large load.

また、コッターのせん断を利用して荷重を支持することができ、上記摩擦力による支持と併用することが可能となり、荷重の支持を分散させることができ、この点からも大荷重を支持することが可能となった。   Also, the load can be supported using the shear of the cotter, and it can be used in combination with the above-mentioned frictional force support, so that the load support can be dispersed. Became possible.

更に、摩擦力による支持、摩擦力とコッターによる支持に加え、ボルトのせん断力による支持も併用することが可能であり、荷重支持の分散を可能とし、この点からも大荷重の支持を可能とした。   Furthermore, in addition to support by frictional force, support by frictional force and cotter, support by shearing force of bolts can be used in combination, and load support can be dispersed, which also makes it possible to support heavy loads. did.

また、梁と垂直部材とにより荷重支持する場合、梁端部直下の垂直部材にブラケットを取着することにより、タワークレーンの荷重を梁から垂直部材へ容易に伝えることが可能となった。   In addition, when the load is supported by the beam and the vertical member, it is possible to easily transmit the load of the tower crane from the beam to the vertical member by attaching a bracket to the vertical member directly below the beam end.

更に、垂直部材であるコア壁にブラケットを取着する場合、該コア壁の主筋の隙間に緊張材を配置することができるので、躯体の強度を確保することができ、また、ダメ工事も少なくすることが可能となった。   Furthermore, when a bracket is attached to the core wall, which is a vertical member, a tension member can be disposed in the gap between the main bars of the core wall, so that the strength of the frame can be ensured and less work is required. It became possible to do.

図1は、本発明のタワークレーンを建物に設置したタワークレーンの支持装置の正面図を示している。図2以下の図面にも示すように建物の垂直部材となる柱部材や壁部材等に取着したブラケット間に架設した仮設受け梁等により架台を構成し、該架台上にタワークレーンを固定することになる。   FIG. 1: has shown the front view of the support apparatus of the tower crane which installed the tower crane of this invention in the building. As shown in the drawings in FIG. 2 and subsequent figures, a gantry is constituted by a temporary receiving beam or the like installed between brackets attached to a pillar member or a wall member as a vertical member of a building, and a tower crane is fixed on the gantry It will be.

タワークレーン1は、垂直部材(本実施例では柱2とする)に固定したブラケット3にその架台4が支持される。該ブラケット3は、PC鋼棒5により柱2に取着される。該PC鋼棒5は、図2(a)、(b)に示すようにブラケット3の取付板6の孔より柱2を貫通して反対側の取付板へと突出させ、当該部分で固定具8により強固に固定する。   In the tower crane 1, the mount 4 is supported by a bracket 3 fixed to a vertical member (referred to as a column 2 in this embodiment). The bracket 3 is attached to the column 2 by a PC steel bar 5. As shown in FIGS. 2 (a) and 2 (b), the PC steel bar 5 penetrates the column 2 through the hole of the mounting plate 6 of the bracket 3 and protrudes to the mounting plate on the opposite side. 8 to fix firmly.

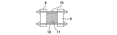
図2(c)は、ブラケット9の取着を上記同様PC鋼棒10により行なっているが、ブラケット9が大きい場合、該PC鋼棒10は、柱11の対向する外側壁間に跨るようにしてブラケット9間或いはブラケット9と取付板間に架設して固定する。
上記の場合、PC鋼棒10を切断することなくブラケット9を撤去することが可能となる。
In FIG. 2 (c), the bracket 9 is attached by the PC steel bar 10 as described above. However, when the bracket 9 is large, the PC steel bar 10 extends between the opposing outer walls of the column 11. Then, fix between the brackets 9 or between the bracket 9 and the mounting plate.
In the above case, the bracket 9 can be removed without cutting the PC steel bar 10.

図2(d)は、ブラケット3、9上架台4を載置した状態を示す平面図、同(e)は側面図を示している。ブラケット3、9間に架け渡される仮設受け梁は、同様のものを適宜間隔を隔てて適数個配設する。該仮設受け梁4a上には、該仮設受け梁4aと直交する方向に他の仮設受け梁4bを架け渡し、該仮設受け梁4a、4bにより井型に構築して下方側の架台4としている。該井型に形成された仮設受け梁上の架台タワークレーン側の架台を載置し、それら架台4上にタワークレーン1の基部が固定されることになる。 2D is a plan view showing a state in which the gantry 4 is placed on the brackets 3 and 9, and FIG. 2E shows a side view. Appropriate number of temporary receiving beams spanned between the brackets 3 and 9 are arranged at appropriate intervals. On the temporary receiving beam 4a, another temporary receiving beam 4b is bridged in a direction orthogonal to the temporary receiving beam 4a, and is constructed in a well shape by the temporary receiving beams 4a and 4b to form the lower frame 4 . . Placing the pedestal in tower cranes side of the frame on the temporary receiving beam formed該井type, the base of the tower crane 1 is to be fixed on its those gantry 4.

図3は、躯体となるスレンダーな躯体梁12の直下位置に下方側の架台となる仮設受け梁13を設け、該仮設受け梁13を柱14に固定したブラケット15により支持することによりタワークレーンの荷重をタワークレーン側の架台4、躯体梁12、仮設受け梁13、ブラケット15及び柱14へと伝えてなる実施例を示している。 FIG. 3 shows a tower crane in which a temporary receiving beam 13 serving as a lower frame is provided immediately below a slender frame beam 12 serving as a frame, and the temporary receiving beam 13 is supported by a bracket 15 fixed to a column 14. An embodiment in which the load is transmitted to the gantry 4 on the tower crane side , the frame beam 12, the temporary receiving beam 13, the bracket 15 and the column 14 is shown.

該ブラケット15は、実施例1と同様、PC鋼棒16により柱14に取着されるが、該PC鋼棒16は、ブラケット15の取付板17の孔より柱14を貫通して反対側で固定される。実施例2では、1部のPC鋼棒10は柱14の外側壁に沿って反対側の取付板に固定されている。   As in the first embodiment, the bracket 15 is attached to the column 14 by the PC steel rod 16. Fixed. In the second embodiment, a part of the PC steel rod 10 is fixed to the opposite mounting plate along the outer wall of the column 14.

図3(c)は、実施例2の平面図、同(d)は側面図を示している。
柱14に取着されたブラケット15の上面間に下方側の架台となる仮設受け梁13を架け渡す。該ブラケット15上面間に架け渡された仮設受け梁13は、同様のものを適宜間隔を隔てて適数個配設する。該仮設受け梁13の上方の躯体梁12にタワークレーンの架台4を該躯体梁12間に跨るように設置する。該ブラケット15上面間に架け渡された仮設受け梁13は、同様のものを適宜間隔を隔てて適数個配設し、該仮設受け梁13上には、該仮設受け梁13と直交する方向にタワークレーン側の架台4を架け渡し、該仮設受け梁13、架台4により井型に構築して全体の架台とされる。該仮設受け梁13とタワークレーン側の架台4との間は、上記間隔を保持するスペーサ18を介し、スレンダーな躯体梁12を含め両者間をPC鋼棒19により強固に連結する。
上記構成により、タワークレーン側の架台4上に配設されるタワークレーンの荷重は、躯体梁12を介し仮設受け梁13に伝わり、ブラケット15を通じ柱14により支持されることになる。
FIG. 3C is a plan view of the second embodiment, and FIG. 3D is a side view.
A temporary receiving beam 13 serving as a frame on the lower side is bridged between the upper surfaces of the brackets 15 attached to the columns 14. An appropriate number of temporary receiving beams 13 spanned between the upper surfaces of the brackets 15 are disposed at appropriate intervals. The tower crane- side gantry 4 is installed on the frame beam 12 above the temporary receiving beam 13 so as to straddle the frame beam 12. An appropriate number of temporary receiving beams 13 spanned between the upper surfaces of the brackets 15 are arranged at appropriate intervals, and a direction perpendicular to the temporary receiving beams 13 is disposed on the temporary receiving beams 13. The platform 4 on the tower crane side is laid over and constructed into a well shape by the temporary receiving beam 13 and the platform 4 to form the entire platform. Between the temporary receiving beam 13 and the tower crane-side gantry 4, the PC steel rod 19 is firmly connected between the two, including the slender frame beam 12, through the spacer 18 that maintains the above-mentioned distance.
With the above configuration, the load of the tower crane disposed on the tower crane-side pedestal 4 is transmitted to the temporary receiving beam 13 through the frame beam 12 and supported by the column 14 through the bracket 15.

図4は、コアを形成するコア壁20にブラケット21を固定した実施例である。
該ブラケット21は、実施例1、2と同様、PC鋼棒22によりコア壁20の壁表面の一部に取着されるが、該PC鋼棒22は、ブラケット21の取付板23の孔よりコア壁20を貫通して反対側の取付板24に固定される。
FIG. 4 shows an embodiment in which a bracket 21 is fixed to a core wall 20 forming a core.
The bracket 21 is attached to a part of the wall surface of the core wall 20 by the PC steel bar 22 in the same manner as in the first and second embodiments. The PC steel bar 22 is inserted from the hole of the mounting plate 23 of the bracket 21. It penetrates the core wall 20 and is fixed to the mounting plate 24 on the opposite side.

図4(c)は、実施例3の側面図を示している。
コア壁20に取着されたブラケット21間に仮設受け梁25aを架け渡し、該ブラケット21間に架け渡された仮設受け梁25aは、同様のものを適宜間隔を隔てて適数個配設する。該仮設受け梁25aに他の仮設受け梁25bを該仮設受け梁25a間に跨るようにして直交方向に架設している。該仮設受け梁25aと他の仮設受け梁25bとにより井型に構築して架台25とされる。
FIG. 4C shows a side view of the third embodiment.
Temporary receiving beams 25a are bridged between the brackets 21 attached to the core wall 20, and an appropriate number of temporary receiving beams 25a bridged between the brackets 21 are arranged at appropriate intervals. . Another temporary receiving beam 25b is installed on the temporary receiving beam 25a in the orthogonal direction so as to straddle the temporary receiving beam 25a. The temporary receiving beam 25a and the other temporary receiving beam 25b are constructed in a well shape to form a frame 25.

図5は、ブラケット26の取着手段の実施例である。ブラケット26は、予め柱27に埋設したインサート28とボルト29とにより柱27に仮止めし、その後、PC鋼棒30により柱27に取着されるが、該PC鋼棒30は、ブラケット26の取付板31の孔より柱27を貫通して反対側の取付板32に強固に固定される。
ブラケット26が予め柱27に仮り止めされているので、重量のあるブラケット26を一定位置に保持しながらのPC鋼棒30の挿入や締め付け作業が開放されることになる。
FIG. 5 shows an embodiment of the attachment means for the bracket 26. The bracket 26 is temporarily fixed to the column 27 with inserts 28 and bolts 29 embedded in the column 27 in advance, and then attached to the column 27 with a PC steel rod 30. The PC steel rod 30 is attached to the bracket 26. The column 27 passes through the hole of the mounting plate 31 and is firmly fixed to the mounting plate 32 on the opposite side.
Since the bracket 26 is temporarily secured to the column 27, the insertion and tightening operations of the PC steel rod 30 while the heavy bracket 26 is held at a fixed position are released.

図6は、ブラケット33と架台34との位置関係を示した実施例である。ブラケット33は、上記実施例同様、PC鋼棒35により柱部材或いは壁部材等の垂直部材36に固定される。
該垂直部材36に固定されたブラケット33の側端部37に架台34となる仮設受け梁34aの側端部38を突き付け配置し、ウエブ及びフランジ部分に連結用補強プレート39、40を配設固定し、該ブラケット33と仮設受け梁34aとを連結一体化している。
FIG. 6 is an embodiment showing the positional relationship between the bracket 33 and the gantry 34. The bracket 33 is fixed to a vertical member 36 such as a column member or a wall member by a PC steel bar 35 as in the above embodiment.
The side end portion 38 of the temporary receiving beam 34a to be the gantry 34 is abutted and arranged on the side end portion 37 of the bracket 33 fixed to the vertical member 36, and the connection reinforcing plates 39 and 40 are arranged and fixed on the web and the flange portion. The bracket 33 and the temporary receiving beam 34a are connected and integrated.

本発明のタワークレーン支持装置の正面図である。It is a front view of the tower crane support apparatus of this invention. 本発明のタワークレーン支持装置のブラケット支持部の正面図である。It is a front view of the bracket support part of the tower crane support apparatus of this invention. 本発明のタワークレーン支持装置のブラケット支持部の側面図である。It is a side view of the bracket support part of the tower crane support apparatus of this invention. 本発明のタワークレーン支持装置のブラケット支持部の平断面図である。It is a plane sectional view of the bracket support part of the tower crane support device of the present invention. 本発明のタワークレーン支持装置の全体を示す平面図である。It is a top view which shows the whole tower crane support apparatus of this invention. 本発明のタワークレーン支持装置の全体を示す正面図である。It is a front view which shows the whole tower crane support apparatus of this invention. 本発明のタワークレーン支持装置のブラケット支持部の他の実施例の正面図である。It is a front view of the other Example of the bracket support part of the tower crane support apparatus of this invention. 本発明のタワークレーン支持装置のブラケット支持部の他の実施例の側面図である。It is a side view of the other Example of the bracket support part of the tower crane support apparatus of this invention. 本発明のタワークレーン支持装置の全体を示す他の実施例の平面図である。It is a top view of the other Example which shows the whole tower crane support apparatus of this invention. 本発明のタワークレーン支持装置の全体を示す他の実施例の正面図である。It is a front view of the other Example which shows the whole tower crane support apparatus of this invention. 本発明のタワークレーン支持装置のブラケット支持部の他の実施例の正面図である。It is a front view of the other Example of the bracket support part of the tower crane support apparatus of this invention. 本発明のタワークレーン支持装置のブラケット支持部の他の実施例の側面図である。It is a side view of the other Example of the bracket support part of the tower crane support apparatus of this invention. 本発明のタワークレーン支持装置の全体を示す他の実施例の正面図である。It is a front view of the other Example which shows the whole tower crane support apparatus of this invention. 本発明のタワークレーン支持装置のブラケット支持部の他の実施例の正面図である。It is a front view of the other Example of the bracket support part of the tower crane support apparatus of this invention. 本発明のタワークレーン支持装置のブラケット支持部の他の実施例の側面図である。It is a side view of the other Example of the bracket support part of the tower crane support apparatus of this invention. 本発明のタワークレーン支持装置のブラケット支持部の他の実施例の正面図である。It is a front view of the other Example of the bracket support part of the tower crane support apparatus of this invention. 本発明のタワークレーン支持装置のブラケット支持部の他の実施例の側面図である。It is a side view of the other Example of the bracket support part of the tower crane support apparatus of this invention.

符号の説明Explanation of symbols

1 タワークレーン
2、11、14、27 柱
3、9、15、21、26、33 ブラケット
4、25、34 架台
4a、4b、13、25a、25b、34a 仮設受け梁
5、10、16、19、22、30、35 PC鋼棒
6、7、17、23、31、32 取付板
8 固定具
12 梁
18 スペーサ
20 コア壁
28 インサート
29 ボルト
36 垂直部材
37 ブラケット端部
38 仮設受け梁端部
39、40 補強プレート
1 Tower crane 2, 11, 14, 27 Pillar 3, 9, 15, 21, 26, 33 Bracket 4, 25, 34 Mount 4a, 4b, 13, 25a, 25b, 34a Temporary receiving beam 5, 10, 16, 19 , 22, 30, 35 PC steel bar 6, 7, 17, 23, 31, 32 Mounting plate 8 Fixture 12 Beam 18 Spacer 20 Core wall 28 Insert 29 Bolt 36 Vertical member 37 Bracket end 38 Temporary receiving beam end 39 , 40 Reinforcement plate

Claims (6)

タワークレーンの架台を建物の躯体で支持する支持装置において、建物の躯体となる垂直部材表面にPC鋼棒によりブラケットを固定し、該垂直部材間のブラケットの上面に一方の架台となる仮設受け梁を架け渡し、該仮設受け梁の上方に位置する躯体梁上にタワークレーン側の他方の架台を該躯体梁間に跨るように設置し、上記仮設受け梁とタワークレーン側の架台との間をPC鋼棒により強固に連結して躯体梁を補強してなることを特徴とするタワークレーンの支持装置。 In a support device for supporting a tower crane frame with a building frame, a bracket is fixed to the surface of a vertical member serving as a building frame with a PC steel rod, and a temporary receiving beam serving as one frame on the upper surface of the bracket between the vertical members. Is installed on the frame beam located above the temporary receiving beam so that the other frame on the tower crane side spans between the frame beams, and the PC between the temporary receiving beam and the frame on the tower crane side is installed. A tower crane support device comprising a steel beam and a rigid connection that reinforces the frame beam. 仮設受け梁とタワークレーン側の架台との間は、間隔を保持するスペーサ及び躯体梁を含めPC鋼棒により強固に連結してなることを特徴とする請求項1に記載のタワークレーンの支持装置。 2. The tower crane support device according to claim 1, wherein the temporary support beam and the tower crane-side mount are firmly connected by a PC steel rod including a spacer and a frame beam for maintaining a gap. 3. . 垂直部材は、柱部材又は壁部材であることを特徴とする請求項1又は2のいずれか1に記載のタワークレーンの支持装置。   3. The tower crane support device according to claim 1, wherein the vertical member is a column member or a wall member. タワークレーンの架台を建物の躯体で支持する支持装置の構築方法において、ブラケットの取付板を建物の躯体となる垂直部材に配設し、該垂直部材の反対側に配設した取付板とPC鋼棒で連結し、該PC鋼棒を引張して固定することによりブラケットを該垂直部材に固定し、その後、該ブラケットの上面に一方の架台となる仮設受け梁を架け渡し、該仮設受け梁の上方に位置する躯体梁上にタワークレーン側の他方の架台を該躯体梁間に跨るように設置し、その後、該仮設受け梁とタワークレーン側の架台とが一体となるように躯体梁を挟むようにしてPC鋼棒により強固に連結して躯体梁を補強したことを特徴とするタワークレーンの支持装置の構築方法。 In a method of constructing a support device for supporting a tower crane stand by a building frame , a bracket mounting plate is disposed on a vertical member serving as a building frame, and the mounting plate and PC steel disposed on the opposite side of the vertical member. The bracket is fixed to the vertical member by connecting with a rod and the PC steel rod is pulled and fixed, and then a temporary receiving beam serving as one pedestal is bridged on the upper surface of the bracket. Install the other frame on the tower crane side so as to straddle between the frame beams on the upper frame beam, and then sandwich the frame beam so that the temporary receiving beam and the tower crane side frame are integrated. A method for constructing a tower crane support device, wherein the frame beam is reinforced by a strong connection with a PC steel rod. タワークレーンの架台を建物の躯体で支持する支持装置の構築方法において、建物の躯体となる垂直部材に予めインサートを埋設し、該垂直部材の表面にブラケットの取付板を配設し、該取付板の孔よりインサートへボルトを挿通して該ブラケットを仮止めし、その後、PC鋼棒を垂直部材の反対側の取付板と連結引張して固定することによりブラケットを該垂直部材に固定し、該ブラケットの上面に一方の架台となる仮設受け梁を架け渡し、該仮設受け梁の上方に位置する躯体梁上にタワークレーン側の他方の架台を該躯体梁間に跨るように設置し、その後、該仮設受け梁とタワークレーン側の架台とが一体となるように躯体梁を挟むようにしてPC鋼棒により強固に連結して躯体梁を補強したことを特徴とするタワークレーンの支持装置の構築方法。 In a method for constructing a support device for supporting a tower crane stand with a building frame, an insert is embedded in advance in a vertical member serving as a building frame, and a bracket mounting plate is disposed on the surface of the vertical member. The bracket is fixed to the vertical member by inserting a bolt into the insert from the hole of the bracket and temporarily fixing the bracket, and then connecting and pulling the PC steel bar to the mounting plate on the opposite side of the vertical member. A temporary receiving beam to be one frame is bridged on the upper surface of the bracket, and the other frame on the tower crane side is installed on the frame beam located above the temporary beam so as to straddle between the frame beams. support apparatus of the tower crane and gantry temporary receiving beam and the tower crane side is characterized in that to reinforce the skeleton beam firmly connected by PC steel rod so as to sandwich the building frame beam so as to be integrated How to build. 建物の躯体となる垂直部材は、柱部材又は壁部材であることを特徴とする請求項4又は5のいずれか1に記載のタワークレーンの支持装置の構築方法。   The method for constructing a tower crane support device according to claim 4, wherein the vertical member serving as a building frame is a pillar member or a wall member.
JP2004090751A 2004-03-26 2004-03-26 Tower crane support device and construction method thereof Expired - Fee Related JP4203441B2 (en)

Priority Applications (1)

Application Number Priority Date Filing Date Title
JP2004090751A JP4203441B2 (en) 2004-03-26 2004-03-26 Tower crane support device and construction method thereof

Applications Claiming Priority (1)

Application Number Priority Date Filing Date Title
JP2004090751A JP4203441B2 (en) 2004-03-26 2004-03-26 Tower crane support device and construction method thereof

Publications (2)

Publication Number Publication Date
JP2005272116A JP2005272116A (en) 2005-10-06
JP4203441B2 true JP4203441B2 (en) 2009-01-07

Family

ID=35172177

Family Applications (1)

Application Number Title Priority Date Filing Date
JP2004090751A Expired - Fee Related JP4203441B2 (en) 2004-03-26 2004-03-26 Tower crane support device and construction method thereof

Country Status (1)

Country Link
JP (1) JP4203441B2 (en)

Families Citing this family (10)

* Cited by examiner, † Cited by third party
Publication number Priority date Publication date Assignee Title
JP2006248675A (en) * 2005-03-10 2006-09-21 Shimizu Corp Tower crane support structure
JP5033334B2 (en) * 2006-02-16 2012-09-26 株式会社竹中工務店 Tower crane support method
KR100838317B1 (en) 2006-12-15 2008-06-13 주식회사 티엔투 Tower Fixing Device of Tower Crane and Construction Method
KR100878195B1 (en) 2007-09-03 2009-01-13 대림산업 주식회사 Installation method of tower crane using reinforced concrete wall and steel reinforced concrete column in remodeling construction
JP5192251B2 (en) * 2008-02-04 2013-05-08 株式会社竹中工務店 Tower crane support structure and construction method thereof
JP5301508B2 (en) * 2010-08-23 2013-09-25 三井住友建設株式会社 Climbing crane support method and support jig
CN102976215B (en) * 2012-11-16 2015-02-04 上海市机械施工集团有限公司 External suspension type crane overhead integral shift device and shift method thereof
JP6289046B2 (en) * 2013-11-18 2018-03-07 大成建設株式会社 Temporary stand
CN103896165B (en) * 2014-02-28 2015-11-11 中建钢构有限公司 The outer climbing tower crane supporting system of a kind of suspension type and turnover using method thereof
CN108190757B (en) * 2017-12-29 2023-07-25 上海建工四建集团有限公司 Barrel frame supporting type steel platform and tower crane integral jacking device and jacking method thereof

Also Published As

Publication number Publication date
JP2005272116A (en) 2005-10-06

Similar Documents

Publication Publication Date Title
JP4203441B2 (en) Tower crane support device and construction method thereof
US20150027076A1 (en) Sleeve Device For Increasing Shear Capacity
JP5192251B2 (en) Tower crane support structure and construction method thereof
JP4028831B2 (en) Removable support beam
JP6147621B2 (en) Tower crane support structure and tower crane equipment
JP6831714B2 (en) Tower crane foundation and tower crane
JP2007092356A (en) Large-section tunnel structure and its construction method
JP4297854B2 (en) Load provision method
JP5028323B2 (en) Ground anchor method
JP4654075B2 (en) Tower crane foundation receiving beam structure
JP4704851B2 (en) Crane base isolation structure
KR101258330B1 (en) Temporary supporting system of steel beam and construstion method thereof
CN107558607B (en) Tower crane system arranged on existing concrete structure and construction method thereof
JP2011094456A (en) Load bearing base, supporting material, and load bearing method
KR200417902Y1 (en) Anchor Frame Assembly Of Tower Crane
JP4439938B2 (en) Wall type reinforced concrete structure and its construction method
JPH0542553B2 (en)
KR200358247Y1 (en) Downward construction structure using bracket support type
CN223034496U (en) A climbing frame connection structure and climbing frame system
CN219343941U (en) Elevator well operating frame supporting structure
JP6628675B2 (en) Temporary mounting
JP4623407B2 (en) Wall formwork method
KR200285281Y1 (en) Supporting structure for concrete wall
JP6381096B2 (en) Construction structure, gantry and turbine generator facility, and method for manufacturing construction structure
JP2007092355A (en) Large-section tunnel structure and its construction method

Legal Events

Date Code Title Description
A131 Notification of reasons for refusal

Free format text: JAPANESE INTERMEDIATE CODE: A131

Effective date: 20070522

A521 Request for written amendment filed

Free format text: JAPANESE INTERMEDIATE CODE: A523

Effective date: 20070721

A131 Notification of reasons for refusal

Free format text: JAPANESE INTERMEDIATE CODE: A131

Effective date: 20080205

A521 Request for written amendment filed

Free format text: JAPANESE INTERMEDIATE CODE: A523

Effective date: 20080311

TRDD Decision of grant or rejection written
A01 Written decision to grant a patent or to grant a registration (utility model)

Free format text: JAPANESE INTERMEDIATE CODE: A01

Effective date: 20081007

A01 Written decision to grant a patent or to grant a registration (utility model)

Free format text: JAPANESE INTERMEDIATE CODE: A01

A61 First payment of annual fees (during grant procedure)

Free format text: JAPANESE INTERMEDIATE CODE: A61

Effective date: 20081010

R150 Certificate of patent or registration of utility model

Ref document number: 4203441

Country of ref document: JP

Free format text: JAPANESE INTERMEDIATE CODE: R150

Free format text: JAPANESE INTERMEDIATE CODE: R150

FPAY Renewal fee payment (event date is renewal date of database)

Free format text: PAYMENT UNTIL: 20111017

Year of fee payment: 3

FPAY Renewal fee payment (event date is renewal date of database)

Free format text: PAYMENT UNTIL: 20111017

Year of fee payment: 3

FPAY Renewal fee payment (event date is renewal date of database)

Free format text: PAYMENT UNTIL: 20141017

Year of fee payment: 6

R250 Receipt of annual fees

Free format text: JAPANESE INTERMEDIATE CODE: R250

R250 Receipt of annual fees

Free format text: JAPANESE INTERMEDIATE CODE: R250

R250 Receipt of annual fees

Free format text: JAPANESE INTERMEDIATE CODE: R250

R250 Receipt of annual fees

Free format text: JAPANESE INTERMEDIATE CODE: R250

LAPS Cancellation because of no payment of annual fees