JP4061943B2 - Side member position restricting body - Google Patents

Side member position restricting body Download PDF

Info

Publication number
JP4061943B2
JP4061943B2 JP2002093498A JP2002093498A JP4061943B2 JP 4061943 B2 JP4061943 B2 JP 4061943B2 JP 2002093498 A JP2002093498 A JP 2002093498A JP 2002093498 A JP2002093498 A JP 2002093498A JP 4061943 B2 JP4061943 B2 JP 4061943B2
Authority
JP
Japan
Prior art keywords
base
side member
movement
shelf
position restricting
Prior art date
Legal status (The legal status is an assumption and is not a legal conclusion. Google has not performed a legal analysis and makes no representation as to the accuracy of the status listed.)
Expired - Fee Related
Application number
JP2002093498A
Other languages
Japanese (ja)
Other versions
JP2003284633A (en
Inventor
富久 増田
Current Assignee (The listed assignees may be inaccurate. Google has not performed a legal analysis and makes no representation or warranty as to the accuracy of the list.)
Kokuyo Co Ltd
Original Assignee
Kokuyo Co Ltd
Priority date (The priority date is an assumption and is not a legal conclusion. Google has not performed a legal analysis and makes no representation as to the accuracy of the date listed.)
Filing date
Publication date
Application filed by Kokuyo Co Ltd filed Critical Kokuyo Co Ltd
Priority to JP2002093498A priority Critical patent/JP4061943B2/en
Publication of JP2003284633A publication Critical patent/JP2003284633A/en
Application granted granted Critical
Publication of JP4061943B2 publication Critical patent/JP4061943B2/en
Anticipated expiration legal-status Critical
Expired - Fee Related legal-status Critical Current

Links

Images

Landscapes

  • Assembled Shelves (AREA)
  • Display Racks (AREA)
  • Connection Of Plates (AREA)
  • Furniture Connections (AREA)

Description

【0001】
【発明の属する技術分野】
本発明は側部材の位置規制体に係り、特に、陳列装置を構成するベースと側部材との間に配置されて当該側部材の移動を規制することのできる側部材の位置規制体に関する。
【0002】
【従来の技術】
一般に、店舗什器としての陳列装置は、ベースの後部に配置される左右一対の支柱と、当該支柱に支持される左右一対の側部材と、これら側部材間に配置される棚板とを備えて構成されている。この陳列装置において、支柱の前後両側に陳列領域をそれぞれ形成する場合には、前後の陳列領域に跨る前後幅を備えた側部材を用い、この側部材の内面側に支柱が位置するように当該支柱に側部材を支持させる構成が一般的である。
【0003】
【発明が解決しようとする課題】
しかしながら、側部材を支柱の前面に引っ掛けるように配置する陳列装置とした場合には、当該側部材の下端部はベースを形成するベース側板の外面側に位置しない構成となるため、側部材が左右方向、すなわち横方向にぶらついてしまう状態となる。この場合、側部材の下端部と、ベース上部との間に、例えば、相互に引っ掛け可能となる特別な構成を採用しなければならない。
【0004】
ところが、側部材の移動規制を行なうための特別な構造をベースと側部材との間に設けると、前述したように、支柱が側部材の内面側に位置するように組み立てられるタイプの陳列装置に適用したときに、ベースと側部材との引っ掛け構造が外観上に表出してしまうことになり、陳列装置としての体裁を大きく損ねてしまい、隠蔽等、何らかの対応が必要になるという不都合を招来する。
【0005】
このような場合、特別な構造を備えたベースを専用部品として取り扱うことも可能であるが、陳列装置は、パーツの共通化を通じて各種の組み立て若しくは連結バリエーションを選択できるようにする必要があるため、特定の陳列装置の専用部品とすることは、部品コストの削減を図るという近時の要請に逆行するものとなる。
【0006】
【発明の目的】
本発明は、このような不都合に着目して案出されたものであり、その目的は、ベースの上部に側部材の下端部が位置するように組み立てる場合に、ベースに特別な構造を設けることなく側部材の移動を規制することのできる位置規制体を提供することにある。
【0007】
【課題を解決するための手段】
前記目的を達成するため、本発明は、ベースの上部と、ベース後部の支持体に支持される側部材の下端部との間に設けられる位置規制体であって、
前記ベースの所定位置に配置される本体と、この本体に設けられるとともに、前記側部材の移動を規制する移動規制部とを備える、という構成を採っている。このような構成により、位置規制体をベースと側部材との間に介在させるだけで、当該側部材の移動を効果的に規制できるとともに、ベース等に特別な移動規制構造を設ける必要を無くすことが可能となる。しかも、支持体に対する側部材の支持位置が異なるバリエーションを選択できるようにしても、ベースを共通パーツとして利用することができる。
【0008】
【発明の実施の形態】
本発明における移動規制部は、前記側部材の横方向の移動を規制する横方向移動規制部と、縦方向の移動を規制する縦方向移動規制部とを備える、という構成を採っている。このような構成によれば、側部材が支持体に支持された状態で、当該側部材の左右及び上下への移動が規制され、側部材の起立姿勢を安定した状態に保つことが可能となる。
【0009】
また、前記移動規制部の隣接位置に、ベース上面側に位置するベース棚板の棚受け部材を更に備える、という構成を採っている。このような構成とすれば、棚受け部材を支持するための構造をベースに設ける必要がなくなり、位置規制体がベース構造の簡略化に寄与することとなる。
【0010】
更に、前記棚受け部材には、ベース棚板の前後移動を規制する棚板前後移動規制部が設けられる、という構成を採ることが好ましい。これにより、位置規制体が側部材の移動規制とベース棚板の移動規制の双方を担うようになり、多機能タイプとして作用させることができる。
【0011】
また、前記本体は、前記ベースの左右両側に着脱自在に設けられ、前後の装着向きを変更することでベースの左右両側に適用可能に設けられる、という構成を採っている。このような構成とすることで、位置規制体を陳列装置のオプションとして提供することが可能となる他、単一構造となる部品の共用を通じてパースコストを削減することができる。
【0012】
なお、本明細書において、位置若しくは方向を示す用語は、特に明示しない限り、図1の矢印A方向に向かって陳列装置を見た状態を基準として用いるものとする。従って、例えば、「前」とは、陳列装置の手前側について用いられる一方、「後」は陳列装置の奥行き側について用いられることとなる。
【0013】
【実施例】
以下、本発明の実施例を図面を参照しながら説明する。
【0014】
図1には、本実施例に係る陳列装置の概略斜視図が示され、図2には、その分解斜視図が示されている。また、図3には、陳列装置の支持体カバーを省略した図1の右側面図が示されている。これらの図において、陳列装置10は、ベース11と、このベース11の後部左右両側に配置された支持体としての左右一対の支柱12と、これら支柱12を相互に連結する連結部材14と、この連結部材14と左右の支柱12,12で囲まれる内側領域に配置された背板15と、支柱12,12の前面側と前記ベース11の上面側に支持された左右一対の側部材17,17と、これら側部材17,17間において、前記支柱12,12に支持された棚板18とを備えて構成されている。
【0015】
前記ベース11は、図1,4ないし図7にも示されるように、支柱12の前面側に位置し、前後方向に向けられて左右一対をなすように対称構造を備えたベース側板20,20と、各ベース側板20の外側面をカバーするベースカバー21と、このベースカバー21の上部において前記側部材17間に位置するベース棚板22と、前記ベース側板20,20の前端部間に配置される幕板23とを備えて構成されている。
【0016】
ベース側板20は、図5及び図6に示されるように、略鉛直面内に位置して前後方向に延びる略長方形状の側面部25と、この側面部25の上端及び下端にそれぞれ連なって略水平方向内側に向けられた上端面部26及び下端面部27と、これら上端面部26、下端面部27の各内方端から相互に向き合う方向に向けられた屈曲面部28,29と、側面部25の前端に連なって内方に向けられた前端面部30と、この前端面部30の内方端から後方に向けられるとともに、前記屈曲面部28,29と略同一鉛直面内に位置して相互に干渉しない上下幅に設けられた折り返し面部32と、側面部25、上端面部26及び下端面部27の後部領域において、これらに囲まれる内側に固定された連結用ブラケット34とを備えて構成されている。前記上端面部26の後部には、前後方向に延びるスロット穴35が形成されているとともに、前端面部30の上下二箇所には、前記ベースカバー21及び幕板23を取り付けるためのスロット穴37が形成されている。
【0017】
前記連結用ブラケット34は、図6に示されるように、後方(同図中右方)に開放するコ字状をなすブラケット本体38と、このブラケット本体38の後端から後方に突出する中段爪部39及び下段爪部40と、中段爪部39の上方に位置するとともに軸ピン41を介してブラケット本体38に回転可能に支持された上段可動爪部42とを備えて構成されている。中段爪部39と下段爪部40はブラケット本体38の左右(図6中上下)両側に設けられており、上段可動爪部42は、ブラケット本体38の上部に設けられた切欠部44内を前後方向(図6中左右方向)に延びるように一個設けられている。ここで、上段可動爪部42は、ブラケット本体38よりも手前側に延びる片状の操作部45を一体に備えた形状に設けられているとともに、当該操作部45は、前述したスロット穴35を通じて前記上端面部26に対して出没自在に設けられている。なお、上段可動爪部42は、図示の位置にあるときに、支柱12に対して連結状態を締め付けできるようになっている。
【0018】
前記ベースカバー21は、ベース側板20の側面部25に略対応する平面形状を備えたカバー側面47と、このカバー側面47の上端に連なってベース側板20の上端面部26上に位置するカバー上面48と、このカバー上面48の内方端から下向きに設けられるとともに、ベース側板20の屈曲面部28に引っ掛け可能な複数の屈曲面49と、前記カバー側面47の前端から内方に向けられたカバー前面50と、このカバー前面50の内方端から後方に向けられた前部折り返し面52と、当該前部折り返し面52の後端に連なって前記ベース側板20の前端面部30に形成されたスロット穴37に引っ掛け可能に設けられた上下二つのフック53,53とを備えて構成されている。ここで、前記複数の屈曲面49間には、図5に示されるように、後述する位置規制体の装着領域を決定する切欠部55,55が前後二箇所に形成されている。
【0019】
前記ベース棚板22は、図1及び図7に示されるように、平面部57と、この平面部57の左右両側(図7では紙面直交方向両側)に位置する棚板側面58,58と、前記平面部57の前端側に設けられて所定の装飾効果を表出する前部材59と、平面部57の左右方向に沿って延びる二本の補強桟60,60により構成されている。平面部57の後部左右両側下面には、板状部材62が固定されているとともに、当該板状部材62には、部分的な切り起こしによって形成された舌片63(図2参照)が設けられている。なお、図1中陳列装置10の中段に示された棚板18は、ベース棚板22と同一構造のものが用いられる。
【0020】
前記幕板23は、図2に示されるように、ベース側板20,20の前端部間に位置する横長の正面部65を備えており、当該正面部65の左右両端側には、後方に向けられた上下二つの爪片66,66が形成されている。これらの爪片66は、ベース側板20の前端面部30に形成されたスロット穴37に、前記ベースカバー21のフック53と共に挿入されてこれに引っ掛けできるようになっている。
【0021】
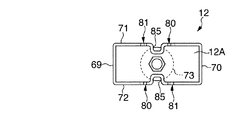
前記支柱12は、図2、図8及び図9に示されるように、上端に開放部12Aを備えた略角柱のパイプ材により構成されている。この支柱12は、相互に略平行に延びる前面部69及び後面部70と、これら前面部69及び後面部70の短寸幅方向両側間に位置する左右(図8中上下)一対の外側面部71及び内側面部72と、下端部に設けられたアジャスタ73とを備えて構成されている。前面部69と後面部70の各面内には、左右二列となる支持部としてのスロット穴75,75(図2参照)がそれぞれ形成されており、これらのスロット穴75を利用することでベース側板20,20が支柱12の下部に装着できるようになっている。なお、棚板18(図1参照)は、前記スロット穴75に引っ掛け可能な図示しない片状のブラケットを介して支持することができる。
【0022】
前記支柱12の外側面部71及び内側面部72の各面には、前面部69及び後面部70と同様に前後二列となるスロット穴77が上下方向に沿って形成されている。これらのスロット穴77は、他の陳列装置10を増設連結するために利用したり、支柱12の前後各領域に跨る前後幅を有する側部材等を支持する際に利用できるようにした汎用性を付与するために設けられているものである。
【0023】
前記外側面部71及び内側面部72の上端側領域には、図8,9及び図11に示されるように、前記スロット穴77の延出方向と略同一線上に位置するダブルスロット状の第1及び第2の切欠穴80,81が形成されている。これらの切欠穴80,81のうち、内側面部72側に設けられた第1及び第2の切欠穴80,81は、支柱12間を相互に連結する連結部材14を引っ掛けるために利用される。この一方、外側面部71側の第1及び第2の切欠穴80,81は、後述する支持体カバーを引っ掛けるために利用される。第1の切欠穴80は、下部の前後幅(図9中左右幅)W1が上部の前後幅W2よりも大きくなる段部82を中間前部寄りに備えた形状に設けられている。この一方、第2の切欠穴81は、下部の前後幅W3が上部の前後幅W4に対して次第に小さくなる傾斜部83を後部に備えた形状に設けられている。なお、外側面部71及び内側面部72における前後方向中間、すなわち、前後のスロット穴77,77の中間には、面位置を凹ませて形成された溝85が上下方向に沿って形成され、この溝85を利用することで、背板15(図1参照)が支持可能となっている。
【0024】
前記連結部材14は、図2に示されるように、左右の支柱12,12間において、上下二箇所に配置されている。なお、図2では、他の構成部品との錯綜を回避するため、支柱12の上部側に配置される連結部材14のみが示されている。この連結部材14は、図10(A)〜(C)及び図11に示されるように、断面形状が略コ字状をなして横方向に延びる本体部材87と、この本体部材87の左右両端部にそれぞれ固定された端部材88,88とにより構成されている。端部材88は、本体部材87の上面87A、前面87B及び後面87Cの各面に対応する上面88A、前面88B及び後面88Cを備え、前面88B及び後面88Cの下端縁は、内側に向かって次第に上下幅を小さくする緩やかな円弧状に設けられているとともに、外側端部には、各二つの爪片90,90を備えた形状に設けられている。これらの爪片90,90は、図11に示されるように、各支柱12,12の内側面部72側における第1及び第2の切欠穴80,81内に受け入れられて当該切欠穴80,81の下端形成縁に引っ掛かるように設けられている。また、各支柱12,12の開放部12Aには、前記爪片90,90を切欠穴80,81に引っ掛けた状態、つまり、連結部材14が支柱12間に掛け渡された状態で、キャップ92,92がそれぞれ装着されるようになっている。
【0025】
前記キャップ92は、図11ないし図14に示されるように、平面視略長方形状をなす頂板93と、この頂板93の短寸幅方向両側から下向きに延びる左右一対の片部材94,94と、これら片部材94の前後方向略中間部間に設けられた連結ブロック95と、前記頂板93の短寸幅方向略中間の下面側から下向きに延び、且つ、片部材94と略平行に設けられた補強片96とを備えて構成されている。各片部材94の面内には、その前後方向二箇所領域において、下向きに開放する切欠スロット97,97が形成されている。この切欠スロット97は、上部スロット幅が狭く形成された幅狭スロット部97Aと、下部スロット幅が下端に向かうに従って次第に広くなる末広スロット部97Bとにより構成されている。
【0026】
また、前記キャップ92は、図14に示されるように、支柱12の上端を閉塞するように取り付けられた状態において、前記連結部材14の爪片90が幅狭スロット部97Aに受容される位置に保たれる。これと同時に、爪片90の基部90A(図14中斜線部分)が第1及び第2の切欠穴80,81内に位置し、且つ、前部側の爪片90が第1の切欠穴80における段部82直下に位置し、これにより、キャップ92を装着した状態では、爪片90の上方への移動が規制され、意図的に分解力を付与しない限り、連結部材14の連結位置を強固に保持することが可能となる。
【0027】
前記側部材17は、図15にも示されるように、略縦長方形の外形に沿うフレーム枠100と、このフレーム枠100の内側領域で上下方向に配設されて相互に略平行となる複数の縦線材101と、これら縦線材101を前後方向に横切るように配設されて相互に略平行となる複数の横線材102とからなり、これら縦横の各線材101,102によって左右方向に多数の開放部104が形成されている。
【0028】
前記フレーム枠100は、相互に略平行な前部及び後部フレーム形成部材107,108と、これら前後のフレーム形成部材107,108の上端部及び下端部間に配置された上部フレーム形成部材109及び下部フレーム形成部材110とからなる。下部フレーム形成部材110を除く他のフレーム形成部材107〜109は角柱材により構成されている一方、下部フレーム形成部材110は、下向きに開放するコ字状の角材により構成され、その外側面部分には、打ち抜き穴111が前後二箇所に形成されている。
【0029】
前記後部フレーム形成部材108の後端部には、複数のフック112が設けられており、これらのフック112が支柱12の前面部69に形成されたスロット穴75に引っ掛けられるようになっている。また、側部材17の下端部をなす下部フレーム形成部材110は、前記ベース11を構成するベースカバー21上に装着される位置規制体115を介して支持されるようになっている。
【0030】
前記位置規制体115は、図15及び図16に示されるように、前記ベースカバー21におけるカバー上面48の左右幅より若干大きな幅を備えた平面視略方形の基板部117と、この基板部117と共に本体116を形成するとともに、当該基板部117の左右両側から下向きに設けられた一対の垂下面部118,119と、基板部117の上面に取り付けられるとともに前記側部材17の下部フレーム形成部材110内に位置する移動規制部120と、この移動規制部120に併設された棚受け部材121とにより構成されている。
【0031】
図17に示されるように、前記一対の垂下面部118,119のうち、一方の垂下面部118は、ベースカバー21の上端部外側に位置し、他方の垂下面部119は、ベースカバー21の屈曲面49領域に形成された切欠部55内に位置し、これにより、位置規制体115がベースの前後方向に移動不能に保たれることとなる。
【0032】
前記移動規制部120は、前記下部フレーム形成部材110の延出方向に沿うように向けられて側部材17の横方向移動規制部として作用する一対の起立部124,125と、これら起立部124,125の基端間に位置する固定面部126とからなる略U字状の外観形状に設けられている。起立部124の面内には、側部材17の縦方向移動規制部として作用する切り起こし片128が形成されており、当該切り起こし片128は、図17に示されるように、下部フレーム形成部材110の打ち抜き穴111に引っ掛かり可能に設けられている。
【0033】
前記棚受け部材121は、略L字状の部材により構成されている。すなわち、底辺部130と、この底辺部130の一端から上方に起立する側片部131とからなる。この側片部131の面は、前記起立部124,125と略平行に位置し、ベース棚板22の棚板側面58内に位置するようになっている。この側片部131の上端には、その前後二箇所領域に棚板前後移動規制部としての切除部134,134が形成され、これら切除部134の何れか一方には、ベース棚板22の平面部57下面に位置する舌片63が受容されてベース棚板22の前後への移動規制を行なうようになっている。
【0034】
前記側部材17を支柱12に取り付けるのと前後して、当該支柱12の外側面部71には、支持体カバー140が装着される。この支持体カバー140は、図18に示されるように、支柱12の長さ方向に沿う長片状のカバー面部141と、このカバー面部141の短寸幅方向両側に配置されるとともに、下端縁位置がカバー面部141の下端縁位置よりも上方となる長さの折り曲げ面部142,142と、カバー面部141の上端部、中間部及び下端部の三箇所に分散して配置された第1ないし第3の爪保持部材143,144,145とを備えて構成されている。
【0035】
前記第1及び第2の爪保持部材143,144は、略同一の構造によって構成されている。これら爪保持部材143,144は、平面からなる固定面部147,148と、これら各固定面部147,148の面内前後(図18(A)中左右)二箇所を切り起こして形成された各一対の爪150,151とにより構成され、爪150が支柱12の側面部71に形成された第1及び第2の切欠穴80,81に引っ掛けられる一方、爪151が下方のスロット穴77に引っ掛けられるようになっている。
【0036】
前記第3の爪保持部材145は、前記第1の爪保持部材143の固定面部147よりも上下方向長さが長い固定面部153と、当該固定面部153の面内二箇所を切り起こして形成された一対の爪154とにより構成され、これらの爪154が前記支柱12の下部スロット穴77に引っ掛けできるようになっている。
【0037】
次に、本実施例に係る陳列装置10の全体的な組み立て要領について説明する。
【0038】
先ず、ベース側板20を対応する支柱12の前面部69に設けられた下部のスロット穴75を利用して連結する。この連結に際しては、上段可動爪部42が下方に変位した位置となるように操作部45をスロット穴35より上方に突出させた状態とし、この状態で、中段爪部39と下段爪部40をスロット穴75に差し込み、その後に、前記操作片部45をスロット穴35位置より下方に押し込む。この押し込みにより、上段可動爪部42が上方に変位し、このとき、対応するスロット穴75の上端形成縁に強く食い込んで連結強度を高めることとなる。
【0039】
このようにして各支柱12にベース側板20が連結された後に、各支柱12間の下部に図示省略した連結部材を掛け渡し、各支柱12間の溝85に背板15の左右両端部を受容させてスライド操作で装着する。そして、支柱12,12の上端部に連結部材14を掛け渡す。すなわち、連結部材14の左右両端部に設けられている爪片90,90を第1及び第2の切欠穴80,81に上端より引っ掛けるように挿入する。そして、各支柱12の上端からキャップ92を挿入する。この状態では、爪片90,90は、キャップ92に形成された切欠スロット97,97の末広スロット部97B,97B内に位置することとなる。ここで、上方からの押し込み力をキャップ92に付与すると、キャップ92の幅狭スロット部97A,97A内に爪片90の基部90Aが入り込むとともに、第2の切欠穴81の傾斜部83により、爪片90,90が前方に移動して連結部材14全体を若干前方移動させ、第1の切欠穴80内の爪片90が段部82下に位置するようになる。従って、キャップ92を支柱12の上端に完全に押し込んだ状態では、爪片90は変形を伴うことなく基部90Aが段部82に引っ掛かる状態となり、以後、人為的な作業を行なわない限り、前記連結状態が解除されることはない。
【0040】
次いで、ベース側板20の外側にベースカバー21を装着する。この装着は、ベースカバー21の前部内側に設けられたフック53をベース側板20の前端面部30に設けられたスロット穴37に引っ掛けることによって行なわれる。この後、左右のベース側板20,20の前部間に幕板23を位置させ、当該幕板23の左右両側の爪片66,66を前記スロット穴37,37にそれぞれ引っ掛ける。この際、スロット穴37は、ベースカバー21のフック53と幕板23の爪片66を一体に受容した状態となる。
【0041】
そして、左右の各ベースカバー21,21のカバー上面48,48上に、位置規制体115,115をそれぞれセットする。これらの位置規制体115は、ベースカバー21における屈曲面49の切欠部55内に、位置規制体115の垂下面部119が位置するようにセットされる。従って、このようにセットされた後の位置規制体115は前後、左右への移動が規制されることとなる。
【0042】
このようにして位置規制体115がセットされた状態で、ベース棚板22が配置される。すなわち、位置規制体115における棚受け部材121の側片部131がベース棚板22の棚板側面58内に位置するように配置される。このとき、ベース棚板22の平面部57の左右両側下面に位置する舌片63が、前記側片部131の切除部134内に入り込むようになり、これにより、ベース棚板22は、前後及び左右への移動が規制された状態で支持されることとなる。
【0043】
次いで、左右の各支柱12の前面部69側と、ベースカバー21のカバー上面48側に側部材17を配置する。この側部材17は、後部フレーム形成部材108に設けられたフック112を支柱12のスロット穴75に引っ掛けると同時に、下部フレーム形成部材110の内側に、位置規制体115の起立部124,125が入り込むようにして行なう。この際、一方の起立部124に設けられた切り起こし片128は、下部フレーム形成部材110の打ち抜き穴111内に位置することとなり、これにより、側部材17の左右方向への移動と、縦方向への浮き上がりの双方が規制されることとなる。なお、前記フック112は、支柱12の前面部69における左右二列のスロット穴75のうち、外側列のスロット穴75が利用されるようになっており、内側列のスロット穴75には、図示しない片状のブラケットのフックを引っ掛ける領域として利用される。
【0044】
この後、前述したスロット穴75に引っ掛けられる図示しないブラケットを介して、ベース棚板22と同一構造の棚板18が所定高さ位置に配置される。
【0045】
前記側部材17の装着と前後して、各支柱12の外側に位置する側面部71には支持体カバー140が装着される。この装着は、第1の爪保持部材143に設けられた爪150を支柱12の上端に形成された第1及び第2の切欠穴80,81に引っ掛ける一方、第2及び第3の爪保持部材144,145に設けられた各爪151、154を対応するスロット穴77に引っ掛けることによって行なわれ、これにより、陳列装置10全体の組み立てを完了することができる。
【0046】
従って、このような実施例によれば、単に、ベースカバー21上に位置規制体115を載せた状態にするだけで、側部材17の下端部が支持可能となり、ベース11を構成するベース側板20等に側部材17の下端部を支持するための特別な構造を設ける必要性を一掃することができる。
【0047】
また、側部材17の下部フレーム形成部材107内に位置規制体115の起立部124,125が受容される状態となることで、側部材17の左右方向すなわち横方向への移動も規制できるようになり、当該側部材17の位置を安定的に保つことが可能となる。しかも、起立部124の切り起こし片128が下部フレーム形成部材107の打ち抜き穴111に入り込む構成となっているため、側部材17の縦方向移動規制、すなわち、側部材の浮き上がり規制も効果的に防止することができる。
【0048】
なお、前記実施例では、左右のベースカバー21上に前後二つの位置規制体115が配置される場合を図示、説明したが、本発明はこれに限定されるものではなく、各ベースカバー21上に各一個の位置規制体115を設ける構成であってもよい。また、側部材17の前後方向幅が大きいタイプのものである場合には、位置規制体115を三個以上用いることでもよい。
【0049】
また、縦方向移動規制部としての切り起こし片128は、起立部124の面内に設けたが、これに代えて、他方の起立部125の面内に設けてもよく、また、各起立部124,125の面内に切り起こし片をそれぞれ設けてもよい。更に、切り起こし片128の他、適宜な凸部を起立部124及び又は125に設けてもよい。
【0050】
【発明の効果】
以上説明したように、本発明に係る側部材の位置規制体によれば、ベースの所定位置に配置される本体に移動規制部を備える構成としたから、位置規制体をベースと側部材との間に介在させるだけで、当該側部材の移動を効果的に規制できるとともに、ベース等に特別な移動規制構造を設ける必要を無くすことが可能となる。また、ベースを共通パーツとして利用しつつ支持体に対する側部材の支持位置が異なる各種のバリエーションも選択可能となる。
【0051】
また、前記移動規制部が、側部材の横方向移動規制部と縦方向移動規制部により構成されているため、側部材が支持体に支持された状態で、当該側部材の左右及び上下への移動が規制され、側部材の起立姿勢を安定した状態に保つことが可能となる。
【0052】
更に、前記移動規制部の隣接位置にベース棚板の棚受け部材を併設したから、棚受け部材を支持するための構造もベースに設ける必要がなくなり、位置規制体がベース構造の簡略化に寄与することとなる。
【0053】
また、前記棚受け部材に、棚板前後移動規制部が設けられた構成によれば、位置規制体によって、側部材の移動規制とベース棚板の移動規制の双方を実現することができる。
【0054】
更に、位置規制体の本体がベースに着脱自在に設けられ、前後の装着向きを変更することでベースの左右両側に適合可能とされているから、位置規制体を陳列装置のオプションとして提供することが可能となるだけでなく、部品の共用を通じたコスト削減も図ることができる。
【図面の簡単な説明】
【図1】実施例に係る陳列装置の概略斜視図。
【図2】前記陳列装置の概略分解斜視図。
【図3】前記陳列装置の一部構成部品を省略した右側面図。
【図4】ベースの要部概略斜視図。
【図5】ベースの要部分解斜視図。
【図6】ベース側板の平面図。
【図7】ベース棚板の右側面図。
【図8】支柱の平面図。
【図9】図8の正面図
【図10】(A)は連結部材の平面図、(B)は連結部材の正面図。(C)は連結部材の底面図。
【図11】支柱と連結部材及びキャップの分解斜視図。
【図12】前記キャップの底面図。
【図13】前記キャップの正面図。
【図14】支柱に対して連結部材及びキャップを取り付けたときの位置を示す説明図。
【図15】ベースの要部と側部材の概略分解斜視図。
【図16】(A)は位置規制体の概略斜視図、(B)はその正面図。
【図17】位置規制体と側部材及びベース棚板との相対位置を示す断面図。
【図18】(A)は支持体カバーの正面図、(B)は(A)の右側面図。
【符号の説明】
10 陳列装置
11 ベース
12 支柱(支持体)
17 側部材
22 ベース棚板
115 位置規制体
120 移動規制部
124 起立部(横方向移動規制部)
125 起立部(横方向移動規制部)
121 棚受け部材
134 切除部(棚板前後移動規制部)
[0001]
BACKGROUND OF THE INVENTION
The present invention relates to a position restricting body for a side member, and more particularly, to a position restricting body for a side member that is disposed between a base and a side member that constitute a display device and can restrict the movement of the side member.
[0002]
[Prior art]
Generally, a display device as a store fixture includes a pair of left and right columns arranged at the rear of the base, a pair of left and right side members supported by the columns, and a shelf board arranged between these side members. It is configured. In this display device, when the display areas are formed on both front and rear sides of the support column, a side member having a front-rear width straddling the front and rear display areas is used, and the support column is positioned on the inner surface side of the side member. A configuration in which a side member is supported on a support is common.
[0003]
[Problems to be solved by the invention]
However, when the display device is arranged such that the side member is hooked on the front surface of the support column, the lower end portion of the side member is not located on the outer surface side of the base side plate forming the base. It will be in the state where it hangs in the direction, that is, the horizontal direction. In this case, for example, a special configuration that can be hooked to each other must be employed between the lower end portion of the side member and the upper portion of the base.
[0004]
However, when a special structure for restricting the movement of the side member is provided between the base and the side member, as described above, the display device of the type can be assembled so that the column is positioned on the inner surface side of the side member. When applied, the hook structure between the base and the side member will appear on the appearance, which will greatly impair the appearance of the display device, causing inconvenience that some measures such as concealment are required. .
[0005]
In such a case, it is possible to handle a base with a special structure as a dedicated part, but the display device needs to be able to select various assembly or connection variations through the common use of parts. The use of a dedicated part for a specific display device goes against the recent request to reduce the part cost.
[0006]
OBJECT OF THE INVENTION
The present invention has been devised by paying attention to such inconveniences, and its purpose is to provide a special structure for the base when assembling so that the lower end of the side member is positioned on the upper part of the base. The object is to provide a position restricting body that can restrict the movement of the side member.
[0007]
[Means for Solving the Problems]
In order to achieve the above object, the present invention is a position restricting body provided between an upper portion of a base and a lower end portion of a side member supported by a support at a rear portion of the base,
The main body is arranged at a predetermined position of the base, and a movement restricting portion is provided on the main body and restricts the movement of the side member. With such a configuration, it is possible to effectively restrict the movement of the side member only by interposing the position restricting body between the base and the side member, and eliminate the need to provide a special movement restriction structure on the base or the like. Is possible. In addition, the base can be used as a common part even if variations in which the support positions of the side members with respect to the support are different can be selected.
[0008]
DETAILED DESCRIPTION OF THE INVENTION
The movement restricting part in the present invention employs a configuration including a lateral movement restricting part that restricts the lateral movement of the side member and a longitudinal movement restricting part that restricts the movement in the vertical direction. According to such a configuration, in a state where the side member is supported by the support body, movement of the side member in the left and right and up and down directions is restricted, and the standing posture of the side member can be kept stable. .
[0009]
In addition, a configuration is adopted in which a shelf receiving member of a base shelf plate located on the base upper surface side is further provided at a position adjacent to the movement restricting portion. With such a configuration, it is not necessary to provide a structure for supporting the shelf receiving member in the base, and the position restricting body contributes to simplification of the base structure.
[0010]
Furthermore, it is preferable that the shelf receiving member is provided with a shelf front / rear movement restricting portion that restricts front / rear movement of the base shelf. Thereby, a position control body comes to bear both the movement control of a side member and the movement control of a base shelf board, and can be made to act as a multifunctional type.
[0011]
The main body is detachably provided on both the left and right sides of the base, and can be applied to both the left and right sides of the base by changing the front and rear mounting directions. By adopting such a configuration, it becomes possible to provide the position restricting body as an option of the display device, and it is possible to reduce the parsing cost through the sharing of components having a single structure.
[0012]
In the present specification, the term indicating the position or direction is used as a reference when the display device is viewed in the direction of arrow A in FIG. 1 unless otherwise specified. Therefore, for example, “front” is used for the front side of the display device, while “rear” is used for the depth side of the display device.
[0013]
【Example】
Embodiments of the present invention will be described below with reference to the drawings.
[0014]
FIG. 1 shows a schematic perspective view of a display device according to the present embodiment, and FIG. 2 shows an exploded perspective view thereof. Further, FIG. 3 shows a right side view of FIG. 1 in which the support cover of the display device is omitted. In these drawings, the display device 10 includes a base 11, a pair of left and right support columns 12 as support members disposed on the left and right sides of the rear portion of the base 11, a connecting member 14 for connecting the support columns 12 to each other, A back plate 15 disposed in an inner region surrounded by the connecting member 14 and the left and right columns 12, 12, and a pair of left and right side members 17, 17 supported on the front surface side of the columns 12, 12 and the upper surface side of the base 11. And between these side members 17 and 17, the shelf board 18 supported by the said support | pillars 12 and 12 is provided and comprised.
[0015]
As shown in FIGS. 1, 4 to 7, the base 11 is located on the front side of the support column 12 and is directed to the front-rear direction so as to form a pair of left and right base side plates 20, 20. And a base cover 21 that covers the outer surface of each base side plate 20, a base shelf plate 22 positioned between the side members 17 in the upper part of the base cover 21, and a front end portion of the base side plates 20, 20. And a curtain plate 23 to be configured.
[0016]
As shown in FIGS. 5 and 6, the base side plate 20 is substantially connected to a substantially rectangular side surface portion 25 that is positioned in a substantially vertical plane and extends in the front-rear direction, and an upper end and a lower end of the side surface portion 25. The upper end surface portion 26 and the lower end surface portion 27 directed inward in the horizontal direction, the bent surface portions 28 and 29 directed in the direction facing each other from the inner ends of the upper end surface portion 26 and the lower end surface portion 27, and the front end of the side surface portion 25 A front end face portion 30 which is directed inwardly and continuously from the inner end of the front end face portion 30 to the rear, and is positioned in substantially the same vertical plane as the bent face portions 28 and 29 and does not interfere with each other. In the rear region of the side surface portion 25, the upper end surface portion 26, and the lower end surface portion 27, a folding surface portion 32 provided in the width is provided, and a connecting bracket 34 fixed inside is surrounded by these. A slot hole 35 extending in the front-rear direction is formed in the rear portion of the upper end surface portion 26, and slot holes 37 for attaching the base cover 21 and the curtain plate 23 are formed in two upper and lower portions of the front end surface portion 30. Has been.
[0017]
As shown in FIG. 6, the connecting bracket 34 has a U-shaped bracket body 38 that opens rearward (to the right in the figure), and a middle claw that protrudes rearward from the rear end of the bracket body 38. And an upper stage movable claw part 42 that is positioned above the middle stage claw part 39 and is rotatably supported by the bracket body 38 via a shaft pin 41. The middle claw portion 39 and the lower claw portion 40 are provided on both the left and right sides (upper and lower in FIG. 6) of the bracket body 38, and the upper movable claw portion 42 moves back and forth in the notch portion 44 provided on the upper portion of the bracket body 38. One piece is provided so as to extend in the direction (left-right direction in FIG. 6). Here, the upper movable claw portion 42 is provided in a shape integrally provided with a piece-like operation portion 45 extending toward the front side of the bracket body 38, and the operation portion 45 passes through the slot hole 35 described above. The upper end surface portion 26 is provided so as to be able to appear and retract. It should be noted that the upper movable claw portion 42 can be tightened to the support column 12 when it is in the illustrated position.
[0018]
The base cover 21 has a cover side surface 47 having a planar shape substantially corresponding to the side surface portion 25 of the base side plate 20, and a cover upper surface 48 that is connected to the upper end of the cover side surface 47 and is located on the upper end surface portion 26 of the base side plate 20. A plurality of bent surfaces 49 which are provided downward from the inner end of the cover upper surface 48 and can be hooked on the bent surface portion 28 of the base side plate 20, and the cover front surface directed inward from the front end of the cover side surface 47. 50, a front folded surface 52 directed rearward from the inner end of the front surface 50 of the cover, and a slot hole formed in the front end surface portion 30 of the base side plate 20 connected to the rear end of the front folded surface 52 37 is provided with two upper and lower hooks 53, 53 provided so as to be hookable on 37. Here, between the plurality of bent surfaces 49, as shown in FIG. 5, two notches 55 and 55 for determining a mounting region for a position restricting body, which will be described later, are formed in two front and rear portions.
[0019]
As shown in FIGS. 1 and 7, the base shelf plate 22 includes a flat portion 57, and shelf plate side surfaces 58 and 58 that are located on both left and right sides of the flat portion 57 (in FIG. 7, both sides in the direction orthogonal to the paper surface) The front member 59 is provided on the front end side of the flat portion 57 and exhibits a predetermined decorative effect, and two reinforcing bars 60 and 60 extending in the left-right direction of the flat portion 57. A plate-like member 62 is fixed to the lower left and right side lower surfaces of the flat portion 57, and a tongue piece 63 (see FIG. 2) formed by partial cutting and raising is provided on the plate-like member 62. ing. In addition, the thing of the same structure as the base shelf board 22 is used for the shelf board 18 shown by the middle stage of the display apparatus 10 in FIG.
[0020]
As shown in FIG. 2, the curtain plate 23 includes a horizontally long front portion 65 positioned between the front end portions of the base side plates 20, 20. The two upper and lower claw pieces 66, 66 are formed. These claw pieces 66 are inserted into the slot holes 37 formed in the front end surface portion 30 of the base side plate 20 together with the hooks 53 of the base cover 21 so as to be hooked thereto.
[0021]
As shown in FIGS. 2, 8, and 9, the support column 12 is configured by a substantially prismatic pipe member having an open portion 12 </ b> A at the upper end. The column 12 includes a front surface portion 69 and a rear surface portion 70 that extend substantially parallel to each other, and a pair of left and right (upper and lower in FIG. 8) outer surface portions 71 located between both sides of the front surface portion 69 and the rear surface portion 70 in the short width direction. And the inner side surface part 72 and the adjuster 73 provided in the lower end part are comprised. Slot holes 75 and 75 (see FIG. 2) are formed as support portions in two rows on the left and right sides in each surface of the front surface portion 69 and the rear surface portion 70, and by using these slot holes 75, The base side plates 20, 20 can be attached to the lower part of the column 12. The shelf board 18 (see FIG. 1) can be supported via a single bracket (not shown) that can be hooked into the slot hole 75.
[0022]
Similar to the front surface portion 69 and the rear surface portion 70, slot holes 77 are formed in the front and rear rows along the vertical direction on each surface of the outer surface portion 71 and the inner surface portion 72 of the support column 12. These slot holes 77 can be used to add and connect other display devices 10 or to support side members having front and rear widths straddling the front and rear regions of the support column 12. It is provided to give.
[0023]
As shown in FIGS. 8, 9, and 11, the upper and lower side regions of the outer surface portion 71 and the inner surface portion 72 have first and second double slot shapes positioned substantially on the same line as the extending direction of the slot hole 77. Second cutout holes 80 and 81 are formed. Of these cutout holes 80, 81, the first and second cutout holes 80, 81 provided on the inner surface 72 side are used to hook the connecting member 14 that connects the columns 12 to each other. On the other hand, the 1st and 2nd notch holes 80 and 81 by the side of the outer side surface part 71 are utilized in order to hook the support body cover mentioned later. The first notch hole 80 is provided in a shape provided with a stepped portion 82 closer to the middle front portion where the lower front-rear width (left-right width in FIG. 9) W1 is larger than the upper front-rear width W2. On the other hand, the second cutout hole 81 is provided in a shape having an inclined portion 83 in the rear portion in which the lower front-rear width W3 gradually becomes smaller than the upper front-rear width W4. A groove 85 formed with a recessed surface position is formed along the vertical direction in the middle in the front-rear direction of the outer surface 71 and the inner surface 72, that is, in the middle of the front and rear slot holes 77, 77. By using 85, the back plate 15 (see FIG. 1) can be supported.
[0024]
As shown in FIG. 2, the connecting member 14 is disposed at two positions on the upper and lower sides between the left and right support columns 12 and 12. In FIG. 2, only the connecting member 14 disposed on the upper side of the column 12 is shown in order to avoid complications with other components. As shown in FIGS. 10A to 10C and FIG. 11, the connecting member 14 includes a body member 87 having a substantially U-shaped cross section and extending in the lateral direction, and both left and right ends of the body member 87. It is comprised by the end members 88 and 88 each fixed to the part. The end member 88 includes an upper surface 88A, a front surface 88B, and a rear surface 88C corresponding to the upper surface 87A, the front surface 87B, and the rear surface 87C of the main body member 87, and lower end edges of the front surface 88B and the rear surface 88C gradually move upward and downward. While being provided in a gentle arc shape that reduces the width, the outer end portion is provided in a shape provided with two claw pieces 90, 90. As shown in FIG. 11, these claw pieces 90, 90 are received in the first and second cutout holes 80, 81 on the inner side surface 72 side of each column 12, 12, and the cutout holes 80, 81 are received. It is provided so that it may be caught in the lower end formation edge. In addition, the cap 92 is provided in the state where the claw pieces 90, 90 are hooked in the cutout holes 80, 81, that is, in the state where the connecting member 14 is spanned between the struts 12, in the open portion 12A of each strut 12, 12. , 92 are respectively mounted.
[0025]
As shown in FIGS. 11 to 14, the cap 92 includes a top plate 93 having a substantially rectangular shape in plan view, and a pair of left and right piece members 94, 94 extending downward from both sides in the short width direction of the top plate 93, The connecting block 95 provided between the substantially middle portions of the piece members 94 in the front-rear direction and the lower surface side of the top plate 93 substantially in the short width direction extend downward and are provided substantially parallel to the piece member 94. The reinforcing piece 96 is provided. In the surface of each piece member 94, notched slots 97, 97 that open downward are formed in two regions in the front-rear direction. This notch slot 97 is composed of a narrow slot portion 97A with a narrow upper slot width and a divergent slot portion 97B that gradually widens as the lower slot width goes toward the lower end.
[0026]
Further, as shown in FIG. 14, the cap 92 is in a position where the claw piece 90 of the connecting member 14 is received by the narrow slot portion 97A in a state where the cap 92 is attached so as to close the upper end of the support column 12. Kept. At the same time, the base 90A (shaded portion in FIG. 14) of the claw piece 90 is located in the first and second cutout holes 80 and 81, and the claw piece 90 on the front side is the first cutout hole 80. In this state, when the cap 92 is attached, the upward movement of the claw piece 90 is restricted, and the connecting position of the connecting member 14 is strengthened unless a decomposing force is intentionally applied. It is possible to hold it.
[0027]
As shown in FIG. 15, the side member 17 includes a frame frame 100 that follows a substantially vertical rectangular outer shape, and a plurality of side members 17 that are arranged vertically in the inner region of the frame frame 100 and are substantially parallel to each other. It consists of a vertical wire 101 and a plurality of horizontal wires 102 which are arranged so as to cross the vertical wire 101 in the front-rear direction and are substantially parallel to each other. A portion 104 is formed.
[0028]
The frame 100 includes front and rear frame forming members 107 and 108 that are substantially parallel to each other, and an upper frame forming member 109 and a lower portion that are disposed between upper and lower ends of the front and rear frame forming members 107 and 108. It consists of a frame forming member 110. The other frame forming members 107 to 109 except for the lower frame forming member 110 are made of prismatic material, while the lower frame forming member 110 is made of a U-shaped square member that opens downward, Are formed with two punched holes 111 at the front and rear.
[0029]
A plurality of hooks 112 are provided at the rear end portion of the rear frame forming member 108, and these hooks 112 are hooked into slot holes 75 formed in the front surface portion 69 of the support column 12. The lower frame forming member 110 that forms the lower end of the side member 17 is supported via a position restricting body 115 that is mounted on the base cover 21 that constitutes the base 11.
[0030]
As shown in FIGS. 15 and 16, the position restricting body 115 includes a substantially rectangular board portion 117 having a width slightly larger than the lateral width of the cover upper surface 48 of the base cover 21, and the board portion 117. Together with a pair of drooping surface portions 118 and 119 provided downward from the left and right sides of the substrate portion 117, and attached to the upper surface of the substrate portion 117, and within the lower frame forming member 110 of the side member 17. The movement restricting portion 120 located at the position and the shelf receiving member 121 provided along with the movement restricting portion 120 are configured.
[0031]
As shown in FIG. 17, of the pair of suspended lower surface portions 118 and 119, one suspended lower surface portion 118 is located outside the upper end portion of the base cover 21, and the other suspended lower surface portion 119 is a bent surface of the base cover 21. It is located in the cutout portion 55 formed in the 49 region, so that the position restricting body 115 is kept immovable in the front-rear direction of the base.
[0032]
The movement restricting portion 120 has a pair of upright portions 124 and 125 that are directed along the extending direction of the lower frame forming member 110 and act as a lateral movement restricting portion of the side member 17, and the upright portions 124, It is provided in a substantially U-shaped external shape composed of a fixed surface portion 126 positioned between the base ends of 125. A cut-and-raised piece 128 that functions as a longitudinal movement restricting portion of the side member 17 is formed in the surface of the upright portion 124, and the cut-and-raised piece 128 is, as shown in FIG. 110 is provided so that it can be caught in the punching hole 111.
[0033]
The shelf receiving member 121 is configured by a substantially L-shaped member. That is, the base portion 130 and the side piece portion 131 that rises upward from one end of the base portion 130. The surface of the side piece 131 is positioned substantially parallel to the upright portions 124 and 125 and is positioned within the shelf side surface 58 of the base shelf 22. At the upper end of the side piece 131, cut portions 134 and 134 as shelf plate front and rear movement restricting portions are formed in two front and rear regions, and one of these cut portions 134 has a flat surface of the base shelf plate 22. The tongue piece 63 located on the lower surface of the portion 57 is received and the movement of the base shelf board 22 back and forth is restricted.
[0034]
Before and after attaching the side member 17 to the support column 12, a support cover 140 is attached to the outer surface portion 71 of the support column 12. As shown in FIG. 18, the support cover 140 is disposed on both sides of a long strip-shaped cover surface portion 141 along the length direction of the support column 12 and the short width direction of the cover surface portion 141, and has a lower end edge. The first to the first are arranged in a distributed manner at three positions, that is, the bent surface portions 142 and 142 whose length is higher than the lower end edge position of the cover surface portion 141, and the upper end portion, middle portion, and lower end portion of the cover surface portion 141. 3 claw holding members 143, 144, 145.
[0035]
The first and second claw holding members 143 and 144 have substantially the same structure. Each of the claw holding members 143 and 144 is formed by cutting and raising two planes of the fixed surface portions 147 and 148 formed in a plane and the front and rear sides (left and right in FIG. 18A) of the respective fixed surface portions 147 and 148. The claw 150 is hooked in the first and second cutout holes 80 and 81 formed in the side surface portion 71 of the support column 12, while the claw 151 is hooked in the lower slot hole 77. It is like that.
[0036]
The third claw holding member 145 is formed by cutting and raising a fixed surface portion 153 having a length in the vertical direction longer than the fixed surface portion 147 of the first claw holding member 143 and two in-plane positions of the fixed surface portion 153. The pair of claws 154 can be hooked into the lower slot hole 77 of the column 12.
[0037]
Next, an overall assembly procedure of the display device 10 according to the present embodiment will be described.
[0038]
First, the base side plates 20 are connected using the lower slot holes 75 provided in the front surface portions 69 of the corresponding columns 12. In this connection, the operation part 45 is projected upward from the slot hole 35 so that the upper movable claw part 42 is displaced downward. In this state, the middle claw part 39 and the lower claw part 40 are After inserting into the slot hole 75, the operation piece 45 is pushed downward from the position of the slot hole 35. By this pushing, the upper movable claw portion 42 is displaced upward, and at this time, the upper end forming edge of the corresponding slot hole 75 is strongly bitten to increase the connection strength.
[0039]
After the base side plate 20 is connected to each support column 12 in this way, a connecting member (not shown) is bridged between the support columns 12, and the left and right ends of the back plate 15 are received in the grooves 85 between the support columns 12. And attach it by sliding. Then, the connecting member 14 is stretched over the upper ends of the columns 12 and 12. That is, the claw pieces 90, 90 provided at the left and right ends of the connecting member 14 are inserted so as to be hooked from the upper ends of the first and second cutout holes 80, 81. Then, the cap 92 is inserted from the upper end of each column 12. In this state, the claw pieces 90 and 90 are positioned in the divergent slot portions 97 </ b> B and 97 </ b> B of the notch slots 97 and 97 formed in the cap 92. Here, when a pressing force from above is applied to the cap 92, the base portion 90 </ b> A of the claw piece 90 enters the narrow slot portions 97 </ b> A and 97 </ b> A of the cap 92 and the inclined portion 83 of the second notch hole 81 The pieces 90, 90 move forward to slightly move the entire connecting member 14 forward, and the claw piece 90 in the first cutout hole 80 is positioned below the step portion 82. Therefore, when the cap 92 is completely pushed into the upper end of the support column 12, the claw piece 90 is in a state where the base portion 90A is hooked on the stepped portion 82 without being deformed. The state is never released.
[0040]
Next, the base cover 21 is attached to the outside of the base side plate 20. This mounting is performed by hooking a hook 53 provided inside the front portion of the base cover 21 into a slot hole 37 provided in the front end surface portion 30 of the base side plate 20. Thereafter, the curtain plate 23 is positioned between the front portions of the left and right base side plates 20 and 20, and the claw pieces 66 and 66 on the left and right sides of the curtain plate 23 are hooked in the slot holes 37 and 37, respectively. At this time, the slot hole 37 is in a state of integrally receiving the hook 53 of the base cover 21 and the claw piece 66 of the curtain plate 23.
[0041]
And the position control bodies 115 and 115 are set on the cover upper surfaces 48 and 48 of the left and right base covers 21 and 21, respectively. These position restricting bodies 115 are set so that the drooping lower surface portion 119 of the position restricting body 115 is positioned in the cutout portion 55 of the bent surface 49 in the base cover 21. Therefore, the position restricting body 115 after being set in this way is restricted from moving back and forth and left and right.
[0042]
In this manner, the base shelf board 22 is arranged with the position restricting body 115 set. In other words, the side piece 131 of the shelf receiving member 121 in the position restricting body 115 is arranged so as to be located in the shelf side surface 58 of the base shelf board 22. At this time, the tongue pieces 63 positioned on the left and right lower surfaces of the flat portion 57 of the base shelf plate 22 enter the cut portion 134 of the side piece portion 131, whereby the base shelf plate 22 The movement to the left and right is supported in a restricted state.
[0043]
Next, the side members 17 are disposed on the front surface 69 side of each of the left and right support columns 12 and on the cover upper surface 48 side of the base cover 21. In this side member 17, the hooks 112 provided on the rear frame forming member 108 are hooked in the slot holes 75 of the support column 12, and at the same time, the standing portions 124 and 125 of the position restricting body 115 enter inside the lower frame forming member 110. This is done. At this time, the cut-and-raised piece 128 provided on the one standing portion 124 is positioned in the punching hole 111 of the lower frame forming member 110, whereby the lateral movement of the side member 17 and the vertical direction are performed. Both rising and falling will be regulated. The hook 112 uses the slot holes 75 in the outer row of the left and right slot holes 75 in the front surface 69 of the support column 12. It is used as an area for hooking a hook of a single bracket that does not.
[0044]
Thereafter, the shelf board 18 having the same structure as that of the base shelf board 22 is disposed at a predetermined height position via a bracket (not shown) that is hooked in the slot hole 75 described above.
[0045]
A support cover 140 is attached to the side surface portion 71 located outside each support column 12 before and after the attachment of the side member 17. In this mounting, the claw 150 provided on the first claw holding member 143 is hooked into the first and second cutout holes 80 and 81 formed at the upper end of the support column 12, while the second and third claw holding members are used. This is done by hooking the claws 151, 154 provided on 144, 145 into the corresponding slot holes 77, whereby the assembly of the entire display device 10 can be completed.
[0046]
Therefore, according to such an embodiment, the lower end portion of the side member 17 can be supported simply by placing the position restricting body 115 on the base cover 21, and the base side plate 20 constituting the base 11 is supported. Thus, the necessity for providing a special structure for supporting the lower end portion of the side member 17 can be eliminated.
[0047]
Further, since the standing portions 124 and 125 of the position restricting body 115 are received in the lower frame forming member 107 of the side member 17, the movement of the side member 17 in the left-right direction, that is, the lateral direction can also be restricted. Accordingly, the position of the side member 17 can be stably maintained. Moreover, since the cut-and-raised piece 128 of the standing portion 124 is configured to enter the punched hole 111 of the lower frame forming member 107, it is also possible to effectively prevent the side member 17 from moving in the vertical direction, that is, the side member from being lifted up. can do.
[0048]
In the above embodiment, the case where the two front and rear position restrictors 115 are arranged on the left and right base covers 21 is shown and described, but the present invention is not limited to this, and each base cover 21 A configuration may be provided in which one position restricting body 115 is provided. When the side member 17 is of a type having a large width in the front-rear direction, three or more position restricting bodies 115 may be used.
[0049]
Further, the cut and raised piece 128 as the vertical movement restricting portion is provided in the surface of the upright portion 124, but may be provided in the surface of the other upright portion 125 instead. Cut and raised pieces may be provided in the planes of 124 and 125, respectively. Further, in addition to the cut and raised piece 128, an appropriate convex portion may be provided on the standing portions 124 and 125.
[0050]
【The invention's effect】
As explained above, according to the position restricting body of the side member according to the present invention, since the main body arranged at a predetermined position of the base is provided with the movement restricting portion, the position restricting body is formed between the base and the side member. It is possible to effectively restrict the movement of the side member simply by interposing it in between, and to eliminate the need to provide a special movement regulating structure on the base or the like. Also, various variations in which the support position of the side member with respect to the support is different while using the base as a common part can be selected.
[0051]
Moreover, since the said movement control part is comprised by the horizontal direction movement control part and the vertical direction movement control part of a side member, in the state in which the side member was supported by the support body, the said side member to the left and right and up and down The movement is restricted, and the standing posture of the side member can be kept stable.
[0052]
Further, since the shelf support member of the base shelf board is provided adjacent to the movement restricting portion, it is not necessary to provide the base with a structure for supporting the shelf support member, and the position restricting body contributes to simplification of the base structure. Will be.
[0053]
Moreover, according to the structure by which the shelf receiving member was provided with the shelf back-and-forth movement restriction part, both the movement restriction of the side member and the movement restriction of the base shelf board can be realized by the position restricting body.
[0054]
Furthermore, since the body of the position restricting body is detachably provided on the base and can be adapted to both the left and right sides of the base by changing the front and rear mounting directions, the position restricting body is provided as an option of the display device. In addition, it is possible to reduce costs by sharing parts.
[Brief description of the drawings]
FIG. 1 is a schematic perspective view of a display device according to an embodiment.
FIG. 2 is a schematic exploded perspective view of the display device.
FIG. 3 is a right side view in which some components of the display device are omitted.
FIG. 4 is a schematic perspective view of a main part of a base.
FIG. 5 is an exploded perspective view of a main part of the base.
FIG. 6 is a plan view of a base side plate.
FIG. 7 is a right side view of the base shelf board.
FIG. 8 is a plan view of a column.
FIG. 9 is a front view of FIG.
10A is a plan view of a connecting member, and FIG. 10B is a front view of the connecting member. (C) is a bottom view of a connection member.
FIG. 11 is an exploded perspective view of a column, a connecting member, and a cap.
FIG. 12 is a bottom view of the cap.
FIG. 13 is a front view of the cap.
FIG. 14 is an explanatory diagram showing a position when a connecting member and a cap are attached to the support column.
FIG. 15 is a schematic exploded perspective view of a main part of the base and side members.
16A is a schematic perspective view of a position restricting body, and FIG. 16B is a front view thereof.
FIG. 17 is a cross-sectional view showing the relative positions of the position restricting body, the side members, and the base shelf board.
18A is a front view of a support cover, and FIG. 18B is a right side view of FIG.
[Explanation of symbols]
10 display device
11 base
12 Support (support)
17 Side member
22 Base shelf board
115 Position restriction body
120 Movement Control Department
124 Standing part (lateral movement restriction part)
125 Standing part (lateral movement restriction part)
121 Shelf receiving member
134 Excision part (shelf board back-and-forth movement restriction part)

Claims (5)

ベースの上部と、ベース後部の支持体に支持される側部材の下端部との間に設けられる位置規制体であって、
前記ベースの所定位置に配置される本体と、この本体に設けられるとともに、前記側部材の移動を規制する移動規制部とを備えていることを特徴とする側部材の位置規制体。
A position restricting body provided between the upper part of the base and the lower end part of the side member supported by the support body at the rear of the base,
A side member position restricting body comprising: a main body disposed at a predetermined position of the base; and a movement restricting portion that is provided on the main body and restricts movement of the side member.
前記移動規制部は、前記側部材の横方向の移動を規制する横方向移動規制部と、縦方向の移動を規制する縦方向移動規制部とを備えていることを特徴とする請求項1記載の側部材の位置規制体。The said movement control part is provided with the horizontal direction movement control part which controls the horizontal movement of the said side member, and the vertical direction movement control part which controls the movement of a vertical direction. Position restricting body of the side member. 前記移動規制部の隣接位置に、ベース上面側に位置するベース棚板の棚受け部材を更に備えていることを特徴とする請求項1又は2記載の側部材の位置規制体。The side member position restricting body according to claim 1 or 2, further comprising a shelf receiving member of a base shelf board located on the base upper surface side at a position adjacent to the movement restricting portion. 前記棚受け部材には、ベース棚板の前後移動を規制する棚板前後移動規制部が設けられていることを特徴とする請求項3記載の側部材の位置規制体。The position restricting body for a side member according to claim 3, wherein the shelf receiving member is provided with a shelf front / rear movement restricting portion for restricting front / rear movement of the base shelf. 前記本体は、前記ベースの左右両側に着脱自在に設けられ、前後の装着向きを変更することでベースの左右何れにも適用可能とされていることを特徴とする請求項1,2,3又は4記載の側部材の位置規制体。The said main body is detachably provided on both the left and right sides of the base, and can be applied to either the left or right of the base by changing the front and rear mounting directions. 4. The side member position restricting body according to 4.
JP2002093498A 2002-03-29 2002-03-29 Side member position restricting body Expired - Fee Related JP4061943B2 (en)

Priority Applications (1)

Application Number Priority Date Filing Date Title
JP2002093498A JP4061943B2 (en) 2002-03-29 2002-03-29 Side member position restricting body

Applications Claiming Priority (1)

Application Number Priority Date Filing Date Title
JP2002093498A JP4061943B2 (en) 2002-03-29 2002-03-29 Side member position restricting body

Publications (2)

Publication Number Publication Date
JP2003284633A JP2003284633A (en) 2003-10-07
JP4061943B2 true JP4061943B2 (en) 2008-03-19

Family

ID=29237929

Family Applications (1)

Application Number Title Priority Date Filing Date
JP2002093498A Expired - Fee Related JP4061943B2 (en) 2002-03-29 2002-03-29 Side member position restricting body

Country Status (1)

Country Link
JP (1) JP4061943B2 (en)

Families Citing this family (3)

* Cited by examiner, † Cited by third party
Publication number Priority date Publication date Assignee Title
JP2008073321A (en) * 2006-09-22 2008-04-03 Serata:Kk Side plate attaching structure of display shelf
EP2719479B1 (en) 2011-06-13 2016-08-17 Mitsubishi Electric Corporation Insertion frame structure and housing using same
JP5990386B2 (en) * 2012-03-06 2016-09-14 株式会社岡村製作所 Goods display shelf

Also Published As

Publication number Publication date
JP2003284633A (en) 2003-10-07

Similar Documents

Publication Publication Date Title
JP4818601B2 (en) Chair with hanger
JP4061943B2 (en) Side member position restricting body
JP4158398B2 (en) Connecting structure of connecting members
JP4061944B2 (en) Display device
JP2704707B2 (en) Double pillar assembly shelf
JP2003135203A (en) Backrest device of chair
JP2018143786A (en) desk
JP3498648B2 (en) Wiring cover
JP3430941B2 (en) Shelf partition structure
JP4602530B2 (en) Cover device for wiring opening in desk
JP7158747B2 (en) display fixtures
JP4441373B2 (en) Hanger mounting structure on chair
JP4002454B2 (en) Connection structure between desks and low partitions
JP4729190B2 (en) Gutter support
JP2001104060A (en) Wiring cover
JP3690510B2 (en) desk
JPS6031573Y2 (en) Bracket for curtain rail
JP6345913B2 (en) desk
JP4377202B2 (en) table
JP4071408B2 (en) Mounting structure of the crosspiece at the opening of the partition
JP2002165680A (en) Fitting for fall preventive member and mounting structure thereof
JP3303811B2 (en) Cap mounting structure
JP4472055B2 (en) Support structure on work table
KR200203273Y1 (en) Seat cushion structures
JP3052878U (en) File binding device

Legal Events

Date Code Title Description
A621 Written request for application examination

Free format text: JAPANESE INTERMEDIATE CODE: A621

Effective date: 20050203

A977 Report on retrieval

Free format text: JAPANESE INTERMEDIATE CODE: A971007

Effective date: 20070731

TRDD Decision of grant or rejection written
A01 Written decision to grant a patent or to grant a registration (utility model)

Free format text: JAPANESE INTERMEDIATE CODE: A01

Effective date: 20071204

A61 First payment of annual fees (during grant procedure)

Free format text: JAPANESE INTERMEDIATE CODE: A61

Effective date: 20071217

R150 Certificate of patent or registration of utility model

Free format text: JAPANESE INTERMEDIATE CODE: R150

FPAY Renewal fee payment (event date is renewal date of database)

Free format text: PAYMENT UNTIL: 20110111

Year of fee payment: 3

FPAY Renewal fee payment (event date is renewal date of database)

Free format text: PAYMENT UNTIL: 20120111

Year of fee payment: 4

FPAY Renewal fee payment (event date is renewal date of database)

Free format text: PAYMENT UNTIL: 20130111

Year of fee payment: 5

LAPS Cancellation because of no payment of annual fees