JP4023580B2 - 学習机用の棚装置 - Google Patents

学習机用の棚装置 Download PDF

Info

Publication number
JP4023580B2
JP4023580B2 JP29843099A JP29843099A JP4023580B2 JP 4023580 B2 JP4023580 B2 JP 4023580B2 JP 29843099 A JP29843099 A JP 29843099A JP 29843099 A JP29843099 A JP 29843099A JP 4023580 B2 JP4023580 B2 JP 4023580B2
Authority
JP
Japan
Prior art keywords
shelf
lamp
lighting device
desk
column
Prior art date
Legal status (The legal status is an assumption and is not a legal conclusion. Google has not performed a legal analysis and makes no representation as to the accuracy of the status listed.)
Expired - Lifetime
Application number
JP29843099A
Other languages
English (en)
Other versions
JP2000270932A (ja
Inventor
一樹 親木
篤 新田見
好博 太洞
Current Assignee (The listed assignees may be inaccurate. Google has not performed a legal analysis and makes no representation or warranty as to the accuracy of the list.)
Itoki Corp
Original Assignee
Itoki Corp
Priority date (The priority date is an assumption and is not a legal conclusion. Google has not performed a legal analysis and makes no representation as to the accuracy of the date listed.)
Filing date
Publication date
Application filed by Itoki Corp filed Critical Itoki Corp
Publication of JP2000270932A publication Critical patent/JP2000270932A/ja
Application granted granted Critical
Publication of JP4023580B2 publication Critical patent/JP4023580B2/ja
Anticipated expiration legal-status Critical
Expired - Lifetime legal-status Critical Current

Links

Images

Landscapes

  • Tables And Desks Characterized By Structural Shape (AREA)
  • Arrangement Of Elements, Cooling, Sealing, Or The Like Of Lighting Devices (AREA)

Description

【0001】
【発明の属する技術分野】
本発明は、学習机に使用される照明装置付き棚装置に関するものである。
【0002】
【従来の技術】
学習机の多くは天板の後部に棚装置を設けており、この棚装置には机上を照らすための照明装置を設けている。その場合、照明装置は、蛍光灯等の灯具を棚装置に一体に取付けたタイプと、照明装置をスタンド式に構成して、これを棚装置とは分離して天板に設けたものとに大別される。
【0003】
照明装置を棚装置に一体的に取付けるタイプでは、高い段の棚板の下面に灯具を取付けたものや、例えば実公平 4-55372号公報のように、棚装置における背板の前面に支柱を固定し、この支柱に灯具を取り付けたものなどがある。
【0004】
他方、照明装置と棚装置とを分離した例として、実公昭58-40897号公報には、棚装置の棚板を照明装置よりも高い部位に設け、この棚板の下方に形成されたオープンスペースに照明装置を左右移動自在に設けることが開示されている。
【0005】
また、実公平3-3208号公報には、棚装置に、照明装置の高さよりも低い高さの棚板を設けるにおいて、その棚板の左右巾寸法を棚装置の間口寸法よりも短かい寸法に設定し、この棚板の一端部と棚装置の側板との間に形成された空間に照明装置を納め入れることが記載されている。
【0006】
更に、実開平4-112635号公報には、棚装置を上棚と下棚とに分離構成し、下棚に照明装置を一体に取付けることが記載されており、この先行技術では、照明装置の支柱を棚装置における背板の前面に配置している。
【0007】
【発明が解決しようとする課題】
従来の支柱方式の照明装置は、支柱が棚装置における背板の表側に配置されているため、収納効率及び体裁が悪いと共に、支柱が物品の出し入れの邪魔になるといった問題があった。本発明は、この問題を解消することを目的とする。
【0008】
【課題を解決するための手段】
本願発明は、左右側板と棚板と背板とを備えると共に、前記背板には学習机の机上を照らす照明装置が取付けられている、という学習机用の棚装置において、前記照明装置は1本の支柱の上端部に灯具を取付けた構成であり、この照明装置は、支柱が棚装置の裏側に位置して灯具が前記背板の表側に位置する状態に配置されており、前記支柱が背板の裏面に固定されている。更に、前記灯具は蛍光灯とこれを覆う笠とを有していて笠の上方には棚板が配置されており、このため前記支柱が固定されている背板と前記灯具の上方に位置した棚板との間には空間が空いており、かつ、前記灯具の笠に蛍光灯のスイッチを設けている。
【0009】
【0010】
【0011】
本願発明において、支柱はパイプ状や棒状、板状など必要に応じて様々の断面形状のものを使用できる。棚装置の具体的な構造(高さや棚板の枚数、仕切り形態など)も、必要に応じて設定できることは言うまでもない。
【0012】
【発明の作用・効果】
本願発明によると、照明装置の支柱は棚装置の裏側に隠れているため、体裁が悪くなったり、物品の出し入れに際して照明装置の支柱が邪魔になって使い勝手が悪くなったりすることはない。
【0013】
実施形態のように棚装置を上棚と下棚とに分離構成すると、上下棚の両方を使用したり、上棚を取り外して下棚のみを使用したり、或いは上下の棚とも取り外して照明装置のみを使用したりというように、机の使用パターンが広がるため、ユーザーの要望にきめ細かく対応できる。
【0014】
【発明の実施形態】
次に、本発明の実施形態を図面に基づいて説明する。なお、以下の説明では学習机は単に「机」と呼ぶ。
【0015】
(1).第1実施形態(図1〜7)
図1〜図7では第1実施形態を示している。このうち図1は分離斜視図、図2は正面図、図3のうち分図 (A)は図2の IIIA-IIIA視断面図、分図 (B)は部分断面図である。
【0016】
机1は、天板2と左右脚体3と袖袋4並びに平抽斗5を備えており、天板2の後部に、棚装置6と照明装置7とを配置している。棚装置6は天板2の横巾寸法と略同じ横幅寸法になっている。
【0017】
棚装置6は下棚8と上棚9とから成っており、上下棚8,9 とも、左右一対の側板10,11 と、左右側板10,11 間に差し渡し固定した棚板12,13 と、背板14,15 とを備えている。また、適当な枚数の仕切り板16も備えている。上棚9の棚板13は側板11の中途高さに位置している。下棚8の棚板12は側板10の下面よりも高い位置に配置しており、この棚板12のうち右寄り部位の下面には抽斗17を設けている。下棚8の背板14と上棚9の棚板13との間には、左右全長にわたって空間が空いている。
【0018】
下棚8における左右側板10の上面と上棚9における左右側板11の下面には互いに重なり合う穴18が空いており、この穴18に図示しないダボ(ピン)を嵌め入れることにより、上下棚8,9 がずれ不能に保持されている。また、図2に示すように、上下棚8,9 の側板10,11 はねじ止め式の上固定具19によって離脱不能に保持されている。従って、上固定具19を取り外すと、上棚9だけを取り外すことができる。
【0019】
また、下棚8の左右側板10はねじ式等の下固定具20で天板2に固定されており、下固定具20を取外すと棚装置6の全体を取り外すことができる。
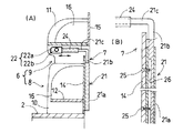
照明装置7は、角パイプ状の固定部21aに中実状(パイプ状でも良い)の可動部21bを摺動自在に嵌め入れて成る伸縮式の支柱21と、笠22aで蛍光灯22bを覆った灯具22とを備えている。笠22aの前面にはスイッチ23を設けている。
【0020】
支柱21における可動部21bの上端には前向きのアーム21cが一体に形成されており、このアーム21cに、笠22aに後ろ向き突設したガイド筒24を前後摺動自在に嵌め入れている。従って、灯具22は、高さを自在に調節することができると共に、前後方向にも自在に移動させることができる。
【0021】
図3に示すように、支柱21の固定部21aは下棚8における背板14の裏面に重なっており、背板14に前方から挿入した複数本のねじ25により、支柱21の固定部21aを背板14の裏面に締結している。支柱21のアーム21cは、下棚8の背板14と上棚9の棚板13との間に形成された空間から前方に延びている。なお、支柱21の可動部21bには、ねじ25の干渉を防止するために長溝26が形成されている。
【0022】
図示していないが、支柱21には、可動部21bを任意の高さに固定するためのねじ等のロック手段を設けている。この場合、可動部21bは無段階的に高さ調節できる構成でも良いし、段階的に高さ調節できる構成でも良い。また、灯具22のガイド筒24には、図示しない抜け止め手段を設けている。
【0023】
図3(A)に示すように、上棚9の背板15は下棚8の背板14よりも後方にずれた状態になっており、支柱21の固定部21aと上棚9の背板15との後面を揃えた状態にしている。このようにすると、照明装置7を取付けた状態で棚装置6を梱包して運搬・保管するに際して、支柱21の損傷を防止できる利点がある。もとより、両背板14,15 の前後位置を揃えても良い。
【0024】
図4及び図5では、上棚9だけを外した状態を示している。このように上棚9だけを取り外した状態でも、図2〜図3のように上棚9を取付けた状態でも、いずれにしても照明装置7の支柱21は下棚8における背板14の裏側に位置している。このため、棚装置6の収納効率が悪化したり外観が悪化したり、或いは、支柱21が物品の出し入れの邪魔になったりすることはない。
【0025】
図6〜図7に示すように、棚装置6を全て取り外して照明装置7だけを使用する場合は、別途用意しておいたねじ式の支持具(クランプ)27を天板2の後端縁に固定し、この支持具27によって照明装置7の支柱21を倒れ不能に保持するようにしている。
【0026】
支持具27は、照明装置7の支柱21を倒れ不能に保持する支持手段の一例を成すもので、側面視コ字状の本体28を備えている。本体28の上面には、支柱21の固定部21aが嵌まる受け部29を一体に固着する一方、本体29の下片に、天板2の下面を押さえるねじ棒30を螺合している。支柱21の固定部21aは、支持具27の受け部29にねじ31で締結されているが、このねじ31と、下棚8に支柱21を固定するためのねじ25とを兼用すると、部品点数を低減できると共に、ねじの紛失を防止できて好適である。
【0027】
棚装置6を取り外すと机上は広々となるので、図7に示すように、パソコンやワープロにおける大きな画面のディスプレイ32を設置することも簡単になる。灯具22は高さ調節自在でしかも前方に大きく引き出せるため、図4のように上棚9を取り外した状態においても、下棚8の棚板10に嵩高のディスプレイ32等を設置することができる。
【0028】
実施形態のように棚装置6の間口寸法に近い長さの蛍光灯22bを使用すると、机上を明るく照らすことができる利点がある。
【0029】
ところで、一般に、低学年の児童は棚装置が付いた机を好むが、高学年になると棚装置のないシンプルな机を好む傾向がある。また、高学年になると机上で使用する物品(学用品等)の数が増えると共に物品の大きさも大きくなるため、机上を広く使いたいという要望が強くなり、このため、高学年になるに従って机から棚装置を取り外すことが多くなる。
【0030】
しかるに、従来の学習机のうち、灯具を棚板の下面に設けた構造では、棚装置の内部がすっきりとして収納効率が良いと共に、書籍やノート等の物品を体裁よく収納できる利点がある反面、棚装置を取り外してしまうと照明装置を新たに購入しなければならないため、余分な出費を強いられるという問題があった。
【0031】
他方、照明装置と棚装置とを分離構成した場合には、棚装置を取り外しても照明装置はそのまま使用できるので余分な出費は無いが、棚装置を取付けた状態では照明装置の支柱部が棚装置の内部に露出しているため、収納効率及び体裁が悪いと共に、支柱が物品の出し入れの邪魔になるといった問題があった。
【0032】
更に、実開平4-112635号公報のように、棚装置を上棚と下棚とに分離構成し、下棚に照明装置を一体に取付けた場合は、照明装置だけを取外して使用することはできないため、棚装置の全体を取り外してしまうと、別の照明装置を新たに購入しなければならず、このため、余分な出費を強いられるという問題を解消することはできないのであり、また、照明装置の支柱が棚装置における背板の表側に位置しているため、収納効率及び体裁が悪いと共に、支柱が物品の出し入れの邪魔になるという問題を解消することもできない。
【0033】
これらの問題に対して、本実施形態のように、棚装置6を取り外して照明装置7のみを使用できるようにした支持具(支持手段)27を設けると、棚装置6を配置した状態での収納効率及び体裁の悪化を招来することはなく、しかも、棚装置6を取り外した後は照明装置7をそのまま使用できるため、余分な出費がかかることもない利点がある。
【0034】
また、机1と棚装置6とは出荷に際して別々に梱包するのが通常であるので、本実施形態のように、照明装置7の支柱21を棚装置6に固定しておくと、照明装置6と棚装置7とを一体に梱包できるため、机を出荷するに際しての梱包の手間や運搬・保管の手間、並びに組立の手間を低減できる利点がある。
【0035】
また、本実施形態のように、棚装置6を下棚8と上棚9とに分離構成しておくと、棚装置6の全体を使用することに加えて、上棚9を取り外して下棚8のみを使用したり、或いは上下棚8,9 とを取り外して照明装置7のみを使用したりというように、机1の使用パターンが広がるため、ユーザーの要望にきめ細かく対応できて好適である。
【0036】
(2).第2実施形態(図8)
図8では、電源コンセントの取付け手段に関する第2実施形態を示している。このうち分図 (A)では、下棚8における棚板10の前端部にブラケット34を介してコンセント35を取付け、コンセント35に給電するためのコード36は、背板14に空けた穴37から引き込んでいる。
【0037】
また、分図 (B)では、支柱21の固定部21aの前面にコンセント35を設け、このコンセント35を、下棚8の背板14に空けた穴38を介して前方に露出させている。図8(B)のように構成すると、棚装置6を取り外した後にもコンセント35を使用できる利点がある。
コンセント35は、灯具22の笠22aのような他の部位に設けても良い。
【0038】
(3).第3実施形態(図9)
図9では、支柱21の支持手段の別例である第3実施形態を示している。このうち分部 (A)で示す例では、支柱21の固定部21dの下端に、天板2に広い面積で重なり合う足部21dを一体に形成し、この足部21dを、ねじ式の支持具27で天板2に固定している。
【0039】
また、分図 (B)で示す例では、固定部21aの下端に形成した足部21dをねじ39で天板2に押さえ固定している。符号40で示すのは鬼目ナットである。
この図9では、出荷段階で既に支柱21は天板2に固定されている。
【0040】
【0041】
【0042】
【0043】
【0044】
【0045】
【0046】
【0047】
【0048】
【0049】
【0050】
【0051】
【0052】
【0053】
(4).その他
以上、本発明の実施形態を幾つか説明したが、本発明は更に様々の形態に具体化できる。例えば、一つの灯具に複数本の蛍光灯を取付けても良い。また、灯具は必ずしも棚装置の間口寸法に近い長さに設定する必要はなく、例えば、間口寸法の半分程度の長さにするなど、必要に応じて適宜設定すれば良い。
【0054】
また、棚装置は上下分離方式には限らず、単一構造でも良い。
【図面の簡単な説明】
【図1】第1実施形態の分離斜視図である。
【図2】第1実施形態の正面図である。
【図3】 (A)は図2の IIIA-IIIA視断面図、 (B)は部分側断面図である。
【図4】使用状態の一例を示す正面図である。
【図5】図4の側断面図である。
【図6】支持具(支持手段)の一例を示す斜視図である。
【図7】棚装置を全て取り外して、照明装置のみを使用している状態の側面図である。
【図8】第2実施形態を示す断面図である。
【図9】第3実施形態を示す断面図である。
【符号の説明】
1 学習机
2 天板
6 棚装置
7 照明装置
8 下棚
9 上棚
10,11 側板
12,13 棚板
14,15 背板
21 照明装置の支柱
21c 照明装置のアーム
22 照明装置の灯具
27 支持具
32 パソコン等におけるディスプレイ

Claims (1)

  1. 左右側板と棚板と背板とを備えると共に、前記背板には学習机の机上を照らす照明装置が取付けられている、という学習机用の棚装置であって、
    前記照明装置は1本の支柱の上端部に灯具を取付けた構成であり、この照明装置は、支柱が棚装置の裏側に位置して灯具が前記背板の表側に位置する状態に配置されており、前記支柱が背板の裏面に固定されており、
    更に、前記灯具は蛍光灯とこれを覆う笠とを有していて笠の上方には棚板が配置されており、このため前記支柱が固定されている背板と前記灯具の上方に位置した棚板との間には空間が空いており、かつ、前記灯具の笠に蛍光灯のスイッチを設けている、
    学習机用の棚装置。
JP29843099A 1998-02-20 1999-10-20 学習机用の棚装置 Expired - Lifetime JP4023580B2 (ja)

Applications Claiming Priority (1)

Application Number Priority Date Filing Date Title
JP10039034A JP3014996B2 (ja) 1998-02-20 1998-02-20 棚装置と照明装置とを備えた机

Related Parent Applications (1)

Application Number Title Priority Date Filing Date
JP10039034A Division JP3014996B2 (ja) 1998-02-20 1998-02-20 棚装置と照明装置とを備えた机

Publications (2)

Publication Number Publication Date
JP2000270932A JP2000270932A (ja) 2000-10-03
JP4023580B2 true JP4023580B2 (ja) 2007-12-19

Family

ID=12541839

Family Applications (2)

Application Number Title Priority Date Filing Date
JP10039034A Expired - Lifetime JP3014996B2 (ja) 1998-02-20 1998-02-20 棚装置と照明装置とを備えた机
JP29843099A Expired - Lifetime JP4023580B2 (ja) 1998-02-20 1999-10-20 学習机用の棚装置

Family Applications Before (1)

Application Number Title Priority Date Filing Date
JP10039034A Expired - Lifetime JP3014996B2 (ja) 1998-02-20 1998-02-20 棚装置と照明装置とを備えた机

Country Status (1)

Country Link
JP (2) JP3014996B2 (ja)

Families Citing this family (4)

* Cited by examiner, † Cited by third party
Publication number Priority date Publication date Assignee Title
JP4828351B2 (ja) * 2006-08-10 2011-11-30 株式会社岡村製作所 照明装置付き机
WO2008135809A1 (en) * 2007-05-02 2008-11-13 Prince Sports, Inc. Furniture having a multiple tube structure
KR100950389B1 (ko) * 2009-02-12 2010-03-29 하동문 슬라이딩 이동가능한 조명장치
KR100970698B1 (ko) 2010-02-18 2010-07-16 제이디미디어 주식회사 음향방송장비용 리니어 조명장치

Also Published As

Publication number Publication date
JP2000270932A (ja) 2000-10-03
JP3014996B2 (ja) 2000-02-28
JPH11235236A (ja) 1999-08-31

Similar Documents

Publication Publication Date Title
US20120080390A1 (en) Desktop organizer
US6182579B1 (en) Office desk with multiple trays pivotally connected thereto
TW200410061A (en) Apparatus for supporting a keyboard
US5683154A (en) Desk
JP4023580B2 (ja) 学習机用の棚装置
US20050274300A1 (en) Foldable computer table
US20050081761A1 (en) Computer desk
JP2005034553A (ja) 棚装置を備えた机
JP2000060647A (ja) 書棚付き机
KR102207328B1 (ko) 압출프레임과 가압고정체에 의한 테이블 부속 설치구
CN218978301U (zh) 一种用于图像设计的多功能工作台
JPH0522Y2 (ja)
US20020113531A1 (en) Computer desk
JP4387774B2 (ja) 旋回テーブル付き物品収納什器
JP2001236819A (ja) 照明装置付きの棚装置及びこれを備えた机
KR200349680Y1 (ko) 다용도 조합가구
KR102756284B1 (ko) 사용이 편리한 다기능 독서대
JPH10214517A (ja) 学習机用スタンド形照明器具
JPH0710576Y2 (ja) 机天板上の書架装置
KR200334524Y1 (ko) 컴퓨터용 테이블
KR950010062Y1 (ko) 다목적 독서대
JP4987320B2 (ja) 机上用書棚装置
JP3684288B2 (ja) 机の棚装置
JPH0237608A (ja) ディスク用スタンド形照明器具
KR200365739Y1 (ko) 덮개판을 구비한 책상용 보조서랍장

Legal Events

Date Code Title Description
A621 Written request for application examination

Free format text: JAPANESE INTERMEDIATE CODE: A621

Effective date: 20041228

A977 Report on retrieval

Free format text: JAPANESE INTERMEDIATE CODE: A971007

Effective date: 20070112

A131 Notification of reasons for refusal

Free format text: JAPANESE INTERMEDIATE CODE: A131

Effective date: 20070124

A521 Written amendment

Free format text: JAPANESE INTERMEDIATE CODE: A523

Effective date: 20070323

A131 Notification of reasons for refusal

Free format text: JAPANESE INTERMEDIATE CODE: A131

Effective date: 20070627

A521 Written amendment

Free format text: JAPANESE INTERMEDIATE CODE: A523

Effective date: 20070827

TRDD Decision of grant or rejection written
A01 Written decision to grant a patent or to grant a registration (utility model)

Free format text: JAPANESE INTERMEDIATE CODE: A01

Effective date: 20070926

A61 First payment of annual fees (during grant procedure)

Free format text: JAPANESE INTERMEDIATE CODE: A61

Effective date: 20070926

R150 Certificate of patent or registration of utility model

Free format text: JAPANESE INTERMEDIATE CODE: R150

FPAY Renewal fee payment (event date is renewal date of database)

Free format text: PAYMENT UNTIL: 20101012

Year of fee payment: 3

FPAY Renewal fee payment (event date is renewal date of database)

Free format text: PAYMENT UNTIL: 20111012

Year of fee payment: 4

FPAY Renewal fee payment (event date is renewal date of database)

Free format text: PAYMENT UNTIL: 20111012

Year of fee payment: 4

FPAY Renewal fee payment (event date is renewal date of database)

Free format text: PAYMENT UNTIL: 20121012

Year of fee payment: 5

FPAY Renewal fee payment (event date is renewal date of database)

Free format text: PAYMENT UNTIL: 20121012

Year of fee payment: 5

FPAY Renewal fee payment (event date is renewal date of database)

Free format text: PAYMENT UNTIL: 20131012

Year of fee payment: 6

EXPY Cancellation because of completion of term