JP3990497B2 - Building structure - Google Patents

Building structure Download PDF

Info

Publication number
JP3990497B2
JP3990497B2 JP13538298A JP13538298A JP3990497B2 JP 3990497 B2 JP3990497 B2 JP 3990497B2 JP 13538298 A JP13538298 A JP 13538298A JP 13538298 A JP13538298 A JP 13538298A JP 3990497 B2 JP3990497 B2 JP 3990497B2
Authority
JP
Japan
Prior art keywords
hardware
building unit
column
main body
building
Prior art date
Legal status (The legal status is an assumption and is not a legal conclusion. Google has not performed a legal analysis and makes no representation as to the accuracy of the status listed.)
Expired - Fee Related
Application number
JP13538298A
Other languages
Japanese (ja)
Other versions
JP2000008539A (en
Inventor
一弥 高野澤
Current Assignee (The listed assignees may be inaccurate. Google has not performed a legal analysis and makes no representation or warranty as to the accuracy of the list.)
Sekisui Chemical Co Ltd
Original Assignee
Sekisui Chemical Co Ltd
Priority date (The priority date is an assumption and is not a legal conclusion. Google has not performed a legal analysis and makes no representation as to the accuracy of the date listed.)
Filing date
Publication date
Application filed by Sekisui Chemical Co Ltd filed Critical Sekisui Chemical Co Ltd
Priority to JP13538298A priority Critical patent/JP3990497B2/en
Publication of JP2000008539A publication Critical patent/JP2000008539A/en
Application granted granted Critical
Publication of JP3990497B2 publication Critical patent/JP3990497B2/en
Anticipated expiration legal-status Critical
Expired - Fee Related legal-status Critical Current

Links

Images

Landscapes

  • Load-Bearing And Curtain Walls (AREA)
  • Joining Of Building Structures In Genera (AREA)
  • Panels For Use In Building Construction (AREA)

Description

【0001】
【発明の属する技術分野】
本発明は、建築用金物、建築構造、及び建物ユニットの吊り方法に関する。
【0002】
【従来の技術】
建物ユニットは、工場で生産された後、建築現場に輸送されて据付けられる。この建築現場での据付け時に、建物ユニットはクレーンで吊り上げられて基礎もしくは下階建物ユニットの上に据付けられる。
【0003】
従来技術では、建物ユニットの吊り方法として、特公昭59-50835号公報に記載の如く、建物ユニットの四隅の相隣る一対の縦枠間上部に吊り金具を係止する枠金具を納め、この枠金具を両縦枠にさし渡したピンで支持せしめ、この枠金具に吊り金具を取着して吊り上げるものが提案されている。
【0004】
【発明が解決しようとする課題】
然しながら、従来技術には以下の問題点がある。
▲1▼吊り金具が取着される枠金具は、吊り上げ作業にのみ用いられるもので、しかも一対の縦枠間に格納されて吊り上げ作業後の回収が不可能であり、コスト効率が低い。
【0005】
▲2▼吊り金具が取着される枠金具の全体が、一対の縦枠間に納められて両縦枠にさし渡したピンで支持せしめられるものであり、枠金具の全体が一定の広幅をなすものであるから、この枠金具を含む一対の縦枠は壁内で相当な広幅を占めるものとなり、壁内に設け得る開口幅の広幅化を制限するものとなる。
【0006】
尚、建物にあっては、建物本体を上下の構造体に接合するに際し、それらの接合部では、コンパクトな構造にしながら、自重、積雪等による圧縮荷重、風力、地震力等による引張荷重を確実に伝達可能とする必要がある。
【0007】
本発明の課題は、建物ユニット等の建物の接合構造をコンパクトにすることにある。
【0008】
また、本発明の課題は、建物ユニットのコスト効率を低下することのない吊り方法を実現することにある。
【0009】
【課題を解決するための手段】
本発明の建築構造は、柱本体の長手方向に設けてあるスリットに差し込まれ、柱本体の上記スリットに交差して設けられているピン挿通孔に挿通される連結ピンが係入し得るピン孔を備える取付板と、取付板の端部に一体結合され、柱本体の端部に設置可能とされる接合体とを有してなる建築用金物を、柱本体の上端部と下端部のそれぞれに設けた柱を有してなる建物ユニット同士を、上下方向に接合する建築構造であって、上階建物ユニットの柱本体の下端部に設けた建築用金物の接合体を中間金物に緊結し、下階建物ユニットの柱本体の上端部に設けた建築用金物の接合体を前記中間金物に緊結することで、上下の建築用金物が中間金物を介して接合されることを特徴とする。
【0011】
ここで、前記建築用金物の接合体が、柱本体の端部で柱材に挟まれているように構成することができる
【0019】
【発明の実施の形態】
図1は第1実施形態の建物ユニットを示す模式図、図2は上階建物ユニットとの接合構造を示す模式図、図3は図2のIII-III 線に沿う断面図、図4は図2のIV-IV 線に沿う断面図、図5は柱を示す模式図、図6は上金物を示す模式図、図7は下金物を示す模式図、図8は中間金物を示す模式図、図9は第2実施形態の建物ユニットを示す模式図である。
【0020】
(第1実施形態)(図1〜図8)
本発明が適用されるユニット建物は、工場生産された複数の建物ユニット10を建築現場に輸送し、予め建築現場に設けられた基礎にそれらの建物ユニット10を吊り上げて据付け、基礎の上に据付けられた下階建物ユニット10Aの上に上階建物ユニット10Bを吊り上げて据付けることにて構築される。
【0021】
(建物ユニット)(図1〜図8)
建物ユニット10は、図1〜図4に示す如く、床構造体としての床パネル11の上部に壁パネル21を立設して構成される。
【0022】
床パネル11は、図1〜図4に示す如く、根太12と端根太13とを釘打ち及び/又は接着剤により接合した床枠組の下面に下枠14を釘打ち及び/又は接着剤により取着され、該床枠組の上面に床面材15を釘打ち及び/又は接着剤により取着されて構成される。
【0023】
壁パネル21は、図1〜図4に示す如く、下枠22と上枠24と縦枠22Aからなる壁フレーム22Bを用意し、相隣る壁フレーム22Bの間に柱23を挟み、それらの壁フレーム22B、柱23を釘打ち及び/又は接着剤により接合した壁枠組の両面に外壁面材25、内壁面材26を釘打ち及び/又は接着剤により取着されて構成される。
【0024】
そして、壁パネル21の柱23には上金物30と下金物40が内蔵され、床パネル11の根太12(もしくは端根太13)には中間金物50が内蔵されている。
【0025】
即ち、壁パネル21の柱23は、図5に示す如く、 2個の柱材27A、27Aにより柱本体27を構成し、この柱本体27の上端部に上金物30を、下端部に下金物40を設けている。
【0026】
上金物30は、図6に示す如く、取付板31と接合体32の結合体である。取付板31は、平板状をなし、柱本体27の長手方向に設けてあるスリット27B(両柱材27A、27Aの間隙)に差し込まれ、この柱本体27のスリット27Bに交差して設けられている複数のピン挿通孔27Cに挿通される連結ピン33が係入し得るピン孔31Aを備える。接合体32は、両側開口の箱状をなし、下板32Aを取付板31の上端部に溶接にて一体結合され、上板32Bの裏面に裏ナット32Cを溶接されている。接合体32は、取付板31が柱本体27のスリット27Bに差し込まれた状態で、柱本体27の上端部に設置される。接合体32の裏ナット32Cには、後述する吊り金具60、或いは上階建物ユニット10Bとの接合ボルト70が取着可能とされる。
【0027】
下金物40は、図7に示す如く、取付板41と接合体42の結合体である。取付板41は、平板状をなし、柱本体27の長手方向に設けてあるスリット27Bに差し込まれ、この柱本体27のスリット27Bに交差して設けられている複数のピン挿通孔27Cに挿通される連結ピン43が係入し得るピン孔41Aを備える。接合体42は、両側開口の箱状をなし、上板42Aを取付板41の上端部に溶接にて一体結合され、下板42Bにボルト挿通孔42Cを備えている。接合体42は、取付板41が柱本体27のスリット27Bに差し込まれた状態で、柱本体27の下端部に設置される。接合体42のボルト挿通孔42Cには、後述する床パネル11との接合ボルト52が挿通可能とされる。
【0028】
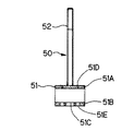
中間金物50は、図8に示す如く、接合体51と接合ボルト52の結合体である。接合体51は、両側開口の箱状をなし、床パネル11の根太12(もしくは端根太13)の下端部に切欠形成した格納部12Aに埋込まれ、上板51Aを根太12(もしくは端根太13)に釘打ち可能とされている。接合体51の下板51Bにはボルト挿通孔51Cを備える。上板51Aには釘打ち孔51Dが、下板51Bには釘打ち孔51Dに対応する釘打ち用ポンチ孔51Eが設けられている。接合体51は、床パネル11の根太12の格納部12Aに埋込まれた状態で、下枠14に載置され、ボルト挿通孔51Cには、後述する下階建物ユニット10Aとの接合ボルト70が挿通可能とされる。接合ボルト52は、接合体51の上板51Aの上にて起立し、床パネル11の根太12(もしくは端根太13)と床面材15のそれぞれに設けたボルト挿通孔12Bを上方に突出し、柱23の下端部に設けてある前述の下金物40の接合体42のボルト挿通孔42Cに挿通、取着される。
【0029】
従って、建物ユニット10の工場生産段階で、床パネル11と壁パネル21は、下金物40と中間金物50を用いて以下の如くに接合される。
(1) 床パネル11の上に壁パネル21を載せる。このとき、壁パネル21の柱23の下端部の下金物40の接合体42のボルト挿通孔42Cを、床パネル11の床面材15から上方に突出している中間金物50の接合ボルト52に挿通する。
【0030】
(2) 下金物40の接合体42の内部で、接合体42のボルト挿通孔42Cから突出している接合ボルト52にナット52Aを締結する。これにより、床パネル11と壁パネル21とが緊結されるものとなる。
【0031】
(建物ユニット10の吊り方法)(図1)
建物ユニット10を工場から建築現場へ輸送し、或いは建築現場で建物ユニット10を基礎の上、もしくは下階建物ユニット10Aの上に据付けるに際しては、壁パネル21の柱23の上端部の上金物30の接合体32に取着した吊り金具60を用いる。即ち、図1に示す如く、上金物30の接合体32の上板32Bに設けてある裏ナット32Cに、吊り金具60のボルト61を螺着し、クレーンの吊り具をこの吊り金具60に係着することにて、建物ユニット10を吊り上げる。
【0032】
建物ユニット10を基礎或いは下階建物ユニット10Aの上に据付けた後には、吊り金具60を上金物30の接合体32から撤去し、吊り金具60を再利用する。
【0033】
尚、基礎の上に据付けられた建物ユニット10は、基礎に植設してあるアンカーボルトを、床パネル11の下枠14に設けてあるボルト挿通孔14Aから、その根太12(もしくは端根太13)に内蔵してある中間金物50の接合体51の下板51Bに設けてあるボルト挿通孔51Cに通す。そして、接合体51の内部で、接合体51のボルト挿通孔51Cから突出しているアンカーボルトにナットを締結することにて、建物ユニット10を基礎に緊結するものとなる。
【0034】
(下階建物ユニット10Aと上階建物ユニット10Bとの接合構造)(図2〜図4)
下階建物ユニット10Aの上に上階建物ユニット10Bを据付けるに際しては、図2〜図4に示す如く、下階建物ユニット10Aと上階建物ユニット10Bを以下の如くに接合する。
【0035】
(1) 下階建物ユニット10Aにおける壁パネル21の柱23の上端部の上金物30の接合体32の上板32Bに設けてある裏ナット32Cに接合ボルト70を螺着して植設する。
【0036】
(2) 下階建物ユニット10Aの上に上階建物ユニット10Bを載せる。このとき、上階建物ユニット10Bにおける床パネル11の下枠14に設けてあるボルト挿通孔14Aから、その根太12(もしくは端根太13)に内蔵してある中間金物50の接合体51の下板51Bに設けてあるボルト挿通孔51Cに、上記(1) の下階建物ユニット10A側の接合ボルト70を通す。そして、接合体51の内部で、接合体51のボルト挿通孔51Cから突出している接合ボルト70にナット70Aを締結することにて、下階建物ユニット10Aと上階建物ユニット10Bを緊結する。
【0037】
従って、本実施形態によれば、以下の作用がある。
▲1▼金物30、40の接合体32、42は柱23の柱本体27の上端部もしくは下端部に設置され、取付板31、41は柱本体27のスリット27Bに差し込まれてピン結合される。従って、柱本体27は比較的薄肉の取付板31、41を挟むだけであって狭幅化(コンパクト)でき、壁内でこの柱本体27に隣接して設けられる窓、出入口等の開口幅を広幅化できる。
【0038】
▲2▼建物ユニット10に作用する圧縮荷重と引張荷重は、金物30、40の取付板31、41と柱本体27との連結ピン33、43を介して確実に伝達される。また、圧縮荷重は、金物30、40の接合体32、42が柱本体27の端部に設置されていることにより、接合体32、42と柱本体27の端部との広い衝合面を介してより確実に伝達される。
【0039】
▲3▼柱23の柱本体27の上端部と下端部のそれぞれに金物30、40を設けたから、この柱23を用いることにより直ちに、建物ユニット10の接合構造を上記▲1▼、▲2▼によりコンパクトにできる。
【0040】
▲4▼上記▲3▼において、柱本体27の下端部に設けた下金物40により、床パネル11等の下構造体との接合構造をコンパクトにできる。また、柱本体27の上端部に設けた上金物30により、上階建物ユニット10B等の上構造体との接合構造をコンパクトにできる。
【0041】
▲5▼吊り金具60が取着された上金物30は、吊り上げ作業に用いられた後、上階建物ユニット10B等の上構造体との接合に供されて使用され続ける。従って、建物ユニット10のコスト効率を低下することなく吊り金具60を取着できる。
【0042】
(第2実施形態)(図9)
第2実施形態が第1実施形態と異なる点は、図9に示す如く、建物ユニット110の壁パネル120を柱121と上枠122と下枠123からなる壁フレーム124により構成するに際し、上枠122、下枠123の枠材122A、123Aが柱121の後述する柱材131の端面を覆うように、枠勝ちで接合する場合の建築構造に関する。
【0043】
尚、図9(A)の例では、下階建物ユニット110Aの上に上階建物ユニット110Bをセットバックして据付けるとき、下階建物ユニット110Aのコーナーに壁パネル120の柱121を配置する他、上階建物ユニット110Bのコーナー柱の直下にも壁パネル120の柱121を配置してある。
【0044】
然るに、壁パネル120の柱121は、図9(B)に示す如く、 2個の柱材131、131により柱本体130を構成し、この柱本体130の上端部に上金物30を、下端部に下金物40(不図示)を設けている。
【0045】
上金物30は、第1実施形態の図6に示したものと実質的に同様な、取付板31と接合体32の結合体である(第2実施形態の上金物30の接合体32は、好適には、第1実施形態の上金物30の接合体32より狭幅とする)。即ち、取付板31は、平板状をなし、柱本体130の長手方向に設けてあるスリット132(両柱材131、131の間隙)に差し込まれ、この柱本体130のスリット132に交差して設けられている複数のピン挿通孔133に挿通される連結ピン33が係入し得るピン孔31Aを備える。接合体32は、両側開口の箱状をなし、下板32Aを取付板31の上端部に溶接にて一体結合され、上板32Bの裏面に裏ナット32Cを溶接されている。接合体32は、取付板31が柱本体130のスリット132に差し込まれた状態で、柱本体130の上端部に設置され、その上端部の薄肉柱材131A、131Aに挟まれて設置される。接合体32の裏ナット32Cには、第1実施形態において前述したと同様の吊り金具60(不図示)、或いは上階建物ユニット10Bとの接合ボルト70(不図示)が上枠122の枠材122Aに設けてある取着孔122Bを貫通して取着可能とされる。
【0046】
下金物40も、第1実施形態の図7に示したものと実質的に同様な、取付板41と接合体42の結合体である(第2実施形態の下金物40の接合体42は、好適には、第1実施形態の下金物40の接合体42より狭幅とする)。即ち、取付板41は、平板状をなし、柱本体130の長手方向に設けてあるスリット132に差し込まれ、この柱本体130のスリット132に交差して設けられている複数のピン挿通孔133に挿通される連結ピン43が係入し得るピン孔41Aを備える。接合体42は、両側開口の箱状をなし、上板42Aを取付板41の上端部に溶接にて一体結合され、下板42Bにボルト挿通孔42Cを備えている。接合体42は、取付板41が柱本体130のスリット132に差し込まれた状態で、柱本体130の下端部に設置され、その下端部の薄肉柱材131B、131B(不図示)に挟まれて設置される。接合体42のボルト挿通孔42Cには、第1実施形態において前述したと同様の床パネル11との接合ボルト52(不図示)が下枠123の枠材123Aに設けてある取着孔123B(不図示)を貫通して挿通可能とされる。
【0047】
即ち、第2実施形態の建物ユニット110にあっては、上述した柱121の柱材131の上下両端部の薄肉柱材131A、131Bの端面を覆うように上枠122と下枠123を枠勝ちで設け、それらの上枠122、下枠123を柱121の薄肉柱材131A、131Bに釘打ちにて直接固定し、壁パネル120を構成する。
【0048】
そして、建物ユニット110の工場生産段階で、壁パネル120の柱121の下端部の下金物40の接合体42を用いて、第1実施形態と同様に、床パネル11と壁パネル120とが緊結される。また、建物ユニット110の吊り上げ時には、壁パネル120の柱121の上端部の上金物30の接合体32を用いて、第1実施形態と同様に、建物ユニット110を吊り上げる。また、建物ユニット10の上に上階建物ユニットを据え付けるに際しては、壁パネル120の柱121の上端部の上金物30の接合体32を用いて、第1実施形態におけると同様に、上階建物ユニットを緊結する。
【0049】
即ち、第2実施形態によれば、金物30、40の接合体32、42が設置される柱本体130の端部で、柱本体130の両側に柱材131A、131Bを残した。従って、柱本体130の上端部で、接合体の両側の柱材131A、131Aに壁上枠122を釘打ちにて直接固定できる。また、柱本体130の下端部で、柱本体130の両側の柱材131B、131Bに壁下枠123を釘打ちにて直接固定できる。これにより、柱材131と枠材122A、123Aからなる壁パネル120を構成する柱121に本発明の金物を内蔵するときに、枠材122A、123Aが柱材131A、131Bの端面を覆うように柱材131と枠材122A、123Aを枠勝ちで接合することができる。尚、金物30、40は取付板31、41を柱本体130のスリット132に差し込まれてピン接合されており、接合体の両側の柱材131A、131Bは薄肉で足りるから、柱本体130の狭幅化(コンパクト)を阻害しない。
【0050】
以上、本発明の実施の形態を図面により詳述したが、本発明の具体的な構成はこの実施の形態に限られるものではなく、本発明の要旨を逸脱しない範囲の設計の変更等があっても本発明に含まれる。例えば、本発明の金物を備えた柱を有してなる建物ユニットは、柱が建物ユニットの床下面にまで延在するものでも良く、このとき、柱の下端部に設けた金物は基礎(下構造体)に植設されているアンカーボルトが接合されるものであっても良い。また、柱の上端部に設けた金物は屋根ユニット(上構造体)との接合に供されるものであっても良い。また、本発明は壁式構造からなる建物ユニットだけでなく、軸組構造からなる建物ユニットにも適用できる。
【0051】
また、本発明における柱は、一対の柱材間にスリットを設けるものに限らず、単一柱材の端部に金物の取付板差し込み用スリットを切削等によって設けるものであっても良い。また、本発明の金物、建築構造は建物ユニットに限らず、広く一般の建物にも適用できる。
【0052】
【発明の効果】
以上のように本発明によれば、建物ユニット等の建物の接合構造をコンパクトにすることができる。また、本発明によれば、建物ユニットのコスト効率を低下することのない吊り方法を実現することができる。
【図面の簡単な説明】
【図1】図1は建物ユニットを示す模式図である。
【図2】図2は上階建物ユニットとの接合構造を示す模式図である。
【図3】図3は図2のIII-III 線に沿う断面図である。
【図4】図4は図2のIV-IV 線に沿う断面図である。
【図5】図5は柱を示す模式図である。
【図6】図6は上金物を示す模式図である。
【図7】図7は下金物を示す模式図である。
【図8】図8は中間金物を示す模式図である。
【図9】図9は第2実施形態の建物ユニットを示す模式図である。
【符号の説明】
10、110 建物ユニット
23、121 柱
27、130 柱本体
27B、132 スリット
27C、133 ピン挿通孔
30、40 金物
31、41 取付板
32、42 接合体
33、43 連結ピン
60 吊り金具
[0001]
BACKGROUND OF THE INVENTION
The present invention relates to a hardware for building, a building structure, and a method for hanging a building unit.
[0002]
[Prior art]
After the building unit is produced at the factory, it is transported to the building site and installed. At the time of installation at the construction site, the building unit is lifted by a crane and installed on the foundation or lower floor building unit.
[0003]
In the prior art, as a method of hanging a building unit, as described in Japanese Examined Patent Publication No. 59-50835, a frame bracket for locking a hanging bracket is placed in the upper part between a pair of adjacent vertical frames at the four corners of the building unit. It has been proposed that a frame metal fitting is supported by pins extending between both vertical frames, and a hanging metal fitting is attached to the frame metal fitting and lifted.
[0004]
[Problems to be solved by the invention]
However, the prior art has the following problems.
{Circle around (1)} The frame bracket to which the hanging bracket is attached is used only for lifting work, and is stored between a pair of vertical frames and cannot be collected after the lifting work, so that the cost efficiency is low.
[0005]
(2) The entire frame bracket to which the hanging bracket is attached is supported by a pin that is placed between a pair of vertical frames and passed between both vertical frames. Therefore, the pair of vertical frames including the frame metal occupies a considerable width in the wall, and limits the widening of the opening width that can be provided in the wall.
[0006]
For buildings, when the building body is joined to the upper and lower structures, the joints ensure a compact structure and a compressive load due to weight, snow, etc., and a tensile load due to wind, seismic force, etc. Need to be able to communicate to
[0007]
An object of the present invention is to make a joint structure of a building such as a building unit compact.
[0008]
Moreover, the subject of this invention is implement | achieving the suspension method which does not reduce the cost efficiency of a building unit.
[0009]
[Means for Solving the Problems]
The building structure of the present invention is a pin hole into which a connecting pin inserted into a slit provided in the longitudinal direction of the column main body and inserted into a pin insertion hole provided to intersect the slit of the column main body can be engaged. a mounting plate comprising, integrally coupled to an end of the mounting plate, the Ru architectural hardware name and a joint body which is mountable on the end of the column body, the pillar body of the upper and lower ends A building structure in which building units each having columns provided are joined together in the vertical direction, and an assembly of building hardware provided at the lower end of the column main body of the upper-floor building unit is fastened to the intermediate hardware. The upper and lower building hardware are joined via the intermediate hardware by fastening the construction hardware joint provided at the upper end of the column main body of the lower floor building unit to the intermediate hardware. .
[0011]
Here, it can comprise so that the joined body of the said hardware for construction may be pinched | interposed into the pillar material at the edge part of the pillar main body.
[0019]
DETAILED DESCRIPTION OF THE INVENTION
1 is a schematic diagram showing a building unit of the first embodiment, FIG. 2 is a schematic diagram showing a joint structure with an upper floor building unit, FIG. 3 is a sectional view taken along line III-III in FIG. 2, and FIG. 5 is a schematic view showing a pillar, FIG. 6 is a schematic view showing an upper metal piece, FIG. 7 is a schematic view showing a lower metal piece, and FIG. 8 is a schematic view showing an intermediate metal piece, FIG. 9 is a schematic diagram showing the building unit of the second embodiment.
[0020]
First Embodiment (FIGS. 1 to 8)
In a unit building to which the present invention is applied, a plurality of factory-produced building units 10 are transported to a building site, and the building units 10 are lifted and installed on a foundation previously provided on the building site, and then installed on the foundation. It is constructed by lifting and installing the upper floor building unit 10B on the lower floor building unit 10A.
[0021]
(Building unit) (Figs. 1-8)
As shown in FIGS. 1 to 4, the building unit 10 is configured by standing a wall panel 21 on top of a floor panel 11 as a floor structure.
[0022]
As shown in FIGS. 1 to 4, the floor panel 11 has a lower frame 14 attached to the lower surface of the floor frame assembly in which the joists 12 and the end joists 13 are joined with nails and / or an adhesive. The floor material 15 is attached to the upper surface of the floor frame by nailing and / or adhesive.
[0023]
As shown in FIGS. 1 to 4, the wall panel 21 is provided with a wall frame 22 </ b> B composed of a lower frame 22, an upper frame 24, and a vertical frame 22 </ b> A, and a pillar 23 is sandwiched between adjacent wall frames 22 </ b> B The outer wall surface material 25 and the inner wall surface material 26 are attached to both surfaces of the wall frame assembly in which the wall frame 22B and the pillar 23 are joined by nail and / or adhesive, and are attached by nailing and / or adhesive.
[0024]
An upper hardware 30 and a lower hardware 40 are built in the pillar 23 of the wall panel 21, and an intermediate hardware 50 is built in the joist 12 (or end joist 13) of the floor panel 11.
[0025]
That is, as shown in FIG. 5, the pillar 23 of the wall panel 21 comprises a pillar body 27 composed of two pillar members 27A and 27A, an upper hardware 30 at the upper end of the pillar body 27 and a lower hardware at the lower end. 40 is provided.
[0026]
As shown in FIG. 6, the upper hardware 30 is a combined body of a mounting plate 31 and a joined body 32. The mounting plate 31 has a flat plate shape and is inserted into a slit 27B (gap between both column members 27A and 27A) provided in the longitudinal direction of the column main body 27, and is provided so as to intersect with the slit 27B of the column main body 27. A pin hole 31A into which the connecting pin 33 inserted through the plurality of pin insertion holes 27C is inserted. The joined body 32 has a box shape with openings on both sides, the lower plate 32A is integrally coupled to the upper end portion of the mounting plate 31 by welding, and a back nut 32C is welded to the back surface of the upper plate 32B. The joined body 32 is installed at the upper end of the column main body 27 in a state where the mounting plate 31 is inserted into the slit 27 </ b> B of the column main body 27. On the back nut 32 </ b> C of the joined body 32, a suspension fitting 60 described later or a joining bolt 70 with the upper floor building unit 10 </ b> B can be attached.
[0027]
As shown in FIG. 7, the lower metal piece 40 is a combined body of a mounting plate 41 and a joined body 42. The mounting plate 41 has a flat plate shape, is inserted into a slit 27B provided in the longitudinal direction of the column main body 27, and is inserted into a plurality of pin insertion holes 27C provided so as to intersect with the slit 27B of the column main body 27. 41 A of pin holes into which the connecting pin 43 can be engaged. The joined body 42 has a box shape with openings on both sides, the upper plate 42A is integrally joined to the upper end of the mounting plate 41 by welding, and the lower plate 42B is provided with bolt insertion holes 42C. The joined body 42 is installed at the lower end of the column main body 27 in a state where the mounting plate 41 is inserted into the slit 27 </ b> B of the column main body 27. A joining bolt 52 with a floor panel 11 to be described later can be inserted into the bolt insertion hole 42 </ b> C of the joined body 42.
[0028]
As shown in FIG. 8, the intermediate hardware 50 is a joined body of a joined body 51 and a joining bolt 52. The joined body 51 has a box shape with openings on both sides, and is embedded in a storage portion 12A cut out at the lower end of the joist 12 (or end joist 13) of the floor panel 11, and the upper plate 51A is embedded in the joist 12 (or end joist). 13) can be nailed. The lower plate 51B of the joined body 51 is provided with a bolt insertion hole 51C. The upper plate 51A is provided with a nail hole 51D, and the lower plate 51B is provided with a nail punch hole 51E corresponding to the nail hole 51D. The joined body 51 is placed on the lower frame 14 in a state of being embedded in the storage portion 12A of the joist 12 of the floor panel 11, and the bolt insertion hole 51C has a joining bolt 70 with a lower floor building unit 10A described later. Can be inserted. The joining bolt 52 stands on the upper plate 51A of the joined body 51, and projects upward through bolt insertion holes 12B provided in the joists 12 (or end joists 13) of the floor panel 11 and the floor surface material 15, respectively. The bolt 23 is inserted into and attached to the bolt insertion hole 42 </ b> C of the joined body 42 of the lower metal piece 40 provided at the lower end of the column 23.
[0029]
Therefore, at the factory production stage of the building unit 10, the floor panel 11 and the wall panel 21 are joined as follows using the lower hardware 40 and the intermediate hardware 50.
(1) Place the wall panel 21 on the floor panel 11. At this time, the bolt insertion hole 42 </ b> C of the joined body 42 of the lower metal part 40 of the lower end portion of the column 23 of the wall panel 21 is inserted into the joining bolt 52 of the intermediate hardware 50 protruding upward from the floor surface material 15 of the floor panel 11. To do.
[0030]
(2) Inside the joined body 42 of the lower metal piece 40, the nut 52A is fastened to the joining bolt 52 protruding from the bolt insertion hole 42C of the joined body 42. As a result, the floor panel 11 and the wall panel 21 are tightly coupled.
[0031]
(How to suspend building unit 10) (FIG. 1)
When the building unit 10 is transported from the factory to the construction site, or is installed on the foundation or the lower floor building unit 10A at the construction site, the upper hardware of the upper end of the column 23 of the wall panel 21 is used. A hanging metal fitting 60 attached to 30 joined bodies 32 is used. That is, as shown in FIG. 1, the bolt 61 of the hanging bracket 60 is screwed to the back nut 32C provided on the upper plate 32B of the joined body 32 of the upper metal piece 30, and the crane suspension is engaged with the hanging bracket 60. The building unit 10 is lifted by wearing.
[0032]
After the building unit 10 is installed on the foundation or the lower floor building unit 10A, the hanging metal fitting 60 is removed from the joined body 32 of the upper hardware 30, and the hanging metal fitting 60 is reused.
[0033]
The building unit 10 installed on the foundation has an anchor bolt planted on the foundation through a bolt insertion hole 14A provided in the lower frame 14 of the floor panel 11 and its joist 12 (or end joist 13). ) Is passed through a bolt insertion hole 51C provided in the lower plate 51B of the joined body 51 of the intermediate metal piece 50 built in. Then, the building unit 10 is fastened to the foundation by fastening the nut to the anchor bolt protruding from the bolt insertion hole 51C of the joined body 51 inside the joined body 51.
[0034]
(Joint structure of lower floor building unit 10A and upper floor building unit 10B) (FIGS. 2 to 4)
When installing the upper-floor building unit 10B on the lower-floor building unit 10A, as shown in FIGS. 2 to 4, the lower-floor building unit 10A and the upper-floor building unit 10B are joined as follows.
[0035]
(1) In the lower floor building unit 10A, the joining bolt 70 is screwed and planted to the back nut 32C provided on the upper plate 32B of the joined body 32 of the upper hardware 30 of the column 23 of the wall panel 21.
[0036]
(2) Place the upper building unit 10B on the lower building unit 10A. At this time, the lower plate 51 of the joined body 51 of the intermediate hardware 50 incorporated in the joist 12 (or end joist 13) from the bolt insertion hole 14A provided in the lower frame 14 of the floor panel 11 in the upper floor building unit 10B. The joint bolt 70 on the lower floor building unit 10A side of (1) is passed through the bolt insertion hole 51C provided in 51B. Then, inside the joined body 51, the lower floor building unit 10 </ b> A and the upper floor building unit 10 </ b> B are tightened by fastening the nut 70 </ b> A to the joining bolt 70 protruding from the bolt insertion hole 51 </ b> C of the joined body 51.
[0037]
Therefore, according to the present embodiment, there are the following operations.
(1) The joined bodies 32 and 42 of the hardware 30 and 40 are installed at the upper end portion or the lower end portion of the column body 27 of the column 23, and the mounting plates 31 and 41 are inserted into the slits 27B of the column body 27 and are pin-coupled. . Accordingly, the column body 27 can be narrowed (compact) only by sandwiching the relatively thin mounting plates 31 and 41, and the opening width of windows, doorways, etc. provided adjacent to the column body 27 in the wall can be reduced. Can be widened.
[0038]
(2) The compressive load and tensile load acting on the building unit 10 are reliably transmitted through the connecting pins 33 and 43 between the mounting plates 31 and 41 of the hardware 30 and 40 and the column main body 27. Further, the compressive load is such that the joined bodies 32, 42 of the hardware 30, 40 are installed at the end of the column main body 27, so that a wide abutting surface between the joined bodies 32, 42 and the end of the column main body 27 is formed. More reliably.
[0039]
(3) Since the hardware 30 and 40 are provided on the upper end and the lower end of the column main body 27 of the column 23, the connection structure of the building unit 10 can be immediately established by using the column 23 as described in the items (1) and (2). Can be made more compact.
[0040]
{Circle around (4)} In the above {circle around (3)}, the joint structure with the lower structure such as the floor panel 11 can be made compact by the lower metal fitting 40 provided at the lower end of the column main body 27. Moreover, the upper metal fitting 30 provided in the upper end part of the column main body 27 can make a joining structure with upper structures, such as the upper floor building unit 10B, compact.
[0041]
{Circle around (5)} The upper hardware 30 to which the hanging metal fitting 60 is attached is used for lifting work, and is then used for joining with an upper structure such as the upper floor building unit 10B. Therefore, the hanging bracket 60 can be attached without reducing the cost efficiency of the building unit 10.
[0042]
Second Embodiment (FIG. 9)
As shown in FIG. 9, the second embodiment differs from the first embodiment in that the wall panel 120 of the building unit 110 is configured by a wall frame 124 including a column 121, an upper frame 122, and a lower frame 123. The frame structure 122A, 123A of the lower frame 123 relates to a building structure in the case of joining by frame winning so that an end surface of a column member 131 (described later) of the column 121 is covered.
[0043]
In the example of FIG. 9A, when the upper floor building unit 110B is set back and installed on the lower floor building unit 110A, the columns 121 of the wall panel 120 are arranged at the corner of the lower floor building unit 110A. In addition, the column 121 of the wall panel 120 is also arranged directly under the corner column of the upper floor building unit 110B.
[0044]
However, as shown in FIG. 9B, the column 121 of the wall panel 120 forms a column main body 130 by two column members 131 and 131, and the upper hardware 30 is attached to the upper end portion of the column main body 130 and the lower end portion thereof. A lower hardware 40 (not shown) is provided.
[0045]
The upper metal fitting 30 is a combination of a mounting plate 31 and a joined body 32 that is substantially the same as that shown in FIG. 6 of the first embodiment (the joined body 32 of the upper metal fitting 30 in the second embodiment is Preferably, the width is narrower than the joined body 32 of the upper metal piece 30 of the first embodiment. That is, the mounting plate 31 has a flat plate shape and is inserted into a slit 132 (gap between both column members 131, 131) provided in the longitudinal direction of the column main body 130, and is provided so as to intersect with the slit 132 of the column main body 130. A pin hole 31A into which the connecting pin 33 inserted through the plurality of pin insertion holes 133 is inserted. The joined body 32 has a box shape with openings on both sides, the lower plate 32A is integrally coupled to the upper end portion of the mounting plate 31 by welding, and a back nut 32C is welded to the back surface of the upper plate 32B. The joined body 32 is installed at the upper end portion of the column main body 130 in a state where the mounting plate 31 is inserted into the slit 132 of the column main body 130, and is interposed between the thin-walled column members 131A and 131A at the upper end portion. The back nut 32 </ b> C of the joined body 32 includes a suspension fitting 60 (not shown) similar to that described above in the first embodiment, or a joining bolt 70 (not shown) with the upper floor building unit 10 </ b> B. The attachment is possible through the attachment hole 122B provided in 122A.
[0046]
The lower metal piece 40 is also a combined body of the mounting plate 41 and the joined body 42 that is substantially the same as that shown in FIG. 7 of the first embodiment (the joined body 42 of the lower metal piece 40 of the second embodiment is The width is preferably narrower than the joined body 42 of the lower metal piece 40 of the first embodiment. That is, the mounting plate 41 has a flat plate shape, is inserted into a slit 132 provided in the longitudinal direction of the column main body 130, and is inserted into a plurality of pin insertion holes 133 provided so as to intersect the slit 132 of the column main body 130. It has a pin hole 41A into which the connecting pin 43 to be inserted can be inserted. The joined body 42 has a box shape with openings on both sides, the upper plate 42A is integrally joined to the upper end of the mounting plate 41 by welding, and the lower plate 42B is provided with bolt insertion holes 42C. The joined body 42 is installed at the lower end portion of the column main body 130 in a state where the mounting plate 41 is inserted into the slit 132 of the column main body 130, and is sandwiched between thin column members 131B and 131B (not shown) at the lower end portion. Installed. The bolt insertion hole 42 </ b> C of the joined body 42 has an attachment hole 123 </ b> B (joint hole 52 </ b> B (not shown) with the floor panel 11 similar to that described in the first embodiment provided in the frame member 123 </ b> A of the lower frame 123. It is possible to penetrate through (not shown).
[0047]
That is, in the building unit 110 of the second embodiment, the upper frame 122 and the lower frame 123 win the frame so as to cover the end surfaces of the thin column members 131A and 131B at the upper and lower ends of the column member 131 of the column 121 described above. The upper frame 122 and the lower frame 123 are directly fixed to the thin-walled column members 131A and 131B of the column 121 by nailing to constitute the wall panel 120.
[0048]
Then, at the factory production stage of the building unit 110, the floor panel 11 and the wall panel 120 are tightly coupled using the joined body 42 of the lower metal part 40 at the lower end of the column 121 of the wall panel 120, as in the first embodiment. Is done. In addition, when the building unit 110 is lifted, the building unit 110 is lifted using the joined body 32 of the upper hardware 30 at the upper end of the column 121 of the wall panel 120 in the same manner as in the first embodiment. When installing the upper floor building unit on the building unit 10, the upper floor building is used in the same manner as in the first embodiment by using the joined body 32 of the upper metal part 30 at the upper end of the column 121 of the wall panel 120. Tighten the unit.
[0049]
That is, according to the second embodiment, the column members 131 </ b> A and 131 </ b> B are left on both sides of the column main body 130 at the end of the column main body 130 where the joined bodies 32 and 42 of the hardware 30 and 40 are installed. Therefore, the upper wall frame 122 can be directly fixed to the column members 131A and 131A on both sides of the joined body by nail driving at the upper end portion of the column main body 130. Further, at the lower end of the column main body 130, the wall lower frame 123 can be directly fixed to the column members 131B and 131B on both sides of the column main body 130 by nailing. Accordingly, when the hardware of the present invention is built in the pillar 121 constituting the wall panel 120 including the pillar member 131 and the frame members 122A and 123A, the frame members 122A and 123A cover the end surfaces of the pillar members 131A and 131B. The column member 131 and the frame members 122A and 123A can be joined by winning the frame. Note that the metal plates 30 and 40 are pin-joined by inserting the mounting plates 31 and 41 into the slits 132 of the column main body 130, and the column members 131A and 131B on both sides of the bonded body need only be thin. Does not hinder widening (compact).
[0050]
Although the embodiment of the present invention has been described in detail with reference to the drawings, the specific configuration of the present invention is not limited to this embodiment, and there are design changes and the like without departing from the gist of the present invention. Is included in the present invention. For example, a building unit having a pillar provided with hardware according to the present invention may have a pillar extending to the lower surface of the floor of the building unit. At this time, the hardware provided at the lower end of the pillar is the foundation (lower An anchor bolt planted in the structure body may be joined. Moreover, the metal object provided in the upper end part of the pillar may be used for joining with the roof unit (upper structure). The present invention can be applied not only to a building unit having a wall structure but also to a building unit having a frame structure.
[0051]
Moreover, the pillar in this invention is not restricted to what provides a slit between a pair of pillar materials, You may provide the slit for insertion of a metal mounting plate in the edge part of a single pillar material by cutting. In addition, the hardware and building structure of the present invention are not limited to building units, and can be widely applied to general buildings.
[0052]
【The invention's effect】
As described above, according to the present invention, the joint structure of buildings such as building units can be made compact. Further, according to the present invention, it is possible to realize a suspension method that does not reduce the cost efficiency of the building unit.
[Brief description of the drawings]
FIG. 1 is a schematic diagram showing a building unit.
FIG. 2 is a schematic diagram showing a joint structure with an upper floor building unit.
FIG. 3 is a cross-sectional view taken along line III-III in FIG.
4 is a cross-sectional view taken along line IV-IV in FIG.
FIG. 5 is a schematic diagram showing a column.
FIG. 6 is a schematic view showing an upper metal piece.
FIG. 7 is a schematic view showing a lower metal object.
FIG. 8 is a schematic view showing an intermediate hardware.
FIG. 9 is a schematic diagram showing a building unit according to the second embodiment.
[Explanation of symbols]
10, 110 Building unit 23, 121 Column 27, 130 Column body 27B, 132 Slit 27C, 133 Pin insertion hole 30, 40 Hardware 31, 41 Mounting plate 32, 42 Joint 33, 43 Connection pin 60 Hanging bracket

Claims (2)

本体の長手方向に設けてあるスリットに差し込まれ、柱本体の上記スリットに交差して設けられているピン挿通孔に挿通される連結ピンが係入し得るピン孔を備える取付板と、
取付板の端部に一体結合され、柱本体の端部に設置可能とされる接合体とを有してなる建築用金物を、柱本体の上端部と下端部のそれぞれに設けた柱を有してなる建物ユニット同士を、上下方向に接合する建築構造であって、
上階建物ユニットの柱本体の下端部に設けた建築用金物の接合体を中間金物に緊結し、
下階建物ユニットの柱本体の上端部に設けた建築用金物の接合体を前記中間金物に緊結することで、上下の建築用金物が中間金物を介して接合されることを特徴とする建築構造。
A mounting plate having a pin hole into which a connecting pin inserted into a slit provided in the longitudinal direction of the column main body and inserted into a pin insertion hole provided intersecting the slit of the column main body can be engaged;
Is integrally coupled to an end of the mounting plate, the Ru architectural for hardware name and a joint body which is mountable on the end portion of the pillar body, is provided on each of the upper and lower ends of the column body pillars Is a building structure that joins building units in the vertical direction ,
Tighten the joint of building hardware provided at the lower end of the pillar body of the upper floor building unit to the intermediate hardware ,
An architectural structure characterized in that upper and lower architectural hardware are joined via an intermediate hardware by fastening an assembly of architectural hardware provided at the upper end of the column main body of the lower floor building unit to the intermediate hardware. .
前記建築用金物の接合体が、柱本体の端部で柱材に挟まれていることを特徴とする請求項1に記載の建築構造。 The building structure according to claim 1, wherein the joined body of building hardware is sandwiched between pillar members at end portions of the pillar body.
JP13538298A 1998-04-20 1998-05-18 Building structure Expired - Fee Related JP3990497B2 (en)

Priority Applications (1)

Application Number Priority Date Filing Date Title
JP13538298A JP3990497B2 (en) 1998-04-20 1998-05-18 Building structure

Applications Claiming Priority (3)

Application Number Priority Date Filing Date Title
JP10-109372 1998-04-20
JP10937298 1998-04-20
JP13538298A JP3990497B2 (en) 1998-04-20 1998-05-18 Building structure

Publications (2)

Publication Number Publication Date
JP2000008539A JP2000008539A (en) 2000-01-11
JP3990497B2 true JP3990497B2 (en) 2007-10-10

Family

ID=26449134

Family Applications (1)

Application Number Title Priority Date Filing Date
JP13538298A Expired - Fee Related JP3990497B2 (en) 1998-04-20 1998-05-18 Building structure

Country Status (1)

Country Link
JP (1) JP3990497B2 (en)

Cited By (1)

* Cited by examiner, † Cited by third party
Publication number Priority date Publication date Assignee Title
CN103343571A (en) * 2013-06-26 2013-10-09 江苏江南园林建筑工程有限公司 Detachable antique building structure

Families Citing this family (2)

* Cited by examiner, † Cited by third party
Publication number Priority date Publication date Assignee Title
JP4488266B2 (en) * 2000-06-19 2010-06-23 ミサワホーム株式会社 Column connection method and column connection structure
CN105256944A (en) * 2015-10-08 2016-01-20 李章洪 Rotary splicing type building plate

Cited By (1)

* Cited by examiner, † Cited by third party
Publication number Priority date Publication date Assignee Title
CN103343571A (en) * 2013-06-26 2013-10-09 江苏江南园林建筑工程有限公司 Detachable antique building structure

Also Published As

Publication number Publication date
JP2000008539A (en) 2000-01-11

Similar Documents

Publication Publication Date Title
US6308469B1 (en) Shear wall panel
US7251920B2 (en) Lateral force resisting system
KR100536547B1 (en) Frame structure of low-rise building
CA2678586A1 (en) Insulated modular building frame
JP3581426B2 (en) Structural materials and floor and roof structures of wooden buildings and construction methods using them
JP3486866B2 (en) Framed wall construction incorporating a wooden ramen frame
JP3990497B2 (en) Building structure
JP3811489B2 (en) Structure of open wall in steel house
JP2001248331A (en) Installation structure and method of damping damper
JPH1161982A (en) Seismic reinforcement structure of building
JP4551010B2 (en) Steel foundation structure using channel steel
JP2857582B2 (en) How to build an assembled building
JP3606986B2 (en) Inner balcony having a truss unit as a superstructure and its construction method
JP3549488B2 (en) Brace for wooden framed houses
JP3943438B2 (en) building
JP2001132266A (en) Installation structure of very soft panel damper in precast rc construction structure and its installing method
JPH0726520Y2 (en) Steel frame structure
JP4044676B2 (en) Unit building
JP2002088902A (en) Construction method of balcony
JP3860655B2 (en) Building connection structure
JP2000027486A (en) Viscous damping wall mounting structure and mounting method
JP3917718B2 (en) Load-bearing wall panels
JP3048719U (en) Earthquake-resistant hardware for wooden buildings
JPH0372127A (en) Constructing member for house
JP2000234390A (en) Reinforcing structure of unit building and building unit

Legal Events

Date Code Title Description
A621 Written request for application examination

Free format text: JAPANESE INTERMEDIATE CODE: A621

Effective date: 20050425

A977 Report on retrieval

Free format text: JAPANESE INTERMEDIATE CODE: A971007

Effective date: 20070301

A131 Notification of reasons for refusal

Free format text: JAPANESE INTERMEDIATE CODE: A131

Effective date: 20070322

A521 Written amendment

Free format text: JAPANESE INTERMEDIATE CODE: A523

Effective date: 20070516

TRDD Decision of grant or rejection written
A01 Written decision to grant a patent or to grant a registration (utility model)

Free format text: JAPANESE INTERMEDIATE CODE: A01

Effective date: 20070627

A61 First payment of annual fees (during grant procedure)

Free format text: JAPANESE INTERMEDIATE CODE: A61

Effective date: 20070720

FPAY Renewal fee payment (event date is renewal date of database)

Free format text: PAYMENT UNTIL: 20100727

Year of fee payment: 3

FPAY Renewal fee payment (event date is renewal date of database)

Free format text: PAYMENT UNTIL: 20110727

Year of fee payment: 4

FPAY Renewal fee payment (event date is renewal date of database)

Free format text: PAYMENT UNTIL: 20110727

Year of fee payment: 4

FPAY Renewal fee payment (event date is renewal date of database)

Free format text: PAYMENT UNTIL: 20120727

Year of fee payment: 5

FPAY Renewal fee payment (event date is renewal date of database)

Free format text: PAYMENT UNTIL: 20120727

Year of fee payment: 5

FPAY Renewal fee payment (event date is renewal date of database)

Free format text: PAYMENT UNTIL: 20130727

Year of fee payment: 6

LAPS Cancellation because of no payment of annual fees