JP3935342B2 - 部品装着方法及び部品装着装置 - Google Patents

部品装着方法及び部品装着装置 Download PDF

Info

Publication number
JP3935342B2
JP3935342B2 JP2001366235A JP2001366235A JP3935342B2 JP 3935342 B2 JP3935342 B2 JP 3935342B2 JP 2001366235 A JP2001366235 A JP 2001366235A JP 2001366235 A JP2001366235 A JP 2001366235A JP 3935342 B2 JP3935342 B2 JP 3935342B2
Authority
JP
Japan
Prior art keywords
component
sub
head
electronic component
image
Prior art date
Legal status (The legal status is an assumption and is not a legal conclusion. Google has not performed a legal analysis and makes no representation as to the accuracy of the status listed.)
Expired - Fee Related
Application number
JP2001366235A
Other languages
English (en)
Other versions
JP2003168900A (ja
Inventor
豊 光本
和宏 王生
Current Assignee (The listed assignees may be inaccurate. Google has not performed a legal analysis and makes no representation or warranty as to the accuracy of the list.)
Panasonic Corp
Panasonic Holdings Corp
Original Assignee
Panasonic Corp
Matsushita Electric Industrial Co Ltd
Priority date (The priority date is an assumption and is not a legal conclusion. Google has not performed a legal analysis and makes no representation as to the accuracy of the date listed.)
Filing date
Publication date
Application filed by Panasonic Corp, Matsushita Electric Industrial Co Ltd filed Critical Panasonic Corp
Priority to JP2001366235A priority Critical patent/JP3935342B2/ja
Publication of JP2003168900A publication Critical patent/JP2003168900A/ja
Application granted granted Critical
Publication of JP3935342B2 publication Critical patent/JP3935342B2/ja
Anticipated expiration legal-status Critical
Expired - Fee Related legal-status Critical Current

Links

Images

Landscapes

  • Supply And Installment Of Electrical Components (AREA)

Description

【0001】
【発明の属する技術分野】
本発明は、部品を回路形成体に装着する部品装着装置及び部品装着方法に関するものであり、特に複数の部品を回路形成体へ装着する際の装着に要する時間を短縮化させる部品装着装置及び部品装着方法に関するものである。
【0002】
【従来の技術】
近年、電子部品の実装工程は、生産性向上の為に作業工程の信頼性向上と作業タクトの短縮が大きく要求されている。
【0003】
従来、回路形成体の一例である回路基板ヘ、部品の一例であるチップ部品やICチップ等の電子部品を装着する電子部品装着装置では、ヘッド部における吸着ノズルにより吸着保持された電子部品の吸着保持状態を、CCDカメラ等の撮像装置を用いて撮像された画像により認識し、予め設定された吸着保持状態と照合することにより、回路基板上の予め設定された装着位置に電子部品を装着できるようにヘッド部及び吸着ノズルの動作制御を行い、回路基板への電子部品の装着を行っている。
【0004】
このような電子部品装着装置における回路基板への電子部品の装着方法を、図7に基づいて説明する。
【0005】
図7は、従来における電子部品装着装置の模式的な斜視図であり、図7において、202はチップ部品やICチップ等の電子部品、201は電子部品202の吸着保持を行う吸着ノズルであり、この吸着ノズル201は上下方向に移動可能となっている。さらに、この吸着ノズル201はヘッド部208に取り付けられており、XYテーブル205により図示X軸方向又はY軸方向にヘッド部208が移動可能となっている。
【0006】
複数の電子部品202が電子部品供給部203に収納されて供給されており、吸着ノズル201で電子部品202を吸着保持することにより電子部品202を電子部品供給部203より取り出す。その後、XYテーブル205によりヘッド部208を移動させることにより、所定位置にある撮像装置204の上方に吸着ノズル201を電子部品202が吸着保持された状態で移動させ、電子部品202が撮像部204の上方に位置したときに、XYテーブル205は停止される。
【0007】
その後、電子部品202の吸着ノズル201による吸着保持状態を撮像装置204により撮像し、上記撮像された画像が制御部206に出力され、制御部206において上記画像をもとに、電子部品202の吸着ノズル201に対する相対位置認識が行われる。それとともに、上記撮像装置204による撮像後、XYテーブル205によりヘッド部208を移動させることにより、吸着ノズル201を電子部品202が吸着保持された状態で、電子部品装着部209に固定されている回路基板207上に移動させる。その後、制御部204における電子部品202の吸着ノズル201に対する相対位置認識結果に基づく相対位置補正を加えて、回路基板207に電子部品202が装着されることとなる。
【0008】
しかしながら、このような電子部品の装着方法では、XYテーブル205により吸着ノズル201は、1つの電子部品202の回路基板207への装着動作毎に、撮像装置204において電子部品202の画像の撮像を行う必要があり、また、各装着動作毎に撮像装置204の上方を経由しながら電子部品供給部203と電子部品装着部209との間の往復移動を繰り返し行う必要があり、多数の電子部品202を回路基板207へ装着するような場合にあっては、このような往復移動に要する時間が、実際に電子部品の装着動作に直接的に関係する動作に要する時間に比べて長くなり、電子部品の装着時間の短縮化に対応できないという問題点がある。
【0009】
このような問題点を解決するため、ヘッド部208に備える吸着ノズル201の本数を増加させ、例えば、10本の吸着ノズル201をヘッド部208に一列に備えさせ、吸着ノズル201に吸着保持された夫々の電子部品202が撮像装置204の上方を順次通過するように、XYテーブル205によるヘッド部208の移動を行い、夫々の電子部品202の上記通過の際に、撮像装置204により電子部品202の画像を1個ずつ順次撮像する電子部品の装着方法が考えられた。
【0010】
このような電子部品の装着方法であれば、電子部品供給部203と電子部品装着部209との間でのヘッド部208の往復移動回数を削減することができ、また、ヘッド部208の1回の往復移動の間に撮像装置204において複数の電子部品202の画像の撮像を1個ずつ順次に行うことができるため、電子部品装着装置における電子部品の装着時間の短縮化に対応することができる。
【0011】
【発明が解決しようとする課題】
しかしながら、このような電子部品の装着方法においては、各吸着ノズル201を備えるヘッド部208が大型化して、ヘッド部208の移動範囲を確保するために電子部品装着装置が大型化するといった吸着ノズル201の装備本数の増加による弊害の影響が大きくなり、電子部品装着装置における電子部品の装着効率の向上化へと結びつけることができないという問題点がある。
【0012】
従って、本発明の目的は上記問題を解決することにあって、部品を保持して回路形成体上に装着する部品装着装置において、単位面積当りの部品保持部材の装備数を増加させて、部品装着ヘッドが装備する部品保持部材数の増加を図るとともに、部品保持部材により保持された部品の画像の撮像に要する時間の短縮化を図り、部品の装着に要する時間を効率的に短縮化させ、生産性を向上させることができる部品装着装置及び部品装着方法を提供することにある。
【0013】
【課題を解決するための手段】
上記目的を達成するために、本発明は以下のように構成する。
【0014】
本発明の第1態様によれば、部品供給部において距離Qの間隔で直線状に並べられた4つの部品供給位置のうちの複数の上記部品供給位置にて供給される複数の部品を、その直径が距離Qである円周上に6個の部品保持部材を均等な間隔でそれぞれ配置した第1サブヘッドと第2サブヘッドとを、互いの上記円周の中心間の距離が距離Qの2倍となるように配置したヘッド部における上記第1サブヘッドの上記部品保持部材と上記第2サブヘッドの上記部品保持部材で保持し、
その後、それぞれの配置間隔を距離Qとして直線状に配置された4個の撮像素子のうちの複数の上記撮像素子を用いて、上記第1サブヘットにより保持された上記部品と上記第2サブヘッドにより保持された上記部品の画像を同時に撮像して、上記それぞれの部品保持部材による上記それぞれの部品の保持姿勢を認識し、
上記保持姿勢の認識結果に基づいて、上記それぞれの部品を回路形成体に装着する部品装着方法であって、
上記部品保持部材による上記部品の保持において、
上記部品のサイズが第1の値未満の場合は、上記第1及び第2サブヘッドの各々における6個の上記部品保持部材に上記部品を保持させ、
上記部品のサイズが上記第1の値以上かつ上記第1の値より大きな第2の値未満の場合は、上記第1及び第2サブヘッドの各々における上記円周の中心に対して点対称な3個の上記部品保持部材に上記部品を保持させ、
上記部品のサイズが上記第2の値以上かつ上記第2の値より大きな第3の値未満の場合は、上記第1及び第2サブヘッドの各々における上記円周の中心に対して点対称な2個の上記部品保持部材に上記部品を保持させ、
上記部品のサイズが上記第3の値以上かつ上記第3の値より大きな第4の値未満の場合は、上記第1及び第2サブヘッドの各々における1個の上記部品保持部材に上記部品を保持させることを特徴とする部品装着方法を提供する。
【0015】
本発明の第2態様によれば、上記部品のサイズが上記第2の値以上かつ上記第4の値未満の場合は、
上記部品の保持において、上記第1及び第2サブヘッドの上記それぞれの円周の中心を結ぶ直線上に配置された複数の上記部品保持部材により、複数の上記部品供給位置から供給される上記部品を同時に保持し、
上記部品の保持姿勢の認識において、上記第1及び第2サブヘッドにおいて、上記部品が保持された全ての上記部品保持部材を上記円周の中心を結ぶ直線上に配置させて、複数の上記撮像素子により同時に上記それぞれの部品の画像を撮像する、第1態様に記載の部品装着方法を提供する。
【0016】
本発明の第3態様によれば、上記部品のサイズが上記第2の値未満の場合は、
上記部品の保持において、
上記第1及び第2サブヘッドの上記それぞれの円周の中心を結ぶ直線上に配置された複数の上記部品保持部材により、複数の上記部品供給位置から供給される上記部品を同時に保持し、
その後、上記第1及び第2サブヘッドの各々において、上記円周の中心周りに上記それぞれの部品保持部材を回転移動させて、複数の他の上記部品保持部材を上記直線上に順次配置させて、複数の上記部品供給位置から供給される上記部品を同時に、順次保持し、
上記部品の保持姿勢の認識において、
上記第1及び第2サブヘッドにおいて、上記部品が保持された上記それぞれの部品保持部材のうちの複数の上記部品保持部材を上記円周の中心を結ぶ直線上に配置させて、上記直線上に配置された複数の上記部品保持部材により保持された上記部品の画像を複数の上記撮像素子により同時に撮像し、
その後、上記第1及び第2サブヘッドの各々において、上記円周の中心周りに上記それぞれの部品保持部材を回転移動させて、上記部品が保持された上記それぞれの部品保持部材のうちの複数の他の上記部品保持部材を上記直線上に順次配置させて、複数の上記撮像素子により上記部品の画像を同時に、順次撮像する、第1態様に記載の部品装着方法を提供する。
【0017】
本発明の第4態様によれば、上記部品の保持姿勢の認識において、撮像される上記部品が、上記撮像素子の視野より大きなサイズを有する場合には、上記部品の一部を1個の上記撮像素子の視野内に配置させるとともに、上記部品の他の一部を隣接する別の1個の撮像素子の視野内に配置させて、上記それぞれの撮像素子により上記部品の保持姿勢の画像を分割して撮像する、第1から第3態様のいずれか1つに記載の部品装着方法を提供する。
【0018】
本発明の第5態様によれば、部品供給部における複数の部品供給位置にて供給される複数の部品を回路形成体に装着する部品装着装置において、
その直径が距離Qである円周上に6個の部品保持部材を上記円周の中心周りに回転移動可能に均等な間隔でそれぞれ配置した第1サブヘッドと第2サブヘッドとを、互いの上記円周の中心間の距離が距離Qの2倍となるように配置したヘッド部と、
上記第1及び第2サブヘッドの上記円周の中心を結ぶ直線に対して平行な直線上に、それぞれの配置間隔を距離Qとして4つの部品供給位置を配置した部品供給部と、
上記円周の中心を結ぶ直線に対して平行な直線上に、上記部品保持部材により保持された上記部品の保持姿勢の画像を撮像する4個の撮像素子をそれぞれの配置間隔を距離Qとして配置する撮像装置と、
上記ヘッド部を移動させる移動装置とを備えることを特徴とする部品装着装置を提供する。
【0019】
本発明の第6態様によれば、上記移動装置は、上記回路形成体の装着表面に平行に配置され、かつ互いに直交して配置された2つの軸に沿って上記ヘッド部を移動させる、第5態様に記載の部品装着装置を提供する。
【0020】
本発明の第7態様によれば、上記第1及び第2サブヘッドの各々において、上記円周の中心に対して点対称の配置関係にある上記それぞれの部品保持部材が、同じ形状の上記部品保持部材である、第5態様又は第6態様に記載の部品装着装置を提供する。
【0025】
【発明の実施の形態】
以下に、本発明にかかる実施の形態を図面に基づいて詳細に説明する。
【0026】
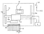
本発明の一実施形態にかかる部品装着装置の一例である電子部品装着装置101の模式的な平面図を図1に示す。図1に示すように、電子部品装着装置101は、部品の一例として電子部品2を吸着保持可能な部品保持部材の一例である吸着ノズル1を複数備えた部品装着ヘッド10を備えている。また、電子部品装着装置101は、ヘッド部10を電子部品装着装置101の機台上面に沿った方向である図示X軸方向又はY軸方向に移動させるXYロボット13と、電子部品装着装置101における機台上の図示Y軸方向下側における端部に設けられ、複数の電子部品2を供給可能に収納している部品供給部の一例である複数のパーツカセット8と、電子部品装着装置101の機台上の中央付近に、電子部品2が装着される回路形成体の一例である回路基板4を解除可能に固定するステージ12とを備えている。ここで、回路形成体とは、樹脂基板、紙−フェノール基板、セラミック基板、ガラス・エポキシ(ガラエポ)基板、フィルム基板などの回路基板、単層基板若しくは多層基板などの回路基板、部品、筐体、又は、フレームなど、回路が形成されている対象物を意味する。なお、図1において、図示X軸方向とY軸方向とは、互いに直交している。
【0027】
XYロボット13は、電子部品装着装置101における図示X軸方向における機台上の両端部夫々に、角柱状の剛体で門型に形成されたY軸ロボット13a、及び各Y軸ロボット13aに梁状の両端を支持されて、各Y軸ロボット13aにより図示Y軸方向に進退移動可能なX軸ロボット13bを備えており、ヘッド部10は、X軸ロボット13b上を図示X軸方向に進退移動可能にX軸ロボット13bに取り付けられている。
【0028】
また、各パーツカセット8は、第1部品供給位置及び第2部品供給位置の一例である部品供給位置8aにおいて電子部品2を供給可能となっており、部品供給位置8aが一定の間隔である配列間隔Pでもって、図示X軸方向と平行に一列に配列されるように各パーツカセット8が上記機台上の上記端部に設置されている。
【0029】
また、電子部品装着装置101は、吸着ノズル1により吸着保持された電子部品2の画像を撮像可能な撮像装置11を備えている。撮像装置11は、その撮像面を上向きとして、各パーツカセット8とステージ12との間における上記機台上に設置されており、XYロボット13によるヘッド部10の移動により、吸着ノズル1により吸着保持された電子部品2が、撮像装置11の上方に位置された際に、撮像装置11により電子部品2の画像が撮像される。その後、撮像された画像が撮像装置11より出力されて、電子部品装着装置101が備える制御部6に転送される。制御部6において、撮像された画像により電子部品2の吸着ノズル1に対する相対位置認識が行われる。その後、吸着ノズル1による回路基板4への電子部品2の装着の際に、制御部6により、上記相対位置認識結果に基づく相対位置補正が加えられて、吸着ノズル1により電子部品2が回路基板4へ装着される。
【0030】
なお、電子部品装着装置101が備える制御部6は、ヘッド部10、XYロボット13、撮像装置11、及び各パーツカセット8における夫々の動作を制御可能となっている。
【0031】
次に、このような構成の電子部品装着装置101が備えるヘッド部10及び撮像装置11の構造を示す模式的な斜視図を図2に示す。
【0032】
図2に示すように、ヘッド部10は、6本の吸着ノズル1が備えられた第1サブヘッド及び第2サブヘッドの一例であるサブヘッド3を3個備えている。また、各サブヘッド3において備えられている各吸着ノズル1は、夫々のサブヘッド3の回転中心であるサブヘッド回転中心R回りの1つの円周上に配置されている。なお、この吸着ノズル1の配置についての詳細な説明は後述するが、各サブヘッド3における上記円周上において、各吸着ノズル1はサブヘッド回転中心R回りに正逆方向に回転移動可能となっている。さらに、各サブヘッド3は、各吸着ノズル1を上記サブヘッド回転中心R回りに正逆方向に回転移動させる回転機構の一例であるノズル回転機構5を備えており、また、各サブヘッド3はヘッド部10に支持されている。
【0033】
また、撮像装置11は、ヘッド部10の各サブヘッド3における吸着ノズル1に吸着保持された電子部品2の画像を撮像する撮像素子(第1撮像素子及び第2撮像素子)の一例である6個のCCD9と、各CCD9と一対一に対応しかつ電子部品2の画像を対応するCCD9に結像するレンズ7とを備えている。また、互いに対応するレンズ7とCCD9の夫々の中心を結ぶように光軸Sが配置されており、レンズ7は光軸S上の図示上側に、CCD9は光軸S上の図示下側に配置されている。撮像装置11において、レンズ7の図示上側における光軸S上に電子部品2が位置されることにより、電子部品2の画像の撮像が可能となっている。
【0034】
なお、各サブヘッド3におけるサブヘッド回転中心Rの軸、及び撮像装置11における各光軸Sは、ステージ12に固定された回路基板4における電子部品2の装着表面と略直交するように配置されている。
【0035】
次に、このような構成の電子部品装着装置101が備えるヘッド部10における吸着ノズル1の平面的な配置、及び撮像装置11におけるレンズ7及びCCD9の平面的な配置について説明する。
【0036】
図3(A)は、ヘッド部10における吸着ノズル1の平面的な配置を示す模式配置図であり、図3(B)は、撮像装置11におけるCCD9及びレンズ7の平面的な配置を示す模式配置図である。図3(A)に示すように、ヘッド部10は3個のサブヘッド3を夫々のサブヘッド回転中心Rが図示X軸方向沿いに一列となるように備えており、各サブヘッド3は6本の吸着ノズル1を備えている。各サブヘッド3において、吸着ノズル1は、サブヘッド回転中心R回りのその円周上に均等な間隔でもって配列、つまり、上記サブヘッド回転中心Rに対して平面的に点対称に6本の吸着ノズル1が配置されている。また、吸着ノズル1が配置されている上記円周の直径寸法Qは、パーツカセット8における部品供給位置8aの配列間隔Pの整数倍の間隔寸法の一例として、配列間隔Pと同じ寸法となっている。また、各サブヘッド3は、夫々の上記サブヘッド回転中心Rの軸の配列間隔を上記円周の直径Qの2倍の間隔でもって一列に、かつパーツカセット8の配列方向と略平行に、すなわち、図示X軸方向と略平行に配列されている。
【0037】
また、図3(B)に示すように、撮像装置11において、CCD9は、夫々のその光軸Sが吸着ノズル1が配置されている上記円周の直径Qを一定の配列間隔として一列に、かつパーツカセット8の配列方向と略平行に、すなわち、図示X軸方向と略平行に配列されている。また、レンズ7は、夫々のCCD9と一対一に個別に対応されて、CCD9の配列と同様に配列されている。
【0038】
これにより、図3(A)に示すように、サブヘッド3における夫々のサブヘッド回転中心Rを結ぶ線L上においては、サブヘッド3毎に2本ずつの吸着ノズル1、つまり、ヘッド部10における合計6本の吸着ノズル1を同時に配置することが可能となっており、これら6本の吸着ノズル1の夫々の配列間隔は、配列間隔P(上記円周の直径Q)とすることができる。
【0039】
次に、このような構成の電子部品装着装置101において、パーツカセット8からの電子部品2の吸着取出、吸着取出しされた電子部品2の吸着状態の画像の撮像方法について説明する。
【0040】
ヘッド部10における各サブヘッド3は、図3(A)に示すような配列にて吸着ノズル1を備えている。また、図4(A)は、このようなヘッド部10における吸着ノズル1の配列と電子部品装着装置101が備える複数のパーツカセット8の平面的な配置関係を模式的に示した模式説明図である。図4(A)において、ヘッド部10が備えるサブヘッド3を、図示左側より順に第1サブヘッド3−A、第2サブヘッド3−B、及び第3サブヘッド3−Cとする。また、第1サブヘッド3−Aが備える6本の吸着ノズル1を図示左端に位置する吸着ノズル1より時計回りに順に、吸着ノズル1−A1、1−A2、・・・、1−A6とし、また、第2サブヘッド3−Bについても同様に、吸着ノズル1−B1、1−B2、・・・、1−B6とし、さらに、第3サブヘッド3−Cについても同様に、吸着ノズル1−C1、1−C2、・・・、1−C6とする。また、図4(A)に示すように、パーツカセット8の配列を図示左側より順に、パーツカセット8−1、8−2、・・・、8−6とし、パーツカセット8−1は部品供給位置8a−1を、パーツカセット8−2は部品供給位置8a―2を、・・・、パーツカセット8−6は部品供給位置8a−6を備えている。なお、図4(A)においては、各パーツカセット8のうち、吸着ノズル1により電子部品2が吸着取出されるパーツカセット8についてのみ表示している。
【0041】
なお、電子部品装着装置101の構成部が複数の部材により構成されている部材の説明においては、上記複数の部材のうちの個々の部材を特定する場合には、上記部材の符号を例えば、部材X−1、X−2、X−A1、X−C6というように用い、上記複数の部材のうちの個々の部材を特定しない場合には部材Xというように用いている。ここでXは、部材の符号として用いられる数字である。
【0042】
まず、図4(A)は、ヘッド部10が備える各吸着ノズル1のうちの6本の吸着ノズル1により同時的に電子部品2の吸着取出しを行う場合である。図4(A)に示すように、パーツカセット8−1の部品供給位置8a−1の上方に吸着ノズル1−A1を、パーツカセット8−3の部品供給位置8a−3の上方に吸着ノズル1−B1を、パーツカセット8−5の部品供給位置8a−5の上方に吸着ノズル1−C1を位置させると、パーツカセット8−2の部品供給位置8a−2の上方に吸着ノズル1−A4、パーツカセット8−4の部品供給位置8a−4の上方に吸着ノズル1−B4、パーツカセット8−6の部品供給位置8a−6の上方に吸着ノズル1−C4も位置されることとなる。その後、吸着ノズル1−A1、1−A4、1−B1、1−B4、1−C1、及び1−C4の6本の吸着ノズル1により同時的な電子部品2の吸着取出が行われる。
【0043】
なお、この場合、パーツカセット8−1及び8−2に収納されている電子部品2は夫々略同じ部品厚さを有する電子部品2であり、パーツカセット8−3及び8−4に収納されている電子部品2も夫々略同じ部品厚さを有する電子部品2であり、パーツカセット8−5及びパーツカセット8−6に収納されている電子部品2も夫々略同じ部品厚さを有する電子部品2である場合にあっては、各サブヘッド3毎に同時的に下降される夫々の吸着ノズル1の先端高さ位置を略同じ高さ位置とさせる。また、サブヘッド3毎に同時的に下降させる吸着ノズル1を夫々の先端の高さ位置を個別に制御しながら下降させることができる機構が備えられており、上記パーツカセット8毎に収納されている電子部品2が夫々異なる部品厚さを有する電子部品2であり、サブヘッド3毎において同時的に下降される夫々の吸着ノズル1の先端高さ位置を、上記機構により、吸着取出しが行われる夫々の電子部品2の部品厚さに応じて制御されるような場合であってもよい。
【0044】
また、上記6本の吸着ノズル1による同時的な電子部品2の吸着取出が行われた後、各サブヘッド3において、ノズル回転機構5により各吸着ノズル1が60度反時計回りに回転移動されて、吸着ノズル1−A2、1−A5、1−B2、1−B5、1−C2、及び1−C5が部品供給位置8a−1から8a−6の上方に夫々位置されることとなり、これら6本の吸着ノズル1により同時的な電子部品2の吸着取出が行われる。
【0045】
その後、さらに、各サブヘッド3において、ノズル回転機構5により各吸着ノズル1が60度反時計回りに回転移動されて、同様に、吸着ノズル1−A3、1−A6、1−B3、1−B6、1−C3、及び1−C6が部品供給位置8a−1から8a−6の上方に夫々位置されることとなり、これら6本の吸着ノズル1により同時的な電子部品2の吸着取出が行われる。
【0046】
このような電子部品2の吸着取出方法においては、各サブヘッド3における吸着ノズル1の配置の特徴を利用した効率的な吸着取出を行うことが可能となる。
【0047】
なお、上記においては、ヘッド部10が備える各吸着ノズル1のうちの6本の吸着ノズル1により同時的に電子部品2の吸着取出しを行う場合について説明したが、このような場合に代えて、上記6本の吸着ノズル1のうちの複数の任意の吸着ノズル1により同時的に電子部品2の吸着取出しを行う場合であってもよいし、また、上記6本の吸着ノズル1のうちの任意の吸着ノズル1により順次電子部品2の吸着取出しを行う場合であってもよい。
【0048】
また、ヘッド部10においては、全ての吸着ノズル1が同じ種類の吸着ノズル1であってもよいし、又は、サブヘッド3毎に異なる種類の吸着ノズル1が備えられている場合であってもよい。また、各サブヘッド3において、上記サブヘッド回転中心Rに対して点対称に配置された吸着ノズル1が、夫々同じ種類の吸着ノズル1である場合であってもよい。
【0049】
例えば、ヘッド部10において、全ての吸着ノズル1が同じ種類の吸着ノズル1である場合にあっては、上記全ての吸着ノズル1により、同様な種類の電子部品2の吸着取出しを行う場合に、ヘッド部10において、6本一列に配置することができる任意の吸着ノズル1の先端高さ位置を同じ高さ位置とすることができるため、上記図4(A)において説明した吸着取出し方法を容易に行うことが可能となる。
【0050】
また、例えば、サブヘッド3毎に異なる種類の吸着ノズル1が備えられているような場合、つまりサブヘッド3毎に同じ種類の吸着ノズル1が備えられているような場合にあっては、サブヘッド3毎に互いに点対称の配置にある任意の組の吸着ノズル1の先端高さ位置を同じ高さ位置とすることができるため、サブヘッド3毎に上記任意の組の吸着ノズル1による同時的な同様な種類の電子部品2の吸着取出しを容易に行うことができる。
【0051】
また、例えば、サブヘッド3毎に上記点対称の配置にある組の吸着ノズル1が同じ種類の吸着ノズル1であるような場合にあっては、サブヘッド3毎に上記組毎の夫々の吸着ノズル1の先端高さ位置を同じ高さ位置とすることができるため、サブヘッド3毎において上記の組毎の夫々の吸着ノズル1による同時的な同様な種類の電子部品2の吸着取出しを容易に行うことができ、さらに、夫々のノズル回転機構5により各吸着ノズル1を回転移動させて、他の組の夫々の吸着ノズル1による同時的な電子部品2の吸着取出しを容易に行うことができる。
【0052】
また、ノズル回転機構5による各吸着ノズル1の回転移動は、上記説明のように限定されるものではなく、サブヘッド回転中心R回りに正逆方向にかつ任意の移動角度にての回転移動を行うことができる。また、ノズル回転機構5は、サブヘッド3毎に1個ずつ備えられているため、サブヘッド3毎に各吸着ノズル1の上記回転移動を個別に行うことができる。
【0053】
次に、図4(B)は、ヘッド部10における吸着ノズル1の配列と撮像装置11が備えるCCD9の平面的な配置関係を模式的に示した模式説明図である。また、ヘッド部10における各サブヘッド3は、図3(A)に示すような配列にて各吸着ノズル1を備えており、撮像装置11は、図3(B)に示すような配列にて各CCD9を備えている。図4(B)において、ヘッド部10が備える夫々のサブヘッド3、及び夫々の吸着ノズル1を特定する場合には、図4(A)における符号と同じ符号を用いる。また、図4(B)に示すように、撮像装置11におけるCCD9の配列を図示左側より順に、CCD9−1、CCD9−2、・・・、CCD9−6とする。なお、撮像装置11においては、夫々のCCD9と一対一に対応するようにレンズ7が配置されているが、CCD9とレンズ7の平面的な配置は同じであるため、以下においては、CCD9とレンズ7の平面的な配置関係の説明をCCD9の配置関係の説明でもって代えるものとする。
【0054】
図4(B)においては、ヘッド部10が備える各吸着ノズル1のうちの6本の吸着ノズル1夫々により吸着保持された電子部品2の画像を、撮像装置11により同時的に行うような電子部品の撮像方法を示している。各吸着ノズル1は、例えば、上記図4(A)に示すような電子部品の吸着取出し方法によって、パーツカセット8からの電子部品2の吸着取出しを行うことにより、各吸着ノズル1は電子部品2が吸着保持された状態となっている。
【0055】
図4(B)に示すように、CCD9−1の上方に吸着ノズル1−A1を、CCD9−3の上方に吸着ノズル1−B1を、CCD9−5の上方に吸着ノズル1−C1を位置させると、CCD9−2の上方に吸着ノズル1−A4を、CCD9−4の上方に吸着ノズル1−B4を、CCD9−6の上方に吸着ノズル1−C4も位置されることとなる。その後、吸着ノズル1−A1、1−A4、1−B1、1−B4、1−C1、及び1−C4の6本の吸着ノズル1夫々に吸着保持された電子部品2に対して、撮像装置11における夫々の吸着ノズル1に対応するCCD9により画像の撮像が行われる。なお、この電子部品2の画像の撮像の際においいては、各吸着ノズル1、又は各サブヘッド3、又はヘッド部10の昇降動作が行われることにより、各電子部品2の撮像面である下面が撮像装置11における撮像可能な高さ位置である撮像高さ位置に位置され、その後、夫々のCCD9の対応するレンズ7により、夫々の電子部品2の画像がCCD9に結像されることにより、電子部品2の画像の撮像が同時的に行われる。
【0056】
上記6本の吸着ノズル1夫々に吸着保持された電子部品2の画像の同時的な撮像が行われた後、各サブヘッド3において、ノズル回転機構5により各吸着ノズル1が60度反時計回りに回転移動されて、吸着ノズル1−A2、1−A5,1−B2、1−B5、1−C2、及び1−C5が、CCD9−1から9−6の上方に夫々位置されて、これら6本の吸着ノズル1夫々により吸着保持された電子部品2に対して、撮像装置11における夫々の吸着ノズル1に対応するCCD9により画像の撮像が同時的に行われる。
【0057】
その後、さらに、各サブヘッド3において、ノズル回転機構5により各吸着ノズル1が60度反時計回りに回転移動されて、同様に、吸着ノズル1−A3、1−A6、1−B3、1−B6、1−C3、及び1−C6が、CCD9−1から9−6の上方に夫々位置されて、これら6本の吸着ノズル1夫々により吸着保持された電子部品2に対して、撮像装置11における夫々の吸着ノズル1に対応するCCD9により画像の撮像が同時的に行われる。
【0058】
また、上記6本の吸着ノズル1夫々に吸着保持された電子部品2の画像の撮像が行われる毎に、夫々の画像が撮像装置11より出力されて制御部6に転送され、制御部6において各画像の認識処理が施され、各電子部品2の吸着ノズル1に対する相対位置が認識される。なお、上記画像の出力は、上記場合に代えて、吸着保持された全ての電子部品2の画像の撮像後に、撮像装置11より制御部6に出力される場合であってもよいし、又は、回路基板4に装着される電子部品2の装着順に出力されるような場合であってもよい。また、上記6本の吸着ノズル1夫々に吸着保持された電子部品2の画像の撮像を同時的に行う場合に代えて、上記6本の吸着ノズル1のうちの任意の複数の吸着ノズル1夫々に吸着保持された電子部品2の画像の撮像を同時的に行う場合であってもよいし、又は、上記6本の吸着ノズル1のうちの任意の吸着ノズル1により吸着保持された電子部品2に対して、順次電子部品2の画像の撮像を行う場合であってもよい。
【0059】
電子部品装着装置101においては、様々な種類の電子部品2が取り扱われるため、取り扱われる電子部品2の大きさも様々なものがある。従って、このように電子部品2の大きさが異なるような場合であっても、このような電子部品2の画像の撮像を行える必要があり、このような場合における電子部品2の画像の撮像方法を以下に実施例として説明する。
【0060】
図5及び図6は、吸着ノズル1、電子部品2及びCCD9の平面的な配置関係により夫々の実施例における電子部品の画像の撮像方法を示す模式説明図である。
【0061】
図5(A)及び(B)、及び図6(A)及び(B)において、各吸着ノズル1及び各CCD9は図3に示す配置と同様な配置となっている。ヘッド部10の各サブヘッド3におけるサブヘッド回転中心回りの円周、つまり、各吸着ノズル1が配置されている円周の直径Qは21.5mmとなっており、サブヘッド回転中心Rの配列間隔は、43mm(21.5mm×2)となっている。また、撮像装置11において、CCD9の配列間隔の同様に、21.5mmとなっている。
【0062】
各CCD9は、画素仕様が1024×1280ピクセル、画像転送レートが10frame/s、分解能が光学的に16μm、撮像視野が16mm×20.5mmのものが用いられている。また、各CCD9はCMOS(Complementary Metal Oxide Semiconductor)イメージセンサを使用しており、このCMOSイメージセンサは素子の構造上、画像の切り出しが可能であり、画像切出し可能範囲として、512×512ピクセル(視野サイズ8mm×8mm)の画像切出し処理が可能となっており、この画像切出し処理を行うことにより、画像転送レートを30frame/sと高速化することが可能となる。
【0063】
ここで、CMOSイメージセンサについて説明すると、CMOSイメージセンサは、1画素に1つずつ増幅器を備えており、この増幅器で電荷を電圧に変換し、1画素ごとに電圧を出力可能となっている。つまり、原理的にはメモリと同じように、任意の画素にアクセス可能となっており、CMOSイメージセンサそのものに画像切出し機能が備わっている。
【0064】
また、具体的な画像切出し処理の手順について説明すると、CMOSイメージセンサにおいて、まず、画像切出し範囲となるウィンドウの原点を設定し、次にウィンドウの大きさを設定する。例えば、ウィンドウを長方形の枠とすると、ウィンドウの原点は、上記長方形の4つの頂点のうちの1つの頂点となる。CMOSイメージセンサ内部においては、複数の画素夫々に個別にアドレスが備えられており、ウィンドウの原点となる画素のアドレスから、ウィンドウの横方向の終点アドレスを算出し、上記原点アドレスから上記終点アドレスまで、横方向に順番に画素を転送する。上記終点アドレスまでの画素の転送が終了したら、縦方向のアドレスに1つ変更をかけ、変更された縦方向のアドレスにおいて、上記横方向の画素転送を同様に行う。ウィンドウの原点となる画素のアドレスから、ウィンドウの縦方向の終点アドレスを算出し、上記縦方向の終点アドレスまで、これらの画素転送の動作を繰り返して行い、ウィンドウの大きさにおける画像切出し処理が終了する。
【0065】
また、各サブヘッド3において、ノズル回転機構5による各吸着ノズル1を静止状態から正逆いずれかの方向に60度回転移動を行い再び各吸着ノズル1を静止状態とさせるまでに要する時間である60度回転時間は50msである。
【0066】
なお、以下の説明においては、ヘッド部10が備える夫々のサブヘッド3及び夫々の吸着ノズル1を、撮像装置11が備える夫々のCCD9を特定する場合には、図4(A)及び(B)における符号と同じ符号を用いる。
【0067】
このような仕様のヘッド部10及び撮像装置11において、実施例1は、図5(A)に示すように、吸着保持される電子部品2の平面的な大きさが6mm×6mmまでの電子部品2を、ヘッド部10が備える各吸着ノズル1夫々が吸着保持している場合である。
【0068】
図5(A)に示すように、CCD9−1の上方に吸着ノズル1−A1を、CCD9−3の上方に吸着ノズル1−B1を、CCD9−5の上方に吸着ノズル1−C1を位置させて、CCD9−2の上方に吸着ノズル1−A4を、CCD9−4の上方に吸着ノズル1−B4を、CCD9−6の上方に吸着ノズル1−C4も位置させる。その後、吸着ノズル1−A1、1−A4、1−B1、1−B4、1−C1、及び1−C4の6本の吸着ノズル1夫々に吸着保持された電子部品2に対して、撮像装置11における夫々の吸着ノズル1に対応するCCD9により画像の撮像を同時的に行う。
【0069】
その後、各サブヘッド3において、ノズル回転機構5により各吸着ノズル1を60度反時計回りに回転移動させて、吸着ノズル1−A2、1−A5,1−B2、1−B5、1−C2、及び1−C5が、CCD9−1から9−6の上方に夫々位置させて、これら6本の吸着ノズル1夫々により吸着保持された電子部品2に対して、撮像装置11における夫々の吸着ノズル1に対応するCCD9により画像の撮像を同時的に行う。
【0070】
その後、さらに、各サブヘッド3において、ノズル回転機構5により各吸着ノズル1が60度反時計回りに回転移動させて、同様に、吸着ノズル1−A3、1−A6、1−B3、1−B6、1−C3、及び1−C6が、CCD9−1から9−6の上方に夫々位置させて、これら6本の吸着ノズル1夫々により吸着保持された電子部品2に対して、撮像装置11における夫々の吸着ノズル1に対応するCCD9により画像の撮像を同時的に行う。
【0071】
上記6本の吸着ノズル1夫々に吸着保持された電子部品2の画像の撮像が行われる毎に、撮像装置11から制御部6へ撮像された電子部品2の画像が転送されることになるが、この画像転送時間の短縮を図るために各CCD9において撮像された画像の画像切出し処理を行っている。すなわち、各CCD9において、画素仕様1024×1280ピクセルにて撮像された画像を、6mm×6mmの大きさの電子部品2が撮像された部分を含めながら、512×512ピクセルの大きさの画像に切出しを行う。その後、画像切出し処理が施された電子部品2の画像が撮像装置11より制御部6に転送される。なお、この画像切出し処理は、撮像される電子部品2の平面的な大きさが、上記画像切出し可能範囲内にある場合に行われ、撮像される電子部品2が上記画像切出し可能範囲内にあるかどうかの判断は制御部6により行われる。
【0072】
このような撮像方法におけるヘッド部10において吸着保持された電子部品2の画像の撮像に要する時間は、画像転送に要する時間(30ms×3回)と、各吸着ノズル1の回転移動時間(50ms×2回)との合計であり、190msとなる。
【0073】
次に、実施例2は、図5(B)に示すように、吸着保持される電子部品2の平面的な大きさが12mm×12mmまでの電子部品2を、ヘッド部10が備える吸着ノズル1が吸着保持している場合である。このような大きさの電子部品2を吸着保持するような場合においては、図5(B)に示すように、各サブヘッド3においては、電子部品2の大きさにより、全ての吸着ノズル1により電子部品2を吸着することができないため、6本の吸着ノズル1のうちの互いに隣接しない3本の吸着ノズル1により電子部品2の吸着保持を行わせている。具体的には、図5(B)において、吸着ノズル1−A1、1−A3、1−A5、1−B1、1−B3、1−B5、1−C1、1−C3、及び1−C5の夫々に電子部品2が吸着保持されている。
【0074】
まず、図5(B)に示すように、CCD9−1の上方に吸着ノズル1−A1を、CCD9−3の上方に吸着ノズル1−B1を、CCD9−5の上方に吸着ノズル1−C1を位置させる。その後、吸着ノズル1−A1、1−B1、及び1−C1の3本の吸着ノズル1夫々に吸着保持された電子部品2に対して、撮像装置11における夫々の吸着ノズル1に対応するCCD9により画像の撮像を同時的に行う。
【0075】
その後、各サブヘッド3において、ノズル回転機構5により各吸着ノズル1を60度時計回りに回転移動させて、CCD9−2の上方に吸着ノズル1−A3を、CCD9−4の上方に吸着ノズル1−B3を、CCD9−6の上方に吸着ノズル1−C3を位置させて、これら3本の吸着ノズル1夫々により吸着保持された電子部品2に対して、撮像装置11における夫々の吸着ノズル1に対応するCCD9により画像の撮像を同時的に行う。
【0076】
その後、さらに、各サブヘッド3において、ノズル回転機構5により各吸着ノズル1を60度時計回りに回転移動させて、CCD9−1の上方に吸着ノズル1−A5を、CCD9−3の上方に吸着ノズル1−B5を、CCD9−5の上方に吸着ノズル1−C5を位置させて、これら3本の吸着ノズル1夫々により吸着保持された電子部品2に対して、撮像装置11における夫々の吸着ノズル1に対応するCCD9により画像の撮像を同時的に行う。
【0077】
また、上記3本の吸着ノズル1夫々に吸着保持された電子部品2の画像の撮像が行われる毎に、撮像装置11から制御部6へ撮像された電子部品2の画像が転送される。
【0078】
このような撮像方法におけるヘッド部10において吸着保持された電子部品2の画像の撮像に要する時間は、画像転送に要する時間(100ms×3回)と、各吸着ノズル1の回転移動時間(50ms×2回)との合計であり、400msとなる。
【0079】
次に、実施例3は、図6(A)に示すように、吸着保持される電子部品2の平面的な大きさが15mm×15mmまでの電子部品2を、ヘッド部10が備える吸着ノズル1が吸着保持している場合である。このような大きさの電子部品2を吸着保持するような場合においては、図6(A)に示すように、各サブヘッド3においては、電子部品2の大きさにより、全ての吸着ノズル1により電子部品2を吸着することができないため、6本の吸着ノズル1のうちのサブヘッド回転中心Rに対して点対称となっている1組の吸着ノズル1により電子部品2の吸着保持を行わせている。具体的には、図6(A)において、吸着ノズル1−A1、1−A4、1−B1、1−B4、1−C1、及び1−C4の夫々に電子部品2が吸着保持されている。
【0080】
まず、図6(A)に示すように、CCD9−1の上方に吸着ノズル1−A1を、CCD9−3の上方に吸着ノズル1−B1を、CCD9−5の上方に吸着ノズル1−C1を位置させて、CCD9−2の上方に吸着ノズル1−A4を、CCD9−4の上方に吸着ノズル1−B4を、CCD9−6の上方に吸着ノズル1−C4を位置させる。その後、吸着ノズル1−A1、1−A4、1−B1、1−B4、1−C1及び1−C4の6本の吸着ノズル1夫々に吸着保持された電子部品2に対して、撮像装置11における夫々の吸着ノズル1に対応するCCD9により画像の撮像を同時的に行う。
【0081】
その後、上記6本の吸着ノズル1夫々に吸着保持された電子部品2の画像の撮像が行われる毎に、撮像装置11から制御部6へ撮像された電子部品2の画像が転送される。
【0082】
このような撮像方法におけるヘッド部10において吸着保持された電子部品2の画像の撮像に要する時間は、各吸着ノズル1の回転移動を伴わないため、画像転送に要する時間(100ms×1回)のみであり、100msとなる。
【0083】
次に、実施例4は、図6(B)に示すように、吸着保持される電子部品2の平面的な大きさが22mm×22mmまでの電子部品2を、ヘッド部10が備える吸着ノズル1が吸着保持している場合である。このような大きさの電子部品2を吸着保持するような場合においては、図6(B)に示すように、各サブヘッド3においては、電子部品2の大きさにより、全ての吸着ノズル1により電子部品2を吸着することができないため、6本の吸着ノズル1のうちの1本の吸着ノズル1により電子部品2の吸着保持を行わせている。具体的には、図6(B)において、吸着ノズル1−A1、1−B1、及び1−C1の夫々に電子部品2が吸着保持されている。
【0084】
このような大きさの電子部品2においては、各CCD9における撮像視野(16mm×20.5mm)に電子部品2が納まりきらないため、1つの電子部品2を複数のCCD9により分割して撮像を行う。具体的には、22mm×22mmの大きさの電子部品2を11mm×11mmの大きさに4等分して、夫々の部分毎に撮像を行う。
【0085】
まず、図6(B)に示すように、吸着ノズル1−A1に吸着保持されている電子部品2の上記4等分の図示左上の部分がCCD9−1の上方に、上記4等分の図示右上の部分がCCD9−2の上方に、吸着ノズル1−B1に吸着保持されている電子部品2の上記4等分の図示左上の部分がCCD9−3の上方に、上記4等分の図示右上の部分がCCD9−4の上方に、吸着ノズル1−C1に吸着保持されている電子部品2の上記4等分の図示左上の部分がCCD9−5の上方に、上記4等分の図示右上の部分がCCD9−6の上方に位置させる。
【0086】
その後、このような状態において、吸着ノズル1−A1、1−B1、及び1−C1の3本の吸着ノズル1夫々に吸着保持された電子部品2に対して、各CCD9により上記夫々のCCD9の上方に位置された電子部品2の上記部分の画像の撮像を同時的に行う。
【0087】
その後、XYロボット13により、ヘッド部10を図示Y軸方向に移動させて、吸着ノズル1−A1に吸着保持されている電子部品2の上記4等分の図示左下の部分がCCD9−1の上方に、上記4等分の図示右下の部分がCCD9−2の上方に、吸着ノズル1−B1に吸着保持されている電子部品2の上記4等分の図示左下の部分がCCD9−3の上方に、上記4等分の図示右下の部分がCCD9−4の上方に、吸着ノズル1−C1に吸着保持されている電子部品2の上記4等分の図示左下の部分がCCD9−5の上方に、上記4等分の図示右下の部分がCCD9−6の上方に位置させる。
【0088】
その後、このような状態において、吸着ノズル1−A1、1−B1、及び1−C1の3本の吸着ノズル1夫々に吸着保持された電子部品2に対して、各CCD9により上記夫々のCCD9の上方に位置された電子部品2の上記部分の画像の撮像を同時的に行う。
【0089】
また、上記2回の同時的な撮像が行われる毎に、撮像装置11から制御部6へ撮像された電子部品2の部分的な画像が転送される。その後、電子部品2の上記部分的な画像が、制御部6が備える画像処理装置等により画像補間が行われ、各電子部品2の画像としての認識処理が行われる。
【0090】
このような撮像方法におけるヘッド部10において吸着保持された電子部品2の画像の撮像に要する時間は、画像転送に要する時間(100ms×2回)と、ヘッド部10のY軸方向の移動に要する時間との合計である。ここで、ヘッド部10のY軸方向の移動に要する時間を、例えば、移動距離24mm、移動における加速度2Gとすると、約80msとなる。従って、上記撮像に要する時間は、280msとなる。
【0091】
上記各実施例の撮像方法によれば、従来の電子部品の画像の撮像方法と比べて、撮像に要する時間を短縮することができる。例えば、上記各実施例におけるヘッド部10が装備する吸着ノズル1と同じ本数である18本の吸着ノズル夫々により吸着保持された電子部品の画像の撮像を従来の電子部品の画像の撮像方法により行うような場合にあっては、夫々の吸着ノズルを撮像装置の上方へと順次位置させて行く移動動作に要する時間を50msとすると、撮像に要する時間は、画素仕様512×512ピクセルである場合には、画像転送に要する時間(30ms×18)と、移動動作に要する時間(50ms×17回)との合計であり、1390msとなり、画素仕様1024×1280ピクセルである場合にあっては、画像転送に要する時間(100ms×18)と、移動動作に要する時間(50ms×17回)との合計であり、2650msとなるからである。
【0092】
また、上記実施例1によれば、電子部品2の大きさに対応する画素分だけ、撮像された画像より画像切出し処理を行って、撮像装置11より制御部6に各画像の転送を行うことにより、画像の転送に要する時間の短縮化を図ることができる。
【0093】
また、上記実施例4によれば、各CCD9の撮像視野よりも大きな電子部品2の画像の撮像を行うような場合にあっては、電子部品2を複数の部分に分割して、複数のCCD9により撮像させ、撮像された画像に対して補間処理を行うことにより、電子部品2の画像を認識することができる。
【0094】
上記実施形態によれば、以下のような種々効果を得ることができる。
【0095】
まず、ヘッド部10が備える3個のサブヘッド3が、夫々6本の吸着ノズル1を備え、各サブヘッド3において、吸着ノズル1は、各吸着ノズル1のサブヘッド回転中心R回りに回転移動可能に配置されていることにより、各サブヘッド3において、ノズル回転機構5による各吸着ノズル1の上記サブヘッド回転中心R回りの回転移動によって、吸着ノズル1を夫々の回転移動の円周上における任意の位置に位置させることができ、ヘッド部10における吸着ノズル1の単位面積当りの装備数の増加を図ることができる。
【0096】
さらに、各サブヘッド3において、吸着ノズル1は、各吸着ノズル1のサブヘッド回転中心R回りのその円周上に均等な間隔でもって配列されて、さらに、吸着ノズル1が配置される上記円周の直径Qは、撮像装置11において一列に配列されたレンズ7及びCCD9の配置間隔と同じ寸法となっており、かつ、各サブヘッド3は、夫々の上記サブヘッド回転中心Rの軸の配列間隔を上記直径Qの2倍の間隔でもって一列に、かつレンズ7及びCCD9の配列方向と略平行に配列されていることにより、サブヘッド3における夫々のサブヘッド回転中心Rを結ぶ線上においては、サブヘッド3毎に2本ずつの吸着ノズル1、つまり、ヘッド部101における合計6本の吸着ノズル1を同時に配置することが可能となり、これら6本の吸着ノズル1の夫々の配列間隔を、レンズ7及びCCD9の配置間隔と同じ間隔することができる。これにより、サブヘッド3における夫々のサブヘッド回転中心Rを結ぶ線上においては、サブヘッド3毎に2本ずつの吸着ノズル1、つまり、ヘッド部101における合計6本の吸着ノズル1を、撮像装置11における6組のレンズ7及びCCD9の上方に同時に配置することができ、上記各吸着ノズル1に吸着保持された電子部品2の画像の撮像を同時的に行うことができる。
【0097】
従って、ヘッド部10における単位面積当りの吸着ノズル1の装備数の増加を図りながら、撮像装置11による電子部品2の画像の撮像に要する時間を短縮することができ、このようなヘッド部10を備える電子部品装着装置101における電子部品の装着効率を向上させることが可能となる。
【0098】
また、ヘッド部10における各サブヘッド3において、サブヘッド3が備える各吸着ノズル1を、上記サブヘッド回転中心R回りに正逆回転移動を行うノズル回転機構5が備えられていることにより、撮像装置11により上記6本の吸着ノズル1夫々に吸着保持された電子部品2の同時的な画像の撮像が行われた後、XYロボット13によるヘッド部10の移動を行うことなく、ノズル回転機構5により各吸着ノズル1を正逆回転移動させて、上記画像の撮像が行われた吸着ノズル1とは別の吸着ノズル1夫々を各レンズ7及び各CCD9の上方へと位置させることができるため、上記別の吸着ノズル1夫々に吸着保持された電子部品2の画像の撮像を同時的に行うことができる。さらに、各サブヘッド3において、ノズル回転機構5の上記回転移動を繰り返し行うことにより、ヘッド部10における全ての吸着ノズル1夫々に吸着保持された電子部品2の画像の撮像を連続的に行うことができ、撮像装置11による電子部品2の画像の撮像に要する時間を短縮することができ、このようなヘッド部10を備える電子部品装着装置101における電子部品の装着効率を向上させることが可能となる。
【0099】
また、撮像装置11における各CCD9においては、撮像された電子部品2の大きさに対応する画素分だけ、撮像された画像より画像切出し処理を行って、撮像装置11より制御部6に各画像の転送を行うことにより、画像の転送に要する時間の短縮化を図ることができ、電子部品2の大きさに基づいてこのような画像切出し処理を施すことにより、さらに、撮像装置11による電子部品2の画像の撮像に要する時間を短縮することができ、このようなヘッド部10を備える電子部品装着装置101における電子部品の装着効率を向上させることが可能となる。
【0100】
また、撮像装置11における各CCD9の撮像視野よりも大きな電子部品2の画像の撮像を行うような場合にあっては、電子部品2を複数の部分に分割して、複数のCCD9により撮像させ、制御部6において、撮像された画像に対して補間処理を行うことにより、電子部品2の画像を認識することができ、様々な電子部品2の大きさに対応することができる電子部品の画像の撮像方法を提供するこが可能となる。
【0101】
また、各サブヘッド3において、吸着ノズル1が配置される上記円周の直径Qが、パーツカセット8における配置間隔Pと同じ寸法となっており、かつ、夫々の上記サブヘッド回転中心Rの軸が、パーツカセット8の配列方向と略平行に配列されていることにより、サブヘッド3における夫々のサブヘッド回転中心Rを結ぶ線上においては、サブヘッド3毎に2本ずつの吸着ノズル1、つまり、ヘッド部10における合計6本の吸着ノズル1を、隣接する6個のパーツカセット8における部品供給位置8aの上方に同時に配置することができ、上記各部品供給位置8aからの同時的な電子部品2の吸着取出しを行うことができる。
【0102】
従って、ヘッド部10における単位面積当りの吸着ノズル1の装備数の増加を図りながら、ヘッド部10による電子部品2の吸着取出しに要する時間を短縮することができ、このようなヘッド部10を備える電子部品装着装置101における電子部品の装着効率を向上させることが可能となる。
【0103】
なお、上記様々な実施形態のうちの任意の実施形態を適宜組み合わせることにより、それぞれの有する効果を奏するようにすることができる。
【0104】
【発明の効果】
本発明の上記第1態様によれば、部品装着ヘッドが備える第1サブヘッド及び第2サブヘッドが、夫々のサブヘッド回転中心回りに回転移動可能に配置した複数の部品保持部材を備えていることにより、上記各サブヘッドにおいて、上記各部品保持部材の上記サブヘッド回転中心回りの回転移動によって、上記部品保持部材を夫々の回転移動の円周上における任意の位置に位置させることができ、上記部品装着ヘッドにおける上記部品保持部材の単位面積当りの装備数の増加を図ることができる。
【0105】
さらに、上記第1サブヘッドにおける1つの部品保持部材を第1撮像素子の上方に位置させると、上記第2サブヘッドにおける1つの部品保持部材が第2撮像素子の上方へと位置するように、上記各1つの部品保持部材が配置されていることにより、上記第1撮像素子による上記第1サブヘッドにおける上記1つの部品保持部材に保持された部品の画像の撮像、及び上記第2撮像素子による上記第2サブヘッドにおける上記1つの部品保持部材に保持された部品の画像の撮像を同時的に行うことが可能となる。
【0106】
従って、上記部品装着ヘッドにおける単位面積当りの上記部品保持部材の装備数の増加を図りながら、撮像装置による部品の画像の撮像に要する時間を短縮することができ、このような部品装着ヘッドを備える部品装着装置における部品の装着効率を向上させることが可能となる。
【0107】
本発明の上記第2態様によれば、さらに、上記第1サブヘッドにおける1つの部品保持部材と上記第2サブヘッドにおける1つの部品保持部材との間隔が、部品供給位置の配列間隔である一定の間隔の整数倍であり、かつ上記第1サブヘッドにおける上記1つの部品保持部材を上記第1部品供給位置の上方に位置させると、上記第2サブヘッドにおける上記1つの部品保持部材が上記第2部品供給位置の上方へと位置するように、上記第1サブヘッドにおける上記1つの部品保持部材と上記第2サブヘッドにおける上記1つの部品保持部材とが配置されていることにより、上記第1サブヘッドにおける上記1つの部品保持部材による上記第1部品供給位置からの上記部品の取出し、及び上記第2サブヘッドにおける上記1つの部品保持部材による上記第2部品供給位置からの上記部品の取出しを同時的に行うことが可能となる。従って、撮像装置による部品の画像の撮像に要する時間を短縮することができるという上記第1態様による効果に付け加えて、部品装着ヘッドによる部品の取出しに要する時間を短縮することができ、このような部品装着ヘッドを備える部品装着装置における部品の装着効率を向上させることができる。
【0108】
本発明の上記第3態様によれば、上記部品保持部材が上記部品を吸着保持する吸着ノズルである場合であっても上記第1態様又は第2態様による効果と同様の効果を得ることが可能となる。
【0109】
本発明の上記第4態様によれば、上記第1サブヘッドにおける上記サブヘッド回転中心と上記第2サブヘッドにおける上記サブヘッド回転中心の配列方向が、上記撮像装置における上記第1撮像素子及び上記第2撮像素子の配列方向と略平行であり、かつ上記部品供給位置の配列方向とも略平行であることにより、上記サブヘッド回転中心の上記配列方向と、上記夫々の1つの部品保持部材の配列方向と、上記撮像素子の上記配列方向、及び上記部品供給位置の上記配列方向とが略平行となり、上記撮像装置における上記第1撮像素子及び上記第2撮像素子による上記部品の画像の同時的な撮像を行う場合における上記各サブヘッドの上記1つの部品保持部材と上記第1撮像素子及び上記第2撮像素子との位置合わせ、又は、上記各サブヘッドによる上記第1部品供給位置及び上記第2部品供給位置から上記部品の同時的な取出しを行う場合における上記各サブヘッドの上記1つの部品保持部材と上記第1部品供給位置及び上記第2部品供給位置との位置合わせをより容易に行うことができ、撮像装置による部品の画像の撮像に要する時間を短縮することができるとともに、部品装着ヘッドによる部品の取出しに要する時間を短縮することができ、このような部品装着ヘッドを備える部品装着装置における部品の装着効率を向上させることが可能となる。
【0110】
それとともに、このような部品装着ヘッドを備える電子部品装着装置にあっては、撮像装置における撮像素子の配列構成、部品供給部における部品供給位置の配列構成、及び部品装着ヘッドの動作範囲をよりコンパクトなものとすることができ、単位面積当りの生産性が向上された部品装着装置を提供することが可能となる。
【0111】
本発明の上記第5態様によれば、上記各サブヘッドの上記サブヘッド回転中心の軸が上記回路形成体の装着表面と大略直交していることにより、上記各サブヘッドにおける上記サブヘッド回転中心回りの上記円周は上記装着表面と大略平行となり、上記各部品保持部材の上記回転移動を上記装着表面と大略平行に行うことができる。従って、上記各サブヘッドにおいて、上記各部品保持部材の上記サブヘッド回転中心回りの回転移動によって位置される夫々の回転移動の円周上における任意の位置において、上記部品供給位置からの上記部品の取出し、又は上記撮像装置による保持された部品の画像の撮像を行うことができ、より多様な部品の装着方法を可能とすることができるとともに、上記部品装着ヘッドにおける上記部品保持部材の単位面積当りの装備数の増加を図ることができる。
【0112】
本発明の上記第6態様によれば、上記部品装着装置が、上記回路形成体の装着表面沿いの直交する2方向沿いに移動可能であることにより、上記各サブヘッドによる上記第1部品供給位置及び上記第2部品供給位置から上記部品の同時的な取出しを行う場合における上記各サブヘッドの上記1つの部品保持部材と上記第1部品供給位置及び上記第2部品供給位置との位置合わせ、又は、上記撮像装置における上記第1撮像素子及び上記第2撮像素子による上記部品の画像の同時的な撮像を行う場合における上記各サブヘッドの上記1つの部品保持部材と上記第1撮像素子及び上記第2撮像素子との位置合わせを上記部品装着ヘッドの上記2方向沿いの移動動作、つまり、より簡素化された移動動作により行うことができ、部品装着ヘッドによる部品の取出しに要する時間を短縮することができ、このような部品装着ヘッドを備える部品装着装置における部品の装着効率を向上させることが可能となる。
【0113】
本発明の上記第7態様から第8態様によれば、上記各サブヘッドにおいて上記サブヘッド回転中心に対して点対称の位置にある夫々の上記部品保持部材により保持されている上記部品を上記撮像素子の上方に同時的に位置させることができ、上記同時的な撮像が可能な上記部品を保持した上記部品保持部材の本数を増加させることができる。
【0114】
また、上記各サブヘッドにおける上記各部品保持部材の上記サブヘッド回転中心回りの回転移動により、上記直交する2方向沿いの上記部品装着ヘッドの移動を伴わない場合であっても、連続的に上記部品保持部材を上記撮像素子の上方へと位置させることができるというように、上記撮像装置における上記撮像素子による複数の上記部品の同時的な画像の撮像に要する時間をさらに短縮することができる。また、それとともに、上記部品装着ヘッドにおいては、上記部品保持部材をよりコンパクトに配置することができ、上記撮像装置においては、上記撮像素子をよりコンパクトに配置することができる。従って、部品装着ヘッドにおける単位面積当りの部品保持部材の装備数の増加を図りながら、このような部品装着ヘッドを備える部品装着装置における部品の装着効率をさらに向上させることが可能となる。
【0115】
本発明の上記第9態様によれば、まず、上記撮像装置が上記部品装着装置の機台上に取り付けられていることにより、上記部品装着ヘッドを軽量かつコンパクトなものとすることができ、上記部品装着ヘッドの上記部品供給部から上記回路形成体までの移動に要する時間を短縮化を妨げないようにすることができる。
【0116】
また、上記部品装着ヘッドの上記部品供給部から上記回路形成体への移動過程において、上記部品供給部と上記回路形成体との間に設置された上記撮像装置により撮像可能な位置を経由するように上記部品装着ヘッドを移動させることにより、上記部品装着ヘッドを最短経路において移動させることができ、上記部品装着ヘッドの移動に要する時間の短縮化を図ることができ、このような部品装着ヘッドを備える部品装着装置における部品の装着効率を向上させることが可能となる。
【0117】
本発明の上記台10態様によれば、上記第1サブヘッドにおける1つの部品保持部材により保持されている上記部品を上記撮像素子の上方へ位置させるとともに、上記第2サブヘッドにおける1つの部品保持部材により保持されている上記部品を別の上記撮像素子の上方へと位置させて、夫々の上記撮像素子により上記部品の画像の撮像を同時的に行った後、上記各サブヘッドにおける夫々の上記各部品保持部材を上記サブヘッド回転中心回りに回転移動させることのみにより、上記第1サブヘッドにおける別の1つの部品保持部材により保持されている上記部品を上記撮像素子の上方へ位置させるとともに、上記第2サブヘッドにおける別の1つの部品保持部材により保持されている上記部品を上記別の撮像素子の上方へと位置させることができる。これにより、夫々の上記撮像素子により、夫々の上記別の1つの部品保持部材により保持されている上記部品の画像の撮像を同時的に行うことができ、上記撮像素子による上記部品の同時的な撮像に要する時間を短縮することができる。従って、このような上記部品の撮像を行うことにより、部品の装着効率を向上させる部品装着方法を提供することが可能となる。
【0118】
本発明の上記第11態様によれば、撮像される上記部品の大きさが上記撮像素子における画像切出し可能範囲内にあるときには、上記撮像素子において、撮像された上記部品の大きさに対応する画素分だけ、撮像された画像より画像切出しを行い、上記画像切出しが行なわれた画像を上記部品の画像とすることにより、上記部品の画像のデータ量を削減することができる。従って、上記撮像素子より制御部に上記画像の転送を行う際に、上記画像の転送に要する時間の短縮化を図ることができ、上記部品の大きさに基づいてこのような上記画像切出しを施すことにより、さらに、部品の画像の撮像に要する時間を短縮することができる。従って、このような上記部品の撮像を行うことにより、部品の装着効率を向上させる部品装着方法を提供することが可能となる。
【図面の簡単な説明】
【図1】 本発明の一実施形態にかかる電子部品装着装置の模式的な平面図である。
【図2】 上記実施形態の電子部品装着装置が備えるヘッド部及び撮像装置の構造を示す模式的な斜視図である。
【図3】 図3(A)は、上記実施形態のヘッド部における吸着ノズルの配置を示す模式平面図であり、図3(B)は、上記実施形態の撮像装置におけるCCD及びレンズの配置を示す模式平面図である。
【図4】 図4(A)は、上記実施形態の電子部品装着装置におけるヘッド部の吸着ノズルとパーツカセットの平面的な配置関係を示す模式説明図であり、図4(B)は、上記実施形態の電子部品装着装置におけるヘッド部の吸着ノズルと撮像装置のCCDの平面的な配置関係を示す模式説明図である。
【図5】 上記実施形態の電子部品装着装置による電子部品の画像の撮像方法を示す模式説明図であり、(A)は6mm×6mmの大きさの電子部品の画像の撮像方法であり、(B)は、12mm×12mmの大きさの電子部品の画像の撮像方法である。
【図6】 上記実施形態の電子部品装着装置による電子部品の画像の撮像方法を示す模式説明図であり、(A)は15mm×15mmの大きさの電子部品の画像の撮像方法であり、(B)は、22mm×22mmの大きさの電子部品の画像の撮像方法である。
【図7】 従来の電子部品装着装置の模式斜視図である。
【符号の説明】
1…吸着ノズル、2…電子部品、3…サブヘッド、4…回路基板、5…ノズル回転機構、6…制御部、7…レンズ、8…パーツカセット、8a…部品供給位置、9…CCD、10…ヘッド部、11…撮像装置、12…ステージ、13…XYロボット、13a…Y軸ロボット、13b…X軸ロボット、101…電子部品装着装置、P…パーツカセットの配列間隔、Q…円周の直径寸法、R…サブヘッド回転中心、S…光軸、L…各サブヘッド回転中心を結ぶ線。

Claims (7)

  1. 部品供給部において距離Qの間隔で直線状に並べられた4つの部品供給位置のうちの複数の上記部品供給位置にて供給される複数の部品を、その直径が距離Qである円周上に6個の部品保持部材を均等な間隔でそれぞれ配置した第1サブヘッドと第2サブヘッドとを、互いの上記円周の中心間の距離が距離Qの2倍となるように配置したヘッド部における上記第1サブヘッドの上記部品保持部材と上記第2サブヘッドの上記部品保持部材で保持し、
    その後、それぞれの配置間隔を距離Qとして直線状に配置された4個の撮像素子のうちの複数の上記撮像素子を用いて、上記第1サブヘットにより保持された上記部品と上記第2サブヘッドにより保持された上記部品の画像を同時に撮像して、上記それぞれの部品保持部材による上記それぞれの部品の保持姿勢を認識し、
    上記保持姿勢の認識結果に基づいて、上記それぞれの部品を回路形成体に装着する部品装着方法であって、
    上記部品保持部材による上記部品の保持において、
    上記部品のサイズが第1の値未満の場合は、上記第1及び第2サブヘッドの各々における6個の上記部品保持部材に上記部品を保持させ、
    上記部品のサイズが上記第1の値以上かつ上記第1の値より大きな第2の値未満の場合は、上記第1及び第2サブヘッドの各々における上記円周の中心に対して点対称な3個の上記部品保持部材に上記部品を保持させ、
    上記部品のサイズが上記第2の値以上かつ上記第2の値より大きな第3の値未満の場合は、上記第1及び第2サブヘッドの各々における上記円周の中心に対して点対称な2個の上記部品保持部材に上記部品を保持させ、
    上記部品のサイズが上記第3の値以上かつ上記第3の値より大きな第4の値未満の場合は、上記第1及び第2サブヘッドの各々における1個の上記部品保持部材に上記部品を保持させることを特徴とする部品装着方法。
  2. 上記部品のサイズが上記第2の値以上かつ上記第4の値未満の場合は、
    上記部品の保持において、上記第1及び第2サブヘッドの上記それぞれの円周の中心を結ぶ直線上に配置された複数の上記部品保持部材により、複数の上記部品供給位置から供給される上記部品を同時に保持し、
    上記部品の保持姿勢の認識において、上記第1及び第2サブヘッドにおいて、上記部品が保持された全ての上記部品保持部材を上記円周の中心を結ぶ直線上に配置させて、複数の上記撮像素子により同時に上記それぞれの部品の画像を撮像する、請求項1に記載の部品装着方法。
  3. 上記部品のサイズが上記第2の値未満の場合は、
    上記部品の保持において、
    上記第1及び第2サブヘッドの上記それぞれの円周の中心を結ぶ直線上に配置された複数の上記部品保持部材により、複数の上記部品供給位置から供給される上記部品を同時に保持し、
    その後、上記第1及び第2サブヘッドの各々において、上記円周の中心周りに上記それぞれの部品保持部材を回転移動させて、複数の他の上記部品保持部材を上記直線上に順次配置させて、複数の上記部品供給位置から供給される上記部品を同時に、順次保持し、
    上記部品の保持姿勢の認識において、
    上記第1及び第2サブヘッドにおいて、上記部品が保持された上記それぞれの部品保持部材のうちの複数の上記部品保持部材を上記円周の中心を結ぶ直線上に配置させて、上記直線上に配置された複数の上記部品保持部材により保持された上記部品の画像を複数の上記撮像素子により同時に撮像し、
    その後、上記第1及び第2サブヘッドの各々において、上記円周の中心周りに上記それぞれの部品保持部材を回転移動させて、上記部品が保持された上記それぞれの部品保持部材のうちの複数の他の上記部品保持部材を上記直線上に順次配置させて、複数の上記 撮像素子により上記部品の画像を同時に、順次撮像する、請求項1に記載の部品装着方法。
  4. 上記部品の保持姿勢の認識において、撮像される上記部品が、上記撮像素子の視野より大きなサイズを有する場合には、上記部品の一部を1個の上記撮像素子の視野内に配置させるとともに、上記部品の他の一部を隣接する別の1個の撮像素子の視野内に配置させて、上記それぞれの撮像素子により上記部品の保持姿勢の画像を分割して撮像する、請求項1から3のいずれか1つに記載の部品装着方法。
  5. 部品供給部における複数の部品供給位置にて供給される複数の部品を回路形成体に装着する部品装着装置において、
    その直径が距離Qである円周上に6個の部品保持部材を上記円周の中心周りに回転移動可能に均等な間隔でそれぞれ配置した第1サブヘッドと第2サブヘッドとを、互いの上記円周の中心間の距離が距離Qの2倍となるように配置したヘッド部と、
    上記第1及び第2サブヘッドの上記円周の中心を結ぶ直線に対して平行な直線上に、それぞれの配置間隔を距離Qとして4つの部品供給位置を配置した部品供給部と、
    上記円周の中心を結ぶ直線に対して平行な直線上に、上記部品保持部材により保持された上記部品の保持姿勢の画像を撮像する4個の撮像素子をそれぞれの配置間隔を距離Qとして配置する撮像装置と、
    上記ヘッド部を移動させる移動装置とを備えることを特徴とする部品装着装置。
  6. 上記移動装置は、上記回路形成体の装着表面に平行に配置され、かつ互いに直交して配置された2つの軸に沿って上記ヘッド部を移動させる、請求項5に記載の部品装着装置。
  7. 上記第1及び第2サブヘッドの各々において、上記円周の中心に対して点対称の配置関係にある上記それぞれの部品保持部材が、同じ形状の上記部品保持部材である、請求項5又は6に記載の部品装着装置。
JP2001366235A 2001-11-30 2001-11-30 部品装着方法及び部品装着装置 Expired - Fee Related JP3935342B2 (ja)

Priority Applications (1)

Application Number Priority Date Filing Date Title
JP2001366235A JP3935342B2 (ja) 2001-11-30 2001-11-30 部品装着方法及び部品装着装置

Applications Claiming Priority (1)

Application Number Priority Date Filing Date Title
JP2001366235A JP3935342B2 (ja) 2001-11-30 2001-11-30 部品装着方法及び部品装着装置

Publications (2)

Publication Number Publication Date
JP2003168900A JP2003168900A (ja) 2003-06-13
JP3935342B2 true JP3935342B2 (ja) 2007-06-20

Family

ID=19176162

Family Applications (1)

Application Number Title Priority Date Filing Date
JP2001366235A Expired - Fee Related JP3935342B2 (ja) 2001-11-30 2001-11-30 部品装着方法及び部品装着装置

Country Status (1)

Country Link
JP (1) JP3935342B2 (ja)

Families Citing this family (3)

* Cited by examiner, † Cited by third party
Publication number Priority date Publication date Assignee Title
JP4834703B2 (ja) * 2008-08-22 2011-12-14 ヤマハ発動機株式会社 表面実装機
JP5876769B2 (ja) * 2012-05-17 2016-03-02 ヤマハ発動機株式会社 部品実装装置
JP5955688B2 (ja) * 2012-08-01 2016-07-20 富士機械製造株式会社 電子部品実装機

Also Published As

Publication number Publication date
JP2003168900A (ja) 2003-06-13

Similar Documents

Publication Publication Date Title
JP2003124238A (ja) 電子部品実装装置および電子部品実装方法
KR20090114369A (ko) 플립 칩을 기판에 장착하기 위한 장치
TWI807957B (zh) 電子零件的安裝裝置
US20050035182A1 (en) Circuit board transferring apparatus and method and solder ball mounting method
JP6190229B2 (ja) 部品実装装置
JP6309962B2 (ja) 組立機
JP3636153B2 (ja) 電子部品搭載装置および電子部品搭載方法
TWI803844B (zh) 電子零件的安裝裝置
JP4122170B2 (ja) 部品実装方法及び部品実装装置
JP4016982B2 (ja) 電子部品実装装置および電子部品実装方法
CN1296984C (zh) 衬底定位的方法和装置
JP3935342B2 (ja) 部品装着方法及び部品装着装置
JP4801558B2 (ja) 実装機およびその部品撮像方法
JP3661658B2 (ja) 電子部品搭載装置および電子部品搭載方法
KR101050840B1 (ko) 부품 실장기 및 그의 전자부품 픽업실장 방법
JP6902974B2 (ja) 電子部品の実装装置および実装方法
JP3773989B2 (ja) 部品実装方法および装置
JP2003333406A (ja) 固体撮像素子移動型カメラユニット、固体カメラ及びこれを用いた部品実装装置
JP5876769B2 (ja) 部品実装装置
JP4368090B2 (ja) 電子部品搭載装置
JP7689473B2 (ja) 電子部品の移送装置、電子部品の実装装置及び電子部品の実装方法
JP7627934B2 (ja) 半導体デバイスの実装装置及び実装方法
JP3713097B2 (ja) 部品実装装置
JP5110151B2 (ja) 電子部品実装装置及び実装方法
JP2007095738A (ja) 電子部品の実装装置及び実装方法

Legal Events

Date Code Title Description
A621 Written request for application examination

Free format text: JAPANESE INTERMEDIATE CODE: A621

Effective date: 20040805

A977 Report on retrieval

Free format text: JAPANESE INTERMEDIATE CODE: A971007

Effective date: 20061220

A131 Notification of reasons for refusal

Free format text: JAPANESE INTERMEDIATE CODE: A131

Effective date: 20061226

A521 Written amendment

Free format text: JAPANESE INTERMEDIATE CODE: A523

Effective date: 20070209

TRDD Decision of grant or rejection written
A01 Written decision to grant a patent or to grant a registration (utility model)

Free format text: JAPANESE INTERMEDIATE CODE: A01

Effective date: 20070313

A61 First payment of annual fees (during grant procedure)

Free format text: JAPANESE INTERMEDIATE CODE: A61

Effective date: 20070319

R150 Certificate of patent or registration of utility model

Free format text: JAPANESE INTERMEDIATE CODE: R150

FPAY Renewal fee payment (event date is renewal date of database)

Free format text: PAYMENT UNTIL: 20110330

Year of fee payment: 4

LAPS Cancellation because of no payment of annual fees