JP3932077B2 - Body structure of cab-over type vehicle - Google Patents

Body structure of cab-over type vehicle Download PDF

Info

Publication number
JP3932077B2
JP3932077B2 JP33506698A JP33506698A JP3932077B2 JP 3932077 B2 JP3932077 B2 JP 3932077B2 JP 33506698 A JP33506698 A JP 33506698A JP 33506698 A JP33506698 A JP 33506698A JP 3932077 B2 JP3932077 B2 JP 3932077B2
Authority
JP
Japan
Prior art keywords
panel
cabin back
vehicle body
back panel
cabin
Prior art date
Legal status (The legal status is an assumption and is not a legal conclusion. Google has not performed a legal analysis and makes no representation as to the accuracy of the status listed.)
Expired - Fee Related
Application number
JP33506698A
Other languages
Japanese (ja)
Other versions
JP2000159153A (en
Inventor
悟 赤塚
隆次 楫
健 鈴木
Current Assignee (The listed assignees may be inaccurate. Google has not performed a legal analysis and makes no representation or warranty as to the accuracy of the list.)
Suzuki Motor Corp
Original Assignee
Suzuki Motor Corp
Priority date (The priority date is an assumption and is not a legal conclusion. Google has not performed a legal analysis and makes no representation as to the accuracy of the date listed.)
Filing date
Publication date
Application filed by Suzuki Motor Corp filed Critical Suzuki Motor Corp
Priority to JP33506698A priority Critical patent/JP3932077B2/en
Publication of JP2000159153A publication Critical patent/JP2000159153A/en
Application granted granted Critical
Publication of JP3932077B2 publication Critical patent/JP3932077B2/en
Anticipated expiration legal-status Critical
Expired - Fee Related legal-status Critical Current

Links

Images

Landscapes

  • Body Structure For Vehicles (AREA)

Description

【0001】
【発明の属する技術分野】
本発明は、キャブオーバ型車両の車体構造に関し、例えば、軽トラック等の四輪トラックの車体フレームの構造に関するものである。
【0002】
【従来の技術】
図5は従来におけるキャブオーバ型車両の車体構造を示すものであって、同図において、1a,1bは車体前後方向にほぼ沿って長手状に延びるように配設されて車体の左右両側部を構成する左右一対のサイドフレーム、2はこれらのサイドフレーム1a,1bの上部箇所に配置されてキャビンの後面を構成するキャビンバックパネル、3はこのキャビンバックパネル2の下端に沿って車幅方向に延びるように配設されたキャビンバックロアクロスメンバ(クロスメンバとしてのキャビンバックロアパネル)である。なお、上述のキャビンバックロアクロスメンバ3は、図6に示すように、互いにほぼ対称形状に屈曲成形された上下一対のパネル部材3a,3bにて構成されるものであって、これらのパネル部材3a,3bの前端側の水平片部4a,4bが互いに接合された状態でスポット溶接S1 にて結合されると共に、それらの後端の垂直片部5a,5bがキャビンバックパネル2の下端縁部2aの前面2bに接合された状態でスポット溶接S2 ,S3 にて結合されている。
【0003】
また、上述のサイドフレーム1a,1bは、図5に示すように、底壁部6と、この底壁部6の両側において上方に向けて屈曲された一対の側壁部7,8と、これらの側壁部7,8の上端にそれぞれ屈曲成形されたフランジ部9,10とから構成されている。そして、サイドフレーム1a,1bのフランジ部9,10には、キャビンバックパネル2よりも車体後方側の箇所にサイドフレームカバーパネル11がそれぞれ溶接等にて結合されており、サイドフレームカバーパネル11の前端部11aが図7に示すようにキャビンバックパネル2よりも車体後方側においてキャビンバックパネル2の下方箇所に対応配置されている。そして、サイドフレームカバーパネル11の前端部11aとキャビンバックパネル2の下端縁部2aとの間にサポートパネル(フロントデッキパネル)12が介在され、このサポートパネル12の上端縁部12aがキャビンバックパネル2の下端縁部2aの後面2cに当てがわれて前記パネル部材3aの垂直片部5aと一緒にスポット溶接S4 にてキャビンバックパネル2の下端縁部2aに結合されると共に、その下端縁部12bが前記サイドフレームカバーパネル11の前端部11aにスポット溶接S5 にて結合されている。
【0004】
さらに、フロアサイドパネル13が、キャビンバックパネル2の左右両側の前方箇所においてサイドフレーム1a,1bの前側部分を覆うように配設され、サイドフレーム1a,1bのフランジ部9,10の前側部分にスポット溶接されている(図5参照)。そして、このフロアサイドパネル13の後端縁部13aがキャビンバックパネル2の下端縁部2aの後面2cに当てがわれて前記パネル部材3bの垂直片部5bと一緒にスポット溶接S6 にてキャビンバックパネル2の下端縁部2aに結合されている(図7参照)。なお、図7において、14はシート固定用のブラケットである。
【0005】
【発明が解決しようとする課題】
しかしながら、上述の如き従来の車体構造では、次のような問題点がある。すなわち、従来においては、サポートパネル12及びフロアサイドパネル13を介してサイドフレーム1a,1bとキャビンバックパネル2との結合を行なうようにしており、キャビンバックパネル2の下部の両側箇所に形成されるサイドフレーム1a,1bとキャビンバックパネル2との結合部における車体断面の形状変化が大きくなっているので(図7参照)、車体の前方から過大な衝撃力が加わった場合等にはサポートパネル12の上端縁部12aの付近に応力集中を生じ易い構造となっている。そのため、応力集中によるサポートパネル12等の座屈を防止するために、使用条件(路面状態等の条件)によっては補強部材を新たに追加して配設する必要を生じる場合がある。
【0006】
また、サポートパネル12はキャビンバックパネル2の後方側に配設され、従って、車体前方から過大な衝撃力が加わった場合等にサポートパネル12がキャビンバックパネル2に対して剥離し易い取付状態となっているため、車体前方からの過大な衝撃力に対抗してキャビン内の空間の縮小を少なく抑えることができない場合(キャビン内に最小限の空間を確保し得ない場合)を生じるおそれがある。その場合には、キャビン内の空間の確保のために、さらなる補強部材の追加を検討する必要を生じることとなる。
【0007】
本発明は、このような問題点に鑑みてなされたものであって、その目的は、キャビンバックパネルとサイドフレームとの間の結合強度の向上を図ることができ、過大な衝撃力に対してもキャビン内の空間の縮小を効果的に抑えることができるようなキャブオーバ型車両の車体構造を提供することにある。
【0008】
【課題を解決するための手段】
上述の目的を達成するために、本発明では、車体前後方向にほぼ沿って長手状に延びるように配設されて車体の左右両側部を構成する左右一対の断面コ字形状のサイドフレームと、これらのサイドフレームの上部箇所に配置されてキャビンの後面を構成するキャビンバックパネルと、このキャビンバックパネルの下端縁部に車幅方向に沿って延びるように結合されたキャビンバックロアクロスメンバとをそれぞれ具備するキャブオーバ型車両の車体構造において、前記キャビンバックパネルの下端縁部を前記キャビンバックロアクロスメンバを介して前記左右一対のサイドフレームに連結し前記キャビンバックパネルとこのキャビンバックパネルの下端縁部に結合されるエンジンルームリヤパネルとに前記キャビンバックロアクロスメンバの前後両縁部を結合することにより、これらの3部材にて第1の閉断面形状部を構成下側端が前記断面コ字形状のサイドフレーム内に結合されて、前記下側端と前記サイドフレームとで前記サイドフレーム内に第2の閉断面形状部を形成し、かつ、上端部が前記キャビンバックロアクロスメンバに結合されて第3の閉断面形状部を形成するエクステンションフレームを設け、前記キャビンバックロアクロスメンバを前記エクステンションフレームを介して前記サイドフレームに連結するようにしている。
た、本発明では、前記サイドフレームの上部にサイドフレームカバーパネルの後側部分を結合すると共に、前記サイドフレームカバーパネルの前側部分を前記キャビンバックロアクロスメンバに結合し、前記キャビンバックパネルの左右両縁部よりも前方の箇所において前記サイドフレームの前側部分を覆うように配設されるフロアサイドパネルを前記サイドフレームカバーパネルの前端部に結合するようにしている。
また、本発明では、前記エクステンションフレームを前記キャビンバックパネルよりも車体前方側の箇所に配設するようにしている。
また、本発明では、前記キャビンバックパネルの下端縁部を車体後方側に屈曲させて屈曲片部を形成すると共に、前記屈曲片部にデッキフロアパネルを載置固定するようにしている。
【0009】
【発明の実施の形態】
以下、本発明の一実施形態について図1〜図4を参照して説明する。なお、図1〜図4において、図5〜図7と同様の部分には同一の符号を付して重複する説明を省略する。
【0010】
図1は、本発明の一実施形態に係るキャブオーバ型車両の車体構造20を示すものである。本実施形態においては、断面コ字形状のサイドフレーム1a,1bとキャビンバックパネル2とをサポートパネル12を介して直接的に結合するような従来の結合構造を採用することなく、キャビンバックロアクロスメンバ3を介してキャビンバックパネル2をサイドフレーム1a,1bにそれぞれ連結する構成となされている。
【0011】
キャビンバックロアクロスメンバ3を介してのキャビンバックパネル2とサイドフレーム1a,1bとの連結構造について詳述すると、次の通りである。まず、サイドフレーム1a,1bは、フロントフレーム21,センターフレーム22及びリヤフレーム23を車体前後方向にそれぞれ連結して成る車体構成部材であって、車体前後方向に対して傾斜して配置されたセンターフレーム22の上部のフランジ部9,10にサイドフレームカバーパネル11の後側部分11e(図1及び図3参照)がスポット溶接にて結合されている。そして、サイドフレームカバーパネル11の前側部分11bがほぼコ字形状に屈曲成形されてサイドフレーム1a,1bから立ち上がった状態で配置されている。また、前記センターフレーム22の上方箇所には、キャビンの背面を構成するキャビンバックパネル2が立設されており、このキャビンバックパネル2の前方位置に前記サイドフレームカバーパネル11の前側部分11bが配置されている。
【0012】
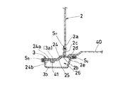
上述のキャビンバックパネル2の下端縁部2aには、図1,図2及び図3に示すように、キャビンバックロアクロスメンバ3が車幅方向のほぼ全域に亘って取付けられている。具体的には、このキャビンバックロアクロスメンバ3の上側部を構成するパネル部材(パネル部材3aに相当)がキャビンバックパネル2の下端縁部2aの前面2bにエンジンルームリヤパネル24として図2及び図3に示す如くスポット溶接S7 にて結合されており、エンジンルームリヤパネル24の基体部24aがキャビンバックパネル2の下端にほぼ対応する高さ位置においてキャビンバックパネル2の前面側に屈曲されてほぼ水平状に配設されている。そして、キャビンバックパネル2の下方箇所であってかつ車幅方向の中間箇所においては、図2に示すように、エンジンルームリヤパネル24の基体部24aの下面24b、及び、キャビンバックパネル2の下端縁部2aに屈曲成形された屈曲片部2dの下面2eに跨るようにリーンフォースメント25が接合されると共に、キャビンバックロアクロスメンバ3の下側部を構成するパネル部材3bの前後両縁部が前記リーンフォースメント25の前後両縁部に接合された状態の下で、スポット溶接S8 ,S9 にてこれら3部材が一体に結合されている。
【0013】
一方、キャビンバックパネル2の下端部分に対応する箇所であってかつ車幅方向の左右両側箇所においては、キャビンバックパネル2の下端縁部2aの前面2bにスポット溶接されたエンジンルームリヤパネル24の基体部24a、及び、キャビンバックパネル2の下端の屈曲片部2dに、前記キャビンバックロアクロスメンバ3のパネル部材3bの前後両縁部が当てがわれた状態でスポット溶接S10,S11にて結合されている。かくして、キャビンバックパネル2の下端部分には、車幅方向の中間箇所においてキャビンバックロアクロスメンバ3のパネル部材3bとリーンフォースメント25とにより閉断面形状部(第1の閉断面形状部)26が形成されると共に(図2参照)、車幅方向の左右両側部においてキャビンバックロアクロスメンバ3のパネル部材3a及び3bとキャビンバックパネル2の屈曲片部2dとの3部材にて閉断面形状部(これも第1の閉断面形状部)27が形成されている(図3参照)。さらに、図2及び図3に示すように、キャビンバックパネル2の屈曲片部2d上にはデッキフロアパネル40が載置されてボルト締めにて固定されている。
【0014】
なお、既述のリーンフォースメント25はシートベルト係着部の補強用部材であって、リーンフォースメント25に予め溶接結合されている溶接ナット41を利用することによってシートベルトアンカ等のシートベルト用部材が取付けられるようになっている。
【0015】
また、既述の如くサイドフレーム1a,1bから立ち上げられたサイドフレームカバーパネル(センターフレーム22を覆うようにセンターフレーム22に取付けられたセンターフレームカバーパネル)11の断面ほぼコ字形状の前側部分11bは、図1及び図3に示すように、センターフレーム22の上方対応箇所に配置され、前側部分11bの水平壁部11cがキャビンバックロアクロスメンバ3のパネル部材3bに当接された状態でスポット溶接S12により結合されている。そして、サイドフレームカバーパネル11の前側部分11bの前端部11aには、前記フロントフレーム21の後部箇所を覆うように配設されるフロントフレームカバーパネル(キャビンバックパネル2の左右両縁部よりも前方の箇所においてサイドフレーム1a,1bの前側部分を覆うように配設されるフロアサイドパネル13に相当)28の後側部分28aがスポット溶接S13にて結合されている(図3参照)。
【0016】
さらに、図4に示す如く、キャビンバックロアクロスメンバ3のパネル部材3bに取付けられたサイドフレームカバーパネル11(センターフレーム22を覆う部分)には、一対のエクステンションフレーム29a,29bが結合されており、これらのエクステンションフレーム29a,29bを介してセンターフレームカバーパネル11及び前記パネル部材3bがサイドフレーム1a,1bに取付けられている。なお、本実施形態における一対のエクステンションフレーム29a,29bは、断面L字形状の基体部30a、30bと、この基体部30a,30bの上端に屈曲成形されたフランジ部31a,31bとから成るものであって、前記基体部30a,30bの下端側の屈曲片32a,32bが互いに接合されてスポット溶接S14にて結合された状態の下で前記フランジ部31a,31b(すなわち、エクステンションフレーム29a,29bの上端部)がサイドフレームカバーパネル11と一緒にキャビンバックロアクロスメンバ3のパネル部材3bにスポット溶接S15,S16にて結合され、これによりエクステンションフレーム29a,29bの上端部がキャビンバックロアクロスメンバ3(パネル部材3b)に結合されて閉断面形状部(第3の閉断面形状部)33が形成されている。そして、これら一対のエクステンションフレーム29a,29bの基体部30a,30bの下側端がサイドフレーム1a,1b内にスポット溶接S17,S18にてサイドフレーム1a,1bに結合され、これにより、キャビンバックパネル2がセンターフレームカバーパネル11及びキャビンバックロアクロスメンバ3を介してサイドフレーム1a,1bにそれぞれ連結されると共に、エクステンションフレーム29a,29bの下側端とサイドフレーム1a,1bとでサイドフレーム1a,1b内に閉断面形状部(第2の閉断面形状部)34がそれぞれ形成されている。
【0017】
かくして、キャビンバックロアクロスメンバ3,サイドフレームカバーパネル11及びエクステンションフレーム29a,29bから構成されるサポート部(キャビンバックパネル支持部)により、キャビンバックパネル2がサイドフレーム1a,1bに支持・固定されている。そして、エクステンションフレーム29a,29bの配設位置ひいてはキャビンバックパネル支持部の配設位置は、図1及び図3に示す如く、キャビンバックパネル2よりも車体前方側の箇所に設定されている。
【0018】
このような構成の車体構造によれば、サイドフレーム1a,1bへのキャビンバックパネル2の取付けをキャビンバックロアクロスメンバ3を介して行なうようにし、かつ、キャビンバックパネル2とキャビンバックロアクロスメンバ3とで構成された閉断面形状部27(図3参照)並びにエクステンションフレーム29a,29bに関連して構成された閉断面形状部33,34(図4参照)をそれぞれ介してサイドフレーム1a,1bにキャビンバックパネル2を連結するようにしているので、サイドフレーム1a,1bとキャビンバックパネル2との間の結合強度を従来の場合よりも向上させることができる。従って、本実施形態によれば、安価で高剛性の車体構造を得ることが可能となる。
【0019】
また、エクステンションフレーム29a,29bひいてはキャビンバックパネル支持部の配設位置をキャビンバックパネル2よりも車体前方側の箇所に配設するようにしたので、例えば車体の前方側から過大な衝撃力が加わった時にエクステンションフレーム29a,29bを含むキャビンバックパネル支持部においてその衝撃力を充分に受け止めることができる。そのため、車体前後方向におけるキャビン内の空間(室内空間)の縮小を効果的に抑制することができ、従来の車体構造の場合に比べて衝撃力作用時における室内空間の拡大(室内空間の確保)を図ることができる。
【0020】
以上、本発明の一実施形態について述べたが、本発明はこの実施形態に限定されるものではなく、本発明の技術的思想に基づいて各種の変形及び変更が可能である。例えば、キャビンバックパネル支持部の強度を部分的にさらに向上させたい場合には、車幅方向の両側部に形成される閉断面形状部27にリーンフォースメントを配設するようにしても良い。
【0021】
【発明の効果】
請求項1に記載の本発明は、サイドフレームの上部箇所に配置されてキャビンの後面を構成するキャビンバックパネルの下端縁部を、このキャビンバックパネルの下端縁部に車幅方向に沿って延びるように結合されたキャビンバックロアクロスメンバを介して左右一対のサイドフレームに連結しキャビンバックパネルとこのキャビンバックパネルの下端縁部に結合されるエンジンルームリヤパネルとにキャビンバックロアクロスメンバの前後両縁部を結合することにより、これらの3部材にて第1の閉断面形状部を構成し、下側端が断面コ字形状のサイドフレーム内に結合されて、下側端とサイドフレームとでサイドフレーム内に第2の閉断面形状部を形成し、かつ、上端部がキャビンバックロアクロスメンバに結合されて第3の閉断面形状部を形成するエクステンションフレームを設け、キャビンバックロアクロスメンバをエクステンションフレームを介してサイドフレームに連結するようにしたものであるから、キャビンバックパネルとサイドフレームとの間の結合が支持強度の大きなキャビンバックロアクロスメンバを介して行われることとなり、従ってキャビンバックパネルとサイドフレームとの間の結合強度を向上させることができる。その結果、安価で高剛性の車体構造を有するキャブオーバ型車両を提供することができる。また、上述の第1〜第3の閉断面形状部の存在によりキャビンバックパネル支持部の剛性を向上させることができ、車体前方からの過大な衝撃力等に対する強度(剛性)を大きくすることが可能となる。
【0022】
また、請求項2に記載の本発明は、サイドフレームの上部にサイドフレームカバーパネルの後側部分を結合すると共に、サイドフレームカバーパネルの前側部分をキャビンバックロアクロスメンバに結合し、キャビンバックパネルの左右両縁部よりも前方の箇所においてサイドフレームの前側部分を覆うように配設されるフロアサイドパネルをサイドフレームカバーパネルの前端部に結合するようにしたものであるから、キャビンバックパネル,エンジンルームリヤパネル及びキャビンバックロアクロスメンバの3部材にて構成される閉断面形状部に、フロアサイドパネルが結合されたサイドフレームカバーパネルの前側部分を結合するのに応じて、キャビンバックパネル支持部の剛性をより一層増大させることが可能となる。
【0023】
また、請求項3に記載の本発明は、エクステンションフレームをキャビンバックパネルよりも車体前方側の箇所に配設するようにしたものであるから、キャビンバックパネル支持部は車体前方側の箇所となり、これにより、車体前方から過大な衝撃力が加わった場合でもキャビン内の空間の縮小の程度を小さくとどめることができ、衝撃力作用時におけるキャビン内の空間を従来の車体構造の場合に比べてより広く確保することが可能となる。
【0024】
また、請求項4に記載の本発明は、キャビンバックパネルの下端縁部を車体後方側に屈曲させて屈曲片部を形成すると共に、この屈曲片部にデッキフロアパネルを載置固定するようにしたものであるから、キャビンバックパネルとデッキフロアパネルとを互いに結合することができる。
【図面の簡単な説明】
【図1】本発明の一実施形態に係るキャブオーバ型車両の車体構造を示すものであって、サイドフレームへのキャビンバックパネルへの取付状態を示す斜視図である。
【図2】図1におけるA−A線拡大断面図である。
【図3】図1におけるB−B線拡大断面図である。
【図4】図1におけるC−C線拡大断面図である。
【図5】従来におけるキャブオーバ型車両の車体構造を示すものであって、サイドフレームへのキャビンバックパネルへの取付状態を示す斜視図である。
【図6】図5におけるD−D線拡大断面図である。
【図7】図5におけるE−E線拡大断面図である。
【符号の説明】
1a,1b サイドフレーム
2 キャビンバックパネル
2a 下端縁部
2b 前面
2c 後面
2d 屈曲片部
2e 下面
3 キャビンバックロアクロスメンバ
3a,3b パネル部材
11 サイドフレームカバーパネル
11b 前側部分
13 フロアサイドパネル
20 キャブオーバ型車両の車体構造
24 エンジンルームリヤパネル
25 リーンフォースメント
26,27,33,34 閉断面形状部
28 フロントフレームカバーパネル(フロアサイドパネル)
29a,29b エクステンションフレーム
[0001]
BACKGROUND OF THE INVENTION
The present invention relates to a body structure of a cab-over type vehicle, for example, a structure of a body frame of a four-wheel truck such as a light truck.
[0002]
[Prior art]
FIG. 5 shows a vehicle body structure of a conventional cab-over type vehicle. In FIG. 5, 1a and 1b are arranged so as to extend in a longitudinal direction substantially along the longitudinal direction of the vehicle body and constitute both left and right side portions of the vehicle body. A pair of left and right side frames 2 are arranged at upper portions of the side frames 1a and 1b, and a cabin back panel constituting the rear surface of the cabin 3 extends in the vehicle width direction along the lower end of the cabin back panel 2. 2 is a cabin back lower cross member (cabin back lower panel as a cross member). As shown in FIG. 6, the cabin back lower cross member 3 is composed of a pair of upper and lower panel members 3a and 3b which are bent in a substantially symmetrical shape. 3a, the front end side of the horizontal plate portion 4a of 3b, in a state where 4b are bonded to one another while being coupled by spot welding S 1, their rear end of the vertical piece portion 5a, 5b of the cabin back panel 2 lower edge They are joined by spot welding S 2 and S 3 in a state of being joined to the front surface 2b of the portion 2a.
[0003]
Further, as shown in FIG. 5, the side frames 1 a and 1 b described above include a bottom wall portion 6, a pair of side wall portions 7 and 8 bent upward on both sides of the bottom wall portion 6, and these It is comprised from the flange parts 9 and 10 bent at the upper end of the side wall parts 7 and 8, respectively. Further, side frame cover panels 11 are joined to the flange portions 9 and 10 of the side frames 1a and 1b at locations on the rear side of the vehicle body from the cabin back panel 2 by welding or the like. As shown in FIG. 7, the front end portion 11 a is disposed corresponding to the lower portion of the cabin back panel 2 on the rear side of the vehicle body from the cabin back panel 2. A support panel (front deck panel) 12 is interposed between the front end 11a of the side frame cover panel 11 and the lower end edge 2a of the cabin back panel 2, and the upper end edge 12a of the support panel 12 is the cabin back panel. with the covering is joined to the lower edge 2a of the cabin back panel 2 by spot welding S 4 with a vertical piece portion 5a of the panel member 3a and crack on the surface 2c after two of the lower edges 2a, the lower edge part 12b is coupled by spot welding S 5 to the front end portion 11a of the side frame cover panel 11.
[0004]
Further, the floor side panel 13 is disposed so as to cover the front side portions of the side frames 1a and 1b at the front portions on the left and right sides of the cabin back panel 2, and is disposed on the front side portions of the flange portions 9 and 10 of the side frames 1a and 1b. Spot welding is performed (see FIG. 5). Then, the cabin by spot welding S 6 trailing edge 13a of the floor side panel 13 is We have applied to the surface 2c after bottom end portion 2a of the cabin back panel 2 with the vertical piece portion 5b of the panel member 3b It couple | bonds with the lower end edge part 2a of the back panel 2 (refer FIG. 7). In FIG. 7, reference numeral 14 denotes a seat fixing bracket.
[0005]
[Problems to be solved by the invention]
However, the conventional vehicle body structure as described above has the following problems. In other words, conventionally, the side frames 1a and 1b and the cabin back panel 2 are coupled via the support panel 12 and the floor side panel 13, and are formed at both sides of the lower portion of the cabin back panel 2. Since the change in the shape of the cross section of the vehicle body at the joint between the side frames 1a, 1b and the cabin back panel 2 is large (see FIG. 7), the support panel 12 is applied when an excessive impact force is applied from the front of the vehicle body. In this structure, stress concentration is likely to occur near the upper edge 12a. Therefore, in order to prevent buckling of the support panel 12 or the like due to stress concentration, it may be necessary to newly add a reinforcing member depending on the use conditions (conditions such as road surface conditions).
[0006]
Further, the support panel 12 is disposed on the rear side of the cabin back panel 2, and therefore, the support panel 12 is easily detached from the cabin back panel 2 when an excessive impact force is applied from the front of the vehicle body. Therefore, there may be a case where the reduction of the space in the cabin cannot be suppressed to a large extent against the excessive impact force from the front of the vehicle body (when the minimum space cannot be secured in the cabin). . In that case, in order to secure the space in the cabin, it will be necessary to consider the addition of additional reinforcing members.
[0007]
The present invention has been made in view of such problems, and its purpose is to improve the bonding strength between the cabin back panel and the side frame, and against excessive impact force. It is another object of the present invention to provide a cab-over type vehicle body structure that can effectively suppress the reduction of the space in the cabin.
[0008]
[Means for Solving the Problems]
In order to achieve the above-described object, in the present invention, a pair of left and right cross-sectionally-shaped side frames that are disposed so as to extend in a longitudinal direction substantially along the longitudinal direction of the vehicle body and constitute both left and right sides of the vehicle body, A cabin back panel that is disposed at an upper portion of these side frames and constitutes the rear surface of the cabin, and a cabin back lower cross member that is coupled to the lower end edge of the cabin back panel so as to extend in the vehicle width direction. In the vehicle body structure of a cab-over type vehicle provided respectively, a lower end edge portion of the cabin back panel is connected to the pair of left and right side frames via the cabin back lower cross member, and the cabin back panel and the lower end of the cabin back panel are connected. The cabin back lower cross member to the engine room rear panel coupled to the edge By combining the front and rear edges, to constitute a first closed section portion at these three members, and the lower end is coupled to the side frames of the U-shaped section, and the lower end An extension frame is formed which forms a second closed cross-sectional shape portion in the side frame with the side frame, and an upper end portion is coupled to the cabin back lower cross member to form a third closed cross-sectional shape portion. , and the cabin back lower cross member to be coupled to the side frames through the extension frame.
Also, in the present invention, along with coupling the rear portion of the side frame cover panel on top of the side frame, the front portion of the side frame cover panels attached to the cabin back lower cross member, of the cabin back panel A floor side panel disposed so as to cover the front side portion of the side frame at a position ahead of the left and right edges is coupled to the front end of the side frame cover panel.
In the present invention, the extension frame is disposed at a position on the front side of the vehicle body with respect to the cabin back panel.
In the present invention, the lower end edge of the cabin back panel is bent toward the rear side of the vehicle body to form a bent piece, and the deck floor panel is placed and fixed on the bent piece.
[0009]
DETAILED DESCRIPTION OF THE INVENTION
Hereinafter, an embodiment of the present invention will be described with reference to FIGS. In FIG. 1 to FIG. 4, the same parts as those in FIG. 5 to FIG.
[0010]
FIG. 1 shows a vehicle body structure 20 of a cab over type vehicle according to an embodiment of the present invention. In the present embodiment, the cabin back lower cross is employed without adopting a conventional coupling structure in which the side frames 1a, 1b having a U-shaped cross section and the cabin back panel 2 are directly coupled via the support panel 12. The cabin back panel 2 is connected to the side frames 1a and 1b via the members 3, respectively.
[0011]
The connection structure between the cabin back panel 2 and the side frames 1a and 1b via the cabin back lower cross member 3 will be described in detail as follows. First, the side frames 1a and 1b are vehicle body structural members formed by connecting the front frame 21, the center frame 22 and the rear frame 23 in the vehicle body longitudinal direction, and are arranged at an inclination with respect to the vehicle body longitudinal direction. A rear portion 11e (see FIGS. 1 and 3) of the side frame cover panel 11 is joined to the flange portions 9 and 10 on the upper portion of the frame 22 by spot welding. And the front side part 11b of the side frame cover panel 11 is bent and formed in a substantially U shape, and is arranged in a state of rising from the side frames 1a and 1b. A cabin back panel 2 that constitutes the back of the cabin is erected above the center frame 22, and a front portion 11 b of the side frame cover panel 11 is disposed at a front position of the cabin back panel 2. Has been.
[0012]
As shown in FIGS. 1, 2 and 3, a cabin back lower cross member 3 is attached to the lower end edge 2a of the cabin back panel 2 over almost the entire region in the vehicle width direction. Specifically, a panel member (corresponding to the panel member 3a) constituting the upper portion of the cabin back lower cross member 3 is formed as an engine room rear panel 24 on the front surface 2b of the lower end edge 2a of the cabin back panel 2. 3 are coupled by spot welding S 7 as shown, substantially it is bent to the front side of the cabin back panel 2 at a height position where the base portion 24a of the engine room rear panel 24 is substantially corresponding to the lower end of the cabin back panel 2 It is arranged horizontally. Then, at the lower part of the cabin back panel 2 and at the intermediate part in the vehicle width direction, as shown in FIG. 2, the lower surface 24b of the base portion 24a of the engine room rear panel 24 and the lower edge of the cabin back panel 2 The lean reinforcement 25 is joined so as to straddle the lower surface 2e of the bent piece 2d that is bent at the portion 2a, and the front and rear edges of the panel member 3b constituting the lower side of the cabin back lower cross member 3 are under a state of being joined to the front and rear edges of the reinforcement 25, these three members by spot welding S 8, S 9 are coupled together.
[0013]
On the other hand, the base of the engine room rear panel 24 spot-welded to the front surface 2b of the lower end edge 2a of the cabin back panel 2 at locations corresponding to the lower end portion of the cabin back panel 2 and on both left and right sides in the vehicle width direction. Spot welding S 10 , S 11 with both the front and rear edges of the panel member 3b of the cabin back lower cross member 3 applied to the bent portion 2d at the lower end of the portion 24a and the cabin back panel 2 Are combined. Thus, a closed cross-sectional shape portion (first closed cross-sectional shape portion) 26 is formed at the lower end portion of the cabin back panel 2 by the panel member 3b of the cabin back lower cross member 3 and the reinforcement 25 at an intermediate position in the vehicle width direction. Is formed (see FIG. 2), and at the left and right sides in the vehicle width direction, a closed cross-sectional shape is formed by three members including the panel members 3a and 3b of the cabin back lower cross member 3 and the bent piece 2d of the cabin back panel 2. A portion (also a first closed cross-sectional shape portion) 27 is formed (see FIG. 3). Further, as shown in FIGS. 2 and 3, a deck floor panel 40 is placed on the bent piece 2d of the cabin back panel 2 and fixed by bolting.
[0014]
The lean reinforcement 25 described above is a member for reinforcing the seat belt engaging portion, and is used for a seat belt such as a seat belt anchor by using a welding nut 41 that is welded to the reinforcement 25 in advance. A member can be attached.
[0015]
Further, as described above, the front portion of the side frame cover panel (center frame cover panel attached to the center frame 22 so as to cover the center frame 22) 11 raised from the side frames 1a and 1b has a substantially U-shaped cross section. As shown in FIGS. 1 and 3, 11 b is arranged at an upper corresponding position of the center frame 22, and the horizontal wall portion 11 c of the front portion 11 b is in contact with the panel member 3 b of the cabin back lower cross member 3. They are joined by spot welding S 12. A front frame cover panel (in front of the left and right edges of the cabin back panel 2) is disposed at the front end 11a of the front portion 11b of the side frame cover panel 11 so as to cover the rear portion of the front frame 21. side portion 28a after the side frame 1a, corresponds to a floor side panel 13 which is disposed to cover the front portion of 1b) 28 are coupled by spot welding S 13 in locations (see FIG. 3).
[0016]
Further, as shown in FIG. 4, a pair of extension frames 29a and 29b are coupled to the side frame cover panel 11 (the portion covering the center frame 22) attached to the panel member 3b of the cabin back lower cross member 3. The center frame cover panel 11 and the panel member 3b are attached to the side frames 1a and 1b via the extension frames 29a and 29b. The pair of extension frames 29a and 29b in the present embodiment is composed of base portions 30a and 30b having an L-shaped cross section, and flange portions 31a and 31b formed by bending at the upper ends of the base portions 30a and 30b. there are, the base portion 30a, 30b of the lower side of the bent piece 32a, 32b is the flange portion 31a are joined under a state of being coupled by spot welding S 14 together, 31b (i.e., the extension frame 29a, 29b the upper end of) is coupled to the panel member 3b of the cabin back lower cross member 3 with the side frame cover panel 11 by spot welding S 15, S 16, thereby extension frame 29a, the cabin back lower the upper portion of 29b coupled to the cross member 3 (panel member 3b) with closed cross section portion ( Closed section portion) 33 of 3 is formed. Then, the pair of extensions frames 29a, coupled 29b of the base portion 30a, the side frame 1a and the lower end of 30b, in 1b by spot welding S 17, S 18 the side frame 1a, to 1b, thereby, Cabin side frame in the back panel 2 side frame 1a via a center frame cover panel 11 and the cabin back lower cross member 3, Rutotomoni respectively connected to 1b, the extension frame 29a, below the 29b end and the side frame 1a, and 1b Closed cross-sectional shape portions (second closed cross-sectional shape portions) 34 are formed in 1a and 1b, respectively .
[0017]
Thus, the cabin back panel 2 is supported and fixed to the side frames 1a and 1b by the support portion (cabin back panel support portion) composed of the cabin back lower cross member 3, the side frame cover panel 11 and the extension frames 29a and 29b. ing. And the arrangement | positioning position of extension frame 29a, 29b and the arrangement | positioning position of a cabin back panel support part are set in the location ahead of a vehicle body rather than the cabin back panel 2, as shown in FIG.1 and FIG.3.
[0018]
According to the vehicle body structure having such a configuration, the cabin back panel 2 is attached to the side frames 1a and 1b via the cabin back lower cross member 3, and the cabin back panel 2 and the cabin back lower cross member are mounted. 3 and the side frames 1a and 1b through the closed cross-sectional shape portions 33 and 34 (see FIG. 4) configured in relation to the extension frames 29a and 29b, respectively. Since the cabin back panel 2 is connected to the cabin back panel 2, the coupling strength between the side frames 1a, 1b and the cabin back panel 2 can be improved as compared with the conventional case. Therefore, according to this embodiment, it is possible to obtain an inexpensive and highly rigid vehicle body structure.
[0019]
In addition, since the extension frames 29a and 29b and thus the cabin back panel support portion are disposed at a position on the front side of the vehicle body relative to the cabin back panel 2, an excessive impact force is applied from the front side of the vehicle body, for example. The impact force can be sufficiently received at the cabin back panel support portion including the extension frames 29a and 29b. Therefore, it is possible to effectively suppress the reduction of the cabin space (indoor space) in the longitudinal direction of the vehicle body, and the expansion of the indoor space when an impact force is applied (securing the indoor space) compared to the case of the conventional vehicle body structure. Can be achieved.
[0020]
Although one embodiment of the present invention has been described above, the present invention is not limited to this embodiment, and various modifications and changes can be made based on the technical idea of the present invention. For example, when it is desired to further improve the strength of the cabin back panel support portion, lean reinforcement may be provided in the closed cross-sectional shape portions 27 formed on both side portions in the vehicle width direction.
[0021]
【The invention's effect】
In the first aspect of the present invention, the lower end edge of the cabin back panel that is disposed at the upper portion of the side frame and forms the rear surface of the cabin extends along the vehicle width direction to the lower end edge of the cabin back panel. The front and back of the cabin back lower cross member are connected to the pair of left and right side frames via the cabin back lower cross member coupled in the same manner , and the cabin back panel and the engine room rear panel coupled to the lower edge of the cabin back panel. By joining both edges, the three members form the first closed cross-sectional shape part, and the lower end is joined into the U-shaped side frame, and the lower end and the side frame The second closed cross-sectional shape portion is formed in the side frame, and the upper end portion is coupled to the cabin back lower cross member to form the third closed cross-sectional shape. Part provided an extension frame forming a, since those were to be coupled to the side frame cabin back lower cross member via the extension frame, large cabins coupling support strength between the cabin back panel and the side frame This is performed via the back lower cross member, and therefore, the bonding strength between the cabin back panel and the side frame can be improved. As a result, it is possible to provide a cab-over type vehicle having a low-cost and highly rigid body structure. Further, the presence of the first to third closed cross-sectional shapes described above can improve the rigidity of the cabin back panel support, and increase the strength (rigidity) against excessive impact force from the front of the vehicle body. It becomes possible.
[0022]
According to the second aspect of the present invention, the rear portion of the side frame cover panel is coupled to the upper portion of the side frame, and the front portion of the side frame cover panel is coupled to the cabin back lower cross member. Since the floor side panel disposed so as to cover the front side portion of the side frame at a position in front of the left and right edges of the side frame is coupled to the front end of the side frame cover panel, the cabin back panel, The cabin back panel support portion is coupled with the front side portion of the side frame cover panel to which the floor side panel is joined to the closed cross-sectional shape portion composed of the engine room rear panel and the cabin back lower cross member. It is possible to further increase the rigidity.
[0023]
Further, in the present invention according to claim 3, since the extension frame is arranged at a location on the front side of the vehicle body relative to the cabin back panel, the cabin back panel support portion becomes a location on the front side of the vehicle body, As a result, even if an excessive impact force is applied from the front of the vehicle body, the degree of reduction of the space in the cabin can be kept small, and the space in the cabin at the time of the impact force action is more than in the case of the conventional vehicle body structure. It becomes possible to ensure widely.
[0024]
According to a fourth aspect of the present invention, the lower end edge of the cabin back panel is bent toward the rear side of the vehicle body to form a bent piece, and the deck floor panel is placed and fixed on the bent piece. Thus, the cabin back panel and the deck floor panel can be coupled to each other.
[Brief description of the drawings]
FIG. 1 is a perspective view showing a vehicle body structure of a cab-over type vehicle according to an embodiment of the present invention, showing a state in which a cabin back panel is attached to a side frame.
FIG. 2 is an enlarged cross-sectional view taken along line AA in FIG.
3 is an enlarged sectional view taken along line BB in FIG. 1. FIG.
4 is an enlarged sectional view taken along line CC in FIG.
FIG. 5 is a perspective view showing a vehicle body structure of a conventional cab-over type vehicle and showing a state in which the cabin back panel is attached to a side frame.
6 is an enlarged sectional view taken along the line DD in FIG. 5. FIG.
7 is an enlarged sectional view taken along line EE in FIG.
[Explanation of symbols]
DESCRIPTION OF SYMBOLS 1a, 1b Side frame 2 Cabin back panel 2a Lower end edge part 2b Front surface 2c Rear surface 2d Bending piece part 2e Lower surface 3 Cabin back lower cross member 3a, 3b Panel member 11 Side frame cover panel 11b Front side part 13 Floor side panel 20 Cab over type vehicle Vehicle body structure 24 Engine room rear panel 25 Reinforcement 26, 27, 33, 34 Closed section 28 Front frame cover panel (floor side panel)
29a, 29b Extension frame

Claims (4)

車体前後方向にほぼ沿って長手状に延びるように配設されて車体の左右両側部を構成する左右一対の断面コ字形状のサイドフレームと、これらのサイドフレームの上部箇所に配置されてキャビンの後面を構成するキャビンバックパネルと、このキャビンバックパネルの下端縁部に車幅方向に沿って延びるように結合されたキャビンバックロアクロスメンバとをそれぞれ具備するキャブオーバ型車両の車体構造において、
前記キャビンバックパネルの下端縁部を前記キャビンバックロアクロスメンバを介して前記左右一対のサイドフレームに連結し
前記キャビンバックパネルとこのキャビンバックパネルの下端縁部に結合されるエンジンルームリヤパネルとに前記キャビンバックロアクロスメンバの前後両縁部を結合することにより、これらの3部材にて第1の閉断面形状部を構成
下側端が前記断面コ字形状のサイドフレーム内に結合されて、前記下側端と前記サイドフレームとで前記サイドフレーム内に第2の閉断面形状部を形成し、かつ、上端部が前記キャビンバックロアクロスメンバに結合されて第3の閉断面形状部を形成するエクステンションフレームを設け、
前記キャビンバックロアクロスメンバを前記エクステンションフレームを介して前記サイドフレームに連結したこと、
を特徴とするキャブオーバ型車両の車体構造。
A pair of left and right U-shaped side frames that are disposed so as to extend in a longitudinal direction substantially along the longitudinal direction of the vehicle body, and the left and right side sections of the vehicle body, and are disposed at upper portions of these side frames to In the vehicle body structure of a cab-over type vehicle that includes a cabin back panel that constitutes a rear surface and a cabin back lower cross member that is coupled to a lower edge of the cabin back panel so as to extend in the vehicle width direction.
The lower end edge of the cabin back panel is connected to the pair of left and right side frames via the cabin back lower cross member ,
By connecting the front and rear edges of the cabin back lower cross member to the cabin back panel and the engine room rear panel coupled to the lower end edge of the cabin back panel, a first closed cross section is formed by these three members. configure the shaped portion,
A lower end is coupled to the U-shaped side frame, the lower end and the side frame form a second closed cross-sectional shape portion in the side frame, and an upper end is the An extension frame that is coupled to the cabin back lower cross member to form a third closed cross-sectional shape portion;
It was connected to the side frames the cabin back lower cross member via the extension frame,
The body structure of a cab-over type vehicle characterized by
前記サイドフレームの上部にサイドフレームカバーパネルの後側部分を結合すると共に、前記サイドフレームカバーパネルの前側部分を前記キャビンバックロアクロスメンバに結合し、前記キャビンバックパネルの左右両縁部よりも前方の箇所において前記サイドフレームの前側部分を覆うように配設されるフロアサイドパネルを前記サイドフレームカバーパネルの前端部に結合したことを特徴とする請求項に記載のキャブオーバ型車両の車体構造。The rear portion of the side frame cover panel is coupled to the upper portion of the side frame, and the front portion of the side frame cover panel is coupled to the cabin back lower cross member, and is forward of the left and right edges of the cabin back panel. 2. The vehicle body structure of a cab over type vehicle according to claim 1 , wherein a floor side panel disposed so as to cover a front side portion of the side frame at the location is coupled to a front end portion of the side frame cover panel. 前記エクステンションフレームを前記キャビンバックパネルよりも車体前方側の箇所に配設したことを特徴とする請求項1又は2に記載のキャブオーバ型車両の車体構造。The vehicle body structure for a cab-over type vehicle according to claim 1 or 2 , wherein the extension frame is disposed at a position on the front side of the vehicle body with respect to the cabin back panel. 前記キャビンバックパネルの下端縁部を車体後方側に屈曲させて屈曲片部を形成すると共に、前記屈曲片部にデッキフロアパネルを載置固定したことを特徴とする請求項1乃至3の何れか1項に記載のキャブオーバ型車両の車体構造。The lower end edge portion of the cabin back panel is bent toward the rear side of the vehicle body to form a bent piece portion, and a deck floor panel is mounted and fixed on the bent piece portion. The vehicle body structure of a cab-over type vehicle according to item 1.
JP33506698A 1998-11-26 1998-11-26 Body structure of cab-over type vehicle Expired - Fee Related JP3932077B2 (en)

Priority Applications (1)

Application Number Priority Date Filing Date Title
JP33506698A JP3932077B2 (en) 1998-11-26 1998-11-26 Body structure of cab-over type vehicle

Applications Claiming Priority (1)

Application Number Priority Date Filing Date Title
JP33506698A JP3932077B2 (en) 1998-11-26 1998-11-26 Body structure of cab-over type vehicle

Publications (2)

Publication Number Publication Date
JP2000159153A JP2000159153A (en) 2000-06-13
JP3932077B2 true JP3932077B2 (en) 2007-06-20

Family

ID=18284387

Family Applications (1)

Application Number Title Priority Date Filing Date
JP33506698A Expired - Fee Related JP3932077B2 (en) 1998-11-26 1998-11-26 Body structure of cab-over type vehicle

Country Status (1)

Country Link
JP (1) JP3932077B2 (en)

Families Citing this family (2)

* Cited by examiner, † Cited by third party
Publication number Priority date Publication date Assignee Title
KR20030013731A (en) * 2001-08-09 2003-02-15 현대자동차주식회사 Cap mounting structure of truck
JP6507802B2 (en) * 2015-04-03 2019-05-08 スズキ株式会社 Vehicle structure

Also Published As

Publication number Publication date
JP2000159153A (en) 2000-06-13

Similar Documents

Publication Publication Date Title
CN100390005C (en) car body structure
JP2816484B2 (en) Vehicle floor structure
JP6041054B2 (en) Body front structure
JP4621982B2 (en) Lower body structure
JP5807809B2 (en) Peripheral structure of seat bracket
WO2016208374A1 (en) Vehicle body front structure
JP4692181B2 (en) Lower body structure
JP2013082337A (en) Vehicle body front structure
JP2020175777A (en) Rear structure of the car body
CN101219678B (en) Vehicle body structure
JP3932077B2 (en) Body structure of cab-over type vehicle
JPH06166384A (en) Joint structure of underbody and side body of automobile
JPH0558347A (en) Lower car body structure for automobile
JP2000016350A (en) Car rear floor structure
JP3736459B2 (en) Body floor structure
JP2020138663A (en) Body undercarriage
JP2003095130A (en) Cross member connection structure of car
JPH11192977A (en) Body frame reinforcing structure for automobile
JPH0592063U (en) Reinforcement structure under the front pillar
JP2002362420A (en) Car body rear structure
JP2002308151A (en) Cab floor structure for cab-over type vehicle
JP2002019643A (en) Car body floor side structure
JP3091188B1 (en) Structure of joint between floor tunnel and cross member
JPH06247343A (en) Automobile lower body structure
JPH1076978A (en) Undercar body structure

Legal Events

Date Code Title Description
A977 Report on retrieval

Free format text: JAPANESE INTERMEDIATE CODE: A971007

Effective date: 20060706

A131 Notification of reasons for refusal

Free format text: JAPANESE INTERMEDIATE CODE: A131

Effective date: 20060721

A521 Written amendment

Free format text: JAPANESE INTERMEDIATE CODE: A523

Effective date: 20060908

TRDD Decision of grant or rejection written
A01 Written decision to grant a patent or to grant a registration (utility model)

Free format text: JAPANESE INTERMEDIATE CODE: A01

Effective date: 20070223

A61 First payment of annual fees (during grant procedure)

Free format text: JAPANESE INTERMEDIATE CODE: A61

Effective date: 20070308

FPAY Renewal fee payment (event date is renewal date of database)

Free format text: PAYMENT UNTIL: 20110323

Year of fee payment: 4

FPAY Renewal fee payment (event date is renewal date of database)

Free format text: PAYMENT UNTIL: 20110323

Year of fee payment: 4

FPAY Renewal fee payment (event date is renewal date of database)

Free format text: PAYMENT UNTIL: 20120323

Year of fee payment: 5

FPAY Renewal fee payment (event date is renewal date of database)

Free format text: PAYMENT UNTIL: 20130323

Year of fee payment: 6

FPAY Renewal fee payment (event date is renewal date of database)

Free format text: PAYMENT UNTIL: 20130323

Year of fee payment: 6

FPAY Renewal fee payment (event date is renewal date of database)

Free format text: PAYMENT UNTIL: 20140323

Year of fee payment: 7

LAPS Cancellation because of no payment of annual fees