JP3875069B2 - 床部の支持構造、床部の施工方法 - Google Patents
床部の支持構造、床部の施工方法 Download PDFInfo
- Publication number
- JP3875069B2 JP3875069B2 JP2001340947A JP2001340947A JP3875069B2 JP 3875069 B2 JP3875069 B2 JP 3875069B2 JP 2001340947 A JP2001340947 A JP 2001340947A JP 2001340947 A JP2001340947 A JP 2001340947A JP 3875069 B2 JP3875069 B2 JP 3875069B2
- Authority
- JP
- Japan
- Prior art keywords
- floor
- wall
- main body
- floor panel
- fixed
- Prior art date
- Legal status (The legal status is an assumption and is not a legal conclusion. Google has not performed a legal analysis and makes no representation as to the accuracy of the status listed.)
- Expired - Fee Related
Links
- 238000010276 construction Methods 0.000 title claims description 10
- 239000000463 material Substances 0.000 claims description 48
- 230000003014 reinforcing effect Effects 0.000 claims description 27
- 210000002837 heart atrium Anatomy 0.000 description 7
- 230000002787 reinforcement Effects 0.000 description 6
- 230000000694 effects Effects 0.000 description 4
- 239000000853 adhesive Substances 0.000 description 3
- 230000001070 adhesive effect Effects 0.000 description 3
- 238000009408 flooring Methods 0.000 description 3
- 238000005192 partition Methods 0.000 description 3
- 239000002023 wood Substances 0.000 description 3
- 230000015572 biosynthetic process Effects 0.000 description 2
- 238000005516 engineering process Methods 0.000 description 2
- 238000000034 method Methods 0.000 description 2
- 239000011120 plywood Substances 0.000 description 1
Images
Landscapes
- Load-Bearing And Curtain Walls (AREA)
Description
【発明の属する技術分野】
本発明は、床部の支持構造および床部の施工方法に関する。
【0002】
【背景の技術】
近年、住宅の構築については、その工業化が進み、例えば、プレハブ住宅等においては、柱、梁等をあまり使用せずに、予め工場で形成された床パネル、壁パネル、天井パネル等の矩形板状のパネルを配列していくことにより、床、壁、天井等を形成していく施工方法(以下、パネル工法)が知られている。
【0003】
このような住宅において、パーティ等に使用することができる広い部屋を構築する場合、上階の床部の支持構造として、部屋の中央部を形成する壁パネルの上端部間に梁が設けられ、上階の床部を支持することがある。そして、上階の床部の支持構造を示す一例として、例えば、特開平7−109786号公報の技術が知られている。この技術は、立設された壁パネルと梁上とに、床パネルが敷き込まれるとともに、その梁の下方に天井部材が取付けられ、上階の床部および天井面を構築しているものである。
【0004】
【発明が解決しようとする課題】
ところで、パーティ等に使用することができる広い部屋を構築する場合、上階の荷重を支持するため、部屋の中央部に設けられる梁の梁成を大きく設定する必要がある。
しかしながら、前記公報の技術では、壁パネルの上端面と、壁パネルの上端部間に設けられた梁の上面とに床パネルを敷き込み、その梁の下方に天井部材を取付けているので、該梁成が大きくなると、梁の下方に取付けられた天井部材がより下方に配置され、広い部屋であっても、天井高が低い部屋が形成され、室内空間を狭く感じさせることがあった。
【0005】
本発明は上記事情に鑑みてなされたものであり、天井高が高い部屋を形成することができる床部の支持構造、および床部の施工方法を提供することを目的としている。
【0006】
【課題を解決するための手段】
以上の課題を解決するため、請求項1記載の発明は、例えば、図1〜図5に示すように、梁1によって床パネル4を支持する床部45の支持構造において、前記梁1は梁本体1aと、この梁本体1aの側面15、20に固定された受材1b、1bとを備え、前記床パネル4は前記受材1bによって支持されており、前記床パネル4の上面4eが梁本体1aの上面1gと面一になっており、
前記梁本体1aの端部1f、1f側には壁体(外壁体、内壁体)2a、2bが配置されており、前記壁体2a、2bの上端部には壁体2a、2bの上端面と表面とに開口する凹部7、7が形成されており、この凹部7、7に前記梁本体1aがその上面1gを前記床パネル4の上面4eと面一になるようにして嵌め込まれ、さらに、前記壁体2a、2bの上端面からの凹部7、7の深さ6bと、梁本体1aの下面から受材1bの上面10bまでの長さ1eとが等しくなっていることを特徴とする。
【0007】
請求項1記載の発明によれば、床パネル4は受材1bによって支持されているので、梁本体1aの上面1gで床パネル4を支持している場合と比して、梁本体1aの下端部の位置が上方に配置され、梁本体1aの下方に取付けられる天井部材をさらに上方に配置することができる。したがって、天井高が高い部屋50を構築することができ、室内空間を広く感じさせることができる。また、床パネル4の上面4eが梁本体1aの上面1gと面一になっているので、受材1bに支持された床パネル4の上面4eと梁本体1aの上面1gとが平坦になり、凹凸がない床部45を構築することができる。したがって、床部45の上面に絨毯やフローリング等の床仕上げ材を凹凸が形成されることなく、平坦に敷き詰めることができる。
【0009】
また、凹部7、7に梁本体1aがその上面1gを床パネル4の上面4eと面一になるようにして嵌め込まれているので、壁体2a、2bの上端部間に床パネル4の上面4eと面一なる梁1を設けることができる。また、壁体2a、2bの上端面から凹部7、7の深さ6bと、梁本体1aの下面から受材1bの上面10bまでの長さ1eとが等しくなっているので、受材1bの上面10bと、壁体2a、2bの上端面とが面一に配置され、床パネル4を受材1bの上面10bと、壁体2a、2bの上端面とに水平に固定することができる。
【0010】
請求項2記載の発明は、例えば、図1および図2に示すように、請求項1記載の床部45の支持構造において、前記壁体2a、2bには、補強梁8が前記梁本体1aと直交するようにして設けられており、前記梁本体1aの端部1f、1fには切欠部1c、1cが形成されており、前記補強梁8の端部8gには前記切欠部1cに係合する係合部8aが形成されており、前記補強梁8はその係合部8aを前記切欠部1cに係合することによって、前記梁本体1aの端部1fを押さえるとともに、補強梁8の上面8hが梁本体1aの上面1gと面一になっていることを特徴とする。
【0011】
請求項2記載の発明によれば、補強梁8はその係合部8aを切欠部1cに係合することによって、梁本体1aの端部1fを押さえるので、壁体2aに梁本体1aの端部1fを強固に固定することができる。また、補強梁8の上面8hが梁本体1aの上面1gと面一になっているので、補強梁8の上面8hが床パネル4の上面4eと平坦なり、床部45に凹凸が生じることがない。
【0012】
請求項3記載の発明は、例えば、図2〜図6に示すように、請求項1または2に記載の床部45の支持構造において、前記受材1bが前記梁本体1aの少なくともいずれか一方の側面15、20に固定されていることを特徴とする。
【0013】
請求項3記載の発明によれば、受材1bが梁本体1aの両方の側面15、20に固定されている場合には、梁本体1aの両方の側面15、20に床パネル4を固定することができ、上階の床部45を支持する壁パネル3や柱等を部屋50内に設ける必要がない。したがって、間仕切りが形成されない部屋50を構築することができる。また、受材1bが梁本体1aの一方の側面15に固定されている場合には、受材1bが固定されている側面20にのみ床パネル4を固定することよって、部屋50に吹き抜け5を設けることができる。
【0014】
請求項4記載の発明は、例えば、図1〜図5に示すように、梁1によって床パネル4を支持する床部45の施工方法において、まず、梁本体1aとこの梁本体1aの側面15、20に固定される受材1b、1bとを備えた梁1を用意しておき、壁体2a、2bに梁本体1aの端部1f、1fを固定した後、該梁本体1aの側面15、20に受材1b、1bを固定し、次に、前記受材1bに床パネル4をその上面4eが梁本体1aの上面1gと面一になるようにして支持させることを特徴とする。
【0015】
請求項4記載の発明によれば、壁体2a、2bに梁本体1aの端部1f、1fを固定した後、該梁本体1aの側面15、20に受材1b、1bを固定することによって、該梁本体1aの側面15、20に沿って、受材1bの上面10bに床パネル4を支持させることができる。よって、梁本体1aの下端部の位置が上方に配置され、梁本体1aの下方に取付けられる天井部材を上方に配置することができる。
【0016】
したがって、天井高が高い部屋50を構築することができ、室内空間を広く感じさせることができる。そして、受材1bに床パネル4をその上面4eが梁本体1aの上面1gと面一になるようにして支持させることによって、受材1bに支持される床パネル4の上面4eと梁本体1aの上面1gとが平坦になり、凹凸がない床部45を構築することができる。よって、床部45を平坦に敷き詰めることができる。
【0017】
【発明の実施の形態】
以下、図1〜図6を参照して本発明の実施の形態を詳細に説明する。
図1〜図6に示すように、梁1によって床パネル4の支持する床部45の支持構造は、吹き抜け5を有する部屋50の上階の床部45を構築するものであって、壁体2a、2b、2cと、梁1と、補強梁8と、床パネル4とを備えている。
【0018】
吹き抜けを有する部屋50は、対向する一対の壁体2a、2bと、この壁体2a、2bと直交する壁体2cと、この壁体2cと対向配置され、該壁体2a、2bの上端部間を架け渡すようにして設けられた支持梁2dとで囲まれた平面視矩形状の空間である。ここで、支持梁2dの上面は、壁体2a、2b、2cの上端面と面一に配置されている。
【0019】
壁体2a、2b、2cは、図1〜図5に示すように、縦横の框材を矩形枠状に組み付け、その内側に補強桟材を縦横に組み付けてなる枠体の表裏両面に合板等の面材を貼設することで構成される壁パネル3、3を連結して立設することによって形成されている。そして、これら壁体2a、2b、2cのうち対向する一対の壁体2a、2bは、上端部に接続用切欠部6aが形成された補助壁部6を該壁体2a、2bの中央部に配置させ、接続用切欠部6aを互いに向き合わせるようにして壁パネル3、3を連結して立設することによって形成されている。
【0020】
よって、壁体2a、2bの上端部には、壁体2a、2bの上端面と表面とに開口する凹部7、7が形成されている。そして、この凹部7、7に後述する梁本体1aがその上面1gを床パネル4の上面4eと面一になるようにして嵌め込まれている。
【0021】
ここで、補助壁部6は、木材等で形成された長尺な部材であり、その部材幅6cが後述する梁本体1aの幅1dと等しくなっている。また、壁体2a、2bのうち屋外側に配置された壁体2aを外壁体2aとし、この外壁体2aを構成する壁パネル3を外壁パネル3aとする。また、同様に、屋内側に配置された壁体2bを内壁体2bとし、内壁体2bを構成する壁パネル3を内壁パネル3bとする。
【0022】
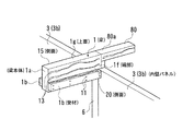
梁1は、図1〜図6に示すように、両端部1f、1fが外壁体2aおよび内壁体2bの凹部7、7にそれぞれ固定された梁本体1aと、この梁本体1aの側面15、20に固定された受材1b、1bとを備えている。
【0023】
梁本体1aは、木材等で形成された平面視矩形状の長尺な部材であり、両端部1f、1fには、凹部7、7に対してそれぞれ上方に配置された切欠部1c、1cが形成されている。
【0024】
受材1bは、梁本体1aと同様の平面視矩形状の部材であって、外内壁体2a、2bの上端面からの凹部7、7の深さ6bと、梁本体1aの下面から受材1bの上面10bまでの長さ1eとが等しくなるように、梁本体1aの両方の側面15、20にそれぞれ接着剤13と釘11とによって固定されている。ここで、梁本体1aが吹き抜け5に面する側面15には、連結された2つの床パネル4の短辺の長さと同程度の長さに形成された受材1bが、内壁体2b側から延在するようにして固定されている。また、側面15と対向する他方の側面20には、床パネル4の長辺の長さと同程度の長さに形成された受材1bが、外内壁体2a、2b間を延在するようにして固定されている。
【0025】
補強梁8は、図1および図2に示すように、平面視矩形状の長尺な木材等であって、梁本体1aと直交するようにして外壁体2aの上端面に設けられている。そして、補強梁8の一方の端部8gには屋外側の切欠部1cに係合する係合部8aか形成されており、係合部8aが該切欠部1cに係合することによって、梁本体1aの屋外側の端部1fを押さえている。
【0026】
そして、補強梁8の屋外側に配置された側面8bは、外壁パネル3aの上端面に固定された胴差し12に当接され、補強梁8の下端面8cは外壁パネル3aの上端面に固定されている。そして、補強梁8の上面8hが梁本体1aの上面1gと面一になっている。また、屋内側の切欠部1cには、図3および図6に示すように、マグサ80の一方の端部80aが固定されており、このマグサ80の他方の端部80bは、内壁体2bに隣接した壁パネル33の上端面に固定されている。
【0027】
床パネル4は、図2〜図4に示すように、複数の框材4aを矩形枠状に組み立て枠体4bを形成し、この枠体4b内に補強桟材4cを縦横に取付け、枠体4bの上面に合板等の面材4dを貼設したものである。そして、側面20の受材1bの上面10bと、外内壁体2a、2b、2cの上端面とには、連結された4つの床パネル4が支持されており、部屋50の上階の右側に床部45が構築されている。また、側面15の受材1bの上面10bと、支持梁2dの上面と、内壁体2bの上端面とには、連結された2つの床パネル4が支持されており、部屋50の上階の左側に吹き抜け5を有する床部45が構築されている。
【0028】
次に、本実施の形態における吹き抜け5を有する部屋50の上階の床部45の施工方法について図1〜図6を参照して説明する。
まず、壁パネル3、3を連結し、外内壁体2a、2bと直交する壁体2cを立設するとともに、補助壁部6が壁体2a、2bの中央部に配置されるようにして、接続用切欠部6aを互いに向き合わせ、壁パネル3、3を連結して外内壁体2a、2bをそれぞれ立設する。次に、梁本体1aと、側面15に固定される受材1bと、側面20に固定される受材1bとを用意する。
【0029】
そして、外内壁体2a、2bのそれぞれの凹部7、7に接着剤13を塗布し、この凹部7、7に梁本体1aをその上面1gが床パネル4の上面4eと面一になるようにして嵌め込み固定する。次に、梁本体1aの側面15に、凹部7、7の深さ6bと、梁本体1aの下端部からの長さ1eとが等しくなるようにして、受材1bを内壁体2b側から延在するようにして接着剤13と釘11とで固定する。また、同様にして、梁本体1aの側面20に、受材1bを外内壁体2a、2b間を延在するようにして固定する。
【0030】
次に、屋外側の切欠部1cに補強梁8の係合部8aを係合し、梁本体1aの上面10bと補強梁8の上面8hとを面一にする。この際に、梁本体1aと直交するようにして、補強梁8の屋外側の側面8bを胴差し12の当接し、補強梁8の下端面8cを外壁パネル3aの上端面に固定する。また、マグサ80の一方の端部80aを屋内側の切欠部1cに固定し、このマグサ80の他方の端部80bを、壁パネル33の上端面に固定する。そして、支持梁2dの上面と壁体2a、2b、2cの上端面とが面一になるようにして、支持梁2dを外内壁体2a、2bの上端部間に設ける。
【0031】
次に、側面15の受材1bの上面10bと、支持梁2dの上面と、内壁体2bの上端面とに2つの床パネル4をその上面4eが梁本体1aの上面1gと面一になるようにして支持させ、部屋50の上階の左側に吹き抜け5を有する床部45を構築する。また、側面20の受材1bの上面10bと、壁体2a、2b、2cの上端面とに4つの床パネル4を同様にして支持させ、部屋50の上階の右側に床部45を構築する。
【0032】
以上により、本実施の形態によれば、次のような効果が得られる。
▲1▼床パネル4は梁本体1aの側面15、20に固定された受材1b、1bによって支持されているので、梁本体1aの上面1gで床パネル4を支持している場合と比して、梁本体1aの下端部の位置が上方に配置され、梁本体1aの下方に取付けられる天井部材をさらに上方に配置することができる。
【0033】
したがって、天井高が高い部屋50を構築することができ、室内空間を広く感じさせることができる。また、床パネル4の上面4eが梁本体1aの上面1gと面一になっているので、受材1bに支持された床パネル4の上面4eと梁本体1aの上面1gとが平坦になり、凹凸がない床部45を構築することができる。したがって、床部45の上面に絨毯やフローリング等の床仕上げ材を凹凸が形成されることなく、平坦に敷き詰めることができる。
【0034】
▲2▼凹部7、7に梁本体1aがその上面1gを床パネル4の上面4eと面一になるようにして嵌め込まれているので、外内壁体2a、2bの上端部間に床パネル4の上面4eと面一なる梁1を部屋50の中央部に設けることができる。また、凹部7、7の深さ6bと、梁本体1aの下面からの長さ1eとが等しくなっているので、受材1bの上面10bと、外内壁体2a、2bの上端面とが面一に配置され、床パネル4を受材1bの上面10bと、外内壁体2a、2bの上端面とに水平に固定することができる。
【0035】
▲3▼補強梁8の係合部8aが屋外側の切欠部1cに係合することによって、梁本体1aの屋外側の端部1fを押さえるので、外壁体2aに梁本体1aの屋外側の端部1fを強固に固定することができる。また、補強梁8の上面8hが梁本体1aの上面1gと面一になっているので、補強梁8の上面8hが床パネル4の上面4eと平坦なり、床部45に凹凸が生じることがない。
【0036】
▲4▼受材1bが梁本体1aの両方の側面15、20に固定されている部位では、梁本体1aの両方の側面15、20に床パネル4を固定することができ、上階の床部45を支持する壁パネル3や柱等を部屋50の中央部に設ける必要がない。したがって、壁パネル3等による間仕切りが形成されない部屋50を構築することができる。また、受材1bが梁本体1aの一方の側面15に固定されている部位では、受材1bが固定されている側面20にのみ床パネル4を固定することよって、部屋50の左側の床部45に吹き抜け5を設けることができる。
【0037】
▲5▼凹部7、7に梁本体1aをその上面1gが床パネル4の上面4eと面一になるようにして嵌め込み固定することによって、外内壁体2a、2bの上端部間に床パネル4の上面4eと面一なる梁1を部屋50の中央部に設けることができる。そして、梁本体1aの側面15、20に、凹部7、7の深さ6bと、梁本体1aの下端部からの長さ1eとが等しくなるようにして、受材1b、1bをそれぞれ固定することによって、床パネル4を受材1bと外内壁体2a、2bとに水平に支持させることができる。よって、梁本体1aの下端部の位置は上方に配置されるので、梁本体1aの下方に取付けられる天井部材を上方に配置することができる。したがって、天井高が高い部屋50を構築することができ、室内空間を広く感じさせることができる。
【0038】
そして、側面15の受材1bの上面10bと、支持梁2dの上面と、内壁体2bの上端面とに2つの床パネル4をその上面4eが梁本体1aの上面1gと面一になるようにして支持させることによって、部屋50の上階の左側に吹き抜け5を有する平坦な床部45を構築することができる。また、側面20の受材1bの上面10bと、壁体2a、2b、2cの上端面とに4つの床パネル4を同様にして支持させることによって、部屋50の上階の右側に平坦な床部45を構築する。
【0039】
【発明の効果】
請求項1記載の発明によれば、床パネルは受材によって支持されているので、梁本体の下方に取付けられる天井部材を上方に配置することができる。したがって、天井高が高い部屋を構築することができ、室内空間を広く感じさせることができる。また、床パネルの上面が梁本体の上面と面一になっているので、凹凸がない床部を構築することができる。したがって、床部の上面に絨毯やフローリング等の床仕上げ材を凹凸が形成されることなく、平坦に敷き詰めることができる。
【0040】
また、凹部に梁本体がその上面を床パネルの上面と面一になるようにして嵌め込まれているので、壁体の上端部間に床パネルの上面と面一なる梁を設けることができる。また、凹部の深さと、梁本体の下面からの長さとが等しくなっているので、受材の上面と、壁体の上端面とが面一に配置され、床パネルを受材と壁体とに水平に固定することができる。
【0041】
請求項2記載の発明によれば、請求項1と同様の効果を得られることは勿論のこと、補強梁はその係合部を切欠部に係合することによって、梁本体の端部を押さえるので、壁体に梁本体の端部を強固に固定することができる。また、補強梁の上面が梁本体の上面と面一になっているので、床部に凹凸が生じることがない。
【0042】
請求項3記載の発明によれば、請求項1または2と同様の効果を得られることは勿論のこと、受材が梁本体の両方の側面に固定されている場合には、梁本体の両方の側面に床パネルを固定することができ、床部を支持する壁パネル等を部屋内に設ける必要がない。したがって、間仕切りが形成されない部屋を構築することができる。また、受材が梁本体の一方の側面に固定されている場合には、受材が固定されている側面にのみ床パネルを固定することよって、部屋に吹き抜けを設けることができる。
【0043】
請求項4記載の発明によれば、壁体に梁本体の端部を固定した後、該梁本体の側面に受材を固定することによって、該梁本体の側面に沿って、受材の上面に床パネルを支持させることができる。よって、梁本体の下端部の位置が上方に配置され、梁本体の下方に取付けられる天井部材を上方に配置することができる。したがって、室内空間を広く感じさせることができる。そして、受材に床パネルをその上面が梁本体の上面と面一になるようにして支持させることによって、受材に支持される床パネルの上面と梁本体の上面とが平坦になり、凹凸がない床部を構築することができる。したがって、床部を平坦に敷き詰めることができる。
【図面の簡単な説明】
【図1】本発明の実施の形態の一例を示すもので、梁本体と補強梁とが壁体に固定される前の状態を示す分解斜視図である。
【図2】同、吹き抜けに面する床部の屋外側の支持構造を示す斜視図である。
【図3】同、建物の上階の床パネルが固定される前の状態を示す斜視図である。
【図4】同、建物の上階の床パネルが固定された状態を示す斜視図である。
【図5】同、図4中の床部の支持構造を示したA−A線断面図である。
【図6】同、床部の屋内側の支持構造を示す斜視図である。
【符号の説明】
1 梁
1a 梁本体
1b 受材
1c 切欠部
1e 長さ(受材)
1f 端部(梁本体)
1g 上面(梁本体)
10b 上面(受材)
2a、2b 壁体(外壁体、内壁体)
15、20 側面
4 床パネル
4e 上面(床パネル)
6b 深さ(凹部)
7 凹部
8 補強梁
8a 係合部(補強梁)
8g 端部(補強梁)
8h 上面(補強梁)
45 床部
Claims (4)
- 梁によって床パネルを支持する床部の支持構造において、前記梁は梁本体と、この梁本体の側面に固定された受材とを備え、前記床パネルは前記受材によって支持されており、前記床パネルの上面が梁本体の上面と面一になっており、
前記梁本体の端部側には壁体が配置されており、前記壁体の上端部には壁体の上端面と表面とに開口する凹部が形成されており、この凹部に前記梁本体がその上面を前記床パネルの上面と面一になるようにして嵌め込まれ、さらに、前記壁体の上端面からの凹部の深さと、梁本体の下面から受材の上面までの長さとが等しくなっていることを特徴とする床部の支持構造。 - 請求項1記載の床部の支持構造において、前記壁体には、補強梁が前記梁本体と直交するようにして設けられており、前記梁本体の端部には切欠部が形成されており、前記補強梁の端部には前記切欠部に係合する係合部が形成されており、前記補強梁はその係合部を前記切欠部に係合することによって、前記梁本体の端部を押さえるとともに、補強梁の上面が梁本体の上面と面一になっていることを特徴とする床部の支持構造。
- 請求項1または2に記載の床部の支持構造において、前記受材が前記梁本体の少なくともいずれか一方の側面に固定されていることを特徴とする床部の支持構造。
- 梁によって床パネルを支持する床部の施工方法において、まず、梁本体とこの梁本体の側面に固定される受材とを備えた梁を用意しておき、壁体に梁本体の端部を固定した後、該梁本体の側面に受材を固定し、次に、前記受材に床パネルをその上面が梁本体の上面と面一になるようにして支持させることを特徴とする床部の施工方法。
Priority Applications (1)
| Application Number | Priority Date | Filing Date | Title |
|---|---|---|---|
| JP2001340947A JP3875069B2 (ja) | 2001-11-06 | 2001-11-06 | 床部の支持構造、床部の施工方法 |
Applications Claiming Priority (1)
| Application Number | Priority Date | Filing Date | Title |
|---|---|---|---|
| JP2001340947A JP3875069B2 (ja) | 2001-11-06 | 2001-11-06 | 床部の支持構造、床部の施工方法 |
Publications (2)
| Publication Number | Publication Date |
|---|---|
| JP2003138682A JP2003138682A (ja) | 2003-05-14 |
| JP3875069B2 true JP3875069B2 (ja) | 2007-01-31 |
Family
ID=19155074
Family Applications (1)
| Application Number | Title | Priority Date | Filing Date |
|---|---|---|---|
| JP2001340947A Expired - Fee Related JP3875069B2 (ja) | 2001-11-06 | 2001-11-06 | 床部の支持構造、床部の施工方法 |
Country Status (1)
| Country | Link |
|---|---|
| JP (1) | JP3875069B2 (ja) |
-
2001
- 2001-11-06 JP JP2001340947A patent/JP3875069B2/ja not_active Expired - Fee Related
Also Published As
| Publication number | Publication date |
|---|---|
| JP2003138682A (ja) | 2003-05-14 |
Similar Documents
| Publication | Publication Date | Title |
|---|---|---|
| US5901524A (en) | Grid-like building panel framework and members for making such panel framework | |
| JP3875069B2 (ja) | 床部の支持構造、床部の施工方法 | |
| JP3045256U (ja) | 建築物の床構成部材 | |
| JPH017775Y2 (ja) | ||
| JP3866356B2 (ja) | 壁下地材と床仕上げ材の納め構造 | |
| JP4801856B2 (ja) | ユニット式建物 | |
| JPH09296520A (ja) | パネル構造および建物ユニット | |
| JP3877421B2 (ja) | 床パネル及び建物ユニット | |
| JP3448397B2 (ja) | ユニット建物 | |
| JP2708711B2 (ja) | ユニット住宅及びその構築方法 | |
| JP3247785B2 (ja) | 天井下地パネルおよびそれを用いた天井下地構造 | |
| JP3735213B2 (ja) | 屋根構造 | |
| KR200229303Y1 (ko) | 경량벽체 조립용 코너형 수직유닛 | |
| JP3701707B2 (ja) | 建物ユニットの天井構造 | |
| JP3086369B2 (ja) | 建物の施工方法 | |
| JPH09158364A (ja) | 壁構造 | |
| JPH09125565A (ja) | 建築用木製の構造部材 | |
| JP3161567B2 (ja) | 建物の施工方法 | |
| JP3530808B2 (ja) | パネル体を用いた家屋の壁面の形成方法及び家屋 | |
| JPS6065845A (ja) | 床なし部屋ユニット | |
| JPH108618A (ja) | 建物ユニットの床構造 | |
| JPH0672457B2 (ja) | 住宅ユニット | |
| JPH09125523A (ja) | ユニット式建物の玄関ユニット | |
| JP2000129823A (ja) | 柱状建築部材 | |
| JP2001193194A (ja) | 床端部の納まり構造 |
Legal Events
| Date | Code | Title | Description |
|---|---|---|---|
| A621 | Written request for application examination |
Free format text: JAPANESE INTERMEDIATE CODE: A621 Effective date: 20041101 |
|
| A977 | Report on retrieval |
Free format text: JAPANESE INTERMEDIATE CODE: A971007 Effective date: 20060713 |
|
| A131 | Notification of reasons for refusal |
Free format text: JAPANESE INTERMEDIATE CODE: A131 Effective date: 20060725 |
|
| A521 | Written amendment |
Free format text: JAPANESE INTERMEDIATE CODE: A523 Effective date: 20060915 |
|
| TRDD | Decision of grant or rejection written | ||
| A01 | Written decision to grant a patent or to grant a registration (utility model) |
Free format text: JAPANESE INTERMEDIATE CODE: A01 Effective date: 20061024 |
|
| A61 | First payment of annual fees (during grant procedure) |
Free format text: JAPANESE INTERMEDIATE CODE: A61 Effective date: 20061025 |
|
| R150 | Certificate of patent or registration of utility model |
Free format text: JAPANESE INTERMEDIATE CODE: R150 |
|
| FPAY | Renewal fee payment (event date is renewal date of database) |
Free format text: PAYMENT UNTIL: 20091102 Year of fee payment: 3 |
|
| S111 | Request for change of ownership or part of ownership |
Free format text: JAPANESE INTERMEDIATE CODE: R313111 |
|
| FPAY | Renewal fee payment (event date is renewal date of database) |
Free format text: PAYMENT UNTIL: 20091102 Year of fee payment: 3 |
|
| R350 | Written notification of registration of transfer |
Free format text: JAPANESE INTERMEDIATE CODE: R350 |
|
| FPAY | Renewal fee payment (event date is renewal date of database) |
Free format text: PAYMENT UNTIL: 20091102 Year of fee payment: 3 |
|
| FPAY | Renewal fee payment (event date is renewal date of database) |
Free format text: PAYMENT UNTIL: 20101102 Year of fee payment: 4 |
|
| FPAY | Renewal fee payment (event date is renewal date of database) |
Free format text: PAYMENT UNTIL: 20101102 Year of fee payment: 4 |
|
| FPAY | Renewal fee payment (event date is renewal date of database) |
Free format text: PAYMENT UNTIL: 20111102 Year of fee payment: 5 |
|
| FPAY | Renewal fee payment (event date is renewal date of database) |
Free format text: PAYMENT UNTIL: 20121102 Year of fee payment: 6 |
|
| FPAY | Renewal fee payment (event date is renewal date of database) |
Free format text: PAYMENT UNTIL: 20131102 Year of fee payment: 7 |
|
| LAPS | Cancellation because of no payment of annual fees |