JP3862707B2 - 高架橋の張出スラブの構築方法および張出スラブ用プレキャストコンクリート板 - Google Patents

高架橋の張出スラブの構築方法および張出スラブ用プレキャストコンクリート板 Download PDF

Info

Publication number
JP3862707B2
JP3862707B2 JP2004080104A JP2004080104A JP3862707B2 JP 3862707 B2 JP3862707 B2 JP 3862707B2 JP 2004080104 A JP2004080104 A JP 2004080104A JP 2004080104 A JP2004080104 A JP 2004080104A JP 3862707 B2 JP3862707 B2 JP 3862707B2
Authority
JP
Japan
Prior art keywords
slab
overhang
joint
concrete plate
precast concrete
Prior art date
Legal status (The legal status is an assumption and is not a legal conclusion. Google has not performed a legal analysis and makes no representation as to the accuracy of the status listed.)
Expired - Lifetime
Application number
JP2004080104A
Other languages
English (en)
Other versions
JP2005264607A (ja
Inventor
雅義 内藤
年光 肥沼
博史 竹山
Original Assignee
日本カイザー株式会社
Priority date (The priority date is an assumption and is not a legal conclusion. Google has not performed a legal analysis and makes no representation as to the accuracy of the date listed.)
Filing date
Publication date
Application filed by 日本カイザー株式会社 filed Critical 日本カイザー株式会社
Priority to JP2004080104A priority Critical patent/JP3862707B2/ja
Publication of JP2005264607A publication Critical patent/JP2005264607A/ja
Application granted granted Critical
Publication of JP3862707B2 publication Critical patent/JP3862707B2/ja
Anticipated expiration legal-status Critical
Expired - Lifetime legal-status Critical Current

Links

Images

Landscapes

  • Bridges Or Land Bridges (AREA)

Description

本発明は高架橋の張出スラブの構築方法および張出スラブ用プレキャストコンクリート板に関するものである。
従来の高架橋の張出スラブは、図9に示すように、L型の張出スラブ用プレキャストコンクリート板30を下側に設置したブラケット31または支保工で仮受けした後、トップコンクリート32を打設して構築していた。また、その他の高架橋の張出スラブの構築方法としては、例えば特開2003−293470号公報の発明がある。
特開2003−293470号公報
しかし、上記の高架橋の張出スラブの構築方法は、ブラケットなどの仮受材の設置および撤去に手間がかかった。また仮受材は桁の外側に取り付けられ、これを取り付ける作業がスラブ下側での作業となるため、桁の下側に道路や線路などがある場合は、非常に危険な作業となっていた。
本発明は上記のような問題に鑑みてなされたものであり、その目的は、全ての作業がスラブの上側でできる張出スラブの構築方法および張出スラブ用プレキャストコンクリート板を提供することである。
上記の課題を解決するための手段である高架橋の張出スラブ用プレキャストコンクリー
ト板は、高欄用のコンクリート板と、その下端部に突設した型枠用の接合用突出部とから形成され、高欄用のコンクリート板には、上端筋と下端筋とがラチス筋で接合されたトラス筋が長さ方向に沿って配筋されて上端筋がコンクリート板の上面から突設され、該接合用突出部に埋め込まれた取付用レールにジョイントスライド自在に取り付けられてなることを特徴とする。
また高架橋の張出スラブの構築方法は、トラス筋が突出した高欄用のコンクリート板に接合用突出部が形成され、該接合用突出部に埋め込まれた取付用レールにジョイントスライド自在に取り付けられた高架橋の張出スラブ用プレキャストコンクリート板を形成し、該高架橋の張出スラブ用プレキャストコンクリート板の接合用突出部の先端部を桁の外側に載せるとともに、接合用突出部のジョイント具を桁の一部に固定した後、該桁に設置したスラブ用プレキャストコンクリート板と、張出スラブ用プレキャストコンクリート板のトラス筋との間にサポート材を設置してトップコンクリートを打設することを特徴とする。
ジョイントにより張出スラブ用プレキャストコンクリート板を桁に簡単に接合することができる。また高架橋の張出スラブの構築作業が、全てスラブの内側でできるため、安全な施工ができる。また張出スラブ用プレキャストコンクリート板をスラブの内側にジョイントとサポートとで固定することができる。
以下、本発明の高架橋の張出スラブの構築方法(以下、張出スラブの構築方法という)および張出スラブ用プレキャストコンクリート板(以下、張出スラブ用PC板という)の実施の形態について説明する。はじめに張出スラブ用PC板について説明し、次に、この張出スラブ用PC板を使用した張出スラブの構築方法について説明するが、各実施の形態において、同じ構成は同じ符号を付して説明し、異なった構成にのみ異なった符号を付して説明する。
図1〜図3は張出スラブ用PC板1を示し、この張出スラブ用PC板1は、高欄用のコンクリート板2と、その下端部に突設した型枠用の接合用突出部3とからL型に形成され、コンクリート板2にはトラス筋4が長さ方向に沿って突設され、接合用突出部3にはジョイント具5が取り付けられている。
このトラス筋4は、一本の上端筋6と、二本の下端筋7とが波形のラチス筋8で接合された三角トラスであり、下端筋7がコンクリート板2に埋設され、該コンクリート板2の上面から上端筋6が突出している。なお、トラス筋4は三角トラスに限らず、一本の上端筋と一本の下端筋とがラチス筋に接合された、いわゆるシングルトラスであってもよい(図示せず)。
またジョイント具5の後端部が、接合用突出部3における凹溝レール9に掛止ボルト10で取り付けられ、L型に折り曲げられた先端部にはU字形の掛止部11が形成され、該掛止部11には固定ボルト12が設けられている。また掛止ボルト10の下端部の掛止片13が取付用レールである凹溝レール9に掛け止めされて、ジョイント具5が凹溝レール9を左右にスライドできるようになっている。
また図3の(1)および(2)は他のジョイント具5である。(1)は先端部にボルト孔14が設けられた以外は、上記と同じ構成である。また(2)はL型で、かつ先端部にボルト孔14が設けられた以外は、上記と同じ構成である。これらは使用用途によって種々の形状のものが使用される。
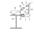
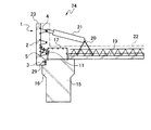
次に、上記の張出スラブ用PC板1を使用した張出スラブの構築方法について説明する。図4および図5は第1の実施の形態の張出スラブの構築方法である。この構築方法は、まず張出スラブ用PC板1をクレーンで吊り上げて、接合用突出部3の先端部をコンクリート桁15の設置用顎16に載せるとともに、ジョイント具5の掛止部11を桁上面に突出したスターラップ17に掛け止めして固定ボルト12で固定する。
次に、張出スラブ用PC板1のトラス筋4と、コンクリート桁15間に設置したスラブ用PC板19のジョイント筋20とにわたってサポート材21を設置し、このサポート材21と、ジョイント具5と、設置用顎16とによって張出スラブ用PC板1を固定する。
次に、張出スラブ用PC板1とスラブ用PC板19との上にトップコンクリート22を打設し、これが硬化した後に、サポート材21を取り外すとともに、トップコンクリート22の上面から突出したジョイント筋20の上部を切断すると、高欄23を備えた張出用スラブ24が完成する。このように全ての施工作業をスラブの上側で行えるため、安全な作業にすることができる。
図6は第2の実施の形態の張出スラブの構築方法である。この構築方法は、張出スラブ用PC板1を鉄骨桁25に設置するものであり、クレーンで吊り上げた張出スラブ用PC板1の接合用突出部3の先端部を設置用顎16に載せるとともに、図3の(1)のジョイント具5を鉄骨桁25の上面にボルト26で接合する。
次に、張出スラブ用PC板1のトラス筋4と、鉄骨桁上面のフック27とにターンバックルなどの引張材28を設置する。そして、上記と同じようにトップコンクリート22を打設し、これが硬化した後に、引張材28を取り外すと、高欄23を備えた張出用スラブ24が完成する。
図7は第3の実施の形態の張出スラブの構築方法である。この構築方法は、張出スラブ用PC板1をT形断面のコンクリート桁18に設置するものであり、クレーンで吊り上げた張出スラブ用PC板1の接合用突出部3の先端部をコンクリート桁18の側面に当接させるとともに、図3の(2)のジョイント具5をコンクリート桁18の上面にボルト26で接合する。
次に、張出スラブ用PC板のトラス筋4と、コンクリート桁18の上面に突設したジョイント筋20とにわたってサポート材21を設置し、このサポート材21とジョイント具5とにより張出スラブ用PC板1を上側から吊った状態にする。次に、上記と同じようにトップコンクリート22を打設し、これが硬化した後に、サポート材21を取り外すとともに、トップコンクリート22の上面から突出したジョイント筋20の上部を切断すると、高欄23を備えた張出用スラブ24が完成する。
図8は第4の実施の形態の張出スラブの構築方法である。この構築方法は、短い接合用突出部3を備えた張出スラブ用PC板1を使用したものであり、クレーンで吊り上げた張出スラブ用PC板1の接合用突出部3の先端部をコンクリート桁15の設置用顎16に設置するとともに、下部を下部固定金物29で固定するとともに、接合用突出部3におけるジョイント具5の掛止部11をコンクリート桁15上面のスターラップ17に掛け止めしてボルト26で固定する。
次に、張出スラブ用PC板1のトラス筋4と、スラブ用PC板19のジョイント筋20とにわたってサポート材21を設置し、このサポート材21と、ジョイント具5と、下部固定金物29と、設置用顎16とによって張出スラブ用PC板1を固定する。
次に、張出スラブ用PC板1とスラブ用PC板19との上にトップコンクリート22を打設し、これが硬化した後に、サポート材21を取り外すとともに、トップコンクリート22の上面から突出したジョイント筋20の上部を切断すると、高欄23を備えた張出用スラブ24が完成する。
張出スラブ用PC板であり、(1)は正面図、(2)は平面図、(3)は(2)のA−A線断面図である。 ジョイントであり、(1)は斜視図、(2)は水平方向の断面図、(3)は縦方向の断面図である。 他のジョイントの斜視図である。 第1の実施の形態の張出スラブの構築方法であり、(1)は断面図、(2)はジョイントの斜視図である。 張出スラブ用PC板をコンクリート桁に設置した斜視図である。 第2の実施の形態の張出スラブの構築方法の断面図である。 第3の実施の形態の張出スラブの構築方法の断面図である。 第4の実施の形態の張出スラブの構築方法の断面図である。 従来の張出スラブの構築方法の断面図である。
符号の説明
1、30 張出スラブ用PC板
2 コンクリート板
3 接合用突出部
4 トラス筋
5 ジョイント具
6 上端筋
7 下端筋
8 ラチス筋
9 凹溝レール
10 掛止ボルト
11 掛止部
12 固定ボルト
13 掛止片
14 ボルト孔
15、18 コンクリート桁
16 設置用顎
17 スターラップ
19 スラブ用PC板
20 ジョイント筋
21 サポート材
22、32 トップコンクリート
23 高欄
24 張出用スラブ
25 鉄骨桁
26 ボルト
27 フック
28 引張材
29 下部固定金物
31 ブラケット

Claims (2)

  1. 高欄用のコンクリート板と、その下端部に突設した型枠用の接合用突出部とから形成され、高欄用のコンクリート板には、上端筋と下端筋とがラチス筋で接合されたトラス筋が長さ方向に沿って配筋されて上端筋がコンクリート板の上面から突設され、該接合用突出部に埋め込まれた取付用レールにジョイントスライド自在に取り付けられてなることを特徴とする高架橋の張出スラブ用プレキャストコンクリート板。
  2. トラス筋が突出した高欄用のコンクリート板に接合用突出部が形成され、該接合用突出部に埋め込まれた取付用レールにジョイントスライド自在に取り付けられた高架橋の張出スラブ用プレキャストコンクリート板を形成し、該高架橋の張出スラブ用プレキャストコンクリート板の接合用突出部の先端部を桁の外側に載せるとともに、接合用突出部のジョイント具を桁の一部に固定した後、該桁に設置したスラブ用プレキャストコンクリート板と、張出スラブ用プレキャストコンクリート板のトラス筋との間にサポート材を設置してトップコンクリートを打設することを特徴とする高架橋の張出スラブの構築方法。
JP2004080104A 2004-03-19 2004-03-19 高架橋の張出スラブの構築方法および張出スラブ用プレキャストコンクリート板 Expired - Lifetime JP3862707B2 (ja)

Priority Applications (1)

Application Number Priority Date Filing Date Title
JP2004080104A JP3862707B2 (ja) 2004-03-19 2004-03-19 高架橋の張出スラブの構築方法および張出スラブ用プレキャストコンクリート板

Applications Claiming Priority (1)

Application Number Priority Date Filing Date Title
JP2004080104A JP3862707B2 (ja) 2004-03-19 2004-03-19 高架橋の張出スラブの構築方法および張出スラブ用プレキャストコンクリート板

Publications (2)

Publication Number Publication Date
JP2005264607A JP2005264607A (ja) 2005-09-29
JP3862707B2 true JP3862707B2 (ja) 2006-12-27

Family

ID=35089443

Family Applications (1)

Application Number Title Priority Date Filing Date
JP2004080104A Expired - Lifetime JP3862707B2 (ja) 2004-03-19 2004-03-19 高架橋の張出スラブの構築方法および張出スラブ用プレキャストコンクリート板

Country Status (1)

Country Link
JP (1) JP3862707B2 (ja)

Families Citing this family (7)

* Cited by examiner, † Cited by third party
Publication number Priority date Publication date Assignee Title
JP4731419B2 (ja) * 2006-07-21 2011-07-27 前田建設工業株式会社 ラーメン高架橋の施工方法およびプレキャスト型枠
JP4977110B2 (ja) * 2008-10-24 2012-07-18 大成建設株式会社 合成桁の構造及び合成桁の構築方法
JP5687162B2 (ja) * 2011-09-05 2015-03-18 佐藤工業株式会社 コンクリートダムにおける張出部高欄部構造及び張出部高欄部施工方法
JP5773814B2 (ja) * 2011-09-09 2015-09-02 株式会社ピーエス三菱 張出架設pc橋の壁高欄の施工方法
JP6778159B2 (ja) * 2017-07-31 2020-10-28 鹿島建設株式会社 床版入替時の補強構造及び床版入替方法
JP7765281B2 (ja) * 2021-12-23 2025-11-06 株式会社竹中工務店 梁部材の架設方法
CN114135065A (zh) * 2021-12-31 2022-03-04 赵鹏付 一种屋面挑檐结构预制和现浇结合的装置及其施工方法

Family Cites Families (8)

* Cited by examiner, † Cited by third party
Publication number Priority date Publication date Assignee Title
JPS5914562Y2 (ja) * 1979-10-22 1984-04-28 昭和電工株式会社 T形溝を有する構築用板体の取付け構造
JPS61134406A (ja) * 1984-12-04 1986-06-21 森 橘雄 プレハブ式コンクリ−ト橋梁工法
JP2994237B2 (ja) * 1995-09-04 1999-12-27 株式会社ピー・エス パネルウイング、パネルウイングつきプレキャストコンクリート桁及び合成構造橋体の構築方法
JP3841493B2 (ja) * 1996-09-03 2006-11-01 株式会社フジタ PCaコンクリート部材を用いた高架橋の施工法
JPH10121568A (ja) * 1996-10-18 1998-05-12 Sekisui House Ltd 手摺壁パネル
JP3323463B2 (ja) * 1999-11-09 2002-09-09 日本カイザー株式会社 高架橋の構築方法
JP2001193015A (ja) * 2000-01-06 2001-07-17 Japan Steel & Tube Constr Co Ltd 橋梁用高欄
JP2003293470A (ja) * 2002-04-03 2003-10-15 Tokyu Constr Co Ltd Rc造建造物

Also Published As

Publication number Publication date
JP2005264607A (ja) 2005-09-29

Similar Documents

Publication Publication Date Title
JP5020163B2 (ja) 張り出し床版用支保工
JP5020162B2 (ja) 張り出し床版用支保工
JP2008031768A (ja) 波形鋼板ウエブ箱桁橋の片持張出架設方法
KR100727172B1 (ko) 프리캐스트 콘크리트 패널 및 그를 이용한 교량 슬래브캔틸레버부 무지보 시공방법
JP2008196162A (ja) 落橋防止構造
JP3862707B2 (ja) 高架橋の張出スラブの構築方法および張出スラブ用プレキャストコンクリート板
KR102080492B1 (ko) 거더교의 캔틸레버 시공 방법
JP6498075B2 (ja) 鉄骨構造物の張出通路
JP2014190116A (ja) コンクリートスラブの構築方法
JP5807883B1 (ja) 吊足場
KR100626543B1 (ko) 프리캐스트 콘크리트 보와 철골보의 합성구조 및, 철골보접합용 브라켓이 구비된 프리캐스트 콘크리트 보
KR20020036198A (ko) 피시빔교용 가설브래킷 및 이를 이용한 피시빔교 가설방법
JP6308502B2 (ja) 張出し施工におけるプレテンション床版の構築方法
JP2004116060A (ja) 波形鋼板ウェブ橋の架設方法
JP2016014236A (ja) 吊足場
JP5794461B1 (ja) 吊足場
KR100653283B1 (ko) 철근 콘크리트 구조물의 연결 방법
JPS61155504A (ja) 床版用型板構造
JPH03281855A (ja) 建築物の床組工法
JPH0743140Y2 (ja) 鋼板コンクリート製壁高欄
JP5687162B2 (ja) コンクリートダムにおける張出部高欄部構造及び張出部高欄部施工方法
JP3102734U (ja) ゴンドラ式仮設足場
KR100635138B1 (ko) 교량 슬래브의 중앙분리대측 측단부 시공용 상부브래킷
KR20020082966A (ko) 슬라브 거푸집의 설치기능을 가지는 피 에스 씨 교량용빔의 가설방법 및 그 장치
KR200172618Y1 (ko) 콘크리트 천장 시공용 장선을 걸기 위한 브라켓 일체형패널

Legal Events

Date Code Title Description
A977 Report on retrieval

Free format text: JAPANESE INTERMEDIATE CODE: A971007

Effective date: 20060428

A131 Notification of reasons for refusal

Free format text: JAPANESE INTERMEDIATE CODE: A131

Effective date: 20060508

A521 Request for written amendment filed

Free format text: JAPANESE INTERMEDIATE CODE: A523

Effective date: 20060605

TRDD Decision of grant or rejection written
A01 Written decision to grant a patent or to grant a registration (utility model)

Free format text: JAPANESE INTERMEDIATE CODE: A01

Effective date: 20060911

A61 First payment of annual fees (during grant procedure)

Free format text: JAPANESE INTERMEDIATE CODE: A61

Effective date: 20060926

R150 Certificate of patent or registration of utility model

Ref document number: 3862707

Country of ref document: JP

Free format text: JAPANESE INTERMEDIATE CODE: R150

FPAY Renewal fee payment (event date is renewal date of database)

Free format text: PAYMENT UNTIL: 20091006

Year of fee payment: 3

FPAY Renewal fee payment (event date is renewal date of database)

Free format text: PAYMENT UNTIL: 20121006

Year of fee payment: 6

R250 Receipt of annual fees

Free format text: JAPANESE INTERMEDIATE CODE: R250

FPAY Renewal fee payment (event date is renewal date of database)

Free format text: PAYMENT UNTIL: 20121006

Year of fee payment: 6

S531 Written request for registration of change of domicile

Free format text: JAPANESE INTERMEDIATE CODE: R313531

FPAY Renewal fee payment (event date is renewal date of database)

Free format text: PAYMENT UNTIL: 20121006

Year of fee payment: 6

R350 Written notification of registration of transfer

Free format text: JAPANESE INTERMEDIATE CODE: R350

FPAY Renewal fee payment (event date is renewal date of database)

Free format text: PAYMENT UNTIL: 20151006

Year of fee payment: 9

R250 Receipt of annual fees

Free format text: JAPANESE INTERMEDIATE CODE: R250

S111 Request for change of ownership or part of ownership

Free format text: JAPANESE INTERMEDIATE CODE: R313111

S533 Written request for registration of change of name

Free format text: JAPANESE INTERMEDIATE CODE: R313533

R350 Written notification of registration of transfer

Free format text: JAPANESE INTERMEDIATE CODE: R350

R250 Receipt of annual fees

Free format text: JAPANESE INTERMEDIATE CODE: R250

R250 Receipt of annual fees

Free format text: JAPANESE INTERMEDIATE CODE: R250

R250 Receipt of annual fees

Free format text: JAPANESE INTERMEDIATE CODE: R250

S531 Written request for registration of change of domicile

Free format text: JAPANESE INTERMEDIATE CODE: R313531

R360 Written notification for declining of transfer of rights

Free format text: JAPANESE INTERMEDIATE CODE: R360

R360 Written notification for declining of transfer of rights

Free format text: JAPANESE INTERMEDIATE CODE: R360

R371 Transfer withdrawn

Free format text: JAPANESE INTERMEDIATE CODE: R371

S531 Written request for registration of change of domicile

Free format text: JAPANESE INTERMEDIATE CODE: R313531

R350 Written notification of registration of transfer

Free format text: JAPANESE INTERMEDIATE CODE: R350

EXPY Cancellation because of completion of term