JP3856607B2 - 免震構造物 - Google Patents
免震構造物 Download PDFInfo
- Publication number
- JP3856607B2 JP3856607B2 JP29870799A JP29870799A JP3856607B2 JP 3856607 B2 JP3856607 B2 JP 3856607B2 JP 29870799 A JP29870799 A JP 29870799A JP 29870799 A JP29870799 A JP 29870799A JP 3856607 B2 JP3856607 B2 JP 3856607B2
- Authority
- JP
- Japan
- Prior art keywords
- seismic isolation
- isolation structure
- steel pipe
- foundation
- fixing
- Prior art date
- Legal status (The legal status is an assumption and is not a legal conclusion. Google has not performed a legal analysis and makes no representation as to the accuracy of the status listed.)
- Expired - Fee Related
Links
- 238000002955 isolation Methods 0.000 title claims description 28
- 229910000831 Steel Inorganic materials 0.000 claims description 39
- 239000010959 steel Substances 0.000 claims description 39
- 230000000630 rising effect Effects 0.000 claims description 2
- 230000000694 effects Effects 0.000 description 4
- 238000006073 displacement reaction Methods 0.000 description 3
- 230000002265 prevention Effects 0.000 description 2
- 239000011150 reinforced concrete Substances 0.000 description 2
- 239000006096 absorbing agent Substances 0.000 description 1
- 238000010521 absorption reaction Methods 0.000 description 1
- 230000003139 buffering effect Effects 0.000 description 1
- 230000006835 compression Effects 0.000 description 1
- 238000007906 compression Methods 0.000 description 1
- 230000008878 coupling Effects 0.000 description 1
- 238000010168 coupling process Methods 0.000 description 1
- 238000005859 coupling reaction Methods 0.000 description 1
- 238000010586 diagram Methods 0.000 description 1
- 230000000116 mitigating effect Effects 0.000 description 1
- 239000011435 rock Substances 0.000 description 1
Images
Landscapes
- Buildings Adapted To Withstand Abnormal External Influences (AREA)
- Vibration Prevention Devices (AREA)
Description
【発明の属する技術分野】
この発明は、アスペクト比が大きい建物に多く見られる、地震時に発生する浮き上がりを許容して地震力を低減させ、転倒、落下衝撃に対する安全性を確保する免震構造物の技術分野に属する。
【0002】
【従来の技術】
従来一般の免震建物1’は、図1Aのように、免震層において水平方向に大きく変位することを許容する考えに立脚している。
しかし、建物の高さと幅の比(アスペクト比)が大きい免震建物1は、図1Bに例示したように、上下方向の変位を含むロッキング振動が支配的となり、免震装置2に大きな引張り軸力が作用する。そのため前記の大きい引張り軸力に耐える免震装置及び基礎が必要とされている。
【0003】
従来、地震時に発生する浮き上がりを許容し、構造物の転倒、落下衝撃に対する安全性を確保し、同構造物に作用する地震力を低減させる免震構造物が、例えば特開平10−195890号公報、及び本出願人の特願平11−42759号明細書及び図面に提案されている。
【0004】
【本発明が解決しようとする課題】
しかしながら、建物と基礎の縁が切られ、地震時に大きな浮き上がりを生ずる場合に、浮き上がり時にエネルギー吸収を行い、更に建物の落下時に緩衝作用まで備えて安全な免震構造は未だ見聞しない。
【0005】
本発明の目的は、地震時に構造物に発生する浮き上がりを許容することによって地震力の低減を図り、しかも浮き上がり量を制限して転倒の防止を図り、更に構造物の落下衝撃を緩衝することによって安全性を確保する構成に改良した免震構造物を提供することである。
【0006】
【課題を解決するための手段】
上述の課題を解決するための手段として、請求項1に記載した発明に係る免震構造物は、
アスペクト比が大きい免震構造物1に地震時に発生する浮き上がりを許容して地震力を低減させ、同構造物1の転倒、落下衝撃に対する安全性を確保する免震構造物において、 前記免震構造物1の鋼管柱5における中間階または最下階部分の柱下部と、その下の柱または基礎6との縁が切られ、浮き上がり境界面Kが形成されていること、
前記下の柱または基礎6に、それらと一体化した定着用凸部7が前記浮き上がり境界面Kの面上へ垂直に立ち上げられ、前記定着用凸部7に前記免震構造物1の鋼管柱5の下部が嵌め合わされ、その下端は前記浮き上がり境界面Kへ浮き上がり可能に当接されていること、
前記定着用凸部7と鋼管柱5を嵌め合わせた水平方向間隙に当該免震構造物1の浮き上がり時のエネルギー吸収装置9が設置されていること、
前記エネルギー吸収装置9は、免震構造物1の鋼管柱5の下部と、その下の柱または基礎6の定着用凸部7との嵌め合わせ間隙に介在させた粘弾性体と鋼板との積層構造物、又は前記の嵌め合わせ間隙へ挿入した粘性体11であること、
をそれぞれ特徴とする。
【0007】
請求項2記載の発明は、請求項1に記載した免震構造物において、
定着用凸部は、下の柱または基礎6へアンカーにより固定した定着用鋼管7、又は鉄骨7’で形成されていることを特徴とする。
【0009】
【発明の実施の形態】
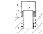
請求項1に記載した発明に係る免震構造物の第1実施形態を、図2と図3に示した。
本発明に係る免震構造物は、図1Bに例示した建物と同様にロッキング振動する構造物の柱と下の柱または基礎との縁が切られ「浮き上がり境界面」が形成されており、地震時に発生する構造物の浮き上がり(ロッキング振動)を許容して地震力を低減させ、同構造物の転倒、落下衝撃に対する安全性を確保する免震構造物として好適に実施される。
【0010】
図2に示すように、構造物の鋼管柱5における中間階または最下階部分の柱下部と、その下の柱または基礎6との縁が切られ、両者の間に「浮き上がり境界面K」が形成されている。前記下の柱または基礎6へアンカー8により一体化して前記浮き上がり境界面Kの面上へ定着用凸部として垂直に立ち上がらせた定着用鋼管7が設置され、この定着用鋼管7の外周に上記構造物の鋼管柱5の下部が嵌め合わされ、その下端は前記浮き上がり境界面Kへ浮き上がり可能に当接されている。前記定着用鋼管7と構造物の鋼管柱5との嵌め合わせ間隙に、図2及び図3に示すようにエネルギー吸収装置9が
設置され、もって鋼管柱5と下の柱又は基礎6との結合が行われている。
【0011】
図2、図3に示したエネルギー装置9は、一例として鋼板と、ゲル状で高粘性の粘弾性体とを交互に積層した積層構造物であり、構造物の鋼管柱5が浮き上がるとき、又は逆に落下する時の上下方向剪断変形を利用してエネルギー吸収を行い、もって地震力の低減と浮き上がり量の制限、転倒の防止、及び落下衝撃の緩和等々の作用効果を奏する。もっとも、エネルギー吸収装置9の構成は、同様な作用効果を期待できればよく、図示例の構成に限らない。
【0012】
上記構造物の鋼管柱5と下の柱又は基礎6の定着用鋼管7との嵌め合わせ部分は、地震時の水平方向剪断力及び上下方向の圧縮力を伝達する。よって前記定着用凸部(定着用鋼管7)の高さ及び平面形状の大きさは、前記の作用効果に必要十分に設計される。
【0013】
図4は、定着用凸部が、下の鉄骨鉄筋コンクリート柱に定着された鉄骨(H形鋼7’)である場合の実施形態を示す。
要するにH形鋼7’の溝開口部を鋼板10で塞ぎ、外側の鋼管柱5との間に一定の嵌め合わせ間隙が形成されている。そして、H形鋼7’と構造物の鋼管柱5との嵌め合わせ間隙に、エネルギー吸収装置として前記の積層構造物9を介在させて両者の結合が行われている。反対に、定着用凸部7が角形鋼管で、構造物の柱が前記角形鋼管中に嵌まるH型鋼である場合にも同様に実施される。
【0014】
次に、図5と図6は、本発明の第3実施形態を示している。
この実施形態の場合も、構造物の鋼管柱5における中間階または最下階部分の柱下部と、その下の柱または基礎6との縁が切られ、浮き上がり境界面Kが形成されている。前記下の柱または基礎6と一体化した定着用凸部7が前記浮き上がり境界面Kの上方へ垂直に立ち上げられ、前記定着用凸部7に前記構造物の鋼管柱5の下部が嵌め合わされ、その下端は前記浮き上がり境界面Kへ浮き上がり可能に当接され、両者の嵌め合わせ間隙に、浮き上がり時のエネルギー吸収装置として、やはりゲル状で高粘性の粘性体11が挿入されている。
【0015】
本実施形態の場合も、定着用凸部7は、下階の鋼管柱又は鉄筋コンクリート造柱や基礎6に定着された鉄骨であり、鉄骨は管状に形成されている。しかも下の柱または基礎6の定着用凸部7には、粘性体11との接触面積を増大し、且つ嵌め合わせ間隙の横ズレを防ぐ手段として、複数のリブ12の頭部12aが間隙中(粘性体11中)へ適度に突き出されている。
【0016】
【本発明が奏する効果】
請求項1、2に記載した発明に係る免震構造物は、地震時に構造物に発生する浮き上がりを許容することによって地震力の低減を図り、且つエネルギー吸収装置により浮き上がり量を制限して転倒の防止を図り、更に構造物の落下衝撃を緩衝することによって安全性を確保するのである。
【図面の簡単な説明】
【図1】Aは従来の、Bは本発明に係る免震構造物の原理説明図である。
【図2】本発明の実施形態を示した断面図である。
【図3】図2の平面図である。
【図4】第2の実施形態の平面図である。
【図5】本発明の第3の実施形態を示した断面図である。
【図6】図5の平面図である。
【符号の説明】
5 構造物の柱
6 下の柱または基礎
7、7’ 定着用凸部
9、11 エネルギー吸収装置
Claims (2)
- アスペクト比が大きい免震構造物に地震時に発生する浮き上がりを許容して地震力を低減させ、同構造物の転倒、落下衝撃に対する安全性を確保する免震構造物において、
前記免震構造物の鋼管柱における中間階または最下階部分の柱下部と、その下の柱または基礎との縁が切られ、浮き上がり境界面が形成されていること、
前記下の柱または基礎に、それらと一体化した定着用凸部が前記浮き上がり境界面の面上へ垂直に立ち上げられ、前記定着用凸部に前記免震構造物の鋼管柱の下部が嵌め合わされ、その下端は前記浮き上がり境界面へ浮き上がり可能に当接されていること、
前記定着用凸部と鋼管柱を嵌め合わせた水平方向間隙に当該免震構造物の浮き上がり時のエネルギー吸収装置が設置されていること、
前記エネルギー吸収装置は、免震構造物の鋼管柱の下部と、その下の柱または基礎の定着用凸部との嵌め合わせ間隙に介在させた粘弾性体と鋼板との積層構造物、又は前記の嵌め合わせ間隙へ挿入した粘性体であること、
をそれぞれ特徴とする、免震構造物。 - 定着用凸部は、下の柱または基礎へアンカーにより一体化した定着用鋼管、又は鉄骨で形成されていることを特徴とする、請求項1に記載した免震構造物。
Priority Applications (1)
| Application Number | Priority Date | Filing Date | Title |
|---|---|---|---|
| JP29870799A JP3856607B2 (ja) | 1999-10-20 | 1999-10-20 | 免震構造物 |
Applications Claiming Priority (1)
| Application Number | Priority Date | Filing Date | Title |
|---|---|---|---|
| JP29870799A JP3856607B2 (ja) | 1999-10-20 | 1999-10-20 | 免震構造物 |
Publications (2)
| Publication Number | Publication Date |
|---|---|
| JP2001115683A JP2001115683A (ja) | 2001-04-24 |
| JP3856607B2 true JP3856607B2 (ja) | 2006-12-13 |
Family
ID=17863255
Family Applications (1)
| Application Number | Title | Priority Date | Filing Date |
|---|---|---|---|
| JP29870799A Expired - Fee Related JP3856607B2 (ja) | 1999-10-20 | 1999-10-20 | 免震構造物 |
Country Status (1)
| Country | Link |
|---|---|
| JP (1) | JP3856607B2 (ja) |
Cited By (1)
| Publication number | Priority date | Publication date | Assignee | Title |
|---|---|---|---|---|
| CN102051928A (zh) * | 2011-01-28 | 2011-05-11 | 王尔其 | 一种钢管砼柱隔震减震装置 |
Families Citing this family (6)
| Publication number | Priority date | Publication date | Assignee | Title |
|---|---|---|---|---|
| JP4678098B2 (ja) * | 2001-06-08 | 2011-04-27 | 大成建設株式会社 | 制振間柱 |
| JP4605641B2 (ja) * | 2004-11-24 | 2011-01-05 | 株式会社フジタ | 建物の基礎構造及びその構築方法 |
| JP2006214120A (ja) * | 2005-02-02 | 2006-08-17 | Toda Constr Co Ltd | 浮上り制振ユニット及び浮上り制振構造 |
| JP6057579B2 (ja) * | 2012-07-18 | 2017-01-11 | 三菱重工業株式会社 | 免震装置支持構造及び免震装置支持構造の施工方法 |
| JP6834206B2 (ja) * | 2016-07-13 | 2021-02-24 | 前田建設工業株式会社 | 建物の補強構造 |
| JP7386735B2 (ja) * | 2020-03-18 | 2023-11-27 | 株式会社フジタ | 建物本体の支持構造 |
-
1999
- 1999-10-20 JP JP29870799A patent/JP3856607B2/ja not_active Expired - Fee Related
Cited By (1)
| Publication number | Priority date | Publication date | Assignee | Title |
|---|---|---|---|---|
| CN102051928A (zh) * | 2011-01-28 | 2011-05-11 | 王尔其 | 一种钢管砼柱隔震减震装置 |
Also Published As
| Publication number | Publication date |
|---|---|
| JP2001115683A (ja) | 2001-04-24 |
Similar Documents
| Publication | Publication Date | Title |
|---|---|---|
| JP3856607B2 (ja) | 免震構造物 | |
| CN102409774B (zh) | 一种防屈曲支撑式建筑用黏弹性阻尼器 | |
| JP3728650B2 (ja) | 柱脚部の支持構造および耐震建物 | |
| JP7270134B2 (ja) | 道路橋の橋脚構造 | |
| CN215054221U (zh) | 一种新型消能墙减震结构 | |
| JP7081745B2 (ja) | 免震構造 | |
| JP2012207389A (ja) | 既存建物の耐震補強工法 | |
| CN211923014U (zh) | 一种装配式墙体隔震结构 | |
| JP2008274622A (ja) | 建築物の中間階免震機構 | |
| JP7055984B2 (ja) | 浮上り抑制構造 | |
| JP4621332B2 (ja) | 高層建物又はアスペクト比が大きい低層建物の免震方法及び免震構造 | |
| CN116163410A (zh) | 一种柱脚附加阻尼器的自复位框架结构体系 | |
| JPH11223240A (ja) | 免震装置の設置方法及び設置構造 | |
| CN203684247U (zh) | 一种多层建筑的抗震基础 | |
| JP4405336B2 (ja) | 制震ブロック壁構造 | |
| JP2013092166A (ja) | 床スラブの免震構造 | |
| JP5946165B2 (ja) | 耐震補強構造 | |
| JP6834206B2 (ja) | 建物の補強構造 | |
| JP4825087B2 (ja) | 既存建物の耐震補強構造 | |
| JP3962758B1 (ja) | 中間層免震建物 | |
| JP2002004632A (ja) | 免震柱脚部構造 | |
| JP4588836B2 (ja) | 鉄筋コンクリート造壁の免震構法及び免震構造 | |
| KR101166691B1 (ko) | 구조물의 베어링장치 및 그 시공방법 | |
| JP4456726B2 (ja) | 免震構造架構 | |
| JP3102548B2 (ja) | 杭の免震構造 |
Legal Events
| Date | Code | Title | Description |
|---|---|---|---|
| A621 | Written request for application examination |
Free format text: JAPANESE INTERMEDIATE CODE: A621 Effective date: 20040618 |
|
| A977 | Report on retrieval |
Free format text: JAPANESE INTERMEDIATE CODE: A971007 Effective date: 20060210 |
|
| A131 | Notification of reasons for refusal |
Free format text: JAPANESE INTERMEDIATE CODE: A131 Effective date: 20060227 |
|
| A521 | Written amendment |
Free format text: JAPANESE INTERMEDIATE CODE: A523 Effective date: 20060427 |
|
| A131 | Notification of reasons for refusal |
Free format text: JAPANESE INTERMEDIATE CODE: A131 Effective date: 20060523 |
|
| A521 | Written amendment |
Free format text: JAPANESE INTERMEDIATE CODE: A523 Effective date: 20060719 |
|
| TRDD | Decision of grant or rejection written | ||
| A01 | Written decision to grant a patent or to grant a registration (utility model) |
Free format text: JAPANESE INTERMEDIATE CODE: A01 Effective date: 20060815 |
|
| A61 | First payment of annual fees (during grant procedure) |
Free format text: JAPANESE INTERMEDIATE CODE: A61 Effective date: 20060912 |
|
| R150 | Certificate of patent or registration of utility model |
Free format text: JAPANESE INTERMEDIATE CODE: R150 |
|
| FPAY | Renewal fee payment (event date is renewal date of database) |
Free format text: PAYMENT UNTIL: 20090922 Year of fee payment: 3 |
|
| FPAY | Renewal fee payment (event date is renewal date of database) |
Free format text: PAYMENT UNTIL: 20100922 Year of fee payment: 4 |
|
| FPAY | Renewal fee payment (event date is renewal date of database) |
Free format text: PAYMENT UNTIL: 20110922 Year of fee payment: 5 |
|
| FPAY | Renewal fee payment (event date is renewal date of database) |
Free format text: PAYMENT UNTIL: 20120922 Year of fee payment: 6 |
|
| FPAY | Renewal fee payment (event date is renewal date of database) |
Free format text: PAYMENT UNTIL: 20130922 Year of fee payment: 7 |
|
| LAPS | Cancellation because of no payment of annual fees |