JP3836059B2 - 給水装置 - Google Patents
給水装置 Download PDFInfo
- Publication number
- JP3836059B2 JP3836059B2 JP2002252133A JP2002252133A JP3836059B2 JP 3836059 B2 JP3836059 B2 JP 3836059B2 JP 2002252133 A JP2002252133 A JP 2002252133A JP 2002252133 A JP2002252133 A JP 2002252133A JP 3836059 B2 JP3836059 B2 JP 3836059B2
- Authority
- JP
- Japan
- Prior art keywords
- discharge
- handle
- check valve
- pump
- vertical
- Prior art date
- Legal status (The legal status is an assumption and is not a legal conclusion. Google has not performed a legal analysis and makes no representation as to the accuracy of the status listed.)
- Expired - Fee Related
Links
- XLYOFNOQVPJJNP-UHFFFAOYSA-N water Substances O XLYOFNOQVPJJNP-UHFFFAOYSA-N 0.000 title claims description 56
- 238000012423 maintenance Methods 0.000 claims description 13
- 229910052751 metal Inorganic materials 0.000 description 9
- 239000002184 metal Substances 0.000 description 9
- 239000011347 resin Substances 0.000 description 8
- 229920005989 resin Polymers 0.000 description 8
- 210000000078 claw Anatomy 0.000 description 7
- 238000001816 cooling Methods 0.000 description 7
- 230000002265 prevention Effects 0.000 description 7
- 230000005484 gravity Effects 0.000 description 4
- 239000007788 liquid Substances 0.000 description 4
- 238000002955 isolation Methods 0.000 description 3
- 238000011144 upstream manufacturing Methods 0.000 description 3
- 230000006837 decompression Effects 0.000 description 2
- 238000010586 diagram Methods 0.000 description 2
- 238000009434 installation Methods 0.000 description 2
- 235000013372 meat Nutrition 0.000 description 2
- 230000002093 peripheral effect Effects 0.000 description 2
- 229920013716 polyethylene resin Polymers 0.000 description 2
- 230000005855 radiation Effects 0.000 description 2
- 239000008399 tap water Substances 0.000 description 2
- 235000020679 tap water Nutrition 0.000 description 2
- 229910000831 Steel Inorganic materials 0.000 description 1
- 230000032683 aging Effects 0.000 description 1
- 229910052782 aluminium Inorganic materials 0.000 description 1
- XAGFODPZIPBFFR-UHFFFAOYSA-N aluminium Chemical compound [Al] XAGFODPZIPBFFR-UHFFFAOYSA-N 0.000 description 1
- 230000005540 biological transmission Effects 0.000 description 1
- 239000012141 concentrate Substances 0.000 description 1
- 238000009833 condensation Methods 0.000 description 1
- 230000005494 condensation Effects 0.000 description 1
- 230000000694 effects Effects 0.000 description 1
- 239000004065 semiconductor Substances 0.000 description 1
- 238000005549 size reduction Methods 0.000 description 1
- 239000010959 steel Substances 0.000 description 1
- 238000003466 welding Methods 0.000 description 1
Images
Landscapes
- Domestic Plumbing Installations (AREA)
Description
【発明の属する技術分野】
本発明は給水装置に係り、特に2台の縦型ポンプを使用して、一般のビルやマンション等の建屋に給水を行うキャビネット型の給水装置に関する。
【0002】
【従来の技術】
一般のビルやマンション等の建屋では、屋内または屋外にキャビネット型の給水装置を設置し、この給水装置で所定圧に加圧した水道水を各家庭に給水することが広く行われている。この種の給水装置としては、2台の縦型ポンプと、このポンプの吸込側及び吐出側に接続された各種配管と、配管内の圧力を検出する圧力センサ等のセンサ類と、圧力タンク等を備え、これらの各機器をキャビネットの内部に一体的に収容したものが一般に知られている。
【0003】
この種の給水装置にあっては、縦型ポンプの吸込側や吐出側に水の逆流を防止ための逆止弁が設置されており、この縦型ポンプの吐出側に設置される吐出側逆止弁は、通常のポンプ運転時は開いた状態を維持し、ポンプのメンテナンス時に、ハンドルを介して、例えば、ボール弁で構成した場合にあっては、内部に収納した球状の弁体を90゜回転させることで、閉止できるように構成されている。
【0004】
従来、この逆止弁のメンテナンス時に開閉を行うハンドルは、一般に、一端を逆止弁の弁体に連結した長尺状に延びる棒状体で構成され、通常のポンプ運転時は前方(手前)に突出するように配置されており、メンテナンス時に、このハンドルを弁体とともに下方に90゜回転させて下方に垂下させることで、逆止弁を閉じるようになっていた。
【0005】
【発明が解決しようとする課題】
しかしながら、従来例のように、逆止弁に長尺状に一方向に延びるハンドルを備えると、このハンドルの重心が偏った位置に位置し、ポンプ運転時の振動により、このハンドルが移動(回転)して吐出弁の開度が変化してしまうことがあった。しかも、このような長尺状に延びるハンドルを回転させるためには、かなり広いスペースが必要となり、このスペースを確保することが困難な場合もあった。
【0006】
本発明は上記事情に鑑みて為されたもので、ポンプ運転に伴う振動によって逆止弁の開度が変化してしまうことを防止するとともに、より小さい設置スペースに逆止弁を設置できるようにした給水装置を提供することを目的とする。
【0007】
【課題を解決するための手段】
請求項1に記載の発明は、並行に配置された2台の縦型ポンプと、該縦型ポンプに接続される配管に設置される逆止弁とを備え、前記逆止弁の該逆止弁をメンテナンス時に開閉するハンドルは、外部に露出して放射状に均等に延びる短尺状の突起部を有することを特徴とする給水装置である。
これにより、ハンドルの外形をより小さくし、しかもハンドルの重心をより逆止弁本体寄りとして、ポンプ運転時の振動によってハンドルが移動(回転)し逆止弁の開度が変化してしまうことを防止することができる。
【0008】
請求項2に記載の発明は、前記縦型ポンプは、各機器を収納するキャビネットの前面側に配置され、前記逆止弁は、前記縦型ポンプの後方に配置される吐出側逆止弁であることを特徴とする請求項1記載の給水装置である。
このように、縦型ポンプをキャビネットの前面側に配置すると、ポンプのメンテナンスをより短時間で、しかも作業性よく行うことが可能となるが、その反面、吐出側逆止弁を設置するスペースが制限される。しかし、前述のように、ハンドルを小さくすることで、少ないスペースに吐出側吐出弁を収納することが可能となる。
【0009】
請求項3に記載の発明は、前記ハンドルの前記突起部の一つに端部を差込んで該ハンドルを回転させる長尺状の予備ハンドルを更に有することを特徴とする請求項1または2記載の給水装置である。
これにより、予備ハンドルの端部をハンドルの突起部の一つに差込んで所定角度回転させ、しかる後、予備ハンドルを突起部から引抜き、更にこの引抜いた予備ハンドルをハンドルの他の突起部に差込んで回転させる操作を繰返すことで、広いスペースを必要とすることなく、逆止弁のハンドルを回転させて逆止弁を確実に開閉することができる。
【0010】
請求項4に記載の発明は、前記予備ハンドルは、長さ方向に沿った途中に屈曲部を有することを特徴とする請求項3記載の給水装置である。これにより、予備ハンドルの剛性を高めるとともに、他の部材との干渉を避けて作業性をよくすることができる。
【0011】
【発明の実施の形態】
以下、本発明の実施の形態について、図1乃至図25を参照して説明する。
図1及び図2は、本発明の実施の形態の給水装置の全体的な構成を示す。この給水装置は、以下の各機器を一体に収納する矩形ボックス状のキャビネット10を有し、このキャビネット10の内部に、各機器の前面に位置して、2台の縦型ポンプ12a,12bが鉛直方向に沿って並行に配置されている。この各縦型ポンプ12a,12bは、それぞれポンプ部14とモータ部16とを有する、例えばブースタポンプである。なお、図1及び図2は、このキャビネット10の内部構造を示している。
【0012】
縦型ポンプ12a,12bの吸込側には、水平方向に延びる吸込ヘッダ18が配置されて該縦型ポンプ12a,12bと連結され、この吸込ヘッダ18とストレーナ付きボール弁20を備えた吸込管22との間に、減圧式逆流防止器24が配置されている。吸込管22には、吸込側の圧力を検出する圧力センサ26が取付けられている。これにより、ストレーナ付きボール弁20のストレーナ部に水道本管を接続し、ボール弁20を開いた状態で各縦型ポンプ12a,12bを運転することで、水道水が吸込管22、減圧式逆流防止器24及び吸込ヘッダ18を経由して、各縦型ポンプ12a,12bに吸込まれる。
【0013】
一方、縦型ポンプ12a,12bの吐出側には、吐出エルボ管28が連結され、この吐出エルボ管28に、吐出された水の逆流を防止する吐出側逆止弁30が連結され、この吐出側逆止弁30に、小水量を検出して信号を送るフロースイッチ32を有して縦型ポンプ12a,12bから吐出された水を集合(合流)させる吐出集合管34が連結されている。この吐出集合管34は、吐出側の圧力を検出する圧力センサ36を有するバイパスヘッダ38の上端に接続され、このバイパスヘッダ38の長さ方向に沿った所定の位置に、圧力タンク40から延びる圧力タンク配管42が接続されている。更に、このバイパスヘッダ38の下端は、ボール弁44を有する吐出管46に連結され、この吐出管46は、吸込ヘッダ18に設けた、下記の連通部122(図10及び図11参照)を介して、吸込ヘッダ18の内部に逆止弁を内蔵して連通している。
【0014】
これにより、縦型ポンプ12a,12bの運転に伴って該縦型ポンプ12a,12bから吐出された水は、吐出エルボ管28、吐出側逆止弁30、吐出集合管34及びバイパスヘッダ38を経由して吐出管46から外部に吐出される。また吸込ヘッダ18内の水の圧力が充分に高い場合には、吸込ヘッダ18内の水が内蔵された逆止弁を経由して直接吐出管46に導かれて外部に吐出される。圧力タンク40は、縦型ポンプ12a,12bから吐出された加圧水を蓄圧することで縦型ポンプ12a,12bの頻繁な起動停止を防止し、且つ給水水圧を円滑に一定に保つ作用をする。
【0015】
キャビネット10の上部の縦型ポンプ12a,12bの上方位置には、例えばアルミニウム製で放熱フィン50を有するヒートシンク52の上面にインバータ装置54を載置して収納するインバータケース56が、ヒンジ58を介して前方に開閉自在に配置されている。インバータ装置54は、縦型ポンプ12a,12bの各モータ部16に交流電力を周波数及び電圧を変えて供給することで各モータ部16を可変速駆動するためのものであり、内部に冷却が必要な半導体デバイスを有している。
【0016】
インバータケース56は、図3及び図4に示すように、小ねじ60を介してインバータ蓋62を取付けた状態で、ヒンジ58を介して後方に回転させ、ボルト64をキャビネット10の梁部材66に締結することでキャビネット10に固定されている。そして、ボルト64を取外し、ヒンジ58を介してインバータケース56を前方に回転させた後、インバータ蓋62を取外すことで、例えばインバータ装置54のメンテナンスや交換等を行うことができるようになっている。
【0017】
このように、インバータ装置54を、下記の制御盤76とは別にインバータケース56の内部に収納して縦型モータ12a,12bの上方に配置し、かつヒンジ58を介して手前に開閉できる構造とすることで、インバータ装置54のメンテナンスや交換等を容易に行うことができる。
【0018】
各縦型ポンプ12a,12bは、その上部において、モータ部16の駆動に伴って回転する主軸70を外部に延出させている。そして、この各主軸70には、主軸70と一体に回転し、この回転に伴って上方へ向かう空気の流れを作る冷却ファン72が取付けられ、更にこの冷却ファン72の周囲は、円筒状で縦型ポンプ12a,12bのモータ部16に沿って上下に延びるファンカバー74で覆われている。
【0019】
これによって、モータ部16を駆動させてポンプ部14を運転すると、主軸70と一体に冷却ファン72が回転し、この冷却ファン72の回転に伴って、ファンカバー74で案内されてインバータケース56の放熱フィン50に向かう気流が形成される。すると、この気流に乗って、縦型ポンプ12a,12bで冷却された空気がモータ部16の外周部を通って放熱フィン50に衝突し、この空気でモータ部16が冷却され、更に放熱フィン50が冷却されてインバータ装置54が冷却される。そして、この気流は、放熱フィン50に衝突してその向きを変え、キャビネット10内に大きく循環する気流となる。このキャビネット10内の大きな気流の循環により、例えば下記の制御盤76等が吸込管22、減圧式逆流防止器24、吸込ヘッダ18等の周辺から運ばれた冷却された空気と接触して冷却される。即ち、この冷却ファン72が形成する全体的なキャビネット10内の気流により、キャビネット10内の空気が常に攪拌され、その内部温度が均一化される。
【0020】
キャビネット10の上部には、前記圧力センサ26,36等の信号を受けて、末端の需要者における給水水圧が所定の圧力となるように縦型ポンプ12a,12bを可変速運転する制御等を行う制御盤76が備えられている。この制御盤76は、手前に引出して制御盤76への結線やメンテナンス等の作業ができるようにすることが要求される。このため、キャビネット10にレールを設置して、このレールに沿って滑らせることで制御盤76を手前に引出せるようにすることが一般に行われている。しかし、このようにレールを使用すると、制御盤76とレールとの間に大きな摩擦力が発生して、制御盤76をキャビネット10からスムーズに引出すことができない場合がある。
【0021】
このため、この例では、図1、図5乃至図7に示すように、キャビネット10の制御盤76の下面両側縁部に対応する位置に前後方向に延びる一対の下部レール78a,78bを、上面の中央側一側縁に対応する位置にも前後方向に延びる上部レール80をそれぞれ敷設し、このレール78a,78b,80に沿って制御盤76が手前にスライドするように構成している。そして、この下部レール78a,78bと摺接する制御盤76の下面両側縁部に、例えばポリエチレン製の樹脂テープからなる摩擦低減用の樹脂製マット82a,82bを貼り付け、更に、制御盤76の上面に上部レール80の案内となる案内片83を設け、この案内片83の上部レール80と摺接する部位にも、例えばポリエチレン製の樹脂テープからなる摩擦低減用の樹脂製マット84を貼り付けている。
【0022】
これにより、制御盤76を手前に引出す際、制御盤76がその下面の2カ所と上面の1カ所の計3カ所でキャビネット10の各レール78a,78b,80と樹脂製マット82a,82b,84を介して摺接するようになり、これによって、この制御盤76をスライドさせてキャビネット10から手前に引出す際に、制御盤76とキャビネット10(レール78a,78b,80)との間に発生する摩擦を樹脂製マット82a,82b,84を介して低減させて、この作業をスムーズに行えるようになっている。
【0023】
この例によれば、制御盤76とキャビネット10の互いに摺接する所定の位置に摩擦低減用の樹脂製マット82a,82b,84を貼り付けるといった簡便な作業で、しかも安価に、制御盤76をスライドさせてキャビネット10からスムーズに手前に引出せるようにすることができる。しかも、滑車を備えたスライド機構を使用しないので、給水装置としての小型コンパクト化の要請に応えることができる。
【0024】
縦型ポンプ12a,12bの運転に伴って振動する配管等の各機器のキャビネット10への取付け部には、各機器の振動がキャビネット10に伝達するのを防止する防振対策が施されている。つまり、例えば、キャビネット10の下部には、吸込ヘッダ18や吐出管46等を固定する架台86が備えられ、この架台86と吸込ヘッダ18との間には、ゴム製の防振パッド88が介装されている。
【0025】
また、この例にあっては、縦型ポンプ12a,12bと該縦型ポンプ12a,12bの吸込側及び吐出側に各種配管を連結し、しかる後、この配管組立て体をキャビネット10内に収容し、縦型ポンプ12a,12bの吸込側にあっては、吸込管22を介して、吐出側にあっては吐出集合管34でキャビネット10に固定するようにしている。
【0026】
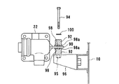
すなわち、吸込管22にあっては、図8に示すように、吸込管22の背部に後方に突出する取付けフランジ90を設け、この取付けフランジ90を略円筒状の一対の防振パッド92で上下から挟み込んだ状態で、これらの内部にボルト94を挿通させ、防振パッド92を圧縮させつつナット95に締付けることで、吸込管22をキャビネット10に取付けたブラケット96に固定している。この防振パッド92は、例えばゴム等の弾性体から構成され、取付けフランジ90と各防振パッド92との間には、防振パッド92が潰れて拡がることを防止する爪部98aを外周部に有する爪付き座金98が介装され、更にボルト94の頭部と防振パッド92との間には、平座金100が介装される。
【0027】
更に、吐出集合管34の上部にあっても同様に、図9に示すように、吐出集合管34の上部に上方に突出する取付けフランジ102を設け、この取付けフランジ102を略円筒状の一対の防振パッド104で前後から挟み込んだ状態で、これらの内部にボルト106を挿通させ、防振パッド104を圧縮させつつナット107に締付けることで、吐出集合管34をキャビネット10に取付けたブラケット108に固定している。取付けフランジ102と各防振パッド104との間には、外周部に爪部110aを有する爪付き座金110が介装され、更にボルト106の頭部と防振パッド104との間には、平座金112が介装される。
【0028】
このように、吸込管22にあっては、取付けフランジ90を略円筒状の一対の防振パッド92で上下から挟み込んだ状態で、ボルト94をナット95に締付けて固定することで、取付けフランジ90とブラケット96のみならず、ボルト94の頭部と取付けフランジ90とが金属同士で直接接触することを防振パッド92で防止し、これによって、取付けフランジ90の振動がボルト94に直接伝達され、この振動がボルト94を伝わって、ブラケット96に伝達されるのを防止して振動伝達を抑制し、しかも防振パッド92の弾力で各機器の寸法誤差をより広い範囲で吸収することができる。このことは、吐出集合管34の上部にあっても同様である。
【0029】
図10及び図11は、吸込ヘッダ18の詳細を示す。この吸込ヘッダ18は、略円筒状で、下流側の端部を閉塞させ、内部を流路120とするとともに、長さ方向に沿った所定の位置に吐出管46との連通部122を設けたヘッダ本体124を有し、このヘッダ本体124には、縦型ポンプ12a,12bの吸込口に接続されて流路120内の水を各縦型ポンプ12a,12bにそれぞれ供給する供給口126a,126bがそれぞれ設けられている。そして、このヘッダ本体124の各供給口126a,126bに対向する位置には、通孔128がそれぞれ設けられ、この各通孔128は、蓋体130でそれぞれ閉塞されている。更に、ヘッダ本体124の上流側に位置する供給口126aと蓋体130との間に、球状の弁体132aを収納することで第1弁装置134aが、下流側に位置する供給口126bと蓋体130との間に、球状の弁体132bを収納することで第2弁装置134bがそれぞれ構成されている。
【0030】
更に、各弁装置134a,134bの前方に位置して、直線状に延びるハンドル136a,136bが外部に露出して配置され、このハンドル136a,136bの中心から延びる軸部が各弁装置134a,134bの各弁体132a,132bに連結されている。これによって、ハンドル136a,136bを介して弁体132a,132bを回転(操作)して、各弁装置134a,134bを開閉できるようになっている。
【0031】
第1弁装置134aは、ハンドル136aを介して弁体132aを180゜回転させることで、ヘッダ本体124の上流側に位置する供給口126aを開閉し、第2弁装置134bは、ハンドル136bを介して弁体132bを180゜回転させることで、ヘッダ本体124の下流側に位置する供給口126bを開閉するためのもので、第1弁装置134aは、このように弁体132aを180゜回転させて供給口126aを開閉した時に、ヘッダ本体124内の流路120を弁体132aで閉塞しないようになっている。
【0032】
すなわち、第1弁装置134aの弁体132aの内部には、直線状に延びる第1内部流路138aと該第1内部流路138aと直交する一方向に延びる第2内部流路138bとを有するT字状の内部流路138が設けられている。これによって、図11に示すように、第2内部流路138bを供給口126aに向かせることで供給口126aを開き、この状態から弁体132aを180゜回転させ、弁体132aの肉部を供給口126aに向かせることで供給口126aを閉じ、しかも、このように供給口126aを開閉しても、直線状に延びる第1内部流路138aが、常にヘッダ本体124内の流路120と連続した位置に位置するようにすることで、この流路120を弁体132aで閉塞しないようになっている。
【0033】
一方、第2弁装置134bの弁体132bの内部には、鈎状に屈曲する内部流路140が設けられている。これによって、図11に示すように、内部流路140の一方の開口端をヘッダ本体124内の流路120に、他方の開口端を供給口126bに向かせることで供給口126bを開き、この状態から弁体132bを180゜回転させ、弁体132bの肉部を供給口126bに向かせることで供給口126bを閉じるようになっている。
【0034】
この例によれば、上流側に位置する縦型ポンプ12aの交換やメンテナンス時には、前述のようにして、第1弁装置134aで供給口126aを閉じて、これを行うのであるが、この時、前述のように、この第1弁装置134aの弁体132aでヘッダ本体124内の流路120を閉塞しないようにして、下流側に位置する縦型ポンプ12bを運転可能な状態に維持する。また、下流側に位置する縦型ポンプ12bの交換やメンテナンス時には、前述のようにして、第2弁装置134bで供給口126bを閉じて、これを行うのであり、これによって、片方の縦型ポンプ12a(または12b)を運転しながら、他方の縦型ポンプ12b(または12a)の交換やメンテナンスを行うことができる。
【0035】
しかも、このように、吸込ヘッダ18の内部に、弁装置134a,134bを内蔵し、2台の縦型ポンプ12a,12bを吸込ヘッダ18に直接接続することで、高さ方向に沿った寸法(全高)の増加を抑えて、キャビネット形給水装置としての、より小型コンパクト化を図ることができる。
【0036】
図12乃至図14は、縦型ポンプ12a,12bの固定構造の詳細を示す。この例にあっては、縦型ポンプ12a,12bの取付け、取外しを容易に行ってメンテナンスの便を図るために、縦型ポンプ12a,12bを各機器の前面側に配置している。つまり、従来のキャビネット型給水装置にあっては、そのポンプとして、回転速度が3000rpm(50Hz)または3600rpm(60Hz)程度の汎用ポンプが一般に使用されていた。このような回転速度のポンプにあっては、羽根車の径が大きいため、羽根車を収納するポンプケーシングの径が該ポンプの吐出フランジの取付けピッチより大きくなり、吐出フランジを前方に向けてポンプを配置して該吐出フランジに吐出側配管のフランジ部を連結しないと、メンテナンス時にポンプを取外すことができなくなる。このため、ポンプの前面側に各種配管が施されていた。しかしながら、このように、各種配管をポンプの手前側に配置すると、メカニカルシールの交換時等にポンプを外すとき、先ず配管を外す必要があり、ポンプを外すのにかなりの時間を要する。
【0037】
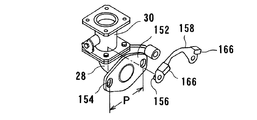
そこで、この例にあっては、縦型ポンプ12a,12bとして、その回転速度を、例えば7200rpm程度と大幅にアップした専用ポンプを使用し、これによって、羽根車及び該羽根車を収容するポンプケーシングの直径D(図1参照)を縦型ポンプ12a,12bの吐出フランジ150の配管取付けピッチP(図1参照)より小さく(D<P)設定し、更に下記のような手段を講じることで、縦型ポンプ12a,12bを各機器の前面側に配置することを可能としている。
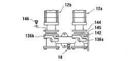
【0038】
この各縦型ポンプ12a,12bは、図12に示すように、吸込ヘッダ18の供給口126a,126bに設けたフランジ部142と各縦型ポンプ12a,12bの吸込口に設けた吸込フランジ144を、Oリング145を介在させつつ互いに当接させ、ボルト146を締付けることで下端が固定される。そして、縦型ポンプ12a,12bの吐出口に設けた吐出フランジ150にあっては、図13及び図14に示すように、縦型ポンプ12a,12bの背部において、吐出配管としての吐出エルボ管28のフランジ部152に固定されている。ここで、縦型ポンプ12a,12bは、吐出エルボ管28の前面側に配置しており、このため、吐出エルボ管28のフランジ部152に縦型ポンプ12a,12bの吐出フランジ150を当接させ、ボルトを締付けて固定しようとすると、ナットを固定するための工具を入れるスペースがなく、この締付作業が困難となる。
【0039】
そこで、図13及び図14に示すように、吐出エルボ管28のフランジ部152に、ポンプケーシングの直径Dよりやや大きな、前記吐出フランジ150の配管取付けピッチPと同じピッチPで縦方向に延びる一対の長穴(ばか穴)154を設け、更に、この長穴154の後方に位置するように、両端部にナット156を固着した取付け金具158を配置し、この取付け金具158に固着したナット156に、平座金160を介在させつつ、ボルト162を締付けることで、各縦型ポンプ12a,12bの軸方向に沿った寸法を吸収しながら、ボルト162の締付けを可能としている。すなわち、この取付け金具158は、図15及び図16に示すように、吐出エルボ管28のフランジ部152の幅方向ほぼ全長に亘って該フランジ部152の形状に沿って延びる金具本体164を有し、この金具本体164の上部に、フランジ部152の上縁部に引っ掛けて落下を防止する、横断面コ字状の一対の爪部166が設けられ、更に金具本体164の両端部に前記吐出フランジ150の配管取付けピッチPと同じピッチPでナット156が溶接等により固定されている。この爪部166の開口幅は、例えば吐出フランジ150と吐出エルボ管28のフランジ部152の双方の肉厚の合計の大きさに設定されている。
【0040】
これにより、吐出エルボ管28のフランジ部152に爪部166を引っ掛けて該フランジ部152の背部に取付け金具158を落下を防止しつつ上下動自在に配置し、この状態で、前述のようにして、吸込ヘッダ18のフランジ部142と各縦型ポンプ12a,12bの吸込口に設けた吸込フランジ144を互いに当接させ、ボルト146を締付けることで各縦型ポンプ12a,12bの下端を固定する。しかる後、取付け金具158を手で調整して、この爪部166内に各縦型ポンプ12a,12bの吐出フランジ150を位置させ、更に、取付け金具158を手で調整しながら、ボルト162を、長穴154を通過させて取付け金具158に固着したナット156に螺着して締付ける。これにより、各縦型ポンプ12a,12bの軸方向に沿った寸法を吸収しながら、縦型ポンプ12a,12bの吐出フランジ150を吐出エルボ管28のフランジ部152にボルト162を介して締付け固定することができる。
【0041】
このように、ナット156を予め固着した取付け金具158を使用してボルト162の締付作業を行うことで、工具を介してナット156を固定する必要をなくし、これによって、ナット156を固定するスペースがなくてもボルト162の締付作業を行うことができ、更に取付け金具158を上下にスライド自在とした状態でボルト162の締結作業を行うことで、縦型ポンプ12a,12bの縦軸方向に沿った寸法を吸収することができる。
【0042】
更に、このように、縦型ポンプ12a,12bを吐出エルボ管28、更には吐出側逆止弁30の手前側に配置すると、吐出側逆止弁30の開閉を行うハンドルの設定が困難となる。つまり、吐出側逆止弁30の開閉を行うハンドルを前方に突出させておき、これを下方に90゜回転させて下方に垂下させることで、吐出側逆止弁30を閉じるようにすると、このハンドルを回転させるためには、かなり広いスペースが必要となり、このスペースを確保することが困難となる。
【0043】
そこで、この例では、図17乃至図19に示すように、吐出側逆止弁30のハンドル170は、外方に露出して放射状(十字状)に均等に延びる短尺状の突起部171を備え、このハンドル170を45゜回転させることで、吐出側逆止弁30の内部に収納したボール172を90゜回転させ、これによって、ボール172の内部に設けた直線状に延びる内部流路174を介して吐出側逆止弁30を開閉するようになっている。なお、ボール172の内部には、弁体176が収納され、一次側の圧力が高い時には、この弁体176が上昇し、二次側の圧力が高い時には、この弁体176が下降して、逆流を防止するようになっている。
【0044】
この吐出側逆止弁30の開閉に際しては、図20及び図21に示すように、ハンドル170とは別に、長尺状で、ハンドル170に差込み可能な矩形状の中空部178を有し、更に長手方向に沿った所定カ所に把手側を上方に位置させた段差部179を有する予備ハンドル180を用意する。そして、図22に示すように、この予備ハンドル180の端部をハンドル170の突起部171の一つに差込んでハンドル170を下方に所定角度回転させ、しかる後、予備ハンドル180を突起部171から引抜き、更にこの引抜いた突起部171の上方に位置する他の突起部171に予備ハンドル180の端部を差し込んでハンドル170を下方に所定角度回転させ、この2段階の操作でハンドル170を45゜回転させるようにしている。
【0045】
このように、予備ハンドル180の端部をハンドル170の突起部171の一つに差込んで所定角度回転させ、しかる後、予備ハンドル180を突起部171から引抜き、更にこの引抜いた予備ハンドル180をハンドル170の他の突起部171に差込んで回転させる操作を繰返すことで、広いスペースを必要とすることなく、逆止弁30のハンドルを回転させて逆止弁30を確実に開閉することができる。
【0046】
しかも、吐出側逆止弁30のハンドル170を小さくすることで、少ないスペースに吐出側逆止弁30を収納することができ、かつハンドル170を放射状に設けることで、吐出側逆止弁30のハンドル170の重心を吐出側逆止弁30寄りとなして、縦型ポンプ12a,12bの運転の際に発生する振動によりハンドル170が回転して吐出側逆止弁30の開度が変化してしまうことを防止し、しかも別途用意した附属の予備ハンドル180により、吐出側逆止弁30を容易かつ確実に開閉することができる。
【0047】
更に、この例にあっては、各縦型ポンプ12a,12bのメカニカルシールに漏水が発生しても、他の機器に水がかかるのを防止する漏水飛散防止金具182が各縦型ポンプ12a,12bにそれぞれ取付けられている。つまり、縦型ポンプ12a,12bのメカニカルシールは、経年変化で漏水することがあり、メンテナンス時にメカニカルシールを交換することが広く行われている。ポンプは、通常は開放状態で設置されるため、メカニカルシールより漏水してもさほど問題となることはない。しかしながら、この種のキャビネット型給水装置にあっては、キャビネット10の内部に、制御盤76等の電気部品も同一エリア内に収納されて配置されており、このため、メカニカルシールから漏れた水が制御盤76等に掛からないようにして、制御盤76等を保護する必要がある。
【0048】
このため、従来は制御盤との境目に鋼板を邪魔板として設置したり、メカ漏れセンサを取付けてメカニカルシールの水漏れ状態を水滴の有無で検知したりすることが行われていた。しかし、邪魔板を設置しただけでは信頼性に欠け、またメカ漏れセンサを取付けた場合は、結露による誤報やコストアップに繋がる不具合があった。
【0049】
そこで、この例にあっては、図23乃至図25に示すように、ポンプ部14とモータ部16とを繋ぎ内部にメカニカルシールを収容する吐出ブラケット184に切欠き186を設け、メカニカルシールに漏水が生じた時に、この水が切欠き186から外部に噴出するようにしている。そして、上部に平板状の取付け部188を、下部に吐出ブラケット184との間に下方のみに開口する集液部190を構成する集液板192をそれぞれ形成した漏水飛散防止金具182を、切欠き186を覆うようにボルト194を介して取付けることで、切欠き186から外部に噴出した水が漏水飛散防止金具182に案内されて、常に下方に滴下するようにしている。このように、メカニカルシールに漏水が生じた時に、この水が切欠き186から外部に噴出し、この切欠き186から外部に噴出した水が漏水飛散防止金具182に案内されて、常に下方に滴下するようにすることで、メカニカルシールから漏水した水が制御盤76等に掛かってしまうことを確実に防止することができる。
【0050】
これにより、簡便かつ低コストでメカニカルシールの漏水対策を施し、制御盤76等の電機部品に水がかかることを防止して該電気部品を保護し、しかも水漏れを1カ所に集中させることで、メカニカルシールに水漏れが発生したことを容易に判別することができる。
【0051】
【発明の効果】
以上説明したように、本発明によれば、ハンドルの外形をより小さくし、しかもハンドルの重心をより逆止弁本体寄りとして、ポンプ運転時の振動によってハンドルが移動(回転)し逆止弁の開度が変化してしまうことを防止することができる。また、ハンドルの突起部の一つに端部を差込んで該ハンドルを回転させる長尺状の予備ハンドルを更に有することで、広いスペースを必要とすることなく、逆止弁のハンドルを回転させて逆止弁を確実に開閉することができる。
【図面の簡単な説明】
【図1】本発明の実施の形態の給水装置のキャビネット内部の正面図である。
【図2】同じく、図1の左側面図である。
【図3】インバータケースをキャビネット内に収納した状態の斜視図である。
【図4】インバータケースをキャビネットから手前に引出した状態の斜視図である。
【図5】制御盤のキャビネット内への配置状態を示す斜視図である。
【図6】制御盤の上面に取付けた案内片に樹脂製マットを貼り付ける時の説明に付する図である。
【図7】制御盤の下面に樹脂製マットを貼り付ける時の説明に付する図である。
【図8】吸込管のキャビネットへの取付け状態を示す図である。
【図9】吐出集合管のキャビネットへの取付け状態を示す図である。
【図10】吸込ヘッダを示す正面図である。
【図11】吸込ヘッダの断面図である。
【図12】縦型ポンプの吸込ヘッダへの取付け状態を示す図である。
【図13】吐出エルボ管のフランジ部に縦型ポンプの吐出フランジを連結する前の状態を示す図である。
【図14】吐出エルボ管のフランジ部に縦型ポンプの吐出フランジを連結した後の状態を示す図である。
【図15】吐出エルボ管に縦型ポンプの吐出フランジを連結するのに使用する取付け金具の平面図である。
【図16】吐出エルボ管に縦型ポンプの吐出フランジを連結するのに使用する取付け金具の正面図である。
【図17】吐出エルボ管と吐出側逆止弁の側面図である。
【図18】吐出エルボ管と吐出側逆止弁の平面図である。
【図19】吐出エルボ管と吐出側逆止弁の断面図である。
【図20】予備ハンドルの正面図である。
【図21】予備ハンドルの端面図である。
【図22】予備ハンドルを吐出側逆止弁のハンドルに差込む時の説明に付する図である。
【図23】漏水飛散防止金具を縦型ポンプに取付ける時の説明に付する図である。
【図24】漏水飛散防止金具の正面図である。
【図25】漏水飛散防止金具の断面図である。
【符号の説明】
10 キャビネット
12a,12b 縦型ポンプ
14 ポンプ部
16 モータ部
18 吸込ヘッダ
22 吸込管
28 吐出エルボ管
30 吐出側逆止弁
34 吐出集合管
38 バイパスヘッダ
40 圧力タンク
46 吐出管
50 放熱フィン
52 ヒートシンク
54 インバータ装置
56 インバータケース
58 ヒンジ
72 冷却ファン
74 ファンカバー
76 制御盤
82a,82b,84 樹脂製マット
88 防振パッド
90,102 取付けフランジ
92,104 防振パッド
120 流路
122 連通部
124 ヘッダ本体
126a,126b 供給口
132a,132b 弁体
134a,134b 弁装置
136a,136b ハンドル
138,140 内部流路
142 フランジ部
144 吸込フランジ
150 吐出フランジ
152 フランジ部
154 長穴
158 取付け金具
164 金具本体
166 爪部
170 ハンドル
171 突起部
172 ボール
174 内部流路
176 弁体
180 予備ハンドル
182 漏水飛散防止金具
186 切欠き
190 集液部
192 集液板
Claims (4)
- 並行に配置された2台の縦型ポンプと、該縦型ポンプに接続される配管に設置される逆止弁とを備え、
前記逆止弁の該逆止弁をメンテナンス時に開閉するハンドルは、外部に露出して放射状に均等に延びる短尺状の突起部を有することを特徴とする給水装置。 - 前記縦型ポンプは、各機器を収納するキャビネットの前面側に配置され、前記逆止弁は、前記縦型ポンプの後方に配置される吐出側逆止弁であることを特徴とする請求項1記載の給水装置。
- 前記ハンドルの前記突起部の一つに端部を差込んで該ハンドルを回転させる長尺状の予備ハンドルを更に有することを特徴とする請求項1または2記載の給水装置。
- 前記予備ハンドルは、長さ方向に沿った途中に屈曲部を有することを特徴とする請求項3記載の給水装置。
Priority Applications (1)
| Application Number | Priority Date | Filing Date | Title |
|---|---|---|---|
| JP2002252133A JP3836059B2 (ja) | 2002-08-29 | 2002-08-29 | 給水装置 |
Applications Claiming Priority (1)
| Application Number | Priority Date | Filing Date | Title |
|---|---|---|---|
| JP2002252133A JP3836059B2 (ja) | 2002-08-29 | 2002-08-29 | 給水装置 |
Publications (2)
| Publication Number | Publication Date |
|---|---|
| JP2004092089A JP2004092089A (ja) | 2004-03-25 |
| JP3836059B2 true JP3836059B2 (ja) | 2006-10-18 |
Family
ID=32058486
Family Applications (1)
| Application Number | Title | Priority Date | Filing Date |
|---|---|---|---|
| JP2002252133A Expired - Fee Related JP3836059B2 (ja) | 2002-08-29 | 2002-08-29 | 給水装置 |
Country Status (1)
| Country | Link |
|---|---|
| JP (1) | JP3836059B2 (ja) |
Families Citing this family (3)
| Publication number | Priority date | Publication date | Assignee | Title |
|---|---|---|---|---|
| JP6857516B2 (ja) * | 2017-03-13 | 2021-04-14 | 株式会社荏原製作所 | 給水装置に配置されるバルブ、およびキャビネット型の給水装置 |
| JP7521989B2 (ja) * | 2020-09-23 | 2024-07-24 | 積水化学工業株式会社 | 脚部継手及び配管構造ならびに脚部継手の施工方法 |
| CN112502241A (zh) * | 2020-12-07 | 2021-03-16 | 吴仙亮 | 一种根据实时流量自动匹配合适水泵的供水设备及方法 |
-
2002
- 2002-08-29 JP JP2002252133A patent/JP3836059B2/ja not_active Expired - Fee Related
Also Published As
| Publication number | Publication date |
|---|---|
| JP2004092089A (ja) | 2004-03-25 |
Similar Documents
| Publication | Publication Date | Title |
|---|---|---|
| KR960010633B1 (ko) | 공기조화기 | |
| JP2011027328A (ja) | ガイド部材 | |
| EP1403591A1 (en) | Air conditioner | |
| JP4033740B2 (ja) | 給水装置の配管固定構造 | |
| JP2002071157A (ja) | 空気調和機 | |
| JP3836059B2 (ja) | 給水装置 | |
| JP4001528B2 (ja) | 給水装置 | |
| JP4076402B2 (ja) | 給水装置 | |
| KR20060101327A (ko) | 배수펌프 | |
| JP2004092088A (ja) | 給水装置 | |
| JP2004092438A (ja) | 給水装置 | |
| JP2004092435A (ja) | 給水装置 | |
| JP2010175213A (ja) | ドレンアップ装置及びこれを備えた空気調和機 | |
| EP1780473B1 (en) | Air conditioner | |
| JP7076957B2 (ja) | 給水装置 | |
| HK1110635A (en) | Water supplying device | |
| JP2004278965A (ja) | 空気調和機 | |
| CN116437644A (zh) | 一种冷凝水收集功能的机柜空调 | |
| JP2001050169A (ja) | 直結給水式給水装置 | |
| JP2004116868A (ja) | 空気調和機 | |
| JP2001050172A (ja) | 給水装置 | |
| JP3448357B2 (ja) | 空気調和機のドレン水処理装置 | |
| KR100863301B1 (ko) | 공기조화기의 조립용 모듈장치 | |
| KR980010168A (ko) | 이동식 에어콘 | |
| KR20090027354A (ko) | 공기조화기의 드레인호스 연결부 누수방지구조 |
Legal Events
| Date | Code | Title | Description |
|---|---|---|---|
| A621 | Written request for application examination |
Free format text: JAPANESE INTERMEDIATE CODE: A621 Effective date: 20041019 |
|
| A977 | Report on retrieval |
Free format text: JAPANESE INTERMEDIATE CODE: A971007 Effective date: 20060718 |
|
| TRDD | Decision of grant or rejection written | ||
| A01 | Written decision to grant a patent or to grant a registration (utility model) |
Free format text: JAPANESE INTERMEDIATE CODE: A01 Effective date: 20060725 |
|
| A61 | First payment of annual fees (during grant procedure) |
Free format text: JAPANESE INTERMEDIATE CODE: A61 Effective date: 20060725 |
|
| R150 | Certificate of patent or registration of utility model |
Free format text: JAPANESE INTERMEDIATE CODE: R150 Ref document number: 3836059 Country of ref document: JP Free format text: JAPANESE INTERMEDIATE CODE: R150 |
|
| FPAY | Renewal fee payment (event date is renewal date of database) |
Free format text: PAYMENT UNTIL: 20090804 Year of fee payment: 3 |
|
| FPAY | Renewal fee payment (event date is renewal date of database) |
Free format text: PAYMENT UNTIL: 20100804 Year of fee payment: 4 |
|
| FPAY | Renewal fee payment (event date is renewal date of database) |
Free format text: PAYMENT UNTIL: 20110804 Year of fee payment: 5 |
|
| R250 | Receipt of annual fees |
Free format text: JAPANESE INTERMEDIATE CODE: R250 |
|
| FPAY | Renewal fee payment (event date is renewal date of database) |
Free format text: PAYMENT UNTIL: 20110804 Year of fee payment: 5 |
|
| FPAY | Renewal fee payment (event date is renewal date of database) |
Free format text: PAYMENT UNTIL: 20120804 Year of fee payment: 6 |
|
| R250 | Receipt of annual fees |
Free format text: JAPANESE INTERMEDIATE CODE: R250 |
|
| FPAY | Renewal fee payment (event date is renewal date of database) |
Free format text: PAYMENT UNTIL: 20120804 Year of fee payment: 6 |
|
| FPAY | Renewal fee payment (event date is renewal date of database) |
Free format text: PAYMENT UNTIL: 20130804 Year of fee payment: 7 |
|
| R250 | Receipt of annual fees |
Free format text: JAPANESE INTERMEDIATE CODE: R250 |
|
| R250 | Receipt of annual fees |
Free format text: JAPANESE INTERMEDIATE CODE: R250 |
|
| R250 | Receipt of annual fees |
Free format text: JAPANESE INTERMEDIATE CODE: R250 |
|
| R250 | Receipt of annual fees |
Free format text: JAPANESE INTERMEDIATE CODE: R250 |
|
| R250 | Receipt of annual fees |
Free format text: JAPANESE INTERMEDIATE CODE: R250 |
|
| R250 | Receipt of annual fees |
Free format text: JAPANESE INTERMEDIATE CODE: R250 |
|
| R250 | Receipt of annual fees |
Free format text: JAPANESE INTERMEDIATE CODE: R250 |
|
| R250 | Receipt of annual fees |
Free format text: JAPANESE INTERMEDIATE CODE: R250 |
|
| R250 | Receipt of annual fees |
Free format text: JAPANESE INTERMEDIATE CODE: R250 |
|
| R250 | Receipt of annual fees |
Free format text: JAPANESE INTERMEDIATE CODE: R250 |
|
| LAPS | Cancellation because of no payment of annual fees |