JP3776445B2 - ディスクカートリッジ - Google Patents

ディスクカートリッジ Download PDF

Info

Publication number
JP3776445B2
JP3776445B2 JP2005205855A JP2005205855A JP3776445B2 JP 3776445 B2 JP3776445 B2 JP 3776445B2 JP 2005205855 A JP2005205855 A JP 2005205855A JP 2005205855 A JP2005205855 A JP 2005205855A JP 3776445 B2 JP3776445 B2 JP 3776445B2
Authority
JP
Japan
Prior art keywords
disk
cartridge
disc
shutter
shutters
Prior art date
Legal status (The legal status is an assumption and is not a legal conclusion. Google has not performed a legal analysis and makes no representation as to the accuracy of the status listed.)
Expired - Fee Related
Application number
JP2005205855A
Other languages
English (en)
Other versions
JP2005339794A (ja
Inventor
裕典 岡澤
輝之 滝沢
義人 佐治
邦子 中田
Current Assignee (The listed assignees may be inaccurate. Google has not performed a legal analysis and makes no representation or warranty as to the accuracy of the list.)
Panasonic Corp
Panasonic Holdings Corp
Original Assignee
Panasonic Corp
Matsushita Electric Industrial Co Ltd
Priority date (The priority date is an assumption and is not a legal conclusion. Google has not performed a legal analysis and makes no representation as to the accuracy of the date listed.)
Filing date
Publication date
Priority claimed from PCT/JP2002/000110 external-priority patent/WO2002056313A1/ja
Application filed by Panasonic Corp, Matsushita Electric Industrial Co Ltd filed Critical Panasonic Corp
Priority to JP2005205855A priority Critical patent/JP3776445B2/ja
Publication of JP2005339794A publication Critical patent/JP2005339794A/ja
Application granted granted Critical
Publication of JP3776445B2 publication Critical patent/JP3776445B2/ja
Anticipated expiration legal-status Critical
Expired - Fee Related legal-status Critical Current

Links

Images

Landscapes

  • Feeding And Guiding Record Carriers (AREA)

Description

本発明は、光ディスク、磁気ディスク等のディスク状の情報記録媒体を、回転可能な状態で収納するディスクカートリッジに関する。
従来より、ディスク状の情報記録媒体を保持するためのディスクカートリッジが提案されている。
例えば、特許文献1は、片面もしくは両面に情報記録面を有するディスク状の記録媒体(以下ディスクと称する)が、上ハーフおよび下ハーフからなるカートリッジ本体の内部に設けたディスク収納部の中に、完全に覆われた形で収納されるディスクカートリッジを開示している。このカートリッジ本体には、スピンドルモータのターンテーブルおよびクランパーがディスクをチャッキングするためのチャッキング開口部と、ヘッドがディスクに対して情報の再生および記録を行うためのヘッド開口部が形成されている。チャッキング開口部とヘッド開口部とは連なっており、カートリッジを携帯して搬送する際、これらの開口部から埃が侵入したりディスクに指紋が付着したりしやすい。このため、これらの開口部を覆うシャッタがディスクカートリッジに形成されている。
特開平9−153264号公報
しかし、この構造のディスクカートリッジの場合、ディスクカートリッジをディスク装置に挿入してディスクに対して記録再生を行うために、ディスク回転時の面ぶれ、ディスクの反り、およびカートリッジのディスク装置への位置決め誤差を許容するための空間を、上ハーフと下ハーフとの間に形成されるディスクを収納する空間に確保する必要が生じる。このため、カートリッジ本体の厚みが大きくなってしまうという問題点を有していた。
また、下ハーフにはスピンドルモータのターンテーブル用の開口部とヘッド開口部とが設けられ、上ハーフにはクランパー用の開口部が設けられているため、これらを同時に塞ぐためのシャッタは、上ハーフから下ハーフにかけて連なるコの字形状を備えている必要がある。しかし、このような形状のシャッタは高価であるため、ディスクカートリッジの製造コストを上昇させる結果となっていた。
さらに、金属ハブの付いたディスクの場合は磁力によりガタつきの無いように吸引することも可能であるが、CDやDVDといったハブの無い光ディスクの場合、一般にディスクはカートリッジ内で固定されずにフリーの状態にある。このため、ディスク装置内でシャッタが開き、開口部からカートリッジ内に侵入した埃がディスクに付着するという問題点も有していた。また、ディスクのガタつきによりディスクの情報記録面が傷ついたり、ディスクとカートリッジ内壁との衝突により、粉塵を生じ、その粉塵がディスクに付着するという問題点も有していた。
本発明は上記課題を解決し、特に片面のみに記録面を有するディスクを収納するカートリッジにおいて、厚みを薄くし、シンプルなシャッタ構成としてディスクカートリッジのコストを低減することを目的とする。また、ディスクをディスクカートリッジ内で保持しガタつきを無くし、ディスクへの埃の付着を低減し、さらに露出したディスクレーベル面を利用することによりデザイン的に優れたディスクカートリッジを提供することを目的とする。
本発明のディスクカートリッジは、第1および第2の面を有するディスクを回転可能な状態で、かつ、前記ディスクの第1の面を外部に露出するように収納するディスク収納部と、前記ディスク収納部の底部に設けられており、前記ディスクを外部からチャッキングするためのチャッキング開口部および前記ディスクの第2の面に対して情報の再生および記録の少なくとも一方を行うヘッドがアクセスするためのヘッド開口部とを含むカートリッジ本体と、前記チャッキング開口部および前記ヘッド開口部を外部に対して開放または閉塞するように、前記ディスクの第2の面と前記ディスク収納部の底部との間において、前記カートリッジ本体に対して移動可能なように支持されており、閉塞状態において、前記ディスクのセンタホールに対応する領域に孔を有するシャッタと、前記シャッタに設けられており、前記シャッタが前記チャッキング開口部および前記ヘッド開口部を閉塞する際、前記シャッタに対して前記ディスクを押し付けて前記ディスクを保持するディスク保持部とを備える。
ある好ましい実施形態において、前記シャッタに設けられた前記孔は前記ディスクのセンタホールとおおよそ同じ直径を備えている。
また、本発明のディスクカートリッジは、第1および第2の面を有するディスクを回転可能な状態で、かつ、前記ディスクの第1の面を外部に露出するように収納するディスク収納部と、前記ディスク収納部の底部に設けられており、前記ディスクを外部からチャッキングするためのチャッキング開口部および前記ディスクの第2の面に対して情報の再生および記録の少なくとも一方を行うヘッドがアクセスするためのヘッド開口部とを含むカートリッジ本体と、前記チャッキング開口部および前記ヘッド開口部を外部に対して開放または閉塞するように、前記ディスクの第2の面と前記ディスク収納部の底部との間において、前記カートリッジ本体に対して移動可能なように支持されているシャッタと、前記シャッタに設けられており、前記シャッタが前記チャッキング開口部および前記ヘッド開口部を閉塞する際、前記シャッタに対して前記ディスクを押し付けて前記ディスクを保持するディスク保持部と、前記ディスク収納部の内側側面からディスクの中心へ向かって張り出し、かつ、前記シャッタが閉塞状態では前記ディスクの外縁部と当接する鍔とを備える。
ある好ましい実施形態において、 前記シャッタが、閉塞状態において、前記ディスクのセンタホールに対応する領域に孔を有する。
ある好ましい実施形態において、前記鍔は前記ディスクの第2の面と当接する。
ある好ましい実施形態において、前記シャッタが前記チャッキング開口部および前記ヘッド開口部を外部に対して開放する状態において、前記鍔と前記ディスク収納部の内側下面との間に前記シャッタの一部を収納する空隙を前記カートリッジ本体が備えている。
ある好ましい実施形態において、前記シャッタが前記チャッキング開口部および前記ヘッド開口部を外部に対して閉塞する状態において、前記ディスクの第2の面に接触する凸部を前記シャッタの前記孔の周囲に有する。
ある好ましい実施形態において、前記シャッタが閉塞した状態において前記ディスクの第2の面と前記シャッタと空隙を埋める凸部を前記シャッタに有する。
ある好ましい実施形態において、前記凸部は、前記シャッタが前記チャッキング開口部および前記ヘッド開口部を外部に対して開放する状態において、前記鍔よりも前記ディスク収納部の中心側に位置する領域に設けられている。
ある好ましい実施形態において、前記凸部は、前記ディスクの第2の面への傷つきを防止する保護層である。
ある好ましい実施形態において、前記鍔上に前記ディスクの第2の面への傷つきを防止する保護層が設けられている。
ある好ましい実施形態において、前記保護層は、傷つき防止用不織布、防塵用不織布、傷つき防止用コーティング層および防塵用コーティング層の中から選ばれる1つである。
ある好ましい実施形態において、前記凸部は前記シャッタと一体に形成されている。
また、本発明のディスクカートリッジは、第1および第2の面を有するディスクを回転可能な状態で、かつ、前記ディスクの第1の面を外部に露出するように収納するディスク収納部と、前記ディスク収納部の底部に設けられており、前記ディスクを外部からチャッキングするためのチャッキング開口部および前記ディスクの第2の面に対して情報の再生および記録の少なくとも一方を行うヘッドがアクセスするためのヘッド開口部とを含むカートリッジ本体と、前記チャッキング開口部および前記ヘッド開口部を外部に対して開放または閉塞するように、前記ディスクの第2の面と前記ディスク収納部の底部との間において、前記カートリッジ本体に対して移動可能なように支持された1対のシャッタと、前記シャッタに設けられており、前記シャッタが前記チャッキング開口部および前記ヘッド開口部を閉塞する際、前記シャッタに対して前記ディスクを押し付けて前記ディスクを保持するディスク保持部とを備え、前記ヘッド開口部は前記カートリッジ本体の側面に達して設けられており、前記シャッタを開閉するために前記シャッタに設けられた操作部を前記ヘッド開口部内に有する。
また、本発明のディスクカートリッジは、第1および第2の面を有するディスクを回転可能な状態で、かつ、前記ディスクの第1の面を外部に露出するように収納するディスク収納部と、前記ディスク収納部の底部に設けられており、前記ディスクを外部からチャッキングするためのチャッキング開口部および前記ディスクの第2の面に対して情報の再生および記録の少なくとも一方を行うヘッドがアクセスするためのヘッド開口部とを含むカートリッジ本体と、前記チャッキング開口部および前記ヘッド開口部を外部に対して開放または閉塞するように、前記ディスクの第2の面と前記ディスク収納部の底部との間において、前記カートリッジ本体に対して移動可能なように支持された一対のシャッタと、前記シャッタに設けられており、前記シャッタが前記チャッキング開口部および前記ヘッド開口部を閉塞する際、前記シャッタに対して前記ディスクを押し付けて前記ディスクを保持するディスク保持部とを備え、前記一対のシャッタは互いに当接する第1および第2の接合面をそれぞれ有し、前記第1および第2の接合面は一直線上にない。
ある好ましい実施形態において、前記第1および第2の接合面は前記ディスクの厚み方向に対して傾いており、互いに重畳している。
また、本発明のディスクカートリッジは、第1および第2の面を有するディスクを回転可能な状態で、かつ、前記ディスクの第1の面を外部に露出するように収納するディスク収納部と、前記ディスク収納部の底部に設けられており、前記ディスクを外部からチャッキングするためのチャッキング開口部および前記ディスクの第2の面に対して情報の再生および記録の少なくとも一方を行うヘッドがアクセスするためのヘッド開口部とを含むカートリッジ本体と、前記チャッキング開口部および前記ヘッド開口部を外部に対して開放または閉塞するように、前記ディスクの第2の面と前記ディスク収納部の底部との間において、前記カートリッジ本体に対して移動可能なように支持された一対のシャッタと、前記シャッタに設けられており、前記シャッタが前記チャッキング開口部および前記ヘッド開口部を閉塞する際、前記シャッタに対して前記ディスクを押し付けて前記ディスクを保持する複数のディスク保持部とを備え、前記複数のディスク保持部の少なくとも1つは、前記一対のシャッタの一方に対して前記ディスク収納部の中心へ向かう方向に移動可能である。
また、本発明のディスクカートリッジは、第1および第2の面を有するディスクを回転可能な状態で、かつ、前記ディスクの第1の面を外部に露出するように収納するディスク収納部と、前記ディスク収納部の底部に設けられており、前記ディスクを外部からチャッキングするためのチャッキング開口部および前記ディスクの第2の面に対して情報の再生および記録の少なくとも一方を行うヘッドがアクセスするためのヘッド開口部とを含むカートリッジ本体と、前記チャッキング開口部および前記ヘッド開口部を外部に対して開放または閉塞するように、前記ディスクの第2の面と前記ディスク収納部の底部との間において、前記カートリッジ本体に対して移動可能なように支持された一対のシャッタと、前記シャッタに設けられており、前記シャッタが前記チャッキング開口部および前記ヘッド開口部を閉塞する際、前記シャッタに対して前記ディスクを押し付けて前記ディスクを保持する逆テーパー状の斜面を有する複数のディスク保持部と、前記ディスク収納部から前記ディスクが脱落するのを防止するためのディスク当接面を有し、前記ディスク上方に突出するよう前記カートリッジ本体に設けられた複数の脱落防止部材とを備え、前記ディスク保持部の斜面の一部が前記脱落防止部材の当接面よりも上方に位置している。
ある好ましい実施形態において、前記一対のシャッタが、閉塞状態において互いにロックされる。
ある好ましい実施形態において、前記一対のシャッタが閉塞している状態において、前記一対のシャッタの位置を規制するためのシャッタ当接部を更に有する。
また、本発明のディスクカートリッジは、第1および第2の面を有するディスクを回転可能な状態で、かつ、前記ディスクの第1の面を外部に露出するように収納するディスク収納部と、前記ディスク収納部の底部に設けられており、前記ディスクを外部からチャッキングするためのチャッキング開口部および前記ディスクの第2の面に対して情報の再生および記録の少なくとも一方を行うヘッドがアクセスするためのヘッド開口部とを含むカートリッジ本体と、前記チャッキング開口部および前記ヘッド開口部を外部に対して開放または閉塞するように、前記ディスクの第2の面と前記ディスク収納部の底部との間において、前記カートリッジ本体に対して移動可能なように支持された一対のシャッタと、前記シャッタに設けられており、前記シャッタが前記チャッキング開口部および前記ヘッド開口部を閉塞する際、前記シャッタに対して前記ディスクを押し付けて前記ディスクを保持する複数のディスク保持部とを備え、前記ディスク保持部は、第1の高さを有する第1の領域と、第1の高さよりも低い第2の高さを有する第2の領域とを備えており、前記カートリッジ本体の上面において、前記シャッタの開閉時に前記ディスク保持部の第1の領域が通過する領域は、前記第1の領域の先端部分を受けるよう窪んでおり、前記第2の領域が通過する領域よりも薄くなっている。
ある好ましい実施形態において、前記第1の領域は、前記シャッタが閉じるときに、前記第2の領域よりも早く前記ディスクに当接する請求項21に記載のディスクカートリッジ。
また、本発明のディスクカートリッジは、第1および第2の面を有するディスクを回転可能な状態で、かつ、前記ディスクの第1の面を外部に露出するように収納し、前記ディスクを出し入れするディスク開口部を有するディスク収納部と、前記ディスク収納部の底部に設けられており、前記ディスクを外部からチャッキングするためのチャッキング開口部および前記ディスクの第2の面に対して情報の再生および記録の少なくとも一方を行うヘッドがアクセスするためのヘッド開口部とを含むカートリッジ本体と、前記チャッキング開口部および前記ヘッド開口部を外部に対して開放または閉塞するように、前記ディスクの第2の面と前記ディスク収納部の底部との間において、前記カートリッジ本体に対して移動可能なように支持された一対のシャッタと、前記シャッタに設けられており、前記シャッタが前記チャッキング開口部および前記ヘッド開口部を閉塞する際、前記シャッタに対して前記ディスクを押し付けて前記ディスクを保持する複数のディスク保持部と、前記ディスク開口部へ突出した状態と前記ディスク開口部へ突出しない状態とをとり得るように前記カートリッジ本体に移動可能な状態で保持されている脱落防止部材とを備える。
ある好ましい実施形態において、前記脱落防止部材は、前記カートリッジ本体の上面に対して平行な面において移動し得る。
ある好ましい実施形態において、前記脱落防止部材は、前記カートリッジ本体の上面において、回転しうる。
また、本発明のディスクカートリッジは、第1および第2の面を有するディスクを回転可能な状態で、かつ、前記ディスクの第1の面を外部に露出するように収納するディスク収納部と、前記ディスク収納部の底部に設けられており、前記ディスクを外部からチャッキングするためのチャッキング開口部および前記ディスクの第2の面に対して情報の再生および記録の少なくとも一方を行うヘッドがアクセスするためのヘッド開口部とを含むカートリッジ本体と、前記チャッキング開口部および前記ヘッド開口部を外部に対して開放または閉塞するように、前記ディスクの第2の面と前記ディスク収納部の底部との間において、前記カートリッジ本体に対して移動可能なように支持された一対のシャッタと、前記シャッタに設けられており、前記シャッタが前記チャッキング開口部および前記ヘッド開口部を閉塞する際、前記シャッタに対して前記ディスクを押し付けて前記ディスクを保持する複数のディスク保持部と、前記シャッタが閉塞してディスクが保持されているときに、ディスクの前記第2の面の外周部と接するよう前記ディスク収納部の内側下面の内周に設けられたディスク受け部とを備える。
ある好ましい実施形態において、前記ディスク受け部は、少なくとも前記ディスク収納部の内側下面と平行な領域を有し、ディスクの他方の面と接する。
ある好ましい実施形態において、前記ディスク受け部は、前記ディスク収納部の内側側面と内側下面とに渡って設けられたテーパーであり、前記シャッタが閉塞してディスクが保持されているときに、ディスクの外周のエッジが前記ディスク受け部に当接する。
また、本発明のディスクカートリッジは、第1および第2の面を有するディスクを回転可能な状態で、かつ、前記ディスクの第1の面を外部に露出するように収納するディスク収納部と、前記ディスク収納部の底部に設けられており、前記ディスクを外部からチャッキングするためのチャッキング開口部および前記ディスクの第2の面に対して情報の再生および記録の少なくとも一方を行うヘッドがアクセスするためのヘッド開口部とを含むカートリッジ本体と、前記チャッキング開口部および前記ヘッド開口部を外部に対して開放または閉塞するように、前記ディスクの第2の面と前記ディスク収納部の底部との間において、前記カートリッジ本体に対して移動可能なように支持された一対のシャッタと、前記シャッタに設けられており、前記シャッタが前記チャッキング開口部および前記ヘッド開口部を閉塞する際、前記シャッタに対して前記ディスクを押し付けて前記ディスクを保持する複数のディスク保持部とを備え、前記シャッタの開閉時に、前記ディスク保持部の底部が通過する第1の領域を前記カートリッジ本体の内側下面は含んでおり、前記第1の領域は凹部になっている。
また、本発明のディスクカートリッジは、第1および第2の面を有するディスクを回転可能な状態で、かつ、前記ディスクの第1の面を外部に露出するように収納するディスク収納部と、前記ディスク収納部の底部に設けられており、前記ディスクを外部からチャッキングするためのチャッキング開口部および前記ディスクの第2の面に対して情報の再生および記録の少なくとも一方を行うヘッドがアクセスするためのヘッド開口部とを含むカートリッジ本体と、前記チャッキング開口部および前記ヘッド開口部を外部に対して開放または閉塞するように、前記ディスクの第2の面と前記ディスク収納部の底部との間において、前記カートリッジ本体に対して移動可能なように支持された一対のシャッタと、前記シャッタに設けられており、前記シャッタが前記チャッキング開口部および前記ヘッド開口部を閉塞する際、前記シャッタに対して前記ディスクを押し付けて前記ディスクを保持する複数のディスク保持部とを備え、前記シャッタの閉塞時に、前記シャッタの外周近傍に位置する第2の領域を前記カートリッジ本体の内側下面は含んでおり、前記第2の領域は凹部になっている。
また、本発明のディスクカートリッジは、第1および第2の面を有するディスクを回転可能な状態で、かつ、前記ディスクの第1の面を外部に露出するように収納するディスク収納部と、前記ディスク収納部の底部に設けられており、前記ディスクを外部からチャッキングするためのチャッキング開口部および前記ディスクの第2の面に対して情報の再生および記録の少なくとも一方を行うヘッドがアクセスするためのヘッド開口部とを含むカートリッジ本体と、前記チャッキング開口部および前記ヘッド開口部を外部に対して開放または閉塞するように、前記ディスクの第2の面と前記ディスク収納部の底部との間において、前記カートリッジ本体に対して移動可能なように支持された一対のシャッタと、前記シャッタに設けられており、前記シャッタが前記チャッキング開口部および前記ヘッド開口部を閉塞する際、前記シャッタに対して前記ディスクを押し付けて前記ディスクを保持する複数のディスク保持部とを備え、前記チャッキング開口部および前記ヘッド開口部の周辺ならびに/または、前記ディスク収納部の内側側面近傍に位置する第3の領域を前記カートリッジ本体の内側下面は含んでおり、前記第3の領域は凹部になっている。
また、本発明のディスクカートリッジは、第1および第2の面を有するディスクを回転可能な状態で、かつ、前記ディスクの第1の面を外部に露出するように収納するディスク収納部と、前記ディスク収納部の底部に設けられており、前記ディスクを外部からチャッキングするためのチャッキング開口部および前記ディスクの第2の面に対して情報の再生および記録の少なくとも一方を行うヘッドがアクセスするためのヘッド開口部とを含むカートリッジ本体と、前記チャッキング開口部および前記ヘッド開口部を外部に対して開放または閉塞するように、前記ディスクの第2の面と前記ディスク収納部の底部との間において、前記カートリッジ本体に対して移動可能なように支持されたシャッタと、前記シャッタに設けられており、前記シャッタが前記チャッキング開口部および前記ヘッド開口部を閉塞する際、前記シャッタに対して前記ディスクを押し付けて前記ディスクを保持する複数のディスク保持部と、前記シャッタを開放または閉塞するための第1および第2の操作部とを備える。
ある好ましい実施形態において、前記第1および第2の操作部は、前記カートリッジ本体の第1および第2の側面にそれぞれ設けられている。
ある好ましい実施形態において、前記第1および第2の側面は隣接している。
ある好ましい実施形態において、前記第1の操作部は前記シャッタに接続された突起で
あって、前記第1の操作部を前記第1の側面の一部に沿ってスライドさせることにより前記シャッタを開閉し得る。
ある好ましい実施形態において、前記第2の操作部は前記シャッタに係合された回転部材であって、前記第2の操作部を回転させることにより前記シャッタを開閉し得る。
ある好ましい実施形態において、前記第2の操作部は前記シャッタに係合されたスライドリンク部材であって、前記第2の操作部を前記第2の側面に沿ってスライドさせることにより前記シャッタを開閉し得る。
ある好ましい実施形態において、前記第2の操作部は前記シャッタに接続されたベルト部材であって、前記第2の操作部を前記第2の側面に沿ってスライドさせることにより前記シャッタを開閉し得る。
ある好ましい実施形態において、前記シャッタを一対含む。
ある好ましい実施形態において、前記第1および第2の操作部は前記一対のシャッタの
それぞれ接続または係合されている。
また、本発明のディスクカートリッジは、第1および第2の面を有するディスクを回転可能な状態で、かつ、前記ディスクの第1の面を外部に露出するように収納するディスク収納部と、前記ディスク収納部の底部に設けられており、前記ディスクを外部からチャッキングするためのチャッキング開口部および前記ディスクの第2の面に対して情報の再生および記録の少なくとも一方を行うヘッドがアクセスするためのヘッド開口部とを含むカートリッジ本体と、前記チャッキング開口部および前記ヘッド開口部を外部に対して開放または閉塞するように、前記ディスクの第2の面と前記ディスク収納部の底部との間において、前記カートリッジ本体に対して移動可能なように支持された一対のシャッタと、前記シャッタに設けられており、前記シャッタが前記チャッキング開口部および前記ヘッド開口部を閉塞する際、前記シャッタに対して前記ディスクを押し付けて前記ディスクを保持する複数のディスク保持部と、前記シャッタが閉塞した状態で前記ディスクが回転するのを防止するために、前記複数のディスク保持部の少なくとも1つに設けられた、回転防止部材とを備える。
ある好ましい実施形態において、前記回転防止部材は摩擦係数の高い材料からなり、前記シャッタが閉塞した状態で前記ディスクに当接するよう前記複数のディスク保持部の少なくとも1つに設けられている。
ある好ましい実施形態において、前記回転防止部材はゴムからなる。
また、本発明のディスクカートリッジは、ディスク開口部を有し、第1および第2の面を有するディスクを回転可能な状態で、かつ、前記ディスクディスク開口部から前記第1の面を外部に露出するように収納するディスク収納部と、前記ディスク収納部の底部に設けられており、前記ディスクを外部からチャッキングするためのチャッキング開口部および前記ディスクの第2の面に対して情報の再生および記録の少なくとも一方を行うヘッドがアクセスするためのヘッド開口部とを含むカートリッジ本体と、前記チャッキング開口部および前記ヘッド開口部を外部に対して開放または閉塞するように、前記ディスクの第2の面と前記ディスク収納部の底部との間において、前記カートリッジ本体に対して移動可能なように支持された1対のシャッタと、前記シャッタに設けられており、前記シャッタが前記チャッキング開口部および前記ヘッド開口部を閉塞する際、前記シャッタに対して前記ディスクを押し付けて前記ディスクを保持する複数のディスク保持部と、前記ディスク開口部へ少なくともその一部が突出するように前記カートリッジ本体に設けられた少なくとも1つの脱落防止部材とを備え、前記ヘッド開口部は前記カートリッジ本体の側面に達して設けられており、前記シャッタを開閉するために前記シャッタに設けられた操作部を前記ヘッド開口部内に有する。
ある好ましい実施形態において、前記一対のシャッタは互いに当接する第1および第2の接合面をそれぞれ有し、前記第1および第2の接合面は一直線上にない。
ある好ましい実施形態において、前記第1および第2の接合面は前記ディスクの厚み方向に対して傾いており、互いに重畳している。
ある好ましい実施形態において、前記一対のシャッタのうちの一方の前記第1の接合面は他方の前記第1の接合面よりも上に位置しており、前記一方の第2の接合面は前記他方の第2の接合面よりも下に位置している。
ある好ましい実施形態において、前記一対シャッタは、閉塞状態において、前記ディスクのセンタホールに対応する領域に孔を有する。
ある好ましい実施形態において、前記一対シャッタに設けられた孔は、前記ディスクのセンタホールとおおよそ同じ直径である。
ある好ましい実施形態において、前記複数のディスク保持部は、前記一対のシャッタのそれぞれ両端に設けられており、各ディスク保持部は、逆テーパー状の斜面を有している。
ある好ましい実施形態において、前記複数のディスク保持部のうち、少なくとも1つは、前記ディスクの中心に向かう方向へ移動可能なように設けられている。
ある好ましい実施形態において、前記複数のディスク保持部のそれぞれは、第1の高さを有する第1の領域と、第1の高さよりも低い第2の高さを有する第2の領域とを含んでおり、前記カートリッジ本体の内側上面において、前記シャッタの開閉時に前記ディスク保持部の第1の領域が通過する領域は、前記第1の領域の先端部分を受けるよう窪んでおり、前記第2の領域が通過する領域よりも薄くなっている。
ある好ましい実施形態において、前記第1の領域は、前記シャッタが閉じるときに、前記第2の領域よりも早く前記ディスクに当接する。
ある好ましい実施形態において、前記脱落防止部材はディスクと当接する当接面を有し、前記複数のディスク保持部の少なくとも1つの前記斜面は、その一部が前記脱落防止部材の当接面よりも上方に位置している。
ある好ましい実施形態において、前記一対のシャッタは、前記ディスクカートリッジ本体に設けられた一対の回動軸に対してそれぞれ回動する。
ある好ましい実施形態において、前記一対のシャッタは、互いに連動しながら開閉する連動部をそれぞれ有する。
ある好ましい実施形態において、前記一対のシャッタを閉塞した状態に保つように付勢する弾性部材を更に備える。
また、本発明のディスクドライブ装置は、ディスクを回転させるための駆動手段と、前記ディスクに対して情報を記録すること、および/または、前記ディスクから情報を再生することを行うヘッドと、前記ディスクを収納した上記ディスクカートリッジを前記駆動手段に対して所定の位置において支持する支持構造と、前記ディスクカートリッジのシャッタを開放し、前記ディスクを前記ディスクカートリッジのディスク収納部内で回転し得るように前記ディスクカートリッジのディスク保持部またはディスク押さえに前記ディスクの保持動作を解除させるシャッタ開閉機構とを備える。
ある好ましい実施形態において、ディスクドライブ装置は、前記ディスクを駆動手段に固定するためのクランパーを更に備える。
ある好ましい実施形態において、前記支持構造は、前記ディスクカートリッジの位置を決定するための位置決めピンを有する。
本発明のディスクカートリッジによれば、特に片面のみに記録面を有するディスクを収納するのに適している。カートリッジ本体がディスクの情報記録面のみを覆い、片面を露出させる構造を備えることにより、カートリッジの厚みを小さくできる。また、シャッタを、ディスクカートリッジの片側のみを覆う形状にすることによって、構造の簡素化を図り、シャッタのコストを低下させることができる。また、ディスク保持部あるいはディスク保持部材がディスクをシャッタあるいはカートリッジ本体に押し付けて保持するので、カートリッジ本体内においてディスクがガタつくことを防止でき、ディスクの情報記録面への埃等の付着も防止できる。加えてディスク開口部に露出したディスクレーベル面を利用することによりデザイン的に優れる。
したがって、本発明によれば、薄型で、防塵性が高く、デザインに優れ、種々のドライブ装置に使用可能なディスクカートリッジが提供される。
(第1の実施形態)
以下、本発明の第1の実施形態に係わるディスクカートリッジ301について、その全体構成をディスク100と共に斜め上方から示した斜視図である図1、斜め下方から示す図2、及びこれを分解した状態を示す各パーツの斜視図である図3とを参照しながら説明する。
なお、ディスク100は、第1および第2の面を備えており、図1では、第1の面であり、通常ディスクのラベル等が描かれている面が示されている。ディスク100の第2の面である情報記録面100Aは、図3において裏面として示されている。
図1に示すように、ディスクカートリッジ301は、カートリッジ下体11、カートリッジ上体12、ディスク保持部材13、14およびシャッタ21を含む。
図3に示すように、カートリッジ下体11は、外部からディスク100を回転させるためのスピンドルモータ等のチャッキング部材が侵入できるよう開口したチャッキング開口部11cと、ディスク100の情報記録面100Aに対して情報の再生および記録の少なくとも一方を行うヘッドが侵入し、アクセスできるよう開口したヘッド開口部11hとを有する。また、ディスクドライブ装置の一対のカートリッジ位置決めピン210と嵌合してディスクドライブ装置に対するディスクカートリッジ301の位置決めを行う一対の位置決め孔11wを有する。カートリッジ下体11は、ディスク100の情報記録面100Aと対向する。
カートリッジ上体12は、ディスク100の出し入れが可能であり、ディスクの上面を露出するようにディスク100の全投影領域を開口する円形のディスク開口部12wを有する。カートリッジ上体12とカートリッジ下体11とは外縁部で接着もしくは溶着されてカートリッジ本体10を構成している。
カートリッジ下体11のディスク100の情報記録面100Aと向かい合う第1の内側面11uと、カートリッジ上体12のディスク開口部12wを構成する略円筒状の第2の内側面12iとにより、ディスク100を収納するディスク収納部10d(図1)が構成される。これにより、第1の内側面11uがディスク収納部10dの底部となる。カートリッジ下体11の第1の内側面11uには、ディスク100への傷つきもしくは情報記録面100Aへの埃塵の侵入を防止する保護層11pが設けられている。
保護層11pは、傷つき防止用不織布、防塵用不織布、傷つき防止用コーティング層、および防塵用コーティング層から適宜選択することができる。本実施形態では、防塵用不織布からなるシートを保護層11pとして貼着もしくは超音波溶着させている。
ディスク収納部10dにおいて、第2の内側面12iとディスク100との間にはディスク100が回転可能な程度の空間が設けられる。また、ディスク収納部10dの上部はディスク開口部12wになっており、ディスク収納部10dに保持されたディスク100は、その片面をディスク開口部12wから外部に露出する。
図3に示すように、ディスク保持部材13は、一対の弾性部13dと、斜めに貫通した穴部13wを有しており、ディスクカートリッジ301は、同一の形状を有するディスク保持部材13を2つ備える。ディスク保持部材13の弾性部13dがカートリッジ上体12とカートリッジ下体11とで挟まれることにより、ディスク保持部材13の先端は矢印13B方向に付勢され、これにより、ディスク100を第1の内側面11uに押し付けている。またこの一対のディスク保持部材13は、それぞれ一対の位置決め孔11wの真上に穴部13wがほぼ位置するよう配置されている。
ディスク保持部材14は、回動軸14sと弾性部14dとを有する。回転軸14s周りの回転可能なようにディスク保持部材14はカートリッジ本体10に固定され、弾性部14dがカートリッジ上体12とカートリッジ下体11とで挟まれることにより、ディスク保持部材14の先端は矢印14B方向に付勢される。これにより、ディスク100を第1の内側面11uに押し付けている。
シャッタ21は、ディスク100の情報記録面100Aと向かい合うようカートリッジ下体11の外側に設けられている。図1および2に示すように、矢印21Aまたは21B方向にシャッタが移動して、チャッキング開口部11cおよびヘッド開口部11hを外部に対して開放または閉塞する。シャッタバネ31は、シャッタ21とカートリッジ本体10との間に張架され、シャッタ21を閉じる方向に付勢している。
図2に示すように、カートリッジ本体10(カートリッジ下体11)の表面には、収納されるディスク100に書き込まれた内容などを記述することのできるラベル面または凹部10fが設けられている。また、カートリッジ本体10の左右に設けた一対の凹部10cは、ドライブ装置がディスクカートリッジ301を引き込みローディングする際の、あるいはディスクカートリッジ301がチェンジャに収納された場合の、引き込み用の係止もしくは位置決め用の凹みとして用いることができる。また、片側だけに設けた凹部10gは誤挿入防止形状であり、ディスクカートリッジ301が正しい方向に挿入された場合のみドライブ装置に設けた凸部と正常にはまり合う。一方、ディスクカートリッジ301を間違って上下あるいは前後反対向けにディスクドライブ装置へ挿入した場合、互いに干渉して正常に挿入することができない。これにより誤挿入を防止することができる。
ここでディスク保持部材13および14によるディスク100の保持動作について図4、図5を用いてさらに詳しく説明する。図4および図5はそれぞれ、図1から図3に示すディスク100が保持された状態におけるディスク保持部材13およびディスク保持部材14のディスク半径方向の断面図である。
図4および図5に示すように、ディスク保持部材13および14の先端には、ディスク投影領域上であってディスク100の外周上方に張り出すように傾斜した斜面13’および14’が設けられている。弾性部13dおよび14dによって矢印13Bおよび14B方向にそれぞれ付勢されたディスク保持部材13および14は、斜面13’および14’をディスク100の外周の稜100cに当接させ、ディスク100を把持すると共にディスク100を厚み方向100tへ押圧し、シート11pに情報記録面100Aを面接触させる。これにより、ディスク100をカートリッジ本体10に保持固定する。この状態ではディスク100の情報記録面100Aの外周部分はシート11pに密着しているため、情報記録面100Aへの埃塵の付着が防止できる。
次に、ディスク保持部材13および14によるディスク100の解放動作について図6、7および8を用いてさらに詳しく説明する。
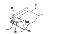
図6は、カートリッジ上体12とディスク100を取り除いたディスクカーットリッジの斜視図である。図6において、シャッタ21は、L字形状部21sを図示しないディスクドライブ装置のシャッタ開放機構によって矢印21A方向に押されており、その結果、チャッキング開口部11cおよびヘッド開口部11hを外部に対して開放している。また、ディスクドライブ装置の一対のカートリッジ位置決めピン210がカートリッジ本体10の位置決め孔11wと嵌合している。
また図7は図6の状態におけるディスク保持部材13のディスク半径方向の断面図であり、図8は図6の状態におけるディスク保持部材14とシャッタ21の関係を示す要部拡大図である。
ディスク保持部材13では、図7に示すように、位置決め孔11wからディスクドライブ装置のカートリッジ位置決めピン210が挿入されると、ディスク保持部材13の斜めに貫通した穴部13wにカートリッジ位置決めピン210が嵌合する。このため、ディスク保持部材13は13A方向に持ち上げられ、ディスク100は斜面13’による圧接から開放されフリーの状態になる。この時、ディスク保持部材13の先端の庇13eは、依然としてディスク投影領域にあるディスク外周上に張り出している。したがって、ディスク100が垂直になるよう構成されたディスクドライブ装置においてディスク開放状態になったときでも、ディスクカートリッジ301からディスク100が脱落するのを防止することができる。
ディスク保持部材14では、図8に示すように、シャッタ21が開放状態になったとき、シャッタ上に設けられたガイドリブ21xがディスク保持部材14の凹部14wに入り込み凹部14wの天井を押し上げる。これにより、ディスク保持部材14は14A方向に持ち上げられ、ディスク100は斜面14’による圧接から開放されフリーの状態になる。この時、ディスク保持部材14の先端の庇14eは依然としてディスク投影領域上であるディスク外周上に張り出している。このため、ディスク100が垂直になるよう構成されたディスクドライブ装置において、ディスクが解放状態になったときでも、ディスクカートリッジ301からディスク100が脱落するのを防止することができる。
また強制的にディスクを取り出そうとすれば、ディスク保持部材14と一対のディスク保持部材13のあわせて3カ所を同時に解除して取り出さねばならない。このため、操作者による安易なディスクの取り外しも防止できる。
なお、本実施形態において、図2に示すようにシャッタ21のディスク100と対向する側の端部21rにブラシもしくは塵埃払拭材を設け、シャッタ21の開放動作に伴ってディスク100の情報記録面100A上の塵埃を除去してもよい。また、ディスクを保持した状態でディスク保持部材をカートリッジ本体10に固定支持するロック機構を有していてもよい。
(第2の実施形態)
本発明の第2の実施形態に係わるディスクカートリッジ302について、ディスク100を保持した状態の全体構成を示す平面図である図9およびディスク100を開放した状態の全体構成を示す平面図である図10を参照しながら説明する。図9および図10において、第1の実施形態と同じ構成要素には同一の番号を付して説明を省略する。
ディスクカートリッジ302は第1の実施形態のディスクカートリッジ301とディスク保持部材が異なっており、図9に示すように、ディスクカートリッジ302は、矢印15Aまたは15B方向にスライドするそれぞれ一対のディスク保持部材15、16を備える。
各ディスク保持部材15は弾性部15dを有し、弾性部15dにより矢印15B方向に付勢され、第1の実施形態におけるディスク保持部材13、14と同様、先端に設けた斜面15’によりディスク100をカートリッジ本体10へ保持固定している。
ディスク保持部材16は回動軸16cを有し、回動軸16cを中心に回動可能なようにディスク保持部材16がカートリッジ本体10に設けられている。ディスク保持部材16も第1の実施形態におけるディスク保持部材13、14と同様、先端に設けた斜面16’によりディスク100をカートリッジ本体10へ保持固定する。ディスク保持部材15は連結ピン15pを有し、ディスク保持部材16に設けられた溝部16gと連結ピン15pとが係合し連動する。
ディスクドライブ装置の一対のカートリッジ位置決めピン210がカートリッジ本体10の位置決め孔11wと嵌合すると、図10に示すようにディスク保持部材15は突起15sが位置決めピン210に押されるため矢印15A方向に移動し、斜面15’はディスク100を解放する。また、ディスク保持部材15の移動に連動してディスク保持部材16は矢印16A方向に回動し、斜面16’もディスク100を解放する。
(第3の実施形態)
本発明の第3の実施形態に係わるディスクカートリッジ303について、ディスク100を保持した状態の全体構成を示す平面図である図11、ディスク100を開放した状態の全体構成を示す平面図である図12を参照しながら説明する。図11および図12において、第1の実施形態と同じ構成要素には同一の番号を付して説明を省略する。
ディスクカートリッジ303は、第1の実施形態のディスクカートリッジ301とディスク保持部材が異なっており、図11に示すように、ディスクカートリッジ303は、矢印17Bおよび18B方向に付勢されたそれぞれ一対のディスク保持部材17、18を備える。各ディスク保持部材17、18は、カートリッジ本体10と一体に成形されている。
ディスク保持部材17は弾性部17dを有しており、弾性部17dにより矢印17B方向に付勢される。ディスク保持部材17も第1の実施形態におけるディスク保持部材13、14と同様、先端に設けられた斜面17’によりディスク100をカートリッジ本体10へ保持固定している。
ディスク保持部材18も弾性部18dを有し、弾性部18dによりディスク保持部材18が矢印18B方向に付勢される。また、先端に設けられた斜面18’によりディスク100をカートリッジ本体10へ保持固定している。
このディスクカートリッジ303がディスクドライブ装置200に挿入されると、ディスクドライブ装置200に設けられた一対のディスク解除ピン217がディスク保持部材17の突起17sを押す。これにより、図12に示すようにディスク保持部材17はディスク100を解放する。また同時にディスクドライブ装置200に設けられた一対のディスク解除ピン218もディスク保持部材18の側面18sに当接して、ディスク保持部材18がディスク100を解放する。
(第4の実施形態)
本発明の第4の実施形態に係わるディスクカートリッジ304について、ディスク100を保持した状態の全体構成を示す平面図である図13、ディスク100を開放した状態の全体構成を示す平面図である図14を参照しながら説明する。図13および図14において、第1の実施形態と同じ構成要素には同一の番号を付してその説明を省略する。
ディスクカートリッジ304は、第1の実施形態のディスクカートリッジ301とディスク保持部材が異なっており、リング状のディスク保持部材19を備えている。
図13に示すように、ディスク保持部材19は、ゴムリングのような自在に形状を変えることのできるリング状の弾性部材から形成されている。ディスク保持部材19は、外部から力が加えられていない場合、楕円形状を有しているが、外部から力を加え、おおよそ真円形状を有するように変形させることもできる。おおよそ真円となるようにディスク保持部材19を変形させた場合、その内径はディスク100の直径よりも大きくなっている。
図13に示すように、ディスク保持部材19は楕円形状の複数の箇所においてディスク100と接し、ディスク100をカートリッジ本体10へ保持固定している。このディスクカートリッジ304がディスクドライブ装置200に挿入されると、図14に示すようにディスクドライブ装置200に設けられた一対の凸部219がリング状のディスク保持部材19の長軸側を押し、ディスク保持部材19を変形させる。これにより、ディスク保持部材19は概ね真円形状を有するようになり、ディスク100とディスク保持部材19との接触がなくなる。つまり、ディスク保持部材19はディスク100を解放する。
ディスク100の解放を行うために、ディスク保持部材19を変形させる力は、誤挿入防止用の凹部10g(図2)にはまり合うディスクドライブ装置の凸部によってディスク保持部材19に加えられても良い。あるいは、ディスクカートリッジ304の左右に設けられたディスクドライブ装置への引き込み用凹部10c(図2)にはまり合うディスクドライブ装置の凸部によってディスク保持部材19に加えられても良い。
(第5の実施形態)
以下に、本発明の第5の実施形態を図15から18を参照して説明する。図15および17は、本実施形態によるディスクカートリッジ305において、カートリッジ上体を取り除いた残りの部分の構造を示す平面図であって、図15はシャッタ21が開口部11h、11cを閉塞している状態を示しており、図17はシャッタ21が開口部11h、11cを開放している状態を示している。また、図16および18は、シャッタ21の閉塞状態および開放状態におけるディスク保持部43の状態を示している。
本実施形態において第1の実施形態のディスクカートリッジと同じ構成要素には同じ参照符号を付している。
本実施形態のディスクカートリッジに特徴的なところは、ディスク保持部材43のディスク保持・解放動作が、ディスク保持連動部材44によってシャッタ21の開閉動作と連動させられている点にある。
図15および17において矢印44Aで示すように、ディスク保持連動部材44は、カートリッジ下体11のチャッキング開口部11cの周りに回転摺動ができるように、カートリッジ下体11の第1の内側面11u上に設けられている。ディスク保持連動部材44はチャッキング開口部11cを内径とするリングの一部を切り取ったような扇形をしている。
ディスク保持連動部材44には、カートリッジ下体11側(図15および17では紙面の奥へ向かう方向)に突出する係合ピン47が設けられている。この係合ピン47と係合する案内溝11mおよび21mがカートリッジ下体11およびシャッタ21にそれぞれ設けられている。また、ディスク保持連動部材44の外周に、外側およびカートリッジ上体側(図15および17では紙面の手前へ向かう方向)へ突き出した複数の突起45が設けられている。ディスク保持連動部材44の上面には、ディスク100への傷つきあるいは情報記録面へ埃塵付着を防止するための不織布またはコーティング材が付与されている。
ディスクカートリッジにディスクを収納した時、ディスクの外周部を保持し得るように、カートリッジ下体11の領域には複数のディスク保持部材43が間隔を隔てて設けられている。図15および17では、ディスク保持部材43は3つ設けられているように示しているが、2つ、4つあるいはそれ以上の数のディスク保持部材43を設けてもよい。ディスク保持部材43は、それぞれ回転軸43Aを軸として摺動するようカートリッジ下体11に保持されている。
図16に示すように、ディスク保持部材43は、ディスク保持連動部材44の外周近傍上にその一部が重なるように位置している。また、ディスク保持部材43は、例えば図5に示す弾性部14dのような機構(図16には示していない)によってカートリッジ下体11へ向かう方向43Bに押し付けられている。その結果、ディスク保持部材43の斜面43’は、ディスク100の稜と当接しながらディスク100がディスク保持連動部材44に接するようにディスク100を43Bの方向に押し付けるとともにディスク100を保持している。
図15に示すように、ディスク(図示せず)を保持したディスクカートリッジが、ディスクドライブ装置200に対して矢印1Aの方向で挿入されると、ディスクドライブ装置200のシャッタ開閉レバー(図示せず)がシャッタ21を21Aの方向に移動させて、開放する。シャッタ21が21Aの方向に移動し始めると、シャッタ21の案内溝21mに挿入されているディスク保持連動部材44の係合ピン47にも矢印21Aの方向へ力が加わる。その結果、係合ピン47はカートリッジ下体11の案内溝11mに沿って移動させられ、これに伴って、ディスク保持連動部材44が矢印44Aで示すようにチャッキング開口部11cの周りに回転し始める。ディスク保持連動部材44がシャッタ21に連動して動くように、案内溝11mはシャッタ21の移動方向におおよそ沿って伸びていることが好ましい。
シャッタ21が完全に開放状態になると、図17に示すように、ディスク保持連動部材44の外周に設けられた複数の突起45がディスク保持部材43の下方に位置するようになる。図18に示すように、突起45によってディスク保持部材43は上方へ押し上げられ、ディスク保持部材43の斜面43’がディスク100の外周の稜から離れる。これによって、ディスク100をディスク面に垂直な方向に押す力43Bを解放し、ディスク100が回転可能なように開放される。このとき、ディスク保持部材43の先端にある庇43eはディスク100の投影領域上であるディスク100の外周上方に張り出している。このため、ディスク100を垂直に保持するようなディスクドライブ装置においても、ディスクが解放状態になったときにディスクがカートリッジから脱落するのを防止することができる。
本実施形態のディスクカートリッジ305によれば、ディスクドライブ装置200にディスクカートリッジを挿入しなくてもディスクを解放状態にすることができる。例えば、手によって、シャッタ21を開放すれば、シャッタ21の動作に連動してディスク保持部材43がディスク100を開放する。したがって、使用者の意図によって、例えば、ディスクをカートリッジから取り出し、別のディスクをカートリッジに挿入することが可能である。
(第6の実施形態)
以下に、本発明の第6の実施形態を説明する。図19および20は、本実施形態によるディスクカートリッジ306においてカートリッジ上体を取り除いた残りの部分の構造を示す平面図であって、図19はシャッタがヘッド開口部を閉塞している状態を示しており、図20はシャッタがヘッド開口部を開放している状態を示している。図19および20において第1の実施形態および第5の実施形態のディスクカートリッジとおなじ構成要素には同じ参照符号を付している。
本実施形態のディスクカートリッジに特徴的なところは、第5の実施形態において説明したディスク保持連動部材がシャッタを兼ねている点にある。図19および20において矢印46Bで示すように、シャッタ46は、カートリッジ下体11のチャッキング開口部11cの周りに回転摺動できるように、カートリッジ下体11の第1の内側面11u上に設けられている。シャッタ46はチャッキング開口部11cを内径とするリングの一部を切り取ったような扇形をしている。
シャッタ46には、カートリッジ下体11側(図19および20では紙面の奥へ向かう方向)に突出する係合ピン46pが設けられている。この係合ピン46pと係合する案内溝11mがカートリッジ下体11に設けられている。係合ピン46pが案内溝11mの一端に位置するとき、シャッタ46によって、ヘッド開口部11hは塞がれており、案内溝11mの他端に係合ピン46pがあるとき、ヘッド開口部11hは開放される。案内溝11mはチャック開口部11cと同心円となる円弧の一部に沿って設けられている。ディスクドライブ装置への挿入動作に伴って、シャッタ46が開放されるように、案内溝11mは、ディスクカートリッジの挿入方向1Aに対しておおよそ沿って伸びているほうが好ましい。
シャッタ46の外周には、外周方向およびカートリッジ上体12側(図19および20では紙面の手前へ向かう方向)へ突き出した複数の突起46cが設けられている。シャッタ46の上面にはディスク100への傷つき防止あるいは情報記録面へ埃塵が付着するのを防止するための不織布またはコーティング材が付与されている。
カートリッジ下体11の領域には、第5の実施形態のディスク保持部材と同様の構造を有する複数のディスク保持部材43が間隔を隔てて設けられている。ディスク保持部材43およびシャッタ46に設けられた突起46cは第5の実施形態において説明したようにシャッタ46の動作に連動してディスクを保持あるいは開放する。
本実施形態のディスクカートリッジがディスクドライブ装置200に図19の矢印1Aで示すように挿入されると、ディスクドライブ装置200に設けられた当接部材201にシャッタ46の係合ピン46pが当接する。更にディスクカートリッジをディスクドライブ装置200内へ挿入すると、当接部材201によって、係合ピン46pが案内溝11mに沿って移動し始める。これにともなって、シャッタ46は矢印46Bで示すように、カートリッジ下体11のチャッキング開口部11cの周りを回転し始め、回転に伴って、ヘッド開口部11hが開いてくる。
図20に示すように、ディスクカートリッジがディスクドライブ装置200へ完全に挿入されると、係合ピン46pが案内溝11mの他端に達し、ヘッド開口部11hは完全に開放される。このとき、第5の実施形態で説明したように、突起46cがディスク保持部材43の下方に位置するようになり、突起46cによってディスク保持部がカートリッジ上体側(図20において紙面手前側)へ押し上げられる。これによって、ディスク保持部材43により保持されていたディスク100は解放され、自由に回転できるようになる。
本実施形態のディスクカートリッジによれば、ディスク保持連動部材が不要であるため、第5の実施形態のディスクカートリッジに比べ厚みを薄くすることが可能である。また、係合ピン46pを案内溝11mに沿って、手などで移動させることによって、シャッタ46を開放状態にできると共にディスク保持部材を解放状態にしてディスクを取り出すことも可能である。
なお、本実施形態において、シャッタ46はカートリッジ上体側から見て時計周りに回転するが、案内溝11mの位置を変更することによって、シャッタ46を反時計周りに回転するようにしてもよい。
(第7の実施形態)
以下に、本発明の第7の実施形態を説明する。図21および22は、本実施形態によるディスクカートリッジ307においてカートリッジ上体を取り除いた残りの部分の構造を示す平面図であって、図21はシャッタがヘッド開口部を閉塞している状態を示しており、図22はシャッタがヘッド開口部を開放している状態を示している。図21および22において第3の実施形態および第6の実施形態のディスクカートリッジとおなじ構成要素には同じ参照符号を付している。
本実施形態のディスクカートリッジでは、第6の実施形態のディスクカートリッジとディスク保持部材の構造が異なっている。具体的には、図21および22に示すように、本実施形態のディスクカートリッジは複数のディスク保持部材17を備えている。ディスク保持部材17は、第3の実施形態において説明したディスク保持部材と同様、弾性部17dを有しており、シャッタ46が閉塞している時には、弾性部17dの弾性力によって、ディスク100をディスクの中心方向17Rへ押さえつけるようにディスクを保持する。本実施形態において、ディスク保持部材17はカートリッジ下体11と一体に形成されているが、カートリッジ下体11と別々に形成されていてもよい。
ディスク保持部材17のディスク半径方向の断面形状は、図18に示されるディスク保持部材43と同様、ディスク投影領域であるディスク外周上方に張り出すように傾斜した斜面を有している。このため、斜面にディスクの稜が当接するようディスク保持部材17がディスクを保持することによって、ディスクはシャッタ46へ押し付けられる。
シャッタ46はその外周部に複数の突起46cを備えている。本実施形態において突起46cはその外側方向に突き出しており、シャッタ46が開放状態にあるとき、突起46cがディスク保持部材17の弾性部17dに当接するような位置に突起46cはシャッタ46の外周部に設けられる。
図22に示すように、シャッタ46が開放状態になると、突起46cが弾性部17dをその弾性力に抗してディスク100の外側に向かう方向17sへ押し付ける。これによりディスク100が解放される。しかし、ディスク保持部材17の先端には庇17eがそれぞれ設けられていて、ディスク100が解放される状態になっても、庇17eはディスクの投影領域へせり出している。このため、ディスク100が垂直に保持されるようディスクカートリッジがディスクドライブ装置200に挿入されても、ディスク100がディスクカートリッジから脱落することはない。
本実施形態のディスクカートリッジによれば、第6の実施形態において説明した特徴に加えて、ディスク保持部材17をカートリッジ下体11と一体に形成することが可能である。この場合、ディスクカートリッジに構造を簡単にすることができ、また、製造コストを低減することができる。
(第8の実施形態)
以下、本発明の第8の実施形態に係わるディスクカートリッジ308について、図を参照しながら説明する。
まず、図23および24を参照して、ディスクカートリッジ308のおおまかな構造を説明する。なお、第1の実施形態と同様、図23および24に示されるディスク100は第1および第2の面を備えており、図23では、第1の面であり、通常ディスクのラベル等が描かれている面が示されている。ディスク100の第2の面である情報記録面100Aは、図24において裏面として示されている。
図23および24に示すように、ディスクカートリッジ308は、カートリッジ下体11、カートリッジ上体12、一対のシャッタ21、22および脱落防止部材23を含む。
カートリッジ下体11は、図24に示すように、外部からディスク100を回転させるためのスピンドルモータ等のチャッキング部材が侵入できるよう開口したチャッキング開口部11cと、ディスク100の情報記録面100Aに対して情報の再生および記録の少なくとも一方を行うヘッドが侵入し、アクセスできるよう開口したヘッド開口部11hとを有する。カートリッジ下体11は、ディスク100の情報記録面100Aと対向する。また、ヘッド開口部11hは、カートリッジ下体11の側面に達している。
カートリッジ上体12は、ディスク100の出し入れが可能であり、ディスクの上面を露出するようにディスク100の全投影領域を開口する円形のディスク開口部12wを有する。カートリッジ上体12とカートリッジ下体11とは外縁部で接着もしくは溶着されてカートリッジ本体10を構成している。
カートリッジ下体11のディスク100の情報記録面100Aと向かい合う第1の内側面11uと、カートリッジ上体12のディスク開口部12wを構成する略円筒状の第2の内側面12iとにより、ディスク100を収納するディスク収納部10dが構成される。これにより、第1の内側面11uがディスク収納部10dの底部となる。
ディスク収納部10dにおいて、第2の内側面12iとディスク100との間にはディスク100が回転可能な程度の空間が設けられる。また、ディスク収納部10dの上部はディスク開口部12wになっており、ディスク収納部10dに保持されたディスク100は、その片面をディスク開口部12wから外部に露出する。
脱落防止部材23は、その一部がディスク開口部12wに突出するようにカートリッジ上体12に着脱可能に設けられている。図23および24に示すように、本実施形態では脱落防止部材23は2つ設けられている。一方、カートリッジ上体12には、カートリッジ上体12と一体に形成されており、ディスク開口部12wから突出している脱落防止部12sが設けられている。2つの脱落防止部材23および脱落防止部12sは、ディスク開口部12wの円周上において、おおよそ等間隔に配置されており、ディスク開口部12wからディスク100が脱落することを防止する。特に、ディスクカートリッジをドライブ装置に垂直に挿入して使用する場合において脱落防止の効果を発揮する。
シャッタ21および22は、ディスク100の情報記録面100Aとディスク収納部10dの内側面11uとの間に設けられている。シャッタ21および22は、回動孔21uおよび22uをそれぞれ有しており、カートリッジ本体10のディスク収納部10d以外の領域であって、かつヘッド開口部11hと反対側に設けられた一対の回動軸11sに回動孔21u、22uが回動自在にそれぞれ嵌合している。このため、チャッキング開口部11cおよびヘッド開口部11hを外部に対して開放または閉塞するようシャッタ21および22は回動軸11sを中心に移動する。
シャッタ21および22の回動孔21uおよび22u近傍にはそれぞれカム21cおよびフォロワ22cが設けられている。カム21cおよびフォロワ22cは互いに噛み合う形状を備え、シャッタ21および22を互いに連動しながら開閉させる連動機構20cを構成している。
シャッタ21および22のディスク情報記録面100Aと向かい合う面にはディスク100への傷つき、もしくは情報記録面100Aへの埃塵の侵入を防止する保護層21p、22pが設けられている。
保護層21pおよび22pは、傷つき防止用不織布、防塵用不織布、傷つき防止用コーティング層、および防塵用コーティング層から適宜選択することができる。本実施形態では、防塵用不織布からなるシートを保護層21p、22pとして貼着もしくは超音波溶着させている。
シャッタ21および22は、ディスク収納部10d以外の領域にそれぞれ設けられたシャッタバネ31および32によって、シャッタ21および22が閉じる方向に付勢されている。バネ以外の他の弾性部材を用いてシャッタ21および22を閉じる方向に付勢してもよい。
図24に示すように、ディスクカートリッジ308は、シャッタ21および22の端部にディスク保持部21a、21b、22a、22bを備えている。ディスク保持部21a、21b、22a、22bは、シャッタ21および22が閉塞している状態において、ディスク100の外周を保持するよう、シャッタ21および22の端部において逆テーパー状の斜面を有している。ディスク保持部21a、21b、22a、22bの構造およびその動作については以下において詳述する。
図23に示すように、カートリッジ本体10(カートリッジ上体12)の上面には、収納されるディスク100に書き込まれた内容などを記述することのできるラベル面10fや、ディスクカートリッジ308のドライブ装置への挿入方向(矢印1A)を示す矢印形の刻印または凹部10aが設けられている。また、カートリッジ本体10の挿入方向1Aと平行な一対の側面にそれぞれ設けた凹部10cは、ドライブ装置がディスクカートリッジ308をローディングする際の、あるいはディスクカートリッジ308がチェンジャに収納された場合の、引き込み用の係止もしくは位置決め用の凹みとして用いることができる。
図25は、カートリッジ上体12とディスク100がない場合におけるシャッタ21、22がチャッキング開口部11cおよびヘッド開口部11hを外部に対して閉塞している状態を示す斜視図である。図25において、シャッタ21、22に設けられたディスク保持部21a、21b、22a、22bは図示しないディスク100の外周を掴むように位置している。
図26は、カートリッジ上体12とディスク100がない場合におけるシャッタ21、22がチャッキング開口部11cおよびヘッド開口部11hを外部に対して開放している状態を示す斜視図である。シャッタ21、22が回動孔21u、22uを中心として回転することにより、チャッキング開口部11cおよびヘッド開口部11hを外部に対して開放している。また、シャッタ21、22の移動にともなって、ディスク保持部21a、21b、22a、22bも回動孔21u、22uを中心として回転し、図示しないディスク100の外周から離れた状態になる。
図27は、ディスク100がない場合におけるシャッタ21、22がチャッキング開口部11cおよびヘッド開口部11hを外部に対して閉塞している状態を示す斜視図である。図27に示すように、ディスク保持部21a、21b、22a、22bはディスク収納部10dに突出した状態にあり、図示しないディスク100を保持する。一方、図28は、ディスク100がない場合におけるシャッタ21、22がチャッキング開口部11cおよびヘッド開口部11hを外部に対して開放している状態を示す斜視図である。図28に示すように、シャッタ21、22が開放状態にあるとき、ディスク保持部21a、21b、22a、22bは、カートリッジ本体のディスク保持部10d以外の領域に収納される。
次に、シャッタ21、22の構成および動作について図29、30および31を用いてさらに詳しく説明する。図29はディスク100の中心を通る断面図である。図29に示すように、カートリッジ本体10におけるディスク収納部10dの第2の内側面12iには、開閉動作を行うシャッタ22(21)と干渉しないよう切り欠き10wを設け、さらに開放状態の時のシャッタ22(21)の一部を収納するシャッタ収納部10sがカートリッジ本体10内に設けている。またシャッタ閉塞時にシャッタ21と22の突き合わされる縁部のうち、少なくともヘッド開口部11hとチャッキング開口部11cの上で突き合わされる縁部21fと22fは、図29に示すようにディスク100の厚み方向に重畳している。
一方、図30に示すように、ディスク保持部21a、21b、22a、22bは、ディスク投影領域上であって、ディスク100の外周上に張り出すように傾斜した斜面21a’(21b’、22a’、22b’)を有する形状を備えている。つまり、斜面21a’は逆テーパー状をしており、ディスク100に向かって傾いている。シャッタ21および22がチャッキング開口部11cとヘッド開口部11hを閉塞する時は、斜面21a’をディスク100の稜100cに当接させることでディスク100を把持すると共にディスク100を厚み方向100tへ押圧し、シャッタ21および22のシート21pおよび22pに情報記録面100Aを面接触させ、ディスク100をカートリッジ本体10に保持固定する。この状態において、ディスク100の情報記録面100Aはシート21pおよび22pに密着しているため、情報記録面100Aへの埃塵の付着を防止できる。
また外部から露出したディスク100の片面を強制的に回転させることにより、またはシャッタ21および22を強制的に開閉動作させることにより、ディスク100の情報記録面100Aに付着した埃塵や指紋等の汚れを払拭することもできる。
また図31に示すように、シャッタ21には外部からシャッタを開閉させるためのシャッタ開閉操作部21tおよび弾性部21vとこれを介して形成されるロック突起部21kが一体に形成されている。シャッタ21がチャッキング開口部11cおよびヘッド開口部11hを閉塞した状態では、図31に示すように、弾性部21vにより付勢されたロック突起部21kが、カートリッジ本体10に形成されたロック孔10kに嵌合しシャッタ21を回動しないようカートリッジ本体10に固定支持する。シャッタ21が固定されると、連動機構20cにより連結されているシャッタ22も固定される。
従って、外部から突起物等によりロック突起部21kを矢印20A方向に押してロック孔10kとの嵌合を外しながら、同時に開閉操作部21tを矢印20B方向に押すことによってのみ、シャッタ21および22を回動させてチャッキング開口部11cとヘッド開口部11hを外部に対して開放し、同時にディスク保持部21a、21b、22a、22bによるディスク100の保持を解除することができる。このようにして、操作者による安易なディスクの取り外しを防止できる。
脱落防止部材23の構造および動作について図24および32を用いてさらに詳しく説明する。図32は着脱可能に設けられた脱落防止部材23を上下逆にして斜めから見た斜視図である。脱落防止部材23は、その凸部23a、23b、23cがそれぞれ図24に示すカートリッジ上体12のディスク開口部12w近くに設けられた凹部12a、12b、12cと嵌合し、着脱自在に取り付けられる。
また、ディスクカートリッジ308のドライブ装置への誤挿入を防止する機構について、図33を用いてさらに詳しく説明する。図33は図23におけるディスクカートリッジ308のドライブ装置への挿入方向(矢印1B)から見た正面図である。図33に示すように、カートリッジ本体10には、その片側面に、厚み中心からずれた位置に凹部10gが形成されており、ドライブ装置への挿入方向1A(図23)に対して非対称になっている。
このような構造のため、ドライブ装置に設けた凸部がこの凹部10gに嵌まり込む場合にのみ、ディスクカートリッジ308がドライブ装置に正しく挿入でき、ドライブ装置が正常に動作する。
一方、間違って上下反対向けにディスクカートリッジ308をドライブ装置に挿入しようとした場合、ドライブ装置に設けた凸部が、凹部10gの無い方の側面と干渉して、カートリッジ308をドライブ装置に挿入することはできない。また、間違って前後および上下の方向において同時に反対向けに挿入した場合でも、ドライブ装置に設けた凸部が凹部10gを設けた側面の凹みのない部分に干渉してやはり挿入することができない。これにより誤挿入を防止することができる。
なお、本実施形態において説明したディスクカートリッジ308に対し、種々の改変が可能である。
例えば、シャッタ21、22が閉塞状態の時、脱落防止部材23がカートリッジ上体12の上面12f(図24)から突出しない程度に、カートリッジ本体10の厚みをさらに薄くする。そして、シャッタ21、22が開放状態にあるときには、シャッタ21、22の開放動作に連動して、例えばディスク保持部21a、22aが脱落防止部材23の下方を通過する際、脱落防止部材23の凸部23aを下方から押すなどしてカートリッジ上体12の上面12fから脱落防止部材23を突出させる。このような構造にすれば、ディスク100がディスク収納部10d内で回転する際に必要な空間を十分確保した上でディスクカートリッジの厚みを更に薄くすることができる。
また、脱落防止部材23はカートリッジ本体10と一体に形成され、かつ、折ることができる構造を備え、脱落防止部材23を抜脱可能に設けてもよい。
また、シャッタバネ31、32はシャッタ21、22が開く方向に付勢してもよい。連動機構によるシャッタ同士の動作が確実であればシャッタバネ31、32のうちいずれか一方のみを設けてもよい。
またロック突起部21kはシャッタ21に形成していたが、カートリッジ本体10に形成したロックレバーの弾性部を介した先端にロック突起部および凸部を設け、この凸部とシャッタに設けた凹部との嵌合を、カートリッジ本体に設けたロック孔からロック突起部を押すことにより外し、シャッタを回動自在に開放するようにしてもよい。またこの場合、ロックレバーはシャッタバネ(弾性部材)と共に、カートリッジ本体10と一体に成形される樹脂バネで形成してもよい。
(第9の実施形態)
以下、本発明の第9の実施形態に係わるディスクカートリッジ309について、図を参照しながら説明する。
図34および35に示すように、ディスクカートリッジ309は、カートリッジ下体41、カートリッジ上体42、脱落防止部材42a、42b、42c、42dおよび一対のシャッタ51および52を含む。
カートリッジ下体41は、図35に示すように、外部からディスク100を回転させるためのスピンドルモータ等のチャッキング部材が侵入できるよう開口したチャッキング開口部41cと、ディスク100の情報記録面100Aに対して情報の再生および記録の少なくとも一方を行うヘッドが侵入し、アクセスできるよう開口したヘッド開口部41hとを有する。カートリッジ下体41は、ディスク100の情報記録面100Aと対向する。また、ヘッド開口部41hは、カートリッジ下体41の側面に達している。
カートリッジ上体42は、ディスク100の出し入れが可能であり、ディスクの上面を露出するようにディスク100の全投影領域を開口する円形のディスク開口部42wを有する。カートリッジ上体42とカートリッジ下体41とは外縁部で接着もしくは溶着されてカートリッジ本体40を構成している。
カートリッジ下体41のディスク100の情報記録面100Aと向かい合う第1の内側面41uと、カートリッジ上体42のディスク開口部42wを構成する略円筒状の第2の内側面42iとにより、ディスク100を収納するディスク収納部40dが構成される。これにより、第1の内側面41uがディスク収納部40dの底部となる。
ディスク収納部40dにおいて、第2の内側面42iとディスク100との間にはディスク100が回転可能な程度の空間が設けられる。また、ディスク収納部40dの上部はディスク開口部42wになっており、ディスク収納部40dに保持されたディスク100は、その片面をディスク開口部42wから外部に露出する。
脱落防止部材42a、42b、42c、42dは、ディスク開口部42wにその一部がそれぞれ突出するよう、カートリッジ上体42からスリットにより分割されており、カートリッジ上体42に一体に設けられている。脱落防止部材42a、42b、42c、42dは、ディスク開口部42wからディスク100が脱落することを防止している。特に、ディスクカートリッジをドライブ装置に垂直に挿入して使用する場合において脱落防止の効果を発揮する。脱落防止部材42a、42b、42c、42dは、弾性部材を介してカートリッジ上体42に一体に形成されていてもよい。
シャッタ51および52は、ディスク100の情報記録面100Aとディスク収納部40dの内側面41uとの間に設けられている。シャッタ51および52は、回動孔51uおよび52uをそれぞれ有しており、カートリッジ本体40のディスク収納部40d以外の領域であって、かつヘッド開口部41hと反対側に設けられた一対の回動軸41sに回動孔51u、52uが回動自在にそれぞれ嵌合している。このため、チャッキング開口部41cおよびヘッド開口部41hを外部に対して開放または閉塞するようシャッタ51および52は回動軸41sを中心に移動する。
シャッタ51および52の回動孔51uおよび52u近傍にはそれぞれカム51cおよびフォロワ52cが設けられている。カム51cおよびフォロワ52cは互いに噛み合う形状を備え、シャッタ51および52を互いに連動しながら開閉させる連動機構50cを構成している。
シャッタ51および52のディスク情報記録面100Aと向かい合う面にはディスク100への傷つき、もしくは情報記録面100Aへの埃塵の侵入を防止する保護層51p、52pが設けられている。
保護層51pおよび52pは、傷つき防止用不織布、防塵用不織布、傷つき防止用コーティング層、および防塵用コーティング層から適宜選択することができる。本実施形態では、防塵用不織布からなるシートを保護層51p、52pとして貼着もしくは超音波溶着させている。
シャッタ51および52は、ディスク収納部40d以外の領域にそれぞれ設けられたシャッタバネ61および62によって、シャッタ51および52が閉じる方向に付勢されている。シャッタバネ61、62はシャッタ51、52が開く方向に付勢してもよい。また、連動機構によるシャッタ同士の動作が確実であればシャッタバネ61、62のうちいずれか一方のみを設けてもよい。
図35に示すように、第8の実施形態と同様、シャッタ51および52の端部にディスク保持部51a、51b、52a、52bが設けられている。更に、以下で詳述するように、シャッタ51、52のディスク100のセンタホールに対応する領域に凸部51e、52eが設けられている。
図34に示すように、カートリッジ本体40(カートリッジ上体42)の上面には、ディスクカートリッジ309のドライブ装置への挿入方向(矢印1A)を示す矢印形の刻印または凹部40aが設けられている。また、カートリッジ本体40の挿入方向1Aに対し平行な一対の側面にはそれぞれ凹部40cが設けられている。凹部40cは、ドライブ装置がディスクカートリッジ309をローディングする際の、あるいはカートリッジ309がチェンジャに収納された場合の、引き込み用の係止もしくは位置決め用の凹みとして用いることができる。またこの凹部40cをカートリッジ309の一側面にのみ設けることで、ディスクカートリッジ309をドライブ装置に挿入または装着する際の表裏の誤挿入防止機構にもなる。カートリッジ本体40の上面には操作者がカートリッジ309を持つための握り部40eが設けられている。この握り部40eには滑り止め用として凹凸形状が施されている。
図36はディスク100がない場合におけるシャッタ51、52がチャッキング開口部41cおよびヘッド開口部41hを外部に対して閉塞している状態を示す斜視図である。図37はディスク100がない場合におけるシャッタ51、52がチャッキング開口部41cおよびヘッド開口部41hを外部に対して開放している状態を示す斜視図である。
以下に、シャッタ51、52の構造および動作についてさらに詳しく説明する。図34及び図35に示すように、シャッタ51および52に設けられたディスク保持部51a、51b、52a、52bは、第8の実施形態と同様、ディスク投影領域上であって、ディスク100の外周上に張り出すように傾斜した斜面を有する形状を備えている。つまり、斜面は逆テーパー状をしており、ディスク100に向かって傾いている。これによって、第8の実施形態と同様の効果を発揮する。
また、シャッタ52には外部からシャッタを開閉させるための開閉操作部52tが設けられ、シャッタ51には弾性部51vとこれを介して形成されるロック突起部51kが一体に形成されている。これによって、シャッタ51、52がチャッキング開口部41cおよびヘッド開口部41hを閉塞した状態では、弾性部51vにより付勢されたロック突起部51kが、カートリッジ本体40に形成されたロック孔40kに嵌合し、シャッタ51を回動しないようカートリッジ本体40に固定支持する。シャッタ51が固定されると、連動機構50cにより連結されているシャッタ52も固定される。
従って、図36に示すように、外部から突起物等によりロック突起部51kを矢印50A方向に押してロック孔40kとの嵌合を外しながら、同時に開閉操作部52tを矢印50B方向に押すことによってのみ、シャッタ51および52を回動させてチャッキング開口部41cとヘッド開口部41hを外部に対して開放し同時にディスク保持部51a、51b、52a、52bによるディスク100の保持を解除することができる。このようにして、操作者による安易なディスクの取り外しを防止できる。
また、第8の実施形態とは異なり、シャッタ51、52に設けられたロック突起部51kと開閉操作部52tとが別々のシャッタ51、52にそれぞれ設けられている。このような構造は、特に小径ディスク用のディスクカートリッジに対して効果を発揮する。なぜなら、小径ディスク用のディスクカートリッジでは、カートリッジ全体およびシャッタが小さくなるため、一つのシャッタにロック突起部と開閉操作部とを形成するのが設計上困難になるからである。また、ロック突起部と開閉操作部とをひとつのシャッタに形成できるとしても、ドライブ装置側に設けるシャッタ開閉機構とロック解除機構との間隔が非常に狭くなったり、小さなスペースに両方の機構を設ける必要が生じたりして、ドライブ装置の設計を困難なものにしてしまうためである。
なお、ロック突起部51kはシャッタ51に形成していたが、カートリッジ本体40に形成したロックレバーの弾性部を介した先端にロック突起部および凸部を設け、この凸部とシャッタに設けた凹部との嵌合を、カートリッジ本体に設けたロック孔からロック突起部を押すことにより外し、シャッタを回動自在に開放するようにしてもよい。またこの場合、ロックレバーはシャッタバネ(弾性部材)と共に、カートリッジ本体40と一体に成形される樹脂バネで形成してもよい。
次にシャッタ51、52に設けられた凸部51e、52eの働きを説明する。図38はディスク100中心を通るディスク中心付近の断面図である。図38に示すように、シャッタ51、52が閉塞状態では、凸部51e、52eはセンタホール100h内に突出しており、ディスク100はシャッタ51、52と面接触した状態にある。
図39に示すように、シャッタ51、52が開放状態へと移行する際、凸部51e、52eはセンタホール100h内からディスク100の下面へと潜り込み、ディスク100を持ち上げ、シャッタ51、52とディスク100との面接触を解除する。これにより、シャッタ51、52の開閉動作時において、シャッタ51、52が情報記録面100Aへ傷を付けるのを防止することができる。シャッタ51、52の開閉動作による凸部51e、52eの移動領域は情報記録面100Aの情報記録領域よりも内周側であるので、凸部51e、52eが情報記録領域と接することはなく、情報記録領域に傷を付けることはない。
次に脱落防止部材の構造及び動作について図40および41を用いてさらに詳しく説明する。図40はディスク100中心を通るディスク外周付近の断面図であり、脱落防止部材42c(42a、42b、42d)の裏面には凸部42c’(42a’、42b’、42d’)が形成されている。図40に示すように、シャッタ51、52が閉塞している状態では、脱落防止部材42cはディスク100とおおよそ平行であり、カートリッジ309の厚み内に収まっている。この状態のディスクカートリッジ309の外観は、図36に示される。
シャッタ51、52が開放している状態では、図41に示すように、シャッタ51、52に形成された傾斜部52f、51f、51d、52dがそれぞれ凸部42a’、42b’、42c’、42d’と当接し、脱落防止部材42a、42b、42c、42dをディスク100の上方へ押し上げる。この状態のディスクカートリッジ309の外観は、図37に示される。この構造によって、特に、ディスクカートリッジ309がディスクドライブ装置に垂直に挿入されてからディスク100がチャッキングされるまでの間、ディスク100がディスクカートリッジ309から脱落するのを防止できる。一方、ディスク100がチャッキングされるときには、ディスク100が動作し得る空間を広げることができる。またこの構造によって、カートリッジ本体をさらに薄くすることができる。
なお、シャッタ51、52が開放している状態において、シャッタ開放状態を一時的に保持するために、傾斜部52f(51f、51d、52d)に凸部42a’(42b’、42c’、42d’)が係止めするための凸部あるいは凹部を設けてもよい。
(第10の実施形態)
以下、本発明の第10の実施形態に係わるディスクカートリッジ310について、図を参照しながら説明する。本実施形態のディスクカートリッジ310の主要な特徴は、脱落防止部材がシャッタに設けられている点にある。
図42および43に示すように、ディスクカートリッジ310は、カートリッジ下体71、カートリッジ上体72、脱落防止部材81d、81f、82dおよび一対のシャッタ81および82を含む。
カートリッジ下体71は、図43に示すように、外部からディスク100を回転させるためのスピンドルモータ等のチャッキング部材が侵入できるよう開口したチャッキング開口部71cと、ディスク100の情報記録面100Aに対して情報の再生および記録の少なくとも一方を行うヘッドが侵入し、アクセスできるよう開口したヘッド開口部71hとを有する。カートリッジ下体71は、ディスク100の情報記録面100Aと対向する。また、ヘッド開口部71hは、カートリッジ下体71の側面に達している。
カートリッジ上体72は、ディスク100の出し入れが可能であり、ディスクの上面を露出するようにディスク100の全投影領域を開口する円形のディスク開口部72wを有する。カートリッジ上体72とカートリッジ下体71とは外縁部で接着もしくは溶着されてカートリッジ本体70を構成している。
カートリッジ下体71のディスク100の情報記録面100Aと向かい合う第1の内側面71uと、カートリッジ上体72のディスク開口部72wを構成する略円筒状の第2の内側面72iとにより、ディスク100を収納するディスク収納部70dが構成される。これにより、第1の内側面71uがディスク収納部70dの底部となる。
ディスク収納部70dにおいて、第2の内側面72iとディスク100との間にはディスク100が回転可能な程度の空間が設けられる。また、ディスク収納部70dの上部はディスク開口部72wになっており、ディスク収納部70dに保持されたディスク100は、その片面をディスク開口部72wから外部に露出する。
シャッタ81および82は、ディスク100の情報記録面100Aとディスク収納部70dの内側面71uとの間に設けられている。シャッタ81および82は、回動孔81uおよび82uをそれぞれ有しており、カートリッジ本体70のディスク収納部70d以外の領域であって、かつヘッド開口部71hと反対側に設けられた一対の回動軸71sに回動孔81u、82uが回動自在にそれぞれ嵌合している。このため、チャッキング開口部71cおよびヘッド開口部71hを外部に対して開放または閉塞するようシャッタ81および82は回動軸71sを中心に移動する。
シャッタ81および82の回動孔81uおよび82u近傍にはそれぞれカム81cおよびフォロワ82cが設けられている。カム81cおよびフォロワ82cは互いに噛み合う形状を備え、シャッタ81および82を互いに連動しながら開閉させる連動機構80cを構成している。
シャッタ81および82のディスク情報記録面100Aと向かい合う面にはディスク100への傷つき、もしくは情報記録面100Aへの埃塵の侵入を防止する保護層81p、82pが設けられている。
保護層81pおよび82pは、傷つき防止用不織布、防塵用不織布、傷つき防止用コーティング層、および防塵用コーティング層から適宜選択することができる。本実施形態では、防塵用不織布からなるシートを保護層81p、82pとして貼着もしくは超音波溶着させている。
シャッタ81および82は、ディスク収納部70d以外の領域にそれぞれ設けられたシャッタバネ91および92によって、シャッタ81および82が閉じる方向に付勢されている。シャッタバネ91、92はシャッタ81、82が開く方向に付勢してもよい。また、連動機構によるシャッタ同士の動作が確実であればシャッタバネ91、92のうちいずれか一方のみを設けてもよい。
図43に示すように、第8の実施形態と同様、シャッタ81および82の端部にディスク保持部81a、81b、82a、82bが設けられている。凸部81e、82eも同様にシャッタ81、82に設けられている。
更に、以下で詳述するように、脱落防止部材81f、81d、82dがシャッタ81、82のディスク保持部81a、81b、82b近傍にそれぞれシャッタ81、82と一体に形成されている。脱落防止部材81f、81d、82dは、弾性部材を介してシャッタ81、82と一体に形成されていてもよい。
図42に示すように、カートリッジ本体70(カートリッジ上体72)の上面には、ディスクカートリッジ310のドライブ装置への挿入方向(矢印1A)を示す矢印形の刻印または凹部70aが設けられている。また、カートリッジ本体70の挿入方向1Aに対し平行な一対の側面にはそれぞれ凹部70cが設けられている。凹部70cは、ドライブ装置がディスクカートリッジ310をローディングする際の、あるいはカートリッジ310がチェンジャに収納された場合の、引き込み用の係止もしくは位置決め用の凹みとして用いることができる。またこの凹部70cをカートリッジ310一側面にのみ設けることで、ディスクカートリッジ310をドライブ装置に挿入または装着する際の表裏の誤挿入防止機構にもなる。カートリッジ本体70の上面には操作者がカートリッジ310を持つための握り部70eが設けられている。この握り部70eには滑り止め用として凹凸形状が施されている。
図44はディスク100がない場合におけるシャッタ81、82がチャッキング開口部71cおよびヘッド開口部71hを外部に対して閉塞している状態を示す斜視図である。図45はディスク100がない場合におけるシャッタ81、82がチャッキング開口部71cおよびヘッド開口部71hを外部に対して開放している状態を示す斜視図である。
以下に、シャッタ81、82の構造および動作についてさらに詳しく説明する。図42及び図43に示すように、シャッタ81および82に設けられたディスク保持部81a、81b、82a、82bは、第8の実施形態と同様、ディスク投影領域上であって、ディスク100の外周上に張り出すように傾斜した斜面を有する形状を備えている。つまり、斜面は逆テーパー状をしており、ディスク100に向かって傾いている。これによって、第8の実施形態と同様の効果を発揮する。
また、シャッタ82には、外部からシャッタを開閉させるための開閉操作部82tおよび弾性部82vとこれを介して形成されるロック突起部82kが一体に形成されている。これによって、シャッタ81、82がチャッキング開口部71cおよびヘッド開口部71hを閉塞した状態では、弾性部82vにより付勢されたロック突起部82kが、カートリッジ本体70に形成されたロック孔70k(図44)に嵌合し、シャッタ82を回動しないようカートリッジ本体70に固定支持する。シャッタ82が固定されると、連動機構80cにより連結されているシャッタ81も固定される。
従って、図44に示すように、外部から突起物等によりロック突起部82kを矢印70A方向に押してロック孔70kとの嵌合を外しながら、同時に開閉操作部82tを矢印70B方向に押すことによってのみ、シャッタ81および82を回動させてチャッキング開口部71cとヘッド開口部71hを外部に対して開放し同時にディスク保持部81a、81b、82a、82bによるディスク100の保持を解除することができる。このようにして、操作者による安易なディスクの取り外しを防止できる。
なお、ロック突起部82kはシャッタ82に形成していたが、カートリッジ本体70に形成したロックレバーの弾性部を介した先端にロック突起部および凸部を設け、この凸部とシャッタに設けた凹部との嵌合を、カートリッジ本体に設けたロック孔からロック突起部を押すことにより外し、シャッタを回動自在に開放するようにしてもよい。またこの場合、ロックレバーはシャッタバネ(弾性部材)と共に、カートリッジ本体70と一体に成形される樹脂バネで形成してもよい。
次に脱落防止部材81f、81d、82dの構造および動作について、さらに詳しく説明する。シャッタ81、82が閉塞している状態において、脱落防止部材81f、81d、82dは図46および48に示すように、ディスク100とおおよそ平行であり、ディスクカートリッジ310の上面より脱落防止部材81f、81d、82dが突出することはない。この状態のディスクカートリッジ310の外観は、図44に示される。
図47および49に示すように、シャッタ81、82が開放状態に移行する時、脱落防止部材81f、81d、82dはそれぞれカートリッジ70の内側壁部に設けられたスリット70sおよび内側上壁に設けられた傾斜部72sに案内され、ディスク100の上方へ押し上げられる。またカートリッジ上体72には、脱落防止部材81f、81d、82dが押し上げられたとき、カートリッジ上体72と干渉しないよう、切り欠き部72a、72b、72cがカートリッジ上体72に設けられている。この状態のディスクカートリッジ310の外観は、図45に示される。
またシャッタ81、82が閉塞した状態において、脱落防止部材81f、81d、82dはディスク100の投影領域でかつディスク100の上部に位置するので、ディスク100を厚み方向においてシャッタ81、82に押し付け、ディスク100を保持する構成とし、これによって、シャッタ81、82のディスク保持部81a、81b、82a、82bをなくすことも可能である。
この構造によって、特に、ディスクカートリッジ310がディスクドライブ装置に垂直に挿入されてからディスク100がチャッキングされるまでの間、ディスク100がディスクカートリッジ310から脱落するのを防止できる。一方、ディスク100がチャッキングされるときには、ディスク100が動作し得る空間を広げることができる。またこの構造によって、カートリッジ本体をさらに薄くすることができる。
(第11の実施形態)
以下、本発明の第11の実施形態に係わるディスクカートリッジ311について、図を参照しながら説明する。
図50および51に示すように、ディスクカートリッジ311は、カートリッジ下体11、カートリッジ上体12、一対のシャッタ21、22および脱落防止部材23を含む。これら構成要素の構造や機能は、図52から56に示すように、第8の実施形態において説明した通りであるので、詳細な説明は省略する。
図50および51に示すように、本実施形態のディスクカートリッジ311は、シャッタ21、22に孔20hが設けられている点で第8の実施形態のディスクカートリッジ308とは異なっている。
具体的には、ディスクカートリッジ311のシャッタ21、22が閉塞した状態において、シャッタ21、22のディスク100のセンタホール100hに対応する領域には、孔20hが設けられている。孔20hは、シャッタ21および22にそれぞれ設けられた切り欠き21hおよび22hによって構成される。
この構造によれば、ディスクカートリッジ311を図50に示すようにディスク100の上面を上向きにして放置した場合、センタホール100hから進入にする埃は、シャッタ21、22に設けられた孔20hを通過して、ディスクカートリッジ311に留まることなく外部へ出てしまう。つまり、埃が、シャッタ21、22に堆積しない。これにより、シャッタ21、22が開いた状態、即ちドライブ装着状態において、埃がディスクの情報記録面側100Aに付着するのを防止できる。
孔20hは、ディスクカートリッジ311が表向き(図50に示される状態)にも裏向き(カートリッジ下体11が上にくる状態)にも放置されることを考慮して、センタホール100hとほぼ同じ直径同径を備えていることが好ましい。このような関係を満たすことによって、ディスクカートリッジ311が表向きに放置される場合においてシャッタ21、22に埃が付着することを防ぎ、ディスクカートリッジ311が裏向きに放置される場合において、ディスク100の情報記録面側100Aに直接埃が付着するのを防止できるためである。
なお、ディスクカートリッジ311において、シャッタ21、22を開閉するための開閉操作部は、シャッタ22に設けられており、第8の実施形態のディスクカートリッジ308とは異なっている。具体的には、図51および57に示すように、開閉操作部22tおよび弾性部22vとこれを介して形成されるロック突起部22kがシャッタ22と一体に形成されている。このため、第8の実施形態とは異なって、ディスク100側から見て、開閉操作部22tはヘッド開口部21hの右側に位置している。開閉操作部22tの機能や動作は第8の実施形態のディスクカートリッジ308と同じである。
(第12の実施形態)
以下、本発明の第12の実施形態に係わるディスクカートリッジ312について、図を参照しながら説明する。
ディスクカートリッジ312は、ディスク収納部10dの内側側面12iに鍔12tを有する点およびシャッタ21、22の孔20hの周囲に凸部20wを有する点で第11の実施形態のディスクカートリッジ311とは異なっている。以下に、これらの特徴について説明をする。
図58に示すように、鍔12tは、カートリッジ上体12の内側側面12iからディスク100の内周方向に張り出しており、ディスク収納部10dの外周部のほぼ全域に形成されている。ディスク100がディスク収納部10dに収納されたときのディスクカートリッジ312の断面は図59に示されている。シャッタ21および22が閉じた状態では、図59に示すように、ディスク100の情報記録面100Aの外周部は鍔12tに当接する。これにより、ディスク100の外周部とカートリッジ本体との隙間が塞がり、情報記録面100A側へ埃が進入するのを防止することができる。
カートリッジ本体10の鍔12tとカートリッジ下体11との間には、空隙10wを設けており、シャッタ21、22が開くとき、図60および61に示すように、空隙10wにシャッタ21、22の一部が入り込んで、カートリッジ本体10とシャッタ21、22とが干渉するのを防いでいる。
このような構造においては、図59に示すように、シャッタ21、22が閉じている時、ディスク100とシャッタ21、22との間に外部に通じる隙間10zが生じる。この隙間10zを塞ぐためディスクセンターホール100h近傍に凸部21wおよび22wをシャッタ21および22に設けている。図58に示すように、シャッタ21、22が閉じた状態では、凸部21w、22wは密着し、ディスクセンターホール100h近傍の全周を塞ぐ凸部20wが形成される。これによりディスクセンターホール100h近傍からディスク100の情報記録面100A側への埃の進入を防止できる。
凸部21w、22wの先端は、ディスク100の情報記録面100Aと接触する可能性がある。このため、凸部21w、22wの稜線を丸くして、ディスクへの傷付きを防止することが好ましい。また、凸部21w、22wは、シャッタ21、22とそれぞれ一体に形成してもよい。この場合、凸部20wのディスク100と当接する部分にディスクへの傷付き防止用の不織布を粘着あるいは超音波溶着するか、傷付き防止用のコーティングを形成することが好ましい。また、凸部21w、22w自体をディスクへの傷付き防止用の不織布あるいは傷付き防止用のコーティングで形成し、シャッタ21および22上に直接、超音波溶着するか、または固着してもよい。
また、図59に良く示されているように、シャッタ21および22が閉塞状態では、ディスク100は凸部20wと鍔12tとにより、シャッタ21および22から空隙10zだけ浮いた状態でシャッタ21および22に保持されている。すなわち、ディスク100の情報記録面100Aの大部分はシャッタ21および22には面接触していない。従って、シャッタ21および22に傷付防止用不織布の貼り付け等の処理が施されていない場合でも、情報記録面100Aに傷がつくことを防止できるという効果もある。
図62および63は、ディスク100の外周方向に拡大された凸部21w’および22w’を有するディスクカートリッジを示しており、図62はシャッタ21、22が閉じた状態を示し、図63はシャッタ21、22が開いた状態を示している。
図62および63に示すように凸部21w’および22w’は、シャッタ21、22が開放している状態において、ディスク収納部10dに設けられた鍔12tよりもディスク収納部の中心側に設けられていることが好ましい。これにより、凸部21w’および22w’と鍔12tとが接触したり干渉したりすることを防ぐことができる。
凸部21w’および22w’はシャッタ21および22とそれぞれ一体に形成してもよい。この場合、凸部21w’および22w’のディスク100と当接する部分にディスクへの傷付き防止用の不織布を粘着あるいは超音波溶着するか、傷付き防止用のコーティングを形成することが好ましい。また、凸部21w’および22w’自体をディスクへの傷付き防止用の不織布あるいは傷付き防止用のコーティングで形成し、シャッタ21および22上に直接、超音波溶着するか、または固着してもよい。
(第13の実施形態)
以下、本発明の第13の実施形態に係わるディスクカートリッジ313について、図を参照しながら説明する。
まず、図64および65を参照して、ディスクカートリッジ313のおおまかな構造を説明する。なお、第8の実施形態と同様、図64および65に示されるディスク100は第1および第2の面を備えており、図64では、第1の面であり、通常ディスクのラベル等が描かれている面が示されている。ディスク100の第2の面である情報記録面100Aは、図65において裏面として示されている。
図64および65に示すように、ディスクカートリッジ313は、カートリッジ下体11、カートリッジ上体12、一対のシャッタ21、22および脱落防止部材23を含む。
カートリッジ下体11は、図65に示すように、外部からディスク100を回転させるためのスピンドルモータ等のチャッキング部材が侵入できるよう開口したチャッキング開口部11cと、ディスク100の情報記録面100Aに対して情報の再生および記録の少なくとも一方を行うヘッドが侵入し、アクセスできるよう開口したヘッド開口部11hとを有する。カートリッジ下体11は、ディスク100の情報記録面100Aと対向する。またカートリッジ下体11は合成樹脂を成形して形成されている。
ヘッド開口部11は、カートリッジ下体11の側面にまで達しており、ヘッド開口部11hによりカートリッジ下体11の剛性が弱くなるのを防止するために、ヘッド開口部11hを繋ぐ橋梁部11bをカートリッジ下体11は有している。
またカートリッジ下体11の裏面には、ドライブ装置側のカートリッジ位置決めピンを挿入するための位置決め孔11wを2ヶ所設けている。
カートリッジ上体12は、ディスク100の出し入れが可能であり、ディスクの上面を露出するようにディスク100の全投影領域を開口する円形のディスク開口部12wを有する。カートリッジ上体12とカートリッジ下体11とは外縁部で接着もしくは溶着されてカートリッジ本体10を構成している。カートリッジ上体12も合成樹脂から形成されている。
カートリッジ下体11のディスク100の情報記録面100Aと向かい合う第1の内側面11uと、カートリッジ上体12のディスク開口部12wを構成する略円筒状の第2の内側面12iとにより、ディスク100を収納するディスク収納部10dが構成される。これにより、第1の内側面11uがディスク収納部10dの底部となる。
ディスク収納部10dにおいて、第2の内側面12iとディスク100との間にはディスク100が回転可能な程度の空間が設けられる。また、ディスク収納部10dの上部はディスク開口部12wになっており、ディスク収納部10dに保持されたディスク100は、その片面をディスク開口部12wから外部に露出する。
脱落防止部材23は、その一部がディスク開口部12wに突出するようにカートリッジ上体12に着脱可能に設けられている。図64および65に示すように、本実施形態では脱落防止部材23は2つ設けられている。一方、カートリッジ上体12には、カートリッジ上体12と一体に形成されており、ディスク開口部12wから突出している脱落防止部12sが設けられている。2つの脱落防止部材23および脱落防止部12sは、ディスク開口部12wの円周上において、おおよそ等間隔に配置されており、ディスク開口部12wからディスク100が脱落することを防止する。また脱落防止部12sの一部に凸形状のディスク当接部12s’を2ヶ所設けている。このディスク当接部12s’の高さは、ディスク100から見た場合、脱落防止部材23のディスク当接部23aと同じ高さである。
この構造によって、ディスクカートリッジ313が垂直、或いは裏向きの状態で使用されても、ディスク100の姿勢を安定に保つことができる。従って、ディスクカートリッジ313を垂直、あるいは裏向きの状態でドライブ装置に挿入して使用する場合において、特に脱落防止の効果を発揮する。なお、脱落防止部材23は、着脱可能にカートリッジ本体10に取り付けられていなくてもよい。ディスク100がカートリッジ本体10から取り出せる程度にディスク収納部10d内において回動あるいは昇降できる限り、カートリッジ上体12に脱落防止部材23が固定されていてもよい。
シャッタ21および22は、ディスク100の情報記録面100Aとディスク収納部10dの内側面11uとの間の同一平面上に設けられている。シャッタ21および22は、回動孔21uおよび22uをそれぞれ有しており、カートリッジ本体10のディスク収納部10d以外の領域であって、かつヘッド開口部11hと反対側に設けられた一対の回動軸11sに回動孔21u、22uが回動自在にそれぞれ嵌合している。このため、チャッキング開口部11cおよびヘッド開口部11hを外部に対して開放または閉塞するようシャッタ21および22は回動軸11sを中心に移動する。シャッタ21および22も合成樹脂から形成される。
シャッタ21および22の回動孔21uおよび22u近傍にはそれぞれリング形状部21cおよびピン状部22cが設けられている。リング形状部21cおよびピン状部22cは互いに噛み合う形状を備え、シャッタ21および22を互いに連動しながら開閉させる連動機構20cを構成している。連動機構20cは、カム機構、あるいは歯車機構等の連動動作可能な他の機構で構成してもよい。
シャッタ21および22のディスク情報記録面100Aと向かい合う面にはディスク100への傷つき、もしくは情報記録面100Aへの埃塵の侵入を防止する保護層21p、22pが設けられている。
保護層21pおよび22pは、傷つき防止用不織布、防塵用不織布、傷つき防止用コーティング層、および防塵用コーティング層から適宜選択することができる。本実施形態では、防塵用不織布からなるシートを保護層21p、22pとして貼着もしくは超音波溶着させている。
シャッタ21に設けられたロック突起部21kと、これと噛み合うよう、シャッタ22に設けられたロック係合部22kとは、シャッタ21および22を互いに開閉ロックさせるロック機構20kを構成している。この構造により、シャッタ21および22同士を開閉ロックすることができるので、操作者が容易にシャッタを開放させてしまうことを防ぐ。そして、ディスク100の情報記録面100Aへの埃・指紋・傷等の付着を防止する。ロック突起部21kはシャッタ21と、ロック係合部22kはシャッタ22と、それぞれ一体に形成されている。
また、シャッタ21および22には切り欠き21hおよび22hが設けられている。シャッタ21および22が閉塞状態では切り欠き21hと22hとが当接し、孔20hを形成する。シャッタ21および22が閉塞している状態において、孔20hは、ディスク100のセンタホール100hに対応する位置にあり、孔20hの直径はディスク100のセンタホール100hの直径とほぼ等しい。これにより、ディスクカートリッジ313が表向きに放置される場合においてシャッタ21、22に埃が付着することを防ぎ、ディスクカートリッジ313が裏向きに放置される場合において、ディスク100の情報記録面側100Aに直接埃が付着するのを防止できる。
第8の実施形態等で説明したように、シャッタ21および22には、シャッタが閉塞状態の時にディスク100を保持するためのディスク保持部21a、21b、22a、22bがディスク円周上に散在する形でシャッタ21および22と一体に成形されている。ディスク保持部21a、21b、22a、22bのディスク100と当接する部分は逆テーパー状の斜面になっている。これらの斜面により、シャッタ21、22が閉塞状態において、ディスク100をシャッタ21、22側に押圧しながら確実に保持することができる。
また、本実施形態では、ディスク保持部21bのみ、シャッタ21に固定されずに弾性部21dにより結合されており、ディスク100の半径方向(ディスクの中心へ向かって)自在に移動できるように形成されている。これにより、装着されるディスクの直径、あるいは厚みがばらついた場合でも、ガタつきなく確実にディスク保持部21a、21b、22a、22bがディスク100を保持できる。
回動孔22uの反対側、即ちディスク保持部22aの近傍にはシャッタ22を開閉操作するためのシャッタ開閉操作部22tがシャッタ22に一体に形成されている。そしてカートリッジ本体10にシャッタ21および22装着された場合、シャッタ開閉操作部22tは橋梁部11bの下側のヘッド開口部11h内に位置する。シャッタ21および22を開閉操作する際、開閉操作部22tは、橋梁部11bに沿って、ヘッド開口部11h内で移動する。この配置により、カートリッジ本体10にシャッタ開閉操作部22tが移動するための空隙を別途設ける必要がなくなる。言い換えれば、カートリッジ本体10に余計な空隙を設ける必要がなくなり、カートリッジ本体10内への埃の進入を防止することができる。またシャッタ開閉操作部22tをカートリッジ本体10のヘッド開口部内に配置することができるので、デザイン的に優れたカートリッジを提供することができる。
図66に示すように、シャッタ21とシャッタ22とは、一直線上において当接するのではなく、直線上にない複数の接合面を有する。具体的には、チャッキング開口部11c領域では、シャッタ21およびシャッタ22は、それぞれ第1の接合面である21fおよび22fを有し、ヘッド開口部11h領域では、シャッタ21およびシャッタ22は、それぞれ第2の接合面である21gおよび22gを有している。接合面21fおよび22fは、本実施形態ではディスクカートリッジ313の対称中心線上で当接する。一方、接合面21gおよび22gは、対称中心線から所定の角度、ここでは約15〜16度だけずれた直線上で当接している。このような形状にすることにより、シャッタ開閉操作部22t近傍から一体化した形状でシャッタ22を形成することができ、シャッタ22の剛性を十分確保することができる。
シャッタ21および22は、ディスク収納部10d以外の領域にそれぞれ設けられたシャッタバネ31および32によって、シャッタ21および22が閉じる方向に付勢されている。シャッタバネ31および32は、カートリッジリッジ下体11に2ヶ所設けたバネ柱11tにそれぞれ挿入される。本実施形態では、シャッタバネ31および32としてねじりコイルバネを使用している。同じ形状のバネをシャッタバネ31および32として用いることにより、コストを低減している。ねじりコイルバネ以外に、圧縮バネ、板バネ、樹脂弾性バネ等、種々の弾性部材をシャッタバネとして用いることができる。
図65に示すように、ディスクカートリッジ313は、ライトプロテクト部材40を備えている。ライトプロテクト部材40は、カートリッジ下体11の溝部11vに摺動可能に装着される。ライトプロテクト部材40を摺動することにより、凸部40tの位置が移動し、ドライブ装置に設けられた検出スイッチが、凸部40tの位置に対応してONまたはOFF状態になる。これによってディスク100への記録を禁止したり、許可したりすることができる。
上述したカートリッジ下体11とカートリッジ上体12からなるカートリッジ本体10、脱落防止部材23、シャッタ21、22、シャッタバネ31、32、ライトプロテクト部材40により、ディスクカートリッジ313は構成されている。
カートリッジ下体11とカートリッジ上体12が接合される際、カートリッジ下体11の2つの回動軸11sはカートリッジ上体12の2つの凹部12hにそれぞれ嵌合されるようになっている。これにより回動軸11sの剛性が上がり、シャッタ21および22が開放状態の時においても、シャッタバネ31および32の付勢力によるシャッタ回動周辺部のねじれが低減でき、確実なシャッタ開放量を確保できる。
カートリッジ本体10(カートリッジ上体12)の上面には、収納されるディスク100に書き込まれた内容などを記述することのできるラベル面10f、ディスクカートリッジ313のドライブ装置への挿入方向(矢印1A)を示す矢印形の刻印または凹部10aが設けられている。
また、挿入方向1Aに平行なカートリッジ本体10の2つの側面に設けた一対の凹部10cおよび10eは、ドライブ装置がディスクカートリッジ313をローディングする際の、或いはカートリッジ313がチェンジャに収納された場合の、引き込み用の係止もしくは位置決め用の窪みとして用いることができる。またカートリッジ本体の一側面に設けたスリット部10bは、ドライブ装置にディスクカートリッジ313を挿入する際の表裏検出用の窪みとして用いることができる。
次に、ディスクカートリッジ313の動作について、シャッタが閉じた状態を示す図66、シャッタが開いた状態を示す図67、シャッタロック部詳細図である図68、およびシャッタのディスク保持部の詳細図である図69を参照しながら説明する。
まずディスクカートリッジ313がドライブ装置に装着されない状態、即ち保管状態について説明する。このとき、図66に示すようにシャッタ21および22は閉塞している状態にあり、図69に示すように、シャッタ22のディスク保持部22aの斜面部22a’がディスク100の稜に当接することにより、ディスク100を保持し、かつ厚み方向100t方向へ押圧し、シャッタ22のシート22pに情報記録面100Aを面接触させ、ディスク100をカートリッジ本体10に保持固定する。その他のディスク保持部21a、21b、22bについてもそれぞれ斜面部21a’、21b’、22b’が形成されており、斜面部22a’と同様にディスク100をカートリッジ本体10に保持固定する。
この状態では、ディスク100の情報記録面100Aがシート21pおよび22pに密着しているため、情報記録面100Aへの埃の付着を防止できる。また、外部から露出したディスク100の片面を強制的に回転させることにより、またはシャッタ21および22を強制的に開閉動作させることにより、ディスク100の情報記録面100Aに付着した埃や指紋等の汚れを払拭することもできる。
またロック機構20kによりシャッタ21および22は開閉ロックされているので、操作者が簡単にはシャッタ21および22を開放できない。従って、ディスク100の情報記録面側100Aを保護でき、埃、指紋、傷等の付着を防止できる。
またディスク100のセンタホール100hに対応するシャッタ21および22の領域には、シャッタ21および22のそれぞれの切り欠き21hと22hとによって形成される孔20hを設けている。したがって、カートリッジ313が放置された状態において、センタホール100hから進入による埃がシャッタ21および22に付着するのを防止できる。
またシャッタ21および22が閉塞している時、シャッタ21と22との接合面のうち、少なくともヘッド開口部11hとチャッキング開口部11cの上で突き合わされる接合面21fおよび22fならびに接合面21gおよび22gは、図70および71に示すように、ディスク100の厚み方向に重畳している。従って、ディスク100の直径がばらついている等の理由によって、シャッタ21および22が完全には閉塞しない場合、あるいはシャッタ21とシャッタ22とのロックが不完全であるため、シャッタ21および22が完全には閉塞しない場合であっても、シャッタ21および22の接合面には隙間を生じない。このため、このような場合でも、ディスク100に埃、指紋、傷等が付着することを確実に防止できる。
また図70に示すように、ヘッド開口部11h周辺において、シャッタ21と22とは、シャッタ22の接合面22gがシャッタ21の接合面21gよりも上になるように接合している。一方、図71に示すように、チャッキング開口部11c周辺においては、シャッタ21と22とは、シャッタ21の接合面21fがシャッタ22の接合面22fよりも上になるように接合している。この様にシャッタ21および22が当接する複数の接合面の間で接合面の角度が異なるようにしてもよい。このような構造にすることによって、ディスクの厚み方向に対して2枚のシャッタ21および22が確実に係合するので、シャッタ21および22のそれぞれが浮きあがることを防止でき、更に、シャッタ21および22が閉塞した状態において、シャッタ21および22の接合面の剛性を高めることができる。
なお、本実施形態において、シャッタ21および22は、図70および71に示すような接合面21g、22g、21f、22gを有しているが、シャッタ21および22の接合面の位置や接合の仕方は、図70および71に示す以外の位置や接合の仕方であってもよい。例えば、図70において示している接合面21g、22gをヘッド開口部11h周辺に配置し、接合するようにしてもよいし、逆に図71において示している接合面21f、22fをチャッキング開口部11c周辺に配置し、接合するようにしてもよい。これにより、シャッタ21および22の閉塞時の剛性がより向上し、接合面の隙間を減少させることができ、カートリッジ内部への埃の侵入を防止できる。
またシャッタ21および22が閉塞している状態では、図68に示すシャッタ21および22に設けた凸部21j、22jがそれぞれ図65に示すカートリッジ上体12に設けられた2個のシャッタストッパー部12fに当接している。したがって、シャッタ21および22は回動に対して規制されており、閉塞している状態から移動することはない。これにより、シャッタのガタを防止することができ、また、操作者の故意的な扱いによるシャッタの破損を防止することができる。さらにシャッタ21および22の回動が規制されるため、シャッタ開閉操作部22tの位置が変動しない。このため、ディスクカートリッジ313をドライブ装置に挿入した場合、ドライブ装置のシャッタ開閉機構がシャッタ開閉操作部22tを確実に係合することができる。
次にディスクカートリッジ313がドライブ装置に装着される状態を説明する。図66に示すように、ディスクカートリッジ313を1A方向にドライブ装置に挿入すると、ドライブ装置に設けたカートリッジ位置決めピンがディスクカートリッジ313の位置決め孔11wに係合し、ドライブ装置内でのディスクカートリッジ313の水平方向および高さ方向の位置決めがなされる。
次にドライブ装置内に備えられたシャッタ開閉機構のシャッタ開閉部材が図68に示すシャッタ開閉操作部22tに係合し、かつシャッタ開閉機構のロック解除部材がシャッタ21のロック弾性部21eで繋がったロック押圧部21yを20A方向に押圧する。これにより、ロック機構20kのロック突起部21kとロック係合部22kとが離れ、ロックが解除される。この状態で同時にシャッタ開閉部材によりシャッタ開閉操作部22tが20B方向に移動する。図67に示すように、シャッタ21は回動軸11sを回動中心にして、シャッタバネ31の付勢力に反して回動する。これに伴い、連動機構20cで連動したシャッタ22も同様にシャッタバネ32の付勢力に反して回動する。したがって、シャッタ21が完全に開くと、シャッタ22も開放が完了する。
またこのとき、ロック突起部21kおよびロック押圧部21yはロック弾性部21eにより元の形状位置に復帰している。したがって、樹脂によって形成されたロック弾性部21eの塑性変形は発生しない。この様にして、ディスク100の情報記録面100Aはチャッキング開口部11cとヘッド開口部11hを通じて外部に露出される。またディスク保持部21a、21b、22a、22bにより保持されていたディスク100は、シャッタ21および22が回動することにより、保持から開放され、ディスク収納部10d内で回転可能な状態となる。
続いて、ドライブ装置のスピンドルモータおよびターンテーブル、ヘッドが、それぞれチャッキング開口部11cとヘッド開口部11hに進入し、ディスク100への記録あるいは再生が可能な状態となる。
この様に、外部から突起物等によりロック突起部21kを20A方向に押してロック係合部22kとの嵌合を外しながら、同時にシャッタ開閉操作部22tを矢印20B方向に押すことによってのみ、シャッタ21および22を回動させてチャッキング開口部11cとヘッド開口部11hを外部に対して開放し、同時にディスク保持部21a、21b、22a、22bによるディスク100の保持を解除することができる。従って、操作者による安易なシャッタの開放、あるいはディスクの取り外しを防ぐことができるので、ディスク100への埃・指紋・傷等の付着を防止することができる。
次にディスクカートリッジ313がドライブ装置からイジェクトされる状態を説明する。ドライブ装置のイジェクト機構が作動すると、シャッタ開閉操作部22tに係合したシャッタ開閉部材がシャッタ開閉操作部22tより離れる。これによりシャッタ21および22の開放維持ができなくなり、シャッタバネ31および32で閉塞方向に付勢されているシャッタ21および22は、閉塞方向に回動する。その結果、シャッタ21および22がヘッド開口部11hおよびチャッキング開口部11cを閉塞する。この時、シャッタ21および22はロック機構20kにより開閉ロックされる。またディスク100はディスク保持部21a、21b、22a、22bにより保持され、元の状態に戻る。この状態でカートリッジ313はドライブ装置からイジェクトされる。
なお、ディスクカートリッジ313において、図69に示すように、カートリッジ本体10に設けた脱落防止部材23のディスク当接部23aの高さとカートリッジ上体12のディスク当接部12s’の高さは同じである。またシャッタ21および22のディスク保持部21a(21b、22a、22b)の斜面部21a’(21b’、22a’、22b’)は、ディスク当接部23aおよび12s’よりもディスク100の上方向即ち100u方向へ向けて高く形成されている。これにより、ドライブ装置の形態次第によってディスクカートリッジ313が垂直の状態、あるいは裏向きの状態で使用された場合でも、シャッタ21および22はディスク100を確実に保持することができる。例えば、特にディスク100が裏向きの状態で使用された場合、ディスク100はチャッキング状態から開放されるとディスク当接部23aおよび12s’に当接し、安定した水平状態を維持する。この状態でシャッタ21および22が閉塞状態に移行すると、ディスク100は斜面21a’(21b’、22a’、22b’)に当接し、斜面を滑らかに滑り込みディスク保持部21a(21b、22a、22b)により確実に保持される。
以上述べたように、本実施形態のディスクカートリッジによれば、カートリッジ本体にディスク開口部を有する構造を備え、ディスクの一方の面のみを覆っておる。また、シャッタの開閉操作部をカートリッジ本体のヘッド開口部に設けることにより、カートリッジ本体に不要な隙間を形成する必要がなくなる。これによって、カートリッジ本体内への埃の進入を防止することができる。
また、2枚のシャッタをチャッキング開口部領域ではディスクの中心線上で当接させ、ヘッド開口部領域ではディスクの中心線から所定の角度だけずれた直線上で当接させている。これにより、シャッタ開閉操作部近傍から一体化した形状にすることができ、シャッタの剛性を十分確保することができる。
また2枚のシャッタは互いに開閉ロックされる構成としているため、操作者は容易にシャッタを開放することができない。したがって、ディスクへの埃・指紋・傷等の付着を防止することができる。
また複数のディスク保持部のうち、少なくとも一つはシャッタに固定されずに弾性部により結合されており、シャッタバネの力も付加されディスクの半径方向に弾性変形できる。これにより装着されるディスクの径がばらついた場合でも、ガタつきなく確実にディスクを保持することができる。
(第14の実施形態)
以下に本発明の第14の実施形態によるディスクカートリッジ314について図72から81を参照して説明する。本実施形態のディスクカートリッジ314において第13実施形態のディスクカートリッジ313と同じ構成要素には同じ参照符号を付している。
ディスクカートリッジ314が、第13の実施形態のディスクカートリッジ313と異なっている点は、カートリッジ上体12の内側上面12uの形状(図79)、ディスク保持部21a、21b、22aおよび22bの形状(図72から79)、ならびに脱落防止部材53の形状(図72、77、78)である。また、ディスクカートリッジ314は更にディスク受け部60(図72および81)を有している。以下にディスクカートリッジ314のこれら相違点を主に説明する。
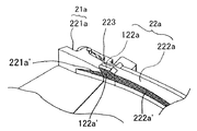
第13の実施形態のディスクカートリッジ313において、ディスク保持部21a、21b、22a、22bの高さは、ディスク100の外周に沿ってほぼ同じであった。これに対し、本実施形態のディスクカートリッジ314では、図73および79に示すように、ディスク保持部21b、22aおよび22bの一部に突起が設けられている。具体的には、ディスク保持部21b、22aおよび22bは、突起を含み、第1の高さh1を有する第1の領域121b、122aおよび122bと、第2の高さh2を有する第2の領域221b、222aおよび222bとをそれぞれ含んでいる。一方、ディスク保持部21aは、第2の高さh2を有する第2の領域221aのみを含んでいる。
第1の高さh1は第2の高さh2よりも大きいが、第13実施形態のディスクカートリッジ313のディスク保持部21a、21b、22a、22bの高さと同程度である。つまり、本実施形態のディスク保持部21a、21b、22a、22bは、第1の領域121b、122aおよび122bをのぞいて、第13の実施形態のディスクカートリッジ313のディスク保持部21a、21b、22a、22bよりも低くなっている。
また、図74および75に示すように、ディスク保持部22aの第1の領域122aの上面は、ディスクの外周に沿う方向にそって、ディスク側が高くなっている段差223が設けられている。ディスク保持部21bの第1の領域121bの上面およびディスク保持部22bの第1の領域122bも同様に段差を備えている。
第1の領域121b、122aおよび122bは、シャッタ21および22が閉じてきたときにそれぞれのディスク保持部21b、22aおよび22bにおいて、一番早くディスクと接する領域であり、したがって、第2の領域221b、222a、222bよりも先にディスク100と接する。
ディスク保持部21a、21b、22a、22bはシャッタ21および22の開閉にともなって移動する。図77および78はシャッタ21および22が閉じているときおよび開いているときのディスク保持部21a、21b、22a、22bの位置をよく示している。また、図79および80には、図78に示されるB−B断面およびC−C断面が示されている。
図77から79に示すように、カートリッジ上体12の内側上面12uであって、シャッタ21および22を開閉したとき、ディスク保持部21b、22a、22bの第1の領域121b、122a、122bが通過する領域12y、12x、12zは窪んでいる。一方、第2の領域221b、222a、222bが通過する領域12y’、12x’、12z’は窪んでいない。したがって、領域12x、12y、12zにおけるカートリッジ上体12の厚みは、領域12x’、12y’、12z’や他の領域に比べて薄くなっている。
図76および79に示すように、第1の領域122aの先端は、脱落防止部材53の下面よりも上に位置している。また、ディスク保持部22aの第1の領域122aの先端部分が、カートリッジ上体12の内側上面12uに設けられた領域12xの凹部に入り込んでおり、領域12xの凹部が第1の領域122aの先端部分を受けている。第1の領域122aの先端部分では、段差223により、第1の領域122aの上面の一部のみが内側上面12uと接している。第2の領域222aは、カートリッジ上体12の内側上面12uと接していない。
シャッタ21および22の開閉動作を円滑にするために、ディスク保持部22aの第1の領域122aの先端部分とカートリッジ上体12の内側上面12uとの接触による摩擦は小さいほうが好ましい。このため、ディスク保持部22aの第1の領域122aの先端部分は、ディスク100の半径方向に沿う断面が円弧の一部となる凸部形状になっている。段差223は、先端部分を鋭利な形状とすることによる強度の不足を補い、先端部分の成形精度を上げると共に成形を容易にするために設けられている。
図80に示すように、ディスク保持部22bにおいても、第1の領域122bの先端は、脱落防止部材53の下面より上方に位置している。また、第1の領域122bの先端部分は、カートリッジ上体12の内側上面12uに設けられた領域12zの凹部に入り込んでおり、領域12zの凹部が第1の領域122bの先端部分を受けている。図示しないが、ディスク保持部21bにおいても、第1の領域121bの先端が脱落防止部材53の下面より上方に位置しており、カートリッジ上体12の内側上面12uに設けられた領域12yの凹部に入り込んでいる。
このように、カートリッジ上体12の内側上面12uの領域12x、12y、および12zを窪ませ、その凹部に、ディスク保持部の一部を入り込ませることによって、領域12x、12y、および12zの凹部の深さ分だけ、ディスクカートリッジ314全体を薄くすることができる。
このような構造によれば、仮にカートリッジが垂直あるいは裏向きの状態で使用された場合でも、ディスク100がチャッキングから開放され、シャッタ21および22が閉じてくると、確実にディスク保持部22aの第1の領域122aの傾斜部122a’がディスク100に当接する。そして傾斜部122a’を滑らかに滑り込んで、ディスク保持部22aの第2の領域222aの傾斜部222a’も当接するようになる(図74)。このとき、突起の設けられていないディスク保持部21aの第2の領域221aの傾斜部221a’もディスク100に当接する。その結果、ディスク保持部21aおよび22aが、協同してディスク100を保持するようになる。ディスク保持部21bおよび22bも同様の動作によって、ディスク100を保持する。したがって、ディスクカートリッジを薄くしても、あらゆる姿勢においてシャッタを確実に閉じることができ、ディスクを確実に保持することができる。
なお、もし、ディスク保持部の形状を第1の実施形態と同じにしたままで、ディスクカートリッジ全体を薄くしようとすれば、図78に示すように、カートリッジ上体12の内側上面12uのディスク保持部22a、21b、および22b全体が通過する領域12x、12x’、12y、12y’12z、および12z’を窪ませる必要がある。この場合、カートリッジ上体12において、かなり広い面積にわたって厚みが薄くなってしまい、ディスクカートリッジ全体の強度を損ねてしまう。これに対して、ディスクカートリッジ314によれば、厚みを薄くしている領域12x、12y、12zは狭いので、ディスクカートリッジ全体の強度を損なうことなく、ディスクカートリッジの厚みを小さくすることができる。
本実施形態では、4つのディスク保持部のうち、3つに突起を設けて第1の領域としているが、ディスク保持部の数やシャッタの形状に合わせて種々の数を選ぶことができる。
本実施形態のディスクカートリッジ314において第13の実施形態のディスクカートリッジ313と異なる他の点は脱落防止部材53の構成にある。
図72に示すように、脱落防止部材53は円板の一部を切り取った形状をしている。カートリッジ上体12のディスク開口12wに接するように脱落防止部材53にほぼ対応する切り欠き54が設けられ、脱落防止部材53は回転可能なように切り欠き54に係合されている。図77に示すように、脱落防止部材53は、回転によって、カートリッジ上体12のディスク開口12wに脱落防止部材53の一部が突出するように保持される。また、図78に示すように、脱落防止部材53を回転させることによって、脱落防止部材53がカートリッジ上体に収まり、突出した部分がディスク開口12wにない状態にも脱落防止部材53を保持し得る。脱落防止部材53が切り欠き54から外れることが問題となる場合には、脱落防止部材53の側面と切り欠き54を形成しているカートリッジ上体12の側面とに係合する凹凸などを設ければよい。
このような構造にすることによって、脱落防止部材53の厚みをカートリッジ上体12の上面とほぼ同じにすることができるので、ディスクカートリッジ314全体の厚みを薄くすることができる。
本実施形態のディスクカートリッジ314において、次に特徴的なところは、図72、77、78および81に示されるように、カートリッジ下体の内側下面11uと内側側面11iとがつくるディスク収納部の底部内周にディスク受け部60が設けられている点である。ディスク受け部60は、カートリッジ下体の内側下面11uに平行な上面60aを有している。
シャッタ21および22が閉塞状態にあり、ディスク100がディスク保持部によって保持されているとき、ディスク100の情報記録面100Aの外周近傍と、ディスク受け部60の上面60aとが接する。これによって、ディスク100の情報記録面100Aに埃が付着したり、カートリッジ下体の内側下面11に埃がたまったりするのを防止することができる。
ディスク受け部60の形状は図81以外のものであってもよい。例えば、図82に示すように、カートリッジ下体の内側下面11uと内側側面11iとに接するように設けられたテーパー形状を有するディスク受け部76を設けても良い。この場合、シャッタ21および22が閉塞状態にあり、ディスク100がディスク保持部によって保持されているとき、ディスク100の情報記録面100Aの外周がディスク受け部76と接する。
(第15の実施形態)
以下に本発明の第15の実施形態によるディスクカートリッジ315について図83から87を参照して説明する。本実施形態のディスクカートリッジ315において第14の実施形態のディスクカートリッジ314と同じ構成要素には同じ参照符号を付している。
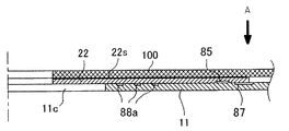
図83に示すように、ディスクカートリッジ315は、カートリッジ下体11の内側下面11uのシャッタ21および22と接触する領域、ならびにシャッタ21および22の下面21vおよび22vに4種類の凹部85、86、87、88a〜88cが設けられている点でディスクカートリッジ314と異なっている。これら4種類の凹部について順に説明する。なお、凹部の深さは、12cmのディスクを保持するディスクカートリッジの場合には、例えば約0.1mmから0.3mmである。
シャッタ21および22が閉じた状態を示す図84および開いた状態を示す図85によくあらわされているように、まず、シャッタ21および22が開閉する際、シャッタ21および22のディスク保持部21a、21b、22aおよび22bが接するカートリッジ下体11の内側下面11uの領域において、第1の凹部86が設けられている。
ディスク保持部21a、21b、22aおよび22bは、ほぼ隙間なくカートリッジ上体12および下体11により挟み込まれている。ディスクカートリッジ315の組み立て時、あるいは、ディスクカートリッジ315を構成している部品の寸法ばらつきによって、ディスク保持部21a、21b、22aおよび22bは、カートリッジ上体12および下体11に強く接触する可能性がある。これによって、ディスク保持部21a、21b、22aおよび22bとカートリッジ上体12あるいは下体11との摩擦が大きくなり、シャッタ21および22の開閉動作が不安定になったり、摩擦によって発塵したりする。
第1の凹部86を設けることによって、ディスク保持部21a、21b、22aおよび22bの下部に隙間が形成されるため、このような摩擦を低減することができ、シャッタ21および22の開閉動作を安定させ、摩擦による発塵を低減することができる。
第2の凹部87は、シャッタ21および22が閉じているとき、シャッタ21および22の外形エッジ部が位置する領域に設けられる。図84および86に示すように、第2の凹部87はシャッタ21および22の外形エッジ部と対応するカートリッジ下体11の内側下面11uの線を含んでその外側および内側に渡って設けられていることが好ましい。
ディスクカートリッジ315はディスクの片面を露出させて収納するため、図86に示すようにディスク100を矢印Aで示すように押さえつけることが可能である。ディスク100の情報記録面100Aを保護するため、不織布21sおよび22sが設けられているが、シャッタ21および22の外形エッジ部にまで完全には貼り付けられていない。このため、ディスク100を矢印Aで示すように押さえつけるとシャッタ21および22の外形エッジ部が、ディスク100の情報記録面100Aと接触して、情報記録面100Aに傷がつく恐れがある。
しかし、第2の凹部87を設けることによって、シャッタ21および22の外形エッジ部はその一部が第2の凹部87のなかへ入り込むように変形することができるようになる。これによって、押さえつける力を分散し、ディスク100の情報記録面100Aにシャッタ21および22の外形エッジ部が強く接触するのを防止する。
第3の凹部は、チャッキング開口部11cおよびヘッド開口部11hを囲むように内側下面11u上設けられた第3の凹部88aと、シャッタ21および22が閉じている状態でシャッタ21および22とは重なっていない内側下面11uの領域に設けられた第3の凹部88bと、シャッタ21および22が閉じている状態でシャッタ21および22と重なっている内側下面11uの領域に設けられた第3の凹部88cを含む。第3の凹部88bおよび88cはディスク収納部の内側面に沿って円弧状に設けられている。また、本実施形態では、第3の凹部88aは3本設けられている。
ディスクカートリッジ315には、ディスク受け部等、埃がディスクカートリッジ内に入りこんだり、ディスクの情報記録面に埃が付着したりするのを防ぐための種々の構造が取り入れられているが、埃の進入や付着を完全に防止することは難しい。
第3の凹部は、こうしたディスクカートリッジ315内に進入した埃を貯めておく働きをする。具体的には、シャッタ21および22の開閉動作にともなって、埃がこれら第3の凹部へ移動する。いったん第3の凹部へ入った埃は、シャッタ21および22と接することがないため、再び第3の凹部からでていくことなく、第3の凹部にとどまり続ける。このようにして第3の凹部に埃を貯めておくことによって、埃によるシャッタの動作不良や摩擦による発塵を低減することができる。
なお、このような効果は、上記第1の凹部86および第2の凹部87によっても得られる。したがって、上記第1の凹部86、第2の凹部87および第3の凹部88aから88cは、必ずしもすべてを備えている必要はなく、いずれかひとつを備えているだけでも、少なくとも埃によるシャッタの動作不良や摩擦による発塵を低減することができる。
また、シャッタ21および22とカートリッジ下体11の内側下面11uとの間に入り込んだ埃をより効果的に取り除いて、第2の凹部87等に溜め込むために、シャッタ21および22の下面21vおよび22vにおいて、外形エッジ部に沿って凹部85を更に設けても良い。この場合、図84に示すように、シャッタ21および22が閉じた状態で、第2の凹部87よりもカートリッジの中心側に凹部85を設けることが好ましい。また、図86に示すように、シャッタ21および22の凹部85とカートリッジ下体11の内側下面11uの第2の凹部87とはシャッタ21および22が閉じた状態で連通していないことが好ましい。
凹部85を設けることにより、シャッタ21および22の外形エッジ部はより変形し易くなる。したがって、ディスク100に対して矢印Aで示される力が加わっても、情報記録面100Aにシャッタ21および22の外形エッジ部が強く接触して、情報記録面100Aに傷をつけたりする恐れをより小さくできるという効果もある。更に凹部86、87、88a、88b、88c内に不織布等を溶着あるいは粘着して設けることによってカートリッジ本体の隙間を埋めることができ、外部からの埃の進入をさらに強固に防止することができる。
本実施形態では、第14の実施形態のディスクカートリッジ314に種々の凹部を設けた例を示したが、これらの凹部は第8〜13の実施形態のディスクカートリッジに設けても良い。
(第16の実施形態)
以下に本発明の第16の実施形態によるディスクカートリッジ316について図88〜93を参照して説明する。本実施形態のディスクカートリッジ316において第13の実施形態のディスクカートリッジ313と同じ構成要素には同じ参照符号を付している。
図88に示すように、本実施形態のディスクカートリッジ316は、ディスクの挿入方向1Aとおおよそ垂直となるカートリッジ本体の第1の側面10pに第1の開閉操作部22tを備え、第2の側面10qには第2の開閉操作部93を備えている。このうち、第1の開閉操作部22tは、第13の実施形態のディスクカートリッジの開閉操作部22tと同じ構造を備えている。
第2の開閉操作部93は、図89に示すように、カートリッジ下体11に設けられた回転軸11qに挿入可能な穴を有する歯車形状をしている。第2の開閉操作部93が回転軸11qに挿入されたとき、その一部がカートリッジ本体10の第2の側面10qから露出するように、カートリッジ下体11の側面には開口11rが設けられている。回転軸11qはカートリッジ上体12に設けられていてもよい。
カートリッジ下体11に設けられたヘッド開口部11hとチャッキング開口部11cを開放または閉塞する2つのシャッタ21および22のうち、第1のシャッタ部材であるシャッタ22には第1の開閉操作部22tが一体に形成されている。一方、第2のシャッタ部材であるシャッタ21の外側面のディスク保持部21bの近傍には、歯車状の第2の開閉操作部93と係合するセクター歯車21mが設けられている。セクター歯車21mの中心はシャッタ21の回動孔21uと一致している。また、セクター歯車21mに隣接して凹部21nが設けられている。凹部21nは、歯車状の第2の開閉操作部93がセクター歯車21mに係合し得る空間を作っている。
第1の開閉操作部22tを使ってシャッタ21および22を開閉するためには、まず図90に示すように、ロック突起部21kおよびロック係合部22kからなるロック機構20kの係合状態を解除する。そして矢印22Wに示すように、カートリッジの第1の側面10pに沿って第1の開閉操作部22tをスライドさせる。これにより、図91に示すようにシャッタ22の動きが連動機構20cを介してシャッタ21に伝わり、シャッタ21および22が協同して、ヘッド開口部11hおよびチャッキング開口部11cを開放する。
一方、第2の開閉操作部93を使ってシャッタ21および22を開閉するためには、まず、図90に示すように、ロック機構20kの係合状態を解除する。次に、第2の開閉操作部93を矢印93Aで示すように回転させる。すると、第2の開閉操作部93の歯車に係合し、セクター歯車21mが回動孔21uを中心として回転し始める。この動きはシャッタ21の開放動作となる。シャッタ21の動きは連動機構20cを介してシャッタ22に伝わるので、シャッタ21および22が協同して、ヘッド開口部11hおよびチャッキング開口部11cを開放する。図91に示すように、シャッタ21および22がヘッド開口部11hおよびチャッキング開口部11cを完全に開放したとき、第2の開閉操作部93の一部は、シャッタ21に設けられた凹部21nに入り込む。
シャッタ21および22を閉じるときには、第1の開閉操作部22tを22Wと反対の方向にスライドさせるか、第2の開閉操作部93を93Aと反対の方向に回転させればよい。本実施形態では、シャッタ21および22が閉じる方向に力が働くようにシャッタバネ31および32が設けられているため、シャッタバネ31および32の力に抗してシャッタ21および22を開放する力、あるいは開放状態に保持する力を第1の開閉操作部22tおよび第2の開閉操作部93に及さなければ、上述の動作を行わなくてもシャッタ21および22が閉じる。
本実施形態のディスクカートリッジ316では、シャッタ21および22の開閉操作部がディスクの挿入方向に対して垂直な面と平行な面との両方に設けられている。したがって、シャッタの開閉操作部がディスクカートリッジの挿入方向に対して垂直な側面に設けられているディスクカートリッジにのみ対応したディスクドライブ装置であっても、シャッタの開閉操作部がディスクカートリッジの挿入方向に対して平行な側面に設けられているディスクカートリッジにのみ対応したディスクドライブ装置であっても、本実施形態のディスクカートリッジに収納されているディスク対して情報を記録/再生することができる。
また、本実施形態のディスクカートリッジ316によれば、ディスクカートリッジ316の挿入方向に対して平行な側面に設けられている第2の開閉操作部93は歯車形状をしている。このため、ディスクドライブ装置に設けるシャッタ開閉機構も第2の開閉操作部93に係合しうる種々の歯車によって形成することができ、比較的簡単な機構で確実にディスクカートリッジ316のシャッタ21および22を開閉することができる。
なお、上記実施形態において、セクター歯車21mはディスク保持部21b近傍に設けられていた。この位置に設ければ、セクター歯車21mからシャッタ21の回動孔21uの距離が小さくでき、シャッタ21を完全に開放するのに必要なセクター歯車21mの長さを短くできるからである。しかし、セクター歯車21mの形成場所はこの位置に限られるものではない。例えば図92および93に示すように、セクター歯車21mの円弧の延長線上におおよそディスクの中心がくるような位置にセクター歯車21mを設け、セクター歯車21mに係合するように第2の開閉操作部93を設けてもよい。この位置に第2の開閉操作部93を設ければ、シャッタ21を完全に開放するのに必要なセクター歯車21mの長さは大きくなるが、回動孔21uからの距離も長くできる。このことは、支点と作用点との間の距離を大きくすることに対応しており、より軽い力で第2の開閉操作部93を回転させ、シャッタ21および22を開閉することができる。
(第17の実施形態)
以下に本発明の第17の実施形態によるディスクカートリッジ317について図94〜97を参照して説明する。本実施形態のディスクカートリッジ317において第16の実施形態のディスクカートリッジ316と同じ構成要素には同じ参照符号を付している。
図94に示すように、本実施形態のディスクカートリッジ317は、第16の実施形態のディスクカートリッジ316の第2の開閉操作部93に替えて、第2の開閉操作部94を第2の側面10qに備えている。
図95によく示されているように、第2の開閉操作部94は、カートリッジ下体11の側面に設けられた開口11rに沿ってスライドし得るリンク部材であって、その中ほどで屈曲している。また、第2の開閉操作部94の端部には突起94aが設けられており、この突起94aはシャッタ21のディスク保持部21b近傍に設けられた溝21iに係合する。
図96および97はディスクカートリッジ317のシャッタ21および22が閉塞している状態および開放している状態をそれぞれ示している。第1の開閉操作部22tを矢印22wの方向またはその逆方向にスライドさせることにより、シャッタ21および22を開閉させることができるのは第13および第16の実施形態で説明した通りである。
第2の開閉操作部94を使って、シャッタ21および22を開閉するためには、図96に示すように、まず、ロック機構20kの係合状態を解除する。次に、第2の開閉操作部94を矢印94Bで示す方向にスライドさせる。この動作によって、第2の開閉操作部94の突起94aを矢印94Bの方向に移動させるように力が働く。その結果、シャッタ21が回動孔21uを中心として開く。シャッタ21の動きは連動機構20cを介してシャッタ22に伝わるので、その結果、シャッタ21および22が協同して、ヘッド開口部11hおよびチャッキング開口部11cを開放する。第2の開閉操作部94を矢印94Bと逆の方向にスライドさせることによりシャッタ21および22を閉塞状態にできる点やシャッタバネ31および32の力が及ぶ点は第16の実施形態と同じである。
本実施形態のディスクカートリッジも第16の実施形態のディスクカートリッジと同様、シャッタの開閉操作部がディスクカートリッジの挿入方向に対して垂直な側面に設けられているディスクカートリッジにのみ対応したディスクドライブ装置であっても、シャッタの開閉操作部がディスクカートリッジの挿入方向に対して平行な側面に設けられているディスクカートリッジにのみ対応したディスクドライブ装置であっても、本実施形態のディスクカートリッジに収納されているディスク対して情報を記録/再生することができる。
また、図96および97に示すように、シャッタ21および22を開放するために第2の開閉操作部94を操作する方向(94B)とディスクカートリッジの挿入方向(1A)とは、逆向きであり、かつ平行である。このため、第2の開閉操作部94に係合する突起等をディスクドライブ装置に設けておけば、本実施形態のディスクカートリッジをディスクドライブ装置に挿入する際、突起が第2の開閉操作部94に係合し、ディスクカートリッジの挿入動作に連動してディスクカートリッジのシャッタ21および22を開放することができる。したがって、ディスクドライブ装置に設けるシャッタ開閉機構を簡便にすることができる。
(第18の実施形態)
以下に本発明の第18の実施形態によるディスクカートリッジ318について図98〜101を参照して説明する。本実施形態のディスクカートリッジ318においても第16の実施形態のディスクカートリッジ316と同じ構成要素には同じ参照符号を付している。
図98に示すように、本実施形態のディスクカートリッジ318は、第16の実施形態のディスクカートリッジ316の第2の開閉操作部93に替えて、第2の開閉操作部96を第2の側面10qに備えている。
図99に示すように、第2の開閉操作部96は、シャッタ21のディスク保持部21aに接続されたベルト部材である。ベルト部材の端部には突起96aが設けられており、突起96aは、カートリッジ下体11の側面に設けられた開口11rに沿ってスライドし得るようになっている。第2の開閉操作部96はシャッタ21と一体に形成してもよい。
ディスクカートリッジ318のシャッタ21および22が閉塞している状態および開放している状態はそれぞれ図100および101に示されている。第1の開閉操作部22tを矢印22wの方向またはその逆方向にスライドさせることにより、シャッタ21および22を開閉させることができるのは第16および第17の実施形態で説明したとおりである。
第2の開閉操作部96を使って、シャッタ21および22の開閉動作を行うために、まず、図100に示すように、ロック機構20kの係合状態を解除する。次に、第2の開閉操作部96の突起96aを矢印96Bで示す方向にスライドさせる。この動作によって、シャッタ21の先端部分が回動孔21uを中心として矢印96Cの方向に引っ張られるようシャッタ21に力が働く。シャッタ21の動きは連動機構20cを介してシャッタ22に伝わるので、シャッタ21および22が協同して、ヘッド開口部11hおよびチャッキング開口部11cを開放する。シャッタ21および22を閉じる場合は、逆の動作を行う。
実施形態のディスクカートリッジも第16の実施形態のディスクカートリッジと同様、シャッタの開閉操作部がディスクカートリッジの挿入方向に対して垂直な側面に設けられているディスクカートリッジにのみ対応したディスクドライブ装置であっても、シャッタの開閉操作部がディスクカートリッジの挿入方向に対して平行な側面に設けられているディスクカートリッジにのみ対応したディスクドライブ装置であっても、本実施形態のディスクカートリッジに対して情報を記録/再生することができる。
また、シャッタ21と第2の開閉操作部96とを一体に形成すれば、ディスクカートリッジを構成する部品の数を減らすことができる。これによって、ディスクカートリッジの製造コストを削減したり、製造工程を簡略にしたりすることができる。
上記第16から第18の実施形態において、第2の開閉操作部は、ディスクカートリッジの挿入方向に対して左側の側面に設けられていた。しかし、第2の開閉操作部の形成場所は上記実施形態で示した側面に限定されるものではない。例えば、ディスクの挿入方向に対して右側の側面(図88に示す10r)に設けてもよい。あるいは、第2の開閉操作部をディスクカートリッジの裏面(図88に示す10t)に設けてもよい。この場合には、例えば第18の実施形態で説明したベルト状の第2の開閉操作部96であれば、大きな変更を加えることなくディスクカートリッジの裏面に第2の開閉操作部を設けることができる。
(第19の実施形態)
以下に本発明の第19の実施形態によるディスクカートリッジ319について図102および103を参照して説明する。本実施形態のディスクカートリッジ319において、第13の実施形態のディスクカートリッジ313と同じ構成要素には同じ参照符号を付している。
本実施形態のディスクカートリッジ319に特徴的なところは、ディスク保持部21b、22aおよび22bに回転防止部材97がそれぞれ設けられている点にある。また、不織布をシャッタ21および22に超音波溶着するための凹部89が設けられている点にある。
具体的には、ディスク保持部21b、22aおよび22bに孔21q、22rおよび22qを設け、それぞれの孔21q、22qおよび22rに回転防止部材97が埋め込まれている。図103に示すように、回転防止部材97は、ディスク保持部21b(22a、22b)において、それぞれの斜面21b’(22a’、22b’)からその一部が突出しており、ディスク100がディスク保持部21a、21b、22a、22bによって保持されるときには、回転防止部材97はディスク100の外周と当接する。回転防止部材97は弾性を有し、摩擦係数の大きい材料から形成されていることが好ましく、例えば、ゴムからなる回転防止部材97を用いることが好ましい。
また、回転防止部材97は、ディスク保持部21a、21b、22a、22bのうちの少なくとも1つに設けられておれば回転防止の効果を発揮する。しかし、より確実にディスク100の回転を防ぐためには、図示したように3つの回転防止部材97を設けることが好ましい。
この構造によれば、ディスク100がディスク保持部21a、21b、22a、22bに保持されているとき、操作者が故意にディスク100を回転させようとしても、ディスク100に当接した回転防止部材97の働きによって少しの力ではディスク100回転させることはできない。したがって、操作者が、例えば、故意にディスク100をシャッタ21、22に押し付けながらディスク100を回転させようとしても、ディスク100が回転してしまうことを防ぐ。これによって、シャッタ21、22に設けられた不織布に硬い埃が挟まっている場合に、上述した操作者の動作により、ディスクに傷がついてしまうことを防止できる。
また、回転防止部材97を設けることによって、ディスク保持部内においてディスク100がガタつくことも防止できる。
図102に示すように、シャッタ21および22は、ディスク10の情報記録面との接触面に不織布を超音波溶着するための凹部89を備えている。凹部89は、図102では、シャッタ21および22の情報記録面と接触する部分の外周を囲むように設けられている。また、その外周を囲む凹部89の内側の領域にも設けられている。凹部89の形成領域は図102に示される形状に限定されるものではなく、シャッタ21および22に不織布を確実に貼付できるものであればよい。この凹部89において不織布とシャッタ21および22は超音波溶着される。凹部89を設けることによって超音波溶着による不織布の硬化部あるいはシャッタ21および22を構成している樹脂材料の不織布からの突出部が発生した場合でも、硬化部あるいは突出部が凹部89内に収まって、ディスクに接触することを避けることができる。これによりディスクへの傷付きを防止できる。この凹部89は、上記第1から18の実施形態においても不織布を設ける場合にはシャッタに形成することが好ましい。
(第20の実施形態)
以下、本発明によるディスクドライブ装置を説明する。
図104は、ディスクドライブ装置900の主要部を模式的に示す斜視図である。ディスクドライブ装置900は、第1の実施形態のディスクカートリッジ301から第19の実施形態のディスクカートリッジ319のいずれを装填(ローディング)することもできる。図104では、第13の実施形態のディスクカートリッジ313を装填した状態を示している。また、ディスク100は破線で示されている。
ディスクドライブ装置900は、ディスクカートリッジ313内に収納されたディスク100を回転させる駆動手段902と、ディスク100に対して情報を記録すること、および/またはディスク100から情報を再生することを行うためのヘッド908とを備えている。
駆動手段902は、スピンドルモータ904およびスピンドルモータ904の回転軸に取り付けられたターンテーブル906を含み、スピンドルモータ904は、ベース910に支持されている。ヘッド908は、図示しないアクチュエータにより、ガイド912に沿って移動する。
また、ディスクドライブ装置900は、アーム914に支持されたクランパー916を備える。ターンテーブル906およびクランパー916は、例えば磁石および磁性体をそれぞれ含む。後述するように、これらの吸引力によって、クランパー916とターンテーブル906との間にディスク100を挟んで保持し、ディスク100をターンテーブル906に固定する。これによって、スピンドルモータ904の駆動力を確実にディスク100へ伝え、また面振れを生じさせることなくディスク100を回転させる。
ディスクカートリッジ313は、第1のシャッタ21および第2のシャッタ22を開閉するための操作部22tをヘッド開口部11hが設けられた側面10pに有している。このため、ディスクドライブ装置900は、操作部22tと係合してシャッタを開閉するためのシャッタ開閉機構918を、ディスクドライブ装置900に装填されたディスクカートリッジ313の側面10pに近接する領域に備えている。なお、図104では、操作部22tを明示するために、シャッタ開閉機構918を操作部22tから離間させて示している。また、シャッタ開閉機構918を移動させるアクチュエータも省略している。
シャッタ開閉機構918は、ディスクドライブ装置900に挿入されるディスクカートリッジのシャッタ開閉操作部の位置に対応して設けられる。例えば、第16から第18の実施形態のディスクカートリッジをディスクドライブ装置900に装着する場合には、側面10qに近接してシャッタ開閉機構918を設けてもよい。
また、シャッタ開閉機構918を2つ以上ディスクドライブ装置900に設けてもよい。例えば、図104において、ディスクカートリッジ13の側面10qに近接してシャッタ開閉機構918を設け、第13の実施形態のディスクカートリッジおよび第16の実施形態のディスクカートリッジのいずれを装填することも可能なディスクドライブ装置900を作製してもよい。
シャッタ開閉機構918は、ディスクカートリッジに設けられた操作部22tの形状や動作に係合するような構造を備えている。ディスクカートリッジ313の場合、操作部22tをスライドさせることによって第1のシャッタ21および第2のシャッタ22を開閉させるので、操作部22tに係合し、矢印20Bと平行な方向にスライドするシャッタ開閉機構918を設ける。第16の実施形態のように、歯車状の操作部を有するディスクカートリッジを装填する場合には、シャッタ開閉機構918を歯車形状にする。
ベース910上にはディスクカートリッジ313が保持される高さを規定するポスト920が設けられており、ポスト920の上面上にディスクカートリッジ313が保持される。また、ディスクカートリッジ313に設けられた位置決め孔11wに係合する位置決めピン922がベース910に設けられている。
ポスト920および位置決めピン922は、駆動手段902に対してディスクカートリッジ313を所定の位置に位置決めして支持する支持構造として機能する。ポスト920および位置決めピン922の代わりに、支持構造924としてトレイをディスクドライブ装置900に設け、トレイを排出させて、ディスクカートリッジ313をトレイの上に置き、トレイを収納することによってディスク100をディスク装置900へ挿入するとともに、駆動手段902およびヘッド908に対してディスクカートリッジ313を所定の位置に位置決めしてもよい。また、トレイと位置決めピン922とを併用する指示構造を採用してもよい。
以下に、ディスクドライブ装置900の動作を説明する。
まず、ディスク100が収納されたディスクカートリッジ313をディスクドライブ装置900に装着する。ディスクカートリッジ313の装着は、操作者が手動で行ってもよいし、図示しないローディング機構により、ディスクドライブ装置900のディスクカートリッジ挿入孔から図104に示す位置にディスクカートリッジ313を搬送してもよい。この場合には、例えば、図104において矢印926で示す箇所に、第13の実施形態等で説明した凹部10cや第16の実施形態の凹部10eを設けローディング機構を凹部10cまたは凹部10eに係合させてもよい。また、上述したようにトレイを用いてもよい。いずれかの方法により、ディスクカートリッジ313が駆動手段902およびヘッド908に対して所定の定められた位置に位置決めされる。
また、ディスクカートリッジ313の矢印928または矢印930で示す部分に第13の実施形態で説明した凹部10eまたは第16の実施形態のスリット10bを設け、ディスクドライブ装置900に凹部10eまたはスリット10bに係合する凸部(図示せず)を設けてもよい。このようにすることによって、ディスクカートリッジ313が上下あるいは前後反対向けにディスクドライブ装置900へ挿入しようとしても、互いに干渉して正常に挿入することができない。これにより誤挿入を防止することができる。
ディスクカートリッジ313が図104に示す位置に装着されると、シャッタ開閉機構918は操作部22tに係合し、矢印20Bの方向に操作部22tをスライドさせる。これに伴って、第1のシャッタ21および第2のシャッタ22が開放動作を始め、ヘッド開口部11hおよびチャッキング開口部11cが開放される。また、第13の実施形態において説明したように、第1のシャッタ21および第2のシャッタ22を介してシャッタ開閉機構918がディスク保持部21b、22a、22bにディスク100の保持動作を解除させる。このため、ディスク100がディスク保持部21b、22a、22bから解放される。続いて、クランパー916を保持しているアーム914が降下して、クランパー916とターンテーブル906との間にディスク100が保持される。これにより、ディスク100はディスクカートリッジ313の収納部内において、回転可能なようにターンテーブル906上に保持される。
スピンドルモータ904によって、ディスク100は回転する。そして、ヘッド908がディスク100の情報記録領域にアクセスして、ディスク100に情報を記録し、また、ディスク100に記録された情報を再生する。
ディスクカートリッジ313をディスクドライブ装置900から排出(アンローディング)する場合、まず、アーム914を上昇させて、クランパー916をディスク100から脱離させる。続いて、シャッタ開閉機構918を矢印20Bと逆の方向に移動させて、操作部22tをスライドさせる。これに伴って、第1のシャッタ21および第2のシャッタ22が閉塞する。第13の実施形態において詳述したように、第1のシャッタ21および第2のシャッタ22が閉塞する際、ディスク保持部がディスク100を把持し、第1のシャッタ21および第2のシャッタ22が完全に閉塞すると、ディスク保持部がディスク100を保持する。その後図示しない、アンローディング機構によってディスクカートリッジ313をディスクドライブ装置900から排出する。
なお、図104においてディスクドライブ装置900は、ディスクカートリッジ313を水平に保持している。しかし、第1の実施形態や第8の実施形態において説明したように、ディスクカートリッジを垂直に保持するようにディスクドライブ装置900を構成してもよい。ディスクカートリッジが垂直にディスクドライブ装置900に装填される場合であっても、脱落防止部材によってディスク収納部からディスク100が脱落するのを防止することができる。
上記第1から19の実施形態では、シャッタに不織布を超音波等により貼り付ける形態を説明したが、ディスクの情報記録面に強靭なハードコート等が形成されることによってより傷が付きにくい構造をディスクが備えている場合には必ずしも不織布は必要なく、シャッタが直接ディスクに面接触してもよい。また、シャッタの全面がディスクの情報記録面に面接触する必要はなく、シャッタの少なくとも一部がディスクの情報記録面に接触するような構造をシャッタが備えていてもよい。つまり、シャッタの全面ではなく、一部分がディスクと面接触する構造であってもよい。また、その面接触する部分に不織布等の傷付きを防止する構造を設けてもよい。
上記第1から第20の実施形態において、ディスクカートリッジに収納されるディスク100は片面にのみ情報記録面を有していた。これは、本発明のディスクカートリッジがディスクの片面を外部に露出させる構造を有しており、そのような構造に最適なディスクの一例として片面にのみ情報記録面を有するディスクを例示しているにすぎない。例えば、両面に情報記録面を有するディスクであっても、本発明のディスクカートリッジに適切に収納され、ディスク装置にロードして、情報を記録したり再生したりすることができる。しかし、両面に情報記録面を有するディスクを本発明のディスクカートリッジに収納し、保管する場合には、露出した情報記録面に埃が付着してしまう可能性があるので、埃が付着しないよう何らかの機構を設けることが好ましい。
また、上記第1から第20の実施形態では、特にディスク100の大きさについて言及しなかったが、12cmのディスクや、その他のサイズのディスクなど、種々のサイズのディスクを収納するディスクカートリッジとして本発明を実施することができる。
さらに、上記第1から第20の実施形態では、ディスクカートリッジの外形は、ディスクよりわずかに大きい程度であるように図示されていたが、ディスクとディスクカートリッジとの大きさは、図示される関係に限定されるものではない。例えば、ディスクカートリッジの外形は12cmのディスクを収納できる程度に大きいが、ディスクカートリッジに設けられたディスク収納部やディスク保持部は8cmのディスクを収納するのに適した大きさおよび構造であってもよい。このようなディスクカートリッジは、例えば、12cmディスク用記録/再生装置において、8cmのディスクに対して記録/再生するためのアダプターとしても機能する。
上記第1から第20の実施形態のそれぞれで説明した特徴は、適宜組み合わせて実施することができる。例えば、第19の実施形態において説明した回転防止部材を第16の実施形態のディスクカートリッジに設けても良い。さらに、第15の実施形態で説明した、埃を集めるための種々の凹部を第16の実施形態のディスクカートリッジに設けても良い。このように、上記第1から第30の実施形態の組み合わせの態様は多岐に渡るため、可能なすべての実施例の組み合わせを列挙するのは不可能である。しかし、そのような種々可能な実施形態の組み合わせを当業者が本願明細書に基づいて実施することは可能であり、そのような種々の可能な実施形態の組み合わせも本発明の範囲に含まれる。
本発明のディスクカートリッジによれば、特に片面のみに記録面を有するディスクを収納するのに適している。カートリッジ本体がディスクの情報記録面のみを覆い、片面を露出させる構造を備えることにより、カートリッジの厚みを小さくできる。また、シャッタを、ディスクカートリッジの片側のみを覆う形状にすることによって、構造の簡素化を図り、シャッタのコストを低下させることができる。また、ディスク保持部あるいはディスク保持部材がディスクをシャッタあるいはカートリッジ本体に押し付けて保持するので、カートリッジ本体内においてディスクがガタつくことを防止でき、ディスクの情報記録面への埃等の付着も防止できる。加えてディスク開口部に露出したディスクレーベル面を利用することによりデザイン的に優れる。
したがって、本発明によれば、薄型で、防塵性が高く、デザインに優れ、種々のドライブ装置に使用可能なディスクカートリッジが提供される。
本発明の第1の実施形態におけるディスクカートリッジの全体構造を示す斜視図である。 図1のディスクカートリッジを下から見た斜視図である。 図1のディスクカートリッジを分解した状態を示す分解斜視図である。 図1のディスクカートリッジのディスク保持部材近傍を示す断面図である。 図1のディスクカートリッジのディスク保持部材近傍を示す断面図である。 図1のディスクカートリッジにおいて、シャッタが開放し、位置決めピンが挿入されている状態を示す斜視図である。 図6におけるディスク保持部材近傍を示す断面図である。 図6におけるディスク保持部材近傍を示す斜視図である。 本発明の第2の実施形態におけるディスクカートリッジの全体構造を示す平面図である。 図9のディスクカートリッジにおいて、ディスクが開放された状態を示す平面図である。 本発明の第3の実施形態におけるディスクカートリッジの全体構造を示す平面図である。 図11のディスクカートリッジにおいて、ディスクが開放された状態を示す平面図である。 本発明の第4の実施形態におけるディスクカートリッジの全体構造を示す平面図である。 図13のディスクカートリッジにおいて、ディスクが開放された状態を示す平面図である。 本発明の第5の実施形態におけるディスクカートリッジのシャッタが閉塞した状態における全体構造を示す平面図である。 図15のディスクカートリッジにおけるディスク保持部材の断面図である。 図15のディスクカートリッジのシャッタを開放した状態における全体構造を示す平面図である。 図17のディスクカートリッジにおけるディスク保持部材の断面図である。 本発明の第6の実施形態6におけるディスクカートリッジのシャッタが閉塞した状態における全体構造を示す平面図である。 図19のディスクカートリッジのシャッタを開放した状態における全体構造を示す平面図である。 本発明の第7の実施形態におけるディスクカートリッジのシャッタが閉塞した状態における全体構造を示す平面図である。 図21のディスクカートリッジのシャッタを開放した状態における全体構造を示す平面図である。 第8の実施形態におけるディスクカートリッジの全体構造を示す斜視図である。 図23のディスクカートリッジを分解した状態を示す分解斜視図である。 図23のディスクカートリッジにおいて、カートリッジ上体とディスクがない場合においてシャッタが閉塞している状態を示す斜視図である。 図23のディスクカートリッジにおいて、カートリッジ上体とディスクがない場合においてシャッタが開放している状態を示す斜視図である。 図23のディスクカートリッジにおいて、ディスクがない場合においてシャッタが閉塞している状態を示す斜視図である。 図23のディスクカートリッジにおいて、ディスクがない場合においてシャッタが開放している状態を示す斜視図である。 図23のディスクカートリッジのディスク中心を通る断面を示す部分断面図である。 図23のディスクカートリッジのシャッタの一部を示す断面図である。 図23のディスクカートリッジの操作部近傍を示す部分平面図である。 図23のディスクカートリッジの脱落防止部材を示す斜視図である。 図23のディスクカートリッジをドライブ挿入方向から見た正面図である。 本発明の第9の実施形態におけるディスクカートリッジの全体構造を示す斜視図である。 図34のディスクカートリッジを分解した状態を示す分解斜視図である。 図34のディスクカートリッジにおいて、ディスクがない場合にシャッタが閉塞している状態を示す斜視図である。 図34のディスクカートリッジにおいて、ディスクがない場合にシャッタが開放している状態を示す斜視図である。 図34のディスクカートリッジのディスク中心を通る断面であって、シャッタが閉塞した状態を示す部分断面図である。 図34のディスクカートリッジのディスク中心を通る断面であって、シャッタが開放した状態を示す部分断面図である。 図34のディスクカートリッジのディスク中心を通るディスク外周付近の断面であって、シャッタが閉塞した状態を示す断面図である。 図34のディスクカートリッジのディスク中心を通るディスク外周付近の断面であって、シャッタが開放した状態を示す断面図である。 本発明の第10の実施形態におけるディスクカートリッジの全体構造を示す斜視図である。 図42のディスクカートリッジを分解した状態を示す分解斜視図である。 図42のディスクカートリッジにおいて、ディスクがない場合にシャッタが閉塞している状態を示す斜視図である。 図42のディスクカートリッジにおいて、ディスクがない場合にシャッタが開放している状態を示す斜視図である。 図42のディスクカートリッジのディスク中心を通る断面であって、シャッタが閉塞した状態を示す部分断面図である。 図42のディスクカートリッジのディスク中心を通る断面であって、シャッタが開放した状態を示す部分断面図である。 図42のディスクカートリッジのディスク中心を通るディスク外周付近の断面であって、シャッタが閉塞した状態を示す断面図である。 図42のディスクカートリッジのディスク中心を通るディスク外周付近の断面であって、シャッタが開放した状態を示す断面図である。 本発明の第11の実施形態におけるディスクカートリッジの全体構造を示す斜視図である。 図50におけるディスクカートリッジを分解した状態を示す分解斜視図である。 図50のディスクカートリッジにおいて、ディスクがない場合にシャッタが閉塞している状態を示す斜視図である。 図50のディスクカートリッジにおいて、ディスクがない場合にシャッタが開放している状態を示す斜視図である。 図50のディスクカートリッジのディスク中心を通る断面であって、シャッタが閉塞した状態を示す部分断面図である。 図50のディスクカートリッジのディスク中心を通る断面であって、シャッタが開放した状態を示す部分断面図である。 図50のディスクカートリッジのシャッタの一部を示す断面図である。 図50のディスクカートリッジの操作部近傍を示す部分平面図である。 本発明の第12の実施形態のディスクカートリッジにおいて、ディスクがない場合にシャッタが閉塞している状態を示す斜視図である。 図58のディスクカートリッジのディスク中心を通る断面であって、シャッタが閉塞した状態を示す部分断面図である。 図58のディスクカートリッジにおいて、ディスクがない場合にシャッタが開放している状態を示す斜視図である。 図58のディスクカートリッジのディスク中心を通る断面であって、シャッタが開放した状態を示す部分断面図である。 図58のディスクカートリッジの変形例であって、ディスクがない場合においてシャッタが閉塞している状態を示す斜視図である。 図58のディスクカートリッジの変形例であって、ディスクがない場合においてシャッタが開放している状態を示す斜視図である。 本発明の第13の実施形態におけるディスクカートリッジの全体構造を示す斜視図である。 図64のディスクカートリッジを分解した状態を示す分解斜視図である。 図64のディスクカートリッジのシャッタが閉じた状態を示す概略平面図である。 図64のディスクカートリッジのシャッタが開いた状態を示す概略平面図である。 シャッタロック部の詳細な斜視図である。 シャッタのディスク保持部の詳細な断面図である。 2枚のシャッタの接合面形状を示す断面図である。 2枚のシャッタの接合面形状を示す断面図である。 本発明の第14の実施形態におけるディスクカートリッジの全体構造を示す斜視図である。 図72のディスクカートリッジのシャッタの斜視図である。 図72のディスクカートリッジのディスク保持部近傍の拡大斜視図である。 図72のディスクカートリッジのディスク保持部近傍の拡大斜視図である。 図72のディスクカートリッジのディスク保持部近傍の拡大断面図である。 図72のディスクカートリッジにおいて、シャッタが閉じた状態を示す概略平面図である。 図72のディスクカートリッジにおいて、シャッタが開いた状態を示す概略平面図である。 図78におけるB−B断面図である。 図78におけるC−C断面図である。 図77におけるA−A断面図である。 ディスク受け部の変形例を示す断面図である。 本発明の第15の実施形態におけるディスクカートリッジの分解した状態を示す分解斜視図である。 図83のディスクカートリッジにおいて、シャッタが閉じた状態を示す概略平面図である。 図83のディスクカートリッジにおいて、シャッタが開いた状態を示す概略平面図である。 図84におけるD−D断面図である。 図85におけるE−E断面図である。 本発明の第16の実施形態におけるディスクカートリッジの全体構造を示す斜視図である。 図88のディスクカートリッジを分解した状態を示す分解斜視図である。 図88のディスクカートリッジにおいて、シャッタが閉じた状態を示す概略平面図である。 図88のディスクカートリッジにおいて、シャッタが開いた状態を示す概略平面図である。 図88のディスクカートリッジの変形例を示しており、ディスクカートリッジのシャッタが閉じた状態を示す概略平面図である。 図92のディスクカートリッジにおいて、シャッタが開いた状態を示す概略平面図である。 本発明の第17の実施形態におけるディスクカートリッジの全体構造を示す斜視図である。 図94のディスクカートリッジを分解した状態を示す分解斜視図である。 図94のディスクカートリッジにおいてシャッタが閉じた状態を示す概略平面図である。 図94のディスクカートリッジにおいてシャッタが開いた状態を示す概略平面図である。 本発明の第18の実施形態におけるディスクカートリッジの全体構造を示す斜視図である。 図98のディスクカートリッジを分解した状態を示す分解斜視図である。 図98のディスクカートリッジにおいてシャッタが閉じた状態を示す概略平面図である。 図98のディスクカートリッジにおいてシャッタが開いた状態を示す概略平面図である。 本発明の第19の実施形態におけるディスクカートリッジを分解した状態を示す分解斜視図である。 図102のディスクカートリッジのディスク保持部近傍の拡大断面図である。 本発明のディスクドライブ装置の主要部を示す斜視図である。
符号の説明
11、111 カートリッジ下体
11c チャッキング開口部
11h ヘッド開口部
11e、11f 案内溝
12、112 カートリッジ上体
12s 脱落防止部材
21、121 第1のシャッタ
22、122 第2のシャッタ
21a、21b、22a、22b ディスク保持部
21w、22w 凸部
23 脱落防止部材
100 ディスク
301〜319 ディスクカートリッジ
900 ディスクドライブ装置
902 駆動手段
908 ヘッド
916 クランパー
918 シャッタ開閉機構

Claims (7)

  1. ディスク開口部および底部を有し、第1および第2の面を有するディスクを回転可能な状態で、かつ、前記ディスク開口部から前記ディスクの第1の面を外部に露出するように収納するディスク収納部、前記ディスクを外部からチャッキングするために前記ディスク収納部の底部に設けられたチャッキング開口部、および情報の再生および記録の少なくとも一方を行うヘッドが前記ディスクの第2の面へアクセスするために前記ディスク収納部の底部に設けられたヘッド開口部を含むカートリッジ本体と、
    前記チャッキング開口部および前記ヘッド開口部を外部に対して開放または閉塞するように、前記ディスクの第2の面と前記ディスク収納部の底部との間において、前記カートリッジ本体に対して移動可能なように支持された一対のシャッタと、
    前記一対のシャッタにそれぞれ設けられており、前記シャッタが前記チャッキング開口部および前記ヘッド開口部を閉塞する際、前記シャッタに対して前記ディスクを押し付けて前記ディスクを保持する複数のディスク保持部と、
    を備え、前記一対のシャッタは互いに当接する第1および第2の接合面をそれぞれ有し、前記一対のシャッタのそれぞれにおいて、前記第1および第2の接合面は同一直線上に位置していない、ディスクカートリッジ。
  2. シャッタ閉塞時において、前記一対のシャッタの第1の接合面は、前記カートリッジ本体の対称中心線上で当接し、前記一対のシャッタの第2の接合面は、前記対称中心線から所定の角度を成す直線上で当接する請求項1に記載のディスクカートリッジ。
  3. 前記第1および第2の接合面は前記ディスクの厚み方向に対して傾いており、互いに重畳している請求項1に記載のディスクカートリッジ。
  4. 前記第1の接合面と前記第2の接合面が前記ディスクの厚み方向に対して傾く角度は互いに異なっている請求項3に記載のディスクカートリッジ。
  5. 前記一対のシャッタが、閉塞状態において互いにロックされる請求項1から4のいずれかに記載のディスクカートリッジ。
  6. 前記一対のシャッタが閉塞している状態において、前記一対のシャッタの位置を規制するためのシャッタ当接部を更に有する請求項1からのいずれかに記載のディスクカートリッジ。
  7. 前記一対のシャッタは、前記カートリッジ本体のディスク収納部の外側の領域であって、前記ヘッド開口部と反対側に設けられた一対の回動軸を中心にそれぞれ回動し、
    前記複数のディスク保持部の1つは、前記一対のシャッタの一方において、回動軸の反対側に設けられている請求項2に記載のディスクカートリッジ。


JP2005205855A 2001-07-06 2005-07-14 ディスクカートリッジ Expired - Fee Related JP3776445B2 (ja)

Priority Applications (1)

Application Number Priority Date Filing Date Title
JP2005205855A JP3776445B2 (ja) 2001-07-06 2005-07-14 ディスクカートリッジ

Applications Claiming Priority (7)

Application Number Priority Date Filing Date Title
JP2001205845 2001-07-06
JP2001276284 2001-09-12
JP2001344030 2001-11-09
JP2001364463 2001-11-29
JP2001364438 2001-11-29
PCT/JP2002/000110 WO2002056313A1 (en) 2001-01-12 2002-01-10 Disc cartridge
JP2005205855A JP3776445B2 (ja) 2001-07-06 2005-07-14 ディスクカートリッジ

Related Parent Applications (1)

Application Number Title Priority Date Filing Date
JP2005112141A Division JP3776440B2 (ja) 2001-07-06 2005-04-08 ディスクカートリッジ

Publications (2)

Publication Number Publication Date
JP2005339794A JP2005339794A (ja) 2005-12-08
JP3776445B2 true JP3776445B2 (ja) 2006-05-17

Family

ID=35493141

Family Applications (1)

Application Number Title Priority Date Filing Date
JP2005205855A Expired - Fee Related JP3776445B2 (ja) 2001-07-06 2005-07-14 ディスクカートリッジ

Country Status (1)

Country Link
JP (1) JP3776445B2 (ja)

Also Published As

Publication number Publication date
JP2005339794A (ja) 2005-12-08

Similar Documents

Publication Publication Date Title
JP3416675B2 (ja) ディスクカートリッジ
JP3891984B2 (ja) ディスクカートリッジ
JP3892028B2 (ja) ディスクカートリッジ
JP3776383B2 (ja) ディスクカートリッジ
KR100941232B1 (ko) 디스크 카트리지
JP3891906B2 (ja) ディスクカートリッジ
JP3776445B2 (ja) ディスクカートリッジ
JP3776440B2 (ja) ディスクカートリッジ
JP3776444B2 (ja) ディスクカートリッジ
JP3405983B1 (ja) ディスクカートリッジ
JP2003228948A (ja) ディスクカートリッジ
JP3395977B1 (ja) ディスクカートリッジ
JP3405982B1 (ja) ディスクカートリッジ
JP3892025B2 (ja) ディスクカートリッジ
JP3405984B1 (ja) ディスクカートリッジ
JP3892024B2 (ja) ディスクカートリッジ
JP2005251387A (ja) ディスクカートリッジ
JP3892026B2 (ja) ディスクカートリッジ
JP3892027B2 (ja) ディスクカートリッジ
CN100349227C (zh) 磁盘盒
JP2006092737A (ja) ディスクカートリッジ
JP2006092735A (ja) ディスクカートリッジ

Legal Events

Date Code Title Description
A975 Report on accelerated examination

Free format text: JAPANESE INTERMEDIATE CODE: A971005

Effective date: 20050830

A131 Notification of reasons for refusal

Free format text: JAPANESE INTERMEDIATE CODE: A131

Effective date: 20051004

A521 Written amendment

Free format text: JAPANESE INTERMEDIATE CODE: A523

Effective date: 20051128

TRDD Decision of grant or rejection written
A01 Written decision to grant a patent or to grant a registration (utility model)

Free format text: JAPANESE INTERMEDIATE CODE: A01

Effective date: 20060221

A61 First payment of annual fees (during grant procedure)

Free format text: JAPANESE INTERMEDIATE CODE: A61

Effective date: 20060222

R150 Certificate of patent or registration of utility model

Free format text: JAPANESE INTERMEDIATE CODE: R150

FPAY Renewal fee payment (event date is renewal date of database)

Free format text: PAYMENT UNTIL: 20100303

Year of fee payment: 4

FPAY Renewal fee payment (event date is renewal date of database)

Free format text: PAYMENT UNTIL: 20110303

Year of fee payment: 5

FPAY Renewal fee payment (event date is renewal date of database)

Free format text: PAYMENT UNTIL: 20120303

Year of fee payment: 6

FPAY Renewal fee payment (event date is renewal date of database)

Free format text: PAYMENT UNTIL: 20130303

Year of fee payment: 7

FPAY Renewal fee payment (event date is renewal date of database)

Free format text: PAYMENT UNTIL: 20130303

Year of fee payment: 7

FPAY Renewal fee payment (event date is renewal date of database)

Free format text: PAYMENT UNTIL: 20140303

Year of fee payment: 8

LAPS Cancellation because of no payment of annual fees