JP3760303B2 - プロジェクションボルトの溶接装置 - Google Patents

プロジェクションボルトの溶接装置 Download PDF

Info

Publication number
JP3760303B2
JP3760303B2 JP2000186984A JP2000186984A JP3760303B2 JP 3760303 B2 JP3760303 B2 JP 3760303B2 JP 2000186984 A JP2000186984 A JP 2000186984A JP 2000186984 A JP2000186984 A JP 2000186984A JP 3760303 B2 JP3760303 B2 JP 3760303B2
Authority
JP
Japan
Prior art keywords
movable electrode
holding head
receiving hole
electrode
projection bolt
Prior art date
Legal status (The legal status is an assumption and is not a legal conclusion. Google has not performed a legal analysis and makes no representation as to the accuracy of the status listed.)
Expired - Fee Related
Application number
JP2000186984A
Other languages
English (en)
Other versions
JP2001321958A (ja
Inventor
好高 青山
省司 青山
Current Assignee (The listed assignees may be inaccurate. Google has not performed a legal analysis and makes no representation or warranty as to the accuracy of the list.)
Individual
Original Assignee
Individual
Priority date (The priority date is an assumption and is not a legal conclusion. Google has not performed a legal analysis and makes no representation as to the accuracy of the date listed.)
Filing date
Publication date
Application filed by Individual filed Critical Individual
Priority to JP2000186984A priority Critical patent/JP3760303B2/ja
Publication of JP2001321958A publication Critical patent/JP2001321958A/ja
Application granted granted Critical
Publication of JP3760303B2 publication Critical patent/JP3760303B2/ja
Anticipated expiration legal-status Critical
Expired - Fee Related legal-status Critical Current

Links

Images

Landscapes

  • Resistance Welding (AREA)

Description

【0001】
【発明が属する技術分野】
軸部とフランジと溶着用突起からなるプロジェクションボルトを、板状のワークに溶接することがおこなわれている。本発明は、このような溶接の技術分野に属している。
【0002】
【従来の技術】
上述のような技術分野における先行技術としては、特許第2509103号公報があげられる。ここには、プロジェクションボルトの軸部を差し込む受入孔が可動電極に明けられ、可動電極に保持されたプロジェクションボルトは同電極の進出によって鋼板等のワークに溶接されることが開示されている。このプロジェクションボルトは可動電極の軸線上に一端停止させられ、それから軸部が軸線上を移動させられて、受入孔に挿入される。
【0003】
【発明が解決しようとしている問題点】
上述のような先行技術は、プロジェクションボルトを移動させてその軸部を電極の受入孔に挿入する機構としては、所要の役割を果たしている。しかしながら、この軸部の挿入長さが正確に制御されていないので、挿入長さが不十分な段階で挿入用ロッドが復帰したり、あるいは挿入し過ぎでプロジェクションボルトを保持している部材が電極の先端部に干渉したりすることがある。前者の場合には、挿入不十分によってボルトが受入孔から抜け落ちたり、後者の場合には、電極の先端部やボルト保持部材を損傷させたりする。このような問題点は、エアシリンダのような流体圧力で挿入用ロッドが駆動されるために発生する。とくに、プロジェクションボルト軸部と電極受入孔との両者間に、どのような相対変位をとらせるかという点も含めて、電極やロッド類の挙動が設定されなければならない。
【0004】
【問題を解決するための手段とその作用】
本発明は上述の問題点や必要条件に注目して発案されたもので、電動モータによって得られる直進運動の運動特性と受入孔を備えた電極の挙動を有機的に組み合わせて、優れた溶接を達成することが、基本的な考え方になっている。
【0005】
請求項1の発明は、軸部とフランジと軸部とは反対側のフランジ面に形成された溶着用突起からなるプロジェクションボルトをロボット装置に保持された板状のワークに溶接するものにおいて、定置式溶接機の支持アームに可動電極と固定電極が設置され、回転運動を進退運動に変える変換機構を備えた電動モータを可動電極に結合し、可動電極に前記軸部が挿入される受入孔が形成され、進退式の供給ロッドに保持ヘッドを設置し、この保持ヘッドに支持された前記軸部を保持ヘッドから突出させた状態で可動電極の軸線上に待機させ、可動電極が進出して軸部が受入孔に入った時点で可動電極の進出を停止させ、この停止している時に保持ヘッドを退避させ、その後、再び可動電極を進出させて溶着用突起をワークに溶接するように構成され、前記供給ロッドはプロジェクションボルト供給装置に装備され、このプロジェクションボルト供給装置は定置式溶接機の一部に取り付けてあり、プロジェクションボルト供給装置は支持アームの長手方向で見て電極よりも後方側に配置され、可動電極の進退軸線上から保持ヘッドを退避させるための駆動手段が設置され、供給ロッドは支持アームに対して2方向に傾斜させてあり、これによって保持ヘッドに保持された軸部が受入孔と同軸になった位置で停止することができるように構成され、しかも、前記プロジェクションボルト供給装置は定置式溶接機の静止部材である支柱の側面に取り付けられた駆動手段にブラケットを介して取り付けられ、駆動手段の進退出力方向は可動電極の進退軸線に直交する向きとされ、前記保持ヘッドには片側が開放されたフランジ収容用の収容溝が形成され、この収容溝の長手方向は駆動手段の進退出力方向と同方向に設定され、ロボット装置に保持されたワークが可動電極と固定電極との間に進入する位置は、受入孔を有する可動電極から離隔しワークが固定電極に接触しているか、あるいは固定電極との間に僅かな隙間ができる程度の位置とされ、前記離隔によりワークが両電極の間に進入した状態のままプロジェクションボルト供給装置によって前記受入孔に軸部が挿入できるように構成したことを特徴とするプロジェクションボルトの溶接装置である。
【0006】
電動モータとしては、ACサーボモータが代表的なものであり、これに回転運動を進退運動に変える変換機構が装備されている。変換機構は、一般にねじ軸を雌ねじブロックに貫通させておいて、このブロックを回転させることによってねじ軸に進退運動を発生させるものが基本原理であり、このときに機械的抵抗を減少させるために、ボールスクリュー方式が採用されている。上述のような変換機構を採用することによって、ACサーボモータの回転数を制御装置からの指令で正確に設定することによって、進退運動の移動長さを正確に制御することができるのである。
【0007】
以上に述べた電動モータの特質は、可動電極の停止位置を所定の範囲内に正確に定めることが可能となるのであり、したがって、待機している軸部に向かって可動電極が進出してきて、受入孔に軸部が所定長さだけ進入したときに、可動電極の前進はただちに停止される。この停止している間に保持ヘッドを退避させ、その後、今度は可動電極がプロジェクションボルトを保持した状態で再び進出させられて、溶着用突起がワークに圧接・通電がなされて溶接が完了する。
【0008】
これらの作動は、電動モータの回転運動を進退運動に変換する機構や、電動モータの駆動制御が節度よく正確になされるので、可動電極の停止位置が正確に定まるのである。このことは、受入孔への軸部進入長さが所定長さ以上でなければ、保持ヘッドを退避させることができなくなるのである。すなわち、進入長さが短すぎると、保持ヘッドが電極軸線と直交する方向へ後退するときに軸部が受入孔内で異常な傾きを呈し、受入孔内へスムーズに挿入することが困難となる。あるいは、保持ヘッドに可動電極が接近し過ぎるところまで進出させると、今度は、保持ヘッドと可動電極との干渉が発生して、両者に損傷を与えることとなるのである。
【0015】
【発明の実施の形態】
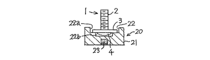
以下、図示の実施形態にしたがって、本発明をくわしく説明する。鉄製のプロジェクションボルトは、図5のように符号1で示してあり、軸部2、それと一体の円形のフランジ3、軸部2とは反対側のフランジ面に形成された溶着用突起4から構成されている。なお、この溶着用突起は「いぼ」状のものが3個あるいは4個設置されていてもよい。
【0016】
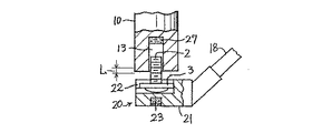
符号5は定置式溶接機であり、床6から起立している支柱7に支持アーム8、9が結合されている。各支持アーム8、9にはそれぞれ可動電極10と固定電極11が設置してあり、可動電極10は支持アーム8に取り付けた電動モータ12で駆動される。両電極10または11のいずれか一方に受入孔13が明けられていて、ここに軸部2が挿入される。ここでは図2や図4から明らかなように可動電極10に受入孔13が明けられている。
【0017】
プロジェクションボルト供給装置は符号14で示されており、この装置は支持アーム8の長手方向で見て電極よりも後方側に配置されている。すなわち、支持アーム8の先端部に可動電極10が取り付けられ、それよりも後方、つまり図1や図2の右方に供給装置14が配置されている。換言すると、ワークが定置式溶接機5に進入してくるときには、まず最初に両電極10、11の間にワークが入り、このときには供給装置14はワークに対して干渉しないのである。
【0018】
支柱7の上部には、駆動手段15が取り付けられ、この手段15の出力は進退運動として取り出される。この出力の方向は、可動電極10の進退軸線に直交する向きである。駆動手段15は、ここではエアシリンダで構成されており、そのピストンロッド16にブラケット17が結合されている。ブラケット17には供給ロッド18の進退駆動手段19が固定されている。この手段19はエアシリンダで構成され、ピストンロッド16とエアシリンダ19は、前述のブラケット17を介して一体化されている。エアシリンダ15と19の代わりに電動モータを採用してもよい。このときには、モータの回転を直進運動に変換する機構を介在させる。駆動手段15は、定置式溶接機の静止部材に取り付けられているもので、ここでは支柱の側面が静止部材とされている。
【0019】
供給ロッド18は、横方向に伸びている支持アーム8に対して2方向に傾斜させてある。この傾斜は、図1の方向で見た傾斜が角度θ1、図2の方向で見た傾斜が角度θ2として設定されている。すなわち、供給ロッド18は、支持アーム8に対して斜めに交差する状態になっている。供給ロッド18の先端には保持ヘッド20が結合され、ここに保持されたプロジェクションボルトの軸部2が、保持ヘッド20の進出時に受入孔13の軸線と同軸になるように構成されている。
【0020】
保持ヘッド20の軸線は、供給ロッド18の軸線に対して鋭角的に交差している。ヘッド本体21には片側が開放された、すなわち図4の左方が開放された収容溝22が形成され、そこにフランジ3が収容される。フランジ3には溶着用突起4が一体化されているので、それをも収容するために収容溝22にはフランジ3のための大幅部22aと溶着用突起4のための小幅部22bが形成されている。収容溝22の下側にはマグネット(永久磁石)23が埋設され、収容溝22に入ったフランジ3を吸引してプロジェクションボルト1を安定した状態で保持している。この時の状態は、図5のようにフランジ3の外周部が収容溝22の段部平面に密着させられている。
【0021】
図6は、前記の収容溝22に変えて孔である凹部24としたもので、フランジ3と溶着用突起4のために大径部24aと小径部24bが形成されている。空気通路25がヘッド本体21の中央部に明けられ、小径部24bの底面に開口している。なお、符号26は空気通路25に接続された空気ホース、符号27は受入孔13の奥に設置されたマグネット(永久磁石)であり、受入孔13内に移行したボルト1を確実に吸引保持している。このマグネット27は、図4においても同様に設置されている。もし、図4や図6の上下が逆になった状態のときでも、マグネット27による安定したボルト保持がなされる。
【0022】
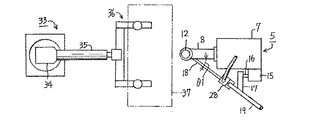
供給ロッド18が後退しているときには、収容溝22あるいは凹部24にフランジ3が進入できるようにしておく必要がある。そのためにエアシリンダ19に支持片28を固定し、それに部品供給管29が結合され、その端部が復帰した保持ヘッド20(図2の二点鎖線図示)に合致している。部品供給管29はパーツフィーダ30に接続され、空気ホース31からの圧縮空気でプロジェクションボルト1は保持ヘッド20まで搬送されてくる。
【0023】
ロボット装置33は通常の汎用ロボットで、6軸タイプである。関節接手34にエアシリンダ35が結合され、その先端にチャック機構36が取り付けられている。鋼板製のワーク37は、チャック機構36でしっかりと挟み付けられている。ロボット装置33に保持されたワーク37は、図2のように受入孔13を有する電極10から離隔した位置、すなわち、ワーク37が固定電極11に接触しているか、あるいは同電極11との間に僅かな隙間ができる程度の位置に進入させられる。このような位置にワーク37を進入させる理由は、ワーク37が両電極10、11間に進入した状態のままプロジェクションボルト供給装置14によって前記受入孔13に軸部2が挿入できるようにするためである。したがって、ワーク37といずれか一方の電極との間隔が上記軸部2の挿入を可とするように設定されている。
【0024】
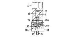
電動モータ12としては、ACサーボモータを使用するのが適当である。電動モータ12の出力軸38からは回転運動が出力されているので、これを進退運動に変える変換機構39が設置されている。この機構としてはいろいろな方式が採用できるが、ここでは出力軸38に固定された駆動ギヤ40に被動ギヤ41をかみ合わせ、被動ギヤ41に形成した筒部42の内側に螺旋溝を設け、ここに多数の鋼球43を挿入し、スクリューシャフト44が鋼球43で支持されている。いわゆる、ボールスクリューユニットの方式である。
【0025】
そして、スクリューシャフト44には可動電極10が結合してある。符号45は制御器であり、電動モータ12の回転数と可動電極10の進退長さとの関係が設定できる制御回路が内臓されている。したがって、固定電極10の第1ストロークの長さを記憶させておき、また、その次の第2ストロークの長さを記憶させおく。制御器45による第1ストロークの長さは、図4の停止範囲Lにおさまらなければ、前述のようなプロジェクションボルトの保持不良を招くことになるので、この範囲Lに停止制御をすることが非常に重要である。このような要求に対して、ACサーボモータを制御器45で制御することは、溶接電極の進出ストロークの制御にとって、極めて有利なことである。
【0026】
第1ストロークは、図4の位置まで進出して停止範囲L内に停止させられる段階である。この状態でエアシリンダ15が作動して保持ヘッド20が右方に移動すると、軸部2が受入孔13内に残ったままとなり、今度はマグネット27の吸引力で軸部2が完全に受入孔13に入り切り、フランジ3が固定電極10の端面に密着する。それから、第2ストロークで再び固定電極10を進出させて、溶着用突起4がワーク37に押しつけられて通電され、溶接が完了する。その後、可動電極10が元の位置に復帰すると、プロジェクションボルト1はワーク37に溶接されたままとなり、ロボット装置33で次の工程へ移送される。
【0027】
上述の実施形態の作動を説明する。保持ヘッド20が図2の二点鎖線図示の位置にあるときに、パーツフィーダ30からプロジェクションボルト1が送られてくる。するとボルトのフランジ3や溶着用突起4が収容溝22や凹部24内に収容されて、軸部2が保持ヘッド20から上方に突出した状態になる。つぎに、供給ロッド18が進出させられて、軸部2が受入孔13と同軸になった位置で供給ロッド18の進出は停止する。その後、可動電極10が前述の電動モータ12の制御によって、第1ストロークとして停止範囲Lの所まで進出して停止する。それから、保持ヘッド20が駆動手段15によって図4の真横、すなわち右方に移動させられるので、フランジ3は相対的に収容溝22内を滑動して、軸部2が受入孔13内に残留する。
【0028】
それから、ふたたび可動電極10が第2ストロークとして進出して、溶着用突起4がワーク37に溶接される。この溶接される時期にはすでにワーク37がロボット装置33で両電極の間に挿入されているのであるが、その挿入位置はワーク37が固定電極11に接触する位置である。上述の一連の作動順序は、図3に段階的に示してある。
【0029】
図6のように窪んだ孔のような凹部24である場合には、圧縮空気を空気通路25から噴出させて、軸部2やフランジ3が完全に受入孔13内に移行し切ってから保持ヘッド20を退避させるのである。
【0030】
図7において符号46は可動電極10が進出してきたことを検出するセンサーである。このセンサー46は付加的に設置されたもので、作動精度を高めるのに有効である。センサー46からの信号が制御器45に入力され、それによって電動モータ12が停止させられる。この停止時には、図示していないが制動装置を作動させると、より正確な停止位置制御が可能である。
【0031】
なお、本発明は、図示の実施形態の上下関係を逆にしても、成立するものである。また、定置式溶接機の静止部材としては支持アームも含まれるので、同アームの側面にプロジェクションボルト供給装置を取り付けてもよい。
【0032】
【発明の効果】
本発明によれば、軸部とフランジと軸部とは反対側のフランジ面に形成された溶着用突起からなるプロジェクションボルトをロボット装置に保持された板状のワークに溶接するものにおいて、定置式溶接機の支持アームに可動電極と固定電極が設置され、回転運動を進退運動に変える変換機構を備えた電動モータを可動電極に結合し、可動電極に前記軸部が挿入される受入孔が形成され、進退式の供給ロッドに保持ヘッドを設置し、この保持ヘッドに支持された前記軸部を保持ヘッドから突出させた状態で可動電極の軸線上に待機させ、可動電極が進出して軸部が受入孔に入った時点で可動電極の進出を停止させ、この停止している時に保持ヘッドを退避させ、その後、再び可動電極を進出させて溶着用突起をワークに溶接するように構成され、前記供給ロッドはプロジェクションボルト供給装置に装備され、このプロジェクションボルト供給装置は定置式溶接機の一部に取り付けてあり、プロジェクションボルト供給装置は支持アームの長手方向で見て電極よりも後方側に配置され、可動電極の進退軸線上から保持ヘッドを退避させるための駆動手段が設置され、供給ロッドは支持アームに対して2方向に傾斜させてあり、これによって保持ヘッドに保持された軸部が受入孔と同軸になった位置で停止することができるように構成され、しかも、前記プロジェクションボルト供給装置は定置式溶接機の静止部材である支柱の側面に取り付けられた駆動手段にブラケットを介して取り付けられ、駆動手段の進退出力方向は可動電極の進退軸線に直交する向きとされ、前記保持ヘッドには片側が開放されたフランジ収容用の収容溝が形成され、この収容溝の長手方向は駆動手段の進退出力方向と同方向に設定され、ロボット装置に保持されたワークが可動電極と固定電極との間に進入する位置は、受入孔を有する可動電極から離隔しワークが固定電極に接触しているか、あるいは固定電極との間に僅かな隙間ができる程度の位置とされ、前記離隔によりワークが両電極の間に進入した状態のままプロジェクションボルト供給装置によって前記受入孔に軸部が挿入できるように構成したことを特徴とするプロジェクションボルトの溶接装置である。
【0033】
電動モータとしては、ACサーボモータが代表的なものであり、これに回転運動を進退運動に変える変換機構が装備されている。変換機構は、一般にねじ軸を雌ねじブロックに貫通させておいて、このブロックを回転させることによって進退運動を発生させるものが基本原理であり、このときに機械的抵抗を減少させるために、ボールスクリュー方式が採用されている。上述のような変換機構を採用することによって、ACサーボモータの回転数を制御装置からの指令で正確に設定することによって、進退運動の移動長さが正確に制御することができるのである。
【0034】
以上に述べた電動モータの特質は、可動電極の停止位置を所定の範囲内に正確に定めることが可能となるのであり、したがって、待機している軸部に向かって可動電極が進出してきて、受入孔に軸部が所定長さだけ進入したときに、可動電極の前進はただちに停止される。この停止している間に保持ヘッドを退避させ、その後、今度は可動電極がプロジェクションボルトを保持した状態で再び進出させられて、溶着用突起がワークに圧接・通電がなされて溶接が完了する。
【0035】
これらの作動は、電動モータの回転運動を進退運動に変換する機構や、電動モータの駆動制御が節度よく正確になされるので、可動電極の停止位置が正確に定まるのである。このことは、受入孔への軸部進入長さが所定長さ以上でなければ、保持ヘッドを退避させることができなくなるのである。すなわち、進入長さが短すぎると、保持ヘッドが電極軸線と直交する方向へ後退するときに軸部が受入孔内で異常な傾きを呈し、受入孔内へスムーズに挿入することが困難となる。あるいは、保持ヘッドに可動電極が接近し過ぎるところまで進出させると、今度は、保持ヘッドと可動電極との干渉が発生して、両者に損傷を与えることとなるのである。
【0036】
最も注目すべき点は、電動モータによる制御が可動電極の進出制御にとって非常に適していることである。換言すると、制御された電動モータの出力が可動電極に要求される運動特性を十分に満足させている。もし、従来技術のようなエアシリンダで可動電極の進出量を制御するとなると、必要な停止範囲に一時停止をさせ、再び進出させることは非常に困難なこととなる。エアシリンダに特殊な2段式シリンダを形成したりして制御する必要が生じてくる。また、可動電極の進出量を、ワークやプロジェクションボルトの変更に応じて変化させるときには、本発明であれば、電動モータの運転制御メモリーを変えれば簡単に適応することが可能となり、従来技術のようにエアシリンダを交換するようなことは必要がなく、設備経済的に見ても大変有効である。
【0039】
供給ロッドはプロジェクションボルト供給装置に装備され、このプロジェクションボルト供給装置は溶接機の一部に取り付けてある。したがって、プロジェクションボルト供給装置は、既存の溶接機の一部に付加的に取り付けるものであるから、溶接機を僅かに改造するだけでよく、設備経済性の面から好都合である。
【0040】
プロジェクションボルト供給装置は支持アームの長手方向で見て電極よりも後方側に配置されている。こうすることによって、両電極間にワークが進入してくるときに、プロジェクションボルト供給装置が邪魔になったりしない。このことは、支持アームの最先端部分に両電極が配置されているので、ワークはまず最初に両電極間に導かれることとなり、他の部材と干渉することなく円滑に溶接がなされる。
【0041】
可動電極の進退軸線上から保持ヘッドを退避させるための駆動手段が設置されている。可動電極の進出で所定の長さにわたって軸部が受入孔に進入すると、その位置で可動電極の進出が停止し、ついで前記駆動手段によって保持ヘッドが可動電極の進退軸線上から退避させられる。このように、可動電極の進出量が正確にコントロールされて停止した後に保持ヘッドが退避させられるから、可動電極の受入孔に確実にボルトが保持されてから保持ヘッドが退避させられることになる。よって、可動電極の進出および保持ヘッドの後退が正確になされて、高い作動信頼性がえられる。
【0042】
供給ロッドは支持アームに対して2方向に傾斜させてあり、これによって保持ヘッドに保持された軸部が受入孔と同軸になった位置で停止することができるように構成されている。このように2方向に傾斜させてあることによって、供給ロッドは支持アームと斜め方向から交差した状態になる。したがって、保持ヘッドに支持された軸部が、固定電極の軸線と同軸になる箇所まで直線的な移動軌跡で進入することが可能となる。
【図面の簡単な説明】
【図1】本発明の実施形態を示す全体的な平面図である。
【図2】図1のものの側面図である。
【図3】作動順序を(A)から(D)の段階にわたって示した作動図である。
【図4】保持ヘッドと受入孔との関係を示す縦断側面図である。
【図5】図4のものの縦断正面図である。
【図6】保持ヘッドと受入孔との関係を示す縦断側面図である。
【図7】変換機構を示す制御系統図である。
【符号の説明】
2 軸部
3 フランジ
4 溶着用突起
1 プロジェクションボルト
37 ワーク
8、9 支持アーム
10 可動電極
11 固定電極
39 変換機構
12 電動モータ
13 受入孔
18 供給ロッド
20 保持ヘッド
14 プロジェクションボルト供給装置
15 駆動手段

Claims (1)

  1. 軸部とフランジと軸部とは反対側のフランジ面に形成された溶着用突起からなるプロジェクションボルトをロボット装置に保持された板状のワークに溶接するものにおいて、定置式溶接機の支持アームに可動電極と固定電極が設置され、回転運動を進退運動に変える変換機構を備えた電動モータを可動電極に結合し、可動電極に前記軸部が挿入される受入孔が形成され、進退式の供給ロッドに保持ヘッドを設置し、この保持ヘッドに支持された前記軸部を保持ヘッドから突出させた状態で可動電極の軸線上に待機させ、可動電極が進出して軸部が受入孔に入った時点で可動電極の進出を停止させ、この停止している時に保持ヘッドを退避させ、その後、再び可動電極を進出させて溶着用突起をワークに溶接するように構成され、前記供給ロッドはプロジェクションボルト供給装置に装備され、このプロジェクションボルト供給装置は定置式溶接機の一部に取り付けてあり、プロジェクションボルト供給装置は支持アームの長手方向で見て電極よりも後方側に配置され、可動電極の進退軸線上から保持ヘッドを退避させるための駆動手段が設置され、供給ロッドは支持アームに対して2方向に傾斜させてあり、これによって保持ヘッドに保持された軸部が受入孔と同軸になった位置で停止することができるように構成され、しかも、前記プロジェクションボルト供給装置は定置式溶接機の静止部材である支柱の側面に取り付けられた駆動手段にブラケットを介して取り付けられ、駆動手段の進退出力方向は可動電極の進退軸線に直交する向きとされ、前記保持ヘッドには片側が開放されたフランジ収容用の収容溝が形成され、この収容溝の長手方向は駆動手段の進退出力方向と同方向に設定され、ロボット装置に保持されたワークが可動電極と固定電極との間に進入する位置は、受入孔を有する可動電極から離隔しワークが固定電極に接触しているか、あるいは固定電極との間に僅かな隙間ができる程度の位置とされ、前記離隔によりワークが両電極の間に進入した状態のままプロジェクションボルト供給装置によって前記受入孔に軸部が挿入できるように構成したことを特徴とするプロジェクションボルトの溶接装置。
JP2000186984A 2000-05-17 2000-05-17 プロジェクションボルトの溶接装置 Expired - Fee Related JP3760303B2 (ja)

Priority Applications (1)

Application Number Priority Date Filing Date Title
JP2000186984A JP3760303B2 (ja) 2000-05-17 2000-05-17 プロジェクションボルトの溶接装置

Applications Claiming Priority (1)

Application Number Priority Date Filing Date Title
JP2000186984A JP3760303B2 (ja) 2000-05-17 2000-05-17 プロジェクションボルトの溶接装置

Publications (2)

Publication Number Publication Date
JP2001321958A JP2001321958A (ja) 2001-11-20
JP3760303B2 true JP3760303B2 (ja) 2006-03-29

Family

ID=18687052

Family Applications (1)

Application Number Title Priority Date Filing Date
JP2000186984A Expired - Fee Related JP3760303B2 (ja) 2000-05-17 2000-05-17 プロジェクションボルトの溶接装置

Country Status (1)

Country Link
JP (1) JP3760303B2 (ja)

Families Citing this family (2)

* Cited by examiner, † Cited by third party
Publication number Priority date Publication date Assignee Title
US6653590B1 (en) * 2000-09-07 2003-11-25 Yoshitaka Aoyama Projection bolt welding device
CN102615413B (zh) * 2012-03-31 2015-07-22 重庆至信实业有限公司 汽车前门承载梁构件焊接电极总成

Also Published As

Publication number Publication date
JP2001321958A (ja) 2001-11-20

Similar Documents

Publication Publication Date Title
WO2003002288A1 (en) Method and device for welding projection bolt
US7144002B2 (en) Electric locking device
JPH09192968A (ja) 位置決めクランプ装置
JP3760303B2 (ja) プロジェクションボルトの溶接装置
CA2345022C (en) Projection bolt welding system
KR100743926B1 (ko) 프로젝션볼트의 용접방법 및 장치
JP4883453B2 (ja) 電気抵抗溶接用中空部品の供給ヘッド
JP5091203B2 (ja) Tig溶接装置
JPH02198787A (ja) 把握装置
US6653590B1 (en) Projection bolt welding device
JP3646203B2 (ja) プロジェクションボルトの溶接装置
JP3616990B2 (ja) プロジェクションボルトの溶接装置
JP2004082193A (ja) 溶接ボルト供給方法と装置
JP4062475B2 (ja) 部品供給装置
JP3326490B2 (ja) プロジェクションナットの溶接装置と溶接方法
JP2697809B2 (ja) 摩擦圧接機用の外バリ切削装置
JP4501138B2 (ja) プロジェクション溶接装置
JPS6219328A (ja) ワイヤカツト放電加工機のイニシヤルホ−ル加工装置
JP2002035949A (ja) プロジェクションボルトの溶接装置
JPS6037212Y2 (ja) 深穴加工におけるドリルの案内装置
CN223211228U (zh) 工件定位装置
JPH05278850A (ja) 部品供給方法
JP2799538B2 (ja) 部品供給装置
CN120115801A (zh) 一种电极帽维护装置
JPH04217435A (ja) ボルトまたはナット等の供給締付け方法およびその装置

Legal Events

Date Code Title Description
A977 Report on retrieval

Free format text: JAPANESE INTERMEDIATE CODE: A971007

Effective date: 20041014

A131 Notification of reasons for refusal

Free format text: JAPANESE INTERMEDIATE CODE: A131

Effective date: 20041026

A521 Written amendment

Free format text: JAPANESE INTERMEDIATE CODE: A523

Effective date: 20041204

A02 Decision of refusal

Free format text: JAPANESE INTERMEDIATE CODE: A02

Effective date: 20050705

A521 Written amendment

Free format text: JAPANESE INTERMEDIATE CODE: A523

Effective date: 20050723

A911 Transfer of reconsideration by examiner before appeal (zenchi)

Free format text: JAPANESE INTERMEDIATE CODE: A911

Effective date: 20051003

TRDD Decision of grant or rejection written
A01 Written decision to grant a patent or to grant a registration (utility model)

Free format text: JAPANESE INTERMEDIATE CODE: A01

Effective date: 20051206

A61 First payment of annual fees (during grant procedure)

Free format text: JAPANESE INTERMEDIATE CODE: A61

Effective date: 20051221

R150 Certificate of patent or registration of utility model

Free format text: JAPANESE INTERMEDIATE CODE: R150

Ref document number: 3760303

Country of ref document: JP

Free format text: JAPANESE INTERMEDIATE CODE: R150

S531 Written request for registration of change of domicile

Free format text: JAPANESE INTERMEDIATE CODE: R313532

R350 Written notification of registration of transfer

Free format text: JAPANESE INTERMEDIATE CODE: R350

R250 Receipt of annual fees

Free format text: JAPANESE INTERMEDIATE CODE: R250

LAPS Cancellation because of no payment of annual fees