JP3732089B2 - 廃水処理用微生物培養物の調製方法 - Google Patents
廃水処理用微生物培養物の調製方法 Download PDFInfo
- Publication number
- JP3732089B2 JP3732089B2 JP2000514854A JP2000514854A JP3732089B2 JP 3732089 B2 JP3732089 B2 JP 3732089B2 JP 2000514854 A JP2000514854 A JP 2000514854A JP 2000514854 A JP2000514854 A JP 2000514854A JP 3732089 B2 JP3732089 B2 JP 3732089B2
- Authority
- JP
- Japan
- Prior art keywords
- aeration tank
- aeration
- tank
- microorganisms
- culture
- Prior art date
- Legal status (The legal status is an assumption and is not a legal conclusion. Google has not performed a legal analysis and makes no representation as to the accuracy of the status listed.)
- Expired - Fee Related
Links
- 238000009629 microbiological culture Methods 0.000 title claims abstract description 30
- 238000004065 wastewater treatment Methods 0.000 title claims abstract description 30
- 238000000034 method Methods 0.000 title claims abstract description 29
- 244000005700 microbiome Species 0.000 claims abstract description 88
- 238000005273 aeration Methods 0.000 claims abstract description 84
- 238000011282 treatment Methods 0.000 claims description 29
- 239000002351 wastewater Substances 0.000 claims description 24
- 239000010802 sludge Substances 0.000 claims description 20
- 239000007787 solid Substances 0.000 claims description 20
- CSNNHWWHGAXBCP-UHFFFAOYSA-L Magnesium sulfate Chemical compound [Mg+2].[O-][S+2]([O-])([O-])[O-] CSNNHWWHGAXBCP-UHFFFAOYSA-L 0.000 claims description 16
- 238000004062 sedimentation Methods 0.000 claims description 15
- 239000001963 growth medium Substances 0.000 claims description 14
- WQZGKKKJIJFFOK-GASJEMHNSA-N Glucose Natural products OC[C@H]1OC(O)[C@H](O)[C@@H](O)[C@@H]1O WQZGKKKJIJFFOK-GASJEMHNSA-N 0.000 claims description 9
- 239000008103 glucose Substances 0.000 claims description 9
- 229940041514 candida albicans extract Drugs 0.000 claims description 8
- 238000012258 culturing Methods 0.000 claims description 8
- FBAFATDZDUQKNH-UHFFFAOYSA-M iron chloride Chemical compound [Cl-].[Fe] FBAFATDZDUQKNH-UHFFFAOYSA-M 0.000 claims description 8
- 229910052943 magnesium sulfate Inorganic materials 0.000 claims description 8
- 235000019341 magnesium sulphate Nutrition 0.000 claims description 8
- 239000000126 substance Substances 0.000 claims description 8
- 239000012138 yeast extract Substances 0.000 claims description 8
- 239000001888 Peptone Substances 0.000 claims description 6
- 108010080698 Peptones Proteins 0.000 claims description 6
- 235000019319 peptone Nutrition 0.000 claims description 6
- 238000002156 mixing Methods 0.000 claims description 3
- 230000001376 precipitating effect Effects 0.000 claims description 2
- 101100283604 Caenorhabditis elegans pigk-1 gene Proteins 0.000 claims 2
- 239000000463 material Substances 0.000 abstract description 3
- 238000004321 preservation Methods 0.000 abstract 1
- 239000002609 medium Substances 0.000 description 34
- 239000000047 product Substances 0.000 description 28
- 230000000052 comparative effect Effects 0.000 description 22
- LYCAIKOWRPUZTN-UHFFFAOYSA-N Ethylene glycol Chemical compound OCCO LYCAIKOWRPUZTN-UHFFFAOYSA-N 0.000 description 21
- 239000007788 liquid Substances 0.000 description 15
- 241000233866 Fungi Species 0.000 description 9
- 239000000203 mixture Substances 0.000 description 9
- OKTJSMMVPCPJKN-UHFFFAOYSA-N Carbon Chemical compound [C] OKTJSMMVPCPJKN-UHFFFAOYSA-N 0.000 description 5
- AFCARXCZXQIEQB-UHFFFAOYSA-N N-[3-oxo-3-(2,4,6,7-tetrahydrotriazolo[4,5-c]pyridin-5-yl)propyl]-2-[[3-(trifluoromethoxy)phenyl]methylamino]pyrimidine-5-carboxamide Chemical compound O=C(CCNC(=O)C=1C=NC(=NC=1)NCC1=CC(=CC=C1)OC(F)(F)F)N1CC2=C(CC1)NN=N2 AFCARXCZXQIEQB-UHFFFAOYSA-N 0.000 description 5
- 230000015572 biosynthetic process Effects 0.000 description 5
- 229910052799 carbon Inorganic materials 0.000 description 5
- 239000005416 organic matter Substances 0.000 description 5
- 239000010865 sewage Substances 0.000 description 5
- 238000003860 storage Methods 0.000 description 5
- VZSRBBMJRBPUNF-UHFFFAOYSA-N 2-(2,3-dihydro-1H-inden-2-ylamino)-N-[3-oxo-3-(2,4,6,7-tetrahydrotriazolo[4,5-c]pyridin-5-yl)propyl]pyrimidine-5-carboxamide Chemical compound C1C(CC2=CC=CC=C12)NC1=NC=C(C=N1)C(=O)NCCC(N1CC2=C(CC1)NN=N2)=O VZSRBBMJRBPUNF-UHFFFAOYSA-N 0.000 description 4
- 230000008569 process Effects 0.000 description 4
- 241000196324 Embryophyta Species 0.000 description 3
- PEDCQBHIVMGVHV-UHFFFAOYSA-N Glycerine Chemical compound OCC(O)CO PEDCQBHIVMGVHV-UHFFFAOYSA-N 0.000 description 3
- 238000001994 activation Methods 0.000 description 3
- 230000015556 catabolic process Effects 0.000 description 3
- 230000001143 conditioned effect Effects 0.000 description 3
- 238000006731 degradation reaction Methods 0.000 description 3
- 230000000694 effects Effects 0.000 description 3
- 239000000835 fiber Substances 0.000 description 3
- 238000004519 manufacturing process Methods 0.000 description 3
- 229920000728 polyester Polymers 0.000 description 3
- 239000008247 solid mixture Substances 0.000 description 3
- XLYOFNOQVPJJNP-UHFFFAOYSA-N water Substances O XLYOFNOQVPJJNP-UHFFFAOYSA-N 0.000 description 3
- 229920001817 Agar Polymers 0.000 description 2
- 240000007594 Oryza sativa Species 0.000 description 2
- 235000007164 Oryza sativa Nutrition 0.000 description 2
- 240000004808 Saccharomyces cerevisiae Species 0.000 description 2
- 230000004913 activation Effects 0.000 description 2
- 239000008272 agar Substances 0.000 description 2
- BFNBIHQBYMNNAN-UHFFFAOYSA-N ammonium sulfate Chemical compound N.N.OS(O)(=O)=O BFNBIHQBYMNNAN-UHFFFAOYSA-N 0.000 description 2
- 229910052921 ammonium sulfate Inorganic materials 0.000 description 2
- 235000011130 ammonium sulphate Nutrition 0.000 description 2
- 230000008901 benefit Effects 0.000 description 2
- 239000007853 buffer solution Substances 0.000 description 2
- 235000013339 cereals Nutrition 0.000 description 2
- 230000003247 decreasing effect Effects 0.000 description 2
- 239000002054 inoculum Substances 0.000 description 2
- 239000002736 nonionic surfactant Substances 0.000 description 2
- 238000001556 precipitation Methods 0.000 description 2
- 235000009566 rice Nutrition 0.000 description 2
- 239000002689 soil Substances 0.000 description 2
- 238000001694 spray drying Methods 0.000 description 2
- 239000000758 substrate Substances 0.000 description 2
- QGZKDVFQNNGYKY-UHFFFAOYSA-O Ammonium Chemical compound [NH4+] QGZKDVFQNNGYKY-UHFFFAOYSA-O 0.000 description 1
- 241000988927 Aspidisca Species 0.000 description 1
- 241000894006 Bacteria Species 0.000 description 1
- WHUUTDBJXJRKMK-VKHMYHEASA-N L-glutamic acid Chemical compound OC(=O)[C@@H](N)CCC(O)=O WHUUTDBJXJRKMK-VKHMYHEASA-N 0.000 description 1
- XBDQKXXYIPTUBI-UHFFFAOYSA-M Propionate Chemical compound CCC([O-])=O XBDQKXXYIPTUBI-UHFFFAOYSA-M 0.000 description 1
- XUIMIQQOPSSXEZ-UHFFFAOYSA-N Silicon Chemical compound [Si] XUIMIQQOPSSXEZ-UHFFFAOYSA-N 0.000 description 1
- 241000868220 Vorticella Species 0.000 description 1
- 230000003213 activating effect Effects 0.000 description 1
- 239000007864 aqueous solution Substances 0.000 description 1
- 230000001580 bacterial effect Effects 0.000 description 1
- 238000010170 biological method Methods 0.000 description 1
- 230000029087 digestion Effects 0.000 description 1
- 238000001035 drying Methods 0.000 description 1
- 230000001747 exhibiting effect Effects 0.000 description 1
- 239000007789 gas Substances 0.000 description 1
- 229930195712 glutamate Natural products 0.000 description 1
- 238000000227 grinding Methods 0.000 description 1
- 239000003966 growth inhibitor Substances 0.000 description 1
- 229910052500 inorganic mineral Inorganic materials 0.000 description 1
- 239000013028 medium composition Substances 0.000 description 1
- 230000002503 metabolic effect Effects 0.000 description 1
- 230000000813 microbial effect Effects 0.000 description 1
- 239000013586 microbial product Substances 0.000 description 1
- 239000011707 mineral Substances 0.000 description 1
- 235000010755 mineral Nutrition 0.000 description 1
- 238000012986 modification Methods 0.000 description 1
- 230000004048 modification Effects 0.000 description 1
- 235000015097 nutrients Nutrition 0.000 description 1
- 239000003921 oil Substances 0.000 description 1
- 230000003647 oxidation Effects 0.000 description 1
- 238000007254 oxidation reaction Methods 0.000 description 1
- 239000000843 powder Substances 0.000 description 1
- 230000005855 radiation Effects 0.000 description 1
- 238000000926 separation method Methods 0.000 description 1
- 239000010801 sewage sludge Substances 0.000 description 1
- 229910052710 silicon Inorganic materials 0.000 description 1
- 239000010703 silicon Substances 0.000 description 1
- 235000020183 skimmed milk Nutrition 0.000 description 1
- 241000894007 species Species 0.000 description 1
- 239000010902 straw Substances 0.000 description 1
- 239000006228 supernatant Substances 0.000 description 1
- 239000004094 surface-active agent Substances 0.000 description 1
- 239000002341 toxic gas Substances 0.000 description 1
Images
Classifications
-
- C—CHEMISTRY; METALLURGY
- C02—TREATMENT OF WATER, WASTE WATER, SEWAGE, OR SLUDGE
- C02F—TREATMENT OF WATER, WASTE WATER, SEWAGE, OR SLUDGE
- C02F3/00—Biological treatment of water, waste water, or sewage
- C02F3/34—Biological treatment of water, waste water, or sewage characterised by the microorganisms used
-
- C—CHEMISTRY; METALLURGY
- C02—TREATMENT OF WATER, WASTE WATER, SEWAGE, OR SLUDGE
- C02F—TREATMENT OF WATER, WASTE WATER, SEWAGE, OR SLUDGE
- C02F3/00—Biological treatment of water, waste water, or sewage
- C02F3/02—Aerobic processes
- C02F3/12—Activated sludge processes
-
- C—CHEMISTRY; METALLURGY
- C12—BIOCHEMISTRY; BEER; SPIRITS; WINE; VINEGAR; MICROBIOLOGY; ENZYMOLOGY; MUTATION OR GENETIC ENGINEERING
- C12N—MICROORGANISMS OR ENZYMES; COMPOSITIONS THEREOF; PROPAGATING, PRESERVING, OR MAINTAINING MICROORGANISMS; MUTATION OR GENETIC ENGINEERING; CULTURE MEDIA
- C12N1/00—Microorganisms, e.g. protozoa; Compositions thereof; Processes of propagating, maintaining or preserving microorganisms or compositions thereof; Processes of preparing or isolating a composition containing a microorganism; Culture media therefor
- C12N1/20—Bacteria; Culture media therefor
-
- C—CHEMISTRY; METALLURGY
- C12—BIOCHEMISTRY; BEER; SPIRITS; WINE; VINEGAR; MICROBIOLOGY; ENZYMOLOGY; MUTATION OR GENETIC ENGINEERING
- C12N—MICROORGANISMS OR ENZYMES; COMPOSITIONS THEREOF; PROPAGATING, PRESERVING, OR MAINTAINING MICROORGANISMS; MUTATION OR GENETIC ENGINEERING; CULTURE MEDIA
- C12N1/00—Microorganisms, e.g. protozoa; Compositions thereof; Processes of propagating, maintaining or preserving microorganisms or compositions thereof; Processes of preparing or isolating a composition containing a microorganism; Culture media therefor
- C12N1/26—Processes using, or culture media containing, hydrocarbons
-
- C—CHEMISTRY; METALLURGY
- C02—TREATMENT OF WATER, WASTE WATER, SEWAGE, OR SLUDGE
- C02F—TREATMENT OF WATER, WASTE WATER, SEWAGE, OR SLUDGE
- C02F3/00—Biological treatment of water, waste water, or sewage
- C02F3/34—Biological treatment of water, waste water, or sewage characterised by the microorganisms used
- C02F3/348—Biological treatment of water, waste water, or sewage characterised by the microorganisms used characterised by the way or the form in which the microorganisms are added or dosed
-
- Y—GENERAL TAGGING OF NEW TECHNOLOGICAL DEVELOPMENTS; GENERAL TAGGING OF CROSS-SECTIONAL TECHNOLOGIES SPANNING OVER SEVERAL SECTIONS OF THE IPC; TECHNICAL SUBJECTS COVERED BY FORMER USPC CROSS-REFERENCE ART COLLECTIONS [XRACs] AND DIGESTS
- Y02—TECHNOLOGIES OR APPLICATIONS FOR MITIGATION OR ADAPTATION AGAINST CLIMATE CHANGE
- Y02W—CLIMATE CHANGE MITIGATION TECHNOLOGIES RELATED TO WASTEWATER TREATMENT OR WASTE MANAGEMENT
- Y02W10/00—Technologies for wastewater treatment
- Y02W10/10—Biological treatment of water, waste water, or sewage
Landscapes
- Life Sciences & Earth Sciences (AREA)
- Chemical & Material Sciences (AREA)
- Engineering & Computer Science (AREA)
- Organic Chemistry (AREA)
- Health & Medical Sciences (AREA)
- Microbiology (AREA)
- Biotechnology (AREA)
- Zoology (AREA)
- Wood Science & Technology (AREA)
- Genetics & Genomics (AREA)
- Bioinformatics & Cheminformatics (AREA)
- Water Supply & Treatment (AREA)
- Environmental & Geological Engineering (AREA)
- Biodiversity & Conservation Biology (AREA)
- Hydrology & Water Resources (AREA)
- General Engineering & Computer Science (AREA)
- Biomedical Technology (AREA)
- Virology (AREA)
- Tropical Medicine & Parasitology (AREA)
- Biochemistry (AREA)
- Medicinal Chemistry (AREA)
- General Health & Medical Sciences (AREA)
- Oil, Petroleum & Natural Gas (AREA)
- Micro-Organisms Or Cultivation Processes Thereof (AREA)
- Purification Treatments By Anaerobic Or Anaerobic And Aerobic Bacteria Or Animals (AREA)
- Activated Sludge Processes (AREA)
Description
本願は、1997年10月6日に韓国工業所有権庁に出願された出願 No. 97-51254 に基づくものであり、その内容は、本明細書に参考までに取り込んでいる。
【0001】
発明の背景
(a) 発明の分野
本発明は、廃水処理用微生物培養物の調製方法に関し、具体的には、廃水処理プラントの曝気槽内に存在する微生物を培養する工程を含む微生物培養物の調製方法に関する。
(b) 従来の技術
生物学的な廃水処理方法において、廃水中の多くの有機物は、微生物によって、分解、解毒および除去される。 このような生物学的方法は、好気性処理と嫌気性処理とに分けられる。 好気性処理は、活性汚泥法、散水濾床法、生物学的回転接触法、酸化池法などに分類される。 嫌気性処理は、嫌気性消化法、浄化槽法などに分類される。
【0002】
活性汚泥法によれば、廃水中の多くの有機物は、微生物の好気性代謝作用によって分解され得る。
【0003】
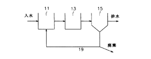
図2は、従来の活性汚泥プロセスを示している。 一次沈殿槽(11)に、処理水が供給される。 入水(原廃水)の量とpHを、一次沈殿槽(11)で調整する。 一次沈殿槽(11)にて、原廃水から固形分と懸濁固形分(SS)を除去する。 そして、廃水を、曝気槽(13)に連続的に供給する。 曝気槽(13)において、好気性微生物と共に曝気することで、多くの有機物が酸化および分解される。 次いで、曝気槽(13)内の混合物を、二次沈殿槽(15)に連続的に供給する。 二次沈殿槽(15)にて、混合物中の汚泥フロックは沈殿および分離される。 沈殿した汚泥の一部は、汚泥還流経路(19)を通って曝気槽(13)に戻され、そして、残りの沈殿汚泥は、余剰汚泥として乾燥および廃棄される。 二次沈殿槽(15)の上清は、消毒および排水される。 活性汚泥処理プロセスにて重要な役割を果たす曝気槽は、コンクリート造りの構造物であり、一般に、活性汚泥が収容される。
【0004】
廃水処理用微生物培養物は、曝気槽に流し込まれる様々な物質の分解を促し、また、BOD、CODおよびSS濃度を低減せしめる微生物利用産品である。
【0005】
廃水処理用微生物培養物の形態は、固体と液体に分類される。 固体タイプの廃水処理用微生物培養物は、微生物を濃縮培養し、この微生物を穀物培地に接種し、培養し、加熱乾燥し、そして粉砕することによって調製される。 あるいは、固体タイプの微生物培養物は、液体培地での接種物を培養し、培養物を凍結乾燥し、そして、これら凍結乾燥物を、稲藁、米糠、おがくず、落葉または穀物と共に混合することによって調製される。 他の方法として、固体タイプの微生物培養物は、液体培地での接種物を培養し、この液体培地に界面活性剤を添加し、そして、これら培養物を噴霧乾燥することによって調製される。
【0006】
液体タイプの廃水処理用微生物培養物は、微生物を液体培地で濃縮培養し、この液体培地にシリコンオイルおよび非イオン性界面活性剤を添加することによって調製される。
【0007】
固体タイプの微生物培養物の貯蔵期間は比較的長い。 しかしながら、活性化時間も比較的長い。 液体タイプの微生物培養物での活性化時間は比較的短い。また、貯蔵期間も比較的短い。
【0008】
固体タイプの微生物培養物での問題点を解決するために、韓国公開特許公報第95-26824号では、土壌から分離した微生物を利用し、かつ微生物培養物にプロモーターとして汚泥を添加する、との廃水処理用微生物培養物の調製方法が開示されている。
【0009】
韓国公開特許公報第96-14334号は、脱脂粉乳およびグルタミン酸塩などを培地に添加し、これを凍結乾燥する、との廃水処理用微生物培養物の調製方法を開示されている。
【0010】
液体タイプの微生物培養物での問題点を解決するために、韓国公開特許公報第96-22289号および第96-22288号では、非イオン性界面活性剤およびグリセロールを液体培地に添加し、これを噴霧乾燥する、との廃水処理用微生物培養物の調製方法が開示されている。
【0011】
韓国公開特許公報第94-6931号は、微生物生長抑制剤として、プロピオン酸塩を含んでなる廃水処理用微生物培養物を開示している。 この微生物培養物の貯蔵期間は比較的長い。 しかしながら、この微生物培養物の活性化力は、比較的小さい。
【0012】
PCT出願公開公報第WO 96/15992号では、発酵槽に好気性微生物と嫌気性微生物を添加する工程を含む廃水処理方法が開示されている。 この方法では、悪臭、有毒ガスおよび有害成分を生成しない。 この発明の目的は、発酵槽で微生物を培養するのではなく、自然界から分離された微生物を用いて下水から有害ガスを除去することにある。 この発明には、微生物を汚泥に順応するにあたって比較的長時間を要するとの難点を抱えている。
【0013】
米国特許第5,376,375号は、汚泥中の可溶性炭素基質の形成を最高ならしめる条件下で、少なくとも15日間、下水汚泥成分を発酵せしめ、調整下水、すなわち、発酵した汚泥から得た可溶性炭素基質を含む調整下水を形成するために、発酵した汚泥を流入下水と接触せしめ、そして、この調整下水を活性汚泥処理プラントに供給する、との工程を含む廃水処理方法を開示している。 この発明では、15〜60日という比較的長い処理時間を要する。
【0014】
発明の要旨
本発明の目的は、比較的長い貯蔵期間を有する廃水処理用微生物培養物の調製方法を提供することにある。
【0015】
本発明の他の目的は、廃水中の有機物を分解する多数の有効微生物を包含した廃水処理用微生物培養物の調製方法を提供することにある。
【0016】
これら目的を達成するために、本願発明は、曝気槽から得た曝気処理物をバイオリアクターに供給し、そしてバイオリアクターに培養培地を添加することによって、曝気処理物中に存在する微生物を培養する、工程を含む廃水処理用微生物培養物の調製方法を提供する。
【0017】
本願発明は、原廃水から固形分と懸濁固形分を除去するための一次沈殿槽;該一次沈殿槽に連結している曝気槽、すなわち、微生物と共に原廃水を曝気処理して原廃水中の有機物質を分解するための曝気槽;該曝気槽に連結したバイオリアクター、すなわち、曝気処理物と培養培地とを混合して微生物培養物を調製し、そしてこの微生物培養物を曝気槽に供給することによって、曝気槽から得た曝気処理物と培養培地を供給するバイオリアクター;および、該曝気槽に連結した二次沈殿槽、すなわち、曝気槽から供給された汚泥フロックを沈殿するための二次沈殿槽を含む、廃水処理プラントを提供する。
【0018】
本発明のより詳細な実体と関連する多くの利点は、添付した図面と共に以下の詳細な説明を参照することで、より明瞭に理解されることになろう。
【0019】
好適な実施態様の詳細な説明
本願発明は、曝気槽から得た曝気処理物をバイオリアクターに供給し、および、バイオリアクターに培養培地を添加することによって、曝気処理物中に存在する微生物を培養する、工程を含む廃水処理用微生物培養物の調製方法を提供する。
【0020】
好ましくは、この培養培地は、曝気処理物に基づく、0.05〜3重量%のペプトン、0.01〜2重量%の酵母エキス、0〜2重量%のブドウ糖、0〜2重量%のKH2PO4、0〜1重量%のK2HPO4、0.001〜0.1重量%の硫酸マグネシウム、および0.0001〜0.5重量%の塩化鉄を含む。 各成分量は、曝気処理物の重量に基づいた固体量である。 曝気処理物が水性溶液であるため、この培養培地に水を加える必要はない。 各成分量が上述した範囲内から外れるような場合には、培地のpHや、微生物の種類および数を変化することができる。
【0021】
図1に示したように、本願発明は、原廃水から固形分と懸濁固形分を除去するための一次沈殿槽(11);該一次沈殿槽(11)に連結している曝気槽(13)、すなわち、微生物と共に原廃水を曝気処理して原廃水中の有機物質を分解するための曝気槽(13);該曝気槽(13)に連結したバイオリアクター(17)、すなわち、曝気処理物と培養培地とを混合して微生物培養物を調製し、そしてこの微生物培養物を曝気槽(13)に供給することによって、曝気槽(13)から得た曝気処理物と培養培地を供給するバイオリアクター(17);および、該曝気槽(13)に連結した二次沈殿槽(15)、すなわち、曝気槽(13)から供給された汚泥フロックを沈殿するための二次沈殿槽(15)を含む、廃水処理プラントを提供する。
【0022】
好ましくは、この培養培地は、曝気処理物に基づく、0.05〜3重量%のペプトン、0.01〜2重量%の酵母エキス、0〜2重量%のブドウ糖、0〜2重量%のKH2PO4、0〜1重量%のK2HPO4、0.001〜0.1重量%の硫酸マグネシウム、および0.0001〜0.5重量%の塩化鉄を含む。
【0023】
廃水に対して比較的高い活性を示す微生物が、廃水処理プラントの曝気槽内に存在する。 本願発明において、曝気槽から分離された微生物を液状培地で培養し、次いで、この微生物を曝気槽に供給することで、曝気槽内の廃水に対して高い活性を示す微生物の濃度が増大する。
【0024】
微生物の状態は、曝気槽のCODに依存する。 多くの有機物を含む曝気処理物から分離された微生物は、廃水に対して比較的高い活性を有する。 従って、曝気槽から得た曝気処理物は、高活性微生物培養物を得るための種材として用いるのが好ましい。
【0025】
培地の組成は、微生物の種類によって変えることができる。 例えば、0.05〜3重量%のペプトン、0.01〜2重量%の酵母エキス、0〜2重量%のブドウ糖、0〜2重量%のKH2PO4、0〜1重量%のK2HPO4、0.001〜0.1重量%の硫酸マグネシウム、および0.0001〜0.5重量%の塩化鉄を含む培地が使用できる。 この培地での炭素源としてのブドウ糖の含有量が過剰になると、曝気槽内でのカビの増殖が顕著になる。 培地組成が不適切な場合に、微生物の数と種類を変えることができる。 培地には、炭素源と緩衝溶液を除く少量のミネラルを含めることができる。 この培地は、培地の組成が最小培地の組成に似ているので、曝気槽からの微生物の効率的な分離を行う上で、栄養培地に比べて有利である。
【0026】
実施例1
曝気処理物に基づく、0.3重量%のペプトン、0.05重量%の酵母エキス、0.02重量%のKH2PO4、0.005重量%の硫酸マグネシウム、および0.0001重量%の塩化鉄の混合物を、ガンマ線照射(10KGY)によって滅菌した。 この滅菌した固体混合物を、曝気処理物、すなわち、ポリエステル繊維糸製造工場の廃水処理プラントの曝気槽から得た曝気処理物と共に、バイオリアクターに入れ、30℃で24時間培養した。 曝気処理物の主成分は、エチレングリコ−ルであった。
【0027】
比較例1−1
曝気処理物に基づく、2重量%のブドウ糖、0.1重量%の酵母エキス、0.2重量%のK2HPO4、0.04重量%の硫酸マグネシウム、0.7重量%の硫酸アンモニウム、および0.05重量%の塩化鉄の混合物を、ガンマ線照射(10KGY)によって滅菌した。
この滅菌した固体混合物を、曝気処理物、すなわち、ポリエステル繊維糸製造工場の廃水処理プラントの曝気槽から得た曝気処理物と共に、バイオリアクターに入れ、30℃で24時間培養した。 曝気処理物の主成分は、エチレングリコ−ルであった。
【0028】
比較例1−2
曝気処理物に基づく、2重量%のブドウ糖、0.1重量%の酵母エキス、0.2重量%のK2HPO4、0.04重量%の硫酸マグネシウム、0.7重量%の硫酸アンモニウム、0.05重量%の塩化鉄、0.24重量%の(NH4)3PO4および0.3重量%の(NH4)2HPO4の混合物を、ガンマ線照射(10KGY)によって滅菌した。 この滅菌した固体混合物を、曝気処理物、すなわち、ポリエステル繊維糸製造工場の廃水処理プラントの曝気槽から得た曝気処理物と共に、バイオリアクターに入れ、30℃で24時間培養した。
曝気処理物の主成分は、エチレングリコ−ルであった。
【0029】
実施例1では、比較例1-1および比較例1-2と比較して、カビおよび酵母の成長は認められなかった。 また、実施例1では、比較例1-1および比較例1-2と比較して、微生物の種類が多かった。 比較例1-1と比較例1-2では、培地の炭素源としてブドウ糖を用いたので、酵母またはカビの成長が認められた。緩衝溶液としてアンモニウムを用いた比較例1−2では、時間の経過と共に、培地のpHが減少した。
【0030】
実施例2
実施例1の液体培地に、1.7重量%の寒天を添加して固体培地を調製した。
培地としてこの固体培地を使用した以外は、実施例1の手順を反復した。
【0031】
比較例2
トリプシン処理した大豆寒天(Difco社)を培地として使用した以外は、実施例1の手順を反復した。
【0032】
以下の表1に、実施例2と比較例2の結果を示す。
【0033】
【表1】
【0034】
実施例2では、比較例2と比較して、好気性微生物の数と細菌の菌種が多かった。 実施例2の培地は、比較例2と比較して、曝気槽から得た微生物を培養するのに有利である。 細菌の数と種類は、培地の組成に依存していた。
【0035】
実施例3
曝気槽から得た微生物を、実施例1の液体培地で培養した。 エチレングリコールの分解に関与する微生物の数を、0.05重量%のNH4Cl、0.05重量%の(NH2)2SO4、0.3重量%のNa2HPO4、0.2重量%のKH2PO4、0.001重量%のMgSO4、0.0001重量%のFeCl3、および1重量%のエチレングリコールを含む最小培地を用いて測定した。
有効微生物の総数を、実施例2の固体培地を用いて測定した。
【0036】
比較例3
曝気槽から得た微生物を、実施例1の液体培地で培養しなかったこと以外は、実施例3の手順を反復した。
【0037】
以下の表2に、実施例3と比較例3の結果を示す。
【0038】
【表2】
【0039】
表2に示した通り、比較例3と比較して、実施例3の方が、有効微生物の数が多く、またエチレングリコ−ルの分解に関与する微生物の数も多かった。
【0040】
実施例4
実施例1の液体培地を滅菌した。 曝気槽から得たエチレングリコールを主成分として含む1mlの廃水に、滅菌した培地を添加した。 そして、得られた混合物を、30℃で24時間培養した。 培養した微生物を、500ppmの濃度で曝気槽に入れ、曝気槽内で3日間曝気処理した。 その後、曝気槽内の曝気処理物のCODと、フロック形成の程度を測定した。
【0041】
比較例4
培養した微生物を曝気槽に供給しなかったこと以外は、実施例4の手順を反復した。
【0042】
以下の表3に、実施例4と比較例4の結果を示す。
【0043】
【表3】
【0044】
表3に示したように、実施例4の培養微生物は排水中の有機物を分解し、それを資化して増殖したので、24時間後の実施例4のCODは、比較例4のそれより高かった。 しかしながら、実施例4のCODは徐々に減少した。 実施例4は、比較例4と比較して、相対的に高い処理効率を示した。 実施例4では、48時間以内にフロック形成が認められた。 これとは対照的に、比較例4では、72時間後にフロック形成が認められた。
【0045】
実施例5および比較例5
糸状微生物が大勢を占めているバルキング廃水を、試験プラント(70L×4)に流し込んだ。 微生物培養物は、実施例1の培地を使用して製造し、また、曝気処理物は、試験プラントの曝気槽から分離した。 微生物培養物は、500ppmの濃度で、7日間、曝気槽に供給した。
【0046】
図3は、微生物培養物で処理する前の曝気槽内の微生物の写真である。 図3に示したように、フロック形成に関与した微生物は、糸状菌であった。
【0047】
図4は、微生物培養物で処理して24時間後の曝気槽内の微生物の写真である。糸状菌が、フロック中に認められるものの、このフロックは次第に正常なフロックに戻った。 微生物培養物で処理して24時間後、フロックの形状は、バルキング廃水に似ていた。 しかしながら、非糸状菌の数は増加していた。
【0048】
図5は、微生物培養物で処理して48時間後の曝気槽内の微生物の写真である。糸状菌が、フロック中に認められるものの、このフロックは次第に正常なフロックに戻った。
【0049】
図6は、微生物培養物で処理して72時間後の曝気槽内の微生物の写真である。このフロックは次第に正常なフロックに戻った。 微生物培養物で処理して72時間後、曝気槽内の糸状菌は非糸状菌に置き換わっていた。
【0050】
図7は、微生物培養物で処理して168間後の曝気槽内の微生物の写真である。図7に示したように、フロック中に糸状菌は認められず、フロック中にはVorticella spp.やAspidisca spp.のような原生動物が観察された。 本願発明の微生物培養物は、これらフロックを正常なフロックに戻すことができる。 曝気槽から得た有効微生物の培養プロセスにあっては、糸状菌ではない非糸状菌が優先的に培養される。
【0051】
この微生物培養物は、曝気槽の環境に順応した微生物を含む。 従って、本願発明は、微生物培養物を曝気槽で馴らすための活性化プロセスを省略できる。
この微生物培養物は、従来の微生物培養物と比較して、相対的に高い有機物分解能力を有している。 この微生物培養物は、比較的に長い貯蔵期間と、処理効率とを兼ね備えている。
【0052】
どの廃水処理プラントにも、特徴的な有機物がある。 これら有機物に見合った微生物は、プラントの曝気槽内に存在する。 本願発明の微生物培養物は、曝気槽から得た微生物を使用して調製された。 従って、本願発明は、土壌のような自然界から分離された微生物を利用した従来の微生物培養物と比較して、相対的に高い処理効率を有する微生物培養物を提供する。
【0053】
これまでに本発明の好ましい実施態様について説明してきたが、当業者であれば、ここに添付した請求の範囲に示した発明の趣旨と範囲を逸脱せずに、無数の修正と変更が加えられることが予想される。
【図面の簡単な説明】
【図1】 本発明の廃水処理プラントの概略図である。
【図2】 従来の活性汚泥プロセスでの廃水処理プラントの概略図である。
【図3】 本発明の微生物培養物で処理する前の曝気槽内の微生物の写真である。
【図4】 本発明の微生物培養物で処理して24時間後の曝気槽内の微生物の写真である。
【図5】 本発明の微生物培養物で処理して48時間後の曝気槽内の微生物の写真である。
【図6】 本発明の微生物培養物で処理して72時間後の曝気槽内の微生物の写真である。
【図7】 本発明の微生物培養物で処理して168時間後の曝気槽内の微生物の写真である。
Claims (2)
- 廃水処理用微生物培養物の調製方法であって、
曝気槽から得た曝気処理物をバイオリアクターに供給し;および、
バイオリアクターに培養培地を添加することによって、曝気処理物中に存在する微生物を培養する工程を含み、
かつ当該培養培地が、曝気処理物の重量に基づいた固体量で、0 . 05〜3重量%のペプトン、0 . 01〜2重量%の酵母エキス、0〜2重量%のブドウ糖、0〜2重量%のKH 2 PO 4 、0〜1重量%のK 2 HPO 4 、0 . 001〜0 . 1重量%の硫酸マグネシウム、および0 . 0001〜0 . 5重量%の塩化鉄を含む、
ことを特徴とする廃水処理用微生物培養物の調製方法。 - 廃水処理プラントであって、
原廃水から固形分と懸濁固形分を除去するための一次沈殿槽;
該一次沈殿槽に連結している曝気槽、すなわち、微生物と共に原廃水を曝気処理して原廃水中の有機物質を分解するための曝気槽;
該曝気槽に連結したバイオリアクター、すなわち、曝気処理物と培養培地とを混合して微生物培養物を調製し、そしてこの微生物培養物を曝気槽に供給することによって、曝気槽から得た曝気処理物と培養培地を供給するバイオリアクター;および、
該曝気槽に連結した二次沈殿槽、すなわち、曝気槽から供給された汚泥フロックを沈殿するための二次沈殿槽を含み、
かつ当該培養培地が、曝気処理物の重量に基づいた固体量で、0 . 05〜3重量%のペプトン、0 . 01〜2重量%の酵母エキス、0〜2重量%のブドウ糖、0〜2重量%のKH 2 PO 4 、0〜1重量%のK 2 HPO 4 、0 . 001〜0 . 1重量%の硫酸マグネシウム、および0 . 0001〜0 . 5重量%の塩化鉄を含む、
ことを特徴とする廃水処理プラント。
Applications Claiming Priority (3)
| Application Number | Priority Date | Filing Date | Title |
|---|---|---|---|
| KR1997/51254 | 1997-10-06 | ||
| KR1019970051254A KR100288685B1 (ko) | 1997-10-06 | 1997-10-06 | 폭기조내의 미생물을 이용한 오. 폐수처리용 미생물 처리제 및 그 제조방법 |
| PCT/KR1998/000305 WO1999018037A1 (en) | 1997-10-06 | 1998-10-07 | A method of preparing a microbial culture for wastewater treatment |
Publications (2)
| Publication Number | Publication Date |
|---|---|
| JP2001523539A JP2001523539A (ja) | 2001-11-27 |
| JP3732089B2 true JP3732089B2 (ja) | 2006-01-05 |
Family
ID=19522276
Family Applications (1)
| Application Number | Title | Priority Date | Filing Date |
|---|---|---|---|
| JP2000514854A Expired - Fee Related JP3732089B2 (ja) | 1997-10-06 | 1998-10-07 | 廃水処理用微生物培養物の調製方法 |
Country Status (9)
| Country | Link |
|---|---|
| US (1) | US6383379B1 (ja) |
| EP (1) | EP1042236B1 (ja) |
| JP (1) | JP3732089B2 (ja) |
| KR (1) | KR100288685B1 (ja) |
| AT (1) | ATE223873T1 (ja) |
| AU (1) | AU732311B2 (ja) |
| CA (1) | CA2306553C (ja) |
| DE (1) | DE69807935T2 (ja) |
| WO (1) | WO1999018037A1 (ja) |
Families Citing this family (14)
| Publication number | Priority date | Publication date | Assignee | Title |
|---|---|---|---|---|
| GB0109514D0 (en) * | 2001-04-18 | 2001-06-06 | Its Universal Systems Ltd | Liquid treatment |
| KR20020092850A (ko) * | 2002-09-10 | 2002-12-12 | 양기해 | 자연 포기에 의한 종벌레 증식 억제를 통한 수처리장치 |
| KR100974307B1 (ko) * | 2002-11-19 | 2010-08-09 | 에치투엘 주식회사 | 미생물 배양기를 이용한 오, 폐수 및 중수 처리 장치 |
| DE10338147B4 (de) * | 2003-08-15 | 2012-06-06 | Andreas von Bresinsky | Verfahren zur biologischen Wasserreinigung in Anlagen zur Fischzucht bzw. -haltung |
| US10345922B2 (en) * | 2006-04-21 | 2019-07-09 | International Business Machines Corporation | Office system prediction configuration sharing |
| WO2008093287A1 (en) * | 2007-01-30 | 2008-08-07 | Water Research Commission | Treatment of wastewaters using dual-stage membrane bioreactors |
| US7544298B1 (en) * | 2008-10-22 | 2009-06-09 | David Chanley | Apparatus and method for dispensing decomposing bacteria into a waste stream |
| KR100912562B1 (ko) * | 2008-12-03 | 2009-08-19 | 주식회사 경우크린텍 | 회분식 생물반응조에 의한 하폐수 고도처리방법 및 처리장치 |
| US9758414B2 (en) * | 2010-06-24 | 2017-09-12 | Richcore Lifesciences Pvt. Ltd. | Method for rapid treatment of waste water and a composition thereof |
| US9751788B2 (en) * | 2014-05-02 | 2017-09-05 | Baker Hughes Incorporated | Bacterial additives for biological and/or chemical contaminants within water-based fluids |
| CN106746354A (zh) * | 2017-01-22 | 2017-05-31 | 浙江阿凡柯达环保科技有限公司 | 一种污水原位处理集成设备 |
| US10981818B2 (en) * | 2017-06-28 | 2021-04-20 | Nicolas Canello | Outdoor apparatus and methods to treat wastes, wastewater and contaminated water bodies |
| CN113293100A (zh) * | 2021-04-23 | 2021-08-24 | 东莞市科绿智能环保科技有限公司 | 一种锂电池废水处理专用微生物的培养方法 |
| JP2022177768A (ja) * | 2021-05-18 | 2022-12-01 | 有限会社シー・エス | 汚水処理方法 |
Family Cites Families (16)
| Publication number | Priority date | Publication date | Assignee | Title |
|---|---|---|---|---|
| US2562510A (en) * | 1945-08-03 | 1951-07-31 | Pacific Flush Tank Co | Process for sewage treatment |
| JPS5925596B2 (ja) * | 1982-09-03 | 1984-06-19 | 工業技術院長 | 微生物によるジメチルリン酸の酸化分解法 |
| JPS5952595A (ja) * | 1982-09-18 | 1984-03-27 | Kankyo Gijutsu Kaihatsu:Kk | 有機性物質を含む廃水の生物学的処理方法 |
| US4705633A (en) * | 1986-10-02 | 1987-11-10 | Bogusch Eugene D | Nitrification with sludge reaeration and ammonia enrichment |
| US4772396A (en) * | 1986-11-26 | 1988-09-20 | Amoco Corporation | Method for controlling filamentous organisms in wastewater treatment processes |
| US4882059A (en) * | 1987-11-25 | 1989-11-21 | General Environmental Science | Solubilization of organic materials in wastewater treatment |
| NZ233892A (en) | 1989-06-01 | 1991-07-26 | Commw Scient Ind Res Org | Wastewater and/or raw sewage treatment by fermentation to form a clarified product before supplying the treated product to an activated sludge treatment plant |
| SU1752727A1 (ru) * | 1989-12-18 | 1992-08-07 | Саратовский филиал Всесоюзного научно-исследовательского института генетики и селекции промышленных микроорганизмов | Штамм бактерий ВRеVIвастеRIUм Sp., используемый дл очистки сточных вод от акриламида и акриловой кислоты |
| US5171687A (en) * | 1990-09-10 | 1992-12-15 | Moller Erik R | Apparatus for culturing and delivery of microbe for waste treatment in a flow system |
| US5288405A (en) * | 1993-01-27 | 1994-02-22 | Piedmont Olsen Hensley, Inc. | Wastewater treatment with enhanced biological phosphorus removal and related purification processes |
| US5578210A (en) * | 1994-11-15 | 1996-11-26 | The Dow Chemical Company | Method for stimulating anaerobic biotransformation of halogenated hydrocarbons |
| JP3525165B2 (ja) * | 1994-12-28 | 2004-05-10 | 独立行政法人産業技術総合研究所 | 新規な細菌y−104株 |
| JP3150862B2 (ja) * | 1995-01-20 | 2001-03-26 | 株式会社荏原製作所 | n−ヘキサン抽出物含有廃水の処理方法 |
| US5531898A (en) * | 1995-04-06 | 1996-07-02 | International Organic Solutions Corp. | Sewage and contamination remediation and materials for effecting same |
| CA2248763A1 (en) * | 1996-03-08 | 1997-09-12 | Daniel Keenan | Apparatus and method for biological purification of wastes |
| CA2267690C (en) * | 1998-04-03 | 2003-02-18 | Joseph Dorica | Process for reducing production of biomass during activated sludge treatment of pulp and paper mill effluents |
-
1997
- 1997-10-06 KR KR1019970051254A patent/KR100288685B1/ko not_active Expired - Lifetime
-
1998
- 1998-10-07 WO PCT/KR1998/000305 patent/WO1999018037A1/en not_active Ceased
- 1998-10-07 DE DE69807935T patent/DE69807935T2/de not_active Expired - Lifetime
- 1998-10-07 EP EP98947978A patent/EP1042236B1/en not_active Expired - Lifetime
- 1998-10-07 AU AU94653/98A patent/AU732311B2/en not_active Ceased
- 1998-10-07 US US09/529,071 patent/US6383379B1/en not_active Expired - Lifetime
- 1998-10-07 CA CA 2306553 patent/CA2306553C/en not_active Expired - Fee Related
- 1998-10-07 JP JP2000514854A patent/JP3732089B2/ja not_active Expired - Fee Related
- 1998-10-07 AT AT98947978T patent/ATE223873T1/de not_active IP Right Cessation
Also Published As
| Publication number | Publication date |
|---|---|
| KR100288685B1 (ko) | 2001-05-02 |
| CA2306553A1 (en) | 1999-04-15 |
| ATE223873T1 (de) | 2002-09-15 |
| KR19990030821A (ko) | 1999-05-06 |
| EP1042236B1 (en) | 2002-09-11 |
| AU9465398A (en) | 1999-04-27 |
| WO1999018037A1 (en) | 1999-04-15 |
| EP1042236A1 (en) | 2000-10-11 |
| AU732311B2 (en) | 2001-04-12 |
| CA2306553C (en) | 2003-09-02 |
| US6383379B1 (en) | 2002-05-07 |
| JP2001523539A (ja) | 2001-11-27 |
| DE69807935T2 (de) | 2003-05-15 |
| DE69807935D1 (de) | 2002-10-17 |
Similar Documents
| Publication | Publication Date | Title |
|---|---|---|
| JP5819442B2 (ja) | 難分解性廃水の生物学的処理方法および廃水処理剤 | |
| JP3732089B2 (ja) | 廃水処理用微生物培養物の調製方法 | |
| JP2004248618A (ja) | 有機物処理真菌共生菌群及びその用途 | |
| CN101885543A (zh) | 高效微生物菌体及酶制剂共同处理污水的方法 | |
| JP2015167912A (ja) | 畜産糞尿処理システム | |
| CN1266269C (zh) | 脱氮不动杆菌及其降解废水中氨氮的方法 | |
| CN101701197B (zh) | 新型微生物菌群组合剂及其混合培养基 | |
| CN108795806B (zh) | 一种抑制氨气排放的高效堆肥复合菌种的制备方法及使用方法 | |
| CN110511894A (zh) | 一种复合生物菌剂及其制备和应用 | |
| KR19980033946A (ko) | 폐수처리용 활성미생물 배양물질 및 그 사용방법 | |
| Husin et al. | Review on factors affecting the effectiveness in removing pollutants by microalgae Scenedesmus obliquus in wastewater treatment | |
| KR20240104468A (ko) | 축산폐수 및 생활하수 처리가 가능한 클로렐라 소로키니아나 jd1-1 균주 및 이의 이용 방법 | |
| JP2572334B2 (ja) | 余剰汚泥の微生物学的減量化方法および装置 | |
| Aung et al. | Observational study of wastewater treatment by the use of microalgae | |
| CN110272843B (zh) | 一种用于处理猪场粪污水的复合菌剂及方法 | |
| JP2000271589A (ja) | 含油排水の活性汚泥による処理方法及び含油排水処理菌用の増殖用培地 | |
| Suman et al. | Simultaneous biomass production and mixed-origin wastewater treatment by five environmental isolates of Cyanobacteria | |
| CN114538711A (zh) | 一种用于酱香型白酒废水的微生物降解处理方法 | |
| CN117511828B (zh) | 化粪池后高浓度生活污水处理菌剂及其制备方法 | |
| KR100217222B1 (ko) | 폐수처리용 미생물제재 제조방법 | |
| KR930011713B1 (ko) | 미생물을 이용한 계분 및 인분 정화제 | |
| KR840000936B1 (ko) | 폐수처리용 미생물 영양조성물 및 그 제조방법 | |
| CN121362666A (zh) | 治理大江大河湖泊氨氮、总磷高标微生物菌群及培养方法 | |
| JPH0276575A (ja) | 微生物によるゴムの半連続式分解法 | |
| KR0165526B1 (ko) | 폐수처리제의 제조방법 |
Legal Events
| Date | Code | Title | Description |
|---|---|---|---|
| A131 | Notification of reasons for refusal |
Free format text: JAPANESE INTERMEDIATE CODE: A131 Effective date: 20050531 |
|
| A521 | Request for written amendment filed |
Free format text: JAPANESE INTERMEDIATE CODE: A523 Effective date: 20050826 |
|
| TRDD | Decision of grant or rejection written | ||
| A01 | Written decision to grant a patent or to grant a registration (utility model) |
Free format text: JAPANESE INTERMEDIATE CODE: A01 Effective date: 20050920 |
|
| A61 | First payment of annual fees (during grant procedure) |
Free format text: JAPANESE INTERMEDIATE CODE: A61 Effective date: 20051011 |
|
| R150 | Certificate of patent or registration of utility model |
Free format text: JAPANESE INTERMEDIATE CODE: R150 |
|
| FPAY | Renewal fee payment (event date is renewal date of database) |
Free format text: PAYMENT UNTIL: 20091021 Year of fee payment: 4 |
|
| FPAY | Renewal fee payment (event date is renewal date of database) |
Free format text: PAYMENT UNTIL: 20091021 Year of fee payment: 4 |
|
| FPAY | Renewal fee payment (event date is renewal date of database) |
Free format text: PAYMENT UNTIL: 20101021 Year of fee payment: 5 |
|
| FPAY | Renewal fee payment (event date is renewal date of database) |
Free format text: PAYMENT UNTIL: 20111021 Year of fee payment: 6 |
|
| FPAY | Renewal fee payment (event date is renewal date of database) |
Free format text: PAYMENT UNTIL: 20111021 Year of fee payment: 6 |
|
| FPAY | Renewal fee payment (event date is renewal date of database) |
Free format text: PAYMENT UNTIL: 20121021 Year of fee payment: 7 |
|
| FPAY | Renewal fee payment (event date is renewal date of database) |
Free format text: PAYMENT UNTIL: 20121021 Year of fee payment: 7 |
|
| FPAY | Renewal fee payment (event date is renewal date of database) |
Free format text: PAYMENT UNTIL: 20131021 Year of fee payment: 8 |
|
| R250 | Receipt of annual fees |
Free format text: JAPANESE INTERMEDIATE CODE: R250 |
|
| R250 | Receipt of annual fees |
Free format text: JAPANESE INTERMEDIATE CODE: R250 |
|
| R250 | Receipt of annual fees |
Free format text: JAPANESE INTERMEDIATE CODE: R250 |
|
| LAPS | Cancellation because of no payment of annual fees |
