JP3726153B2 - 角形鋼管を主桁に用いた橋梁構造 - Google Patents

角形鋼管を主桁に用いた橋梁構造 Download PDF

Info

Publication number
JP3726153B2
JP3726153B2 JP2001305351A JP2001305351A JP3726153B2 JP 3726153 B2 JP3726153 B2 JP 3726153B2 JP 2001305351 A JP2001305351 A JP 2001305351A JP 2001305351 A JP2001305351 A JP 2001305351A JP 3726153 B2 JP3726153 B2 JP 3726153B2
Authority
JP
Japan
Prior art keywords
square steel
steel pipe
main girder
girder
steel
Prior art date
Legal status (The legal status is an assumption and is not a legal conclusion. Google has not performed a legal analysis and makes no representation as to the accuracy of the status listed.)
Expired - Fee Related
Application number
JP2001305351A
Other languages
English (en)
Other versions
JP2003105716A (ja
Inventor
聖嗣 佐藤
俊彦 別所
日出夫 小枝
寛人 奥野
憲二 池田
久志 今野
朗 畑山
浩 三田村
Current Assignee (The listed assignees may be inaccurate. Google has not performed a legal analysis and makes no representation or warranty as to the accuracy of the list.)
Japan Steel Works Ltd
Original Assignee
Japan Steel Works Ltd
Priority date (The priority date is an assumption and is not a legal conclusion. Google has not performed a legal analysis and makes no representation as to the accuracy of the date listed.)
Filing date
Publication date
Application filed by Japan Steel Works Ltd filed Critical Japan Steel Works Ltd
Priority to JP2001305351A priority Critical patent/JP3726153B2/ja
Publication of JP2003105716A publication Critical patent/JP2003105716A/ja
Application granted granted Critical
Publication of JP3726153B2 publication Critical patent/JP3726153B2/ja
Anticipated expiration legal-status Critical
Expired - Fee Related legal-status Critical Current

Links

Images

Landscapes

  • Bridges Or Land Bridges (AREA)

Description

【0001】
【発明の属する技術分野】
本発明は、鋼床版桁橋の建設に用いる桁に、市販されている角形鋼管を使用し、橋梁建設をプレハブ化した橋梁構造に関するものである。
【0002】
【従来の技術】
従来の鋼床版桁橋は、鈑桁と箱桁の二つのタイプがあり、図12に鈑桁の一例を示す。
【0003】
これに示されるものは、床版を構成する鋼床版50と、鋼床版50を補強する補強用縦リブ52と、ウェブ54と、ウェブ54の下端に設けられる下フランジ56と、横桁と横リブ58とにより構成されており、これらは、工場にて組立溶接され、現地で架設が行われる。現地架設作業では、添接部を高力ボルトで本締めする作業と、隣り合う鋼床版50同士の図中実線で示す部分を溶接する作業と、これらを検査する作業とが行なわれる。
【0004】
次に、機能について説明すると、鋼床版50上を車両が通行した際、その荷重は、鋼床版50、ウェブ54及び下フランジ56で分担され、支承を介して下部工へ伝達される。
【0005】
【発明が解決しようとする課題】
しかしながら、上記従来の鋼床版桁橋では、以下のような課題がある。
【0006】
すなわち、工場において、各部材を組立溶接するため、この作業に多くの時間を必要とする。また、現地架設時に、隣り合う鋼床版50同士を溶接する作業とその検査とがあるため、供用するまでに時間がかかる。
【0007】
本発明は、このような課題を解決するためのものである。
【0008】
【課題を解決するための手段】
本発明は、上記のような従来の課題を解決するためのものであり、主桁に既製品の角形鋼管を使用することにより工場製作の時間を短縮するとともに、鋼床版、角形鋼管及び他の部材を高力ボルトで組立てることにより、現地架設作業の時間を短縮することを目的とする。
【0009】
本発明のうちで請求項1記載の発明は、鋼床版桁橋であって、
複数の角形鋼管(10)が離間され且つ平行に配置されて主桁が構成されているとともに、
該複数の角形鋼管(10)上に鋼床版(12)が架け渡されて床版が構成されており、前記角形鋼管(10)と前記鋼床版(12)とが高力ボルト(14)により互いに接合されていることを特徴とするものである。
【0010】
また、本発明のうちで請求項2記載の発明は、請求項1記載の発明において、前記角形鋼管(10)は、横桁(16)を介して互いに連結されており、前記角形鋼管(10)と横桁(16)とが高力ボルト(14)により互いに接合されていることを特徴とするものである。
【0011】
本発明のうちで請求項3記載の発明は、請求項2記載の発明において、前記鋼床版(12)にはこれを補強するための縦リブ(18)が設けられており、該縦リブ(18)は、前記横桁(16)により支持されているとともに高力ボルト(14)により互いに接合されていることを特徴とするものである。
【0012】
なお、上記かっこ内の符号は、後述する実施の形態の対応する部材を示す。
【0013】
【発明の実施の形態】
以下に、本発明の第1の実施の形態を図により説明する。
【0014】
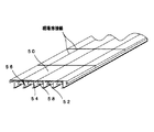
図1に第1の実施の形態の断面図を、図2に第1の実施の形態の平面図をそれぞれ示す。
【0015】
主桁は、複数の角形鋼管10が離間され且つ平行に配置されて構成されている。また、床版は複数の角形鋼管10上に鋼床版12が架け渡されて構成されている。角形鋼管10と前記鋼床版12とは高力ボルト14により互いに接合されている。また、隣り合う角形鋼管10同士は、横桁16を介して互いに連結されており、それぞれの角形鋼管10と横桁16とは高力ボルト14により互いに接合されている。鋼床版12にはこれを補強するための縦リブ18が設けられており、鋼床版12と縦リブ18とは高力ボルト14により互いに接合されている。縦リブ18は、横桁16により支持されており、これらは、高力ボルト14により互いに接合されている。
【0016】
前記各部材の高力ボルト14による接合作業は、架設現場において行なわれるものであり、各部材は、架設現場において一体構造とされる。
【0017】
【実施例】
(実験例1)
比較検討のために本願発明の角形鋼管を用いた単純省力化鋼床版橋と、単純非合成版桁橋を設計して載荷実験を行った。設計条件は、支間長:30m、活荷重:B活荷重、幅員:9.2m、横断勾配:2%拝み勾配としている。実際は、1/3のモデルを使用した。
【0018】
本願発明の実施例では、図3及び図4に示される1主桁構造の供試体1を製作し、角形鋼管10と鋼床版12とが複合構造としての断面剛性を有するか及び有効なボルト配置の確認を行う。
【0019】
載荷実験は、供試体1の両端を反力台にセットし、支間中央を油圧ジャッキにより載荷板(200×200)を介して載荷する方法で行う。載荷は、許容応力に相当する荷重(154kN)まで行う。計測は図3及び図4に示す位置において載荷、荷重、変位及びひずみについて行う。
【0020】
(実験結果)
図5及び図6に、実験及び格子計算から得られた荷重−変位曲線(A断面)とたわみ曲線(荷重140kN時)をそれぞれ比較して示す。
【0021】
たわみ曲線は、高力ボルト14のボルトピッチが千鳥配置の場合、格子計算より小さくなり、順次配置の場合は、格子計算とほぼ一致する。
【0022】
図7に、実験及び格子計算から得られた下フランジのひずみの分布(荷重140kN時)を比較して示す。
【0023】
高力ボルト14が順次配置の場合、格子計算の結果とほぼ一致する。
【0024】
したがって、高力ボルト14のボルトピッチが150mmの順次配置の場合は、ボルト接合により十分な断面剛性を有する。
【0025】
(実験例2)
次に、図8及び図9に示される3主桁構造の供試体2を製作し、横桁16の分配効果の確認を行う。
【0026】
載荷実験は、許容応力に相当する荷重を420kNとする以外は、供試体1と同様に行う。
【0027】
(実験結果)
図10にA断面における荷重−変位曲線を実験と格子計算で比較して示す。なお、図中のG2桁は、載荷した中央桁を示し、G1とG3桁は、横桁16であるH形鋼を介して荷重分布される外桁である。
【0028】
また、図11にA断面における荷重と下フランジのひずみの関係を示す。
【0029】
変位及びひずみとも実験値はほぼ格子計算結果と一致した挙動を示していることから、横桁16の分配効果は十分であり、許容応力内での設計が可能と判断される。
【0030】
以上の供試体1及び供試体2の実験結果より、以下のことがわかる。
【0031】
(1)供試体1(1主桁構造)の載荷実験結果より、ボルトピッチが150mmの順次配列の場合は、ボルト接合により十分な断面剛性が得られる。
【0032】
(2)供試体2(3主桁構造)の載荷実験結果が格子計算結果とほぼ一致した挙動を示していることから、横桁16の分配効果は十分であり、許容応力内での設計が可能である。
【0033】
【発明の効果】
以上説明したように、本発明のうち請求項1記載の発明は、主桁に既製品として入手できる角形鋼管(10)を使用するため、工場製作の時間を短縮することができる。
【0034】
また、角形鋼管(10)と鋼床版(12)とを高力ボルト(14)により接合するため、部材間の溶接を無くすことができるので、現場架設の時間短縮を行うことができる。また、十分な断面剛性を有する高い精度のものを製作することができる。
【0035】
さらに、施工コストを試算した結果、本発明の鋼床版桁橋は、単純非合成版桁橋に比較してコストを約10%低減することができる。
【0036】
また、本発明のうちで請求項2記載の発明は、請求項1記載の発明において、角形鋼管(10)と横桁(16)とを高力ボルト(14)により接合することにより、高い精度のものが製作でき、製作時間の短縮を行うことができる。
【0037】
さらには、本発明のうちで請求項3記載の発明は、請求項2記載の発明において、鋼床版(12)、縦リブ(18)及び横桁(16)をそれぞれ高力ボルト(14)により接合することにより、許容応力内での設計が可能であるとともに、高い精度のものが製作でき、また、製作時間の短縮を行うことができる。
【図面の簡単な説明】
【図1】第1の実施の形態の断面図である。
【図2】第1の実施の形態の平面図である。
【図3】供試体1の平面図である。
【図4】供試体1の断面図である。
【図5】供試体1の荷重−変位曲線図である。
【図6】供試体1のたわみ曲線図である。
【図7】供試体1のひずみ分布図である。
【図8】供試体2の平面図である。
【図9】供試体2の断面図である。
【図10】供試体2の荷重−変位曲線図である。
【図11】供試体2の荷重とひずみとの関係を表す図である。
【図12】従来の鋼床版桁橋の斜視図である。
【符号の説明】
10 角形鋼管
12 鋼床版
14 高力ボルト
16 横桁
18 縦リブ

Claims (3)

  1. 鋼床版桁橋であって、
    複数の角形鋼管(10)が離間され且つ平行に配置されて主桁が構成されているとともに、
    該複数の角形鋼管(10)上に鋼床版(12)が架け渡されて床版が構成されており、前記角形鋼管(10)と前記鋼床版(12)とが高力ボルト(14)により互いに接合されていることを特徴とする角形鋼管を主桁に用いた橋梁構造。
  2. 前記角形鋼管(10)は、横桁(16)を介して互いに連結されており、前記角形鋼管(10)と横桁(16)とが高力ボルト(14)により互いに接合されていることを特徴とする請求項1記載の角形鋼管を主桁に用いた橋梁構造。
  3. 前記鋼床版(12)にはこれを補強するための縦リブ(18)が設けられており、該縦リブ(18)は、前記横桁(16)により支持されているとともに高力ボルト(14)により互いに接合されていることを特徴とする請求項2記載の角形鋼管を主桁に用いた橋梁構造。
JP2001305351A 2001-10-01 2001-10-01 角形鋼管を主桁に用いた橋梁構造 Expired - Fee Related JP3726153B2 (ja)

Priority Applications (1)

Application Number Priority Date Filing Date Title
JP2001305351A JP3726153B2 (ja) 2001-10-01 2001-10-01 角形鋼管を主桁に用いた橋梁構造

Applications Claiming Priority (1)

Application Number Priority Date Filing Date Title
JP2001305351A JP3726153B2 (ja) 2001-10-01 2001-10-01 角形鋼管を主桁に用いた橋梁構造

Publications (2)

Publication Number Publication Date
JP2003105716A JP2003105716A (ja) 2003-04-09
JP3726153B2 true JP3726153B2 (ja) 2005-12-14

Family

ID=19125156

Family Applications (1)

Application Number Title Priority Date Filing Date
JP2001305351A Expired - Fee Related JP3726153B2 (ja) 2001-10-01 2001-10-01 角形鋼管を主桁に用いた橋梁構造

Country Status (1)

Country Link
JP (1) JP3726153B2 (ja)

Families Citing this family (4)

* Cited by examiner, † Cited by third party
Publication number Priority date Publication date Assignee Title
CN107130509A (zh) * 2017-06-26 2017-09-05 厦门中平公路勘察设计院有限公司 一种异型钢结构人行天桥
JP7374607B2 (ja) * 2019-04-19 2023-11-07 日本製鉄株式会社 道路用の床版およびその施工方法
JP7509672B2 (ja) * 2020-12-09 2024-07-02 日本車輌製造株式会社 鋼床版及び、鋼床版のユニット製造方法
KR102409280B1 (ko) * 2021-09-29 2022-06-14 이보베 조립식 원형 강관거더 및 그 시공방법

Also Published As

Publication number Publication date
JP2003105716A (ja) 2003-04-09

Similar Documents

Publication Publication Date Title
US6915615B2 (en) Prestressed composite truss girder and construction method of the same
KR100427405B1 (ko) 피에스에스씨 합성거더
CA2271403A1 (en) Bolted metal joist
JP7082522B2 (ja) プレキャスト合成床版の継手構造
JP2002188120A (ja) 波形鋼板ウエブ桁の接合構造
JP2006009449A (ja) トラスパネル桁およびプレキャストトラスパネル
KR20200137334A (ko) 한계상태설계법에 적합한 구조성능을 갖는 체결형 거더
JP3726153B2 (ja) 角形鋼管を主桁に用いた橋梁構造
JP2004076457A (ja) 鋼pc合成橋梁の架設方法
JP2006183286A (ja) 波形鋼板ウエブuコンポ橋における波形鋼板ウエブの接合構造
JP2002309511A (ja) トラス橋の主桁構造および主桁の架設方法
KR102183913B1 (ko) 프리스트레스가 도입된 거더의 제작방법 및 이를 이용한 교량의 시공방법
KR102033052B1 (ko) Src 거더를 이용한 충전강관 트러스교의 지점부 시공방법
JP4293696B2 (ja) 合成床版橋の構築方法
JP5029271B2 (ja) 連続i桁橋およびその中間支点近傍のi桁の構造
JP2006265976A (ja) 波形鋼板ウェブuコンポ橋およびその構築方法
JP2002275833A (ja) 既設橋梁の単純桁の連続化方法及び連続桁構造
KR101825580B1 (ko) 철골-프리캐스트 콘크리트 합성보
KR102225629B1 (ko) 장스팬 보
JP5259638B2 (ja) 高架橋の門型ラーメン構造の施工方法
KR100691847B1 (ko) 연결 강상자로 보강된 조립식 가로보
JP4661709B2 (ja) 版状構造体、これを用いたトンネル用セグメント、床版及び鉄筋コンクリート橋脚
KR102724950B1 (ko) 삼각형 단위트러스 세그먼트를 이용한 개선된 트러스 가설교량 구조
KR102277420B1 (ko) 강관을 활용한 교량 거더 시스템 및 이의 시공 방법
KR100680596B1 (ko) 교량의 상부 구조물 이단 이음 구조

Legal Events

Date Code Title Description
A521 Request for written amendment filed

Free format text: JAPANESE INTERMEDIATE CODE: A523

Effective date: 20040210

A977 Report on retrieval

Free format text: JAPANESE INTERMEDIATE CODE: A971007

Effective date: 20050214

A131 Notification of reasons for refusal

Free format text: JAPANESE INTERMEDIATE CODE: A131

Effective date: 20050222

A521 Request for written amendment filed

Free format text: JAPANESE INTERMEDIATE CODE: A523

Effective date: 20050420

TRDD Decision of grant or rejection written
A01 Written decision to grant a patent or to grant a registration (utility model)

Free format text: JAPANESE INTERMEDIATE CODE: A01

Effective date: 20050830

A61 First payment of annual fees (during grant procedure)

Free format text: JAPANESE INTERMEDIATE CODE: A61

Effective date: 20050908

R150 Certificate of patent or registration of utility model

Free format text: JAPANESE INTERMEDIATE CODE: R150

FPAY Renewal fee payment (event date is renewal date of database)

Free format text: PAYMENT UNTIL: 20081007

Year of fee payment: 3

FPAY Renewal fee payment (event date is renewal date of database)

Free format text: PAYMENT UNTIL: 20091007

Year of fee payment: 4

LAPS Cancellation because of no payment of annual fees