JP3673695B2 - Desk structure - Google Patents

Desk structure Download PDF

Info

Publication number
JP3673695B2
JP3673695B2 JP2000151060A JP2000151060A JP3673695B2 JP 3673695 B2 JP3673695 B2 JP 3673695B2 JP 2000151060 A JP2000151060 A JP 2000151060A JP 2000151060 A JP2000151060 A JP 2000151060A JP 3673695 B2 JP3673695 B2 JP 3673695B2
Authority
JP
Japan
Prior art keywords
top plate
leg
cover body
cut portion
gap
Prior art date
Legal status (The legal status is an assumption and is not a legal conclusion. Google has not performed a legal analysis and makes no representation as to the accuracy of the status listed.)
Expired - Fee Related
Application number
JP2000151060A
Other languages
Japanese (ja)
Other versions
JP2001327334A (en
Inventor
崇爾 西澤
Original Assignee
株式会社イトーキクレビオ
Priority date (The priority date is an assumption and is not a legal conclusion. Google has not performed a legal analysis and makes no representation as to the accuracy of the date listed.)
Filing date
Publication date
Application filed by 株式会社イトーキクレビオ filed Critical 株式会社イトーキクレビオ
Priority to JP2000151060A priority Critical patent/JP3673695B2/en
Publication of JP2001327334A publication Critical patent/JP2001327334A/en
Application granted granted Critical
Publication of JP3673695B2 publication Critical patent/JP3673695B2/en
Anticipated expiration legal-status Critical
Expired - Fee Related legal-status Critical Current

Links

Images

Landscapes

  • Tables And Desks Characterized By Structural Shape (AREA)

Description

【0001】
【発明の属する技術分野】
本発明は、筆記又はコンピュータ操作等のような各種のデスクワークを行う事務等に使用される机の構造に関するものである。
【0002】
【従来の技術と発明が解決しようとする課題】
一般に、この種の机のうちの一つに、前記天板における外側面のうち脚体の部分に、切り込み部を設け、この切り込み部内に、これを塞ぐようにしたカバー体を着脱自在に構成したものがある。
【0003】
この形式の机は、天板における上面に何物も設けることなくその上面の全体を広い平面として使用する場合と、前記カバー体を取り外し、切り込み部の箇所に、脚体から支柱状等の部材を立設して、この部材によって、照明器具、上棚又はオーバヘッドキャビネット等を支持したり、隣り又は後方に並べた机との間に間仕切りにしたりする場合とに随時変更できるように構成したものである。しかし、従来においては、前記切り込み部に対するカバー体として、前記切り込み部に部材を立設するときに合わせて形成したカバー体と、前記切り込み部に部材を立設しないときに合わせて形成したカバー体との二つを用意しなければならないという問題があった。
【0004】
しかも、従来は、切り込み部に対するカバー体を、切り込み部の内面に密着する構成にしているから、天板の上面と、カバー体の上面との間に、製作時の寸法誤差のために段差が存在すると、この段差が目立つことになるばかりか、製作時の寸法誤差のために、カバー体を切り込み部に対して装着できなくなる事態が発生するという問題もあった。
【0005】
本発明は、これらの問題を解消することを技術的課題とするものである。
【0006】
【課題を解決するための手段】
この技術的課題を達成するため、請求項1に記載の発明の机の構造は、天板と、この天板を支持する脚体とから成り、前記天板における外側面のうち前記脚体の部分に、切り込み部を設け、この切り込み部内に、これを塞ぐようにしたカバー体を着脱自在に装着して成る事務用机において、前記天板における切り込み部の内面と、これに装着したカバー体との間に、適宜寸法の隙間を、切り込み部の内面全体にわたって延びるように設け、
前記脚体の上端から立設する支柱状部材は、前記カバー体と前記きり込み部との間の隙 間を通して前記天板より上方に突出するように構成されているものである。
【0007】
請求項2に記載の発明は、請求項1に記載の机の構造において、断面L字型の前記支柱状部材は、前記脚体の上端に取付けられた連結体に締結され、前記支柱状部材の断面の一部が、前記切込み部の内面と前記カバー体との間の隙間に挿入されているものである。
【0008】
【発明の作用・効果】
このように、請求項1に記載の発明によれば、天板における切り込み部の内面と、これに装着したカバー体との間に、適宜寸法の隙間を、切り込み部の内面全体にわたって延びるように設けることにより、照明器具又はオーバヘッドキャビネット或いは間仕切り等を支持する支柱状部材、又は間仕切りを、前記隙間を通して脚体から立設することができるから、前記切り込み部に対するカバー体を、照明器具等を支持する支柱状部材、又は間仕切りを立設する場合と、立設しない場合との両方について同じ部品にすることができる。
【0009】
しかも、前記した隙間を設けたことにより、天板の上面と、カバー体の上面との間に、製作時の寸法誤差のために段差が存在する場合に、前記隙間によって、この段差を目立たなくすることができ、更に、製作時の寸法誤差のために前記カバー体を切り込み部に対して装着できなくなる事態が発生することを、前記隙間の存在によって回避できるすることができる。
【0010】
【発明の実施の形態】
以下、本発明の実施の形態を、図1〜図12の図面について説明する。
【0011】
この図において、符号1は、天板を、符号2は、前記天板1の左右両端を支持する脚体を、符号4は、前記両脚体2の相互間を互いに連結する横長のステー部材を、符号5は、前記天板の後面に沿って延びるように配設する配線受け樋を各々示す。
【0012】
前記両脚体2は、床面上を机に対して前後方向に延びる下アーム部材6と、この下アーム部材6の上面から立設する金属板製中空状の脚柱7と、同じく前記下アーム部材6の上面から前記脚柱7の後面に沿って立設する金属板製中空状の補助脚柱8とによって構成されている。
【0013】
この場合において、前記補助脚柱8の断面形状は、略正方形であるが、前記脚柱7の断面形状は、図4に示すように、その外側面板7aを机の前後方向に略真っ直ぐな平面に、その内側面板7bを後方に向かって湾曲しながら内向きに傾斜した湾曲傾斜面にするというように一つの湾曲辺と二つの直線辺とを有する略三角形に形成されている。また、これら各脚柱7,8は、前記下アーム部材6の上面に対してボルト9,10の締結にて着脱自在に連結されている。
【0014】
次に、符号11は、前記両脚体2の上端の各々配設した連結体を示し、この連結体11は、平面視において略矩形に形成され、その一つの角部における下面には、前記補助脚柱8の上端内部に嵌まった状態で、補助脚柱8に対してボルト13の締結にて着脱自在に取付けられる補助脚取付け部12が一体的に設けられている。
【0015】
また、前記連結体11の各側面のうち前記補助脚取付け部12を有する一つの角部を挟んで互いに直角をなす二つの側面には、前記脚柱7の上端内部に嵌まった状態で、脚柱7に対してボルト15の締結にて着脱自在に取付けられる脚取付け部14が一体的に設けられ、この両脚取付け部14のうち一方の脚取付け部14を、前記脚柱7の上端内部に嵌めるようにして取付ける一方、他方の脚取付け部14に、前記配線受け樋5の一端部を、ボルト15′の締結にて着脱自在に連結する。
【0016】
更にまた、前記連結体11の各側面のうち前記補助脚取付け部12を有する一つの角部と対角をなす他の一つの角部に隣接して互いに直角をなす二つの側面には、前記横長のステー部材4の取付け部であるところの棒片16を横向きに一体的に突出して、これに前記ステー部材4の一端を被嵌したのちボルト17を締結することにより、ステー部材4を着脱自在に連結する。
【0017】
前記両連結体11の上面には、机の前後方向に延びる天板支持板18を配設して、この天板支持板18を、前記連結体11に着脱自在に取付けて、この両天板支持板18の上面に、前記天板1を載せるように構成する。
【0018】
これに加えて、前記天板支持板18には、天板1の下面に沿って前方に延びる上アーム部材19を固着することにより、この上アーム部材19によっても天板1を支持するように構成され、更に、前記天板1の下面に、前記ステー部材4の上面のうち複数箇所に設けた各受け片21を前記天板1の下面に接当することにより、ステー部材4によっても天板1を支持するように構成する。
【0019】
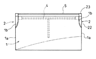
前記天板1における左右両外側面1aのうち前記脚柱7及び補助脚柱8に該当する部分には、これらを露出するようにした切り込み部1bを設けて、この切り込み部1bには、当該切り込み部1b内のうち前記脚柱7の上端における連結体11及び天板支持板18を覆い隠すようにしたカバー体22と、前記補助脚柱8の上端における連結体11を覆い隠すようにした補助カバー体23とを着脱自在に装着する。なお、これらカバー体22,23は、いずれも、図示していないが、装着した状態で、脚体2側に対して着脱自在に係合するように構成されており、且つ、これらカバー体22,23の外側面は、例えば、天板1の外側面1aと略同一平面とするように、少なくとも、天板1の外側面1aより突出しないように構成されている。
【0020】
この場合において、前記カバー体22を、前記天板1の切り込み部1bにおける内面との間に適宜寸法S(例えば、3〜6mm程度)の隙間を形成するように構成する。
【0021】
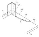
そして、前記天板1の上方に、図1及び図3に二点鎖線で示すように、オーバヘッドキャビネット20を配設する場合において、このオーバヘッドキャビネット20の両端を支持する支柱状部材24を、前記脚体2の上端に取付けた連結体11又は天板支持板18の上面から立設するに際して、この支柱状部材24を、図9〜図11に示すように、金属板にて断面L字型にして、この断面の一部を、前記切り込み部1bの内面と、前記カバー体22との間における適宜寸法Sの隙間に挿入するように構成する。
【0022】
なお、前記支柱状部材24の下端は、前記連結体11に対して複数本のボルト25にて締結されており、また、この支柱状部材24における内部のうち天板1より上方の部分は、図12に示すように、カバー26を着脱自在に取付けることによって中空状にして、その内部に配線等を通すように構成されている。
【0023】
この場合において、前記支柱状部材24を利用して、これに照明器具又は上棚板を取付けたり、或いは、隣り又は後方に並べた机との間に間仕切りを取付けたりすることができる。
【0024】
また、本発明における別の実施の形態においては、図13に示すように、隣の机との間の間仕切り部材27を、前記切り込み部1bの内面と前記カバー体22との間における適宜寸法Sの隙間内に挿入するように取付けることができる。
【0025】
このように、天板1における切り込み部1bの内面と、これに装着したカバー体22との間に、適宜寸法Sの隙間を、切り込み部1bの内面全体にわたって延びるように設けることにより、照明器具又はオーバヘッドキャビネット或いは間仕切り等を支持する支柱状部材24、又は間仕切り27を、前記隙間を通して脚体2から立設することができるから、前記切り込み部1bに対するカバー体22を、照明器具等を支持する支柱状部材24、又は間仕切り27を立設する場合と、立設しない場合との両方について同じ部品にすることができるのである。
【0026】
なお、前記切り込み部1bの形状は、前記図示したように、脚体2の断面と同じように略三角形にすることに限らず、脚体2の断面形状に合わせて、長方形状又は正方形にしても良く、或いは、脚体2の断面形状に相違する形状にしても良いことはいうまでもない。
【図面の簡単な説明】
【図1】 本発明の実施の形態による机を示す正面図である。
【図2】 図1の平面図である。
【図3】 図1の左側面図である。
【図4】 図3のIV−IV視拡大断面図である。
【図5】 図1において天板を除いた状態を示す平面図である。
【図6】 図5のVI−VI視拡大断面図である。
【図7】 図6のVII −VII 視断面図である。
【図8】 要部の分解斜視図である。
【図9】 天板から支柱状の部材を立設した場合を示す斜視図である。
【図10】 支柱状の部材を立設した場合に天板を除いた状態を示す平面図である。
【図11】 図10のXI−XI視断面図である。
【図12】 図11のXII −XII 視拡大断面図である。
【図13】 天板から間仕切りを立設した場合を示す斜視図である。
【符号の説明】
1 天板
1a 天板の外側面
1b 切り込み部
2 脚体
4 横長のステー部材
5 配線受け樋
7 脚柱
8 補助脚柱
11 連結体
14 脚取付け部
16 ステー部材に対する取付け部
18 天板支持板
22 カバー体
24 支柱状部材
20 オーバヘッドキャビネット
27 間仕切り
[0001]
BACKGROUND OF THE INVENTION
The present invention relates to a desk structure used for office work for performing various desk work such as writing or computer operation.
[0002]
[Prior art and problems to be solved by the invention]
In general, one of these types of desks is provided with a notch in the leg portion of the outer surface of the top plate, and a cover body that covers the inside of the notch is detachable. There is what I did.
[0003]
This type of desk is used when the entire top surface is used as a wide plane without providing anything on the top surface of the top plate, and the cover body is removed, and a member such as a pillar from the leg at the cut portion It is configured so that it can be changed at any time, such as when supporting a lighting fixture, upper shelf or overhead cabinet, etc., or partitioning with a desk arranged next to or behind by this member. is there. However, in the related art, as a cover body for the cut portion, a cover body formed when a member is erected on the cut portion, and a cover body formed when a member is not erected on the cut portion There was a problem of having to prepare two.
[0004]
In addition, since the cover body for the cut portion is conventionally configured to be in close contact with the inner surface of the cut portion, there is a step between the top surface of the top plate and the upper surface of the cover body due to dimensional errors during manufacture. If present, this step becomes conspicuous, and there is a problem that the cover body cannot be attached to the cut portion due to a dimensional error during manufacture.
[0005]
This invention makes it a technical subject to eliminate these problems.
[0006]
[Means for Solving the Problems]
In order to achieve this technical problem, the desk structure according to the first aspect of the present invention comprises a top plate and a leg body that supports the top plate. In the office desk, which is provided with a notch in the portion, and a cover body that covers the inside of the notch is detachably mounted, the inner surface of the notch in the top plate, and the cover attached to the inside A gap of an appropriate dimension is provided so as to extend over the entire inner surface of the cut portion,
Pillar-shaped member erected from the upper end of the leg is one that is configured so as to protrude upward from the top plate through between gap between the cover body and the cut-inclusive portion.
[0007]
According to a second aspect of the present invention, in the desk structure according to the first aspect, the columnar member having an L-shaped cross section is fastened to a connecting body attached to an upper end of the leg, and the columnar member is provided. A part of the cross section is inserted into a gap between the inner surface of the cut portion and the cover body.
[0008]
[Operation and effect of the invention]
As described above, according to the first aspect of the present invention, a gap having an appropriate dimension is extended over the entire inner surface of the cut portion between the inner surface of the cut portion of the top plate and the cover body attached thereto. By providing the columnar member or partition that supports the lighting fixture or overhead cabinet or partition, etc., or the partition can be erected from the leg through the gap, the cover body for the cut portion supports the lighting fixture or the like. It is possible to make the same parts for both the case where the supporting columnar member or partition is erected and the case where it is not erected.
[0009]
In addition, by providing the above-described gap, when there is a step between the top surface of the top plate and the top surface of the cover body due to a dimensional error at the time of manufacture, this gap makes the step inconspicuous. Furthermore, it is possible to avoid the occurrence of a situation in which the cover body cannot be attached to the cut portion due to a dimensional error during manufacture due to the existence of the gap.
[0010]
DETAILED DESCRIPTION OF THE INVENTION
Hereinafter, embodiments of the present invention will be described with reference to FIGS.
[0011]
In this figure, reference numeral 1 is a top plate, reference numeral 2 is a leg that supports the left and right ends of the top plate 1, and reference numeral 4 is a horizontally long stay member that connects the legs 2 together. Reference numeral 5 denotes a wiring receiving rod disposed so as to extend along the rear surface of the top plate.
[0012]
The two legs 2 include a lower arm member 6 extending in the front-rear direction with respect to a desk on the floor surface, a metal plate hollow leg column 7 erected from the upper surface of the lower arm member 6, and the lower arm. It is constituted by a metal plate hollow auxiliary leg column 8 standing from the upper surface of the member 6 along the rear surface of the leg column 7.
[0013]
In this case, the cross-sectional shape of the auxiliary pedestal 8 is substantially square, but the cross-sectional shape of the pedestal 7 is a plane that is substantially straight in the front-rear direction of the desk as shown in FIG. In addition, the inner side surface plate 7b is formed in a substantially triangular shape having one curved side and two straight sides so that the inner side plate 7b is curved inward while being curved inward. Each of the pedestals 7 and 8 is detachably connected to the upper surface of the lower arm member 6 by fastening bolts 9 and 10.
[0014]
Next, reference numeral 11 denotes a connecting body disposed at each of the upper ends of the both legs 2, and the connecting body 11 is formed in a substantially rectangular shape in plan view, and the auxiliary surface is formed on the lower surface at one corner portion thereof. An auxiliary leg attachment portion 12 that is detachably attached to the auxiliary leg pillar 8 by fastening a bolt 13 while being fitted inside the upper end of the leg pillar 8 is integrally provided.
[0015]
In addition, the two side surfaces that are perpendicular to each other across the one corner portion having the auxiliary leg mounting portion 12 among the side surfaces of the connecting body 11 are fitted inside the upper end of the pedestal 7, A leg mounting portion 14 that is detachably attached to the pedestal 7 by fastening bolts 15 is integrally provided, and one of the both leg mounting portions 14 is connected to the inside of the upper end of the pedestal 7. On the other hand, one end of the wiring receiving rod 5 is detachably connected to the other leg mounting portion 14 by fastening a bolt 15 '.
[0016]
Furthermore, of the side surfaces of the connecting body 11, two side surfaces that are perpendicular to each other adjacent to one corner portion having the auxiliary leg mounting portion 12 and opposite to the other corner portion, A stick piece 16 serving as a mounting portion for the horizontally long stay member 4 is integrally protruded in the horizontal direction, and one end of the stay member 4 is fitted thereto, and then a bolt 17 is fastened to detach the stay member 4. Connect freely.
[0017]
A top plate support plate 18 extending in the front-rear direction of the desk is disposed on the upper surfaces of the two connection bodies 11, and the top plate support plate 18 is detachably attached to the connection body 11, and the both top plates are attached. The top plate 1 is configured to be placed on the upper surface of the support plate 18.
[0018]
In addition, an upper arm member 19 that extends forward along the lower surface of the top plate 1 is fixed to the top plate support plate 18 so that the top plate 1 is supported by the upper arm member 19. Further, the receiving member 21 provided at a plurality of locations on the lower surface of the stay member 4 is brought into contact with the lower surface of the top plate 1 on the lower surface of the top plate 1 so that the stay member 4 can also The plate 1 is configured to be supported.
[0019]
Of the left and right outer side surfaces 1a of the top plate 1, a portion corresponding to the pedestal 7 and the auxiliary pedestal 8 is provided with a notch 1b that exposes them, and the notch 1b The cover body 22 that covers the connection body 11 and the top plate support plate 18 at the upper end of the leg column 7 in the cut portion 1b and the connection body 11 at the upper end of the auxiliary leg column 8 are covered. The auxiliary cover body 23 is detachably attached. Although not shown in the drawings, these cover bodies 22 and 23 are configured to be detachably engaged with the leg body 2 side in the mounted state, and these cover bodies 22 are also configured. , 23 is configured not to protrude at least from the outer surface 1a of the top plate 1 so as to be substantially flush with the outer surface 1a of the top plate 1, for example.
[0020]
In this case, the cover body 22 is configured to appropriately form a gap with a dimension S (for example, about 3 to 6 mm) between the inner surface of the cut portion 1b of the top plate 1.
[0021]
When the overhead cabinet 20 is disposed above the top plate 1 as shown by a two-dot chain line in FIGS. 1 and 3, the columnar members 24 that support both ends of the overhead cabinet 20 are upon standing from the upper surface of the coupling body 11 or top support plate 18 is mounted to the upper end of the leg 2, the pillar-shaped member 24, as shown in FIGS. 9 to 11, an L-shaped cross section of a metal plate Thus, a part of this cross section is configured to be inserted into a gap having an appropriate dimension S between the inner surface of the cut portion 1b and the cover body 22.
[0022]
The lower end of the columnar member 24 is fastened to the connector 11 by a plurality of bolts 25, and the portion above the top plate 1 in the interior of the columnar member 24 is As shown in FIG. 12, a cover 26 is detachably attached to form a hollow shape, and wiring or the like is passed through the inside.
[0023]
In this case, by using the columnar member 24, a lighting fixture or an upper shelf board can be attached thereto, or a partition can be attached between desks arranged next to or behind.
[0024]
Further, in another embodiment of the present invention, as shown in FIG. 13, the partition member 27 between the adjacent desks is appropriately dimensioned S between the inner surface of the cut portion 1b and the cover body 22. It can be installed so as to be inserted into the gap.
[0025]
In this way, by providing a gap having an appropriate dimension S between the inner surface of the cut portion 1b in the top plate 1 and the cover body 22 attached thereto, the lighting fixture extends over the entire inner surface of the cut portion 1b. Alternatively, the columnar member 24 or the partition 27 that supports the overhead cabinet or the partition can be erected from the leg body 2 through the gap, so that the cover body 22 for the cut portion 1b supports the lighting fixture or the like. The case where the columnar member 24 or the partition 27 is erected and the case where it is not erected can be made the same component.
[0026]
Note that the shape of the cut portion 1b is not limited to a substantially triangular shape as in the cross section of the leg 2 as shown in the figure, but may be a rectangle or a square according to the cross sectional shape of the leg 2. Needless to say, the cross-sectional shape of the leg 2 may be different.
[Brief description of the drawings]
FIG. 1 is a front view showing a desk according to an embodiment of the present invention.
FIG. 2 is a plan view of FIG.
FIG. 3 is a left side view of FIG. 1;
4 is an enlarged sectional view taken along line IV-IV in FIG. 3;
FIG. 5 is a plan view showing a state in which the top plate is removed in FIG. 1;
6 is an enlarged sectional view taken along line VI-VI in FIG. 5;
7 is a cross-sectional view taken along the line VII-VII in FIG. 6;
FIG. 8 is an exploded perspective view of a main part.
FIG. 9 is a perspective view showing a case where a columnar member is erected from the top plate.
FIG. 10 is a plan view showing a state where a top plate is removed when a columnar member is erected.
11 is a cross-sectional view taken along the line XI-XI in FIG.
12 is an enlarged sectional view taken along line XII-XII in FIG.
FIG. 13 is a perspective view showing a case where a partition is erected from the top plate.
[Explanation of symbols]
DESCRIPTION OF SYMBOLS 1 Top plate 1a The outer surface 1b of a top plate 1b Incision part 2 Leg body 4 Horizontally long stay member 5 Wiring receptacle 7 Leg pillar 8 Auxiliary leg pillar 11 Connection body 14 Leg attachment part 16 Attachment part to a stay member 18 Top board support plate 22 Cover body 24 Column-shaped member 20 Overhead cabinet 27 Partition

Claims (2)

天板と、この天板を支持する脚体とから成り、前記天板における外側面のうち前記脚体の部分に、切り込み部を設け、この切り込み部内に、これを塞ぐようにしたカバー体を着脱自在に装着して成る事務用机において、
前記天板における切り込み部の内面と、これに装着したカバー体との間に、適宜寸法の隙間を、切り込み部の内面全体にわたって延びるように設け、
前記脚体の上端から立設する支柱状部材は、前記カバー体と前記きり込み部との間の隙間を通して前記天板より上方に突出するように構成されていることを特徴とする机の構造。
A top plate and a leg body that supports the top plate, and a cut body is provided in the leg portion of the outer surface of the top plate, and a cover body that covers the inside of the cut portion is provided. In an office desk that is detachably mounted,
Between the inner surface of the cut portion in the top plate and the cover body attached to the top plate, a gap of an appropriate size is provided so as to extend over the entire inner surface of the cut portion
A structure of a desk characterized in that a columnar member standing from the upper end of the leg is configured to protrude upward from the top plate through a gap between the cover body and the cut-in portion. .
断面L字型の前記支柱状部材は、前記脚体の上端に取付けられた連結体に締結され、The columnar member having an L-shaped cross section is fastened to a connecting body attached to the upper end of the leg,
前記支柱状部材の断面の一部が、前記切込み部の内面と前記カバー体との間の隙間に挿入されていることを特徴とする請求項1に記載の机の構造。2. The desk structure according to claim 1, wherein a part of a cross section of the columnar member is inserted into a gap between an inner surface of the cut portion and the cover body.
JP2000151060A 2000-05-23 2000-05-23 Desk structure Expired - Fee Related JP3673695B2 (en)

Priority Applications (1)

Application Number Priority Date Filing Date Title
JP2000151060A JP3673695B2 (en) 2000-05-23 2000-05-23 Desk structure

Applications Claiming Priority (1)

Application Number Priority Date Filing Date Title
JP2000151060A JP3673695B2 (en) 2000-05-23 2000-05-23 Desk structure

Publications (2)

Publication Number Publication Date
JP2001327334A JP2001327334A (en) 2001-11-27
JP3673695B2 true JP3673695B2 (en) 2005-07-20

Family

ID=18656678

Family Applications (1)

Application Number Title Priority Date Filing Date
JP2000151060A Expired - Fee Related JP3673695B2 (en) 2000-05-23 2000-05-23 Desk structure

Country Status (1)

Country Link
JP (1) JP3673695B2 (en)

Families Citing this family (1)

* Cited by examiner, † Cited by third party
Publication number Priority date Publication date Assignee Title
JP4806752B2 (en) * 2005-04-18 2011-11-02 コクヨ株式会社 Furniture with a top plate

Also Published As

Publication number Publication date
JP2001327334A (en) 2001-11-27

Similar Documents

Publication Publication Date Title
JP3673695B2 (en) Desk structure
JPH049367Y2 (en)
JP4984356B2 (en) Partition and its mounting structure
JP3766583B2 (en) Desk structure
JP2009082629A (en) Desk system
JP3673696B2 (en) Desk structure
JP3729324B2 (en) L-shaped desk structure
JP3761312B2 (en) Wiring furniture
JP3673710B2 (en) Wiring receiving device at the rear edge of the top plate
JP3837222B2 (en) Wiring furniture
JP3069785B2 (en) table
JP3623901B2 (en) Stable support device for self-standing partition device
JPH04117911A (en) Desk
JP2594019Y2 (en) Joint treatment structure between panel and tabletop
JP3603249B2 (en) Folding panel with auxiliary legs
JP4180225B2 (en) Desk structure
JP2002142875A (en) Support pillar for desk
JPS6241628Y2 (en)
JPH0727877Y2 (en) Partition panel mounting structure for desks, etc.
JP2004261378A (en) Furniture unit
JP2006081922A (en) Storage device at desk
JPH11164741A (en) Desktop shelf device
JPH0593259U (en) desk
JP3066486B2 (en) table
JP2005152162A (en) Furniture such as table and desk equipped with wiring function

Legal Events

Date Code Title Description
A977 Report on retrieval

Free format text: JAPANESE INTERMEDIATE CODE: A971007

Effective date: 20040702

A131 Notification of reasons for refusal

Free format text: JAPANESE INTERMEDIATE CODE: A131

Effective date: 20040803

A521 Written amendment

Free format text: JAPANESE INTERMEDIATE CODE: A523

Effective date: 20040928

TRDD Decision of grant or rejection written
A01 Written decision to grant a patent or to grant a registration (utility model)

Free format text: JAPANESE INTERMEDIATE CODE: A01

Effective date: 20050412

A61 First payment of annual fees (during grant procedure)

Free format text: JAPANESE INTERMEDIATE CODE: A61

Effective date: 20050425

R150 Certificate of patent or registration of utility model

Free format text: JAPANESE INTERMEDIATE CODE: R150

S533 Written request for registration of change of name

Free format text: JAPANESE INTERMEDIATE CODE: R313533

R350 Written notification of registration of transfer

Free format text: JAPANESE INTERMEDIATE CODE: R350

LAPS Cancellation because of no payment of annual fees