JP3616303B2 - 組立建築物および建築物用通し壁パネル - Google Patents
組立建築物および建築物用通し壁パネル Download PDFInfo
- Publication number
- JP3616303B2 JP3616303B2 JP2000118921A JP2000118921A JP3616303B2 JP 3616303 B2 JP3616303 B2 JP 3616303B2 JP 2000118921 A JP2000118921 A JP 2000118921A JP 2000118921 A JP2000118921 A JP 2000118921A JP 3616303 B2 JP3616303 B2 JP 3616303B2
- Authority
- JP
- Japan
- Prior art keywords
- panel
- building
- wall
- frame
- floor
- Prior art date
- Legal status (The legal status is an assumption and is not a legal conclusion. Google has not performed a legal analysis and makes no representation as to the accuracy of the status listed.)
- Expired - Fee Related
Links
- 238000000034 method Methods 0.000 claims description 9
- 238000003780 insertion Methods 0.000 claims description 5
- 230000037431 insertion Effects 0.000 claims description 5
- 238000004519 manufacturing process Methods 0.000 claims description 5
- 239000012212 insulator Substances 0.000 claims description 4
- 238000010276 construction Methods 0.000 description 9
- 238000010586 diagram Methods 0.000 description 5
- 230000003014 reinforcing effect Effects 0.000 description 3
- 239000002023 wood Substances 0.000 description 2
- 230000000694 effects Effects 0.000 description 1
- 238000009432 framing Methods 0.000 description 1
- XLYOFNOQVPJJNP-UHFFFAOYSA-N water Substances O XLYOFNOQVPJJNP-UHFFFAOYSA-N 0.000 description 1
Images
Landscapes
- Joining Of Building Structures In Genera (AREA)
- Panels For Use In Building Construction (AREA)
Description
【発明の属する技術分野】
本発明は、組立建築物およびこの組立に使用される建築物用通し壁パネルに関する。
【0002】
【従来の技術】
従来、建築物を組み立てる工法として、たとえば軸組み工法と称される方法がある。この軸組み工法は土台上に柱、桁、筋かい等を軸組みして建築物を構築する工法であるため、現場での工程が多く、しかも柱等の軸組みに熟練した高度の技能を要していた。そこで、近年では、柱等の軸組みを要しない工法として、2×4工法が採用されるに至っている。この2×4工法は土台上に壁枠を枠組みした後、工場等で製作された壁パネルを壁枠に打ち付けて建築物を構築する工法である。
【0003】
【発明が解決しようとする課題】
前述した2×4工法は、柱等の軸組みが不要であるが、土台上に壁枠を枠組みしなければならないため、壁枠の枠組みに熟練した技能を要するという問題がある。
【0004】
本発明は前述した点に鑑みてなされたもので、その目的とするところは、熟練した技能を要することなく素人でも容易に建築物を組み立てることのできる組立建築物およびこの建築物用通し壁パネルを提供することにある。
【0005】
【課題を解決するための手段】
上記課題を解決するために、本発明に係る組立建築物は、予め工場で製作された通し壁パネルを基礎上にアンカーボルトで固定して建築物の壁体を形成し、次いで前記通し壁パネルに1階床パネルを支持する1階床パネル受桟をボルトとナットで取付けることにより前記1階床パネル受桟で1階床パネルを下方から支えて建築物の1階床部分を組立て、前記通し壁パネルに2階床パネル受桟をボルトとナットで取付けることにより前記2階床パネル受桟で2階床パネルを下方から支えて建築物の2階床部分を組立て、前記通し壁パネルに天井パネル受桟をボルトとナットで取り付けることにより前記天井パネル受桟で天井パネルを下方から支えて建築物の天井部分を組立てた後、前記建築物の外壁を構成する通し壁パネル間に窓下パネル、窓枠および窓上パネルを順次落とし込み、次いで前記天井パネル上に棟パネルを固定すると共に前記通し壁パネル上に屋根パネル受桟を固定し、次いで前記棟パネルおよび屋根パネル受桟に屋根パネルをボルトとナットで固定する組立建築物において、
組立建築物の壁体を構成する通し壁パネルであって、I形、L形、T形、U形、X形およびH形のいずれかの形状を有し、かつ前記建築物の少なくとも2階に相当する長さを有し、
枠体と、前記枠体の開口部を該枠体の両面側から覆う壁板と、前記壁板間に設けられた断熱体とを備えてなり、
前記枠体は、前記建築物の基礎または土台上に載置されるベース部材と、このベース部材の両端部から上方に延設された柱部材と、この柱部材間に水平に架設された中間梁部材と、この中間梁部材の上方に配置された上側梁部材とを備えてなり、
前記枠体を前記基礎または土台上にアンカーボルトで固定するためのアンカーボルト挿通孔を、前記ベース部材に設け、
前記枠体に1階床パネル受桟をボルトとナットで取り付けるための受桟取付孔を、前記ベース部材に設け、
前記枠体に2階床パネル受桟および天井パネル受桟をボルトとナットで取り付けるための受桟取付孔を、前記柱部材に設け、
前記枠体に屋根パネルをボルトとナットで取り付けるための屋根パネル取付孔を、前記上側梁部材に設けた建築物用通し壁パネルにより構成されることを特徴とする。
【0007】
【発明の実施の形態】
以下、本発明の実施の形態を図面に基づいて説明する。
【0008】
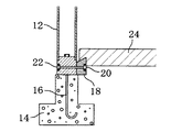
図1は本発明に係る組立建築物10の一例を示す斜視図で、図2は建築物10の壁体部分の縦断面図である。また、図3乃至図6は図2におけるA部、B部、C部、D部の構造を示す図であり、図1に示される建築物10は、例えば図7および図8に示される工程によって組み立てられる。すなわち、本発明では、図7(a)に示すように、先ず始めに、工場で製作されたL形の通し壁パネル12を基礎14上にアンカーボルト16(図3参照)で固定して建築物10の外壁を形成する。なお、基礎14上に土台を置き、この土台上に通し壁パネル12をアンカーボルト16で固定してもよい。
【0009】
次に、通し壁パネル12に1階床パネル受桟18(図3参照)をボルト20とナット22で取り付け、この1階床パネル受桟18で1階床パネル24を下方から支えて建築物10の1階床部分を図7(b)の如く組み立てた後、通し壁パネル12に2階床パネル受桟26(図4参照)をボルト28とナット30で取り付ける。そして、この2階床パネル受桟26で2階床パネル32を下方から支えて建築物10の2階床部分を図7(c)の如く組み立てる。
【0010】
前記した2階床部分の組み立てが終了したならば、次に通し壁パネル12に天井パネル受桟34(図5参照)をボルトとナットで取り付け、この天井パネル受桟34で天井パネル40を下方から支えて建築物10の天井部分を図7(d)の如く組み立てる。そして、天井部分の組み立てが終了したならば、次に隣り合う2つの通し壁パネル12,12間に、図9に示す1階窓下パネル41、1階窓枠42、1階窓上パネル43、2階窓枠44および2階窓上パネル45を順次落とし込み、建築物10の窓部分を図8(e)の如く組み立てる。なお、建築物10の窓部分を形成する通し壁パネル12には、図9に示す如く1階窓下パネル41等をガイドするためのガイド溝56が設けられている。また、1階窓下パネル41内には水道管、ガス管等が組み込まれている。
【0011】
前記した窓部分の組み立てが終了したならば、図8(f)の如く天井パネル40上に棟パネル受木46および小屋パネル受木47を設置するとともに、通し壁パネル12上に屋根パネル受桟48を設置する。次に、図8(g)の如く天井パネル40上に棟パネル49を配置し、この棟パネル49の下端部をピン471(図6参照)等の固定手段で天井パネル40に固定する。
【0012】
棟パネル49の下端部を天井パネル40に固定したならば、次に棟パネル49の上端部に屋根パネル50を棟金物51、ボルト52およびナット53で固定するとともに、屋根パネル受桟48上に屋根パネル50をボルト54とナット55で固定することにより、図8(h)のような建築物10が得られる。
【0013】
上述した建築物の組立工法では、土台上に柱等を軸組みしたり、あるいは現場で壁枠を枠組みしたりする必要がないので、熟練した技能を要することなく素人でも容易に建築物を組み立てることができる。
【0014】
図11は前記した本発明に係る組立建築物に使用される通し壁パネルの基本パターンを示す図であり、本発明に係る組立建築物に使用される通し壁パネル12は、I形、L形、T形、U形、X形およびH形のいずれかの形状を有し、かつ建築物の少なくとも2階高さに相当する長さLを有している。
【0015】
図12は、I形の形状を有する通し壁パネル12の正面図である。また、図13は図12のF−F線に沿う断面図であり、この通し壁パネル12は、矩形状の枠体60(図12参照)と、この枠体60の開口部を枠体60の両面側から覆う複数の壁板62と、これらの壁板62間に設けられたパネル状の断熱体64(図13参照)とから構成されている。
【0016】
枠体60は建築物10の基礎14または土台上に載置される角柱状のベース部材66を有しており、このベース部材66には、枠体60を基礎14または土台上にアンカーボルト16で固定するためのアンカーボルト挿通孔68が複数設けられているとともに、枠体60に1階床パネル受桟18をボルトとナットで取り付けるための受桟取付孔70が複数設けられている。さらに、枠体60はベース部材66の両端部から上方に延設された2本の柱部材72,72を有しており、これらの柱部材72,72には、枠体60に2階床パネル受桟26をボルトとナットで取り付けるための受桟取付孔74が複数設けられている。
【0017】
また、枠体60は柱部材72,72間に水平に架設された中間梁部材76と、この中間梁部材76の上方に配置された上側梁部材78とを有しており、この上側梁部材78には、枠体60に天井パネル受桟34をボルトとナットで取り付けるための受桟取付孔80が複数設けられているとともに、枠体60に屋根パネル受桟48と屋根パネル50をボルトとナットで取り付けるための屋根パネル取付孔82が複数設けられている。なお、ベース部材66と中間梁部材76間には補強部材84が設けられている。
【0018】
また、中間梁部材76と上側梁部材78との間には補強部材86が設けられ、この補強部材86には、枠体60に天井パネル受桟34をボルトとナットで取り付けるための受桟取付孔74が設けられている。また、壁板62は建築物10の内壁を形成しており、この壁板62にはナットを締め付け操作するための開口部88が形成されている。さらに、枠体60の内側にはコンセント89が設けられている。また、L形、T形、U形、X形およびH形の各通し壁パネルは前記したI形通し壁パネルと同様の構造となっている。
【0019】
このように構成される通し壁パネルでは、ベース部材66に設けられたアンカーボルト挿通孔68にアンカーボルト16を通した後、アンカーボルト16をナットで締め付けると、通し壁パネルの枠体60が基礎14上に固定される。従って、建築物を構築する際に土台上に柱等を軸組みしたり、あるいは現場で壁枠を枠組みしなくても建築物の壁体を形成することができ、これにより熟練した技能を要することなく素人でも容易に建築物を組み立てることができる。
【0020】
なお、上述した実施形態では棟パネル49の下端部を天井パネル40にピン47で固定するようにしたが、図14に示す如く棟パネル49の下端部を天井パネル40に止め金具57で固定したり、あるいは図15に示す如く棟パネル49の下端部を天井パネル40にボルト58で固定してもよい。
【0021】
また、本発明は、上述した実施形態に限定されるものではなく、例えば、建築設計事務所で通し壁パネルを設計し、設計データを製作工場にオンライン送信して通し壁パネルを自動製作するオンラインファブリケーションシステムにも適用できる。
【0022】
【発明の効果】
以上説明したように、本発明によれば、土台上に柱等を軸組みしたり、あるいは現場で壁枠を枠組みしたりする必要がなく、熟練した技能を要することなく素人でも容易に建築物を組み立てることができる。これは、将来的に起こり得る職人不足の解消、現場での工期短縮、コストダウンを目的とするために、部材の規格統一、均一化、少数化を図り、安く自由性の高い建築物を提供できる。
【図面の簡単な説明】
【図1】本発明に係る組立建築物の一例を示す斜視図である。
【図2】図1に示す建築物の壁体部分の縦断面図である。
【図3】図2に示すA部の詳細構造を示す図である。
【図4】図2に示すB部の詳細構造を示す図である。
【図5】図2に示すC部の詳細構造を示す図である。
【図6】図2に示すD部の詳細構造を示す図である。
【図7】図1に示す建築物の組立工程の一部を示す図である。
【図8】図1に示す建築物の組立工程の一部を示す図である。
【図9】図1に示す建築物の窓部分の構造を示す図である。
【図10】図9に示すE部の詳細構造を示す図である。
【図11】本発明に係る組立建築物に使用される通し壁パネルの基本パターンを示す図である。
【図12】I形通し壁パネルの正面図である。
【図13】図12のF−F線に沿う断面図である。
【図14】棟パネルを天井パネルに止め金具を使用して固定した場合の棟パネルと天井パネルとの取付け構造を示す図である。
【図15】棟パネルを天井パネルにボルトを使用して固定した場合の棟パネルと天井パネルとの取付け構造を示す図である。
【符号の説明】
10 建築物
12 通し壁パネル
14 基礎
16 アンカーボルト
18 1階床パネル受桟
24 1階床パネル
26 2階床パネル受桟
32 2階床パネル
34 天井パネル受桟
40 天井パネル
49 棟パネル
50 屋根パネル
60 枠体
62 壁板
64 断熱体
66 ベース部材
68 アンカーボルト挿通孔
72 柱部材
76 中間梁部材
78 上側梁部材
70,74,80 受桟取付孔
Claims (2)
- 予め工場で製作された通し壁パネルを基礎上にアンカーボルトで固定して建築物の壁体を形成し、次いで前記通し壁パネルに1階床パネルを支持する1階床パネル受桟をボルトとナットで取付けることにより前記1階床パネル受桟で1階床パネルを下方から支えて建築物の1階床部分を組立て、前記通し壁パネルに2階床パネル受桟をボルトとナットで取付けることにより前記2階床パネル受桟で2階床パネルを下方から支えて建築物の2階床部分を組立て、前記通し壁パネルに天井パネル受桟をボルトとナットで取り付けることにより前記天井パネル受桟で天井パネルを下方から支えて建築物の天井部分を組立てた後、前記建築物の外壁を構成する通し壁パネル間に窓下パネル、窓枠および窓上パネルを順次落とし込み、次いで前記天井パネル上に棟パネルを固定すると共に前記通し壁パネル上に屋根パネル受桟を固定し、次いで前記棟パネルおよび屋根パネル受桟に屋根パネルをボルトとナットで固定する組立建築物において、
組立建築物の壁体を構成する通し壁パネルであって、I形、L形、T形、U形、X形およびH形のいずれかの形状を有し、かつ前記建築物の少なくとも2階に相当する長さを有し、
枠体と、前記枠体の開口部を該枠体の両面側から覆う壁板と、前記壁板間に設けられた断熱体とを備えてなり、
前記枠体は、前記建築物の基礎または土台上に載置されるベース部材と、このベース部材の両端部から上方に延設された柱部材と、この柱部材間に水平に架設された中間梁部材と、この中間梁部材の上方に配置された上側梁部材とを備えてなり、
前記枠体を前記基礎または土台上にアンカーボルトで固定するためのアンカーボルト挿通孔を、前記ベース部材に設け、
前記枠体に1階床パネル受桟をボルトとナットで取り付けるための受桟取付孔を、前記ベース部材に設け、
前記枠体に2階床パネル受桟および天井パネル受桟をボルトとナットで取り付けるための受桟取付孔を、前記柱部材に設け、
前記枠体に屋根パネルをボルトとナットで取り付けるための屋根パネル取付孔を、前記上側梁部材に設けた建築物用通し壁パネルにより構成されることを特徴とする組立建築物。 - 予め通し壁パネルを設計し、設計データを製作工場にオンライン送信して自動製作を行う請求項1に記載の組立建築物の壁体を構成する建築物用通し壁パネルの製造方法。
Priority Applications (1)
| Application Number | Priority Date | Filing Date | Title |
|---|---|---|---|
| JP2000118921A JP3616303B2 (ja) | 2000-04-20 | 2000-04-20 | 組立建築物および建築物用通し壁パネル |
Applications Claiming Priority (1)
| Application Number | Priority Date | Filing Date | Title |
|---|---|---|---|
| JP2000118921A JP3616303B2 (ja) | 2000-04-20 | 2000-04-20 | 組立建築物および建築物用通し壁パネル |
Publications (2)
| Publication Number | Publication Date |
|---|---|
| JP2001303659A JP2001303659A (ja) | 2001-10-31 |
| JP3616303B2 true JP3616303B2 (ja) | 2005-02-02 |
Family
ID=18629981
Family Applications (1)
| Application Number | Title | Priority Date | Filing Date |
|---|---|---|---|
| JP2000118921A Expired - Fee Related JP3616303B2 (ja) | 2000-04-20 | 2000-04-20 | 組立建築物および建築物用通し壁パネル |
Country Status (1)
| Country | Link |
|---|---|
| JP (1) | JP3616303B2 (ja) |
Cited By (1)
| Publication number | Priority date | Publication date | Assignee | Title |
|---|---|---|---|---|
| JP2021001521A (ja) * | 2019-06-19 | 2021-01-07 | 株式会社ノーム | 庇型プロテクター,建築物,建築物の施工運搬移動設置方法 |
Families Citing this family (1)
| Publication number | Priority date | Publication date | Assignee | Title |
|---|---|---|---|---|
| JP2006214108A (ja) * | 2005-02-02 | 2006-08-17 | Build Up:Kk | 枠組壁工法による建物 |
-
2000
- 2000-04-20 JP JP2000118921A patent/JP3616303B2/ja not_active Expired - Fee Related
Cited By (1)
| Publication number | Priority date | Publication date | Assignee | Title |
|---|---|---|---|---|
| JP2021001521A (ja) * | 2019-06-19 | 2021-01-07 | 株式会社ノーム | 庇型プロテクター,建築物,建築物の施工運搬移動設置方法 |
Also Published As
| Publication number | Publication date |
|---|---|
| JP2001303659A (ja) | 2001-10-31 |
Similar Documents
| Publication | Publication Date | Title |
|---|---|---|
| US5289665A (en) | Orthogonal framework for modular building systems | |
| US6058671A (en) | Shim for modular building panels and method for using the same | |
| US7882665B2 (en) | Construction configurations and construction methods of steel houses | |
| KR20170119752A (ko) | 건축물 시공용 조립식 구조적 시스템 | |
| PL175630B1 (pl) | Sposób wytwarzania skrzynkowego samonośnego zespołu budowlanego | |
| KR102462960B1 (ko) | 외단열 선조립 벽체 모듈 | |
| JP4748637B2 (ja) | 建物ユニットの接合構造 | |
| JP3616303B2 (ja) | 組立建築物および建築物用通し壁パネル | |
| JPH10115006A (ja) | 軸組建築物用接続装置 | |
| JP3759816B2 (ja) | 建物の屋根構造 | |
| WO1995020082A1 (en) | Orthogonal framework for modular building systems | |
| KR102740074B1 (ko) | Pc 모듈러를 이용한 건축물 건축방법 | |
| KR102803246B1 (ko) | 슬림플로어 합성구조가 구비된 리모델링 수평 증축 구조 | |
| JP3616304B2 (ja) | 建築物用通し壁パネル | |
| JP2000356024A (ja) | 外装材の取付金具、縦貼り用胴縁および取付け工法 | |
| JP7428168B2 (ja) | 庇のリフォーム方法 | |
| JPH0320412Y2 (ja) | ||
| JP4018000B2 (ja) | ユニット式建物の施工方法 | |
| JP2006509124A (ja) | モジュラー建築ユニットおよび組み立て方法 | |
| KR100711484B1 (ko) | 독립형 가설장치 및 이를 이용한 중층형 스틸하우스시공방법 | |
| JP2003301518A (ja) | ユニット式建物およびユニット式建物の施工方法 | |
| JPH01127749A (ja) | 外壁パネル | |
| JP2002339483A (ja) | プレハブ耐力壁パネルとこれを用いた建物の施工方法 | |
| JPH09100590A (ja) | 間仕切壁およびその形成方法 | |
| JPH0372127A (ja) | 家屋の構築部材 |
Legal Events
| Date | Code | Title | Description |
|---|---|---|---|
| A911 | Transfer of reconsideration by examiner before appeal (zenchi) |
Free format text: JAPANESE INTERMEDIATE CODE: A911 Effective date: 20040301 |
|
| A912 | Removal of reconsideration by examiner before appeal (zenchi) |
Free format text: JAPANESE INTERMEDIATE CODE: A912 Effective date: 20040326 |
|
| A61 | First payment of annual fees (during grant procedure) |
Free format text: JAPANESE INTERMEDIATE CODE: A61 Effective date: 20041104 |
|
| R150 | Certificate of patent or registration of utility model |
Free format text: JAPANESE INTERMEDIATE CODE: R150 |
|
| S111 | Request for change of ownership or part of ownership |
Free format text: JAPANESE INTERMEDIATE CODE: R313113 |
|
| R350 | Written notification of registration of transfer |
Free format text: JAPANESE INTERMEDIATE CODE: R350 |
|
| FPAY | Renewal fee payment (event date is renewal date of database) |
Free format text: PAYMENT UNTIL: 20081112 Year of fee payment: 4 |
|
| LAPS | Cancellation because of no payment of annual fees |