JP3599455B2 - 強制給排気式レンジフードファン - Google Patents
強制給排気式レンジフードファン Download PDFInfo
- Publication number
- JP3599455B2 JP3599455B2 JP31057795A JP31057795A JP3599455B2 JP 3599455 B2 JP3599455 B2 JP 3599455B2 JP 31057795 A JP31057795 A JP 31057795A JP 31057795 A JP31057795 A JP 31057795A JP 3599455 B2 JP3599455 B2 JP 3599455B2
- Authority
- JP
- Japan
- Prior art keywords
- air supply
- hood
- exhaust
- fan
- duct
- Prior art date
- Legal status (The legal status is an assumption and is not a legal conclusion. Google has not performed a legal analysis and makes no representation as to the accuracy of the status listed.)
- Expired - Fee Related
Links
- 238000005192 partition Methods 0.000 claims description 7
- 239000000779 smoke Substances 0.000 description 9
- 230000005540 biological transmission Effects 0.000 description 7
- 238000010411 cooking Methods 0.000 description 6
- 239000007789 gas Substances 0.000 description 4
- 238000010276 construction Methods 0.000 description 3
- 238000004519 manufacturing process Methods 0.000 description 2
- 238000003466 welding Methods 0.000 description 2
- 206010021143 Hypoxia Diseases 0.000 description 1
- 230000000694 effects Effects 0.000 description 1
- 238000005516 engineering process Methods 0.000 description 1
- 230000037431 insertion Effects 0.000 description 1
- 238000003780 insertion Methods 0.000 description 1
- 238000009434 installation Methods 0.000 description 1
- 238000009423 ventilation Methods 0.000 description 1
Images
Landscapes
- Ventilation (AREA)
Description
【発明の属する技術分野】
本発明は、ガスレンジ等の調理器具の上方に設置され、調理によって発生した油煙、臭い等を吸引して屋外に排気すると共に、屋外の空気を室内の給気する強制給排気式レンジフードファンに関するものである。
【0002】
【従来の技術】
台所に設置されているガスレンジ等の調理器具で調理した時に発生する油煙、臭い等を屋外に吸引して排気するために調理器具の上方にレンジフードファンが設置されている。
そのレンジフードファンには、住宅の高気密化に伴い排気によって室内が負圧になるのを防止すると共に酸欠を防止するために屋外の新鮮な空気を送風機によって室内に強制的に取り入れる強制給排気式のものがある。
この強制給排気式レンジフードファンに接続されるる排気側のダクト接手と給気側のダクト接手には外気がレンジフードファンを介して室内に流入するのを防止する排気シャッタと給気シャッタが設けられ、その両シャッタの開閉動作をモータによって強制的に行う電動式と、送風装置の運転に伴う風圧と排気による室内外の圧力差によってシャッタを開動させる風圧式の二タイプが存在する。
そして、前者の電動シャッタ式は送風装置の運転に連動して排気シャッタと給気シャッタの両方が開動して排気を屋外に排出すると同時に屋外の新鮮な空気を室内に導入し、送風装置の非運転時はシャッタを強制的に閉じて排気路、給気路を気密に閉口するため、後者の風圧式の排気シャッタと給気シャッタを備えたレンジフードファンのように送風装置の非運転時にそれらシャッタがバタ付いて冷たい屋外の空気が室内との温度差で室内に進入するコールドドラフトが無くなり、台所を快適に使用できるという利点を有する。
【0003】
【発明が解決しようとする課題】
このような強制給排気式レンジフードファンとして本出願人は特願平7−180873号公報に開示する技術を既に提案している。
この先提案のものは、図5に示すように中間部分に縦設する動力伝達板21cで軸方向に二分割した両面吸込式の多翼ファン21をファンケーシング11に収容し、そのファンケーシング11を前記動力伝達板21cの延長上に設けた隔壁11gで前側の排気室100 と後側の給気室200 とに区画し、ファンケーシング11の前側開口を排気室100 への吸込口11d、後側開口を給気室200 への吸込口11fとし、そのファンケーシング11の前側の吐出口11hをフード本体2の天板12上の排気ダクト接手6に連通するように同天板12に取り付け、フード本体2の背板22とファンケーシング11との間に給気室200 への吸込口11fに連通する給気チャンバー5を設けている。
そしてその給気チャンバー5を前記天板12上に設けた給気ダクト接手7を介して給気ダクト4に接続し、ファンケーシング11の後側の吐出口11iを介して天板12に形成したスリット12aから室内に給気する構造になっている。
この先提案のものは給排気を1個のファン、1個のファンケーシングで可能にして、製作コストを低く抑えることができる。
しかし、給気ダクト4の内径は一般的に150mm以上あり、給気ダクト接手7を介して接続する給気チャンバー5も自ずと150mm以上の奥行き寸法を必要とすることから、送風装置1もその分前側に位置して送風装置1前方に確保されるフード内の排煙の捕捉空間を削減するし、排煙の充分な捕捉空間を確保するためには必然的にレンジフードファンの前出寸法が大きくなってしまう問題があった。 これを防止するためには図6に示すように中間接続体として接続ダクト9をフード本体2の天板12上に設け、この接続ダクト9に給気ダクト接手7を介して給気ダクト4を接続し、その接続ダクト9に給気チャンバー5を接続するようにすれば給気チャンバー5の奥行き寸法を小さく抑制することが可能である。
しかし、接続ダクト9をフード本体2の天板12上に設ける関係で、その分給気ダクト接手7が一段高い高さに位置することになり、フード本体2の天板12と室内(台所)の天井との間にその分高いダクト配管用の施工空間Hを確保する必要が生じ、階高を小さく抑える今日の集合住宅(マンション等)のニーズに適応できなくなったり、出隅、梁等の突設物がある建物では所定高さに据付できなくなる虞れがある。
【0004】
本発明は、従来事情に鑑みてなされたもので、その目的とする処は、フード本体内の遊び空間を接続ダクトの配設空間として利用することによって排煙の捕捉空間を削減したり大型化することなくフード本体の天板上に確保されるダクト配管用の施工空間を小さく抑制することである。
【0005】
【課題を解決するための手段】
上記目的を達成するために講じた技術的手段は、請求項1はフード本体に送風装置を収容配設し、該送風装置を、中途部分から軸方向に2分割した両面吸込み式の多翼ファンと、前記多翼ファンの2分割した位置に対応する位置に設けた隔壁で前側の排気室と後側の給気室とに区画し、前側開口を排気室への吸込口、後側開口を給気室への吸込口としたファンケーシングとで構成し、フード本体の背板と送風装置との間に前記給気室に連通する給気チャンバーを設け、ファンケーシングの吐出口に接続するフード本体天板上の排気ダクト接手と前記給気チャンバーに接続するフード本体天板上の給気ダクト接手に電動シャッタを設けた強制給排気式レンジフードファンにおいて、前記フード内スペースを利用して前記給気ダクト接手と給気チャンバーに接続する接続ダクトを配設したことを要旨とする。
また、請求項2は、請求項1記載のフード内スペースがフード本体の天板とファンケーシングの胴部とフード本体の側板とで区画された部分であることを要旨とする。
【0006】
上記技術的手段によれば、フード本体内の遊び空間を利用して配設される接続ダクトを介して給気チャンバーと給気ダクトとを接続する。
それ故、給気ダクト接手と排気ダクト接手だけをフード本体の天板上から突出させた状態で奥行き寸法が小さな給気チャンバーと大径な給気ダクトとが接続可能となる。
また、接続ダクトを配設するフード内スペースがフード本体の天板とファンケーシングの胴部とフード本体の側板とで区画された部分であると、フード内の少ない遊びスペースの中で給気に必要な容積の接続ダクトを配設することが可能となる。
【0007】
【発明の実施の形態】
次に、本発明の実施の形態を図面に基づいて説明する。
図1乃至図4は本実施の形態を示し、符号1は強制給排気式の送風装置、2はその送風装置1を収容するフード本体、3は排気ダクト、4は給気チャンバー5に接続される給気ダクトであり、調理によって発生した油煙、臭い等は送風装置1から排気ダクト3を介して屋外に排出され、屋外の新鮮な空気は給気ダクト4から給気チャンバー5を介して送風装置1から室内に給気されるようになっている。
【0008】
送風装置1はファンケーシング11と、そのファンケーシング11内に収容される多翼ファン21とで構成され、ファンケーシング11の外側には多翼ファン21を駆動させるモータ31が固定されている。
【0009】
ファンケーシング11は、今日周知のボリュート形状を呈し、軸方向の前側を多翼ファン21の着脱用孔11a’を有する前板11aで、また後側を開口11b’を有する後板11bで各々被蓋すると共に、着脱用孔11a’にベルマウス11cをネジ止めして排気用の吸込口11dを形成し、後板11bの開口11b’口縁に湾曲状のベルマウス11eを折曲して吸込口11fを形成し、その前後の吸込口11dと11fとの中程部分に隔壁11gを縦設して上方に突出する2つの吐出口11h、11iをフード本体2の天板12部分に固定している。
【0010】
多翼ファン21は、2つのファン部21a、21aの円板状の下板21b、21b部分を背中合わせ状に配置し、その両下板21b、21b間に動力伝達板21cを介在連結して両面吸込構造に形成してある。
その多翼ファン21を更に詳細に説明すると、中央を縦断する動力伝達板21cで羽根群を軸方向に2分割化したものであり、前半部を排気用のファン部21a、後半部を給気用のファン部21aとし、隔壁11gに近接して動力伝達板21cが位置するように収容され、ファンケーシング11の後板11bに突設した十字状等の取付脚11kに固定するモータ31の軸31aに、動力伝達板21c中心部に固定したボス部21fを室内側からナット部材41で連結して取付けられており、この動力伝達板21cと隔壁11gとでファンケーシング11内を排気用のファン部21aに対応する排気室100 、給気用のファン部21aに対応する給気室200 とに区画している。
【0011】
フード本体2は、背板22、その背板22の左右両縁に溶接やネジ止め等の適宜手段で固定した側板32、背板22と側板32の上縁に溶接やネジ止め等の適宜手段で固定した天板12と、左右の側板32、32間に亘って斜設した仕切板部42と、送風装置1の組み込み後に取付けられるフィルタ52、前板62等とで構成され、室壁所定高さ位置に設置されている。
尚、符号72は幕板である。
【0012】
給気チャンバー5は、フード本体2の背板22、天板12に亘って取付けられている。
この給気チャンバー5の前面部15には開口25が設けられており、前記送風装置1はファンケーシング11の後板11bに設けた前記取付脚11kを介して支持されたモータ31の一半部を前記前面部15の開口25から内部に収容状に取付けられている。
【0013】
フード本体2の天板12上には前記ファンケーシング11の吐出口11hに連通する排気ダクト接手6が取付けられ、その排気ダクト接手6には排気ダクト3が接続してある。又、ファンケーシング11の吐出口11iは天板12に開孔したスリット12aを介して室内と連通されており、それにより外気が室内に給気されるようになっている。
排気ダクト接手6と給気ダクト接手7には前記送風装置1の作動に連動して開放する電動シャッタ8が設けてある。
【0014】
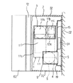
前記給気ダクト接手7と給気チャンバー5とは、フード本体2の天板12とファンケーシング11の胴部11’とフード本体2の一方の側板32とで区画されたフード内スペースSを利用して配設した接続ダクト9を介して連通状に接続されている。
【0015】
この接続ダクト9は、径を150mm程度とする給気ダクト4と奥行き寸法が小さな給気チャンバー5とを直接接続できないため、それを可能にするために設けられている。
この接続ダクト9は、上面及び給気チャンバー5に面する背面を開放した箱型状を呈し、その開放縁に取付フランジ19や掛止フランジ29を突設し、その掛止フランジ29を給気チャンバー5の前面部15に切欠した差し込み口35縁に掛止した状態で取付フランジ19をフード本体2の天板12内面と給気チャンバー5の前面部15に各々取付けてなり、上面の開放部が、フード本体2の天板12上に取付けられた給気ダクト接手7と、また背面の開放部が給気チャンバー5と各々連通状となる。
又、この接続ダクト9は、詳細には正面視でファンケーシング11の胴部11’上方域から外れる方向に内部容積を拡大して流路抵抗を軽減するように拡開した略台形状を呈している。
【0016】
従って、本実施の形態の強制給排気式レンジフードファンでは送風装置1を作動させると、電動シャッタ8が開き排気室100 にフィルタ52を介して排煙を吸引してファンケーシング11の吐出口11hを介して排気ダクト3から屋外に排気し、屋外の新鮮な外気は給気ダクト4、給気ダクト接手7、接続ダクト9、給気チャンバー5から給気室200 に給気し、ファンケーシング11の吐出口11iを介してフード本体2の天板12に開孔したスリット12aから室内に給気する。
【0017】
その際、大径(150mm程度)な給気ダクト4がフード本体2の天板12とファンケーシング11の胴部11’とフード本体2の一方の側板32の間のフード内スペースSを利用して配設される接続ダクト9を介して給気チャンバー5に接続されるため、給気ダクト接手7と排気ダクト接手6だけをフード本体2の天板12上から突出させた状態でフード本体2の背板22に添設状になっている奥行き寸法が小さな給気チャンバー5に外気を導入することが可能となる。
故に給気チャンバー5の奥行寸法を大きくなる結果、送風装置1がその分前側に位置して排煙の捕捉空間が縮小したり、接続ダクト9をフード本体2の天板12上に配設して天板12上のダクト配管スペースHが接続ダクト9分余分に高くなるようなこともなくなる。
【0018】
【発明の効果】
本発明は以上のようにフード内スペースを利用してフード本体の天板上の給気ダクト接手と給気チャンバーとを接続する接続ダクトを配設した強制給排気式レンジフードファンであるから、奥行き寸法が小さな給気チャンバーと大径な給気ダクトとを接続ダクトをフード本体の天板上に配設せずに接続することが出来る。
従って、給排気を1個のファン、1個のファンケーシングで可能にして製作コストを低く抑える利点を達成する強制給排気式レンジフードファンにおいて、送風装置前方に確保される排煙の捕捉空間を充分広く確保して所定の排煙の捕捉効率を得ることができる上にフード本体の天板上に確保するダクト(排気用、給気用)配管用の施工空間を小さくして、出隅、梁等の突設物がある室での所定高さ位置での据付施工が可能で、階高を小さく抑える今日の集合住宅(マンション等)にも好適なものにすることができる。
その上、フード本体の天板とファンケーシングの胴部とフード本体の側板とで区画された部分を利用して換気ダクトを配設しているため、接続ダクトを大きな容積にすることができ、流路抵抗の増大によって給気量が低下する不具合もない。
【図面の簡単な説明】
【図1】強制給排気式レンジフードファンの側面図で一部切欠して示す。
【図2】図1の(2)−(2)線断面図。
【図3】図1の(3)−(3)線断面図で要部を示す。
【図4】給気ダクト接手、接続ダクト、給気チャンバーの関係を示す斜視図で一部切欠して示す。
【図5】従来の強制給排気式レンジフードファンの側面図で一部切欠して示す。
【図6】更に他の従来の強制給排気式レンジフードファンの側面図で一部切欠して示す。
【符号の説明】
2 :フード本体 1 :送風装置
21 :多翼ファン 11g:隔壁
11 :ファンケーシング 100 :排気室
200 :給気室 11d、11f:吸込口
11h、11i:吐出口 12 :天板
22 :背板 3 :排気ダクト
4 :給気ダクト 8 :電動シャッタ
7 :給気ダクト接手 6 :排気ダクト接手
11’:胴部(ファンケーシングの胴部)S :フード内スペース
9 :接続ダクト H :ダクト配管スペース
32 :側板 5 :給気チャンバー
Claims (2)
- フード本体に送風装置を収容配設し、該送風装置を、中途部分から軸方向に2分割した両面吸込み式の多翼ファンと、前記多翼ファンの2分割した位置に対応する位置に設けた隔壁で前側の排気室と後側の給気室とに区画し、前側開口を排気室への吸込口、後側開口を給気室への吸込口としたファンケーシングとで構成し、フード本体の背板と送風装置との間に前記給気室に連通する給気チャンバーを設け、ファンケーシングの吐出口に接続するフード本体天板上の排気ダクト接手と前記給気チャンバーに接続するフード本体天板上の給気ダクト接手に電動シャッタを設けた強制給排気式レンジフードファンにおいて、前記フード内スペースを利用して前記給気ダクト接手と給気チャンバーに接続する接続ダクトを配設したことを特徴とする強制給排気式レンジフードファン。
- 前記フード内スペースがフード本体の天板とファンケーシングの胴部とフード本体の側板とで区画された部分であることを特徴とする請求項1記載の強制給排気式レンジフードファン。
Priority Applications (1)
| Application Number | Priority Date | Filing Date | Title |
|---|---|---|---|
| JP31057795A JP3599455B2 (ja) | 1995-11-29 | 1995-11-29 | 強制給排気式レンジフードファン |
Applications Claiming Priority (1)
| Application Number | Priority Date | Filing Date | Title |
|---|---|---|---|
| JP31057795A JP3599455B2 (ja) | 1995-11-29 | 1995-11-29 | 強制給排気式レンジフードファン |
Publications (2)
| Publication Number | Publication Date |
|---|---|
| JPH09152158A JPH09152158A (ja) | 1997-06-10 |
| JP3599455B2 true JP3599455B2 (ja) | 2004-12-08 |
Family
ID=18006918
Family Applications (1)
| Application Number | Title | Priority Date | Filing Date |
|---|---|---|---|
| JP31057795A Expired - Fee Related JP3599455B2 (ja) | 1995-11-29 | 1995-11-29 | 強制給排気式レンジフードファン |
Country Status (1)
| Country | Link |
|---|---|
| JP (1) | JP3599455B2 (ja) |
-
1995
- 1995-11-29 JP JP31057795A patent/JP3599455B2/ja not_active Expired - Fee Related
Also Published As
| Publication number | Publication date |
|---|---|
| JPH09152158A (ja) | 1997-06-10 |
Similar Documents
| Publication | Publication Date | Title |
|---|---|---|
| KR100367726B1 (ko) | 조리장용의배기장치 | |
| JPWO2004051152A1 (ja) | 給排気型レンジフード | |
| JP3599455B2 (ja) | 強制給排気式レンジフードファン | |
| JP3737851B2 (ja) | 強制給排気式レンジフードファン | |
| KR20000060555A (ko) | 벽걸이형 전자렌지 | |
| JP3223893B2 (ja) | 天井埋込カセット型熱交換換気装置 | |
| JP3819836B2 (ja) | 浴室暖房機 | |
| JPH0656271B2 (ja) | 換気装置 | |
| JPH109631A (ja) | レンジフード | |
| JPS6234187Y2 (ja) | ||
| JP3820669B2 (ja) | 換気用の多翼ファン式送風機 | |
| JPH018905Y2 (ja) | ||
| JP4038909B2 (ja) | 換気空調装置 | |
| JPH11173617A (ja) | 同時給排型レンジフード | |
| KR20030043043A (ko) | 공기조화기의 공기누출 방지구조 | |
| JP3730577B2 (ja) | 暖房装置 | |
| JPS6036819Y2 (ja) | 給・排気型換気装置 | |
| JP2004211945A (ja) | レンジフードのための給排気管接続ボックス | |
| JPS5937626Y2 (ja) | レンジ用換気扇 | |
| JPH01167549A (ja) | 同時給排形レンジフードファン | |
| JPH0242986Y2 (ja) | ||
| JPH07332726A (ja) | 給排気装置を備えたシステムキッチン | |
| JPH10160222A (ja) | レンジフード | |
| JP2003207185A (ja) | 給排気式レンジフード | |
| JPS6038102Y2 (ja) | 換気装置 |
Legal Events
| Date | Code | Title | Description |
|---|---|---|---|
| A977 | Report on retrieval |
Free format text: JAPANESE INTERMEDIATE CODE: A971007 Effective date: 20040809 |
|
| TRDD | Decision of grant or rejection written | ||
| A01 | Written decision to grant a patent or to grant a registration (utility model) |
Free format text: JAPANESE INTERMEDIATE CODE: A01 Effective date: 20040818 |
|
| A61 | First payment of annual fees (during grant procedure) |
Free format text: JAPANESE INTERMEDIATE CODE: A61 Effective date: 20040914 |
|
| R150 | Certificate of patent or registration of utility model |
Free format text: JAPANESE INTERMEDIATE CODE: R150 |
|
| FPAY | Renewal fee payment (event date is renewal date of database) |
Free format text: PAYMENT UNTIL: 20070924 Year of fee payment: 3 |
|
| FPAY | Renewal fee payment (event date is renewal date of database) |
Free format text: PAYMENT UNTIL: 20100924 Year of fee payment: 6 |
|
| S531 | Written request for registration of change of domicile |
Free format text: JAPANESE INTERMEDIATE CODE: R313532 |
|
| FPAY | Renewal fee payment (event date is renewal date of database) |
Free format text: PAYMENT UNTIL: 20100924 Year of fee payment: 6 |
|
| R350 | Written notification of registration of transfer |
Free format text: JAPANESE INTERMEDIATE CODE: R350 |
|
| FPAY | Renewal fee payment (event date is renewal date of database) |
Free format text: PAYMENT UNTIL: 20130924 Year of fee payment: 9 |
|
| R250 | Receipt of annual fees |
Free format text: JAPANESE INTERMEDIATE CODE: R250 |
|
| LAPS | Cancellation because of no payment of annual fees |