JP3585919B2 - 木酢液及び該木酢液の製造システム - Google Patents
木酢液及び該木酢液の製造システム Download PDFInfo
- Publication number
- JP3585919B2 JP3585919B2 JP2003368170A JP2003368170A JP3585919B2 JP 3585919 B2 JP3585919 B2 JP 3585919B2 JP 2003368170 A JP2003368170 A JP 2003368170A JP 2003368170 A JP2003368170 A JP 2003368170A JP 3585919 B2 JP3585919 B2 JP 3585919B2
- Authority
- JP
- Japan
- Prior art keywords
- gas
- wood
- wood vinegar
- cooling device
- vinegar liquid
- Prior art date
- Legal status (The legal status is an assumption and is not a legal conclusion. Google has not performed a legal analysis and makes no representation as to the accuracy of the status listed.)
- Expired - Fee Related
Links
Images
Classifications
-
- Y—GENERAL TAGGING OF NEW TECHNOLOGICAL DEVELOPMENTS; GENERAL TAGGING OF CROSS-SECTIONAL TECHNOLOGIES SPANNING OVER SEVERAL SECTIONS OF THE IPC; TECHNICAL SUBJECTS COVERED BY FORMER USPC CROSS-REFERENCE ART COLLECTIONS [XRACs] AND DIGESTS
- Y02—TECHNOLOGIES OR APPLICATIONS FOR MITIGATION OR ADAPTATION AGAINST CLIMATE CHANGE
- Y02E—REDUCTION OF GREENHOUSE GAS [GHG] EMISSIONS, RELATED TO ENERGY GENERATION, TRANSMISSION OR DISTRIBUTION
- Y02E50/00—Technologies for the production of fuel of non-fossil origin
- Y02E50/10—Biofuels, e.g. bio-diesel
-
- Y—GENERAL TAGGING OF NEW TECHNOLOGICAL DEVELOPMENTS; GENERAL TAGGING OF CROSS-SECTIONAL TECHNOLOGIES SPANNING OVER SEVERAL SECTIONS OF THE IPC; TECHNICAL SUBJECTS COVERED BY FORMER USPC CROSS-REFERENCE ART COLLECTIONS [XRACs] AND DIGESTS
- Y02—TECHNOLOGIES OR APPLICATIONS FOR MITIGATION OR ADAPTATION AGAINST CLIMATE CHANGE
- Y02P—CLIMATE CHANGE MITIGATION TECHNOLOGIES IN THE PRODUCTION OR PROCESSING OF GOODS
- Y02P60/00—Technologies relating to agriculture, livestock or agroalimentary industries
- Y02P60/80—Food processing, e.g. use of renewable energies or variable speed drives in handling, conveying or stacking
- Y02P60/87—Re-use of by-products of food processing for fodder production
Landscapes
- Fodder In General (AREA)
- Cosmetics (AREA)
- Disinfection, Sterilisation Or Deodorisation Of Air (AREA)
- Agricultural Chemicals And Associated Chemicals (AREA)
- Soil Conditioners And Soil-Stabilizing Materials (AREA)
Description
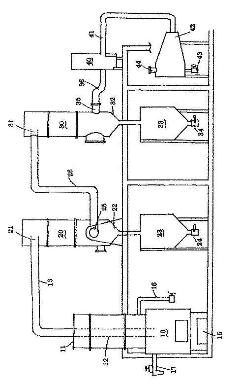
乾留装置10には、原料となる木材チップのチップ投入口11が設けられると共に、乾留装置10で発生するガスを導き出すガス導出部12が設けられ、且つ、前記乾留装置10の上端部には、第1ガス搬送管13が設けられ、また、前記乾留装置10の外周には冷却装置が配置され、該冷却装置に冷却水を供給する冷却水供給管16が付設されると共に温水取出口17が設けられ、
上記乾留装置10に隣接して第1冷却装置20が設けられると共に第1ガス搬送管13が第1冷却装置20の上部のガス受入部21に連結され、また、第1冷却装置20の下部には、第1木酢液受ホッパ22が設けられると共に、その下部には第1木酢液貯留槽23が設けられ、更に、第1木酢液貯留槽23の下部には、木酢液取出口24が連結されており、更に、第1冷却装置20には、ガス送出孔25を介して第2ガス搬送管26が設けられ、この第2ガス搬送管26の他端はガス受入部31を介して第2冷却装置30に連結され、
該第2冷却装置30には、第2木酢液受ホッパ32が設けられると共にその下部には第2木酢液貯留槽33が配置され、該第2木酢液貯留槽33の下部には木酢液取出口34が設けられ、また、第2冷却装置30の側部に設けられているガス送出部35には第2ガス搬送管36が連結され、
更に、該第2ガス搬送管36の他端は吸引ブロー40に連結され、吸引ブロー40には第3ガス搬送管41が設けられ、該第3ガス搬送管41には木質ガス貯め部42が設けられ、該木質ガス貯め部42には、木酢液取出口43及び木質ガス排出部44が設けられ、
上記冷却水供給管システムは、冷却水供給管により、冷却水供給部から第1冷却装置20、第2冷却装置30、乾留装置10及び温水取出口17をこの順で直列に連結しており、
上記装置において、チップ投入口11から乾留装置10に投入された木材チップは、700〜1300℃で乾留され、発生した木質ガスはガス導出部12を介して第1ガス搬送管13で第1冷却装置20に吸引されると共に発生した木質ガスは冷却され、凝縮した木酢液が第1木酢液貯留槽23で溜められ、
また、第1冷却装置20内の木質ガスは、ガス送出孔25及び第2ガス搬送管26を介して第2冷却装置30に送られ、木質ガスは、ここで更に冷却され、凝縮した木酢原液は第2木酢液貯留槽33に貯留され、更に、第2冷却装置30内の木質ガスは、ガス送出部35及び第2ガス搬送管36を介して吸引ブロー40により第3ガス搬送管41に送られ、木質ガス貯め部42に貯留され、この木質ガス貯め部42内のガスは木質ガス排出部44から排出されると共に、乾留装置10には、冷却水供給管16から冷却水を70リットル/分の量を供給し、また、温水取出口17から温水が連続して取り出せることを特徴とする。
請求項4記載の殺菌剤は、請求項2記載の木酢液を主成分とすることを特徴とする。
請求項6記載の土壌改良材は、請求項2記載の木酢液を主成分とすることを特徴とする。
請求項8記載の忌避剤は、請求項2記載の木酢液を主成分とすることを特徴とする。
請求項10記載の芝育成材は、請求項2記載の木酢液を主成分とすることを特徴とする。
請求項12記載の発芽・生育促進材は、請求項2記載の木酢液を主成分とすることを特徴とする。
請求項13記載の養鶏・畜産飼料混入材は、請求項2記載の木酢液を主成分とすることを特徴とする。
本実施例は、原材料としては、間伐材、新築端材などを用いて、乾留ガス等を製造するシステム(循環バイオマスエネルギープラント)である。
原材料としては、間伐材、バーグ、新築端材、製材くず、街路樹・公園の剪定枝、ダムの流木、塔婆などを活用できる。不活用の木質資材をチップ化し、製造装置にはチップの形で投入する。本実施例においては、3t/6時間のペースで製造プラントを稼動する。
上記システムについて、図1の概念図、及び、図2の乾留プラントの概略説明図を用いて説明する。本実施例に係るシステムは、大別して乾留装置10と第1冷却装置20と第2冷却装置30とからなる。乾留装置10には、原料となる木材チップのチップ投入口11が設けられると共に、乾留装置10で発生するガスを導き出すガス導出部12が設けられる。また、乾留装置10の上端部には、第1ガス搬送管13が設けられると共に、下部位置には炭取出口15が設けられる。
なまものなどが、腐敗して発生するアンモニアに木酢液を散布すると、アンモニアは水とヘキサメチレンテトラミンが結晶としてできる。この物質が医薬品としてのウロトロピンであり、微量ではあるが殺菌力が強い。ウロトロピンが土中の有害な細菌の繁殖を抑えたり、葉柄に寄生する病原菌を死滅させる。
木酢液は上記のように、アンモニアを分解して臭いを除去するが、木酢液成分の大半を占める酢酸もアンモニアを分解している。このように各種悪臭物質に対し中和反応を起こし、脱臭効果があることがわかる。尚、木酢液の「焦げ臭い」匂いは容易に空中に分離するので、周囲にある臭気を中和する。
木酢液は土中にある線虫などに有効であることが知られており、更にギ酸などの有機酸が相乗的に作用し、土壊を中和して微生物の生活環境を改善し土壌改良に有効である。また、汚染土壌中の一部の有書物質を分離・分解することも実験の結果確認されている。
木酢液の上記効果により、巾広い分野の利用が可能であるが、発明者が、実験により確認した分野に下記表3に示した分野がある。
メタノールmethanolは、別名メチルアルコールCH4O,CH3OHと呼ばれ、1661年、R.ボイル(英)が、木材乾留の生成液である木酢液から中性の液体を得たが、この物質の組成は、1834年J.B.AデュマによってCH3OHであることが決定された。最も単純な構造をもつ、重要なアルコールであり、無色で特有の芳香を有する揮発性の液体で、可燃性である。
温水は、小中学校の冷暖房に利用できるばかりでなく、熱供給源として、温室栽培、温水プール、地域暖房に活用ができる。この結果、地球のCO2削減にもつながるものである。また、このプラント自身の燃料としても利用できる。
本実施例1は、木は更新できる再生可能な資源であり、木質バイオマスエネルギーの供給源となるから、林業・林産業の地域活性化(職場の拡充)に役立つのみならず、活用再生で森林荒廃を救うこともできる。また、CO2を炭素として吸収・固定するから、地球環境の面からも優れた効果を有する。
実施例1で得られた木酢液は、防臭効果があることは実施例1で述べた通りである。そこで、更に、その活用態様について説明する。実施例1で得られた木酢液とは、木質原科(木材)が炭化する過程でできる有機酸を主体とした液体で、肥料要素、微量要素(ミネラル)など、200種類以上の成分を含んでいる(表1,2参照)。そして、同時に生成した「反応水」との相乗効果によって、病んだ土に生気を蘇らせ、嫌な匂いを消し病害虫を寄せ付けない、という計り知れない効果が実証されている。人体や作物へ弊害をもたらすことのない、人畜無害で安全な液体である。
次に、実施例1で得られた木酢液を、水質改良システムとして用いる実施例について説明する。現在、世界中で潜在的な水供給源の喪失、水質悪化、地表・地下水源の汚染の問題点を免れている地域は、ほとんどないと指摘されている(地球サミットアジェンダ21の採択文書より)。日本においても、水道水における塩素の多用により、トリハロメタンの発生、富栄養化による赤潮、アオコの発生、汚泥の悪臭など生命の源である水が全国的な規模で、危機的な状況にある。
次に、実施例1で得られた木酢液を、ゴルフ場における芝育成剤として用いる実施例について説明する。芝は成長するための必要な養分を、ほとんど土からとっているので、土づくりは芝生づくりの基礎といる。そういう意味では、士壌の養分環境を整え、その多成分の総合的な力と、それによる生物的(微生物)な相関効果によって、地力の向上をはかる芝育成剤として、実施例1に係る木酢液は最適である。
次に、実施例1で得られた木酢液を、アメリカシロヒトリ対策に用いる実施例5について説明する。アメリカシロヒトリは、大戦後アメリカ軍の占領物資と共に日本に侵入し、現在では、日本全土に見られる。成虫は5〜10日間の短い寿命の間に産卵する(葉の裏に数百〜千個以上の卵を産む)。幼虫は2〜3週間で成虫に羽化するが、その間、幼虫(毛虫)は、100種類(サクラ、プラタナス、カキ、モモ、ハナミズキ、クワなど)以上の街路樹や庭木などの葉を食害する。蛹(さなぎ)で越冬し、初夏の頃に羽化する。発生時期は6〜7月、8〜9月の年2回発生(高温多湿の夏などには年2回を越える発生もある)。最終齢になった幼虫は、樹の下に降りて、低木の根元などで蛹になる。
実施例1で得られた木酢液は人畜無害で不燃性であるばかりでなく、ニキビ・汗疹(あせも)・湿疹・わきがなどに効果があることがわかった。使用法としては、洗面器の水に、木酢液を2,3滴垂らして洗顔しますと、ニキビ・ふきでものの治療に効果がある。また、わきが・汗疹・混疹には、水に浸したガーゼか脱脂綿に2,3滴垂らして拭うと効果がある。
次に、実施例1で得られた木酢液を用いた土壌浄化について説明する。土壌浄化とは、狭義には汚染土壌中の有害物質を分離・分解することを指すが、広義には、汚染物質が周辺の土壌や地下水に拡散しないよう、除去や封じ込め処理を行うことも含まれる。従来、汚染土壌には、掘削・搬出、薬品による処理、電気による金属の分離、コンクリートやゴムシートによる汚染土壌全体の封じ込めなどの手段がとられている。土壌は一旦汚染されると、浄化しない限り、その影響が持続する特徴がある。こうしたことから、土壌汚染の環境問題に伴って、規制の強化など浄化の必要性は高まっている。
実施例1で得られた木酢液とは、木質原料(木材)が炭化する過程でできる液体である。人体や作物へ弊害をもたらすことのない無害で安全であるにもかかわらず、病んだ土壌に精気を蘇らせ、嫌な匂いを消し、病書虫を寄せ付けないという計り知れない効果がある。即ち、木酢液は、土壌病害を抑制して、土壌を蘇らせ、また、殺菌・防虫効果が高く、土壊病害を抑制する。適量の場合には微生物の活性化を促進し有機物の分解を早める。これによって土壊改良が進み、土が見違えるように若返える。連作の弊害も軽減し、農作物の発芽・生育を促進、生産量を増やすことができる。
次に、具体的な地力を考慮した農業への利用形態について具体的に説明する。果菜・根菜・葉菜の幼苗類の育成には、播種用の苗床が用いられるが、苗床の消毒・殺菌のために、木酢液30倍液6リットル/m2を撒水或いは潅水し、1週間後に播種する。また、種子の発芽・発根の促進のために、木酢液200〜300倍液に10分間浸し、水切り後播種する。育苗中においては、健苗育成・耐病性向上のために、菓菜類では木酢液800倍液を病気発生時に毎回散布する。また、根菜・葉菜類では、木酢液800倍液を月1〜2回散布する。
次に、実施例1の木酢液を水稲栽培に適用した場合について説明する。先ず、苗床の消毒・殺菌については、木酢液30倍液6リットル/m2を灌水し1週間後に播種する。また、種子(籾)の発芽・発根を促進させるために、木酢液300〜500倍液に一晩浸し、水切り後播く。さらに、育苗に当たっては、健苗育成及び根の張りを良くし、移植後の活着・発育を良くするために、木酢液800倍液を4〜5日おきに、2回葉面散布する。
剪定の時期には、消毒・殺菌のために、木酢液原液を切り口に塗布する。同時に、土壌施用が最も有効であり、木酢液30倍液2リットル/m2を灌水し耕起する。この場合、土壌消毒・土壌改良、及び、地力向上・除草を課題として、堆肥との併用も可である。また、若葉の頃には、発芽・発根の促進、及び、樹勢活性化・耐病性向上のために、木酢液500〜800倍液を月2〜3回葉面散布する。成葉の頃には、発芽・発根の促進、及び、樹勢活性化・耐病性向上のために、木酢液300〜500倍液を月2〜3回葉面散布する。また、育成中には、品質向上・収量増加・肥大 糖度・食味・日持ちの向上のために、木酢液500〜800倍液を月2〜3回葉面散布する。
養鶏には、育雛時期には、弱酸性体質を維持するために、飼料中木酢液を0.1%混入する。また、栄養成長から生殖成長(75日齢あたり)の時期には、体質の中性化及び呼吸器系の病気予防飼料に、木酢液を0.3〜0.5%混入する。産卵開始からピーク時(生後200日位の間)においては、呼吸代謝を整え、体質の酸性化を防ぎ、中性体質を維持し、更に、抗生物質の使用を抑止し、卵をアルカリ化するために、飼料中に木酢液を0.5〜0.8%混入する。これを、2週間に1回、2日かけて与える。鶏舎には、微生物環境を整え、無投薬・脱臭を目的として、木酢液100〜200倍液を、200cc/m2散布する。
飼料としては、整腸・生育向上・歩止まり向上を課題として、木酢液を飼料の0.1〜1%混入する。加えすぎると臭いがきつくなり、家畜が嫌う恐れがある。蹄叉腐乱には、治療薬として、木酢液原液を患部に数回塗るとよい。また、畜舎には、脱臭効果・環境改善のために、木酢液100〜200倍液を散布する。
堆肥としては、米ぬか・ワラ・油粕(大豆などの)に、握ると粉状にバラバラとこぼれて水分の少ない良い肥料にすること、及び、効果の持続性を実現するために、木酢液150〜200倍液を1トンに200リットル混入する。
花弁・鉢物・緑果樹の苗床には、消毒・殺菌を目的として、木酢液30倍液を6リットル/m2を灌水し1週間後に播種する。種子には、発芽・発根の促進のために、木酢液200〜300倍液に10分間浸漬し、水切り後、播種する。育苗に当たっては、健苗育成・耐病性向上のために、木酢液500倍液を、2〜3回散布する。
14・・・炭取出口 17・・・温水取出口
20・・・第1冷却装置 23・・・第1木酢液貯留槽
24・・・木酢液取出口 26・・・第2ガス搬送管
30・・・第2冷却装置 33・・・第2木酢液貯留槽
34・・・木酢液取出口 36・・・第2ガス搬送管
40・・・吸引ブロー
Claims (13)
- 金属成分及び有機物成分を含む木酢液を木材を乾留して製造する木酢液の製造システムであって、乾留装置、第1冷却装置20及び第2冷却装置30を備え、
乾留装置10には、原料となる木材チップのチップ投入口11が設けられると共に、乾留装置10で発生するガスを導き出すガス導出部12が設けられ、且つ、前記乾留装置10の上端部には、第1ガス搬送管13が設けられ、また、前記乾留装置10の外周には冷却装置が配置され、該冷却装置に冷却水を供給する冷却水供給管16が付設されると共に温水取出口17が設けられ、
上記乾留装置10に隣接して第1冷却装置20が設けられると共に第1ガス搬送管13が第1冷却装置20の上部のガス受入部21に連結され、また、第1冷却装置20の下部には、第1木酢液受ホッパ22が設けられると共に、その下部には第1木酢液貯留槽23が設けられ、更に、第1木酢液貯留槽23の下部には、木酢液取出口24が連結されており、更に、第1冷却装置20には、ガス送出孔25を介して第2ガス搬送管26が設けられ、この第2ガス搬送管26の他端はガス受入部31を介して第2冷却装置30に連結され、
該第2冷却装置30には、第2木酢液受ホッパ32が設けられると共にその下部には第2木酢液貯留槽33が配置され、該第2木酢液貯留槽33の下部には木酢液取出口34が設けられ、また、第2冷却装置30の側部に設けられているガス送出部35には第2ガス搬送管36が連結され、
更に、該第2ガス搬送管36の他端は吸引ブロー40に連結され、吸引ブロー40には第3ガス搬送管41が設けられ、該第3ガス搬送管41には木質ガス貯め部42が設けられ、該木質ガス貯め部42には、木酢液取出口43及び木質ガス排出部44が設けられ、
上記冷却水供給管システムは、冷却水供給管により、冷却水供給部から第1冷却装置20、第2冷却装置30、乾留装置10及び温水取出口17をこの順で直列に連結しており、
上記装置において、チップ投入口11から乾留装置10に投入された木材チップは、700〜1300℃で乾留され、発生した木質ガスはガス導出部12を介して第1ガス搬送管13で第1冷却装置20に吸引されると共に発生した木質ガスは冷却され、凝縮した木酢液が第1木酢液貯留槽23で溜められ、
また、第1冷却装置20内の木質ガスは、ガス送出孔25及び第2ガス搬送管26を介して第2冷却装置30に送られ、木質ガスは、ここで更に冷却され、凝縮した木酢原液は第2木酢液貯留槽33に貯留され、更に、第2冷却装置30内の木質ガスは、ガス送出部35及び第2ガス搬送管36を介して吸引ブロー40により第3ガス搬送管41に送られ、木質ガス貯め部42に貯留され、
この木質ガス貯め部42内のガスは木質ガス排出部44から排出されると共に、乾留装置10には、冷却水供給管16から冷却水を70リットル/分の量を供給し、また、温水取出口17から温水が連続して取り出せることを特徴とする木酢液の製造システム。 - 原材料として、間伐材、バーグ、新築端材、製材くず、街路樹・公園の剪定枝、ダムの流木、及び、塔婆の木質資材がチップ化され、該チップを原材料として、金属成分及び有機物成分を含む木酢液を木材を乾留して製造する木酢液の製造システムであって、乾留装置、第1冷却装置20及び第2冷却装置30を備え、乾留装置10には、原料となる木材チップのチップ投入口11が設けられると共に、乾留装置10で発生するガスを導き出すガス導出部12が設けられ、且つ、前記乾留装置10の上端部には、第1ガス搬送管13が設けられ、また、前記乾留装置10の外周には冷却装置が配置され、該冷却装置に冷却水を供給する冷却水供給管16が付設されると共に温水取出口17が設けられ、上記乾留装置10に隣接して第1冷却装置20が設けられると共に第1ガス搬送管13が第1冷却装置20の上部のガス受入部21に連結され、また、第1冷却装置20の下部には、第1木酢液受ホッパ22が設けられると共に、その下部には第1木酢液貯留槽23が設けられ、更に、第1木酢液貯留槽23の下部には、木酢液取出口24が連結されており、更に、第1冷却装置20には、ガス送出孔25を介して第2ガス搬送管26が設けられ、この第2ガス搬送管26の他端はガス受入部31を介して第2冷却装置30に連結され、該第2冷却装置30には、第2木酢液受ホッパ32が設けられると共にその下部には第2木酢液貯留槽33が配置され、該第2木酢液貯留槽33の下部には木酢液取出口34が設けられ、また、第2冷却装置30の側部に設けられているガス送出部35には第2ガス搬送管36が連結され、更に、該第2ガス搬送管36の他端は吸引ブロー40に連結され、吸引ブロー40には第3ガス搬送管41が設けられ、該第3ガス搬送管41には木質ガス貯め部42が設けられ、該木質ガス貯め部42には、木酢液取出口43及び木質ガス排出部44が設けられ、上記冷却水供給管システムは、冷却水供給管により、冷却水供給部から第1冷却装置20、第2冷却装置30、乾留装置10及び温水取出口17をこの順で直列に連結しており、上記装置において、チップ投入口11から乾留装置10に投入された木材チップは、700〜1300℃で乾留され、発生した木質ガスはガス導出部12を介して第1ガス搬送管13で第1冷却装置20に吸引されると共に発生した木質ガスは冷却され、凝縮した木酢液が第1木酢液貯留槽23で溜められ、また、第1冷却装置20内の木質ガスは、ガス送出孔25及び第2ガス搬送管26を介して第2冷却装置30に送られ、木質ガスは、ここで更に冷却され、凝縮した木酢原液は第2木酢液貯留槽33に貯留され、更に、第2冷却装置30内の木質ガスは、ガス送出部35及び第2ガス搬送管36を介して吸引ブロー40により第3ガス搬送管41に送られ、木質ガス貯め部42に貯留され、この木質ガス貯め部42内のガスは木質ガス排出部44から排出されると共に、乾留装置10には、冷却水供給管16から冷却水を70リットル/分の量を供給し、また、温水取出口17から温水が連続して取り出せる製造システムにより、製造時間が0.5t/時間のペースで、上記木酢液取出口24と上記木酢液取出口34の両方から合わせて得られる木酢液であって、金属成分として、Fe,Na,K,Ca,Zn,Mn,Si,及びMgを含有すると共に、有機物質として、酢酸、蟻酸、プロピオン酸、クエン酸を含有することを特徴とする木酢液。
- 請求項2記載の木酢液を主成分とすることを特徴とする土壌浄化材。
- 請求項2記載の木酢液を主成分とすることを特徴とする殺菌剤。
- 請求項2記載の木酢液を主成分とすることを特徴とする脱臭材。
- 請求項2記載の木酢液を主成分とすることを特徴とする土壌改良材。
- 請求項2記載の木酢液を主成分とすることを特徴とする防虫材。
- 請求項2記載の木酢液を主成分とすることを特徴とする忌避剤。
- 請求項2記載の木酢液を主成分とすることを特徴とする水質改良材。
- 請求項2記載の木酢液を主成分とすることを特徴とする芝育成材。
- 請求項2記載の木酢液を主成分とすることを特徴とする入浴剤。
- 請求項2記載の木酢液を主成分とすることを特徴とする発芽・生育促進材。
- 請求項2記載の木酢液を主成分とすることを特徴とする養鶏・畜産飼料混入材。
Priority Applications (1)
| Application Number | Priority Date | Filing Date | Title |
|---|---|---|---|
| JP2003368170A JP3585919B2 (ja) | 2003-10-28 | 2003-10-28 | 木酢液及び該木酢液の製造システム |
Applications Claiming Priority (1)
| Application Number | Priority Date | Filing Date | Title |
|---|---|---|---|
| JP2003368170A JP3585919B2 (ja) | 2003-10-28 | 2003-10-28 | 木酢液及び該木酢液の製造システム |
Related Parent Applications (1)
| Application Number | Title | Priority Date | Filing Date |
|---|---|---|---|
| JP2001339595A Division JP2003138274A (ja) | 2001-11-05 | 2001-11-05 | 木酢液及び木酢液含有物 |
Publications (2)
| Publication Number | Publication Date |
|---|---|
| JP2004076018A JP2004076018A (ja) | 2004-03-11 |
| JP3585919B2 true JP3585919B2 (ja) | 2004-11-10 |
Family
ID=32025928
Family Applications (1)
| Application Number | Title | Priority Date | Filing Date |
|---|---|---|---|
| JP2003368170A Expired - Fee Related JP3585919B2 (ja) | 2003-10-28 | 2003-10-28 | 木酢液及び該木酢液の製造システム |
Country Status (1)
| Country | Link |
|---|---|
| JP (1) | JP3585919B2 (ja) |
Families Citing this family (5)
| Publication number | Priority date | Publication date | Assignee | Title |
|---|---|---|---|---|
| CN104629780A (zh) * | 2013-11-07 | 2015-05-20 | 永胜县益农新能源开发有限公司 | 一种机制木炭烟气回收系统 |
| JP6921688B2 (ja) * | 2017-08-31 | 2021-08-18 | アース製薬株式会社 | 酢酸の除草活性増強方法および酢酸含有除草剤 |
| CN110229684A (zh) * | 2019-04-02 | 2019-09-13 | 谷峻峰 | 一种木醋液和木榴油的精制提纯系统 |
| FI131271B1 (fi) * | 2022-11-24 | 2025-01-17 | Upm Kymmene Corp | Menetelmä sammalen torjumiseen ja vesipohjaisen liuoksen käyttö sammaleen torjumiseen |
| CN119096993A (zh) * | 2024-08-30 | 2024-12-10 | 青海省农林科学院 | 一种除草药物组合物 |
-
2003
- 2003-10-28 JP JP2003368170A patent/JP3585919B2/ja not_active Expired - Fee Related
Also Published As
| Publication number | Publication date |
|---|---|
| JP2004076018A (ja) | 2004-03-11 |
Similar Documents
| Publication | Publication Date | Title |
|---|---|---|
| Kyan et al. | Kyusei nature farming and the technology of the effective microorganisms | |
| KR100856759B1 (ko) | 항고혈압 활성이 향상된 친환경 유기농포도의 재배방법 | |
| KR101132712B1 (ko) | 토양 병해충 방제용 친환경 유기농자재 | |
| CN105993870A (zh) | 一种有机番茄的无土种植方法 | |
| CN104275345B (zh) | 重金属污染土壤的生化修复方法 | |
| CN105923711B (zh) | 一种机能水及其机能水农业种植方法 | |
| CN111108945A (zh) | 一种树木的救助复壮方法 | |
| CN107432226A (zh) | 结香扦插育苗方法及结香的移栽方法 | |
| JP3585919B2 (ja) | 木酢液及び該木酢液の製造システム | |
| JP5187686B2 (ja) | 抗生能を持つ堆肥とその製造方法 | |
| CN114451198A (zh) | 一种核桃病虫害综合防控技术 | |
| TW201041497A (en) | Method for plant sterilization and insect elimination | |
| CN113647280A (zh) | 一种板栗病虫害的综合防治方法 | |
| CN107439187A (zh) | 一种绿色环保高产优质菊花种植方法 | |
| CN106416717A (zh) | 一种大棚无公害种植的方法 | |
| CN110199793A (zh) | 一种丰产草莓的种植方法 | |
| Barrons | Some Ecological Benefits of Woody Plant Control with Herbicides: Productivity of range and pastureland can be increased through use of agricultural chemicals. | |
| CN109479644A (zh) | 水稻病虫害的防治方法 | |
| CN109362805A (zh) | 水稻消毒剂、制备方法及其使用方法 | |
| JP2003138274A (ja) | 木酢液及び木酢液含有物 | |
| CN105875306A (zh) | 一种有机柠檬生产方法 | |
| Stone | Nematode worms | |
| JP2001288023A (ja) | 糞尿を利用した組成物 | |
| CN109661955A (zh) | 油橄榄病虫害防治方法 | |
| Ormerod | A Lecture on Wireworm with Methods of Prevention and Remedy, Delivered at the Royal Agricultural College, Cirencester |
Legal Events
| Date | Code | Title | Description |
|---|---|---|---|
| A621 | Written request for application examination |
Free format text: JAPANESE INTERMEDIATE CODE: A621 Effective date: 20031210 |
|
| A871 | Explanation of circumstances concerning accelerated examination |
Free format text: JAPANESE INTERMEDIATE CODE: A871 Effective date: 20031210 |
|
| A521 | Written amendment |
Free format text: JAPANESE INTERMEDIATE CODE: A821 Effective date: 20031212 |
|
| A975 | Report on accelerated examination |
Free format text: JAPANESE INTERMEDIATE CODE: A971005 Effective date: 20040309 |
|
| A131 | Notification of reasons for refusal |
Free format text: JAPANESE INTERMEDIATE CODE: A131 Effective date: 20040330 |
|
| A521 | Written amendment |
Free format text: JAPANESE INTERMEDIATE CODE: A523 Effective date: 20040531 |
|
| A521 | Written amendment |
Free format text: JAPANESE INTERMEDIATE CODE: A821 Effective date: 20040531 |
|
| TRDD | Decision of grant or rejection written | ||
| A01 | Written decision to grant a patent or to grant a registration (utility model) |
Free format text: JAPANESE INTERMEDIATE CODE: A01 Effective date: 20040730 |
|
| A61 | First payment of annual fees (during grant procedure) |
Free format text: JAPANESE INTERMEDIATE CODE: A61 Effective date: 20040804 |
|
| R150 | Certificate of patent or registration of utility model |
Free format text: JAPANESE INTERMEDIATE CODE: R150 |
|
| FPAY | Renewal fee payment (event date is renewal date of database) |
Free format text: PAYMENT UNTIL: 20080813 Year of fee payment: 4 |
|
| FPAY | Renewal fee payment (event date is renewal date of database) |
Free format text: PAYMENT UNTIL: 20090813 Year of fee payment: 5 |
|
| FPAY | Renewal fee payment (event date is renewal date of database) |
Free format text: PAYMENT UNTIL: 20100813 Year of fee payment: 6 |
|
| FPAY | Renewal fee payment (event date is renewal date of database) |
Free format text: PAYMENT UNTIL: 20110813 Year of fee payment: 7 |
|
| FPAY | Renewal fee payment (event date is renewal date of database) |
Free format text: PAYMENT UNTIL: 20120813 Year of fee payment: 8 |
|
| LAPS | Cancellation because of no payment of annual fees |
