JP3552925B2 - Opening method of groundwater holes in steel pipe column retaining wall - Google Patents

Opening method of groundwater holes in steel pipe column retaining wall Download PDF

Info

Publication number
JP3552925B2
JP3552925B2 JP28872598A JP28872598A JP3552925B2 JP 3552925 B2 JP3552925 B2 JP 3552925B2 JP 28872598 A JP28872598 A JP 28872598A JP 28872598 A JP28872598 A JP 28872598A JP 3552925 B2 JP3552925 B2 JP 3552925B2
Authority
JP
Japan
Prior art keywords
steel pipe
retaining wall
water
soil cement
groundwater
Prior art date
Legal status (The legal status is an assumption and is not a legal conclusion. Google has not performed a legal analysis and makes no representation as to the accuracy of the status listed.)
Expired - Lifetime
Application number
JP28872598A
Other languages
Japanese (ja)
Other versions
JP2000096555A (en
Inventor
正幸 土谷
厚志 柴田
Current Assignee (The listed assignees may be inaccurate. Google has not performed a legal analysis and makes no representation or warranty as to the accuracy of the list.)
Kubota Corp
Original Assignee
Kubota Corp
Priority date (The priority date is an assumption and is not a legal conclusion. Google has not performed a legal analysis and makes no representation as to the accuracy of the date listed.)
Filing date
Publication date
Application filed by Kubota Corp filed Critical Kubota Corp
Priority to JP28872598A priority Critical patent/JP3552925B2/en
Publication of JP2000096555A publication Critical patent/JP2000096555A/en
Application granted granted Critical
Publication of JP3552925B2 publication Critical patent/JP3552925B2/en
Anticipated expiration legal-status Critical
Expired - Lifetime legal-status Critical Current

Links

Images

Landscapes

  • Bulkheads Adapted To Foundation Construction (AREA)

Description

【0001】
【産業上の利用分野】
本発明は、地下構造物等の建設にあたって、止水及び土留めのために造成された鋼管柱列土留壁の地下水脈復元工法において、該土留壁の鋼管下のソイルセメント部分に地下水通水孔を開設する方法に関するものである。
【0002】
【従来の技術】
地下構造物の建設等においては、その建設区域を囲んで遮水性のよい土留壁を造成し、地下部分の地盤掘削及び建造物の建設を行うようにしているが、その土留壁は工事終了後は埋殺しにされる。土留壁は遮水性が重視されることから、一般に、鉄筋コンクリートによる連続地中壁や鋼管柱列土留壁が用いられるが、これが造成されることによって地下水脈が遮断されることになり、地下水位に大きな変動をもたらし、周辺環境に悪影響を与えることが多くなる。特に近年は工事が大規模化するにつれ、これが社会的な問題となってきている。
【0003】
この問題を解決するため、土留壁に地下水脈を復元させる方策について種々研究開発が行われてきた。しかし、鉄筋コンクリートによる土留壁では、通水化の施工が面倒で多額の経費を要する。また、鋼管柱列土留壁の場合は、既製鋼管を利用するため、その構造を変えることが困難なことから、地下水流の復元を図るための構造物としては不向きなものとされてきた。
【0004】
本発明者らは、施工性がよく耐力及び遮水性に優れる等、利点の多い鋼管柱列土留壁における通水化の研究開発を進め、地上からの作業によって、土留壁の造成時に形成されたソイルセメントだけの土留壁に通水孔を形成して、地下水脈の流通復元を図れるようにした工法を提案してきた(一例として特願平9−189002号参照)。
【0005】
【発明が解決しようとする課題】
上記提案の工法は、埋設された鋼管内及びその下方にあるソイルセメントを、地上よりオーガスクリューなどにより、掘削、除去して通水孔を開設するものである。しかし、オーガスクリューによる掘削には大型の杭打ち機が必要となることや、地上から鋼管内を掘削してその下のソイルセメント壁へと掘削を進めるため、本来掘削する必要のない地下水脈にあたる部分以外のソイルセメントも掘削、除去してしまうことで、大きな施工スペースが必要になるとともに、コストがかかりすぎる等、施工面及びコスト面でのデメリットが指摘されていた。
【0006】
本発明は、上記の問題を解決するためになされたもので、比較的小型のウォータージェット施工機を使用し、地上よりの簡易な作業により、地下水脈と対応するソイルセメント壁の必要部分を掘削除去して通水孔を開設する新規な方法を提供しようとするものである。
【0007】
【課題を解決するための手段】
上記の目的を達成するための本発明の構成について、実施例に対応する図面を参照して説明すると、請求項1の方法は、鋼管柱列土留壁Aの施工において、該土留壁Aの長さ方向に通水させる範囲を設定し、土留部材となる鋼管1のうち通水対象範囲にあたる鋼管1 a を、地下水脈 D の上端近くの深さまでに沈設を留め置き、その他の鋼管1は透水層を越えて必要とする深さまで沈設して、上記留め置いた鋼管の下部を、鋼管の存在しないソイルセメントだけの土留壁3 a に形成し、ソイルセメントの硬化後、地下水脈D近くまでに留めおいた鋼管1a中よりガイド孔6を穿設し、このガイド孔6よりウォータージェットのノズルを挿入して、ソイルセメント壁3aの通水対象範囲を掘削除去し、ソイルセメント壁3aに地下水脈Dと連通する通水孔5を開設することを特徴とするものである。
【0008】
また、請求項2の方法は、請求項1の方法において、ソイルセメントが末硬化状態のときに、地下水脈D近くまでに留めおいた鋼管1a中に小径縦長の型枠11を挿入してガイド孔6を形成することを特徴とするものである。
【0009】
また、請求項3の方法は、鋼管柱列土留壁 A の施工において、土留部材となる鋼管1の必要根入れ長以深を、地下水脈 D を越えてその下の不透水層 E までの深さとなる、鋼管1の存在しないソイルセメントだけの土留壁3 a に形成し、ソイルセメントの硬化後、通水対象範囲aの上にある鋼管1a中よりガイド孔6を穿設し、このガイド孔6にウォータージェットのノズル8を挿入して、ソイルセメント壁3aの通水対象範囲を掘削除去し、ソイルセメント壁3aに地下水脈Dと連通する通水孔5を開設することを特徴とするものである。
【0010】
また、請求項4の方法は、請求項3の方法において、ソイルセメントが末硬化状態のときに、通水対象個所aの上にある鋼管1a中に小径縦長の型枠11を挿入してガイド孔6を形成することを特徴とするものである。
【0011】
【発明の実施の形態】
以下、本発明の実施の形態について図面を参照して説明する。本発明は、地下構造物等の建設にあたって、遮水、土留のために造成される鋼管柱列土留壁(以下土留壁という)を対象として、これに、その造成により遮断された地下水脈に連通する通水孔を開設するものである。
【0012】
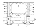
この土留壁Aは従来図1、図2、図13、図14に示すように、対向する外側面に継手材2を設けた鋼管1,1を互いに継手材2,2どうしを嵌合、連結しながら、ソイルセメント3を充填した掘削孔4に挿入、沈設して行われる。この方法はいわゆるONS工法と称されている。
【0013】
上記土留壁Aの施工態様としては、図1、図2に示すように、鋼管1を含む土留壁A全体を、地下水脈を越えてその下の不透水層Eに根入れして造成するものと、図13、図14に示すように、沈設する鋼管1は土留壁Aの安定計算上必要となる長さのものを使用するが、土留壁Aに遮水壁としての機能をもたせるため、掘削孔4にソイルセメント3だけを充填したソイルセメント壁3aが沈設した鋼管1の下端より深く透水層を越えてその下の不透水層Eまでの深さに造成されるものとがある。
【0014】
請求項1,2に対応する方法(第1の方法)は、前者である、鋼管1を不透水層Eまで根入れして造成する土留壁Aにおいて実施され、また、請求項3,4に対応する方法(第2の方法)は、後者である、沈設した鋼管1より下のソイルセメントのみの壁3aを不透水層Eに根入れして造成する土留壁Aにおいて実施される。
【0015】
まず、第1の方法の一実施例について説明する。図1、図2に示すように、土留壁Aは建設地盤Cを挟んで造成される。第1の方法では、土留壁Aの造成にあたって、土留壁Aの長さ方向に通水させる範囲(通水対象範囲)aを設定して、その範囲aにあたる鋼管1aを、地下水脈Dの上端近くの深さまでソイルセメント中への沈設を留め置くようにし、その他の鋼管1は従来同様に透水層を越えて不透水層Dに根入れする。したがって、通水対象範囲aにおいては、鋼管1aから下方の部分は、芯材としての鋼管の存在しないソイルセメントのみの土留壁(ソイルセメント壁)3aだけとなる。
【0016】
そして、このソイルセメント壁3aに地下水脈Dに連通する通水孔5(図3,図4参照)を開設する。この通水孔5の開設は、図5、図6に示すように、ソイルセメント3の硬化後、まず、土留壁Aの長さ方向に設定した通水対象範囲aの鋼管1a中より、ウォータージェットのノズルを挿入できる程度の小径のガイド孔6を穿設するとともに、鋼管1aの上部内のソイルセメント3を除去して凹部7を設ける。なお、図示の例では、ガイド孔6は地下水脈Dの下端近くに達する深さまで設けられているが、これに限られるものではなく、例えば、鋼管1aの下端に至る程度のものであってもよい。
【0017】
ついで、図7,図8に示すように、先端にノズル8を備えた高圧水噴射パイプ9をガイド孔6に挿入し、地下水脈Dと交差位置にあるソイルセメント壁3aに高圧水を噴射して、破砕、掘削する。掘削されたソイルセメントは水とともにガイド孔6から上方の凹部7へそして地上へと排出されるようになる。そこで、凹部7に達したソイルセメントと水を吸引パイプ10により吸引し適所に廃棄する。それにより、ソイルセメント壁3aには地下水脈Dと連通する通水孔5が開設されることになり、土留壁Aによって遮断されていた地下水脈Dは、建設地盤Cを挟んで造成された土留壁A,Aの通水孔5,5を介して水流が復元することになる。
【0018】
図9〜図11は、通水孔5開設の他の実施例を示したものである。この実施例では、土留壁Aの造成後、ソイルセメントが未硬化状態のときに、図9に示すように、地上から、通水対象範囲aの鋼管1a中より、例えば、先端を塞いだ有底、小径の縦長なパイプ状の型枠(中実棒状の型枠でもよい)11を挿入し、ソイルセメント3が硬化或いはほぼ硬化したときに型枠11を引き抜き撤去する。それにより、図10に示すように、鋼管1aから地下水脈Dに至るソイルセメント中にガイド孔6が形成されることになる。その後は、さきの実施例におけると同様に、ガイド孔6にノズル8を挿入してウォータージェットにより掘削してそのソイルセメントと水を吸引パイプ10で排出し、通水孔5が開設されることになる。なお、この実施例の場合も、さきの実施例におけると同様に、ガイド孔6の深さは鋼管1aの下端に至る程度のものであってもよい。
【0019】
上記の各実施例では。通水対象範囲aの鋼管1aの本数は1本となっているが、これは、例えば図12に示すように複数本を連ねた場合でも実施可能である。そのようにすれば、通水孔5を大きくとることができる。
【0020】
次に、第2の方法について、説明する。この土留壁Aもさきの第1の方法におけると同様に、建設地盤Cを挟んで造成されるが、この第2の方法における土留壁Aでは、図13、図14に示すように、沈設する鋼管1は土留壁の安定計算上必要な長さのものが使用されるが、土留壁Aに遮水壁としての機能をもたせるため、掘削孔4に充填したソイルセメントだけの土留壁(ソイルセメント壁)3aが地下水脈Dを越えてその下の不透水層Eまでの深さに造成される。通水孔5はそのソイルセメント壁3aに開設する。
【0021】
通水孔5の開設は、第1の方法における通水孔5開設と同様にして行われる。すなわち、その一つの実施例としては、図5〜図8を参照して説明したように、ソイルセメントの硬化後、通水対象範囲の鋼管1aからソイルセメント壁3aまでガイド孔6を穿設した後、ウォータージェットにより通水孔5を開設する。また、他の実施例としては、図9〜図11を参照して説明したように、ソイルセメントの未硬化状態のときに型枠11を挿入して引き抜き、ガイド孔6を形成した後、ウォータージェットにより通水孔5を開設するのである。
【0022】
上記の各実施例では、通水対象範囲aの鋼管1aの本数は1本となっているが、この第2の方法でも第1の方法の場合と同様で、例えば図15に示すように、通水対象範囲aを鋼管複数本にわたるように広げ、その中の各鋼管1aを通し、ソイルセメント壁3aに大きな通水孔5を開設することができる。
【0023】
【発明の効果】
以上説明したように、本発明によれば、地下構造物等の建設において、従来、遮水性の高い土留壁として埋め殺しにされる鋼管柱列土留壁を利用し、その下部に、鋼管の存在しないソイルセメントのみの土留壁を形成して、それに通水孔を開設するようにしたので、建設時は遮水壁として機能させている鋼管柱列土留壁を、建設終了後は地下水脈を復元させる通水壁として機能を発揮させることができる。
【0024】
そして、土留壁の全体を不透水層まで根入れる施工においても、また、柱列鋼管下方のソイルセメント壁が透水層を越えて不透水層に根入れる施工においても、いずれもオーガスクリューのような大型の施工機を用いることなく、比較的小型なウォータージェット施工機により通水孔の開設ができるので、施工スペースが小さくてすむとともに、施工が簡便で経済的に行える。また、ウォータージェットによる洗浄効果により、地山中に浸透したセメントミルクも除去することができ、地下水脈の復元が確実に行える。
【図面の簡単な説明】
【図1】本発明の第1の方法の実施態様において、土留壁を造成した状態を示す側断面図である。
【図2】同土留壁の一部正面図である。
【図3】同通水孔開設の状態を示す側断面図である。
【図4】同土留壁の一部正面図である。
【図5】通水孔開設の一実施例におけるガイド孔形成状態を示す要部側断面図である。
【図6】同要部正断面図である。
【図7】同ウォータージェット噴射の状態を示す要部側断面図である。
【図8】同要部正断面図である。
【図9】透水孔開設の他の実施例における型枠挿入状態を示す要部側断面図である。
【図10】同ガイド孔形成状態を示す要部側断面図である。
【図11】同ウォータージェット噴射の状態を示す要部側断面図である。
【図12】第1の方法の他の実施例を示す要部正面図である。
【図13】本発明の第2の方法の実施態様を示す要部側断面図である。
【図14】同正面図である。
【図15】同他の実施例を示す要部正面図である。
【符号の説明】
A 鋼管柱列土留壁
B 地下構造物
C 建設地盤
D 地下水脈
E 不透水層
1,1a 鋼管
2 継手材
3 ソイルセメント
3a ソイルセメント壁
4 掘削孔
5 通水孔
6 ガイド孔
7 凹部
8 ノズル
9 高圧水噴射パイプ
10 吸引パイプ
11 型枠
[0001]
[Industrial applications]
The present invention relates to a method for restoring groundwater vein of a steel pipe column retaining wall formed for water stoppage and soil retaining when constructing an underground structure or the like, wherein a groundwater flow hole is provided in a soil cement portion under the steel pipe of the retaining wall. It is about how to establish.
[0002]
[Prior art]
In the construction of underground structures, etc., a well-impermeable soil retaining wall is constructed around the construction area to excavate the ground underground and to construct a building. Is buried. Since the embankment wall emphasizes water shielding, a continuous underground wall made of reinforced concrete and a steel tube column retaining wall are generally used.However, the formation of this wall will block the groundwater vein and increase the groundwater level. It often causes large fluctuations and adversely affects the surrounding environment. Particularly in recent years, this has become a social problem as construction has become larger.
[0003]
In order to solve this problem, various researches and developments have been made on measures for restoring groundwater veins on earth retaining walls. However, in the case of earth retaining walls made of reinforced concrete, construction of water passage is troublesome and requires a large amount of cost. In addition, in the case of a steel column pillar retaining wall, since the structure is difficult to change because a pre-made steel pipe is used, it has been considered unsuitable as a structure for restoring the groundwater flow.
[0004]
The present inventors proceeded with research and development of water permeability in a steel pipe column soil retaining wall having many advantages, such as excellent workability and excellent strength and water blocking properties, and were formed at the time of construction of the soil retaining wall by work from the ground. A method has been proposed in which a water passage hole is formed in the earth retaining wall made of only soil cement so that the flow of the groundwater vein can be restored (for example, see Japanese Patent Application No. 9-189002).
[0005]
[Problems to be solved by the invention]
The proposed method is to excavate and remove the soil cement inside and below the buried steel pipe from above the ground with an auger screw or the like to open a water hole. However, excavation with an auger screw requires a large pile driver, and because it excavates the inside of the steel pipe from the ground and proceeds with the excavation to the soil cement wall below it, it hits a groundwater vein that does not originally need to be excavated Excavations and removal of soil cement other than the part required a large construction space, and it was pointed out that there were disadvantages in construction and cost, such as excessive cost.
[0006]
The present invention has been made in order to solve the above-mentioned problem, and a relatively small water jet construction machine is used to excavate a necessary portion of a groundwater vein and a corresponding soil cement wall by a simple operation from the ground. It is intended to provide a new method of removing and opening a water hole.
[0007]
[Means for Solving the Problems]
The configuration of the present invention for achieving the above object, with reference to the accompanying drawings corresponding to embodiments, a method according to claim 1, in construction of a steel pipe Piles earth retaining wall A, the length of該土Tomekabe A It sets the range of the is passed through in the direction, the steel pipe 1 a which corresponds among water passage scope of the steel pipe 1 serving as earth retaining member, Tomeoki the sinking in to a depth near the upper end of the underground water vein D, other steel tube 1 is aquifer the by sinking depth in need beyond the bottom of the Tomeoi steel pipe to form a nonexistent soil cement only earth retaining wall 3 a of the steel pipe, after hardening of the soil cement, fastened by underground water vein D near A guide hole 6 is formed in the inserted steel pipe 1a, and a water jet nozzle 8 is inserted through the guide hole 6 to excavate and remove a water flow target area of the soil cement wall 3a. Water hole communicating with D 5 is established.
[0008]
The method according to claim 2 is a method according to claim 1, in which, when the soil cement is in a hardened state, the small-diameter vertically long formwork 11 is inserted into the steel pipe 1a kept close to the groundwater vein D. It is characterized in that holes 6 are formed.
[0009]
In the method of claim 3, in the construction of the steel pipe column retaining wall A , the depth of the steel pipe 1 serving as the retaining member is set to a depth equal to or less than the required penetration depth to the impermeable layer E below the groundwater vein D. comprising, formed on the earth retaining wall 3 a of only soil cement in the absence of the steel pipe 1, after curing of the soil cement, drilled guide hole 6 than in the steel pipe 1a above the water passage scope a, the guide hole 6 A water jet nozzle 8 is inserted into the soil cement wall 3a to excavate and remove a water flow target area , and a water flow hole 5 communicating with the groundwater vein D is opened in the soil cement wall 3a. is there.
[0010]
The method according to claim 4 is the method according to claim 3, wherein when the soil cement is in a hardened state, a small-diameter vertically long formwork 11 is inserted into the steel pipe 1a above the water-passing point a. It is characterized in that holes 6 are formed.
[0011]
BEST MODE FOR CARRYING OUT THE INVENTION
Hereinafter, embodiments of the present invention will be described with reference to the drawings. The present invention relates to a steel pipe column retaining wall (hereinafter referred to as a retaining wall) that is constructed for impermeable and retaining soil when constructing an underground structure or the like, and communicates with the groundwater vein interrupted by the construction. This is to open a water hole.
[0012]
Conventionally, as shown in FIGS. 1, 2, 13, and 14, a steel pipe 1, 1 provided with a joint member 2 on the opposed outer surface is fitted and connected to each other by the joint members 2, 2. While being inserted into the excavation hole 4 filled with the soil cement 3, the operation is performed. This method is called a so-called ONS method.
[0013]
As shown in FIG. 1 and FIG. 2, the construction of the retaining wall A is such that the entire retaining wall A including the steel pipe 1 is inserted into the impermeable layer E below the groundwater vein and over the groundwater vein. As shown in FIGS. 13 and 14, the steel pipe 1 to be laid is of a length necessary for the stability calculation of the retaining wall A. In order to make the retaining wall A function as a water impervious wall, In some cases, a soil cement wall 3a in which only the soil cement 3 is filled in the excavation hole 4 is formed at a depth deeper than the lower end of the steel pipe 1 in which the steel pipe 1 is laid and beyond the permeable layer to the impermeable layer E thereunder.
[0014]
The method (first method) corresponding to Claims 1 and 2 is carried out on the former soil retaining wall A formed by piercing the steel pipe 1 to the impermeable layer E. A corresponding method (second method) is carried out in the latter, a retaining wall A which is formed by embedding the wall 3a of only soil cement below the laid steel pipe 1 into the impermeable layer E.
[0015]
First, an embodiment of the first method will be described. As shown in FIGS. 1 and 2, the retaining wall A is formed with the construction ground C interposed therebetween. In the first method, when constructing the retaining wall A, a range (a target area for water transmission) a is set in the longitudinal direction of the retaining wall A, and the steel pipe 1a corresponding to the range a is set at the upper end of the groundwater vein D. The steel pipe 1 is laid in the impermeable layer D beyond the permeable layer in the same manner as in the prior art so as to keep the sediment in the soil cement close to the depth. Therefore, in the water flow target range a, the portion below the steel pipe 1a is only the soil retaining wall (soil cement wall) 3a made of only soil cement having no steel pipe as a core material.
[0016]
Then, a water hole 5 (see FIGS. 3 and 4) communicating with the groundwater vein D is opened in the soil cement wall 3a. As shown in FIGS. 5 and 6, after the soil cement 3 is hardened, the water passage hole 5 is first opened from the inside of the steel pipe 1 a within the water passage target area a set in the longitudinal direction of the retaining wall A. A guide hole 6 having a diameter small enough to insert a jet nozzle is formed, and the soil cement 3 in the upper portion of the steel pipe 1a is removed to form a recess 7. In the illustrated example, the guide hole 6 is provided to a depth reaching near the lower end of the groundwater vein D. However, the present invention is not limited to this. For example, the guide hole 6 may reach the lower end of the steel pipe 1a. Good.
[0017]
Next, as shown in FIGS. 7 and 8, a high-pressure water injection pipe 9 having a nozzle 8 at the tip is inserted into the guide hole 6, and high-pressure water is injected to the soil cement wall 3a at a position intersecting with the groundwater vein D. And crush and excavate. The excavated soil cement is discharged together with the water from the guide hole 6 to the upper concave portion 7 and to the ground. Then, the soil cement and the water that have reached the concave portion 7 are sucked by the suction pipe 10 and discarded at an appropriate place. As a result, a water hole 5 communicating with the groundwater vein D is opened in the soil cement wall 3a, and the groundwater vein D blocked by the retaining wall A is replaced with the soil vein formed with the construction ground C therebetween. The water flow is restored via the water holes 5, 5 in the walls A, A.
[0018]
9 to 11 show another embodiment of the opening of the water hole 5. In this embodiment, when the soil cement is in an unhardened state after the formation of the retaining wall A, as shown in FIG. 9, for example, the tip is closed from the ground in the steel pipe 1a in the water passage target area a. A bottom, small-diameter, vertically long pipe-shaped mold (or a solid rod-shaped mold) 11 is inserted, and when the soil cement 3 is hardened or almost hardened, the mold 11 is pulled out and removed. Thereby, as shown in FIG. 10, the guide hole 6 is formed in the soil cement from the steel pipe 1a to the groundwater vein D. Thereafter, as in the previous embodiment, the nozzle 8 is inserted into the guide hole 6 and excavated by a water jet, and the soil cement and water are discharged through the suction pipe 10 to open the water passage hole 5. become. In this embodiment, similarly to the previous embodiment, the depth of the guide hole 6 may be such that it reaches the lower end of the steel pipe 1a.
[0019]
In each of the above embodiments. Although the number of the steel pipes 1a in the water passage target range a is one, this can be implemented even when a plurality of steel pipes are connected as shown in FIG. 12, for example. By doing so, the water passage hole 5 can be made large.
[0020]
Next, the second method will be described. This retaining wall A is also formed with the construction ground C sandwiched in the same manner as in the first method described above, but the retaining wall A in the second method is laid down as shown in FIGS. The steel pipe 1 has a length necessary for calculating the stability of the retaining wall. However, in order to provide the retaining wall A with a function as a water impervious wall, the retaining pipe made of only the soil cement filled in the excavation hole 4 (soil cement) is used. A wall 3a is formed at a depth beyond the groundwater vein D to the impermeable layer E thereunder. The water hole 5 is formed in the soil cement wall 3a.
[0021]
The opening of the water hole 5 is performed in the same manner as the opening of the water hole 5 in the first method. That is, as one embodiment, as described with reference to FIGS. 5 to 8, after the soil cement was hardened, the guide hole 6 was formed from the steel pipe 1 a in the water flow target range to the soil cement wall 3 a. Then, the water hole 5 is opened by a water jet. As another embodiment, as described with reference to FIGS. 9 to 11, when the soil cement is in an uncured state, the mold 11 is inserted and pulled out, and after forming the guide hole 6, the water is removed. The water hole 5 is opened by the jet.
[0022]
In each of the above embodiments, the number of the steel pipes 1a in the water passage target area a is one. However, the second method is similar to the case of the first method, for example, as shown in FIG. A large water passage hole 5 can be opened in the soil cement wall 3a by extending the water passage target area a so as to extend over a plurality of steel pipes and passing through the steel pipes 1a therein.
[0023]
【The invention's effect】
As described above, according to the present invention, in the construction of an underground structure or the like, a steel pipe column row retaining wall conventionally buried and buried as a high water-impermeable retaining wall is used, and the presence of a steel pipe is provided below the column. A soil retaining wall made of only soil cement is formed and a water hole is opened in it.The steel pipe column retaining wall functioning as a water impervious wall at the time of construction, and the groundwater vein restored after construction It can function as a water-permeable wall.
[0024]
And even in the construction where the entire retaining wall is embedded into the impermeable layer, and also in the construction in which the soil cement wall below the column steel pipe goes beyond the permeable layer into the impermeable layer, Since the water holes can be opened by a relatively small water jet construction machine without using a large construction machine, the construction space can be reduced, and the construction can be performed simply and economically. In addition, the cleaning effect of the water jet can also remove cement milk that has infiltrated into the ground, thereby reliably restoring groundwater veins.
[Brief description of the drawings]
FIG. 1 is a side sectional view showing a state in which a retaining wall is formed in an embodiment of the first method of the present invention.
FIG. 2 is a partial front view of the earth retaining wall.
FIG. 3 is a side sectional view showing a state in which the water hole is opened.
FIG. 4 is a partial front view of the earth retaining wall.
FIG. 5 is a side sectional view of a main part showing a guide hole formation state in an embodiment of opening a water passage hole.
FIG. 6 is a front sectional view of the essential part.
FIG. 7 is a sectional side view of a main part showing a state of the water jet injection.
FIG. 8 is a front sectional view of the relevant part.
FIG. 9 is a cross-sectional side view of a main part showing a form insertion state in another embodiment in which a water-permeable hole is opened.
FIG. 10 is a sectional side view of a main part showing a state in which the guide hole is formed.
FIG. 11 is a sectional side view of a main part showing a state of the water jet injection.
FIG. 12 is a front view of a main part showing another embodiment of the first method.
FIG. 13 is a sectional side view of a main part showing an embodiment of the second method of the present invention.
FIG. 14 is a front view of the same.
FIG. 15 is a front view of a main part showing another embodiment.
[Explanation of symbols]
A Steel pipe column retaining wall B Underground structure C Construction ground D Groundwater vein E Impervious layer 1, 1a Steel pipe 2 Joint material 3 Soil cement 3a Soil cement wall 4 Drilling hole 5 Water hole 6 Guide hole 7 Recess 8 Nozzle 9 High pressure Water injection pipe 10 Suction pipe 11 Formwork

Claims (4)

鋼管柱列土留壁の施工において、該土留壁の長さ方向に通水させる範囲を設定し、土留部材となる鋼管のうち通水対象範囲にあたる鋼管を、地下水脈の上端近くの深さまでに沈設を留め置き、その他の鋼管は透水層を越えて必要とする深さまで沈設して、上記留め置いた鋼管の下部を鋼管の存在しないソイルセメントだけの土留壁に形成し、ソイルセメントの硬化後、地下水脈ちかくまでに留めおいた鋼管中よりガイド孔を穿設し、このガイド孔にウォータージェットのノズルを挿入して、ソイルセメント壁の通水対象範囲を掘削除去し、ソイルセメント壁に地下水脈と連通する通水孔を開設することを特徴とする、鋼管柱列土留壁における地下水通水孔の開設方法。 In the construction of the steel column pillar retaining wall, set the range to allow water to flow in the length direction of the retaining wall, and lay down the steel pipe that is the target area of the steel pipe as the retaining member to a depth near the upper end of the groundwater vein. The other steel pipes are sunk to the required depth beyond the permeable layer, and the lower part of the steel pipes is formed on the retaining wall made of only soil cement without steel pipes. A guide hole was drilled from the steel pipe that was kept up to the point, and a water jet nozzle was inserted into this guide hole to excavate and remove the target area of the soil cement wall for water penetration. A method for opening a groundwater flow hole in a steel pipe column retaining wall, characterized by opening a water hole for communication. 鋼管柱列土留壁の施工において、ソイルセメントが未硬化状態のときに、地下水脈近くまでに留めおいた鋼管中に小径縦長の型枠を挿入してガイド孔を形成することを特徴とする、請求項1記載の鋼管柱列土留壁における地下水通水孔の開設方法。In the construction of the steel column pillar retaining wall, when the soil cement is in an unhardened state, a guide hole is formed by inserting a small-diameter vertical formwork into the steel pipe kept close to the groundwater vein, The method for establishing a groundwater passage hole in the steel pipe column retaining wall according to claim 1. 鋼管柱列土留壁の施工において、土留部材となる鋼管の必要根入れ長以深を、地下水脈を越えてその下の不透水層までの深さとなる、鋼管の存在しないソイルセメントだけの土留壁に形成し、ソイルセメントの硬化後、通水対象範囲の上にある鋼管中よりガイド孔を穿設し、このガイド孔にウォータージェットのノズルを、挿入して、ソイルセメント壁の通水対象範囲を掘削除去し、ソイルセメント壁に地下水脈と連通する通水孔を開設することを特徴とする、鋼管柱列土留壁における地下水通水孔の開設方法。 In the construction of a steel column pillar retaining wall, the depth of the steel pipe used as the retaining member should be reduced to the required penetration depth beyond the groundwater vein to the impervious layer below it. After forming and hardening the soil cement, a guide hole is drilled from the steel pipe above the water flow target area , and a water jet nozzle is inserted into this guide hole to increase the water flow target area of the soil cement wall. A method for opening a groundwater drainage hole in a steel pipe column soil retaining wall, comprising excavating and removing and opening a drainage hole communicating with a groundwater vein in a soil cement wall. 鋼管柱列土留壁の施工において、ソイルセメントが未硬化状態のときに、通水対象範囲の上にある鋼管中に小径縦長の型枠を挿入してガイド孔を形成することを特徴とする、請求項3記載の鋼管柱列土留壁における地下水通水孔の開設方法。In the construction of the steel column pillar retaining wall, when the soil cement is in an uncured state, a guide hole is formed by inserting a small-diameter vertically long formwork into the steel pipe above the water flow target range , The method for opening a groundwater passage hole in the steel pipe column retaining wall according to claim 3.
JP28872598A 1998-09-25 1998-09-25 Opening method of groundwater holes in steel pipe column retaining wall Expired - Lifetime JP3552925B2 (en)

Priority Applications (1)

Application Number Priority Date Filing Date Title
JP28872598A JP3552925B2 (en) 1998-09-25 1998-09-25 Opening method of groundwater holes in steel pipe column retaining wall

Applications Claiming Priority (1)

Application Number Priority Date Filing Date Title
JP28872598A JP3552925B2 (en) 1998-09-25 1998-09-25 Opening method of groundwater holes in steel pipe column retaining wall

Publications (2)

Publication Number Publication Date
JP2000096555A JP2000096555A (en) 2000-04-04
JP3552925B2 true JP3552925B2 (en) 2004-08-11

Family

ID=17733889

Family Applications (1)

Application Number Title Priority Date Filing Date
JP28872598A Expired - Lifetime JP3552925B2 (en) 1998-09-25 1998-09-25 Opening method of groundwater holes in steel pipe column retaining wall

Country Status (1)

Country Link
JP (1) JP3552925B2 (en)

Families Citing this family (1)

* Cited by examiner, † Cited by third party
Publication number Priority date Publication date Assignee Title
JP2002138465A (en) * 2000-11-01 2002-05-14 Seiko Kogyo Kk Steel pipe column earth retaining wall construction method

Also Published As

Publication number Publication date
JP2000096555A (en) 2000-04-04

Similar Documents

Publication Publication Date Title
CN108612111B (en) A kind of steel pipe pile and foundation pit enclosure structure and construction method of foundation pit enclosure structure
JP2009179945A (en) Well conduit for road and its construction method
CN112983461B (en) Construction method for biasing tunnel portal in slope integrated
JP2010150821A (en) Method for reinforcing retaining wall
KR200352267Y1 (en) Slope-reinforcing structure for soil nailing having function of drainage
KR100559978B1 (en) Underground water barrier or soil pile and method for constructing water barrier or soil barrier
KR101807366B1 (en) A Foundation Method Of Continuous and Cut Off wall By Overlap Casing
JP3552925B2 (en) Opening method of groundwater holes in steel pipe column retaining wall
CN101100857A (en) Soil cement fixed pile wall based on foundation ditch supporting and construction method thereof
US12227914B2 (en) Method for providing an underground barrier for a water reservoir
KR100477357B1 (en) Construction method for retaining of earth
JP2842236B2 (en) Grout injection method into back of underground continuous wall and its injection device
KR100333024B1 (en) Grouting Horizontal directional drilling method
JP2000328561A (en) Groundwater permeation method for soil cement column retaining wall
JP3841570B2 (en) Opening method of groundwater flow hole in steel pipe column retaining wall
CN105064384A (en) Vacuum tube well precipitation system under special geological conditions
JP2000328560A (en) Construction method of steel pipe column retaining wall
KR100956316B1 (en) Grouting method using composite drawdown well for confined aquifer
JP3810882B2 (en) Construction method of cast-in-place pile in confined groundwater zone
GB2232701A (en) Mini-piled retaining wall and a method for its construction
JP2002201632A (en) Water-impervious retaining wall with groundwater flow protection function and its groundwater flow protection method
JP3568860B2 (en) Underground passage formation method
KR101011173B1 (en) Connecting device of P.P. pile, earthen wall using P.P. pile and its construction method
JP4022867B2 (en) Pre-drilling method for soft and viscous ground with high groundwater level
JP2000328558A (en) Groundwater permeation method for soil cement column retaining wall

Legal Events

Date Code Title Description
A521 Written amendment

Free format text: JAPANESE INTERMEDIATE CODE: A523

Effective date: 20040204

TRDD Decision of grant or rejection written
A01 Written decision to grant a patent or to grant a registration (utility model)

Free format text: JAPANESE INTERMEDIATE CODE: A01

Effective date: 20040426

A61 First payment of annual fees (during grant procedure)

Free format text: JAPANESE INTERMEDIATE CODE: A61

Effective date: 20040427

R150 Certificate of patent or registration of utility model

Free format text: JAPANESE INTERMEDIATE CODE: R150

FPAY Renewal fee payment (event date is renewal date of database)

Free format text: PAYMENT UNTIL: 20080514

Year of fee payment: 4

FPAY Renewal fee payment (event date is renewal date of database)

Free format text: PAYMENT UNTIL: 20090514

Year of fee payment: 5

FPAY Renewal fee payment (event date is renewal date of database)

Free format text: PAYMENT UNTIL: 20100514

Year of fee payment: 6

FPAY Renewal fee payment (event date is renewal date of database)

Free format text: PAYMENT UNTIL: 20100514

Year of fee payment: 6

FPAY Renewal fee payment (event date is renewal date of database)

Free format text: PAYMENT UNTIL: 20110514

Year of fee payment: 7

FPAY Renewal fee payment (event date is renewal date of database)

Free format text: PAYMENT UNTIL: 20120514

Year of fee payment: 8

FPAY Renewal fee payment (event date is renewal date of database)

Free format text: PAYMENT UNTIL: 20130514

Year of fee payment: 9

FPAY Renewal fee payment (event date is renewal date of database)

Free format text: PAYMENT UNTIL: 20140514

Year of fee payment: 10

EXPY Cancellation because of completion of term