JP3175968U - 管継手 - Google Patents

管継手 Download PDF

Info

Publication number
JP3175968U
JP3175968U JP2012001549U JP2012001549U JP3175968U JP 3175968 U JP3175968 U JP 3175968U JP 2012001549 U JP2012001549 U JP 2012001549U JP 2012001549 U JP2012001549 U JP 2012001549U JP 3175968 U JP3175968 U JP 3175968U
Authority
JP
Japan
Prior art keywords
end portion
pipe
sealing tongue
tube
packing
Prior art date
Legal status (The legal status is an assumption and is not a legal conclusion. Google has not performed a legal analysis and makes no representation as to the accuracy of the status listed.)
Expired - Lifetime
Application number
JP2012001549U
Other languages
English (en)
Inventor
商烈 金
高弘 宮島
Original Assignee
株式会社嶺南メタル
永東貿易商社
東亜フレックス株式会社
Priority date (The priority date is an assumption and is not a legal conclusion. Google has not performed a legal analysis and makes no representation as to the accuracy of the date listed.)
Filing date
Publication date
Application filed by 株式会社嶺南メタル, 永東貿易商社, 東亜フレックス株式会社 filed Critical 株式会社嶺南メタル
Priority to JP2012001549U priority Critical patent/JP3175968U/ja
Application granted granted Critical
Publication of JP3175968U publication Critical patent/JP3175968U/ja
Anticipated expiration legal-status Critical
Expired - Lifetime legal-status Critical Current

Links

Images

Landscapes

  • Joints That Cut Off Fluids, And Hose Joints (AREA)

Abstract

【課題】管端部の端面に補強コードが露出しているとしても、あるいは、管端部の端面に段差部が生じているとしても、その管端部の水密シール性を高めて樹脂層の膨潤を生じることを回避することのできる管継手を提供する。
【解決手段】樹脂層120に補強コード130が埋め込まれた管端部を外側から被覆する弾性を備えた筒状のパッキン10と、パッキン10を締め付けて管端部の外周面に密着させる筒状の締め輪20と、を有する。管端部に挿入される筒状のシール用舌片13の環状の根元部15がパッキン10に連設されている。シール用舌片13に挿入されてそのシール用舌片13を押し拡げる筒状コア40を具備させてある。
【選択図】図2

Description

本考案は、チューブ状の樹脂層に補強コードが埋め込まれた管端部を水密にシールするための対策が講じられた管継手に関する。
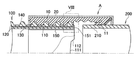
この種の管継手の先行例(たとえば、特許文献1参照)の構成及び使用状態を図7に示し、図8には図7のVIII部を拡大して示してある。
図7の管継手Aの使用対象である2本の管体100,200のうち、一方の管体100は強化樹脂管でなり、チューブ状の樹脂層120に、補強繊維や補強ネットなどによって形成された補強コード130が埋め込まれている。また、樹脂層120の外側に螺旋状の凸条140を備えていることにより、管端部110の外周面が軸方向で波形に形作られている。これに対し、他方の管体200はその外周面が平坦な樹脂管でなる。
そして、図7に示された管継手Aでは、一方の管体100の管端部110を外側から被覆している弾性を備えたゴム製でなる筒状のパッキン10を、筒状の締め輪20を用いて締め付けることによって管端部110の外周面に密着させている。また、管端部110には金属製の筒状コア150が挿入されていて、この筒状コア150が管端部110の変形を防いでいると共に、筒状コア150に設けられた環状の鍔部151が、管端部110の端面111に重ね合わされている。これに対し、他方の管体200の管端部210の外周面には、上記締め輪20を用いて締め付けられたパッキン10に一体に具備されている筒状のシール用舌片11が密着している。
このような管継手Aを用いた接続構造にあっては、各管体100,200のそれぞれの管端部の外周面とパッキン10とが高い密着性能を維持することや、管継手Aのパッキン10に対してそれぞれの管体100,200が円滑に回転できるようになっていることが望まれている。
実用新案登録第3169970号公報
しかしながら、図7を参照して説明した管継手Aを用いた接続構造を採用すると、一方の管体100の管端部110でチューブ状の樹脂層120が膨潤することがあり、その膨潤に伴って管端部110に生じた割れなどの破損箇所から水漏れを発生することが知見された。
そこで、本願考案者は、樹脂層120が膨潤する原因を突き止めるために鋭意調査を行った。その結果、図7又は図8のように、管端部110の端面111に補強繊維や補強ネットでなる補強コード130が露出しているため、管端部110の端面111で露出している補強コード130に管路を流れる水が浸み込んで樹脂層120の内部に侵入し、その結果として樹脂層120が膨潤するということを突き止めた。また、管端部110の端面111から補強コード130と樹脂層120との間に生じている不可避的な隙間に侵入した水によっても樹脂層120が膨潤するということを突き止めた。
この点に関し、筒状コア150の鍔部151が管端部110の端面111に当接しているとしても、鍔部151は、管端部110の端面111を水密にシールする機能をそなえていないので、その鍔部151によって管端部110の端面111を水密にシールすることは不可能であると云える。
ましてや、図7に示した一方の管体100のように、補強コード130によって補強された樹脂層120の外周に螺旋状の凸条140を具備させて強度をさらに高めてあるような管体100の中間部を切断してその長さ調節を行った場合には、図9を参照して次に説明するような管端部110の端面111の水密シール性に係わる問題がある。
図9は図7に示した一方の管体100の管端部110の切断端面の形状を示した概略斜視図である。同図のように、補強コード130によって補強された樹脂層120の外周に螺旋状の凸条140を具備させてあるような管体100を切断すると、その切断によって生じた端面111が管体100の軸線に対して垂直になりにくい。これは、樹脂層120に補強コード130が埋め込まれていることや、管体100の外周に備わっている螺旋状の凸条140が、管体100をその軸線に対して垂直に切断する作業の障害になること、などによる。そして、多くの場合には、同図に示したように、切断によって生じた端面111に段差部112が生じてしまう。したがって、上記のように、筒状コア150の鍔部151が管端部110の端面111に当接しているとしても、その当接箇所は管端部110の端面111の一部分だけになり、段差部112やその他の箇所は鍔部151から離れたままになって水密シール性がまったく発揮されなくなる。
本考案は、以上の事情に鑑みてなされたものであり、管端部の端面に補強コードが露出しているとしても、あるいは、管端部の端面に段差部が生じているとしても、その管端部の水密シール性を高めて樹脂層の膨潤を生じることを回避することのできる管継手を提供することを目的とする。
本考案に係る管継手は、チューブ状の樹脂層に補強コードが埋め込まれた管端部を外側から被覆する弾性を備えた筒状のパッキンと、上記管端部を被覆している上記パッキンを締め付けて管端部の外周面に密着させる筒状の締め輪と、を有する。そして、上記管端部に挿入される筒状のシール用舌片の環状の根元部が、上記パッキンに連設されていると共に、管端部に挿入された上記シール用舌片に挿入されてそのシール用舌片を押し拡げることにより、そのシール用舌片を上記管端部の内周面に密着させる筒状コアを具備させてある。
この構成を備えた本考案に係る管継手によると、締め輪によって締め付けられた筒状のパッキンが管端部の外周面に密着することと併せて、その管端部が、筒状のパッキンとこのパッキンに連設された筒状のシール用舌片との間に抱き込まれ、筒状のシール用舌片が筒状コアにより押し拡げられて管端部の内周面に密着する。そのため、管端部の端面に補強コードが露出しているとしても、あるいは、管端部の端面に段差部が生じているとしても、そのこととは関係なく、管端部が水密にシールされて、管端部の端面に露出している補強コードが管路を流れる水に接触することがなくなる。したがって、補強コードに水が浸み込んだり、管端部の端面から補強コードと樹脂層との間の不可避的な隙間に水が侵入したりすることがなくなって樹脂層の膨潤が防止され、樹脂層の膨潤に伴う管端部の破損も生じなくなる。その上、水密シール性が、管端部の外周面に密着するパッキンと管端部の内周面に密着するシール用舌片とによって管端部の水密シール性を保つものであるので、管端部の端面に段差が存在しているとしても、そのような管端部の端面の形状がパッキンに対する管体の円滑な回転を阻害するような事態が起こらない。
本考案では、上記管端部の内周面に密着される上記シール用舌片の外周面に、エッジ部を環状に突出させてある、という構成を採用することが可能である。この構成を採用すると、管端部の内周面にシール用舌片のエッジ部が押し付けられるので、管端部の内周面とシール用舌片との間の水密シール性が向上する。
本考案では、上記筒状コアに、上記シール用舌片の根元部に当接してシール用舌片に対するその筒状コアの挿入代を規制する鍔部が備わっていることが望ましい。この構成であると、筒状コアがシール用舌片の適正な挿入位置から位置ずれすることが抑制されるので、筒状コアによってシール用舌片を確実に押し拡げさせてそのシール用舌片を管端部の内周面に密着させることが可能になる。
以上のように、本考案によると、管端部が、筒状のパッキンとこのパッキンに連設された筒状のシール用舌片との間に抱き込まれ、筒状のシール用舌片が筒状コアにより押し拡げられて管端部の内周面に密着することにより、管端部の端面に補強コードが露出しているとしても、あるいは、管端部の端面に段差部が生じているとしても、その管端部の水密シール性を高めて樹脂層の膨潤を生じることを回避することが可能になる。また、管端部の端面の形状に関係なく、パッキンに対する管体の円滑な回転を阻害するような事態が起こらない。
本考案の実施形態に係る管継手の概略分解斜視図である。 管継手の使用状態を示した部分縦断側面図である。 図2のIII部の拡大図である。 パッキンの部分縦断側面図である。 図5はシール用舌片の拡大端面図である。 管端部の部分縦断側面図である。 先行例の構成及び使用状態を示した部分縦断側面図である。 図7のVIII部の拡大図である。 図7に示した一方の管体の管端部の切断端面の形状を例示した概略斜視図である。
図1は本考案の実施形態に係る管継手Aの概略分解斜視図、図2は管継手Aの使用状態を示した部分縦断側面図、図3は図2のIII部の拡大図である。また、図4はパッキン10の部分縦断側面図、図5はシール用舌片13の拡大端面図である。さらに、図6は、好ましい管端部110の断面形状を説明するための部分縦断側面図である。
この実施形態の管継手Aは、図2に示した2本の管体100,200を使用対象としている。一方の管体100は強化樹脂管でなり、管端部110を含む全長部分の外周に螺旋状の凸条140を備えている。そのため、管体100の外周面は軸方向で波形を形作っている。これに対し、他方の管体200は、その外周面が平坦な樹脂管でなる。
一方の管体100の具体例としては、たとえば、軟質ゴムや軟質塩化ビニル樹脂でなるチューブ状の樹脂層120に補強繊維や補強ネットでなる補強コード130が埋め込まれ、樹脂層120の外周に螺旋状に巻き付けられた硬質塩化ビニル樹脂線材(硬質PVC線材)がその樹脂層120に一体化されている、という構成を備えたものがある。この構成を備えた管体100は、柔軟な樹脂ホース並みの柔軟性と軽量さを有しているにもかかわらず、外圧に強くて外圧による断面形状の変形を生じにくく、加圧時の伸び変形が少なく、さらに、どの位置ででも切断することができてその長さ調節の自由度に優れている、といった性質を有している。そして、このような性質に着目して、泥水シールド工法、リバース工法といった土木工事での泥水の吸圧送、砂や砂利、ヘドロなどの吸圧送、浚渫や埋立工事での泥水の吸圧送などに広く利用されている。
図1に示した実施形態に係る管継手Aは、弾性材料の一例である合成ゴムで作られたパッキン10と、締め輪20と、図2に示した筒状コア40と、を有している。
図1に例示したパッキン10は、周方向の一箇所で分割された1つ割り形状を有している。図4によって明らかなように、パッキン10の一方側の端部からその軸方向中央部に亘る内周面に、螺旋状の凹溝部12が形成されていて、その凹溝部12が、管体100の管端部110に備わっている螺旋状の凸条140に嵌合可能である。また、パッキン10の他方側の端部には、内窄まりに形成された筒状のシール用舌片11が備わっている。
また、パッキン10には、その軸方向中央部に位置する筒状のシール用舌片13が一体に備わっている。図4のように、シール用舌片13は、パッキン10の軸方向中央部から外向きに延び出ていて、そのシール用舌片13の外周面14が、パッキン10の螺旋状の凹溝部12に対向している。また、シール用舌片13の環状の根元部15が、パッキン10の軸方向中央部に連設されている。さらに、図5に示したように、シール用舌片13の外周面には多段に亘ってエッジ部16が環状に突出されている。
図1のように、締め輪20は、ヒンジピン21によって開閉可能に連結された一対の円弧状部材22,23と、一対の円弧状部材22,23の自由端部同士を連結することによってそれらの一対の円弧状部材22,23を円筒状に保形するための結合機構を構成する締付けねじ24及びナット部材25とを備えている。また、一方側の円弧状部材22には、ヒンジピン21による連結箇所の内側に配備される円弧状の保護片26が備わり、他方側の円弧状部材23には、上記結合機構による結合箇所の内側に配備される円弧状の保護片27が備わっている。なお、結合機構を構成している締付けねじ24は、一方側の円弧状部材22の自由端部に具備されたねじ挿通孔28に挿通される。また、結合機構を構成しているナット部材25は、他方側の円弧状部材27の自由端部に保持された棒状体にねじ孔(不図示)を形成してなる。
さらに、図1に示したように、締め輪20の軸方向の両端部には内鍔形状に形成された環状の受枠部31,32が設けられている。これらの受枠部31,32は、締め輪20を形成している一対の円弧状部材22,23及び保護片26,27の軸方向の両端部に曲成したリブによって構成されている。
次に、管継手Aを使用した2本の管体100,200の接続手順及び接続構造を図2及び図3を主に参照して説明する。
一方の管体100の管端部110に筒状のパッキン10を巻き付けるか、嵌合させるか、あるいは、管端部110にパッキン10をねじ込むか、によって、その管体100の管端部110をパッキン10で外側から被覆すると共に、パッキン10の凹溝部12を管端部110の凸条140に嵌合させる。併せて、パッキン10のシール用舌片13を、管端部110に挿入する。また、筒状コア40を、管端部110に挿入されているシール用舌片13の内側に挿入することによって、シール用舌片13を押し拡げて管端部110の内周面に密着させる。次に、締め輪20の一対の円弧状部材22,23を開いた状態で、その締め輪20を一方の管体100の管端部110に嵌め込んだ後で、一対の円弧状部材22,23を閉じる。そして、結合機構を構成している締付けねじ24を一方側の円弧状部材22のねじ挿通孔28に挿通させてナット部材25のねじ孔(不図示)にねじ込んで締め付ける。
上記の接続手順を行うと、締め輪20によって締め付けられたパッキン10が、一方の管体100の管端部110の外周面に密着し、管端部110の外周面とパッキン10との相互間の水密シール性を発揮する。このため、締め輪20によって締め付けられた筒状のパッキン10が管端部110の外周面に密着することと併せて、その管端部110が、筒状のパッキン10とこのパッキン10に連設された筒状のシール用舌片13との間に抱き込まれ、筒状のシール用舌片13が筒状コア40により押し拡げられて管端部110の内周面に密着するようになる。この構成により、管端部110の端面に補強コード130が露出しているとしても、あるいは、管端部110の端面111に段差部112が生じているとしても、そのこととは関係なく、管端部110が水密にシールされて、管端部110の端面111に露出している補強コード130が管路を流れる水に接触することがなくなる。したがって、補強コード130に水が浸み込んだり、管端部110の端面111から補強コード130と樹脂層120との間の不可避的な隙間に水が侵入したりすることがなくなって樹脂層120の膨潤が防止され、樹脂層120の膨潤に伴う管端部110の破損も生じなくなる。それに加えて、水密シール性が、管端部110の外周面に密着するパッキン10と管端部110の内周面に密着するシール用舌片13とによって管端部110の水密シール性を保つものであるので、管端部110の端面111に段差112が存在しているとしても、そのような管端部110の端面111の形状がパッキン10に対する管体100の円滑な回転を阻害するような事態も起こらない。
この実施形態では、筒状コア40に、シール用舌片13の根元部15に当接してシール用舌片13に対するその筒状コア40の挿入代を規制する鍔部41が備わっている。そのため、筒状コア40がシール用舌片13の適正な挿入位置から位置ずれすることが抑制される。したがって、上記鍔部41は、筒状コア40がシール用舌片13を押し拡げてシール用舌片13を管端部110の内周面に確実に密着させることに役立つ。
また、この実施形態では、シール用舌片13の外周面に、図5に示したようにエッジ部16を環状に突出させてある。そのため、管端部110の内周面にシール用舌片13のエッジ部16が押し付けられるようになり、管端部110の内周面とシール用舌片13との間の水密シール性がいっそう向上する。
なお、他方の管体200は、締付けねじ24をナット部材25のねじ孔(不図示)にねじ込む前に、図2のように管継手Aに差し込んでその外周面にシール用舌片11を弾接させておく。
この実施形態では、締め輪20が図1に示した構成を備えているけれども、締め輪20は他の構成を備えていてもよい。すなわち、締め輪20はパッキン10を締め付けて縮径させる機能を発揮し得る構成を備えていればよい。また、パッキン10は、管端部110の外周面、すなわち、螺旋状の凸条140の表面に密着し得る柔軟性を備えているものであれば、必ずしも凹溝部12を備えていなくてもよい。
また、この実施形態では、その使用対象としての一方側の管体100が凸条140を有し、他方側の管体200が所謂ストレート管であるものを説明したけれども、2本の管体の両方に螺旋状の凸条が備わっていてもよい。そのような2本の管体を使用対象とする管継手では、パッキンの軸方向両側にシール用舌片を設けておく。
さらに、この実施形態では、図6のように管端部110の内周面に、管端に近付くほど径大になるように傾斜したテーパ面113を形成してある。このようにしておくと、シール用舌片13を管端部110に挿入しやすくなるという利点がある。
10 パッキン
13 シール用舌片
15 シール用舌片の根元部
16 エッジ部
20 締め輪
40 筒状コア
41 鍔部
110 管端部
120 樹脂層
130 補強コード

Claims (3)

  1. チューブ状の樹脂層に補強コードが埋め込まれた管端部を外側から被覆する弾性を備えた筒状のパッキンと、上記管端部を被覆している上記パッキンを締め付けて管端部の外周面に密着させる筒状の締め輪と、を有する管継手であって、
    上記管端部に挿入される筒状のシール用舌片の環状の根元部が、上記パッキンに連設されていると共に、管端部に挿入された上記シール用舌片に挿入されてそのシール用舌片を押し拡げることにより、そのシール用舌片を上記管端部の内周面に密着させる筒状コアを具備させてあることを特徴とする管継手。
  2. 上記管端部の内周面に密着される上記シール用舌片の外周面に、エッジ部を環状に突出させてある請求項1に記載した管継手。
  3. 上記筒状コアに、上記シール用舌片の根元部に当接してシール用舌片に対するその筒状コアの挿入代を規制する鍔部が備わっている請求項1又は請求項2に記載した管継手。
JP2012001549U 2012-03-21 2012-03-21 管継手 Expired - Lifetime JP3175968U (ja)

Priority Applications (1)

Application Number Priority Date Filing Date Title
JP2012001549U JP3175968U (ja) 2012-03-21 2012-03-21 管継手

Applications Claiming Priority (1)

Application Number Priority Date Filing Date Title
JP2012001549U JP3175968U (ja) 2012-03-21 2012-03-21 管継手

Publications (1)

Publication Number Publication Date
JP3175968U true JP3175968U (ja) 2012-06-07

Family

ID=48002965

Family Applications (1)

Application Number Title Priority Date Filing Date
JP2012001549U Expired - Lifetime JP3175968U (ja) 2012-03-21 2012-03-21 管継手

Country Status (1)

Country Link
JP (1) JP3175968U (ja)

Cited By (1)

* Cited by examiner, † Cited by third party
Publication number Priority date Publication date Assignee Title
CN113775588A (zh) * 2021-09-17 2021-12-10 张卫建 一种简便式液压阀

Cited By (2)

* Cited by examiner, † Cited by third party
Publication number Priority date Publication date Assignee Title
CN113775588A (zh) * 2021-09-17 2021-12-10 张卫建 一种简便式液压阀
CN113775588B (zh) * 2021-09-17 2023-12-22 扬州旭欣气动液压设备有限公司 一种简便式液压阀

Similar Documents

Publication Publication Date Title
US7232160B2 (en) Pipe clamp inner seal
KR100713243B1 (ko) 공동주택용 전선보호관 이음장치
US9523449B2 (en) Pipe coupling
JP3175968U (ja) 管継手
CA2458710C (en) Improved pipe clamp inner seal
CN210318881U (zh) 一种包塑不锈钢编织管总成
KR102632634B1 (ko) 파이프 연결용 고정 캡 조립체 및 이음관
KR100926528B1 (ko) 전력선 배선을 위한 지중하 공사용 파형관 연결구조
JP2009047302A (ja) 金属樹脂複合管の接続構造、及び該接続構造に用いる金属樹脂複合管
JP3453065B2 (ja) マンホールとリブ付き管との接続構造
KR20070013220A (ko) 분기지관 소켓 부착장치의 수밀방법
JP6367138B2 (ja) ホース接続構造およびホース接続用筒状部材
JP3175967U (ja) 管継手
JP2004084924A (ja) 可撓継手
JP4332362B2 (ja) パイプの継手構造
JP3180434U (ja) 高水密性管継手
JP4106694B2 (ja) 可撓性継手のリブ付管用締付けリング構造
KR200448884Y1 (ko) 합성수지관용 패킹
CN218386766U (zh) 一种防水型接续管
JP2004084814A (ja) 可撓管
KR101068102B1 (ko) 하수관 연결구
JP5684062B2 (ja) 枝管接続部構造
JPH0326010B2 (ja)
KR20090010011A (ko) 금속수지 복합관의 접속구조 및 상기 접속구조에사용되는 금속수지 복합관
JP2009293763A (ja) 管継ぎ手及び管の接続方法

Legal Events

Date Code Title Description
R150 Certificate of patent or registration of utility model

Ref document number: 3175968

Country of ref document: JP

Free format text: JAPANESE INTERMEDIATE CODE: R150

Free format text: JAPANESE INTERMEDIATE CODE: R150

FPAY Renewal fee payment (event date is renewal date of database)

Free format text: PAYMENT UNTIL: 20150509

Year of fee payment: 3

R250 Receipt of annual fees

Free format text: JAPANESE INTERMEDIATE CODE: R250

R250 Receipt of annual fees

Free format text: JAPANESE INTERMEDIATE CODE: R250

R250 Receipt of annual fees

Free format text: JAPANESE INTERMEDIATE CODE: R250

R250 Receipt of annual fees

Free format text: JAPANESE INTERMEDIATE CODE: R250

R250 Receipt of annual fees

Free format text: JAPANESE INTERMEDIATE CODE: R250

R250 Receipt of annual fees

Free format text: JAPANESE INTERMEDIATE CODE: R250

R250 Receipt of annual fees

Free format text: JAPANESE INTERMEDIATE CODE: R250

EXPY Cancellation because of completion of term