JP3175207U - 袖付き衣服 - Google Patents

袖付き衣服 Download PDF

Info

Publication number
JP3175207U
JP3175207U JP2012000721U JP2012000721U JP3175207U JP 3175207 U JP3175207 U JP 3175207U JP 2012000721 U JP2012000721 U JP 2012000721U JP 2012000721 U JP2012000721 U JP 2012000721U JP 3175207 U JP3175207 U JP 3175207U
Authority
JP
Japan
Prior art keywords
sleeve
armhole
sleeves
fabric
garment
Prior art date
Legal status (The legal status is an assumption and is not a legal conclusion. Google has not performed a legal analysis and makes no representation as to the accuracy of the status listed.)
Expired - Lifetime
Application number
JP2012000721U
Other languages
English (en)
Inventor
茂 尾崎
Original Assignee
尾崎商事株式会社
Priority date (The priority date is an assumption and is not a legal conclusion. Google has not performed a legal analysis and makes no representation as to the accuracy of the date listed.)
Filing date
Publication date
Application filed by 尾崎商事株式会社 filed Critical 尾崎商事株式会社
Priority to JP2012000721U priority Critical patent/JP3175207U/ja
Application granted granted Critical
Publication of JP3175207U publication Critical patent/JP3175207U/ja
Anticipated expiration legal-status Critical
Expired - Lifetime legal-status Critical Current

Links

Images

Landscapes

  • Outer Garments And Coats (AREA)
  • Details Of Garments (AREA)

Abstract

【課題】腕に対する袖の動作性を高め、上挙時においても裾の吊り上がりを抑えて静立安定時と同様に良好な外観品位を保つことができるセーラー服などの袖付き衣服を提供する。
【解決手段】身頃の両側上部に袖を縫着してなる袖付き衣服において、袖3は一枚袖仕様であって、その袖3のアームホール7における袖脇底部分に、袖3の生地による舌片状の張出し部6が突出形成され、この張出し部6を含む袖3のアームホール7の縁を、身頃のアームホールの縁に沿わせながらその双方を互いに縫い合わせることで、前記張出し部6の生地のたるみによる膨出部が形成され、この膨出部が身頃の脇の内側に凹んで入り込む状態に収納されている。
【選択図】 図3

Description

この考案は、女子中学生や女子高校生が通学用として着用するセーラー服などの袖付き衣服に関する。
セーラー服などの袖付き衣服は、例えば特開2002−161422公報(特許文献1)に見られるように、身体の上半身を覆う身頃の両側上部に袖を縫着してなる。袖は、生地を筒状に縫合してなり、その袖脇側のアームホールが身頃のアームホールに縫合される。セーラー服の場合、袖は一枚の生地を筒状に縫合してなる一枚袖仕様のものが一般的である。袖のアームホールは、身頃のアームホールとほぼ同形状の寸法に仕上げられ、その袖のアームホールの周縁が身頃のアームホールの周縁に縫合される。
特開2002−161422号公報
このような袖付き衣服としてのセーラー服は、腕を下げた静立安定時には良好なシルエットの外観品位が得られるが、着衣者が腕を挙げる上挙の姿勢をとったとき、すなわち挙手したり、電車の吊り革に手を掛けたりしたときに、袖の動きに伴って身頃の裾がその袖側に吊り上がるように傾斜し、外観品位が損なわれてしまう。
従来一般の袖付き衣服は、身頃のアームホールと袖のアームホールとがほぼ同形同寸法であって、静立安定時の姿勢を基準にして袖を身頃に縫着しているため、上挙の姿勢をとったときに身頃の裾の片側が吊り上がって傾く不体裁な型崩れが生じてしまう。
特にセーラー服の場合、身頃の着丈が短く、このため上挙時に身頃の裾の片側が吊り上がって傾くと、その身頃の下側の着衣が露出し、より不体裁で見苦しい外観となってしまう。
この考案はこのような課題に着目してなされたもので、その目的とするところは、腕に対する袖の動作性を高め、上挙時においても身頃の裾の吊り上がりを抑えて静立安定時と同様に良好な外観品位を保つことができる袖付き衣服を提供することにある。
この考案は、身頃の両側上部に袖を縫着してなる袖付き衣服であって、袖は一枚袖仕様で、その袖のアームホールにおける袖脇底部分に、袖の生地による舌片状の張出し部を突出形成し、この張出し部を含む袖のアームホールの縁を、身頃のアームホールの縁に沿わせながらその双方を互いに縫い合わせることで、前記張出し部の生地のたるみによる膨出部を形成し、この膨出部が身頃の脇の内側に凹んで入り込む状態に収納してなることを特徴としている。
この考案の袖付き衣服によれば、着用者が腕を上に挙げる動作をとったときに、袖の脇底部に生地のたるみによる膨出部があるため、その膨出部のたるみのゆとりで、袖の動作に伴う身頃裾の吊り上がり量が軽減され、したがって腕の上げ下げによる身頃裾の傾きが従来の袖付き衣服に比べて少なくなり、これにより身頃の下側の着衣が露出しにくくなり、外観品位の低下を軽減することができる。
袖の脇底部のゆとりの膨出部は、身頃の脇の内側に凹んで入り込むように収納されており、したがって腕を下げた静立安定時には、膨出部が身頃の脇の内側に隠れて外部に露出せず、したがって静立安定時の外観品位も良好に保つことができる。
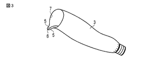
この考案の一実施形態に係る袖付き衣服としてのセーラー服を示す正面図。 そのセーラー服の袖のパターンを示す平面図。 そのセーラー服の袖を示す斜視図。 そのセーラー服の袖のアームホールと身頃のアームホールを示す正面図。 そのセーラー服の袖の縫着部を示す正面図。
以下、この考案の実施の形態について図面を参照して説明する。
図1には、袖付き衣服としてのセーラー服を示してあり、このセーラー服は身体の上半身を覆う身頃1と、この身頃1の中央上部に縫着されたセーラーカラー2と、身頃1の両側上部に縫着された袖3とからなる。
袖3は一枚の生地を筒状に縫合してなる一枚袖仕様のもので、そのパターンを図2に示してある。袖3の生地3aの袖脇側縁部には、滑らかな山形状に突出する突出部4が裁断形成されていると共に、その突出部4の両側の山形の裾部分に、その裾からやや突出部4の突出側に盛り上がる隆起部5が連なって裁断形成されている。
このパターンの生地3aの両側縁同士を縫合することで、図3及び図4(A)に示すように筒状の袖3が仕上げられる。この袖3においては、図4(A)に示すように、袖脇側のアームホール7が上下に長い楕円形となるが、前記隆起部5の存在によりその楕円形の下側部分、つまり袖脇底部分に隆起部5の生地による舌片状の張出し部6が突出形成される。
一方、身頃1の両側上部には、図4(B)に示すように、上下に長い楕円形のアームホール8が形成されている。そしてこの身頃1のアームホール8に袖3のアームホール7を縫合することで袖付き衣服が仕上げられる。
身頃1のアームホール8に袖3のアームホール7を縫合するときには、身頃1のアームホール8の縁に袖3のアームホール7の縁を沿わせながらその双方を互いに縫い合わせるわけであるが、袖3のアームホール7の一部には舌片状の張出し部6が突出しているから、その張出し部6の縁の部分を身頃1のアームホール8の縁の一部に沿わせて縫い合わせる。
張出し部6の縁を身頃1のアームホール8に縫合することで、その張出し部6の生地にたるみが生じる。すなわち、図5に示すように、袖3の脇底部に張出し部6の生地のたるみによる袋状の膨出部9が形成される。この袋状の膨出部9は、身頃1の脇の内側に凹んで入り込むように収納される。
このような縫製工程で身頃1の上部両側に袖3が縫合され、セーラー服が仕上げられる。このようなセーラー服においては、着用者が腕を上に挙げる動作をとったときに、袖3の脇底部に生地のたるみによる膨出部9があるため、その膨出部9のたるみのゆとりで、袖3の動作に伴う身頃裾の吊り上がり量が軽減され、したがって腕の上げ下げによる身頃裾の傾きが従来の袖付き衣服に比べて少なくなり、これにより身頃1の下側の着衣が露出しにくくなり、外観品位の低下を軽減することができる。
また、本実施形態の袖3の脇底部には膨出部9によるゆとりがあるため、腕を挙げるときに脇下に突っ張り感や窮屈感が生じることがなく、運動機能性に富む快適な着用感が得られる。
袖3の脇底部のゆとりの膨出部9は、身頃1の脇の内側に凹んで入り込むように収納されており、したがって腕を下げた静立安定時には、膨出部9が身頃1の脇の内側に隠れ外部に露出せず、したがって静立安定時の外観品位も良好に保つことができる。
なお、この考案は、セーラー服に適用する場合に限らず、ジャケット類などの袖付き衣服においても適用することができる。
1…身頃
2…セーラーカラー
3…袖
4…突出部
5…隆起部
6…張出し部
7…袖のアームホール
8…身頃のアームホール
9…膨出部

Claims (1)

  1. 身頃の両側上部に袖を縫着してなる袖付き衣服において、
    袖は一枚袖仕様であって、その袖のアームホールにおける袖脇底部分に、袖の生地による舌片状の張出し部が突出形成され、この張出し部を含む袖のアームホールの縁を、身頃のアームホールの縁に沿わせながらその双方を互いに縫い合わせることで、前記張出し部の生地のたるみによる膨出部が形成され、この膨出部が身頃の脇の内側に凹んで入り込む状態に収納されていることを特徴とする袖付き衣服。
JP2012000721U 2012-02-13 2012-02-13 袖付き衣服 Expired - Lifetime JP3175207U (ja)

Priority Applications (1)

Application Number Priority Date Filing Date Title
JP2012000721U JP3175207U (ja) 2012-02-13 2012-02-13 袖付き衣服

Applications Claiming Priority (1)

Application Number Priority Date Filing Date Title
JP2012000721U JP3175207U (ja) 2012-02-13 2012-02-13 袖付き衣服

Publications (1)

Publication Number Publication Date
JP3175207U true JP3175207U (ja) 2012-04-26

Family

ID=48002277

Family Applications (1)

Application Number Title Priority Date Filing Date
JP2012000721U Expired - Lifetime JP3175207U (ja) 2012-02-13 2012-02-13 袖付き衣服

Country Status (1)

Country Link
JP (1) JP3175207U (ja)

Cited By (1)

* Cited by examiner, † Cited by third party
Publication number Priority date Publication date Assignee Title
JP6696662B1 (ja) * 2019-02-18 2020-05-20 トラタニ株式会社 衣料の上半身部

Cited By (3)

* Cited by examiner, † Cited by third party
Publication number Priority date Publication date Assignee Title
JP6696662B1 (ja) * 2019-02-18 2020-05-20 トラタニ株式会社 衣料の上半身部
WO2020170292A1 (ja) * 2019-02-18 2020-08-27 トラタニ株式会社 衣料の上半身部
US11950649B2 (en) 2019-02-18 2024-04-09 Toratani Co., Ltd. Upper body of garment

Similar Documents

Publication Publication Date Title
JP5391377B2 (ja) 袖付き衣服及び袖付き衣服用型紙
JP4769956B2 (ja) ズボン
JP3175207U (ja) 袖付き衣服
KR101443338B1 (ko) 착용감이 개선된 한복 저고리
JP5314211B1 (ja) バストアップの調節機能を有する下着
KR20120002777A (ko) 의류의 처짐 방지 구조
JP2010018900A (ja) 上着
JP2008025056A (ja) カップ部を有する衣類
JP6291126B1 (ja) カップ部を有する衣類及びその製造方法
JP5383165B2 (ja) アクセサリーの着脱自在な被服
JP4163775B2 (ja) 袖付き衣服
JP3191996U (ja) セーラー服
JP3158867U (ja) 衣服
JP5377950B2 (ja) 上衣
JP3215271U (ja) 袖の長さを調整可能な上着
JP6715545B1 (ja) 和服
JP6714761B1 (ja) 和服
JP2007162162A (ja) 作業用ユニフォームの上衣
JP3187260U (ja) 上着
JP5420524B2 (ja) 上着
JP4093905B2 (ja) 上着
JP5134151B1 (ja) 上衣
JP3190701U (ja) 袖付きエプロン
JP3187816U (ja) ハーフトップ
JP3137864U (ja) 着脱可能なポケットを取り付けた室内着

Legal Events

Date Code Title Description
R150 Certificate of patent or registration of utility model

Ref document number: 3175207

Country of ref document: JP

Free format text: JAPANESE INTERMEDIATE CODE: R150

Free format text: JAPANESE INTERMEDIATE CODE: R150

FPAY Renewal fee payment (event date is renewal date of database)

Free format text: PAYMENT UNTIL: 20150404

Year of fee payment: 3

S533 Written request for registration of change of name

Free format text: JAPANESE INTERMEDIATE CODE: R323533

R350 Written notification of registration of transfer

Free format text: JAPANESE INTERMEDIATE CODE: R350

R250 Receipt of annual fees

Free format text: JAPANESE INTERMEDIATE CODE: R250

R250 Receipt of annual fees

Free format text: JAPANESE INTERMEDIATE CODE: R250

R250 Receipt of annual fees

Free format text: JAPANESE INTERMEDIATE CODE: R250

R250 Receipt of annual fees

Free format text: JAPANESE INTERMEDIATE CODE: R250

EXPY Cancellation because of completion of term