JP2025096876A - Earthquake-resistant reinforcement structure - Google Patents

Earthquake-resistant reinforcement structure Download PDF

Info

Publication number
JP2025096876A
JP2025096876A JP2023212844A JP2023212844A JP2025096876A JP 2025096876 A JP2025096876 A JP 2025096876A JP 2023212844 A JP2023212844 A JP 2023212844A JP 2023212844 A JP2023212844 A JP 2023212844A JP 2025096876 A JP2025096876 A JP 2025096876A
Authority
JP
Japan
Prior art keywords
reinforcing
vertical
corner portion
plate portion
metal fitting
Prior art date
Legal status (The legal status is an assumption and is not a legal conclusion. Google has not performed a legal analysis and makes no representation as to the accuracy of the status listed.)
Pending
Application number
JP2023212844A
Other languages
Japanese (ja)
Inventor
巧 赤堀
Takumi Akahori
健嗣 田中
Kenji Tanaka
武史 福原
Takeshi Fukuhara
悟史 掛
Satoshi Kake
勇樹 井戸硲
Yuki Idosako
Current Assignee (The listed assignees may be inaccurate. Google has not performed a legal analysis and makes no representation or warranty as to the accuracy of the list.)
Takenaka Komuten Co Ltd
Original Assignee
Takenaka Komuten Co Ltd
Priority date (The priority date is an assumption and is not a legal conclusion. Google has not performed a legal analysis and makes no representation as to the accuracy of the date listed.)
Filing date
Publication date
Application filed by Takenaka Komuten Co Ltd filed Critical Takenaka Komuten Co Ltd
Priority to JP2023212844A priority Critical patent/JP2025096876A/en
Publication of JP2025096876A publication Critical patent/JP2025096876A/en
Pending legal-status Critical Current

Links

Images

Landscapes

  • Working Measures On Existing Buildindgs (AREA)

Abstract

To provide an earthquake-resistant reinforcing structure that can prevent punching shear fracture at a joint portion with reasonable reinforcement, even when a cross section of a column or a horizontal member is small or the concrete strength is low, so that the effect of reinforcement by reinforcing walls can be fully demonstrated.SOLUTION: In an earthquake-resistant reinforcement structure in which a reinforcing wall 10 is installed on a vertical structural plane 4 surrounded by neighboring columns 1 and upper and lower horizontal members 2, 3 erected on the columns 1, a reinforcing metal fitting 20 is provided which is installed between an internal corner portion 4A of the vertical structural plane 4 and a corner portion 10A of the reinforcing wall 10 in a state where it is joined to the internal corner portion 4A of the vertical structural plane 4 and the corner portion 10A of the reinforcing wall 10 arranged opposite to the internal corner portion 4A. The reinforcing metal fitting 20 has an L-shaped cross section having a vertical plate portion 21 and a horizontal plate portion 22, and the vertical plate portion 21 is joined to the column 1 with a post-installed anchor 5, and the horizontal plate portion 22 is joined to the horizontal members 2, 3 with a post-installed anchor 6.SELECTED DRAWING: Figure 1

Description

特許法第30条第2項適用申請有り 令和5年9月12日~9月15日開催の2023年度日本建築学会大会(近畿)学術講演会にて公開Application for application of Article 30, Paragraph 2 of the Patent Act has been filed. The work will be presented at the 2023 Annual Meeting of the Architectural Institute of Japan (Kinki) held from September 12 to 15, 2023.

本発明は、隣り合う柱と当該柱に架設された上下の梁やフラットスラブなどの水平部材とで囲まれた鉛直構面に補強壁が設置される耐震補強構造に関する。 The present invention relates to an earthquake-resistant reinforcement structure in which a reinforcing wall is installed on a vertical structural surface surrounded by adjacent columns and horizontal members such as upper and lower beams and flat slabs erected on the columns.

上記のような耐震補強構造においては、地震などが発生した場合に、補強壁の対角線上に生じる圧縮ストラットによって応力が伝達されることがある。この場合、ストラットと接触する柱や水平部材の端部に大きなパンチングシア応力が発生する。そのため、柱や水平部材の断面が小さい場合やコンクリート強度が低い場合に適用すると、補強壁の水平耐力が発揮される前に、柱や水平部材の端部においてパンチングシア破壊が生じることがあり、これにより、補強壁による補強効果が十分に発揮されないことがある。 In earthquake-resistant reinforcement structures such as those described above, when an earthquake or other event occurs, stress may be transmitted by the compression struts that arise diagonally in the reinforced wall. In this case, large punching shear stress occurs in the ends of columns and horizontal members that come into contact with the struts. Therefore, when applied to columns and horizontal members with small cross sections or low concrete strength, punching shear failure may occur at the ends of columns and horizontal members before the horizontal strength of the reinforced wall is exerted, which may prevent the reinforcement effect of the reinforced wall from being fully exerted.

ここで、特許文献1には、建物の柱梁架構内の内周に、鉄筋コンクリート造の補強壁(補強部材)を組み込み、両者間に、アンカー筋を介在させることなく、注入・固化させた充填材のみによって地震時に生じるせん断力を伝達可能に一体的に接合するとともに、柱梁架構の少なくとも柱頭部に、補強壁から作用するせん断力に対して柱の耐力を増大させる横拘束補強を施す架構の補強構造が記載されている。 Patent Document 1 describes a reinforcement structure in which a reinforced concrete wall (reinforcing member) is built into the inner circumference of the column-beam frame of a building, and the two are joined together integrally so that shear forces generated during an earthquake can be transmitted using only injected and solidified filler material, without the need for anchor bars, and in which lateral restraint reinforcement is applied to at least the column heads of the column-beam frame to increase the strength of the columns against shear forces acting from the reinforcing wall.

特許第3870871号公報Patent No. 3870871

そこで、前述した耐震補強構造において、特許文献1に記載の技術(横拘束補強)を適用することが考えられるが、この技術は、鉄筋コンクリート造の柱部材に鋼板又は炭素繊維などを巻回して補強するものであり、柱部材の補強構面以外の面に対しても施工が必要な不合理なものであることから、施工性の面で改善の余地がある。又、架構の縦横比が小さい架構においては、水平部材に生じるパンチングシア応力も大きくなることで、水平部材に対しても補強する必要が生じるが、水平部材は、一般的にはスラブが接合された梁やフラットスラブなどであることから、特許文献1に記載の技術(横拘束補強)を適用するには不向きである。 It is therefore conceivable to apply the technology described in Patent Document 1 (lateral restraint reinforcement) to the above-mentioned earthquake-resistant reinforcement structure, but this technology involves wrapping steel plates or carbon fiber around reinforced concrete column members to reinforce them, and as this is irrational and requires construction on surfaces other than the reinforced structural surface of the column member, there is room for improvement in terms of workability. Furthermore, in frames with a small aspect ratio, the punching shear stress generated in the horizontal members also becomes large, making it necessary to reinforce the horizontal members as well, but as horizontal members are generally beams with slabs joined or flat slabs, it is not suitable to apply the technology described in Patent Document 1 (lateral restraint reinforcement).

この実情に鑑み、本発明の主たる課題は、柱や水平部材の断面が小さい場合やコンクリート強度が低い場合であっても、合理的な補強で、仕口部でのパンチングシア破壊を防止できるようにして、補強壁による補強効果を十分に発揮できるようにする点にある。 In light of this situation, the main objective of this invention is to provide a method for preventing punching shear failure at joints through rational reinforcement, even when the cross-sections of columns and horizontal members are small or the concrete strength is low, thereby enabling the reinforcing effect of reinforced walls to be fully demonstrated.

本発明の第1特徴構成は、隣り合う柱と当該柱に架設された上下の水平部材とで囲まれた鉛直構面に補強壁が設置される耐震補強構造であって、
前記鉛直構面の入隅部と当該入隅部に対向配置される前記補強壁の隅角部とに接合された状態で、前記鉛直構面の入隅部と前記補強壁の隅角部との間に設置される補強金具が備えられ、
前記補強金具は、垂直プレート部と水平プレート部とを有する断面L字形で、前記垂直プレート部が前記柱にあと施工アンカーで接合され、かつ、前記水平プレート部が前記水平部材にあと施工アンカーで接合されている点にある。
The first characteristic configuration of the present invention is an earthquake-resistant reinforcement structure in which a reinforcing wall is installed on a vertical structural surface surrounded by adjacent columns and upper and lower horizontal members erected on the columns,
A reinforcing metal fitting is provided between the inside corner portion of the vertical structural surface and the corner portion of the reinforcing wall arranged opposite to the inside corner portion, and the reinforcing metal fitting is installed between the inside corner portion of the vertical structural surface and the corner portion of the reinforcing wall in a state where the reinforcing metal fitting is joined to the inside corner portion of the vertical structural surface and the corner portion of the reinforcing wall arranged opposite to the inside corner portion,
The reinforcing metal fitting has an L-shaped cross-section having a vertical plate portion and a horizontal plate portion, the vertical plate portion being joined to the column with a post-installed anchor, and the horizontal plate portion being joined to the horizontal member with a post-installed anchor.

本構成によると、地震などによって補強壁の対角線上に圧縮ストラットが発生すると、その圧縮ストラットによって柱や水平部材(梁やフラットスラブなど)の端部に作用するパンチングシア応力のうち、柱の端部に作用するパンチングシア応力の水平成分の一部が、水平プレート部を接合するあと施工アンカーのせん断耐力によって水平部材に伝達され、水平部材の軸力として、柱と水平部材の仕口部に伝達される。そして、このような応力伝達が行われることにより、柱の端部に作用するパンチングシア応力の水平成分が少なくなる。 According to this configuration, when a compression strut is generated diagonally on the reinforced wall due to an earthquake or the like, part of the horizontal component of the punching shear stress acting on the end of the column, out of the punching shear stress acting on the end of the column due to the compression strut, is transmitted to the horizontal member by the shear strength of the post-installed anchor that joins the horizontal plate section, and is transmitted to the joint between the column and the horizontal member as the axial force of the horizontal member. This stress transmission reduces the horizontal component of the punching shear stress acting on the end of the column.

又、水平部材の端部に作用するパンチングシア応力の鉛直成分の一部が、垂直プレート部を接合するあと施工アンカーのせん断耐力によって柱に伝達され、柱の軸力として前述した仕口部に伝達される。そして、このような応力伝達が行われることにより、水平部材の端部に作用するパンチングシア応力の鉛直成分が少なくなる。 In addition, part of the vertical component of the punching shear stress acting on the end of the horizontal member is transmitted to the column by the shear strength of the post-installed anchors that join the vertical plate section, and is transmitted to the joint section mentioned above as the axial force of the column. This type of stress transmission reduces the vertical component of the punching shear stress acting on the end of the horizontal member.

そして、上記の応力伝達に有効なあと施工アンカーのせん断耐力は、柱と水平部材とに打設されたあと施工アンカーの断面積に比例することから、あと施工アンカーの本数と径とを調整することで、必要なせん断耐力を容易に確保することができる。 The shear strength of the post-installed anchors, which are effective in transmitting the above-mentioned stress, is proportional to the cross-sectional area of the post-installed anchors driven into the column and horizontal member, so the required shear strength can be easily ensured by adjusting the number and diameter of the post-installed anchors.

これにより、例えば、柱や水平部材の断面が小さい場合やコンクリート強度が低い場合には、断面L字形の補強金具を、前述した応力伝達に必要なせん断耐力を確保するのに適した本数や径のあと施工アンカーを使用して柱と水平部材とに接合した状態で、鉛直構面の入隅部と補強壁の隅角部との間に設置することで、鉛直構面の入隅部を、必要なせん断耐力が確保された好適な状態に合理的に補強することができる。 For example, when the cross-section of a column or horizontal member is small or the concrete strength is low, L-shaped reinforcing metal fittings can be installed between the inside corner of the vertical structural member and the corner of the reinforcing wall, with the reinforcing metal fittings joined to the column and horizontal member using post-installed anchors with a number and diameter appropriate to ensure the shear strength required for the stress transfer described above, thereby rationally reinforcing the inside corner of the vertical structural member in an optimal state that ensures the necessary shear strength.

そして、このような補強を行うことで、地震時などに発生する圧縮ストラットに起因した柱や水平部材の端部におけるパンチングシア破壊を防止することができる。 By carrying out this type of reinforcement, it is possible to prevent punching shear failure at the ends of columns and horizontal members caused by compression struts during earthquakes, etc.

その結果、柱や水平部材の断面が小さい場合やコンクリート強度が低い場合にかかわらず、前述した合理的な補強を行うことで、地震時などに発生する圧縮ストラットに起因した柱や水平部材の端部でのパンチングシア破壊を防止することができ、補強壁による補強効果を十分に発揮させることができる。 As a result, even if the cross-section of the columns or horizontal members is small or the concrete strength is low, by implementing the rational reinforcement described above, punching shear failure at the ends of columns or horizontal members caused by compression struts that occurs during earthquakes, etc., can be prevented, and the reinforcing effect of the reinforced wall can be fully demonstrated.

本発明の第2特徴構成は、前記補強金具における前記鉛直構面の面外方向の両端側には、前記垂直プレート部と前記水平プレート部とにわたる一対の補強リブが、前記補強壁の壁厚よりも広い間隔を有して接合されている点にある。 The second characteristic feature of the present invention is that a pair of reinforcing ribs that span the vertical plate portion and the horizontal plate portion are joined to both ends of the reinforcing metal fitting in the out-of-plane direction of the vertical structural plane with a gap wider than the wall thickness of the reinforcing wall.

本構成によると、一対の補強リブにて補強金具の保形性を高めることができる。これにより、地震などが発生した場合における、補強金具を介したあと施工アンカーのせん断耐力による応力伝達を適切に行うことができる。
その結果、あと施工アンカーのせん断耐力を好適に発揮させることができ、地震時などに発生する圧縮ストラットに起因した柱や水平部材の端部でのパンチングシア破壊をより確実に防止することができる。
According to this configuration, the pair of reinforcing ribs can improve the shape retention of the reinforcing metal fitting, which allows appropriate stress transmission by the shear strength of the post-installed anchor via the reinforcing metal fitting in the event of an earthquake or other disaster.
As a result, the shear strength of the post-installed anchor can be optimally demonstrated, and punching shear failure at the ends of columns and horizontal members caused by compression struts during earthquakes, etc. can be more reliably prevented.

又、例えば、補強壁がコンクリートブロックを積み上げて構築される組積造のブロック壁である場合には、各補強リブの位置を、コンクリートブロックを積み上げる際の指標として使用することができる。
その結果、補強壁を組積造のブロック壁とする場合の施工性を向上させることができる。
Furthermore, for example, if the reinforcing wall is a masonry block wall constructed by piling up concrete blocks, the position of each reinforcing rib can be used as a guide when piling up the concrete blocks.
As a result, workability can be improved when the reinforcing wall is a masonry block wall.

更に、一対の補強リブを、柱又は水平部材と補強壁との間にモルタルなどを充填してそれらを一体化させる場合の型枠の一部として使用することができるとともに、その型枠を設置する際の設置基準として使用することができる。
その結果、モルタルなどで柱及び水平部材と補強壁とを一体化させる場合の施工性を向上させることができる。
Furthermore, the pair of reinforcing ribs can be used as part of a formwork when mortar or the like is filled between a column or horizontal member and a reinforcing wall to integrate them, and can also be used as an installation guide when setting up the formwork.
As a result, workability can be improved when integrating columns and horizontal members with reinforcing walls using mortar or the like.

本発明の第3特徴構成は、前記補強金具が、前記鉛直構面の面外方向で一対の分割体に分割された二分割構造に構成され、
前記分割体のそれぞれが、前記柱又は前記水平部材に複数の前記あと施工アンカーで接合されている点にある。
The third characteristic configuration of the present invention is that the reinforcing metal fitting is configured to have a two-part structure divided into a pair of divided bodies in the out-of-plane direction of the vertical structural face,
Each of the divided bodies is connected to the pillar or the horizontal member by a plurality of the post-installed anchors.

本構成によると、補強金具が、軽量で扱い易い一対の分割体に分割された二分割構造であることにより、柱と水平部材との仕口部を補強金具で補強する際の施工性を向上させることができる。 With this configuration, the reinforcing metal fitting has a two-piece structure divided into a pair of lightweight, easy-to-handle sections, which improves workability when reinforcing the joint between the pillar and horizontal member with the reinforcing metal fitting.

鉛直構面に補強壁及び補強金具を備えた耐震補強構造を示す正面図Front view of earthquake-resistant reinforcement structure with reinforcement walls and reinforcement metal fittings on the vertical structure 補強壁及び補強金具の構成などを示す耐震補強構造の下部側斜視図A perspective view of the lower part of the earthquake-resistant reinforcement structure showing the configuration of the reinforcement wall and the reinforcement metal fittings. 補強壁及び補強金具の構成などを示す耐震補強構造の上部側斜視図A perspective view of the upper side of the earthquake-resistant reinforcement structure showing the configuration of the reinforcement wall and the reinforcement metal fittings. 補強金具の構成などを示す要部の垂直断面図Vertical cross-sectional view of the main part showing the structure of the reinforcing metal fittings 補強金具の構成などを示す要部の水平断面図Horizontal cross-sectional view of the main part showing the structure of the reinforcing metal fittings 補強金具設置工程などで補強金具を鉛直構面に設置した状態を示す正面図A front view showing the state in which the reinforcing metal fittings are installed on the vertical structural surface during the reinforcing metal fitting installation process, etc. 最下段ブロック積み重ね工程などで補強壁の最下段のブロックを積み上げた状態を示す正面図A front view showing the state in which the bottom block of the reinforcement wall has been stacked during the bottom block stacking process, etc. 第1~3の布積み工程などで第1所定段数までブロックを積み上げた状態を示す正面図FIG. 11 is a front view showing a state in which blocks have been stacked up to a first predetermined number of stages in the first to third cloth stacking steps, etc. 第2~3の布積み工程などで第2所定段数までブロックを積み上げた状態を示す正面図FIG. 11 is a front view showing a state in which blocks have been stacked up to a second predetermined number of stages in the second and third cloth stacking steps, etc. 最上段ブロック布積み工程などで補強壁の最上段のブロックを積み上げた状態を示す正面図A front view showing the top block of a reinforced wall stacked during the top block stacking process. 別実施形態での補強金具の構成などを示す要部の水平断面図FIG. 13 is a horizontal cross-sectional view of a main portion showing the configuration of a reinforcing metal fitting in another embodiment.

以下、本発明に係る耐震補強構造を実施するための形態の一例を図面に基づいて説明する。 Below, an example of a form for implementing the earthquake-resistant reinforcement structure according to the present invention will be described with reference to the drawings.

図1に示すように、本実施形態で例示する耐震補強構造は、RC造(鉄筋コンクリート造)の隣り合う柱1と、隣り合う柱1に架設された上側の水平部材であるRC造の梁2と、隣り合う柱1に架設された下側の水平部材である床スラブ3やその下方の梁(図示せず)で囲まれた鉛直構面4に補強壁10が設置されることで構築されている。
尚、柱1や梁2としては、RC造に限らず、例えばSRC造(鉄骨鉄筋コンクリート造)やS造(鉄骨造)などであってもよい。水平部材としては、梁2や床スラブ3に限らず、例えばフラットスラブなどであってもよい。
As shown in FIG. 1, the earthquake-resistant reinforcement structure exemplified in this embodiment is constructed by installing a reinforcing wall 10 on a vertical structural surface 4 surrounded by adjacent reinforced concrete (RC) columns 1, RC beams 2 which are upper horizontal members erected on the adjacent columns 1, and a floor slab 3 which is a lower horizontal member erected on the adjacent columns 1 and a beam (not shown) below the floor slab 3.
The columns 1 and beams 2 are not limited to RC construction, but may be, for example, SRC construction (steel reinforced concrete construction) or S construction (steel frame construction), etc. The horizontal members are not limited to the beams 2 and floor slabs 3, but may be, for example, flat slabs.

図1~3に示すように、補強壁10は、多数のコンクリートブロック11~15を布積みして構築されたブロック壁である。多数のコンクリートブロック11~15のうち、第1ブロック11と第2ブロック12は、その上下両端面がV字状に凹入する蝶形に形成されている。第3ブロック13と第4ブロック14は、その上下一端面のみがV字状に凹入する形状に形成されている。第5ブロック15は、第1ブロック11を左右に二等分した台形に形成されている。各ブロック11~15は、布積みなどによって他のブロック11~15などに隣接される際には、隣接するブロック11~15などにエポキシ樹脂などの接着剤にて接着される。
尚、補強壁10としては、コンクリートブロック11~15に限らず、木製ブロックや煉瓦などを布積みして構築されたものであってもよい。又、コンクリートブロック11~15などを布積みしたブロック壁に限らず、RC壁(鉄筋コンクリート壁)や直交集成板を使用したCLT壁などであってもよい。コンクリートブロック11~15の形状としては、前述した蝶形や台形などに限らず、長方形や正方形などの四角形、又は、扁平な六角形などであってもよい。
As shown in Figures 1 to 3, the reinforcing wall 10 is a block wall constructed by stacking a number of concrete blocks 11 to 15. Of the number of concrete blocks 11 to 15, the first block 11 and the second block 12 are formed into a butterfly shape with both upper and lower end faces concave in a V shape. The third block 13 and the fourth block 14 are formed into a shape with only one upper and lower end faces concave in a V shape. The fifth block 15 is formed into a trapezoid by dividing the first block 11 into two equal parts, left and right. When each block 11 to 15 is adjacent to other blocks 11 to 15 by stacking or the like, it is bonded to the adjacent blocks 11 to 15 with an adhesive such as epoxy resin.
The reinforcing wall 10 is not limited to the concrete blocks 11 to 15, but may be constructed by laying wooden blocks or bricks. Also, it is not limited to a block wall made of concrete blocks 11 to 15 laid in a woven pattern, but may be an RC wall (reinforced concrete wall) or a CLT wall using cross-laminated timber. The shape of the concrete blocks 11 to 15 is not limited to the butterfly shape or trapezoid shape described above, but may be a quadrangle such as a rectangle or a square, or a flat hexagon.

図2~3に示すように、第1ブロック11と第2ブロック12における水平方向の中央部には、上下方向に貫通する貫通孔11a,12aが形成されている。第1ブロック11と第2ブロック12の左右両側面には、上下方向視の形状が半円形状で、上下両端面にわたる溝部11b,12bが形成されている。第2ブロック12には、貫通孔12aと左右一方の溝部11bとにわたるスリット12cが形成されている。第3ブロック13は、第1ブロック11と同様に、水平方向の中央部に貫通孔13aが形成され、左右両側面に、上下方向視の形状が半円形状で、上下両端面にわたる溝部13bが形成されている。第4ブロック14は、第2ブロック12と同様に、水平方向の中央部に貫通孔14aが形成され、左右両側面に、上下方向視の形状が半円形状で、上下両端面にわたる溝部14bが形成され、貫通孔14aと左右一方の溝部14bとにわたるスリット14cが形成されている。第5ブロック15における上下幅の狭い左右一側面には、第1ブロック11の貫通孔11aを左右に二等分した半円形状の第1溝部15aが形成されている。第5ブロック15における上下幅の広い左右他側面には、第1ブロック11の溝部13bと同様の第2溝部15bが形成されている。 As shown in Figures 2 and 3, through holes 11a and 12a are formed in the horizontal center of the first block 11 and the second block 12, penetrating in the vertical direction. Grooves 11b and 12b are formed on both left and right sides of the first block 11 and the second block 12, which are semicircular in shape when viewed in the vertical direction and extend to both upper and lower end faces. The second block 12 has a slit 12c formed between the through hole 12a and one of the left and right grooves 11b. The third block 13, like the first block 11, has a through hole 13a formed in the horizontal center, and grooves 13b are formed on both left and right sides, which are semicircular in shape when viewed in the vertical direction and extend to both upper and lower end faces. The fourth block 14, like the second block 12, has a through hole 14a formed in the horizontal center, and grooves 14b are formed on both left and right sides, which are semicircular in shape when viewed in the vertical direction and extend to both upper and lower end faces, and a slit 14c is formed between the through hole 14a and one of the left and right grooves 14b. A semicircular first groove 15a is formed on one of the left and right sides of the fifth block 15, which is narrow in vertical width, by dividing the through hole 11a of the first block 11 in half. A second groove 15b similar to the groove 13b of the first block 11 is formed on the other left and right side of the fifth block 15, which is wide in vertical width.

図10に示すように、補強壁10には、その面外方向への倒れを防止する複数(本実施形態では10本)の壁縦筋16が備えられている。各壁縦筋16は、横幅の広いコンクリートブロック11~14の1個分の間隔を置いて鉛直構面4に平行に配筋されている。各壁縦筋16は、梁2に施工される上側のアンカー筋16Aと、床スラブ3に施工される下側のアンカー筋16Bと、下側のアンカー筋16Bから上側のアンカー筋16Aにわたるように継ぎ足し接続される複数の縦筋16Cとを有している。 As shown in Figure 10, the reinforcing wall 10 is provided with multiple (ten in this embodiment) vertical wall reinforcements 16 that prevent the wall from collapsing out of its plane. Each vertical wall reinforcement 16 is arranged parallel to the vertical structural face 4 with an interval equivalent to one wide concrete block 11-14. Each vertical wall reinforcement 16 has an upper anchor reinforcement 16A installed on the beam 2, a lower anchor reinforcement 16B installed on the floor slab 3, and multiple vertical reinforcements 16C that are extended and connected from the lower anchor reinforcement 16B to the upper anchor reinforcement 16A.

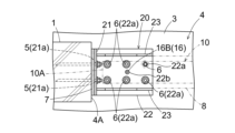
図1に示すように、本実施形態で例示する耐震補強構造においては、鉛直構面4における4カ所の入隅部4Aと、これらの入隅部4Aに対向配置される補強壁10の各隅角部10Aとの間に、鉛直構面4の入隅部4Aと補強壁10の隅角部10Aとに接合された状態で設置される4つの補強金具20が備えられている。 As shown in FIG. 1, in the earthquake-resistant reinforcement structure illustrated in this embodiment, four reinforcing brackets 20 are provided between the four recessed corners 4A in the vertical structural plane 4 and the corners 10A of the reinforcing wall 10 that are arranged opposite these recessed corners 4A. The reinforcing brackets 20 are installed in a state where they are joined to the recessed corners 4A of the vertical structural plane 4 and the corners 10A of the reinforcing wall 10.

図2~5に示すように、各補強金具20は、垂直プレート部21と水平プレート部22とを有する断面L字形に屈曲形成されている。各補強金具20は、垂直プレート部21が柱1に複数(本実施形態では6本)のあと施工アンカー5(図4~5参照)で接合されている。又、水平プレート部22が上側の梁2又は下側の床スラブ3や梁に複数(本実施形態では6本)のあと施工アンカー6(図4~5参照)で接合されている。つまり、各補強金具20は、鉛直構面4の入隅部4Aを形成する柱1と上側の梁2又は下側の床スラブ3や梁とに複数のあと施工アンカー5,6にて接合されている。 As shown in Figures 2 to 5, each reinforcing bracket 20 is bent and formed into an L-shaped cross section having a vertical plate portion 21 and a horizontal plate portion 22. The vertical plate portion 21 of each reinforcing bracket 20 is joined to the column 1 with multiple (six in this embodiment) post-installed anchors 5 (see Figures 4 to 5). The horizontal plate portion 22 is joined to the upper beam 2 or the lower floor slab 3 or beam with multiple (six in this embodiment) post-installed anchors 6 (see Figures 4 to 5). In other words, each reinforcing bracket 20 is joined to the column 1 and the upper beam 2 or the lower floor slab 3 or beam that form the inside corner portion 4A of the vertical structural face 4 with multiple post-installed anchors 5, 6.

図示は省略するが、各補強金具20と鉛直構面4の各入隅部4Aとの間には、各補強金具20を、鉛直構面4の入隅部4Aと補強壁10の隅角部10Aとの間の所定位置に位置決めする位置決め部材が配置されている。位置決め部材としては、補強金具20と鉛直構面4の入隅部4Aとの間に介装されるスペーサや、各あと施工アンカー5,6における補強金具20と鉛直構面4の入隅部4Aとの間の部位にねじ込み装着されたナットなどを使用することができる。 Although not shown in the figure, a positioning member is disposed between each reinforcing bracket 20 and each internal corner 4A of the vertical structural face 4, which positions each reinforcing bracket 20 at a predetermined position between the internal corner 4A of the vertical structural face 4 and the corner 10A of the reinforcing wall 10. The positioning member may be a spacer interposed between the reinforcing bracket 20 and the internal corner 4A of the vertical structural face 4, or a nut screwed into the portion of each post-installed anchor 5, 6 between the reinforcing bracket 20 and the internal corner 4A of the vertical structural face 4.

図4~5に示すように、各補強金具20と鉛直構面4の各入隅部4Aとの間には無収縮モルタル7が充填されている。 As shown in Figures 4 and 5, non-shrink mortar 7 is filled between each reinforcing bracket 20 and each corner 4A of the vertical structural face 4.

図4~5に示すように、各補強金具20は、上記の位置決め部材にて位置決めされることで、補強壁10の隅角部10Aとの間に、あと施工アンカー5,6による柱1及び上側の梁2又は下側の床スラブ3や梁への接合を可能にする最小限の隙間が確保されている。各補強金具20における鉛直構面4の面外方向の両端側には、垂直プレート部21と水平プレート部22とにわたる一対の補強リブ23が、補強壁10の壁厚よりも広い間隔を有して溶接接合されている。各補強リブ23は、前述した補強金具20と補強壁10の隅角部10Aとの間に確保された隙間を、鉛直構面4の面外方向から覆い隠すように形成されている。各補強金具20は、それらに対向配置される補強壁10の隅角部10Aとの間に無収縮モルタル7(図4参照)が充填されることで、対向配置された補強壁10の隅角部10Aに接合されている。 As shown in Figures 4 and 5, each reinforcing metal fitting 20 is positioned by the above-mentioned positioning member, so that a minimum gap is secured between the corner portion 10A of the reinforcing wall 10 to enable connection to the column 1 and the upper beam 2 or the lower floor slab 3 or beam by the post-installed anchors 5, 6. A pair of reinforcing ribs 23 spanning the vertical plate portion 21 and the horizontal plate portion 22 are welded to both ends of the vertical structural face 4 in the out-of-plane direction. Each reinforcing rib 23 is formed so as to cover and hide the gap secured between the reinforcing metal fitting 20 and the corner portion 10A of the reinforcing wall 10 from the out-of-plane direction of the vertical structural face 4. Each reinforcing metal fitting 20 is joined to the corner portion 10A of the reinforcing wall 10 arranged opposite to it by filling the gap with non-shrink mortar 7 (see Figure 4) between the reinforcing metal fitting 20 and the corner portion 10A of the reinforcing wall 10 arranged opposite to it.

図5に示すように、各補強金具20の垂直プレート部21には、あと施工アンカー5による柱1との接合を可能にする複数(本実施形態では6つ)の貫通孔21aが形成されている。複数の貫通孔21aは、垂直プレート部21における補強壁10の隅角部10Aとの対向領域に、鉛直構面4の面外方向に2列で、鉛直構面4の面内方向に一定間隔を置いて所定数ずつ(本実施形態では3つずつ)並ぶように配置されている。 As shown in FIG. 5, the vertical plate portion 21 of each reinforcing bracket 20 has a plurality of through holes 21a (six in this embodiment) that enable connection to the column 1 with a post-installed anchor 5. The plurality of through holes 21a are arranged in two rows in the out-of-plane direction of the vertical structural face 4 and in a predetermined number of rows (three in this embodiment) at regular intervals in the in-plane direction of the vertical structural face 4 in the area facing the corner portion 10A of the reinforcing wall 10 in the vertical plate portion 21.

各補強金具20の水平プレート部22には、あと施工アンカー6による上側の梁2又は下側の床スラブ3や梁との接合を可能にする複数(本実施形態では6つ)の貫通孔22aが形成されている。複数の貫通孔22aは、水平プレート部22における補強壁10の隅角部10Aとの対向領域に、鉛直構面4の面外方向に2列で、鉛直構面4の面内方向に一定間隔を置いて所定数ずつ(本実施形態では3つずつ)並ぶように配置されている。 The horizontal plate portion 22 of each reinforcing bracket 20 has multiple (six in this embodiment) through holes 22a formed therein, which enable connection to the upper beam 2 or the lower floor slab 3 or beam with the post-installed anchors 6. The multiple through holes 22a are arranged in two rows in the out-of-plane direction of the vertical structural face 4, and in a predetermined number of rows (three in this embodiment) at regular intervals in the in-plane direction of the vertical structural face 4, in the area of the horizontal plate portion 22 facing the corner portion 10A of the reinforcing wall 10.

又、水平プレート部22には、前述した壁縦筋16が挿通される所定数(本実施形態では1つ)の貫通孔22bが形成されている。所定数の貫通孔22bは、水平プレート部22における鉛直構面4の面外方向での中心位置に配置されている。 The horizontal plate portion 22 has a predetermined number of through holes 22b (one in this embodiment) through which the wall vertical reinforcement 16 is inserted. The predetermined number of through holes 22b are arranged at the center position of the horizontal plate portion 22 in the out-of-plane direction of the vertical structural face 4.

以上の構成により、図1、図4に示すように、地震などによって補強壁10の対角線上に圧縮ストラットSが発生すると、その圧縮ストラットSによって柱1や梁2又は床スラブ3などの端部に作用するパンチングシア応力Qのうち、柱1の端部に作用するパンチングシア応力Qの水平成分Q1の一部が、補強金具20の水平プレート部22を接合する各あと施工アンカー6のせん断耐力Q1aによって梁2又は床スラブ3などに伝達され、梁2又は床スラブ3などの軸力として、柱1と梁2又は床スラブ3などの仕口部に伝達される。そして、このような応力伝達が行われることにより、柱1の端部に作用するパンチングシア応力Qの水平成分Q1が少なくなる。 With the above configuration, as shown in Figures 1 and 4, when a compression strut S is generated on the diagonal of the reinforcing wall 10 due to an earthquake or the like, a part of the horizontal component Q1 of the punching shear stress Q acting on the end of the column 1, out of the punching shear stress Q acting on the end of the column 1, beam 2, or floor slab 3, etc. due to the compression strut S, is transmitted to the beam 2 or floor slab 3, etc. by the shear strength Q1a of each post-installed anchor 6 joining the horizontal plate portion 22 of the reinforcing metal fitting 20, and is transmitted to the joint portion of the column 1 and the beam 2 or floor slab 3, etc. as the axial force of the beam 2 or floor slab 3, etc. As a result of this stress transmission, the horizontal component Q1 of the punching shear stress Q acting on the end of the column 1 is reduced.

又、梁2又は床スラブ3などの端部に作用するパンチングシア応力Qの鉛直成分Q2の一部が、補強金具20の垂直プレート部21を接合する各あと施工アンカー5のせん断耐力Q2aによって柱1に伝達され、柱1の軸力として前述した仕口部に伝達される。そして、このような応力伝達が行われることにより、梁2又は床スラブ3などの端部に作用するパンチングシア応力Qの鉛直成分Q2が少なくなる。 In addition, part of the vertical component Q2 of the punching shear stress Q acting on the end of the beam 2 or floor slab 3 is transmitted to the column 1 by the shear strength Q2a of each post-installed anchor 5 joining the vertical plate portion 21 of the reinforcing metal fitting 20, and is transmitted to the joint portion described above as the axial force of the column 1. This stress transmission reduces the vertical component Q2 of the punching shear stress Q acting on the end of the beam 2 or floor slab 3.

そして、上記の応力伝達に有効な各あと施工アンカー5,6のせん断耐力Q1a,Q2aは、柱1と梁2又は床スラブ3などとに打設された各あと施工アンカー5,6の断面積に比例することから、各あと施工アンカー5,6の本数と径とを調整することで、必要なせん断耐力Q1a,Q2aを容易に確保することができる。 The shear strength Q1a, Q2a of each post-installed anchor 5, 6, which is effective in transmitting the above-mentioned stress, is proportional to the cross-sectional area of each post-installed anchor 5, 6 that is driven into the column 1 and beam 2 or floor slab 3, etc., so the required shear strength Q1a, Q2a can be easily ensured by adjusting the number and diameter of each post-installed anchor 5, 6.

これにより、例えば、柱1や梁2又は床スラブ3などの断面が小さい場合やコンクリート強度が低い場合には、断面L字形の補強金具20を、前述した応力伝達に必要なせん断耐力Q1a,Q2aを確保するのに適した本数や径のあと施工アンカー5,6を使用して柱1と梁2又は床スラブ3とに接合した状態で、鉛直構面4の入隅部4Aと補強壁10の隅角部10Aとの間に設置することで、鉛直構面4の入隅部4Aを、必要なせん断耐力Q1a,Q2aが確保された好適な状態に合理的に補強することができる。 For example, when the cross-section of the column 1, beam 2, or floor slab 3 is small or the concrete strength is low, the L-shaped cross-section reinforcing metal fittings 20 can be installed between the inside corner 4A of the vertical structural face 4 and the corner 10A of the reinforcing wall 10 in a state where they are joined to the column 1 and beam 2 or floor slab 3 using post-installed anchors 5, 6 with a number and diameter appropriate to ensure the shear strengths Q1a, Q2a required for the stress transfer described above, thereby rationally reinforcing the inside corner 4A of the vertical structural face 4 to an optimal state where the necessary shear strengths Q1a, Q2a are ensured.

そして、このような補強を行うことで、地震時などに発生する圧縮ストラットSに起因した柱1や梁2又は床スラブ3などの端部におけるパンチングシア破壊を防止することができる。 By carrying out this type of reinforcement, punching shear failure at the ends of columns 1, beams 2, floor slabs 3, etc., caused by compression struts S that occur during earthquakes, etc., can be prevented.

その結果、柱1や梁2又は床スラブ3などの断面が小さい場合やコンクリート強度が低い場合にかかわらず、前述した合理的な補強を行うことで、地震時などに発生する圧縮ストラットSに起因した柱1や梁2又は床スラブ3などの端部でのパンチングシア破壊を防止することができ、補強壁10による補強効果を十分に発揮させることができる。 As a result, regardless of whether the cross-section of the column 1, beam 2, or floor slab 3 is small or the concrete strength is low, by carrying out the rational reinforcement described above, punching shear failure at the ends of the column 1, beam 2, or floor slab 3 caused by the compression strut S that occurs during earthquakes, etc. can be prevented, and the reinforcing effect of the reinforcing wall 10 can be fully demonstrated.

又、各補強金具20には前述した一対の補強リブ23が備えられていることにより、各補強金具20の保形性を高めることができる。これにより、地震などが発生した場合における、補強金具20を介した各あと施工アンカー5,6のせん断耐力Q1a,Q2aによる応力伝達を適切に行うことができる。 In addition, each reinforcing metal fitting 20 is provided with the pair of reinforcing ribs 23 described above, which enhances the shape retention of each reinforcing metal fitting 20. This allows appropriate stress transmission by the shear strength Q1a, Q2a of each post-installed anchor 5, 6 via the reinforcing metal fitting 20 in the event of an earthquake or other event.

その結果、各あと施工アンカー5,6のせん断耐力Q1a,Q2aを好適に発揮させることができ、地震時などに発生する圧縮ストラットSに起因した柱1や梁2又は床スラブ3の端部でのパンチングシア破壊をより確実に防止することができる。 As a result, the shear strength Q1a, Q2a of each post-installed anchor 5, 6 can be optimally exerted, and punching shear failure at the ends of the column 1, beam 2, or floor slab 3 caused by the compression strut S that occurs during earthquakes, etc. can be more reliably prevented.

更に、鉛直構面4に補強壁10を構築する場合には、各補強金具20における補強リブ23の位置を、鉛直構面4にて各コンクリートブロック11~15を布積みする際の指標として使用することができる。これにより、鉛直構面4に各コンクリートブロック11~15を布積みして補強壁10を構築する場合の施工性を向上させることができる。 Furthermore, when constructing a reinforcing wall 10 on the vertical structural face 4, the position of the reinforcing rib 23 on each reinforcing bracket 20 can be used as an indicator when laying the concrete blocks 11 to 15 on the vertical structural face 4. This improves the ease of construction when laying the concrete blocks 11 to 15 on the vertical structural face 4 to construct the reinforcing wall 10.

その上、各補強金具20における一対の補強リブ23を、床スラブ3上に前述した基礎部8を構築する場合や、柱1及び梁2又は床スラブ3と補強壁10との間に無収縮モルタル7を充填してそれらを一体化させる場合などの型枠の一部として使用することができるとともに、それらの型枠を設置する際の設置基準として使用することができる。これにより、床スラブ3上に基礎部8を構築する場合や、無収縮モルタル7などで柱1及び梁2又は床スラブ3と補強壁10とを一体化させる場合などにおける施工性を向上させることができる。 Furthermore, the pair of reinforcing ribs 23 on each reinforcing bracket 20 can be used as part of a formwork when constructing the aforementioned foundation 8 on the floor slab 3, or when filling non-shrink mortar 7 between the columns 1 and beams 2 or the floor slab 3 and the reinforcing wall 10 to integrate them, and can also be used as an installation guide when installing such formwork. This improves workability when constructing the foundation 8 on the floor slab 3, or when integrating the columns 1 and beams 2 or the floor slab 3 and the reinforcing wall 10 with non-shrink mortar 7, etc.

以下、図1、図4~10に基づいて、本実施形態で例示する耐震補強構造の施工方法について説明する。 The construction method for the earthquake-resistant reinforcement structure exemplified in this embodiment will be explained below with reference to Figures 1 and 4 to 10.

本実施形態で例示する耐震補強構造の施工方法においては、先ず、図6に示すように、鉛直構面4の上下に位置する梁2と床スラブ3とに、各壁縦筋16の上側のアンカー筋16A又は下側のアンカー筋16Bを鉛直構面4の面内方向に一定間隔(横幅の広いコンクリートブロック11~14の1個分の間隔)を置いて施工するアンカー筋施工工程を実施する。 In the construction method of the earthquake-resistant reinforcement structure illustrated in this embodiment, first, as shown in FIG. 6, an anchor construction process is carried out in which the upper anchor bars 16A or the lower anchor bars 16B of each vertical wall reinforcement 16 are constructed at regular intervals (the interval of one wide concrete block 11-14) in the in-plane direction of the vertical structural plane 4 on the beams 2 and floor slab 3 located above and below the vertical structural plane 4.

アンカー筋施工工程にて各アンカー筋16A,16Bを施工した後、図4~6に示すように、複数のあと施工アンカー5,6などを使用して、鉛直構面4の各入隅部4Aに補強金具20を設置する補強金具設置工程を実施する。
尚、この補強金具設置工程においては、各補強金具20の水平プレート部22に形成された所定数の貫通孔22bに、上側のアンカー筋16A又は下側のアンカー筋16Bが挿通される。
After each anchor bar 16A, 16B is installed in the anchor bar installation process, a reinforcing bracket installation process is carried out in which reinforcing brackets 20 are installed at each recessed corner portion 4A of the vertical structural face 4 using a plurality of post-installed anchors 5, 6, etc., as shown in Figures 4 to 6.
In addition, in this reinforcing metal fitting installation process, the upper anchor bars 16A or the lower anchor bars 16B are inserted into a predetermined number of through holes 22b formed in the horizontal plate portion 22 of each reinforcing metal fitting 20.

補強金具設置工程にて各補強金具20を設置した後、図6に示すように、鉛直構面4の下部側に設置された2つの補強金具20にわたって、鉛直構面4での前述したコンクリートブロック11~15の布積みを可能にする基礎部8を無収縮モルタルにて形成する基礎部形成工程を実施する。
尚、図示は省略するが、基礎部形成工程においては、鉛直構面4の下部側に設置された補強金具20の各補強リブ23に沿う姿勢で、下部側の補強金具20間に仮設される一対の型枠が使用される。そして、これらの型枠間と各補強金具20の補強リブ23間とに無収縮モルタルが充填されることで、それらの補強金具20にわたる基礎部8が形成される。
つまり、本実施形態で例示する耐震補強構造においては、鉛直構面4の下部側に設置された各補強金具20の補強リブ23が、無収縮モルタルにて基礎部8を形成する際の型枠の一部を兼ねるように構成されている。
After each reinforcing bracket 20 is installed in the reinforcing bracket installation process, a foundation formation process is carried out in which a foundation 8 is formed using non-shrink mortar across the two reinforcing brackets 20 installed on the lower side of the vertical structural face 4, as shown in Figure 6, which enables the aforementioned concrete blocks 11 to 15 to be laid on the vertical structural face 4.
Although not shown in the drawings, the foundation formation process uses a pair of formwork temporarily installed between the lower reinforcing metal fittings 20 in an orientation that follows the reinforcing ribs 23 of the reinforcing metal fittings 20 installed on the lower side of the vertical structural face 4. Non-shrink mortar is then filled between these formworks and between the reinforcing ribs 23 of each reinforcing metal fitting 20, thereby forming the foundation 8 spanning those reinforcing metal fittings 20.
In other words, in the earthquake-resistant reinforcement structure illustrated in this embodiment, the reinforcing ribs 23 of each reinforcing bracket 20 installed on the lower side of the vertical structural face 4 are configured to also serve as part of the formwork when forming the foundation 8 with non-shrinkage mortar.

基礎部形成工程にて基礎部8を形成した後、図7に示すように、下側の各アンカー筋16Bに縦筋16Cを継ぎ足す第1縦筋継ぎ足し工程を実施する。そして、第1縦筋継ぎ足し工程にて各アンカー筋16Bに縦筋16Cを継ぎ足した後、それらの縦筋16Cを前述した第3ブロック13の貫通孔13aに挿通させた状態で、所定数(本実施形態では10個)の第3ブロック13を、V字状に凹入する一端面が上面になる姿勢で基礎部8上に横一連に積み重ねる最下段ブロック積み重ね工程を実施する。 After the foundation 8 is formed in the foundation formation process, a first vertical reinforcement addition process is carried out to add vertical reinforcement 16C to each lower anchor reinforcement 16B, as shown in FIG. 7. Then, after adding vertical reinforcement 16C to each anchor reinforcement 16B in the first vertical reinforcement addition process, the vertical reinforcement 16C is inserted into the through holes 13a of the third block 13 described above, and a bottom block stacking process is carried out to stack a predetermined number of third blocks 13 (10 in this embodiment) horizontally in a row on the foundation 8 with the V-shaped recessed end surface facing upward.

最下段ブロック積み重ね工程にて所定数の第3ブロック13を基礎部8上に積み重ねた後、図8に示すように、所定数の第3ブロック13上に所定数(本実施形態では9個)の第1ブロック11と所定数(本実施形態では2個)の第5ブロック15とを横一連に布積みする第1布積み工程を実施する。
尚、第1布積み工程においては、各第1ブロック11を隣り合う縦筋16Cの間に、それらの縦筋16Cを第1ブロック11の溝部11bに位置させた状態で配置する。又、各第5ブロック15を柱1と縦筋16Cとの間に、その縦筋16Cを第5ブロック15の第2溝部14bに位置させた状態で配置する。
After a predetermined number of third blocks 13 are stacked on the base portion 8 in the bottom block stacking process, a first cloth stacking process is carried out in which a predetermined number (nine in this embodiment) of first blocks 11 and a predetermined number (two in this embodiment) of fifth blocks 15 are cloth stacked in a horizontal row on top of the predetermined number of third blocks 13, as shown in Figure 8.
In the first cloth laying process, each first block 11 is placed between adjacent vertical bars 16C with the vertical bars 16C positioned in the grooves 11b of the first blocks 11. Also, each fifth block 15 is placed between the pillar 1 and the vertical bars 16C with the vertical bars 16C positioned in the second grooves 14b of the fifth blocks 15.

第1布積み工程にて所定数の第1ブロック11と所定数の第5ブロック15とを布積みした後、図8~9に示すように、所定数の第1ブロック11と第5ブロック15上に所定数(本実施形態では10個)の第1ブロック11を横一連に布積みする第2布積み工程と、第2布積み工程にて布積みした所定数の第1ブロック11上に、所定数(本実施形態では9個)の第1ブロック11と所定数(本実施形態では2個)の第5ブロック15とを横一連に布積みする第3布積み工程とを、ブロック11,13,15の基礎部8からの積み上げ段数が第1所定段数(本実施形態では14段)に達するまで繰り返して実行する。
尚、第2布積み工程においては、所定数の第1ブロック11を、それらの貫通孔11aに縦筋16Cを挿通させた状態で配置する。第3布積み工程における各第1ブロック11と各第5ブロック15の配置は、第1布積み工程における各第1ブロック11と各第5ブロック15の配置と同じである。
After stacking a predetermined number of first blocks 11 and a predetermined number of fifth blocks 15 in the first cloth stacking step, as shown in Figures 8 and 9, a second cloth stacking step is performed in which a predetermined number (10 in this embodiment) of first blocks 11 are stacked in a horizontal row on the predetermined number of first blocks 11 and fifth blocks 15, and a third cloth stacking step is performed in which a predetermined number (9 in this embodiment) of first blocks 11 and a predetermined number (2 in this embodiment) of fifth blocks 15 are stacked in a horizontal row on the predetermined number of first blocks 11 stacked in the second cloth stacking step. These steps are repeatedly performed until the number of stacked levels of the blocks 11, 13, and 15 from the base portion 8 reaches a first predetermined number of levels (14 in this embodiment).
In the second cloth laying step, a predetermined number of first blocks 11 are arranged with the vertical reinforcements 16C inserted through the through holes 11a. The arrangement of the first blocks 11 and the fifth blocks 15 in the third cloth laying step is the same as the arrangement of the first blocks 11 and the fifth blocks 15 in the first cloth laying step.

前述した最下段ブロック積み重ね工程や各布積み工程にて、ブロック11,13,15の基礎部8からの積み上げ段数が第1所定段数(本実施形態では5段)に達するごとに、第1ブロック11や第3ブロック13の貫通孔11a、13a、及び、隣接する第1ブロック11の溝部11bや隣接する第3ブロック13の溝部13b、又は、隣接する第1ブロック11と第5ブロック15の各溝部11b,15bで形成される貫通孔にグラウトを充填するグラウト充填工程と、既設の縦筋16Cに別の縦筋16Cを継ぎ足す第2縦筋継ぎ足し工程とを実施する。 In the bottom block stacking process and each cloth stacking process described above, each time the number of stacking steps from the base part 8 of blocks 11, 13, and 15 reaches a first predetermined number of steps (five steps in this embodiment), a grout filling process is carried out to fill grout into the through holes 11a, 13a of the first block 11 and the third block 13, and the grooves 11b of the adjacent first block 11 and the grooves 13b of the adjacent third block 13, or the through holes formed by the grooves 11b, 15b of the adjacent first block 11 and the fifth block 15, and a second vertical reinforcement adding process is carried out to add another vertical reinforcement 16C to the existing vertical reinforcement 16C.

そして、図9に示すように、第2縦筋継ぎ足し工程にて継ぎ足した縦筋16Cが、上側の各アンカー筋16Aに達して上側の各アンカー筋16Aに接続された場合には、図3、図10に示すように、それ以後の第2布積み工程においては、第1ブロック11に代えて、前述したスリット12cが形成された第2ブロック12を使用する。
これにより、両端部が既存の縦筋16Cや上側の各アンカー筋16Aに接続された縦筋16Cに対して、各第2ブロック12を、それらの貫通孔12aに縦筋16Cを挿通させた状態で、所定数の第1ブロック11と第5ブロック15上に横一連に布積みすることができる。
Then, as shown in FIG. 9, when the vertical reinforcement 16C added in the second vertical reinforcement adding process reaches and is connected to each of the upper anchor reinforcements 16A, the second block 12 having the above-mentioned slit 12c formed therein is used in place of the first block 11 in the subsequent second cloth laying process, as shown in FIG. 3 and FIG. 10.
This allows each second block 12 to be stacked horizontally in a continuous manner on a predetermined number of first blocks 11 and fifth blocks 15, with the vertical bars 16C inserted through their through holes 12a, and with respect to the vertical bars 16C whose both ends are connected to existing vertical bars 16C and each upper anchor bar 16A.

第2布積み工程と第3布積み工程とを繰り返すことで、ブロック11~13,15の基礎部8からの積み上げ段数が第2所定段数に達すると、図10に示すように、積み上げ段数が第1所定段数に達したときの第3布積み工程にて布積みした所定数の第1ブロック11と第5ブロック15上に、前述したスリット14cが形成された所定数(本実施形態では10個)の第4ブロック14を、V字状に凹入する一端面が底面になる姿勢で横一連に布積みする最上段ブロック布積み工程を実施する。
これにより、両端部が既存の縦筋16Cや上側の各アンカー筋16Aに接続された縦筋16Cに対して、各第4ブロック14を、それらの貫通孔14aに縦筋16Cを挿通させた状態で、所定数の第1ブロック11と第5ブロック15上に横一連に布積みすることができる。
By repeating the second and third cloth stacking steps, when the number of stacked layers of blocks 11 to 13, 15 from the base portion 8 reaches a second predetermined number, as shown in Figure 10, a top block cloth stacking step is carried out in which a predetermined number (10 in this embodiment) of fourth blocks 14 having the above-mentioned slits 14c formed therein are stacked horizontally in a continuous manner with one end face that is concave in a V-shape facing the bottom, on top of the predetermined number of first blocks 11 and fifth blocks 15 stacked in the third cloth stacking step when the number of stacked layers reaches the first predetermined number.
This allows each fourth block 14 to be stacked horizontally in a continuous manner on a predetermined number of first blocks 11 and fifth blocks 15, with the vertical bars 16C inserted through their through holes 14a, and with respect to the vertical bars 16C whose both ends are connected to the existing vertical bars 16C and the upper anchor bars 16A.

最上段ブロック布積み工程にて所定数の第4ブロック14を布積みした後、第4ブロック14の貫通孔14aや隣接する第4ブロック14の溝部14bで形成される貫通孔から、第1ブロック11や第3ブロック13の貫通孔11a、13a、及び、隣接する第1ブロック11の溝部11bや隣接する第3ブロック13の溝部13b、又は、隣接する第1ブロック11と第5ブロック15の各溝部11b,15bで形成される貫通孔にわたってグラウトを充填する最終グラウト充填工程を実施する。 After a predetermined number of fourth blocks 14 are laid in the top block laying process, a final grout filling process is carried out in which grout is filled from the through holes 14a of the fourth block 14 and the through holes formed by the grooves 14b of the adjacent fourth blocks 14 to the through holes 11a, 13a of the first block 11 and the third block 13, and the grooves 11b of the adjacent first block 11 and the grooves 13b of the adjacent third block 13, or through the through holes formed by the grooves 11b, 15b of the adjacent first block 11 and the fifth block 15.

最終グラウト充填工程でのグラウトの充填を完了すると、図1に示すように、布積みした各ブロック11~15とその両横に隣接する柱1との隙間、及び、最上段の第4ブロック14とその真上に隣接する梁2との隙間に無収縮モルタル7を充填するモルタル充填工程を実施して、布積みした各ブロック11~15を隣接する柱1や梁2とともに各補強金具20に接続する。
これにより、隣り合う柱1とこれらの柱1にわたる上下の梁2と床スラブ3とで囲まれた鉛直構面4にブロック壁からなる補強壁10を設置した耐震補強構造を構築することができる。
尚、図示は省略するが、モルタル充填工程においては、鉛直構面4の各入隅部4Aに設置された補強金具20の各補強リブ23に沿う姿勢で、上下の補強金具20間と上部側の補強金具20間とに仮設される一対の型枠が使用される。そして、これらの型枠間と各補強金具20の補強リブ23間とに無収縮モルタル7が充填される。
つまり、本実施形態で例示する耐震補強構造においては、鉛直構面4の各入隅部4Aに設置された補強金具20の補強リブ23が、布積みした各ブロック11~15を隣接する柱1や梁2に無収縮モルタル7にて一体化させる際の型枠の一部を兼ねるように構成されている。
Once the grout filling in the final grout filling process has been completed, as shown in Figure 1, a mortar filling process is carried out in which non-shrink mortar 7 is filled into the gaps between each of the stacked blocks 11 to 15 and the adjacent columns 1 on either side of them, and into the gap between the topmost fourth block 14 and the adjacent beam 2 directly above it, thereby connecting each of the stacked blocks 11 to 15 to the adjacent columns 1 and beams 2 and each reinforcing bracket 20.
This makes it possible to construct an earthquake-resistant reinforcement structure in which a reinforcing wall 10 made of a block wall is installed on a vertical structural plane 4 surrounded by adjacent columns 1, the upper and lower beams 2 spanning these columns 1, and a floor slab 3.
Although not shown in the drawings, in the mortar filling step, a pair of formwork is used, which is temporarily installed between the upper and lower reinforcing metal fittings 20 and between the upper reinforcing metal fittings 20, in a position that follows the reinforcing ribs 23 of the reinforcing metal fittings 20 installed at each inside corner 4A of the vertical structural face 4. Then, non-shrink mortar 7 is filled between these formworks and between the reinforcing ribs 23 of each reinforcing metal fitting 20.
In other words, in the earthquake-resistant reinforcement structure illustrated in this embodiment, the reinforcing ribs 23 of the reinforcing fittings 20 installed at each inside corner 4A of the vertical structural face 4 are configured to also serve as part of the formwork when integrating each of the laid-out blocks 11 to 15 to the adjacent columns 1 and beams 2 with non-shrink mortar 7.

〔別実施形態〕
本発明の別実施形態について説明する。
[Another embodiment]
Another embodiment of the present invention will now be described.

補強金具20としては、図11に示すように、鉛直構面4の面外方向で一対の分割体20A,20Bに分割された二分割構造に構成され、分割体20A,20Bのそれぞれが、柱1や梁2又は床スラブ3に複数のあと施工アンカー5,6で接合されるものであってもよい。
この構成によると、各補強金具20が、軽量で扱い易い一対の分割体20A,20Bに分割された二分割構造であることにより、柱1と梁2又は床スラブ3との仕口部を補強金具20で補強する際の施工性を向上させることができる。
As the reinforcing bracket 20, as shown in Figure 11, it may be configured as a two-part structure divided into a pair of partitions 20A, 20B in the out-of-plane direction of the vertical structural face 4, and each of the partitions 20A, 20B may be joined to the column 1, beam 2 or floor slab 3 with a plurality of post-installed anchors 5, 6.
According to this configuration, each reinforcing bracket 20 has a two-piece structure divided into a pair of lightweight, easy-to-handle sections 20A, 20B, thereby improving workability when reinforcing the joint between the column 1 and the beam 2 or floor slab 3 with the reinforcing bracket 20.

1 柱
2 梁(水平部材)
3 床スラブ(水平部材)
4 鉛直構面
4A 入隅部
5 あと施工アンカー
6 あと施工アンカー
10 補強壁
10A 隅角部
20 補強金具
20A 分割体
20B 分割体
21 垂直プレート部
22 水平プレート部
23 補強リブ
1 Column 2 Beam (horizontal member)
3. Floor slab (horizontal member)
4 Vertical structural face 4A Corner portion 5 Post-installed anchor 6 Post-installed anchor 10 Reinforcement wall 10A Corner portion 20 Reinforcement metal fitting 20A Division body 20B Division body 21 Vertical plate portion 22 Horizontal plate portion 23 Reinforcement rib

Claims (3)

隣り合う柱と当該柱に架設された上下の水平部材とで囲まれた鉛直構面に補強壁が設置される耐震補強構造であって、
前記鉛直構面の入隅部と当該入隅部に対向配置される前記補強壁の隅角部とに接合された状態で、前記鉛直構面の入隅部と前記補強壁の隅角部との間に設置される補強金具が備えられ、
前記補強金具は、垂直プレート部と水平プレート部とを有する断面L字形で、前記垂直プレート部が前記柱にあと施工アンカーで接合され、かつ、前記水平プレート部が前記水平部材にあと施工アンカーで接合されている耐震補強構造。
A seismic reinforcement structure in which a reinforcing wall is installed on a vertical structural surface surrounded by adjacent columns and upper and lower horizontal members erected on the columns,
A reinforcing metal fitting is provided between the inside corner portion of the vertical structural surface and the corner portion of the reinforcing wall arranged opposite to the inside corner portion, and the reinforcing metal fitting is installed between the inside corner portion of the vertical structural surface and the corner portion of the reinforcing wall in a state where the reinforcing metal fitting is joined to the inside corner portion of the vertical structural surface and the corner portion of the reinforcing wall arranged opposite to the inside corner portion,
The reinforcing metal fitting has an L-shaped cross section having a vertical plate portion and a horizontal plate portion, the vertical plate portion being joined to the column with a post-installed anchor, and the horizontal plate portion being joined to the horizontal member with a post-installed anchor, forming an earthquake-resistant reinforcement structure.
前記補強金具における前記鉛直構面の面外方向の両端側には、前記垂直プレート部と前記水平プレート部とにわたる一対の補強リブが、前記補強壁の壁厚よりも広い間隔を有して接合されている請求項1に記載の耐震補強構造。 The earthquake-resistant reinforcement structure described in claim 1, in which a pair of reinforcing ribs spanning the vertical plate portion and the horizontal plate portion are joined to both ends of the reinforcing metal fitting in the out-of-plane direction of the vertical structural face with a gap wider than the wall thickness of the reinforcing wall. 前記補強金具が、前記鉛直構面の面外方向で一対の分割体に分割された二分割構造に構成され、
前記分割体のそれぞれが、前記柱又は前記水平部材に複数の前記あと施工アンカーで接合されている請求項1又は2に記載の耐震補強構造。
The reinforcing metal fitting is configured to have a two-part structure divided into a pair of partitions in the out-of-plane direction of the vertical structural face,
3. The earthquake-resistant reinforcement structure according to claim 1, wherein each of the divided bodies is joined to the column or the horizontal member by a plurality of the post-installed anchors.
JP2023212844A 2023-12-18 2023-12-18 Earthquake-resistant reinforcement structure Pending JP2025096876A (en)

Priority Applications (1)

Application Number Priority Date Filing Date Title
JP2023212844A JP2025096876A (en) 2023-12-18 2023-12-18 Earthquake-resistant reinforcement structure

Applications Claiming Priority (1)

Application Number Priority Date Filing Date Title
JP2023212844A JP2025096876A (en) 2023-12-18 2023-12-18 Earthquake-resistant reinforcement structure

Publications (1)

Publication Number Publication Date
JP2025096876A true JP2025096876A (en) 2025-06-30

Family

ID=96215598

Family Applications (1)

Application Number Title Priority Date Filing Date
JP2023212844A Pending JP2025096876A (en) 2023-12-18 2023-12-18 Earthquake-resistant reinforcement structure

Country Status (1)

Country Link
JP (1) JP2025096876A (en)

Similar Documents

Publication Publication Date Title
CN107542190B (en) Composite structural wall and its construction method
KR101663132B1 (en) Self-supporting type column structure
KR102111337B1 (en) Building Core System using Precast Concrete Panel with Column in the Center
JP6499853B2 (en) Seismic wall structure
KR102620765B1 (en) Construction method of expandable load-bearing structure for modular building
US10138630B1 (en) Concrete shearwall and assemblies thereof, and related methods
JP7118507B2 (en) Steel reinforced concrete wall pillar building structure
JP4095534B2 (en) Joint structure of column and beam in ramen structure and its construction method
JP2017040122A (en) Reinforced concrete column-beam joint precast member
JP7030754B2 (en) Wall structure and how to build the wall structure
JP2008266902A (en) Wall unit and shear wall
JP7755078B2 (en) PC reinforcement block assembly for earthquake resistance reinforcement and its construction method
JP2025096876A (en) Earthquake-resistant reinforcement structure
KR102452802B1 (en) A construction method to use the seismic resistant precast concrete members
JPH0882002A (en) RC structure and construction method thereof
JP7529596B2 (en) Joint structure between steel pipe concrete column and steel beam and its construction method
JP4045502B2 (en) Structure
JP7137978B2 (en) Plate-shaped member for pillar
JP3909488B2 (en) Seismic reinforcement structure of existing building and its construction method
JPS5913621B2 (en) block panel
JP3043938B2 (en) Joint structure between reinforced concrete columns and steel beams
JP6684088B2 (en) Seismic retrofitting structure and method for existing buildings
JP7603531B2 (en) Wood composite wall structure
JP7762973B2 (en) Frame and frame construction method
JP7634412B2 (en) Pillar Structure

Legal Events

Date Code Title Description
A80 Written request to apply exceptions to lack of novelty of invention

Free format text: JAPANESE INTERMEDIATE CODE: A80

Effective date: 20240110