JP2025049872A - Sealing resin for use in compression molding and forming method and forming apparatus thereof - Google Patents

Sealing resin for use in compression molding and forming method and forming apparatus thereof Download PDF

Info

Publication number
JP2025049872A
JP2025049872A JP2023158342A JP2023158342A JP2025049872A JP 2025049872 A JP2025049872 A JP 2025049872A JP 2023158342 A JP2023158342 A JP 2023158342A JP 2023158342 A JP2023158342 A JP 2023158342A JP 2025049872 A JP2025049872 A JP 2025049872A
Authority
JP
Japan
Prior art keywords
resin
sealing resin
forming
mold
sealing
Prior art date
Legal status (The legal status is an assumption and is not a legal conclusion. Google has not performed a legal analysis and makes no representation as to the accuracy of the status listed.)
Pending
Application number
JP2023158342A
Other languages
Japanese (ja)
Inventor
正明 涌井
Masaaki Wakui
誠 川口
Makoto Kawaguchi
Current Assignee (The listed assignees may be inaccurate. Google has not performed a legal analysis and makes no representation or warranty as to the accuracy of the list.)
Apic Yamada Corp
Original Assignee
Apic Yamada Corp
Priority date (The priority date is an assumption and is not a legal conclusion. Google has not performed a legal analysis and makes no representation as to the accuracy of the date listed.)
Filing date
Publication date
Application filed by Apic Yamada Corp filed Critical Apic Yamada Corp
Priority to JP2023158342A priority Critical patent/JP2025049872A/en
Priority to TW113128633A priority patent/TW202513264A/en
Priority to PCT/JP2024/030170 priority patent/WO2025062950A1/en
Publication of JP2025049872A publication Critical patent/JP2025049872A/en
Pending legal-status Critical Current

Links

Images

Classifications

    • BPERFORMING OPERATIONS; TRANSPORTING
    • B29WORKING OF PLASTICS; WORKING OF SUBSTANCES IN A PLASTIC STATE IN GENERAL
    • B29BPREPARATION OR PRETREATMENT OF THE MATERIAL TO BE SHAPED; MAKING GRANULES OR PREFORMS; RECOVERY OF PLASTICS OR OTHER CONSTITUENTS OF WASTE MATERIAL CONTAINING PLASTICS
    • B29B11/00Making preforms
    • B29B11/06Making preforms by moulding the material
    • B29B11/12Compression moulding
    • HELECTRICITY
    • H01ELECTRIC ELEMENTS
    • H01LSEMICONDUCTOR DEVICES NOT COVERED BY CLASS H10
    • H01L21/00Processes or apparatus adapted for the manufacture or treatment of semiconductor or solid state devices or of parts thereof
    • H01L21/02Manufacture or treatment of semiconductor devices or of parts thereof
    • H01L21/04Manufacture or treatment of semiconductor devices or of parts thereof the devices having potential barriers, e.g. a PN junction, depletion layer or carrier concentration layer
    • H01L21/50Assembly of semiconductor devices using processes or apparatus not provided for in a single one of the groups H01L21/18 - H01L21/326 or H10D48/04 - H10D48/07 e.g. sealing of a cap to a base of a container
    • H01L21/56Encapsulations, e.g. encapsulation layers, coatings
    • HELECTRICITY
    • H01ELECTRIC ELEMENTS
    • H01LSEMICONDUCTOR DEVICES NOT COVERED BY CLASS H10
    • H01L23/00Details of semiconductor or other solid state devices
    • H01L23/28Encapsulations, e.g. encapsulating layers, coatings, e.g. for protection

Landscapes

  • Engineering & Computer Science (AREA)
  • Physics & Mathematics (AREA)
  • Condensed Matter Physics & Semiconductors (AREA)
  • General Physics & Mathematics (AREA)
  • Computer Hardware Design (AREA)
  • Microelectronics & Electronic Packaging (AREA)
  • Power Engineering (AREA)
  • Manufacturing & Machinery (AREA)
  • Mechanical Engineering (AREA)
  • Encapsulation Of And Coatings For Semiconductor Or Solid State Devices (AREA)
  • Casting Or Compression Moulding Of Plastics Or The Like (AREA)
  • Processing And Handling Of Plastics And Other Materials For Molding In General (AREA)

Abstract

To provide a sealing resin capable of implementing a compression molding apparatus and a compression molding method that prevent occurrence of molding defects caused by uneven winding, residual gas, and dust generated during molding, and can prevent formation of thin burrs in a sealing resin at exposed parts of a molded product, and a forming method and a forming apparatus for the sealing resin capable of facilitating handling before resin sealing.SOLUTION: A forming apparatus 1 for forming sealing resin R is a forming apparatus for forming sealing resin R to be used in compression molding of a workpiece W, and is equipped with a tableting mold 102 having an upper mold 104 and a lower mold 106 to accommodate base resin Rm therein and tablets the base resin Rm into a lattice-shaped sealing resin R having through holes Rh.SELECTED DRAWING: Figure 1

Description

本発明は、圧縮成形に用いられる封止樹脂並びにその形成方法及び形成装置に関する。 The present invention relates to a sealing resin used in compression molding, as well as a method and device for forming the same.

基材に電子部品が搭載されたワークを封止樹脂により封止して成形品に加工する樹脂封止装置及び樹脂封止方法の例として、圧縮成形方式によるものが知られている。 One example of a resin sealing device and resin sealing method that uses a compression molding method to seal a workpiece having electronic components mounted on a substrate with sealing resin and process it into a molded product.

圧縮成形方式は、上型と下型とを備えて構成される封止金型に設けられる封止領域(キャビティ)に所定量の封止樹脂を供給すると共に当該封止領域にワークを配置して、上型と下型とでクランプする操作によって樹脂封止する技術である。一例として、上型にキャビティを設けた封止金型を用いる場合、ワーク上の中心位置に一括して封止樹脂を供給して成形する技術等が知られている。一方、下型にキャビティを設けた封止金型を用いる場合、当該キャビティを含む金型面を覆うリリースフィルム(以下、単に「フィルム」と称する場合がある)及び封止樹脂を供給して成形する技術等が知られている(特許文献1:国際公開WO2015/159743号公報参照)。 The compression molding method is a technique in which a predetermined amount of sealing resin is supplied to a sealing area (cavity) provided in a sealing mold comprising an upper mold and a lower mold, a workpiece is placed in the sealing area, and the upper and lower molds are clamped together to seal the workpiece. As an example, when a sealing mold with a cavity in the upper mold is used, a technique is known in which the sealing resin is supplied all at once to the center position of the workpiece and molded. On the other hand, when a sealing mold with a cavity in the lower mold is used, a technique is known in which a release film (hereinafter sometimes simply referred to as "film") that covers the mold surface including the cavity and the sealing resin are supplied and molded (see Patent Document 1: International Publication WO2015/159743).

国際公開WO2015/159743号公報International Publication No. WO2015/159743

従来は、封止樹脂の流動や接触に起因するワークの変形防止等の観点において優位性があるとの考えもあり、上型にワークが保持され、下型にキャビティが設けられ、当該キャビティ内に封止樹脂(一例として、顆粒樹脂)が供給される圧縮成形方式が広く採用されていた。 Conventionally, the compression molding method was widely used, in which the workpiece is held in the upper die, a cavity is provided in the lower die, and the sealing resin (granular resin, for example) is supplied into the cavity, as it was thought to be advantageous in terms of preventing deformation of the workpiece due to the flow and contact of the sealing resin.

しかしながら、上型にワークが保持され、下型にキャビティが設けられる構成においては、ワークが薄い場合や大型の場合に、上型での保持が難しく落下が生じ易いという課題があった。また、封止樹脂として顆粒樹脂が用いられる場合、樹脂粒同士の擦れ等により成形時の粉塵が発生するという課題や、ハンドリングが難しいという課題に加えて、下型に設けられるキャビティ内の全領域に対して均等に封止樹脂を供給(散布)することが難しく撒きムラが生じ易いという課題があった。また、封止樹脂の散布時に粒同士の隙間に含まれる空気及び溶融時に封止樹脂より脱泡することによる気体成分が抜けずに成形品にボイド等として残ってしまう成形不良が生じ易いという課題があった。 However, in a configuration in which the workpiece is held in the upper die and the cavity is provided in the lower die, there is an issue that if the workpiece is thin or large, it is difficult to hold it in the upper die and it is prone to falling. Furthermore, when granular resin is used as the sealing resin, there are issues such as dust generation during molding due to friction between the resin particles, and handling is difficult, as well as issues that it is difficult to supply (spray) the sealing resin evenly over the entire area inside the cavity provided in the lower die, which tends to result in uneven spreading. There is also an issue that the air contained in the gaps between the particles when the sealing resin is sprayed and the gas components caused by degassing from the sealing resin when melted do not escape and remain in the molded product as voids, which is likely to cause molding defects.

一方、キャビティの配置に関わらず、例えば、放熱板やフリップチップ接続されたチップ等の電子部品が露出する成形品を形成する場合に、当該成形品の露出部位(具体例として、電子部品の上面)に封止樹脂の薄バリが形成され易く、露出が不完全となってしまうという課題があった。 However, regardless of the cavity arrangement, when forming a molded product in which electronic components such as heat sinks or flip-chip connected chips are exposed, there is a problem in that thin burrs of the sealing resin are likely to form on the exposed areas of the molded product (for example, on the top surface of the electronic components), resulting in incomplete exposure.

本発明は、上記事情に鑑みてなされ、撒きムラ、残留気体、成形時の粉塵発生に起因する成形不良の発生を防止することが可能で、且つ、成形品の露出部位における封止樹脂の薄バリ形成を防止することが可能な圧縮成形装置及び圧縮成形方法を実現することができ、また、樹脂封止前のハンドリングを容易化することができる封止樹脂並びにその形成方法及び形成装置を提供することを目的とする。 The present invention has been made in consideration of the above circumstances, and aims to provide a compression molding device and compression molding method that can prevent molding defects caused by uneven distribution, residual gas, and dust generation during molding, and can prevent the formation of thin burrs in the sealing resin at exposed parts of the molded product, and also to provide a sealing resin and a molding method and device therefor that can facilitate handling before resin sealing.

本発明は、一実施形態として以下に記載するような解決手段により、前記課題を解決する。 The present invention solves the above problems by the solution described below as one embodiment.

一実施形態に係る封止樹脂の形成装置は、ワークの圧縮成形に用いられる封止樹脂を形成する形成装置であって、上型と下型とを有してベース樹脂を収容し、貫通孔を有する格子状の前記封止樹脂となるように打錠する打錠金型を備えることを要件とする。当該装置により形成される一実施形態に係る封止樹脂は、貫通孔を有する格子状の構成であることを要件とする。 The sealing resin forming device according to one embodiment is a forming device that forms sealing resin used in compression molding of a workpiece, and is required to be equipped with a tableting die that has an upper die and a lower die, contains a base resin, and tablets the sealing resin into a lattice-like shape having through holes. The sealing resin according to one embodiment formed by the device is required to have a lattice-like configuration having through holes.

上記の封止樹脂を用いて圧縮成形を行うことによって、撒きムラ、残留気体、成形時の粉塵発生に起因する成形不良の発生を防止することができる。また、封止樹脂のハンドリングを容易化することができると共に、成形品の露出部位における封止樹脂の薄バリ形成を防止することができる。また、上型にキャビティが設けられ、下型にワークが保持される構成に適用することによって、ワークが落下する等の不具合を解決することができる。 By performing compression molding using the above-mentioned sealing resin, it is possible to prevent molding defects caused by uneven distribution, residual gas, and dust generation during molding. It is also possible to facilitate handling of the sealing resin and prevent the formation of thin burrs in the sealing resin at exposed parts of the molded product. Furthermore, by applying this to a configuration in which a cavity is provided in the upper mold and the workpiece is held in the lower mold, problems such as the workpiece falling can be solved.

また、前記下型は、キャビティの底部となるキャビティ駒と、前記キャビティ駒を取囲む配置で設けられて前記キャビティの内壁部となるクランパと、前記キャビティ駒の上面から突出して所定位置に配置されて上下に移動可能な複数の可動駒と、を有し、前記打錠金型は、前記キャビティ内における前記可動駒の周囲に前記ベース樹脂を収容して打錠する構成であり、前記可動駒の領域が前記貫通孔として形成される構成であることが好ましい。 The lower die has a cavity piece that forms the bottom of the cavity, a clamper that is arranged to surround the cavity piece and forms the inner wall of the cavity, and a number of movable pieces that protrude from the upper surface of the cavity piece, are arranged at predetermined positions, and can move up and down. The tableting die is configured to accommodate the base resin around the movable pieces in the cavity and tablet it, and the area of the movable pieces is preferably configured to be formed as the through-hole.

また、前記上型は、上プレートの下面に放熱板を保持する保持部を有し、前記打錠金型は、前記上型の前記保持部に前記放熱板を保持した状態で且つ前記下型の前記可動駒の周囲に前記ベース樹脂を収容した状態で打錠する構成であり、前記放熱板が固着された状態の前記封止樹脂が形成される構成であることが好ましい。これによれば、貫通孔を有する格子状であって、放熱板が一面側に固着された封止樹脂を形成することができる。当該装置により形成される一実施形態に係る封止樹脂は、貫通孔を有する格子状であって、放熱板が一面側に固着された構成であることを要件とする。 The upper die has a holding part that holds a heat sink on the lower surface of the upper plate, and the tableting die is configured to perform tableting with the heat sink held in the holding part of the upper die and with the base resin accommodated around the movable piece of the lower die, and it is preferable that the sealing resin is formed with the heat sink fixed. This makes it possible to form a sealing resin that is lattice-shaped with through holes and has a heat sink fixed to one side. The sealing resin according to one embodiment formed by the device is required to be lattice-shaped with through holes and has a heat sink fixed to one side.

また、前記打錠金型は、前記下型の前記キャビティ駒の上面、もしくは、前記上型の上プレートの下面、の少なくとも一方に、前記封止樹脂に立設される脚部を形成する脚部形成溝が設けられていることが好ましい。 The tableting die is preferably provided with a leg forming groove on at least one of the upper surface of the cavity piece of the lower die or the lower surface of the upper plate of the upper die, which forms a leg that is erected in the sealing resin.

また、前記ベース樹脂として、パウダー樹脂が用いられることが好ましい。 It is also preferable that a powder resin is used as the base resin.

また、一実施形態に係る封止樹脂の形成方法は、ワークの圧縮成形に用いられる封止樹脂を形成する封止樹脂の形成方法であって、貫通孔を有する格子状の前記封止樹脂を形成する形成工程を備えることを要件とする。 In one embodiment, the method for forming a sealing resin is a method for forming a sealing resin to be used in compression molding of a workpiece, and is required to include a forming step for forming the sealing resin in a lattice shape having through holes.

本発明に係る形成装置及び形成方法によれば、以下の効果が得られる封止樹脂を形成することができる。すなわち、本発明に係る封止樹脂を用いれば、撒きムラ、残留気体、成形時の粉塵発生に起因する成形不良の発生を防止することが可能で、且つ、成形品の露出部位における封止樹脂の薄バリ形成を防止することが可能な圧縮成形装置及び圧縮成形方法を実現することができる。また、樹脂封止前のハンドリングを容易化することができる。 The molding device and molding method according to the present invention can form a sealing resin that provides the following effects. That is, by using the sealing resin according to the present invention, it is possible to realize a compression molding device and compression molding method that can prevent molding defects caused by uneven distribution, residual gas, and dust generation during molding, and prevent the formation of thin burrs in the sealing resin at exposed parts of the molded product. In addition, handling before resin sealing can be facilitated.

本発明の実施形態に係る封止樹脂の形成装置の例を示す平面図である。1 is a plan view illustrating an example of an apparatus for forming a sealing resin according to an embodiment of the present invention. 図1に示す形成装置の第1プレス装置の例を示す側面図である。2 is a side view showing an example of a first pressing device of the forming apparatus shown in FIG. 1 . 図1に示す形成装置の第1金型の例を示す正面断面図である。2 is a front cross-sectional view showing an example of a first mold of the forming apparatus shown in FIG. 1 . 図1に示す形成装置による封止樹脂の形成方法の例を説明する説明図である。2A to 2C are explanatory diagrams illustrating an example of a method for forming a sealing resin using the forming apparatus shown in FIG. 1 . 図4に続く説明図である。FIG. 5 is an explanatory diagram following FIG. 4 . 図5に続く説明図である。FIG. 6 is an explanatory diagram continuing from FIG. 5 . 本発明の実施形態に係る封止樹脂を用いた圧縮成形の被成形品となるワークの例を示す斜視図である。1 is a perspective view showing an example of a workpiece to be compressed and molded using a sealing resin according to an embodiment of the present invention; 図1に示す形成装置により形成される封止樹脂の例を示す斜視図である。2 is a perspective view showing an example of a sealing resin formed by the forming apparatus shown in FIG. 1 . 図8に示す封止樹脂を用いて圧縮成形を行った成形品の例を示す斜視図である。9 is a perspective view showing an example of a molded product obtained by compression molding using the sealing resin shown in FIG. 8 . 図1に示す形成装置により形成される封止樹脂の他の例を示す斜視図である。1. FIG. 4 is a perspective view showing another example of a sealing resin formed by the forming apparatus shown in FIG. 図1に示す形成装置の第1金型の他の例を示す正面断面図である。1. FIG. 4 is a front cross-sectional view showing another example of the first mold of the forming apparatus shown in FIG. 本発明の実施形態に係る封止樹脂の形成装置の他の例を示す平面図である。13 is a plan view showing another example of the sealing resin forming apparatus according to the embodiment of the present invention. FIG. 図12に示す形成装置の第1金型の例を示す正面断面図である。13 is a front cross-sectional view showing an example of a first mold of the forming apparatus shown in FIG. 12. 図12に示す形成装置による封止樹脂の形成方法の例を説明する説明図である。13A to 13C are explanatory diagrams illustrating an example of a method for forming a sealing resin using the forming apparatus illustrated in FIG. 12 . 図14に続く説明図である。FIG. 15 is an explanatory diagram following FIG. 14 . 図15に続く説明図である。FIG. 16 is an explanatory diagram following FIG. 15. 図12に示す形成装置により形成される封止樹脂の例を示す斜視図である。13 is a perspective view showing an example of a sealing resin formed by the forming apparatus shown in FIG. 12. 図17に示す封止樹脂を用いて圧縮成形を行った成形品の例を示す斜視図である。18 is a perspective view showing an example of a molded product obtained by compression molding using the sealing resin shown in FIG. 17. 図12に示す形成装置により形成される封止樹脂の他の例を示す斜視図である。13 is a perspective view showing another example of the sealing resin formed by the forming apparatus shown in FIG. 12. 図12に示す形成装置の第1金型の他の例を示す正面断面図である。13 is a front cross-sectional view showing another example of the first mold of the forming apparatus shown in FIG. 12. 本発明の実施形態に係る封止樹脂が用いられる圧縮成形装置の例を示す平面図である。FIG. 2 is a plan view showing an example of a compression molding device in which a sealing resin according to an embodiment of the present invention is used. 図21に示す圧縮成形装置の第2プレス装置の例を示す側面図である。22 is a side view showing an example of a second press device of the compression molding apparatus shown in FIG. 21. 図21に示す圧縮成形装置の第2金型の例を示す正面断面図である。22 is a front cross-sectional view showing an example of a second mold of the compression molding apparatus shown in FIG. 21. 図22に示す第2プレス装置及び図23に示す第2金型を備えた圧縮成形装置による圧縮成形方法の例を説明する説明図である。24 is an explanatory diagram illustrating an example of a compression molding method using a compression molding apparatus including the second press apparatus shown in FIG. 22 and the second mold shown in FIG. 23 . FIG. 図24に続く説明図である。This is an explanatory diagram following Figure 24. 図25に続く説明図である。This is an explanatory diagram following Figure 25. 図26に続く説明図である。This is an explanatory diagram following Figure 26. 図27に続く説明図である。This is an explanatory diagram following Figure 27. 図28に続く説明図である。This is an explanatory diagram following Figure 28. 図21に示す圧縮成形装置の第2金型の他の例を示す正面断面図である。22 is a front cross-sectional view showing another example of the second mold of the compression molding apparatus shown in FIG. 21. 図22に示す第2プレス装置及び図30に示す第2金型を備えた圧縮成形装置による圧縮成形装置の例を説明する説明図である。31 is an explanatory diagram illustrating an example of a compression molding apparatus including the second press apparatus shown in FIG. 22 and the second mold shown in FIG. 30. FIG. 図31に続く説明図である。This is an explanatory diagram following Figure 31. 図32に続く説明図である。This is an explanatory diagram following Figure 32. 図33に続く説明図である。This is an explanatory diagram following Figure 33. 図21に示す圧縮成形装置の第3プレス装置の例を示す側面図である。FIG. 22 is a side view showing an example of a third press device of the compression molding apparatus shown in FIG. 21 . 図21に示す圧縮成形装置の第3金型の例を示す正面断面図である。22 is a front cross-sectional view showing an example of a third mold of the compression molding apparatus shown in FIG. 21. 図35に示す第3プレス装置及び図36に示す第3金型を備えた圧縮成形装置による圧縮成形方法の例を説明する説明図である。FIG. 37 is an explanatory diagram illustrating an example of a compression molding method using a compression molding apparatus equipped with the third press apparatus shown in FIG. 35 and the third mold shown in FIG. 36 . 図37に続く説明図である。This is an explanatory diagram following Figure 37. 図38に続く説明図である。This is an explanatory diagram following Figure 38. 図39に続く説明図である。This is an explanatory diagram following Figure 39. 図40に続く説明図である。This is an explanatory diagram following Figure 40. 図41に続く説明図である。This is an explanatory diagram following Figure 41. 図21に示す圧縮成形装置の第3金型の他の例を示す正面断面図である。22 is a front cross-sectional view showing another example of the third mold of the compression molding apparatus shown in FIG. 21. 図35に示す第3プレス装置及び図43に示す第3金型を備えた圧縮成形装置による圧縮成形装置の例を説明する説明図である。FIG. 44 is an explanatory diagram illustrating an example of a compression molding apparatus including the third press apparatus shown in FIG. 35 and the third mold shown in FIG. 43 . 図44に続く説明図である。This is an explanatory diagram following Figure 44. 図45に続く説明図である。This is an explanatory diagram following Figure 45. 図46に続く説明図である。This is an explanatory diagram following Figure 46.

[第1の実施形態]
(封止樹脂の形成装置)
本発明の実施形態に係る封止樹脂Rは、ワーク(被成形品)Wの圧縮成形に用いられる樹脂である。第1の実施形態では、封止樹脂Rとして貫通孔Rhを有する格子状の封止樹脂R(以下、「R1」と表記して区別する場合がある)を形成する例について説明する。
[First embodiment]
(Sealing resin forming device)
The sealing resin R according to the embodiment of the present invention is a resin used for compression molding of a workpiece (molded product) W. In the first embodiment, an example will be described in which the sealing resin R is formed as a lattice-shaped sealing resin R having through holes Rh (hereinafter, may be distinguished by being written as "R1").

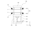
初めに、封止樹脂Rの形成装置1(以下、単に「形成装置」と称する場合がある)について説明する。当該形成装置1は、圧縮成形装置2の装置内、装置外のいずれに設けてもよい。ここで、図1は、形成装置1の例を示す平面図(概略図)である。尚、説明の便宜上、図中において矢印により装置の左右方向(X方向)、前後方向(Y方向)、上下方向(Z方向)を示す。また、各実施形態を説明するための全図において、同一の機能を有する部材には同一の符号を付し、その繰返しの説明は省略する場合がある。 First, the molding device 1 for molding the sealing resin R (hereinafter, sometimes simply referred to as the "forming device") will be described. The forming device 1 may be provided either inside or outside the compression molding device 2. Here, FIG. 1 is a plan view (schematic diagram) showing an example of the forming device 1. For ease of explanation, arrows in the figure indicate the left-right direction (X direction), front-back direction (Y direction), and up-down direction (Z direction) of the device. In addition, in all the figures for explaining each embodiment, members having the same function are given the same reference numerals, and repeated explanations may be omitted.

成形対象であるワークWは、基材Waに電子部品Wbが搭載された構成を備えている(図7参照)。より具体的には、基材Waの例として、樹脂基板、セラミックス基板、金属基板、キャリアプレート、リードフレーム、ウェハ等の板状の部材が挙げられる。また、電子部品Wbの例として、半導体チップ、MEMSチップ、受動素子、放熱板(ヒートシンク)、導電部材、スペーサ、コイルシート等が挙げられる(尚、ワークWは、電子部品Wbのみからなる構成としてもよい)。一般的な基材Waの形状は、長方形状(短冊状)、正方形状、円形状等である。また、一つの基材Waに搭載される電子部品Wbの個数は、一つもしくは複数個に設定される。本実施形態においては、バンプWcを介して基材Waに電子部品Wbがフリップチップ接続された構成のワークWを例に挙げて説明するが、これに限定されるものではない。 The workpiece W to be molded has a configuration in which electronic components Wb are mounted on a substrate Wa (see FIG. 7). More specifically, examples of the substrate Wa include plate-shaped members such as resin substrates, ceramic substrates, metal substrates, carrier plates, lead frames, and wafers. Examples of the electronic components Wb include semiconductor chips, MEMS chips, passive elements, heat sinks, conductive members, spacers, and coil sheets (note that the workpiece W may be configured to consist only of electronic components Wb). The shape of the substrate Wa is generally rectangular (striped), square, circular, and the like. The number of electronic components Wb mounted on one substrate Wa is set to one or more. In this embodiment, the workpiece W is described as an example in which electronic components Wb are flip-chip connected to the substrate Wa via bumps Wc, but is not limited thereto.

本実施形態においては、ベース樹脂Rm、及び、当該ベース樹脂Rmから形成される封止樹脂Rとして、熱硬化性樹脂(例えば、フィラー含有のエポキシ系樹脂等であるが、これに限定されない)が用いられる。封止樹脂Rは、全体の形状がワークWの形状に対応させた所定形状(詳細は後述)を有する固形樹脂として形成される。通常は、一個で封止必要量(ワークW一個当たりの一回分)の「全体」をなすが、数個(例えば二、三個程度)の分割状態で封止必要量の「全体」をなすように構成してもよい。尚、ベース樹脂Rmには、熱硬化性樹脂(性質)であるパウダー樹脂(態様)が好適に用いられる(詳細は後述)。但し、これに限定されるものではなく、顆粒樹脂、破砕状樹脂、固形樹脂、液状樹脂、もしくは、それらの内の複数を組合せた樹脂、等が用いられる構成としてもよい。 In this embodiment, a thermosetting resin (e.g., an epoxy resin containing a filler, but not limited thereto) is used as the base resin Rm and the sealing resin R formed from the base resin Rm. The sealing resin R is formed as a solid resin having a predetermined shape (details will be described later) whose overall shape corresponds to the shape of the workpiece W. Usually, one piece constitutes the "whole" of the required amount of sealing (one amount per workpiece W), but it may be configured so that several pieces (e.g., about two or three pieces) are divided to constitute the "whole" of the required amount of sealing. In addition, a powder resin (form) that is a thermosetting resin (property) is preferably used for the base resin Rm (details will be described later). However, it is not limited thereto, and a granular resin, a crushed resin, a solid resin, a liquid resin, or a resin that is a combination of a plurality of these may be used.

図1に示すように、形成装置1は、ベース樹脂Rmの供給等を行うベース樹脂供給ユニット10D、ベース樹脂Rmを用いて封止樹脂Rの形成等を行う樹脂形成ユニット10Eを主要構成として備えている。一例として、図1中のX方向に沿って、ベース樹脂供給ユニット10D、樹脂形成ユニット10Eの順に配置されている。但し、上記の構成に限定されるものではなく、ユニット内の機器構成やユニット数、ユニットの配置順等を変更してもよい。また、上記以外のユニットを備える構成としてもよい(不図示)。 As shown in FIG. 1, the forming device 1 mainly comprises a base resin supply unit 10D that supplies base resin Rm, and a resin forming unit 10E that uses base resin Rm to form sealing resin R. As an example, the base resin supply unit 10D and the resin forming unit 10E are arranged in this order along the X direction in FIG. 1. However, the above configuration is not limited, and the equipment configuration within the unit, the number of units, the order in which the units are arranged, etc. may be changed. In addition, the configuration may include units other than those described above (not shown).

また、形成装置1は、ユニット間を跨いでガイドレール20が直線状に設けられており、ベース樹脂Rmを搬送する搬送装置(第1ローダ)21がガイドレール20に沿ってユニット間を移動可能に設けられている。但し、上記の構成に限定されるものではなく、搬送装置は、ローダに代えて、ロボットハンド等を備える構成としてもよい。 The forming device 1 also has a guide rail 20 that is linearly arranged between the units, and a conveying device (first loader) 21 that conveys the base resin Rm is arranged to be movable between the units along the guide rail 20. However, this is not limited to the above configuration, and the conveying device may be configured to include a robot hand or the like instead of a loader.

また、形成装置1は、各ユニットにおける各機構の作動制御等を行う制御部80がベース樹脂供給ユニット10Dに配置されている(他のユニットに配置される構成としてもよい)。 In addition, in the forming device 1, a control unit 80 that controls the operation of each mechanism in each unit is disposed in the base resin supply unit 10D (it may also be configured to be disposed in another unit).

次に、形成装置1が備えるベース樹脂供給ユニット10Dについて詳しく説明する。ベース樹脂供給ユニット10Dは、ベース樹脂Rmを供給するベース樹脂供給部40を備えている。一例として、ベース樹脂供給部40は、ベース樹脂Rmを供給するディスペンサ、搬送装置等を備えて構成されている。尚、ベース樹脂Rmをベース樹脂供給ユニット10Dから樹脂形成ユニット10Eへ搬送する場合、搬送装置には第1ローダ21を用いてもよく、他の搬送装置等(不図示)を用いてもよい(ベース樹脂Rmに関しては、ディスペンサからの直接散布等も採用し得る)。 Next, the base resin supply unit 10D equipped in the forming device 1 will be described in detail. The base resin supply unit 10D is equipped with a base resin supply section 40 that supplies the base resin Rm. As an example, the base resin supply section 40 is configured with a dispenser that supplies the base resin Rm, a conveying device, etc. When conveying the base resin Rm from the base resin supply unit 10D to the resin forming unit 10E, the first loader 21 may be used as the conveying device, or another conveying device (not shown) may be used (direct spraying from a dispenser, etc. may also be used for the base resin Rm).

次に、形成装置1が備える樹脂形成ユニット10Eについて詳しく説明する。樹脂形成ユニット10Eは、ベース樹脂Rmを用いて封止樹脂Rの形成を行う装置として樹脂形成部50を備えている。本実施形態においては、当該樹脂形成ユニット10Eを二台(三台以上もしくは一台としてもよい)備えており、一台の樹脂形成ユニット10E当たり一台(二台以上としてもよい)の樹脂形成部50を備えている(図1参照)。但し、この構成に限定されるものではない。 Next, the resin forming unit 10E provided in the forming device 1 will be described in detail. The resin forming unit 10E is provided with a resin forming section 50 as a device that forms the sealing resin R using the base resin Rm. In this embodiment, two resin forming units 10E (three or more or one) are provided, and one resin forming section 50 (two or more) is provided per resin forming unit 10E (see FIG. 1). However, this configuration is not limited to this.

樹脂形成部50は、型開閉される一対の金型(例えば、合金工具鋼からなる複数の金型ブロック、金型プレート、金型ピラー等やその他の部材が組み付けられたもの)を有する打錠金型(第1金型)102を備えている。また、第1金型102を開閉駆動するプレス装置(第1プレス装置)150を備えている。第1プレス装置150の側面図(概略図)を図2に示し、第1金型102の正面断面図(概略図)を図3に示す。 The resin forming section 50 is equipped with a tableting die (first die) 102 having a pair of dies (for example, a combination of multiple die blocks, die plates, die pillars, and other components made of alloy tool steel) that are opened and closed. It also has a press device (first press device) 150 that drives the first die 102 to open and close. A side view (schematic diagram) of the first press device 150 is shown in FIG. 2, and a front cross-sectional view (schematic diagram) of the first die 102 is shown in FIG. 3.

ここで、第1プレス装置150は、図2に示すように、一対のプラテン154、156と、一対のプラテン154、156が架設される複数のタイバー152と、プラテン156を可動(昇降)させる駆動装置等を備えて構成されている。具体的に、当該駆動装置は、駆動源(例えば、電動モータ)160及び駆動伝達機構(例えば、ボールねじやトグルリンク機構)162等を備えて構成されている(但し、これに限定されるものではない)。本実施形態では、鉛直方向において上方側のプラテン154を固定プラテン(タイバー152に固定されるプラテン)とし、下方側のプラテン156を可動プラテン(タイバー152に摺動可能に保持されて昇降するプラテン)として設定している。但し、これに限定されるものではなく、上下逆に、すなわち上方側を可動プラテン、下方側を固定プラテンに設定してもよく、あるいは、上方側、下方側共に可動プラテンとして設定してもよい(いずれも不図示)。 Here, as shown in FIG. 2, the first press device 150 is configured to include a pair of platens 154, 156, a plurality of tie bars 152 on which the pair of platens 154, 156 are supported, and a drive device for moving (raising and lowering) the platen 156. Specifically, the drive device is configured to include a drive source (e.g., an electric motor) 160 and a drive transmission mechanism (e.g., a ball screw or a toggle link mechanism) 162 (however, this is not limited to this). In this embodiment, the upper platen 154 in the vertical direction is set as a fixed platen (a platen fixed to the tie bars 152), and the lower platen 156 is set as a movable platen (a platen slidably held by the tie bars 152 and raised and lowered). However, this is not limited to this, and the platens may be set upside down, i.e., the upper side may be set as a movable platen and the lower side as a fixed platen, or both the upper and lower sides may be set as movable platens (neither is shown).

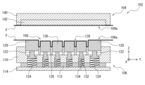
一方、第1金型102は、図3に示すように、第1プレス装置150における上記一対のプラテン154、156間に配設される一対の金型として、鉛直方向における上方側の第1上型104と、下方側の第1下型106とを備えている。第1上型104が上方側のプラテン(本実施形態では、固定プラテン154)に組み付けられ、第1下型106が下方側のプラテン(本実施形態では、可動プラテン156)に組み付けられている。この第1上型104と第1下型106とが相互に接近・離反することで型閉じ・型開きが行われる(鉛直方向(上下方向)が型開閉方向となる)。本実施形態に係る第1金型102においては、第1上型104がいわゆる「杵型」を構成し、第1下型106がいわゆる「臼型」を構成する。 On the other hand, as shown in FIG. 3, the first mold 102 is provided with a first upper mold 104 on the vertical side and a first lower mold 106 on the vertical side as a pair of molds arranged between the pair of platens 154, 156 in the first press device 150. The first upper mold 104 is assembled to the upper platen (in this embodiment, the fixed platen 154), and the first lower mold 106 is assembled to the lower platen (in this embodiment, the movable platen 156). The first upper mold 104 and the first lower mold 106 approach and move away from each other to close and open the mold (the vertical direction (up and down direction) is the mold opening and closing direction). In the first mold 102 according to this embodiment, the first upper mold 104 constitutes a so-called "pestle mold", and the first lower mold 106 constitutes a so-called "mortar mold".

次に、第1金型102の第1下型106について詳しく説明する。図3に示すように、第1下型106は、第1下型チェイス110と、これに保持される第1キャビティ駒126、第1クランパ128等を備えている。第1下型チェイス110は、第1サポートピラー112を介して第1サポートプレート114の上面に対して固定されている。第1下型106の上面(第1上型104側の面)に第1キャビティ108が設けられている。この第1キャビティ108内に所定量のベース樹脂Rmが収容される。 Next, the first lower die 106 of the first mold 102 will be described in detail. As shown in FIG. 3, the first lower die 106 includes a first lower die chase 110, a first cavity piece 126 held therein, a first clamper 128, and the like. The first lower die chase 110 is fixed to the upper surface of the first support plate 114 via a first support pillar 112. A first cavity 108 is provided on the upper surface of the first lower die 106 (the surface facing the first upper die 104). A predetermined amount of base resin Rm is accommodated in this first cavity 108.

本実施形態に係る第1下型106は、第1キャビティ108内に収容される所定量のベース樹脂Rmを押圧して、ワークWの形状に対応させた所定形状を有する封止樹脂Rとなるように形成(打錠)するための以下の構成を備えている(形成方法の詳細については後述する)。具体的に、第1キャビティ駒126において(平面視における第1キャビティ駒126の領域内に)、後述の第1上型104の上プレート142と当接可能で、且つ、上下動可能な可動駒136が所定位置(圧縮成形時に露出させる設定の電子部品Wbに対応する位置)に設けられている。当該可動駒136は押動ピン132を介して可動駒バネ134によって第1上型104に向けて付勢された状態で支持されている。一例として、可動駒136は、平面視において、対応する電子部品Wbの外形よりも所定寸法大きい外形となるように設定されている。上記構成を有する第1下型106において、所定量のベース樹脂Rmは、可動駒136の周囲(具体的に、可動駒136同士の間の凹状部138)に収容される(尚、最初に可動駒136の上面を含む第1キャビティ108内全体に当該ベース樹脂Rmを散布し、その後、スキージ等により掃き落として、最終的に凹状部138に収容されるようにしてもよい)。 The first lower die 106 according to the present embodiment has the following configuration for pressing a predetermined amount of base resin Rm contained in the first cavity 108 to form (tablet) the sealing resin R having a predetermined shape corresponding to the shape of the workpiece W (details of the forming method will be described later). Specifically, in the first cavity piece 126 (within the area of the first cavity piece 126 in plan view), a movable piece 136 that can abut against the upper plate 142 of the first upper die 104 described later and can move up and down is provided at a predetermined position (a position corresponding to the electronic component Wb set to be exposed during compression molding). The movable piece 136 is supported in a state in which it is biased toward the first upper die 104 by the movable piece spring 134 via the pushing pin 132. As an example, the movable piece 136 is set to have an outer shape that is a predetermined dimension larger than the outer shape of the corresponding electronic component Wb in plan view. In the first lower mold 106 having the above configuration, a predetermined amount of base resin Rm is accommodated around the movable pieces 136 (specifically, in the recessed portion 138 between the movable pieces 136) (note that the base resin Rm may first be sprayed over the entire first cavity 108, including the top surface of the movable pieces 136, and then swept off with a squeegee or the like, so that it is finally accommodated in the recessed portion 138).

また、第1クランパ128は、第1キャビティ駒126を囲うように環状に構成されると共に、第1押動ピン122及び第1クランパバネ124(例えば、コイルバネに例示される付勢部材)を介して、第1サポートプレート114の上面に対して離間(フローティング)して上下動可能に組み付けられる(但し、この組み付け構造に限定されるものではない)。この第1キャビティ駒126が第1キャビティ108の奥部(底部)を構成し、第1クランパ128が第1キャビティ108の側部(内壁部)を構成する。尚、一つの第1下型106に設けられる第1キャビティ108の形状や個数は、適宜設定される(一つもしくは複数個)。 The first clamper 128 is annularly configured to surround the first cavity piece 126, and is assembled to be movable up and down while being spaced apart (floating) from the upper surface of the first support plate 114 via the first pushing pin 122 and the first clamper spring 124 (e.g., a biasing member such as a coil spring) (however, this assembly structure is not limited). The first cavity piece 126 constitutes the inner part (bottom) of the first cavity 108, and the first clamper 128 constitutes the side part (inner wall part) of the first cavity 108. The shape and number of first cavities 108 provided in one first lower mold 106 are set appropriately (one or multiple).

ここで、第1プレス装置150には、第1下型106における第1キャビティ108の内面を含む金型面106a(所定領域)を覆うためのフィルムFを供給する第1下型フィルム供給部111が設けられている。尚、一例として、フィルムFは、ロール状であるが短冊状であってもよい。 Here, the first press device 150 is provided with a first lower die film supply section 111 that supplies a film F to cover the die surface 106a (predetermined area) including the inner surface of the first cavity 108 in the first lower die 106. As an example, the film F is in a roll shape, but it may also be in a strip shape.

また、第1下型106は、第1クランパ128上面や第1クランパ128と第1キャビティ駒126との境界部等に、吸引装置に連通する吸引路(孔や溝等)が設けられている(不図示)。これにより、第1下型フィルム供給部111から供給されたフィルムFを、第1キャビティ108の内面を含む金型面106aに吸着させて保持することができる。 The first lower mold 106 is also provided with suction paths (holes, grooves, etc.) (not shown) that communicate with a suction device on the top surface of the first clamper 128, the boundary between the first clamper 128 and the first cavity piece 126, etc. This allows the film F supplied from the first lower mold film supply unit 111 to be adsorbed and held on the mold surface 106a including the inner surface of the first cavity 108.

また、本実施形態においては、第1下型106を所定温度に加熱する第1下型加熱機構(不図示)が設けられている。この第1下型加熱機構は、ヒータ(例えば、電熱線ヒータ)、温度センサ、電源等を備えており、制御部80によって加熱の制御が行われる。一例として、ヒータは、第1下型チェイス110に内蔵され、第1下型106全体及び第1キャビティ108内に収容されるベース樹脂Rmに熱を加える構成となっている。このとき、ベース樹脂Rmが熱硬化(本硬化)しない程度の所定温度(例えば、50℃~80℃)となるように、第1下型106が加熱される。 In this embodiment, a first lower die heating mechanism (not shown) is provided to heat the first lower die 106 to a predetermined temperature. This first lower die heating mechanism includes a heater (e.g., an electric wire heater), a temperature sensor, a power source, etc., and heating is controlled by the control unit 80. As an example, the heater is built into the first lower die chase 110 and is configured to apply heat to the entire first lower die 106 and the base resin Rm contained in the first cavity 108. At this time, the first lower die 106 is heated to a predetermined temperature (e.g., 50°C to 80°C) at which the base resin Rm does not thermally cure (mainly cure).

次に、第1金型102の第1上型104について詳しく説明する。図3に示すように、第1上型104は、第1下型106の第1キャビティ108内に収容される所定量のベース樹脂Rmを押圧して、ワークWの形状に対応させた所定形状を有する封止樹脂Rとなるように形成(打錠)する上プレート(第1プレート)142を備えている(形成方法の詳細については後述する)。第1プレート142は、第1上型チェイス140に保持(固定)される。一例として、第1プレート142は、下面(第1下型106側の面)が平面状に形成されており、前述の第1下型106の全ての可動駒136と当接可能に構成されている。 Next, the first upper die 104 of the first mold 102 will be described in detail. As shown in FIG. 3, the first upper die 104 has an upper plate (first plate) 142 that presses a predetermined amount of base resin Rm contained in the first cavity 108 of the first lower die 106 to form (compress) the sealing resin R having a predetermined shape corresponding to the shape of the workpiece W (details of the forming method will be described later). The first plate 142 is held (fixed) by the first upper die chase 140. As an example, the first plate 142 has a flat lower surface (surface facing the first lower die 106) and is configured to be able to abut against all the movable pieces 136 of the first lower die 106 described above.

ここで、第1プレス装置150には、第1上型104の金型面104a(所定領域)を覆うためのフィルムFを供給する第1上型フィルム供給部113が設けられている。尚、一例として、フィルムFは、ロール状であるが短冊状であってもよい。 Here, the first press device 150 is provided with a first upper die film supply section 113 that supplies a film F to cover the die surface 104a (predetermined area) of the first upper die 104. As an example, the film F is in a roll shape, but it may also be in a strip shape.

また、第1上型104は、第1プレート142等に、吸引装置に連通する吸引路(孔や溝等)が設けられている(不図示)。これにより、第1上型フィルム供給部113から供給されたフィルムFを、金型面104aに吸着させて保持することができる。 The first upper mold 104 also has suction paths (holes, grooves, etc.) (not shown) in the first plate 142, etc., that communicate with a suction device. This allows the film F supplied from the first upper mold film supply unit 113 to be adsorbed and held on the mold surface 104a.

また、本実施形態においては、第1上型104を所定温度に加熱する第1上型加熱機構(不図示)が設けられている。この第1上型加熱機構は、ヒータ(例えば、電熱線ヒータ)、温度センサ、電源等を備えており、制御部80によって加熱の制御が行われる。一例として、ヒータは、第1上型チェイス140に内蔵され、第1上型104全体に熱を加える構成となっている。このとき、上記第1下型106に保持(収容)されるベース樹脂Rmが熱硬化(本硬化)しない程度の所定温度(例えば、50℃~80℃)となるように、第1上型104が加熱される。 In this embodiment, a first upper die heating mechanism (not shown) is provided to heat the first upper die 104 to a predetermined temperature. This first upper die heating mechanism includes a heater (e.g., an electric wire heater), a temperature sensor, a power source, etc., and heating is controlled by the control unit 80. As an example, the heater is built into the first upper die chase 140 and is configured to apply heat to the entire first upper die 104. At this time, the first upper die 104 is heated to a predetermined temperature (e.g., 50°C to 80°C) at which the base resin Rm held (contained) in the first lower die 106 does not thermally cure (mainly cure).

(封止樹脂の形成方法)
続いて、第1の実施形態に係る封止樹脂R(R1)の形成方法(以下、単に「形成方法」と称する場合がある)について説明する。当該形成方法は、一例として、上記の第1の実施形態に係る形成装置1を用いて実施することができる。ここで、図4~図6は、主要工程の説明図である。
(Method of forming sealing resin)
Next, a method for forming the sealing resin R (R1) according to the first embodiment (hereinafter, may be simply referred to as a "forming method") will be described. As an example, the forming method can be carried out using the forming apparatus 1 according to the first embodiment. Here, Figs. 4 to 6 are explanatory diagrams of the main steps.

先ず、準備工程を実施する。具体的に、第1下型加熱機構により第1下型106を所定温度(ベース樹脂Rm、封止樹脂Rが本硬化しない温度であり、例えば、50℃~80℃)に調整して加熱する加熱工程(第1下型加熱工程)を実施する。また、第1上型加熱機構により第1上型104を所定温度(ベース樹脂Rm、封止樹脂Rが本硬化しない温度であり、例えば、50℃~80℃)に調整して加熱する加熱工程(第1上型加熱工程)を実施する。また、第1下型フィルム供給部111を作動させて新しいフィルムFを供給して、第1下型106における第1キャビティ108の内面を含む金型面106aの所定領域を覆うように吸着させる下型フィルム供給工程(第1下型フィルム供給工程)を実施する。また、第1上型フィルム供給部113を作動させて新しいフィルムFを供給して、第1上型104の金型面104aの所定領域を覆うように吸着させる上型フィルム供給工程(第1上型フィルム供給工程)を実施する。 First, a preparation process is performed. Specifically, a heating process (first lower mold heating process) is performed in which the first lower mold 106 is adjusted to a predetermined temperature (a temperature at which the base resin Rm and the sealing resin R do not fully cure, for example, 50°C to 80°C) by the first lower mold heating mechanism and heated. In addition, a heating process (first upper mold heating process) is performed in which the first upper mold 104 is adjusted to a predetermined temperature (a temperature at which the base resin Rm and the sealing resin R do not fully cure, for example, 50°C to 80°C) by the first upper mold heating mechanism and heated. In addition, a lower mold film supply process (first lower mold film supply process) is performed in which the first lower mold film supply unit 111 is operated to supply a new film F and adsorb it so as to cover a predetermined area of the mold surface 106a including the inner surface of the first cavity 108 in the first lower mold 106. In addition, the first upper die film supply unit 113 is operated to supply new film F, and an upper die film supply process (first upper die film supply process) is carried out in which the film F is adsorbed to cover a predetermined area of the die surface 104a of the first upper die 104.

準備工程の後に、ワークWの形状に対応させた所定形状を有する封止樹脂R(R1)を形成する形成工程を実施する。 After the preparation process, a forming process is carried out to form sealing resin R (R1) having a predetermined shape that corresponds to the shape of the workpiece W.

本実施形態に係る形成工程は、ベース樹脂Rmを打錠することにより、封止樹脂R(R1)として、ワークWの形状に対応させた所定形状を有する固形樹脂を形成する打錠工程を備えている。尚、形成工程の他の例として、打錠によらない形成方法を採用してもよい。 The forming process according to this embodiment includes a tableting process in which the base resin Rm is tableted to form a solid resin having a predetermined shape corresponding to the shape of the workpiece W as the sealing resin R (R1). As another example of the forming process, a forming method that does not involve tableting may be used.

上記の打錠工程は、具体的に、ベース樹脂供給部40から供給された所定量のベース樹脂Rmを、搬送装置(例えば、第1ローダ21等)によって搬送して、もしくは、ディスペンサ等から直接散布して、第1下型106の第1キャビティ108内に収容する(図4参照)。前述の通り、当該ベース樹脂Rmを、可動駒136の上面に載らないようにしながら可動駒136同士の間の凹状部138に収容する(尚、最初に可動駒136の上面を含む第1キャビティ108内全体に当該ベース樹脂Rmを散布し、その後、スキージ等により掃き落として、最終的に凹状部138に収容してもよい)。次いで、第1プレス装置150を作動させて、上記の所定温度に昇温された第1金型102の型閉じを行う(図5参照)。 Specifically, the tableting process involves conveying a predetermined amount of base resin Rm supplied from the base resin supply unit 40 by a conveying device (e.g., the first loader 21, etc.) or directly dispersing the base resin Rm from a dispenser or the like, and storing the base resin Rm in the first cavity 108 of the first lower mold 106 (see FIG. 4). As described above, the base resin Rm is stored in the recessed portion 138 between the movable pieces 136 without being placed on the upper surface of the movable pieces 136 (note that the base resin Rm may first be dispersed over the entire first cavity 108, including the upper surface of the movable pieces 136, and then swept off by a squeegee or the like, and finally stored in the recessed portion 138). Next, the first press device 150 is operated to close the first mold 102, which has been heated to the predetermined temperature (see FIG. 5).

型閉じの際は、初めに第1クランパ128の上面と第1プレート142の下面とが当接する。次いで(もしくは同時に)、可動駒136の上面と第1プレート142の下面とが当接して、当該可動駒136の上面の全面が覆われた状態となる。次いで、第1キャビティ駒126の上面(凹状部138の領域)と第1プレート142の下面(凹状部138と対向する領域)とでベース樹脂Rmを打錠(挟み込んで加圧)する。これにより、「所定形状」(詳細は後述)を有し、本硬化していない状態の固形の封止樹脂R(R1)が形成される。尚、「固形」とは、本硬化しない温度まで加熱しながら打錠するため、いわゆるBステージまで溶融した状態となったものや、溶融する直前の状態のものが含まれる。 When the mold is closed, first the upper surface of the first clamper 128 and the lower surface of the first plate 142 come into contact. Next (or simultaneously), the upper surface of the movable piece 136 and the lower surface of the first plate 142 come into contact, covering the entire upper surface of the movable piece 136. Next, the base resin Rm is compressed (sandwiched and pressed) between the upper surface of the first cavity piece 126 (the area of the concave portion 138) and the lower surface of the first plate 142 (the area facing the concave portion 138). This forms a solid sealing resin R (R1) that has a "predetermined shape" (details will be described later) and is not fully cured. Note that "solid" includes those that have been melted to the so-called B stage or those that are just about to melt, because the tableting is performed while heating to a temperature that does not fully cure.

上記の打錠工程は、形成される封止樹脂Rが、その後の樹脂封止(圧縮成形)工程において本硬化することができるように、ベース樹脂Rmの本硬化が進み難い温度で実施すること(本硬化が進み難い温度に第1下型106及び第1上型104を加熱して実施すること)が重要である。前述の通り、「本硬化が進み難い温度」は、ベース樹脂Rmの材質にもよるが、具体例として、50℃~80℃程度である(本実施形態においては、70℃程度である)。 It is important that the above-mentioned tableting process is carried out at a temperature at which the main curing of the base resin Rm does not proceed easily (the first lower die 106 and the first upper die 104 are heated to a temperature at which the main curing does not proceed easily) so that the formed sealing resin R can be fully cured in the subsequent resin sealing (compression molding) process. As described above, the "temperature at which the main curing does not proceed easily" depends on the material of the base resin Rm, but is specifically about 50°C to 80°C (about 70°C in this embodiment).

また、上記ベース樹脂Rmとして、パウダー樹脂が用いられることが好適である。これによれば、顆粒樹脂や破砕状樹脂が用いられる場合と比較して、樹脂量を極めて正確に調整して供給することができる。但し、パウダー樹脂に限定されるものではない。 It is also preferable to use a powder resin as the base resin Rm. This allows the amount of resin to be adjusted and supplied with extremely high precision compared to when granular or crushed resin is used. However, it is not limited to powder resin.

打錠工程の後に、第1金型102の型開きを行い、封止樹脂Rと使用済みのフィルムFとを分離して当該封止樹脂Rを取出せるようにする型開き工程を実施する(図6参照)。本実施形態においては、前述の下型フィルム供給工程及び上型フィルム供給工程を備えることによって、第1下型106の金型面106a及び第1上型104の金型面104aの両方にフィルムFが配置されるため、打錠により形成された封止樹脂Rの離型が容易となり、金型への樹脂付着による欠損を防止することができる。 After the tableting process, the first mold 102 is opened and the sealing resin R is separated from the used film F to enable removal of the sealing resin R (see FIG. 6). In this embodiment, by providing the lower mold film supplying process and the upper mold film supplying process described above, the film F is placed on both the mold surface 106a of the first lower mold 106 and the mold surface 104a of the first upper mold 104, which makes it easier to release the sealing resin R formed by tableting and prevents damage caused by resin adhesion to the mold.

また、型開き工程の後に、第1下型フィルム供給部111、第1上型フィルム供給部113を作動させて、使用済みのフィルムFを第1金型102内から送り出し、新しいフィルムFを第1金型102内へ送り込んでセットするフィルム供給工程(第1下型フィルム供給工程、第1上型フィルム供給工程)を実施する。 In addition, after the mold opening process, the first lower mold film supply unit 111 and the first upper mold film supply unit 113 are operated to send out the used film F from inside the first mold 102 and to send and set a new film F into the first mold 102, thereby carrying out a film supply process (first lower mold film supply process, first upper mold film supply process).

以上が本実施形態に係る封止樹脂Rの形成方法の主要工程である。但し、上記の工程順は一例であって、支障がない限り先後順の変更や並行実施が可能である。 The above are the main steps in the method for forming the sealing resin R according to this embodiment. However, the above order of steps is only an example, and the order of steps can be changed or steps can be performed in parallel as long as no problems occur.

(封止樹脂)
上記の形成装置1及び形成方法によって形成される封止樹脂R(R1)の構成(形状)例を図8に示す(但し、この構成に限定されるものではない)。具体的に、板状の本体部Raに複数の貫通孔Rhが並設された格子状の形状を有している。ここで、本願における「格子状」とは、一列状を含むマトリクス状として例示するが、これに限定されるものではなく、複数行、複数列のマトリクス状でもランダム状等であってもよい。尚、当該封止樹脂R(R1)は、一個で封止必要量(ワークW一個当たりの一回分)の「全体」をなすように構成してもよく、あるいは、複数個(例えば二、三個程度)の集合(連結)状態で封止必要量の「全体」をなすように構成してもよい。
(Sealing resin)
An example of the configuration (shape) of the sealing resin R (R1) formed by the above-mentioned forming device 1 and forming method is shown in FIG. 8 (however, the present invention is not limited to this configuration). Specifically, the sealing resin R (R1) has a lattice shape in which a plurality of through holes Rh are arranged in a plate-shaped main body Ra. Here, the "lattice shape" in this application is exemplified as a matrix shape including a single row shape, but is not limited to this, and may be a matrix shape of multiple rows and columns, a random shape, etc. In addition, the sealing resin R (R1) may be configured so that one piece of the sealing resin R (R1) constitutes the "whole" of the required amount of sealing (one time per work W), or may be configured so that a plurality of pieces (for example, about two or three pieces) are assembled (connected) to constitute the "whole" of the required amount of sealing.

上記の封止樹脂R(R1)を用いて樹脂封止(圧縮成形)を行うことによって、電子部品Wbの上面Wbfに薄バリが形成されることを防止でき、当該上面Wbfが確実に露出した状態の成形品Wp(図9参照)を形成することができる(詳細は後述)。そのため、上記の形成工程においては、封止対象となるワークWの電子部品Wbが封止樹脂Rの貫通孔Rhに収容され、且つ、当該電子部品Wbの上面Wbfが露出するように、当該貫通孔Rhの位置及び形状を設定することが重要となる。当該貫通孔Rhは、個々の電子部品Wbよりも少し大きなサイズであり、電子部品Wbと同じ形状となる必要がある。また、封止樹脂R(R1)の樹脂量(高さ)は電子部品Wbの下にも樹脂が入り込み、過不足なく封止ができる程度の量となっていることが必要である。 By performing resin sealing (compression molding) using the above-mentioned sealing resin R (R1), it is possible to prevent the formation of thin burrs on the upper surface Wbf of the electronic component Wb, and to form a molded product Wp (see FIG. 9) in which the upper surface Wbf is reliably exposed (details will be described later). Therefore, in the above-mentioned forming process, it is important to set the position and shape of the through hole Rh of the sealing resin R so that the electronic component Wb of the work W to be sealed is accommodated in the through hole Rh of the sealing resin R and the upper surface Wbf of the electronic component Wb is exposed. The through hole Rh needs to be slightly larger in size than each electronic component Wb and have the same shape as the electronic component Wb. In addition, the resin amount (height) of the sealing resin R (R1) needs to be an amount that allows the resin to penetrate under the electronic component Wb and seal it without excess or deficiency.

さらに、封止樹脂R(R1)は、固形樹脂として形成されているため、従来の顆粒樹脂と比べて、撒きムラ、残留気体、成形時の粉塵発生に起因する成形不良の発生を防止することが可能な圧縮成形装置2及び圧縮成形方法を実現することができる。また、樹脂封止前のハンドリングを容易化することができる。 Furthermore, since the sealing resin R (R1) is formed as a solid resin, it is possible to realize a compression molding device 2 and a compression molding method that can prevent molding defects caused by uneven spreading, residual gas, and dust generation during molding, compared to conventional granular resins. It also makes it easier to handle the resin before sealing.

尚、封止樹脂R(R1)の変形例として、いずれか一方の面に脚部Rbを有する構成としてもよい(図10参照)。当該脚部Rbを形成するためには、第1金型102における第1下型106の第1キャビティ駒126の上面、もしくは、第1上型104の第1プレート142の下面、の少なくとも一方に、脚部形成溝(凹部)143を備える構成とすればよい(図11参照)。当該封止樹脂R(R1)によれば、脚部Rbの位置や長さ寸法を適宜、設定することによって、封止樹脂R(R1)の下面(ワークWとの対向面)がワークWの電子部品Wbに当接しないようにする調整を容易に行うことができる。 As a modified example of the sealing resin R (R1), it may be configured to have legs Rb on either one of the surfaces (see FIG. 10). In order to form the legs Rb, a leg forming groove (recess) 143 may be provided on at least one of the upper surface of the first cavity piece 126 of the first lower die 106 in the first die 102 or the lower surface of the first plate 142 of the first upper die 104 (see FIG. 11). With this sealing resin R (R1), it is possible to easily adjust the lower surface (the surface facing the workpiece W) of the sealing resin R (R1) so that it does not come into contact with the electronic component Wb of the workpiece W by appropriately setting the position and length of the legs Rb.

[第2の実施形態]
(封止樹脂の形成装置)
第2の実施形態では、封止樹脂Rとして貫通孔Rhを有する格子状であって一面側に放熱板Hが固着されて当該貫通孔Rh(全部もしくは一部)が塞がれた状態の封止樹脂R(以下、「R2」と表記して区別する場合がある)を形成する例について説明する。ここで、第2の実施形態に係る形成装置1の平面図を図12に示し、第1金型102の正面断面図(概略図)を図13に示す。尚、放熱板Hは、一例として、金属材料(例えば、銅合金、アルミニウム合金等)を用いて厚さ寸法が0.1mm~数mm程度に形成された板状部材であるが、これに限定されるものではない。
Second Embodiment
(Sealing resin forming device)
In the second embodiment, an example will be described in which the sealing resin R is formed in a lattice shape having through holes Rh, and a heat sink H is fixed to one side to block the through holes Rh (all or part) (hereinafter, this may be distinguished as "R2"). Here, a plan view of the forming device 1 according to the second embodiment is shown in FIG. 12, and a front cross-sectional view (schematic diagram) of the first mold 102 is shown in FIG. 13. Note that the heat sink H is, as an example, a plate-like member formed of a metal material (e.g., copper alloy, aluminum alloy, etc.) with a thickness of about 0.1 mm to several mm, but is not limited thereto.

第2の実施形態に係る形成装置1は、前述の第1の実施形態と基本的な構成は同様であるため、以下、相違点を中心に説明する。 The forming device 1 according to the second embodiment has a similar basic configuration to the first embodiment described above, so the following explanation will focus on the differences.

本実施形態に係るベース樹脂供給ユニット10Dは、第1の実施形態と同様のベース樹脂供給部40に加えて、放熱板Hを供給する放熱板供給部30を備えている。一例として、放熱板供給部30は、複数の放熱板Hが収納される収納部(例えば、ストッカ等)を備えて構成されている(適宜、ピックアップやステージ等を設けてもよい)。尚、放熱板Hをベース樹脂供給ユニット10Dから樹脂形成ユニット10Eへ搬送する場合、搬送装置には第1ローダ21を用いてもよく、他の搬送装置等(不図示)を用いてもよい。 The base resin supply unit 10D according to this embodiment includes a heat sink supply section 30 that supplies a heat sink H, in addition to the base resin supply section 40 similar to that of the first embodiment. As an example, the heat sink supply section 30 is configured with a storage section (e.g., a stocker, etc.) in which a plurality of heat sink plates H are stored (a pickup, stage, etc. may be provided as appropriate). When transporting the heat sink H from the base resin supply unit 10D to the resin formation unit 10E, the first loader 21 may be used as the transport device, or another transport device (not shown) may be used.

次に、本実施形態に係る樹脂形成ユニット10Eは、第1の実施形態と同様のプレス装置(第1プレス装置)150を備えているが、当該第1プレス装置150によって型開閉される第1金型102の第1上型104において相違点を有している。 Next, the resin forming unit 10E according to this embodiment is equipped with a press device (first press device) 150 similar to that of the first embodiment, but has a difference in the first upper die 104 of the first die 102 that is opened and closed by the first press device 150.

本実施形態に係る第1上型104は、図13に示すように、上プレート(第1プレート)142の下面に放熱板H(その他の電子部品Wbとすることも可能である)を保持する保持部146を有している。一例として、保持部146は、第1上型104の金型面104aに吸着されるフィルムFに微細な貫通孔を複数設けて、第1プレート142の吸引路(孔や溝等)を介して吸引装置の吸引力を当該貫通孔に生じさせることにより、保持部146に放熱板Hを吸着させて保持する構成である。尚、保持部146の構成はこれに限定されるものではない。 As shown in FIG. 13, the first upper mold 104 according to this embodiment has a holding portion 146 that holds a heat sink H (which can also be another electronic component Wb) on the lower surface of the upper plate (first plate) 142. As an example, the holding portion 146 is configured to have a plurality of fine through holes in the film F that is adsorbed to the mold surface 104a of the first upper mold 104, and to generate suction force of a suction device through suction paths (holes, grooves, etc.) in the first plate 142 to adsorb and hold the heat sink H on the holding portion 146. Note that the configuration of the holding portion 146 is not limited to this.

上記の形成装置1によれば、貫通孔Rhを有する格子状であって一面側に放熱板Hが固着されて当該貫通孔Rhが塞がれた状態の封止樹脂R(R2)を形成することが可能となる。形成方法の詳細について以下に示す。 The above-mentioned forming device 1 makes it possible to form a sealing resin R (R2) in a lattice shape having through holes Rh, with a heat sink H fixed to one side to block the through holes Rh. Details of the forming method are shown below.

(封止樹脂の形成方法)
続いて、第2の実施形態に係る封止樹脂R(R2)の形成方法(以下、単に「形成方法」と称する場合がある)について説明する。当該形成方法は、一例として、上記の第2の実施形態に係る形成装置1を用いて実施することができる。ここで、図14~図16は、主要工程の説明図である。
(Method of forming sealing resin)
Next, a method for forming the sealing resin R (R2) according to the second embodiment (hereinafter, may be simply referred to as the "forming method") will be described. As an example, the forming method can be carried out using the forming apparatus 1 according to the second embodiment. Here, Figs. 14 to 16 are explanatory diagrams of the main steps.

第2の実施形態に係る形成方法は、前述の第1の実施形態と基本的な構成は同様であるため、以下、相違点を中心に説明する。 The formation method according to the second embodiment has a similar basic configuration to the first embodiment described above, so the following explanation will focus on the differences.

先ず、第1の実施形態と同様の準備工程を実施する。当該準備工程の後に、ワークWの形状に対応させた所定形状を有する封止樹脂R(R2)を形成する形成工程を実施する。 First, a preparation process similar to that of the first embodiment is carried out. After the preparation process, a formation process is carried out to form a sealing resin R (R2) having a predetermined shape corresponding to the shape of the workpiece W.

本実施形態に係る形成工程は、樹脂形成部50において、放熱板Hと共にベース樹脂Rmを打錠することにより、放熱板Hが固着された所定形状に形成された固形状態の封止樹脂R(R2)を形成する打錠工程を備えている。尚、形成工程の他の例として、打錠によらない形成方法を採用してもよい。 The forming process according to this embodiment includes a tableting process in which the base resin Rm is tableted together with the heat sink H in the resin forming section 50 to form a solid sealing resin R (R2) formed in a predetermined shape to which the heat sink H is fixed. Note that as another example of the forming process, a forming method that does not involve tableting may be adopted.

上記の打錠工程は、具体的に、放熱板供給部30から供給された放熱板Hを、搬送装置(例えば、第1ローダ21等)によって搬送し、第1上型104の第1プレート142下面の所定位置に保持する(図14参照)。これと前後して、もしくは並行して、ベース樹脂供給部40から供給された所定量のベース樹脂Rmを、搬送装置(例えば、第1ローダ21等)によって搬送して、もしくは、ディスペンサ等から直接散布して、第1下型106の第1キャビティ108内に収容する(図14参照)。前述の通り、可動駒136の上面に載らないようにしながら可動駒136同士の間の凹状部138にベース樹脂Rmを収容する(尚、最初に可動駒136の上面を含む第1キャビティ108内全体に当該ベース樹脂Rmを散布し、その後、スキージ等により可動駒136の上面を掃き落として、最終的に凹状部138に収容してもよい。その後、放熱板Hを第1キャビティ108内の可動駒136の上面に載置してもよい。この場合、放熱板Hは、第1キャビティ108内に入る大きさであり、第1上型104の第1プレート142下面の所定位置に保持する必要はない。)。次いで、第1プレス装置150を作動させて、上記の所定温度に昇温された第1金型102の型閉じを行う(図15参照)。 Specifically, in the above tableting process, the heat sink H supplied from the heat sink supply unit 30 is transported by a transport device (e.g., the first loader 21, etc.) and held at a predetermined position on the underside of the first plate 142 of the first upper mold 104 (see FIG. 14). Before or after this, or in parallel with this, a predetermined amount of base resin Rm supplied from the base resin supply unit 40 is transported by a transport device (e.g., the first loader 21, etc.) or directly sprayed from a dispenser or the like, and is contained in the first cavity 108 of the first lower mold 106 (see FIG. 14). As described above, the base resin Rm is placed in the recessed portion 138 between the movable pieces 136 without being placed on the upper surface of the movable pieces 136 (note that the base resin Rm may first be spread over the entire first cavity 108 including the upper surface of the movable pieces 136, and then the upper surface of the movable pieces 136 may be swept off with a squeegee or the like, and finally placed in the recessed portion 138. After that, the heat sink H may be placed on the upper surface of the movable pieces 136 in the first cavity 108. In this case, the heat sink H is of a size that can be placed in the first cavity 108, and it is not necessary to hold it at a predetermined position on the lower surface of the first plate 142 of the first upper mold 104.). Next, the first press device 150 is operated to close the first mold 102 that has been heated to the above-mentioned predetermined temperature (see FIG. 15).

型閉じの際は、初めに第1クランパ128の上面と第1プレート142(放熱板Hを保持していない位置)の下面とが当接する。次いで(もしくは同時に)、可動駒136の上面と第1プレート142に保持させた放熱板Hの下面とが当接して、当該可動駒136の上面の全面が覆われた状態となる。次いで、第1キャビティ駒126の上面(凹状部138の領域)と第1プレート142に保持させた放熱板Hの下面(凹状部138と対向する領域)とでベース樹脂Rmを打錠(挟み込んで加圧)する。これにより、「所定形状」(詳細は後述)を有し、本硬化していない状態の固形の封止樹脂R(R2)が形成される。尚、「固形」とは、本硬化しない温度まで加熱しながら打錠するため、いわゆるBステージまで溶融した状態となったものや、溶融する直前の状態のものが含まれる。 When the mold is closed, the upper surface of the first clamper 128 and the lower surface of the first plate 142 (at a position where the heat sink H is not held) come into contact with each other. Next (or at the same time), the upper surface of the movable piece 136 comes into contact with the lower surface of the heat sink H held by the first plate 142, so that the entire upper surface of the movable piece 136 is covered. Next, the base resin Rm is compressed (sandwiched and pressed) between the upper surface (the area of the concave portion 138) of the first cavity piece 126 and the lower surface (the area facing the concave portion 138) of the heat sink H held by the first plate 142. This forms a solid sealing resin R (R2) that has a "predetermined shape" (details will be described later) and is not fully cured. Note that "solid" includes a state in which the resin has melted to the so-called B stage or is in a state immediately before melting, because the resin is compressed while being heated to a temperature that does not fully cure.

上記の打錠工程は、形成される封止樹脂Rが、その後の樹脂封止(圧縮成形)工程において本硬化することができるように、ベース樹脂Rmの本硬化が進み難い温度で実施すること(本硬化が進み難い温度に第1下型106及び第1上型104を加熱して実施すること)が重要である。前述の通り、「本硬化が進み難い温度」は、ベース樹脂Rmの材質にもよるが、具体例として、50℃~80℃程度である(本実施形態においては、70℃程度である)。 It is important that the above-mentioned tableting process is carried out at a temperature at which the main curing of the base resin Rm does not proceed easily (the first lower die 106 and the first upper die 104 are heated to a temperature at which the main curing does not proceed easily) so that the formed sealing resin R can be fully cured in the subsequent resin sealing (compression molding) process. As described above, the "temperature at which the main curing does not proceed easily" depends on the material of the base resin Rm, but is specifically about 50°C to 80°C (about 70°C in this embodiment).

また、上記ベース樹脂Rmとして、パウダー樹脂が用いられることが好適である。これによれば、顆粒樹脂や破砕状樹脂が用いられる場合と比較して、樹脂量を極めて正確に調整して供給することができる。但し、パウダー樹脂に限定されるものではない。 It is also preferable to use a powder resin as the base resin Rm. This allows the amount of resin to be adjusted and supplied with extremely high precision compared to when granular or crushed resin is used. However, it is not limited to powder resin.

打錠工程の後に、第1金型102の型開きを行い、封止樹脂R(上面側に放熱板Hが固着された状態)と使用済みのフィルムFとを分離して当該封止樹脂Rを取出せるようにする型開き工程を実施する(図16参照)。 After the tableting process, the first mold 102 is opened and the mold opening process is carried out to separate the sealing resin R (with the heat sink H attached to the upper surface) from the used film F so that the sealing resin R can be removed (see Figure 16).

尚、上記の型開き工程の後に続く工程は第1の実施形態と同様であり、繰り返しの説明を省略する。 The steps following the above mold opening step are the same as those in the first embodiment, and will not be described again.

(封止樹脂)
上記の形成装置1及び形成方法によって形成される封止樹脂R(R2)の構成(形状)例を図17に示す(但し、この構成に限定されるものではない)。具体的に、板状の本体部Raに複数の貫通孔Rhが並設された格子状であり且つ一面側に放熱板Hが固着されて当該貫通孔Rh(全部もしくは一部)が塞がれた形状を有している。尚、当該封止樹脂R(R2)は、一個で封止必要量(ワークW一個当たりの一回分)の「全体」をなすように構成してもよく、あるいは、複数個(例えば二、三個程度)の集合(連結)状態で封止必要量の「全体」をなすように構成してもよい。
(Sealing resin)
An example of the configuration (shape) of the sealing resin R (R2) formed by the above-mentioned forming device 1 and forming method is shown in Fig. 17 (however, the present invention is not limited to this configuration). Specifically, the sealing resin R (R2) has a lattice shape in which a plurality of through holes Rh are arranged in parallel on a plate-shaped main body Ra, and a heat sink H is fixed to one side to block the through holes Rh (all or part). The sealing resin R (R2) may be configured so that one piece constitutes the "whole" of the required amount of sealing (one amount per work W), or may be configured so that a plurality of pieces (e.g., about two or three pieces) are assembled (connected) to constitute the "whole" of the required amount of sealing.

上記の封止樹脂R(R2)を用いて樹脂封止(圧縮成形)を行うことによって、放熱板Hが上面に露出する構成の成形品Wp(図18参照)を容易に形成することができる(詳細は後述)。その際に、放熱板Hの上面に薄バリが形成されることを防止でき、当該上面が確実に露出した状態とすることができる。また、圧縮成形を行う際に、封止樹脂Rと放熱板Hとを別々に封止金型へ搬入する必要がないため(すなわち、一つの部材として一工程で搬入できるため)、工程の簡素化及び時間短縮を図ることができる。 By performing resin sealing (compression molding) using the above-mentioned sealing resin R (R2), a molded product Wp (see FIG. 18) in which the heat sink H is exposed on the upper surface can be easily formed (details will be described later). At that time, it is possible to prevent thin burrs from being formed on the upper surface of the heat sink H, and the upper surface can be reliably exposed. In addition, since it is not necessary to carry the sealing resin R and the heat sink H separately into the sealing mold when performing compression molding (i.e., they can be carried in as a single component in a single process), the process can be simplified and the time can be reduced.

尚、封止樹脂R(R2)の変形例として、放熱板Hが固着されていない面に脚部Rbを有する構成としてもよい(図19参照)。当該脚部Rbを形成するためには、第1金型102における第1下型106の第1キャビティ駒126の上面に、脚部形成溝(凹部)143を備える構成とすればよい(図20参照)。当該封止樹脂R(R2)によれば、脚部Rbの位置や長さ寸法を適宜、設定することによって、封止樹脂R(R2)の下面(ワークWとの対向面)がワークWの電子部品Wbに当接しないようにする調整を容易に行うことができる。 As a modified example of the sealing resin R (R2), the surface to which the heat sink H is not fixed may have legs Rb (see FIG. 19). In order to form the legs Rb, the upper surface of the first cavity piece 126 of the first lower die 106 in the first die 102 may be provided with a leg forming groove (recess) 143 (see FIG. 20). With this sealing resin R (R2), the position and length of the legs Rb can be appropriately set, making it easy to adjust the lower surface (the surface facing the workpiece W) of the sealing resin R (R2) so that it does not come into contact with the electronic component Wb of the workpiece W.

(圧縮成形装置及び圧縮成形方法)
続いて、上記第1の実施形態及び第2の実施形態に係る封止樹脂Rを用いてワークWの樹脂封止(圧縮成形)を行う圧縮成形装置2及び圧縮成形方法の概略について説明する。ここで、図21は、圧縮成形装置2の例を示す平面図(概略図)である。
(Compression molding device and compression molding method)
Next, an outline of a compression molding apparatus 2 and a compression molding method for resin sealing (compression molding) a workpiece W using the sealing resin R according to the first and second embodiments will be described. Here, FIG. 21 is a plan view (schematic view) showing an example of the compression molding apparatus 2.

図21に示すように、圧縮成形装置2は、ワークWの供給等を行う供給ユニット10A、ワークWを樹脂封止して成形品Wpへの加工等を行うプレスユニット10B、成形品Wpの収納等を行う収納ユニット10Cを主要構成として備えている。一例として、図9中のX方向に沿って、供給ユニット10A、プレスユニット10B、収納ユニット10Cの順に配置されている。但し、上記の構成に限定されるものではなく、ユニット内の機器構成やユニット数、ユニットの配置順等を変更してもよい。例えば、供給ユニット10Aと、収納ユニット10Cとを、X方向において相互に逆の配置としてもよく、あるいは、いずれか一方の位置に集約される配置としてもよい(不図示)。また、上記以外のユニットを備える構成としてもよい(不図示)。 As shown in FIG. 21, the compression molding device 2 mainly comprises a supply unit 10A for supplying the workpiece W, a press unit 10B for sealing the workpiece W with resin and processing it into a molded product Wp, and a storage unit 10C for storing the molded product Wp. As an example, the supply unit 10A, press unit 10B, and storage unit 10C are arranged in this order along the X direction in FIG. 9. However, the above configuration is not limited to this, and the equipment configuration within the unit, the number of units, and the order of arrangement of the units may be changed. For example, the supply unit 10A and the storage unit 10C may be arranged in reverse in the X direction, or may be arranged to be concentrated in one position (not shown). In addition, the configuration may include units other than those described above (not shown).

また、圧縮成形装置2は、各ユニット間を跨いでガイドレール22が直線状に設けられており、ワークW、封止樹脂Rを搬送する(ワークW、封止樹脂R以外の搬送に用いてもよい)搬送装置(第2ローダ)23、及び、成形品Wpを搬送する(成形品Wp以外の搬送に用いてもよい)搬送装置(第3ローダ)24が、ガイドレール22に沿って所定のユニット間を移動可能に設けられている。但し、上記の構成に限定されるものではなく、ワークW、封止樹脂R、及び成形品Wp等を搬送する共通の(一つの)搬送装置(ローダ)を備える構成としてもよい(不図示)。また、搬送装置は、ローダに代えて、ロボットハンド等を備える構成としてもよい。 In addition, the compression molding device 2 has a guide rail 22 that is linearly provided between each unit, and a transport device (second loader) 23 that transports the work W and the sealing resin R (may be used for transporting items other than the work W and the sealing resin R) and a transport device (third loader) 24 that transports the molded product Wp (may be used for transporting items other than the molded product Wp) are provided so as to be movable between predetermined units along the guide rail 22. However, the configuration is not limited to the above, and a configuration may be provided with a common (single) transport device (loader) that transports the work W, the sealing resin R, the molded product Wp, etc. (not shown). In addition, the transport device may be configured to include a robot hand or the like instead of a loader.

また、圧縮成形装置2は、各ユニットにおける各機構の作動制御等を行う制御部90が供給ユニット10Aに配置されている(他のユニットに配置される構成としてもよい)。 In addition, in the compression molding device 2, a control unit 90 that controls the operation of each mechanism in each unit is disposed in the supply unit 10A (it may also be configured to be disposed in another unit).

プレスユニット10Bは、ワークWを樹脂封止して成形品Wpへの加工を行う樹脂封止部70を備えている。本実施形態においては、当該樹脂封止部70を備えるプレスユニット10Bを二台(三台以上もしくは一台としてもよい)備えており、一台のプレスユニット10B当たり一台(二台以上としてもよい)の樹脂封止部70を備えている(図21参照)。但し、この構成に限定されるものではない。樹脂封止部70は、プレス装置によって型開閉される一対の封止金型(例えば、合金工具鋼からなる複数の金型ブロック、金型プレート、金型ピラー等やその他の部材が組み付けられたもの)を備えている。 The press unit 10B is equipped with a resin sealing section 70 that seals the workpiece W with resin and processes it into a molded product Wp. In this embodiment, two press units 10B (three or more, or one) equipped with the resin sealing section 70 are provided, and one press unit 10B is provided with one resin sealing section 70 (two or more) (see FIG. 21). However, this configuration is not limited to this. The resin sealing section 70 is equipped with a pair of sealing dies (for example, a pair of dies (for example, dies made of alloy tool steel, dies plates, dies pillars, etc., and other members assembled thereto) that are opened and closed by a press device.

ここで、一例として、第2プレス装置250(図22参照)及び第2金型202(図23参照)を備える圧縮成形装置2を用いて実施される圧縮成形方法の工程について図24~図34を参照して説明する。 Here, as an example, the steps of a compression molding method performed using a compression molding device 2 equipped with a second press device 250 (see FIG. 22) and a second mold 202 (see FIG. 23) will be described with reference to FIGS. 24 to 34.

先ず、封止準備工程を実施する。具体的に、第2上型加熱機構により第2上型204を所定温度(例えば、100℃~300℃)に調整して加熱する加熱工程(第2上型加熱工程)を実施する。また、第2下型加熱機構により第2下型206を所定温度(例えば、100℃~300℃)に調整して加熱する加熱工程(第2下型加熱工程)を実施する。また、第2上型フィルム供給部213を作動させて新しいフィルムFを供給して、第2上型204における第2キャビティ208の内面を含む金型面204aの所定領域を覆うように吸着させる上型フィルム供給工程(第2上型フィルム供給工程)を実施する。 First, a sealing preparation process is performed. Specifically, a heating process (second upper mold heating process) is performed in which the second upper mold 204 is adjusted to a predetermined temperature (e.g., 100°C to 300°C) and heated by the second upper mold heating mechanism (second upper mold heating process). In addition, a heating process (second lower mold heating process) is performed in which the second lower mold 206 is adjusted to a predetermined temperature (e.g., 100°C to 300°C) and heated by the second lower mold heating mechanism (second lower mold heating process). In addition, an upper mold film supply process (second upper mold film supply process) is performed in which the second upper mold film supply unit 213 is operated to supply new film F and adsorb it to cover a predetermined area of the mold surface 204a including the inner surface of the second cavity 208 in the second upper mold 204.

封止準備工程の後に、第2下型206のワーク保持部205にワークWを保持させるワーク保持工程を実施する(図24参照)。具体的には、供給マガジン12から供給されたワークWを、搬送装置(第2ローダ23等)によって保持して第2金型202内へ搬入し、下プレート(第2プレート)242(金型面206a)のワーク保持部205に保持させる。 After the sealing preparation process, a workpiece holding process is carried out in which the workpiece W is held by the workpiece holding portion 205 of the second lower die 206 (see FIG. 24). Specifically, the workpiece W supplied from the supply magazine 12 is held by a conveying device (such as the second loader 23) and carried into the second die 202, where it is held by the workpiece holding portion 205 of the lower plate (second plate) 242 (die surface 206a).

ワーク保持工程の後に、ワーク保持部205に保持させたワークWの上に封止樹脂Rを載置する樹脂載置工程を実施する(図25参照)。具体的には、前述の形成装置1において形成された封止樹脂Rを、搬送装置(第2ローダ23等)によって保持して第2金型202内へ搬入し、ワーク保持部205に保持されたワークWの上に載置する。電子部品Wbの上面Wbfが露出する成形品Wpを形成する場合、当該電子部品Wbが封止樹脂Rの貫通孔Rhに収容されるように、ワークW及び封止樹脂Rを相互に位置合わせをして載置する。 After the workpiece holding step, a resin placing step is performed in which the sealing resin R is placed on the workpiece W held by the workpiece holding portion 205 (see FIG. 25). Specifically, the sealing resin R formed in the forming device 1 described above is held by a conveying device (such as the second loader 23) and carried into the second mold 202, and placed on the workpiece W held by the workpiece holding portion 205. When forming a molded product Wp in which the top surface Wbf of the electronic component Wb is exposed, the workpiece W and the sealing resin R are aligned with each other and placed so that the electronic component Wb is accommodated in the through hole Rh of the sealing resin R.

または、樹脂載置工程の他の例として、上記のワーク保持工程の前に、形成装置1において形成された封止樹脂RをワークWの上に載置する工程として実施してもよい。その場合、ワーク保持工程は、封止樹脂Rが載置された状態のワークWをワーク保持部205に保持させる工程となる。すなわち、搬送装置(第2ローダ23等)は、封止樹脂Rが載置された状態のワークWを保持して第2金型202内へ搬入し、ワーク保持部205に保持させる。第2金型202へのワークWと封止樹脂Rをそれぞれ別に行うのではなく、一回で行う利点がある。 Alternatively, as another example of the resin placement process, the sealing resin R formed in the forming device 1 may be placed on the workpiece W before the above-mentioned workpiece holding process. In this case, the workpiece holding process is a process in which the workpiece W with the sealing resin R placed thereon is held by the workpiece holding section 205. That is, the transport device (second loader 23, etc.) holds the workpiece W with the sealing resin R placed thereon, carries it into the second mold 202, and holds it in the workpiece holding section 205. This has the advantage of carrying out the workpiece W and sealing resin R in the second mold 202 in one go, rather than separately.

次いで、ワークWを封止樹脂Rにより封止して成形品Wpに加工する樹脂封止工程を実施する。具体的に、第2金型202の型閉じを行い、第2クランパ228に囲われた第2キャビティ208内で第2キャビティ駒226を相対的に下降させて、ワークWに対して封止樹脂Rを加熱加圧する型閉じ工程を実施する。尚、図23に示すように、第2金型202の第2上型204(204A)には、第2キャビティ駒226において、露出させる設定の電子部品Wbの上面Wbfの全面と当接し、且つ、上下動可能な可動駒236が設けられている。当該可動駒236は押動ピン232を介して可動駒バネ234によって第2下型206に向けて付勢された状態で支持されている。 Next, a resin sealing process is performed in which the work W is sealed with sealing resin R and processed into a molded product Wp. Specifically, the second mold 202 is closed, and the second cavity piece 226 is lowered relatively in the second cavity 208 surrounded by the second clamper 228 to perform a mold closing process in which the sealing resin R is heated and pressurized against the work W. As shown in FIG. 23, the second upper mold 204 (204A) of the second mold 202 is provided with a movable piece 236 that abuts against the entire upper surface Wbf of the electronic component Wb to be exposed in the second cavity piece 226 and can move up and down. The movable piece 236 is supported in a state in which it is biased toward the second lower mold 206 by the movable piece spring 234 via the push pin 232.

ここで、封止樹脂R(R1)を用いて、電子部品Wbの上面Wbfが露出する成形品Wpを形成する場合、型閉じ工程は以下のようになる。具体的に、第2上型204(204A)と第2下型206とを相互に接近させる動作を行う。このとき、可動駒236がワークWの電子部品Wbの上面Wbfと当接して、当該上面Wbfの全面を覆った状態となる(図26参照)。次いで、第2クランパ228がフィルムFを介してワークWの基材Waと当接して、当該ワークWを挟持した状態となる(図27参照)。これらは逆の順、もしくは、同時となるように設定してもよい。次いで、第2キャビティ駒226の下面(可動駒236が設けられていない領域)がワークWの基材Wa上に載置された封止樹脂R(R1)と当接し、さらに加圧する。これにより、封止樹脂R(R1)が熱硬化して樹脂封止(圧縮成形)が完了する(図28参照)。このようにして、電子部品Wbの上面Wbfに薄バリが形成されることを防止できる。次いで、第2金型202の型開きを行い、成形品Wpと使用済みのフィルムFとを分離して当該成形品Wpを取出せるようにする型開き工程を実施する(図29参照)。 Here, when forming a molded product Wp in which the upper surface Wbf of the electronic component Wb is exposed using the sealing resin R (R1), the mold closing process is as follows. Specifically, the second upper mold 204 (204A) and the second lower mold 206 are moved closer to each other. At this time, the movable piece 236 abuts against the upper surface Wbf of the electronic component Wb of the work W, covering the entire upper surface Wbf (see FIG. 26). Next, the second clamper 228 abuts against the base material Wa of the work W via the film F, and the work W is clamped (see FIG. 27). These steps may be set in the reverse order or simultaneously. Next, the lower surface of the second cavity piece 226 (the area where the movable piece 236 is not provided) abuts against the sealing resin R (R1) placed on the base material Wa of the work W and is further pressurized. As a result, the sealing resin R (R1) is thermally cured, and the resin sealing (compression molding) is completed (see FIG. 28). In this way, it is possible to prevent the formation of thin burrs on the upper surface Wbf of the electronic component Wb. Next, the second mold 202 is opened, and a mold opening process is performed in which the molded product Wp is separated from the used film F so that the molded product Wp can be removed (see FIG. 29).

一方、封止樹脂R(R2)を用いて、放熱板Hが露出する成形品Wpを形成する場合、第2上型204として、前述の可動駒を有する第2上型204A(図23参照)に代えて、可動駒を有しない一般的な構成の第2上型204B(図30参照)を用いればよい。この場合、型閉じ工程は以下のようになる。具体的に、第2上型204(204B)と第2下型206とを相互に接近させる動作を行う。このとき、クランパ228がフィルムFを介してワークWの基材Waと当接して、当該ワークWを挟持した状態となる(図31参照)。次いで、第2キャビティ駒226が封止樹脂R(R2)の放熱板Hの上面と当接して、当該放熱板Hの上面を覆った状態となる(図32参照)。これらは、同時となるように設定してもよい。次いで、第2キャビティ駒226と当接している放熱板Hの下面が、ワークWの基材Wa上に載置された封止樹脂R(R2)を加圧する。これにより、封止樹脂R(R2)が熱硬化して樹脂封止(圧縮成形)が完了する(図33参照)。このようにして、放熱板Hの上面に薄バリが形成されることを防止できる。尚、本例は図17形状の放熱板H付き封止樹脂R2を使用しているが、必ずしも放熱板H付きでなくとも、放熱板無し封止樹脂R1を基材Wa上に載せた後に、放熱板Hだけを封止樹脂R1の上に載せて成形してもよい。次いで、第2金型202の型開きを行い、成形品Wpと使用済みのフィルムFとを分離して当該成形品Wpを取出せるようにする型開き工程を実施する(図34参照)。尚、この場合には、ワークWに搭載された電子部品Wbにおける放熱板Hとの対向面と、当該ワークに載置される封止樹脂R(R2)の放熱板Hにおける電子部品Wbとの対向面と、の間に弾性熱伝導樹脂シート等(不図示)を配置して隙間が生じないようにすることで、電子部品Wbの上面が樹脂封止されることを防止できる。 On the other hand, when forming a molded product Wp in which the heat sink H is exposed using the sealing resin R (R2), the second upper die 204B (see FIG. 30) having a general configuration without a movable piece may be used as the second upper die 204 instead of the second upper die 204A (see FIG. 23) having the above-mentioned movable piece. In this case, the mold closing process is as follows. Specifically, the second upper die 204 (204B) and the second lower die 206 are moved closer to each other. At this time, the clamper 228 abuts against the base material Wa of the work W via the film F, and the work W is clamped (see FIG. 31). Next, the second cavity piece 226 abuts against the upper surface of the heat sink H of the sealing resin R (R2) and covers the upper surface of the heat sink H (see FIG. 32). These may be set to occur simultaneously. Next, the lower surface of the heat sink H, which is in contact with the second cavity piece 226, presses the sealing resin R (R2) placed on the base material Wa of the work W. This causes the sealing resin R (R2) to harden thermally, completing the resin sealing (compression molding) (see FIG. 33). In this way, it is possible to prevent a thin burr from being formed on the upper surface of the heat sink H. Note that, although the sealing resin R2 with the heat sink H of the shape shown in FIG. 17 is used in this example, it is not necessary to use the heat sink H. After the sealing resin R1 without the heat sink is placed on the base material Wa, only the heat sink H may be placed on the sealing resin R1 and molded. Next, the second mold 202 is opened, and a mold opening process is performed in which the molded product Wp and the used film F are separated so that the molded product Wp can be taken out (see FIG. 34). In this case, an elastic heat conductive resin sheet or the like (not shown) is placed between the surface of the electronic component Wb mounted on the work W that faces the heat sink H and the surface of the heat sink H of the sealing resin R (R2) placed on the work that faces the electronic component Wb to prevent gaps from occurring, thereby preventing the top surface of the electronic component Wb from being sealed with resin.

次いで、搬送装置(第3ローダ24等)によって、成形品Wpを第2金型202内から搬出し、収納ユニット10Cへ搬送する成形品搬出工程を実施する。一例として、搬送した成形品Wpは、収納マガジン14に収納する。また、成形品搬出工程の後に、もしくは、並行して、第2上型フィルム供給部213を作動させて、使用済みのフィルムFを第2金型202内から送り出し、新しいフィルムFを第2金型202内へ送り込んでセットする工程を実施する。 Next, a molded product unloading process is carried out in which the molded product Wp is unloaded from the second mold 202 by a transport device (such as the third loader 24) and transported to the storage unit 10C. As an example, the transported molded product Wp is stored in the storage magazine 14. In addition, after or in parallel with the molded product unloading process, a process is carried out in which the second upper mold film supply section 213 is operated to send out the used film F from the second mold 202 and send a new film F into the second mold 202 and set it there.

以上が第2プレス装置250及び第2金型202を備える圧縮成形装置2を用いて行う圧縮成形方法の主要工程である。但し、上記の工程順は一例であって、支障がない限り先後順の変更や並行実施が可能である。 The above are the main steps of the compression molding method performed using the compression molding device 2 equipped with the second press device 250 and the second mold 202. However, the above order of steps is only an example, and the order of steps can be changed or steps can be performed in parallel as long as there are no problems.

他の例として、第3プレス装置350(図35参照)及び第3金型302(図36参照)を備える圧縮成形装置2を用いて実施される圧縮成形方法の工程について図37~図47を参照して説明する。 As another example, the steps of a compression molding method performed using a compression molding device 2 equipped with a third press device 350 (see FIG. 35) and a third mold 302 (see FIG. 36) are described with reference to FIGS. 37 to 47.

先ず、封止準備工程を実施する。具体的に、第3上型加熱機構により第3上型304を所定温度(例えば、100℃~300℃)に調整して加熱する加熱工程(第3上型加熱工程)を実施する。また、第3下型加熱機構により第3下型306を所定温度(例えば、100℃~300℃)に調整して加熱する加熱工程(第3下型加熱工程)を実施する。また、第3下型フィルム供給部311を作動させて新しいフィルムFを供給して、第3下型306の金型面306aの所定領域を覆うように吸着させる下型フィルム供給工程(第3下型フィルム供給工程)を実施する。 First, a sealing preparation process is performed. Specifically, a heating process (third upper mold heating process) is performed in which the third upper mold 304 is adjusted to a predetermined temperature (e.g., 100°C to 300°C) and heated by the third upper mold heating mechanism (third upper mold heating process). In addition, a heating process (third lower mold heating process) is performed in which the third lower mold 306 is adjusted to a predetermined temperature (e.g., 100°C to 300°C) and heated by the third lower mold heating mechanism (third lower mold film supply process). In addition, a lower mold film supply process (third lower mold film supply process) is performed in which the third lower mold film supply unit 311 is operated to supply new film F and adsorb it so as to cover a predetermined area of the mold surface 306a of the third lower mold 306.

封止準備工程の後に、第3上型304のワーク保持部305にワークWを保持させるワーク保持工程を実施する(図37参照)。具体的には、供給マガジン12から供給されたワークWを、搬送装置(第2ローダ23等)によって保持して第3金型302内へ搬入し、上プレート(第3プレート)342(金型面304a)のワーク保持部305に保持させる。ワークWの保持には、一例としてワーク保持部305に吸引孔(不図示)を開けてワークWを吸引すればよいが、吸引による保持方法に限定する必要はない。 After the sealing preparation process, a workpiece holding process is performed in which the workpiece W is held by the workpiece holding portion 305 of the third upper die 304 (see FIG. 37). Specifically, the workpiece W supplied from the supply magazine 12 is held by a transport device (such as the second loader 23) and carried into the third die 302, where it is held by the workpiece holding portion 305 of the upper plate (third plate) 342 (die surface 304a). As an example of holding the workpiece W, a suction hole (not shown) may be opened in the workpiece holding portion 305 to suck the workpiece W, but the method of holding the workpiece W does not need to be limited to suction.

ワーク保持工程の後に、もしくは並行して、第3下型306の第3キャビティ308内に封止樹脂Rを保持させる樹脂保持工程を実施する(図38参照)。具体的には、前述の形成装置1において形成された封止樹脂Rを、搬送装置(第2ローダ23等)によって保持して第3金型302内へ搬入し、第3キャビティ308内に収容する(具体的には、第3キャビティ駒326の上面に載置する)。電子部品Wbの上面Wbfが露出する成形品Wpを形成する場合、当該電子部品Wbが封止樹脂Rの貫通孔Rhに収容されるように、ワークW及び封止樹脂Rを相互に位置合わせをしてそれぞれ保持させる。 After or in parallel with the workpiece holding process, a resin holding process is performed in which the sealing resin R is held in the third cavity 308 of the third lower die 306 (see FIG. 38). Specifically, the sealing resin R formed in the forming device 1 described above is held by a conveying device (such as the second loader 23) and carried into the third die 302, and housed in the third cavity 308 (specifically, placed on the top surface of the third cavity piece 326). When forming a molded product Wp in which the top surface Wbf of the electronic component Wb is exposed, the workpiece W and the sealing resin R are aligned with each other and held so that the electronic component Wb is housed in the through hole Rh of the sealing resin R.

次いで、ワークWを封止樹脂Rにより封止して成形品Wpに加工する樹脂封止工程を実施する。具体的に、第3金型302の型閉じを行い、第3クランパ328に囲われた第3キャビティ308内で第3キャビティ駒326を相対的に上昇させて、ワークWに対して封止樹脂Rを加熱加圧する型閉じ工程を実施する。尚、図36に示すように、第3金型302の第3下型306(306A)には、第3キャビティ駒326において、露出させる設定の電子部品Wbの上面Wbfの全面と当接し、且つ、上下動可能な可動駒336が設けられている。当該可動駒336は押動ピン332を介して可動駒バネ334によって第3上型304に向けて付勢された状態で支持されている。 Next, a resin sealing process is performed in which the work W is sealed with sealing resin R and processed into a molded product Wp. Specifically, the third mold 302 is closed, and the third cavity piece 326 is relatively raised in the third cavity 308 surrounded by the third clamper 328 to perform a mold closing process in which the sealing resin R is heated and pressurized against the work W. As shown in FIG. 36, the third lower mold 306 (306A) of the third mold 302 is provided with a movable piece 336 that abuts against the entire upper surface Wbf of the electronic component Wb to be exposed in the third cavity piece 326 and can move up and down. The movable piece 336 is supported in a state in which it is biased toward the third upper mold 304 by the movable piece spring 334 via the push pin 332.

ここで、封止樹脂R(R1)を用いて、電子部品Wbの上面Wbfが露出する成形品Wpを形成する場合、型閉じ工程は以下のようになる。具体的に、第3上型304と第3下型306とを相互に接近させる動作を行う。このとき、可動駒336がワークWの電子部品Wbの上面Wbf(下向きの状態)と当接して、当該上面Wbfの全面を覆った状態となる(図39参照)。次いで、第3クランパ328がフィルムFを介してワークWの基材Waと当接して、当該ワークWを挟持した状態となる(図40参照)。これらは逆の順、もしくは、同時となるように設定してもよい。次いで、第3キャビティ駒326の上面(可動駒336が設けられていない領域)と、ワークWの基材Waとで、封止樹脂R(R1)を加圧する。これにより、封止樹脂R(R1)が熱硬化して樹脂封止(圧縮成形)が完了する(図41参照)。このようにして、電子部品Wbの上面Wbfに薄バリが形成されることを防止できる。次いで、第3金型302の型開きを行い、成形品Wpと使用済みのフィルムFとを分離して当該成形品Wpを取出せるようにする型開き工程を実施する(図42参照)。 Here, when forming a molded product Wp in which the upper surface Wbf of the electronic component Wb is exposed using the sealing resin R (R1), the mold closing process is as follows. Specifically, the third upper mold 304 and the third lower mold 306 are moved closer to each other. At this time, the movable piece 336 abuts against the upper surface Wbf (facing down) of the electronic component Wb of the work W, covering the entire upper surface Wbf (see FIG. 39). Next, the third clamper 328 abuts against the base material Wa of the work W via the film F, and the work W is clamped (see FIG. 40). These steps may be set in the reverse order or simultaneously. Next, the sealing resin R (R1) is pressed by the upper surface (area where the movable piece 336 is not provided) of the third cavity piece 326 and the base material Wa of the work W. As a result, the sealing resin R (R1) is thermally cured, and the resin sealing (compression molding) is completed (see FIG. 41). In this way, it is possible to prevent the formation of thin burrs on the upper surface Wbf of the electronic component Wb. Next, the third mold 302 is opened, and a mold opening process is performed in which the molded product Wp is separated from the used film F so that the molded product Wp can be removed (see FIG. 42).

一方、封止樹脂R(R2)を用いて、放熱板Hが露出する成形品Wpを形成する場合、第3下型306として、前述の可動駒を有する第3下型306A(図36参照)に代えて、可動駒を有しない一般的な構成の第3下型306B(図43参照)を用いればよい。この場合、型閉じ工程は以下のようになる。具体的に、封止樹脂R(R2)の放熱板Hが第3キャビティ駒326の上面と当接するように、当該封止樹脂R(R2)を第3キャビティ駒326の上面に載置する。次いで、第3上型304と第3下型306とを相互に接近させる動作を行う。このとき、第3クランパ328がフィルムFを介してワークWの基材Waと当接して、当該ワークWを挟持した状態となる(図44参照)。次いで、ワークWの基材Waが封止樹脂R(R2)の上面(放熱板Hが固着されていない面)と当接した状態となる(図45参照)。これらは、同時となるように設定してもよい。次いで、第3キャビティ駒326と当接している放熱板Hと、ワークWの基材Waとで封止樹脂R(R2)を加圧する。これにより、封止樹脂R(R2)が熱硬化して樹脂封止(圧縮成形)が完了する(図46参照)。尚、本例は図17形状の放熱板H付き封止樹脂R2を使用しているが、必ずしも放熱板H付きでなくとも、放熱板Hだけを第3キャビティ駒326の上面に載せた後に、放熱板無し封止樹脂R1を放熱板Hの上に載せて成形してもよい。このようにして、放熱板Hの上面に薄バリが形成されることを防止できる。次いで、第3金型302の型開きを行い、成形品Wpと使用済みのフィルムFとを分離して当該成形品Wpを取出せるようにする型開き工程を実施する(図47参照)。尚、この場合には、ワークWに搭載された電子部品Wbにおける放熱板Hとの対向面と、第3キャビティ駒326に載置される封止樹脂R(R2)の放熱板Hにおける電子部品Wbとの対向面と、の間に弾性熱伝導樹脂シート等(不図示)を配置して隙間が生じないようにすることで、電子部品Wbの上面が樹脂封止されることを防止できる。 On the other hand, when forming a molded product Wp in which the heat sink H is exposed using the sealing resin R (R2), the third lower die 306B (see FIG. 43) having a general configuration without a movable piece can be used as the third lower die 306 instead of the third lower die 306A (see FIG. 36) having the above-mentioned movable piece. In this case, the mold closing process is as follows. Specifically, the sealing resin R (R2) is placed on the upper surface of the third cavity piece 326 so that the heat sink H of the sealing resin R (R2) abuts against the upper surface of the third cavity piece 326. Next, the third upper die 304 and the third lower die 306 are moved closer to each other. At this time, the third clamper 328 abuts against the base material Wa of the workpiece W via the film F, and the workpiece W is clamped (see FIG. 44). Next, the base material Wa of the work W comes into contact with the upper surface (the surface to which the heat sink H is not fixed) of the sealing resin R (R2) (see FIG. 45). These may be set to occur simultaneously. Next, the sealing resin R (R2) is pressed by the heat sink H that is in contact with the third cavity piece 326 and the base material Wa of the work W. This causes the sealing resin R (R2) to be thermally cured, completing the resin sealing (compression molding) (see FIG. 46). Note that in this example, the sealing resin R2 with the heat sink H in the shape of FIG. 17 is used, but it is not necessary to have the heat sink H. After placing only the heat sink H on the upper surface of the third cavity piece 326, the sealing resin R1 without the heat sink may be placed on the heat sink H and molded. In this way, it is possible to prevent a thin burr from being formed on the upper surface of the heat sink H. Next, the third mold 302 is opened, and the molded product Wp is separated from the used film F to enable the molded product Wp to be removed (see FIG. 47). In this case, an elastic heat conductive resin sheet or the like (not shown) is placed between the surface of the electronic component Wb mounted on the work W that faces the heat sink H and the surface of the heat sink H of the sealing resin R (R2) placed on the third cavity piece 326 that faces the electronic component Wb to prevent a gap from being generated, thereby preventing the upper surface of the electronic component Wb from being sealed with resin.

次いで、搬送装置(第3ローダ24等)によって、成形品Wpを第3金型302内から搬出し、収納ユニット10Cへ搬送する成形品搬出工程を実施する。一例として、搬送した成形品Wpは、収納マガジン14に収納する。また、成形品搬出工程の後に、もしくは、並行して、第3下型フィルム供給部311を作動させて、使用済みのフィルムFを第3金型302内から送り出し、新しいフィルムFを第3金型302内へ送り込んでセットする工程を実施する。 Next, a molded product unloading process is carried out in which the molded product Wp is unloaded from the third mold 302 by a transport device (such as the third loader 24) and transported to the storage unit 10C. As an example, the transported molded product Wp is stored in the storage magazine 14. In addition, after or in parallel with the molded product unloading process, a process is carried out in which the third lower mold film supply section 311 is operated to send out the used film F from the third mold 302 and send a new film F into the third mold 302 and set it there.

以上が第3プレス装置350及び第3金型302を備える圧縮成形装置2を用いて行う圧縮成形方法の主要工程である。但し、上記の工程順は一例であって、支障がない限り先後順の変更や並行実施が可能である。 The above are the main steps of the compression molding method performed using the compression molding device 2 equipped with the third press device 350 and the third mold 302. However, the above order of steps is only an example, and the order of steps can be changed or steps can be performed in parallel as long as there are no problems.

以上、説明した通り、本発明に係る形成装置及び形成方法によれば、以下の効果が得られる封止樹脂を形成することができる。すなわち、本発明に係る格子状の固形封止樹脂を用いれば、撒きムラ、残留気体、成形時の粉塵発生に起因する成形不良の発生を防止することが可能で、且つ、成形品の露出部位における封止樹脂の薄バリ形成を防止することが可能な圧縮成形装置及び圧縮成形方法を実現することができる。また、樹脂封止前のハンドリングを容易化することができる。 As explained above, the molding device and method according to the present invention can form a sealing resin that provides the following effects. That is, by using the lattice-shaped solid sealing resin according to the present invention, it is possible to prevent molding defects caused by uneven distribution, residual gas, and dust generation during molding, and it is possible to realize a compression molding device and compression molding method that can prevent the formation of thin burrs in the sealing resin at exposed parts of the molded product. In addition, it is possible to facilitate handling before resin sealing.

さらに、放熱板が固着された格子状の固形封止樹脂を用いれば、放熱板が上面に露出する構成の成形品を容易に形成することができ、且つ、形成工程の簡素化及び時間短縮を図ることができる。 Furthermore, by using a lattice-shaped solid sealing resin to which the heat sink is fixed, it is possible to easily form a molded product in which the heat sink is exposed on the upper surface, and it is possible to simplify the forming process and reduce the time required.

尚、本発明は、上記の実施形態に限定されることなく、本発明を逸脱しない範囲において種々変更可能である。 The present invention is not limited to the above-described embodiment, and various modifications are possible without departing from the scope of the present invention.

1 封止樹脂の形成装置
2 圧縮成形装置
102 打錠金型
136 可動駒
202、302 封止金型
236、336 可動駒
H 放熱板
Rm ベース樹脂
R 封止樹脂
Rh 貫通孔
W ワーク
Wa 基材
Wb 電子部品
Reference Signs List 1 Molding resin forming device 2 Compression molding device 102 Tableting mold 136 Movable piece 202, 302 Molding mold 236, 336 Movable piece H Heat sink Rm Base resin R Molding resin Rh Through hole W Work Wa Substrate Wb Electronic component

Claims (12)

ワークの圧縮成形に用いられる封止樹脂を形成する形成装置であって、
上型と下型とを有してベース樹脂を収容し、貫通孔を有する格子状の前記封止樹脂となるように打錠する打錠金型を備えること
を特徴とする封止樹脂の形成装置。
A forming apparatus for forming a sealing resin used in compression molding of a workpiece,
1. An apparatus for forming an encapsulating resin, comprising: a tableting die having an upper die and a lower die for accommodating a base resin therein, and for tableting the encapsulating resin into a lattice shape having through holes.
前記下型は、キャビティの底部となるキャビティ駒と、前記キャビティ駒を取囲む配置で設けられて前記キャビティの内壁部となるクランパと、前記キャビティ駒の上面から突出して所定位置に配置されて上下に移動可能な複数の可動駒と、を有し、
前記打錠金型は、前記キャビティ内における前記可動駒の周囲に前記ベース樹脂を収容して打錠する構成であり、前記可動駒の領域が前記貫通孔として形成される構成であること
を特徴とする請求項1記載の封止樹脂の形成装置。
the lower die has a cavity piece which becomes a bottom of a cavity, a clamper which is disposed to surround the cavity piece and which becomes an inner wall of the cavity, and a plurality of movable pieces which protrude from an upper surface of the cavity piece, are disposed at predetermined positions, and are movable up and down;
The sealing resin forming device according to claim 1, characterized in that the tableting die is configured to accommodate the base resin around the movable piece in the cavity and tablet it, and the area of the movable piece is configured to be formed as the through hole.
前記上型は、上プレートの下面に放熱板を保持する保持部を有し、
前記打錠金型は、前記上型の前記保持部に前記放熱板を保持した状態で且つ前記下型の前記可動駒の周囲に前記ベース樹脂を収容した状態で打錠する構成であり、前記放熱板が固着された状態の前記封止樹脂が形成される構成であること
を特徴とする請求項2記載の封止樹脂の形成装置。
the upper die has a holding portion for holding a heat sink on a lower surface of the upper plate,
The device for forming a sealing resin according to claim 2, characterized in that the tableting mold is configured to tablet with the heat sink plate held in the holding portion of the upper mold and with the base resin contained around the movable piece of the lower mold, and is configured to form the sealing resin with the heat sink plate fixed thereto.
前記打錠金型は、前記下型の前記キャビティ駒の上面、もしくは、前記上型の上プレートの下面、の少なくとも一方に、前記封止樹脂に立設される脚部を形成する脚部形成溝が設けられていること
を特徴とする請求項2記載の封止樹脂の形成装置。
The sealing resin forming device according to claim 2, characterized in that the tableting die has a leg forming groove formed on at least one of an upper surface of the cavity piece of the lower die or a lower surface of the upper plate of the upper die, the leg forming groove forming a leg to be erected in the sealing resin.
前記ベース樹脂として、パウダー樹脂が用いられること
を特徴とする請求項1~4のいずれか一項に記載の封止樹脂の形成装置。
5. The sealing resin forming apparatus according to claim 1, wherein a powder resin is used as the base resin.
ワークの圧縮成形に用いられる封止樹脂を形成する封止樹脂の形成方法であって、
貫通孔を有する格子状の前記封止樹脂を形成する形成工程を備えること
を特徴とする封止樹脂の形成方法。
A method for forming a sealing resin used in compression molding of a workpiece, comprising the steps of:
A method for forming a sealing resin, comprising the step of forming the sealing resin in a lattice shape having through holes.
前記形成工程は、ベース樹脂を打錠して前記封止樹脂を形成する工程を有すること
を特徴とする請求項6記載の封止樹脂の形成方法。
7. The method for forming an encapsulating resin according to claim 6, wherein the forming step includes a step of forming the encapsulating resin by tableting a base resin.
前記形成工程は、キャビティ内に設けられる可動駒の周囲に前記ベース樹脂を収容して打錠することにより、前記可動駒の領域が前記貫通孔となるように前記封止樹脂を形成する工程を有すること
を特徴とする請求項7記載の封止樹脂の形成方法。
The method for forming a sealing resin according to claim 7, characterized in that the forming step includes a step of filling the base resin around a movable piece provided in a cavity and tableting the base resin to form the sealing resin so that the area of the movable piece becomes the through hole.
前記形成工程は、上型の保持部に放熱板を保持し、且つ、下型の前記可動駒の周囲に前記ベース樹脂を収容して打錠することにより、前記放熱板が固着された状態の前記封止樹脂を形成する工程を有すること
を特徴とする請求項8記載の封止樹脂の形成方法。
The method for forming a sealing resin according to claim 8, characterized in that the forming process includes a step of holding a heat sink plate in a holding portion of an upper mold, and placing the base resin around the movable piece of a lower mold and tableting it to form the sealing resin with the heat sink plate fixed thereto.
前記ベース樹脂として、パウダー樹脂が用いられること
を特徴とする請求項7~9のいずれか一項に記載の封止樹脂の形成方法。
10. The method for forming a sealing resin according to claim 7, wherein a powder resin is used as the base resin.
ワークの圧縮成形に用いられる封止樹脂であって、
貫通孔を有する格子状に形成されていること
を特徴とする封止樹脂。
A sealing resin used in compression molding of a workpiece,
A sealing resin formed in a lattice shape having through holes.
放熱板が一面側に固着されて、前記貫通孔が塞がれた構成であること
を特徴とする請求項11記載の封止樹脂。
The sealing resin according to claim 11, wherein a heat sink is fixed to one surface side of the sealing resin, and the through hole is blocked.
JP2023158342A 2023-09-22 2023-09-22 Sealing resin for use in compression molding and forming method and forming apparatus thereof Pending JP2025049872A (en)

Priority Applications (3)

Application Number Priority Date Filing Date Title
JP2023158342A JP2025049872A (en) 2023-09-22 2023-09-22 Sealing resin for use in compression molding and forming method and forming apparatus thereof
TW113128633A TW202513264A (en) 2023-09-22 2024-08-01 Sealing resin for compression molding, and forming method and forming device thereof
PCT/JP2024/030170 WO2025062950A1 (en) 2023-09-22 2024-08-26 Sealing resin for use in compression molding and method and device for forming sealing resin

Applications Claiming Priority (1)

Application Number Priority Date Filing Date Title
JP2023158342A JP2025049872A (en) 2023-09-22 2023-09-22 Sealing resin for use in compression molding and forming method and forming apparatus thereof

Publications (1)

Publication Number Publication Date
JP2025049872A true JP2025049872A (en) 2025-04-04

Family

ID=95072791

Family Applications (1)

Application Number Title Priority Date Filing Date
JP2023158342A Pending JP2025049872A (en) 2023-09-22 2023-09-22 Sealing resin for use in compression molding and forming method and forming apparatus thereof

Country Status (3)

Country Link
JP (1) JP2025049872A (en)
TW (1) TW202513264A (en)
WO (1) WO2025062950A1 (en)

Family Cites Families (4)

* Cited by examiner, † Cited by third party
Publication number Priority date Publication date Assignee Title
JP2008041846A (en) * 2006-08-04 2008-02-21 Towa Corp Flip-chip resin injection molding method, and metal mold
JP4851948B2 (en) * 2007-01-30 2012-01-11 住友重機械工業株式会社 Resin supply mechanism
JP2009166415A (en) * 2008-01-18 2009-07-30 Sumitomo Heavy Ind Ltd Resin for compression molding, resin sealing apparatus and resin sealing method
WO2015159743A1 (en) * 2014-04-18 2015-10-22 アピックヤマダ株式会社 Resin molding die and resin molding method

Also Published As

Publication number Publication date
WO2025062950A1 (en) 2025-03-27
TW202513264A (en) 2025-04-01

Similar Documents

Publication Publication Date Title
TW202308063A (en) Compression molding device and compression molding method
JP2025049872A (en) Sealing resin for use in compression molding and forming method and forming apparatus thereof
JP2024139398A (en) Encapsulating resin for use in compression molding, and forming method and forming device thereof
TWI907903B (en) Sealing resin for compression molding, and method and apparatus for forming the same.
JP2024033057A (en) Resin sealing equipment and resin sealing method
WO2024202232A1 (en) Apparatus and method for forming sealing resin to be used for compression molding
JP2025049905A (en) Compression molding apparatus and compression molding method
TWI900142B (en) Compression forming device and compression forming method
WO2025047389A1 (en) Molded product formation method and sealing resin
WO2024204008A1 (en) Device and method for forming sealing resin used for compression molding, and compression molding device
JP2024139399A (en) Apparatus and method for forming sealing resin used in compression molding
WO2024204028A1 (en) Compression-molding device and compression-molding method
JP7576333B2 (en) Resin sealing equipment and sealing mold
JP2024163478A (en) Equipment for forming sealing resin used in compression molding
JP2025034137A (en) Compression molding apparatus and compression molding method
WO2024203997A1 (en) Compression molding apparatus and compression molding method
JP2025032602A (en) Compression molding apparatus and compression molding method
WO2024161680A1 (en) Compression-molding device and compression-molding method
JP2024139406A (en) Compression molding apparatus and compression molding method
JP2025004928A (en) Apparatus and method for forming sealing resin used in compression molding
EP4661063A1 (en) Sealing resin used for compression molding, and forming method for same
JP2025008394A (en) Compression molding apparatus and compression molding method
WO2024247343A1 (en) Compression molding device and compression molding method

Legal Events

Date Code Title Description
A621 Written request for application examination

Free format text: JAPANESE INTERMEDIATE CODE: A621

Effective date: 20250620