JP2025008394A - Compression molding apparatus and compression molding method - Google Patents

Compression molding apparatus and compression molding method Download PDF

Info

Publication number
JP2025008394A
JP2025008394A JP2023110537A JP2023110537A JP2025008394A JP 2025008394 A JP2025008394 A JP 2025008394A JP 2023110537 A JP2023110537 A JP 2023110537A JP 2023110537 A JP2023110537 A JP 2023110537A JP 2025008394 A JP2025008394 A JP 2025008394A
Authority
JP
Japan
Prior art keywords
resin
sealing
mold
workpiece
compression molding
Prior art date
Legal status (The legal status is an assumption and is not a legal conclusion. Google has not performed a legal analysis and makes no representation as to the accuracy of the status listed.)
Pending
Application number
JP2023110537A
Other languages
Japanese (ja)
Inventor
正明 涌井
Masaaki Wakui
誠 川口
Makoto Kawaguchi
Current Assignee (The listed assignees may be inaccurate. Google has not performed a legal analysis and makes no representation or warranty as to the accuracy of the list.)
Apic Yamada Corp
Original Assignee
Apic Yamada Corp
Priority date (The priority date is an assumption and is not a legal conclusion. Google has not performed a legal analysis and makes no representation as to the accuracy of the date listed.)
Filing date
Publication date
Application filed by Apic Yamada Corp filed Critical Apic Yamada Corp
Priority to JP2023110537A priority Critical patent/JP2025008394A/en
Priority to TW113123501A priority patent/TWI910687B/en
Publication of JP2025008394A publication Critical patent/JP2025008394A/en
Pending legal-status Critical Current

Links

Images

Landscapes

  • Casting Or Compression Moulding Of Plastics Or The Like (AREA)
  • Structures Or Materials For Encapsulating Or Coating Semiconductor Devices Or Solid State Devices (AREA)
  • Encapsulation Of And Coatings For Semiconductor Or Solid State Devices (AREA)

Abstract

To provide a compression molding device and a compression molding method which can prevent occurrence of molding failures and enable formation of a molded article having a thin resin component, and to facilitate handling of a sealing resin before resin folding and prevent occurrence of crack damages of the sealing resin at the time of handling.SOLUTION: A compression molding device 1 seals workpiece W with a sealing resin R using a sealing mold 202 having an upper mold 204 and a lower mold 206 and works the workpiece W into a molded article Wp, wherein a base resin Rm in a state in which a carrier C is fixed thereto is used as the sealing resin R.SELECTED DRAWING: Figure 11

Description

本発明は、圧縮成形装置及び圧縮成形方法に関する。 The present invention relates to a compression molding device and a compression molding method.

電子部品を有するワークを封止樹脂により封止して成形品に加工する樹脂封止装置及び樹脂封止方法の例として、圧縮成形方式によるものが知られている。 One example of a resin sealing device and resin sealing method that seals a workpiece having electronic components with sealing resin and processes it into a molded product is one that uses a compression molding method.

圧縮成形方式は、上型と下型とを備えて構成される封止金型に設けられる封止領域(キャビティ)に所定量の封止樹脂を供給すると共に当該封止領域にワークを配置して、上型と下型とでクランプする操作によって樹脂封止する技術である。一例として、上型にキャビティを設けた封止金型を用いる場合、ワーク上の中心位置に一括して封止樹脂を供給して成形する技術等が知られている。一方、下型にキャビティを設けた封止金型を用いる場合、当該キャビティを含む金型面を覆うリリースフィルム(以下、単に「フィルム」と称する場合がある)及び封止樹脂を供給して成形する技術等が知られている(特許文献1:特開2019-145550号公報参照)。 The compression molding method is a technique in which a predetermined amount of sealing resin is supplied to a sealing area (cavity) provided in a sealing mold comprising an upper mold and a lower mold, a workpiece is placed in the sealing area, and the upper and lower molds are clamped together to seal the workpiece with resin. As an example, when a sealing mold having a cavity in the upper mold is used, a technique is known in which the sealing resin is supplied all at once to the center position of the workpiece and molded. On the other hand, when a sealing mold having a cavity in the lower mold is used, a technique is known in which a release film (hereinafter sometimes simply referred to as "film") that covers the mold surface including the cavity and the sealing resin are supplied and molded (Patent Document 1: JP 2019-145550 A).

特開2019-145550号公報JP 2019-145550 A

従来は、封止樹脂の流動やワイヤーの接触に起因するワークの変形防止等の観点において優位性があるとの考えもあり、上型にワークが保持され、下型にキャビティが設けられ、当該キャビティ内に封止樹脂(一例として、顆粒樹脂)が供給される下型キャビティ可動の圧縮成形方式がストリップ基板では広く採用されていた。 Conventionally, the compression molding method in which the workpiece is held in the upper die, a cavity is provided in the lower die, and the lower die cavity is movable and sealing resin (granular resin, for example) is supplied into the cavity, has been widely adopted for strip boards, as it was thought to have advantages in terms of preventing deformation of the workpiece due to the flow of sealing resin and contact with wires.

しかしながら、上型にワークが保持され、下型にキャビティが設けられる構成においては、ワークが薄い場合や大型の場合に、上型での保持が難しく落下が生じ易いという課題があった。また、封止樹脂として顆粒樹脂が用いられる場合、樹脂粒同士の擦れ等により成形時の粉塵が発生するという課題や、ハンドリングが難しいという課題に加えて、下型に設けられるキャビティ内の全領域に対して均等に封止樹脂を供給(散布)することが難しく撒きムラが生じ易いという課題があった。また、封止樹脂の散布時に粒同士の隙間に含まれる空気及び溶融時に封止樹脂より脱泡することによる気体成分が抜けずに成形品にボイド等として残ってしまう成形不良が生じ易いという課題があった。 However, in a configuration in which the workpiece is held in the upper die and the cavity is provided in the lower die, there is an issue that if the workpiece is thin or large, it is difficult to hold it in the upper die and it is prone to falling. Furthermore, when granular resin is used as the sealing resin, there are issues such as dust generation during molding due to friction between the resin particles, and handling is difficult, as well as issues that it is difficult to supply (spray) the sealing resin evenly over the entire area inside the cavity provided in the lower die, which tends to result in uneven spreading. There is also an issue that the air contained in the gaps between the particles when the sealing resin is sprayed and the gas components caused by degassing from the sealing resin when melted do not escape and remain in the molded product as voids, which is likely to cause molding defects.

一方、キャビティの配置に関わらず、封止樹脂として顆粒樹脂や液状樹脂等ではない一定の形状を有する固形樹脂を用いる場合には、以下の課題が明らかになった。具体的に、樹脂封止後における樹脂厚み(具体的には、樹脂封止後におけるワークの上方位置もしくは下方位置の樹脂部分の厚み)が0.4mm以下となる程度に薄い成形品を形成しようとすると、樹脂封止前における封止樹脂(固形樹脂)の厚みも薄くせざるを得ない。しかしながら、樹脂封止前における封止樹脂(固形樹脂)は、当然、本硬化する前の状態であることから剛性が低く(脆く)、強度が弱いため、ハンドリング時(特に搬送時)に極めて割損が発生し易くなるという課題が明らかになった。 On the other hand, when using a solid resin with a fixed shape, rather than a granular or liquid resin, as the sealing resin, regardless of the cavity arrangement, the following problem has become clear. Specifically, when attempting to form a molded product thin enough that the resin thickness after resin sealing (specifically, the thickness of the resin portion above or below the workpiece after resin sealing) is 0.4 mm or less, the thickness of the sealing resin (solid resin) before resin sealing must also be made thin. However, the sealing resin (solid resin) before resin sealing is naturally in a state before it has fully hardened, so it has low rigidity (brittleness) and low strength, and this has revealed the problem that it is extremely susceptible to breakage during handling (particularly during transportation).

本発明は、上記事情に鑑みてなされ、封止樹脂の撒きムラ、残留気体、成形時の粉塵発生に起因する成形不良の発生を防止することが可能で、また、樹脂部分の厚みが薄い成形品を形成することが可能な圧縮成形装置及び圧縮成形方法を実現すると共に、樹脂封止前の封止樹脂に関して、ハンドリングを容易化すること、及び、ハンドリング時における割損の発生を防止することを目的とする。 The present invention was made in consideration of the above circumstances, and aims to provide a compression molding device and compression molding method that can prevent molding defects caused by uneven spreading of the sealing resin, residual gas, and dust generation during molding, and can form molded products with thin resin parts, as well as to facilitate handling of the sealing resin before resin sealing and prevent breakage during handling.

本発明は、一実施形態として以下に記載するような解決手段により、前記課題を解決する。 The present invention solves the above problems by the solution described below as one embodiment.

一実施形態に係る圧縮成形装置は、上型と下型とを備える封止金型を用いて、ワークを封止樹脂により封止して成形品に加工する圧縮成形装置であって、前記封止樹脂として、キャリアが固着された状態のベース樹脂が用いられることを要件とする。 The compression molding device according to one embodiment is a compression molding device that uses a sealing die having an upper die and a lower die to seal a workpiece with sealing resin and process it into a molded product, and the sealing resin must be a base resin with a carrier fixed thereto.

上記の実施形態によれば、封止樹脂の撒きムラ、残留気体、成形時の粉塵発生に起因する成形不良の発生を防止することができる。また、封止樹脂のハンドリングを容易化することができると共に、特に樹脂部分の厚みが0.4mm以下となるような薄い成形品を形成する場合であっても、ハンドリング時における封止樹脂の割損発生を防止することができる。また、上型にキャビティが設けられ、下型にワークが保持される構成に適用することによって、ワークが落下する等の不具合を解決することができる。 According to the above embodiment, it is possible to prevent molding defects caused by uneven spreading of the sealing resin, residual gas, and dust generation during molding. In addition, it is possible to facilitate handling of the sealing resin, and it is possible to prevent the sealing resin from breaking during handling, especially when forming a thin molded product with a resin part having a thickness of 0.4 mm or less. In addition, by applying this to a configuration in which a cavity is provided in the upper mold and the workpiece is held in the lower mold, it is possible to solve problems such as the workpiece falling.

また、前記封止樹脂として、パウダー樹脂が打錠されて前記キャリアが固着された所定形状に形成された固形樹脂が用いられることが好ましい。また、前記所定形状は、平面視で、中央部に前記キャリアが配置され、前記キャリアの外周が被覆されるように周縁部に前記ベース樹脂が配置された形状であることが好ましい。 The sealing resin is preferably a solid resin formed by tableting a powder resin and fixing the carrier to the predetermined shape. In addition, the predetermined shape is preferably a shape in which the carrier is arranged in the center in a plan view, and the base resin is arranged on the periphery so as to cover the outer periphery of the carrier.

また、それぞれの前記キャリアが外側となるように配置した二つの前記封止樹脂の間に前記ワークを挟んだ状態で前記封止金型内へ搬送する搬送装置を備えることが好ましい。 It is also preferable to provide a transport device that transports the workpiece between two of the sealing resins arranged so that each of the carriers is on the outside and transports the workpiece into the sealing mold.

また、一実施形態に係る圧縮成形方法は、上型と下型とを備える封止金型を用いて、ワークを封止樹脂により封止して成形品に加工する圧縮成形方法であって、前記封止樹脂として、キャリアが固着された状態のベース樹脂を準備する樹脂準備工程と、前記封止樹脂を前記封止金型内へ搬送する搬送工程と、前記封止金型の型閉じを行って前記ワークを前記封止樹脂により封止して前記成形品に加工する樹脂封止工程と、を備えることを要件とする。 In addition, the compression molding method according to one embodiment is a compression molding method in which a workpiece is sealed with sealing resin using a sealing die having an upper die and a lower die, and processed into a molded product, and includes a resin preparation process in which a base resin with a carrier fixed thereto is prepared as the sealing resin, a transport process in which the sealing resin is transported into the sealing die, and a resin sealing process in which the sealing die is closed to seal the workpiece with the sealing resin and process the molded product.

前記樹脂封止工程は、それぞれの前記キャリアが外側となるように配置した二つの前記封止樹脂の間に前記ワークを挟んだ状態で前記封止金型内にセットする工程を有することが好ましい。 The resin sealing process preferably includes a step of setting the workpiece in the sealing mold while sandwiching it between two pieces of sealing resin arranged so that each of the carriers is on the outside.

また、前記搬送工程は、それぞれの前記キャリアが外側となるように配置した二つの前記封止樹脂の間に前記ワークを挟んだ状態で前記封止金型内へ搬送する工程を有することが好ましい。 The transport step preferably includes a step of transporting the workpiece sandwiched between two of the sealing resins arranged so that each of the carriers is on the outside into the sealing mold.

本発明によれば、封止樹脂の撒きムラ、残留気体、成形時の粉塵発生に起因する成形不良の発生を防止することが可能で、また、樹脂部分の厚みが薄い成形品を形成することが可能な圧縮成形装置及び圧縮成形方法を実現することができる。また、樹脂封止前の封止樹脂に関して、ハンドリングを容易化することができ、且つ、ハンドリング時における割損の発生を防止することができる。 The present invention makes it possible to prevent molding defects caused by uneven spreading of the sealing resin, residual gas, and dust generation during molding, and also realizes a compression molding device and compression molding method that can form a molded product with a thin resin portion. In addition, it is possible to facilitate handling of the sealing resin before resin sealing, and to prevent breakage during handling.

本発明の実施形態に係る圧縮成形装置の例を示す平面図である。FIG. 1 is a plan view showing an example of a compression molding device according to an embodiment of the present invention. 本発明の第1の実施形態に係る圧縮成形装置の第1プレス装置の例を示す側面図である。FIG. 2 is a side view showing an example of a first press device of the compression molding apparatus according to the first embodiment of the present invention. 本発明の第1の実施形態に係る圧縮成形装置の第1金型の例を示す正面断面図である。1 is a front cross-sectional view showing an example of a first mold of a compression molding apparatus according to a first embodiment of the present invention. FIG. 本発明の第1の実施形態に係る圧縮成形装置の第1金型の他の例を示す正面断面図である。4 is a front cross-sectional view showing another example of the first mold of the compression molding apparatus according to the first embodiment of the present invention. FIG. 本発明の第1の実施形態に係る圧縮成形装置の第2プレス装置の例を示す側面図である。FIG. 2 is a side view showing an example of a second press device of the compression molding apparatus according to the first embodiment of the present invention. 本発明の第1の実施形態に係る圧縮成形装置の第2金型の例を示す正面断面図である。3 is a front cross-sectional view showing an example of a second mold of the compression molding apparatus according to the first embodiment of the present invention. FIG. 本発明の第1の実施形態に係る圧縮成形方法の説明図である。1 is an explanatory diagram of a compression molding method according to a first embodiment of the present invention. FIG. 図7に続く説明図である。FIG. 8 is an explanatory diagram following FIG. 7 . 図9Aは、本発明の実施形態に係る圧縮成形装置及び圧縮成形方法において用いられる封止樹脂の例を示す平面図である。図9Bは、図9AにおけるA-A線断面図である。Fig. 9A is a plan view showing an example of a sealing resin used in the compression molding apparatus and compression molding method according to the embodiment of the present invention, and Fig. 9B is a cross-sectional view taken along line AA in Fig. 9A. 図8に続く説明図である。FIG. 9 is an explanatory diagram following FIG. 8 . 図10に続く説明図である。FIG. 11 is an explanatory diagram continuing from FIG. 図11に続く説明図である。FIG. 12 is an explanatory diagram following FIG. 図12に続く説明図である。FIG. 13 is an explanatory diagram following FIG. 12. 図14A~図14Cは、本発明の実施形態に係る圧縮成形装置及び圧縮成形方法において形成される成形品の例を示す正面断面図であり、図14Aはキャリア剥離工程実施前の状態であり、図14Bはキャリア剥離工程実施後の状態であり、図14Cは切断工程実施後の状態である。14A to 14C are front cross-sectional views showing an example of a molded product formed by the compression molding apparatus and compression molding method according to an embodiment of the present invention, where FIG. 14A shows the state before the carrier peeling process, FIG. 14B shows the state after the carrier peeling process, and FIG. 14C shows the state after the cutting process. 本発明の第2の実施形態に係る圧縮成形装置の第3プレス装置の例を示す側面図である。FIG. 11 is a side view showing an example of a third press device of the compression molding apparatus according to the second embodiment of the present invention. 本発明の第2の実施形態に係る圧縮成形装置の第3金型の例を示す側面図である。FIG. 11 is a side view showing an example of a third mold of the compression molding apparatus according to the second embodiment of the present invention. 本発明の第2の実施形態に係る圧縮成形方法の説明図である。FIG. 4 is an explanatory diagram of a compression molding method according to a second embodiment of the present invention. 図17に続く説明図である。FIG. 18 is an explanatory diagram following FIG. 17. 図18に続く説明図である。FIG. 19 is an explanatory diagram following FIG. 18 .

[第1の実施形態]
(全体構成)
以下、図面を参照して、本発明の第1の実施形態について詳しく説明する。図1は、本実施形態に係る圧縮成形装置1の例を示す平面図(概略図)である(第2の実施形態と共通の構成図である)。尚、説明の便宜上、図中において矢印により圧縮成形装置1における左右方向(X方向)、前後方向(Y方向)、上下方向(Z方向)を示す。また、各実施形態を説明するための全図において、同一の機能を有する部材には同一の符号を付し、その繰返しの説明は省略する場合がある。
[First embodiment]
(Overall composition)
Hereinafter, the first embodiment of the present invention will be described in detail with reference to the drawings. Fig. 1 is a plan view (schematic view) showing an example of a compression molding apparatus 1 according to this embodiment (a configuration diagram common to the second embodiment). For convenience of explanation, arrows in the drawing indicate the left-right direction (X direction), the front-back direction (Y direction), and the up-down direction (Z direction) in the compression molding apparatus 1. In addition, in all the drawings for explaining each embodiment, members having the same function are given the same reference numerals, and repeated explanations thereof may be omitted.

本実施形態に係る圧縮成形装置1は、封止金型を備え、封止樹脂Rを用いてワーク(被成形品)Wの樹脂封止(圧縮成形)を行う装置である。 The compression molding device 1 according to this embodiment is equipped with a sealing mold and is a device that performs resin sealing (compression molding) of a workpiece (molded product) W using sealing resin R.

先ず、成形対象であるワークWは、電子部品を備えて構成されている。電子部品の例として、コイルシート、半導体チップ、MEMSチップ、受動素子、放熱板、導電部材、スペーサ等が挙げられる。ワークWは、電子部品のみからなる構成としてもよく、あるいは、基材に搭載(ワイヤーボンディング実装、フリップチップ実装等)された構成としてもよい。尚、基材の例として、樹脂基板、セラミックス基板、金属基板、キャリアプレート、リードフレーム、ウェハ等の矩形もしくは円形の板状部材が挙げられる。また、ワークWを構成する電子部品の個数は、特に限定されるものではなく、一つもしくは複数個に設定される。 First, the workpiece W to be molded is configured with electronic components. Examples of electronic components include coil sheets, semiconductor chips, MEMS chips, passive elements, heat sinks, conductive members, spacers, etc. The workpiece W may be configured to be composed of only electronic components, or may be configured to be mounted on a substrate (wire bonding mounting, flip chip mounting, etc.). Examples of substrates include rectangular or circular plate-shaped members such as resin substrates, ceramic substrates, metal substrates, carrier plates, lead frames, and wafers. The number of electronic components that make up the workpiece W is not particularly limited, and is set to one or more.

本実施形態においては、封止樹脂Rとして、キャリアCが固着された状態のベース樹脂Rmが用いられる(詳細は後述)。一例として、キャリアCは、金属材料(例えば、銅、銅合金等)を用いて厚さ寸法が0.1mm~0.5mm程度に形成された板状部材であるが、これに限定されるものではない。 In this embodiment, the base resin Rm to which the carrier C is fixed is used as the sealing resin R (details will be described later). As an example, the carrier C is a plate-like member formed from a metal material (e.g., copper, copper alloy, etc.) with a thickness of approximately 0.1 mm to 0.5 mm, but is not limited to this.

本実施形態においては、ベース樹脂Rm、及び、封止樹脂Rとして、熱硬化性樹脂(例えば、フィラー含有のエポキシ系樹脂等であるが、これに限定されない)が用いられる。尚、ベース樹脂Rmには、熱硬化性樹脂(性質)であるパウダー樹脂(粉状樹脂)が好適に用いられる(詳細は後述)。但し、これに限定されるものではなく、顆粒樹脂、破砕状樹脂、固形樹脂、液状樹脂、もしくは、それらの内の複数を組合せた樹脂、が用いられる構成としてもよい。 In this embodiment, a thermosetting resin (such as, but not limited to, an epoxy resin containing a filler) is used as the base resin Rm and the sealing resin R. In addition, a powder resin (powdered resin) that is a thermosetting resin (property) is preferably used as the base resin Rm (details will be described later). However, this is not limited to this, and a configuration may be used in which a granular resin, a crushed resin, a solid resin, a liquid resin, or a resin that is a combination of two or more of these resins is used.

また、フィルムFの例として、耐熱性、剥離容易性、柔軟性、伸展性に優れたフィルム材、例えば、PTFE(ポリテトラフルオロエチレン)、ETFE(ポリテトラフルオロエチレン重合体)、PET、FEP、フッ素含浸ガラスクロス、ポリプロピレン、ポリ塩化ビニリジン等が好適に用いられる。尚、フィルムFは、後述の樹脂形成部50において封止樹脂Rを形成する際にも用いられる。 Examples of film F that can be suitably used include film materials with excellent heat resistance, ease of peeling, flexibility, and extensibility, such as PTFE (polytetrafluoroethylene), ETFE (polytetrafluoroethylene polymer), PET, FEP, fluorine-impregnated glass cloth, polypropylene, and polyvinylidine chloride. Film F is also used when forming sealing resin R in resin forming section 50, which will be described later.

続いて、本実施形態に係る圧縮成形装置1の概要について説明する。図1に示すように、圧縮成形装置1は、ベース樹脂Rm、キャリアCの供給等を行うベース樹脂供給ユニット10D、ベース樹脂Rm、キャリアCを用いて封止樹脂Rの形成等を行う樹脂形成ユニット10E、ワークWの供給等を行う供給ユニット10A、ワークWを樹脂封止して成形品Wpへの加工等を行うプレスユニット10B、成形品Wpの収納等を行う収納ユニット10Cを主要構成として備えている。一例として、図1中のX方向に沿って、ベース樹脂供給ユニット10D、樹脂形成ユニット10E、供給ユニット10A、プレスユニット10B、収納ユニット10Cの順に配置されている。但し、上記の構成に限定されるものではなく、ユニット内の機器構成やユニット数、ユニットの配置順等を変更してもよい。例えば、供給ユニット10Aと、収納ユニット10Cとを、X方向において相互に逆の配置としてもよく、あるいは、いずれか一方の位置に集約される配置としてもよい(不図示)。また、上記以外のユニットを備える構成としてもよい(不図示)。 Next, an overview of the compression molding apparatus 1 according to this embodiment will be described. As shown in FIG. 1, the compression molding apparatus 1 includes a base resin supply unit 10D that supplies the base resin Rm and the carrier C, a resin forming unit 10E that forms the sealing resin R using the base resin Rm and the carrier C, a supply unit 10A that supplies the workpiece W, a press unit 10B that seals the workpiece W with resin and processes it into a molded product Wp, and a storage unit 10C that stores the molded product Wp. As an example, the base resin supply unit 10D, the resin forming unit 10E, the supply unit 10A, the press unit 10B, and the storage unit 10C are arranged in this order along the X direction in FIG. 1. However, the above configuration is not limited to this, and the equipment configuration within the unit, the number of units, the order of arrangement of the units, etc. may be changed. For example, the supply unit 10A and the storage unit 10C may be arranged in the opposite direction to each other in the X direction, or may be arranged to be concentrated in one position (not shown). The configuration may also include units other than those listed above (not shown).

また、圧縮成形装置1は、各ユニット間を跨いでガイドレール20が直線状に設けられており、ワークW、封止樹脂Rを搬送する(ワークW、封止樹脂R以外の搬送に用いてもよい)搬送装置(第1ローダ)22、並びに、成形品Wpを搬送する(成形品Wp以外の搬送に用いてもよい)搬送装置(第2ローダ)24が、ガイドレール20に沿って所定のユニット間を移動可能に設けられている。但し、上記の構成に限定されるものではなく、ワークW、封止樹脂R、及び成形品Wp等を搬送する共通の(一つの)搬送装置(ローダ)を備える構成としてもよい(不図示)。また、搬送装置は、ローダに代えて、ロボットハンド等を備える構成としてもよい。 In addition, the compression molding device 1 has a guide rail 20 that is linearly provided between each unit, and a transport device (first loader) 22 that transports the work W and the sealing resin R (may be used for transporting items other than the work W and the sealing resin R), and a transport device (second loader) 24 that transports the molded product Wp (may be used for transporting items other than the molded product Wp) are provided so as to be movable between predetermined units along the guide rail 20. However, the configuration is not limited to the above, and a configuration may be provided with a common (single) transport device (loader) that transports the work W, the sealing resin R, the molded product Wp, etc. (not shown). In addition, the transport device may be configured to include a robot hand or the like instead of a loader.

また、圧縮成形装置1は、各ユニットにおける各機構の作動制御等を行う制御部90が供給ユニット10Aに配置されている(他のユニットに配置される構成としてもよい)。 In addition, in the compression molding device 1, a control unit 90 that controls the operation of each mechanism in each unit is disposed in the supply unit 10A (it may also be configured to be disposed in another unit).

(ベース樹脂供給ユニット)
続いて、圧縮成形装置1が備えるベース樹脂供給ユニット10Dについて説明する。
(Base resin supply unit)
Next, the base resin supplying unit 10D provided in the compression molding apparatus 1 will be described.

ベース樹脂供給ユニット10Dは、キャリアCを供給するキャリア供給部30、及び、ベース樹脂Rmを供給するベース樹脂供給部40を備えている。一例として、キャリア供給部30は、複数のキャリアCが収納される収納部(例えば、ストッカ等)を備えて構成されている(適宜、ピックアップやステージ等を設けてもよい)。また、ベース樹脂供給部40は、ベース樹脂Rmを供給するディスペンサ、搬送装置等を備えて構成されている。尚、キャリアC、ベース樹脂Rmをベース樹脂供給ユニット10Dから樹脂形成ユニット10Eへ搬送する場合、搬送装置には第1ローダ22を用いてもよく、他の搬送装置等(不図示)を用いてもよい(ベース樹脂Rmに関しては、ディスペンサからの直接散布等も採用し得る)。 The base resin supply unit 10D includes a carrier supply section 30 that supplies carriers C, and a base resin supply section 40 that supplies base resin Rm. As an example, the carrier supply section 30 is configured with a storage section (e.g., a stocker, etc.) in which multiple carriers C are stored (a pickup, stage, etc. may be provided as appropriate). The base resin supply section 40 is configured with a dispenser that supplies base resin Rm, a conveying device, etc. When the carriers C and base resin Rm are conveyed from the base resin supply unit 10D to the resin forming unit 10E, the first loader 22 may be used as the conveying device, or another conveying device (not shown) may be used (direct spraying from a dispenser, etc. may also be used for the base resin Rm).

(樹脂形成ユニット)
続いて、圧縮成形装置1が備える樹脂形成ユニット10Eについて説明する。
(Resin Forming Unit)
Next, the resin forming unit 10E included in the compression molding apparatus 1 will be described.

樹脂形成ユニット10Eは、ベース樹脂Rm、キャリアCを用いて封止樹脂Rの形成を行う装置として樹脂形成部50を備えている。本実施形態においては、当該樹脂形成ユニット10Eを二台(三台以上もしくは一台としてもよい)備えており、一台の樹脂形成ユニット10E当たり一台(二台以上としてもよい)の樹脂形成部50を備えている(図1参照)。但し、この構成に限定されるものではない。 The resin forming unit 10E includes a resin forming section 50 as a device that forms the sealing resin R using the base resin Rm and the carrier C. In this embodiment, two resin forming units 10E (three or more or one) are provided, and one resin forming section 50 (two or more) is provided per resin forming unit 10E (see FIG. 1). However, this configuration is not limited to this.

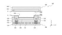
樹脂形成部50は、型開閉される一対の金型(例えば、合金工具鋼からなる複数の金型ブロック、金型プレート、金型ピラー等やその他の部材が組み付けられたもの)を有する打錠金型(第1金型)102を備えている。また、第1金型102を開閉駆動するプレス装置(第1プレス装置)150を備えている。一例として、第1プレス装置150を二台備える構成としているが、一台備える構成としてもよく、複数台(三台以上)備える構成としてもよい(不図示)。第1プレス装置150の側面図(概略図)を図2に示し、第1金型102の正面断面図(概略図)を図3に示す。 The resin forming section 50 is provided with a tableting die (first die) 102 having a pair of dies (for example, a plurality of die blocks, die plates, die pillars, etc., made of alloy tool steel, and other components assembled thereto) that are opened and closed. It is also provided with a press device (first press device) 150 that drives the first die 102 to open and close. As an example, the configuration is provided with two first press devices 150, but it may also be provided with one device, or with multiple devices (three or more) (not shown). A side view (schematic diagram) of the first press device 150 is shown in FIG. 2, and a front cross-sectional view (schematic diagram) of the first die 102 is shown in FIG. 3.

ここで、第1プレス装置150は、図2に示すように、一対のプラテン154、156と、一対のプラテン154、156が架設される複数のタイバー152と、プラテン156を可動(昇降)させる駆動装置等を備えて構成されている。具体的に、当該駆動装置は、駆動源(例えば、電動モータ)160及び駆動伝達機構(例えば、ボールねじやトグルリンク機構)162等を備えて構成されている(但し、これに限定されるものではない)。本実施形態では、鉛直方向において上方側のプラテン154を固定プラテン(タイバー152に固定されるプラテン)とし、下方側のプラテン156を可動プラテン(タイバー152に摺動可能に保持されて昇降するプラテン)として設定している。但し、これに限定されるものではなく、上下逆に、すなわち上方側を可動プラテン、下方側を固定プラテンに設定してもよく、あるいは、上方側、下方側共に可動プラテンとして設定してもよい(いずれも不図示)。 Here, as shown in FIG. 2, the first press device 150 is configured to include a pair of platens 154, 156, a plurality of tie bars 152 on which the pair of platens 154, 156 are supported, and a drive device for moving (raising and lowering) the platen 156. Specifically, the drive device is configured to include a drive source (e.g., an electric motor) 160 and a drive transmission mechanism (e.g., a ball screw or a toggle link mechanism) 162 (however, this is not limited to this). In this embodiment, the upper platen 154 in the vertical direction is set as a fixed platen (a platen fixed to the tie bars 152), and the lower platen 156 is set as a movable platen (a platen slidably held by the tie bars 152 and raised and lowered). However, this is not limited to this, and the platens may be set upside down, i.e., the upper side may be set as a movable platen and the lower side as a fixed platen, or both the upper and lower sides may be set as movable platens (neither is shown).

一方、第1金型102は、図3に示すように、第1プレス装置150における上記一対のプラテン154、156間に配設される一対の金型として、鉛直方向における上方側の第1上型104と、下方側の第1下型106とを備えている。第1上型104が上方側のプラテン(本実施形態では、固定プラテン154)に組み付けられ、第1下型106が下方側のプラテン(本実施形態では、可動プラテン156)に組み付けられている。この第1上型104と第1下型106とが相互に接近・離反することで型閉じ・型開きが行われる(鉛直方向(上下方向)が型開閉方向となる)。本実施形態に係る第1金型102においては、第1上型104がいわゆる「杵型」を構成し、第1下型106がいわゆる「臼型」を構成する。 On the other hand, as shown in FIG. 3, the first mold 102 is provided with a first upper mold 104 on the vertical side and a first lower mold 106 on the vertical side as a pair of molds arranged between the pair of platens 154, 156 in the first press device 150. The first upper mold 104 is assembled to the upper platen (in this embodiment, the fixed platen 154), and the first lower mold 106 is assembled to the lower platen (in this embodiment, the movable platen 156). The first upper mold 104 and the first lower mold 106 approach and move away from each other to close and open the mold (the vertical direction (up and down direction) is the mold opening and closing direction). In the first mold 102 according to this embodiment, the first upper mold 104 constitutes a so-called "pestle mold", and the first lower mold 106 constitutes a so-called "mortar mold".

次に、第1金型102の第1下型106について詳しく説明する。図3に示すように、第1下型106は、下型チェイス(第1下型チェイス)110と、これに保持されるキャビティ駒(第1キャビティ駒)126、クランパ(第1クランパ)128等を備えている。第1下型チェイス110は、サポートピラー(第1サポートピラー)112を介してサポートプレート(第1サポートプレート)114の上面に対して固定されている。第1下型106の上面(第1上型104側の面)にキャビティ(第1キャビティ)108が設けられている。この第1キャビティ108内に一枚のキャリアCと所定量のベース樹脂Rmとが収容される。 Next, the first lower die 106 of the first mold 102 will be described in detail. As shown in FIG. 3, the first lower die 106 includes a lower die chase (first lower die chase) 110, a cavity piece (first cavity piece) 126 held therein, a clamper (first clamper) 128, and the like. The first lower die chase 110 is fixed to the upper surface of a support plate (first support plate) 114 via a support pillar (first support pillar) 112. A cavity (first cavity) 108 is provided on the upper surface (surface on the first upper die 104 side) of the first lower die 106. A carrier C and a predetermined amount of base resin Rm are accommodated in this first cavity 108.

第1クランパ128は、第1キャビティ駒126を囲うように環状に構成されると共に、押動ピン(第1押動ピン)122及びクランパバネ(第1クランパバネ)124(例えば、コイルバネに例示される付勢部材)を介して、第1サポートプレート114の上面に対して離間(フローティング)して上下動可能に組み付けられる(但し、この組み付け構造に限定されるものではない)。この第1キャビティ駒126が第1キャビティ108の奥部(底部)を構成し、第1クランパ128が第1キャビティ108の側部を構成する。一例として、第1キャビティ駒126の上面(第1上型104側の面)は平面状に形成されている。尚、一つの第1下型106に設けられる第1キャビティ108の形状や個数は、適宜設定される(一つもしくは複数個)。 The first clamper 128 is configured in an annular shape to surround the first cavity piece 126, and is assembled to be movable up and down while being spaced apart (floating) from the upper surface of the first support plate 114 via a push pin (first push pin) 122 and a clamper spring (first clamper spring) 124 (for example, a biasing member exemplified by a coil spring) (however, this assembly structure is not limited). The first cavity piece 126 constitutes the inner part (bottom part) of the first cavity 108, and the first clamper 128 constitutes the side part of the first cavity 108. As an example, the upper surface (surface facing the first upper mold 104) of the first cavity piece 126 is formed in a flat shape. The shape and number of first cavities 108 provided in one first lower mold 106 are set appropriately (one or multiple).

ここで、第1プレス装置150には、第1下型106における第1キャビティ108の内面を含む金型面106a(所定領域)を覆うためのフィルムFを供給する下型フィルム供給部(第1下型フィルム供給部)111が設けられている。尚、一例として、フィルムFは、ロール状であるが短冊状であってもよい。 Here, the first press device 150 is provided with a lower die film supply section (first lower die film supply section) 111 that supplies film F to cover the die surface 106a (predetermined area) including the inner surface of the first cavity 108 in the first lower die 106. As an example, the film F is in a roll shape, but it may also be in a strip shape.

また、第1下型106は、第1クランパ128や第1キャビティ駒126との境界部等に、吸引装置に連通する吸引路(孔や溝等)が設けられている(不図示)。これにより、第1下型フィルム供給部111から供給されたフィルムFを、第1キャビティ108の内面を含む金型面106aに吸着させて保持することができる。 The first lower mold 106 is also provided with suction paths (holes, grooves, etc.) (not shown) that communicate with a suction device at the boundaries between the first clamper 128 and the first cavity piece 126. This allows the film F supplied from the first lower mold film supply unit 111 to be adsorbed and held on the mold surface 106a, including the inner surface of the first cavity 108.

また、本実施形態においては、第1下型106を所定温度に加熱する第1下型加熱機構(不図示)が設けられている。この第1下型加熱機構は、ヒータ(例えば、電熱線ヒータ)、温度センサ、電源等を備えており、制御部90によって加熱の制御が行われる。一例として、ヒータは、第1下型チェイス110に内蔵され、第1下型106全体及び第1キャビティ108内に収容されるキャリアC及びベース樹脂Rmに熱を加える構成となっている。このとき、ベース樹脂Rmの熱硬化(本硬化)が進み難い程度の所定温度(例えば、50℃~80℃)となるように、第1下型106が加熱される。 In this embodiment, a first lower die heating mechanism (not shown) is provided that heats the first lower die 106 to a predetermined temperature. This first lower die heating mechanism includes a heater (e.g., an electric wire heater), a temperature sensor, a power source, etc., and heating is controlled by the control unit 90. As an example, the heater is built into the first lower die chase 110 and is configured to apply heat to the entire first lower die 106 and the carrier C and base resin Rm contained in the first cavity 108. At this time, the first lower die 106 is heated to a predetermined temperature (e.g., 50°C to 80°C) at which the thermal curing (main curing) of the base resin Rm is unlikely to proceed.

次に、第1金型102の第1上型104について詳しく説明する。図3に示すように、第1上型104は、上型チェイス(第1上型チェイス)140に保持(固定)された打錠プレート(第1プレート)142を備えている。この打錠プレート(第1プレート)142は、第1下型106の第1キャビティ108内に収容されるキャリアC及び所定量のベース樹脂Rmを押圧して、キャリアCが固着された所定形状を有する封止樹脂Rとなるように形成(打錠)する作用をなす(形成方法の詳細については後述する)。一例として、第1プレート142の下面(第1下型106側の面)は平面状に形成されている。 Next, the first upper die 104 of the first mold 102 will be described in detail. As shown in FIG. 3, the first upper die 104 has a tableting plate (first plate) 142 held (fixed) by an upper die chase (first upper die chase) 140. This tableting plate (first plate) 142 presses the carrier C and a predetermined amount of base resin Rm contained in the first cavity 108 of the first lower die 106 to form (tablet) the sealing resin R having a predetermined shape to which the carrier C is fixed (the formation method will be described in detail later). As an example, the lower surface of the first plate 142 (the surface facing the first lower die 106) is formed flat.

ここで、第1プレス装置150には、第1上型104の金型面104a(所定領域)を覆うためのフィルムFを供給する上型フィルム供給部(第1上型フィルム供給部)113が設けられている。尚、一例として、フィルムFは、ロール状であるが短冊状であってもよい。 Here, the first press device 150 is provided with an upper die film supply section (first upper die film supply section) 113 that supplies a film F to cover the die surface 104a (predetermined area) of the first upper die 104. As an example, the film F is in a roll shape, but it may also be in a strip shape.

また、第1上型104は、第1プレート142等に、吸引装置に連通する吸引路(孔や溝等)が設けられている(不図示)。これにより、第1上型フィルム供給部113から供給されたフィルムFを、金型面104aに吸着させて保持することができる。 The first upper mold 104 also has suction paths (holes, grooves, etc.) (not shown) in the first plate 142, etc., that communicate with a suction device. This allows the film F supplied from the first upper mold film supply unit 113 to be adsorbed and held on the mold surface 104a.

また、本実施形態においては、第1上型104を所定温度に加熱する第1上型加熱機構(不図示)が設けられている。この第1上型加熱機構は、ヒータ(例えば、電熱線ヒータ)、温度センサ、電源等を備えており、制御部90によって加熱の制御が行われる。一例として、ヒータは、第1上型チェイス140に内蔵され、第1上型104全体に熱を加える構成となっている。このとき、上記第1下型106に保持(収容)されるベース樹脂Rmの熱硬化(本硬化)が進み難い程度の所定温度(例えば、50℃~80℃)となるように、第1上型104が加熱される。 In this embodiment, a first upper die heating mechanism (not shown) is provided to heat the first upper die 104 to a predetermined temperature. This first upper die heating mechanism includes a heater (e.g., an electric wire heater), a temperature sensor, a power source, etc., and heating is controlled by the control unit 90. As an example, the heater is built into the first upper die chase 140 and is configured to apply heat to the entire first upper die 104. At this time, the first upper die 104 is heated to a predetermined temperature (e.g., 50°C to 80°C) at which the thermal curing (main curing) of the base resin Rm held (contained) in the first lower die 106 does not proceed easily.

尚、上記の第1金型102は、一例として可動式クランパ(第1クランパ128)を有する構造であるが、他の例として図4に示すように可動式クランパを有しない構造であってもよい。 The first mold 102 described above has a structure that includes a movable clamper (first clamper 128) as an example, but as another example, it may have a structure that does not include a movable clamper as shown in Figure 4.

(供給ユニット)
続いて、圧縮成形装置1が備える供給ユニット10Aについて説明する。
(Supply unit)
Next, the supply unit 10A included in the compression molding apparatus 1 will be described.

供給ユニット10Aは、複数のワークWが収納される供給マガジン12を備えている。ここで、供給マガジン12には、公知のスタックマガジン、スリットマガジン等が用いられる。 The supply unit 10A is equipped with a supply magazine 12 in which multiple workpieces W are stored. Here, the supply magazine 12 may be a known stack magazine, slit magazine, or the like.

尚、供給ユニット10Aは、供給マガジン12から取出されたワークWが載置されるワークステージ等(不図示)を備える構成としてもよい。また、供給ユニット10Aは、封止樹脂Rが載置される樹脂ステージ等(不図示)を備える構成としてもよい。 The supply unit 10A may be configured to include a work stage (not shown) on which the work W removed from the supply magazine 12 is placed. The supply unit 10A may also be configured to include a resin stage (not shown) on which the sealing resin R is placed.

ワークW及び封止樹脂Rは、搬送装置(一例として、第1ローダ22)に保持されてプレスユニット10Bへ搬送され、第2金型202の所定位置にセットされる(工程の詳細については後述する)。尚、第1ローダ22におけるワークW及び封止樹脂Rの保持機構には、公知の保持機構(例えば、保持爪を有して挟持する構成、吸引装置に連通する吸引孔を有して吸着する構成、等)が用いられる(不図示)。 The workpiece W and sealing resin R are held by a transport device (for example, the first loader 22) and transported to the press unit 10B, where they are set in a predetermined position in the second mold 202 (details of the process will be described later). Note that the holding mechanism for the workpiece W and sealing resin R in the first loader 22 uses a known holding mechanism (for example, a clamping configuration with holding claws, a suction hole connected to a suction device for suction, etc.) (not shown).

上記搬送装置の変形例として、X及びY方向に移動する第1ローダ22に代えて、X方向に移動してユニット間の搬送を行う搬送装置(ローダ)と、Y方向に移動して第2金型202への搬入及びセットを行う搬送装置(ローダ)とを別個に備える構成としてもよい(不図示)。 As a variation of the above-mentioned conveying device, instead of the first loader 22 that moves in the X and Y directions, a separate conveying device (loader) that moves in the X direction to convey between units and a separate conveying device (loader) that moves in the Y direction to load and set into the second mold 202 may be provided (not shown).

また、供給ユニット10Aは、ワークWや封止樹脂Rの予備加熱を行う予熱ヒータ(不図示)を備えている。一例として、予熱ヒータには、公知の加熱機構(例えば、電熱線ヒータ、赤外線ヒータ、等)が用いられる。これにより、ワークWや封止樹脂Rが第2金型202内に搬入される前に予備加熱をしておくことができる。尚、予熱ヒータを備えない構成としてもよい。また、予熱ヒータに代えて、もしくは予熱ヒータと共に、第1ローダ22に予備加熱用のヒータ(不図示)を備える構成としてもよい。 The supply unit 10A also includes a preheater (not shown) that preheats the workpiece W and the sealing resin R. As an example, a known heating mechanism (e.g., an electric wire heater, an infrared heater, etc.) is used for the preheater. This allows the workpiece W and the sealing resin R to be preheated before being carried into the second mold 202. Note that a configuration without a preheater is also possible. Also, instead of or in addition to the preheater, the first loader 22 may be configured to include a heater (not shown) for preheating.

(プレスユニット)
続いて、圧縮成形装置1が備えるプレスユニット10Bについて説明する。
(Press unit)
Next, the press unit 10B included in the compression molding apparatus 1 will be described.

プレスユニット10Bは、ワークWを樹脂封止して成形品Wpへの加工を行う樹脂封止部70を備えている。本実施形態においては、当該樹脂封止部70を備えるプレスユニット10Bを二台(三台以上もしくは一台としてもよい)備えており、一台のプレスユニット10B当たり一台(二台以上としてもよい)の樹脂封止部70を備えている(図1参照)。但し、この構成に限定されるものではない。 The press unit 10B is equipped with a resin sealing section 70 that seals the workpiece W with resin and processes it into a molded product Wp. In this embodiment, there are two press units 10B (three or more, or just one) equipped with the resin sealing section 70, and one press unit 10B is equipped with one resin sealing section 70 (two or more) (see FIG. 1). However, this configuration is not limited to this.

樹脂封止部70は、型開閉される一対の金型(例えば、合金工具鋼からなる複数の金型ブロック、金型プレート、金型ピラー等やその他の部材が組み付けられたもの)を有する封止金型(第2金型)202を備えている。また、第2金型202を開閉駆動するプレス装置(第2プレス装置)250を備えている。一例として、第2プレス装置250を二台備える構成としているが、一台備える構成としてもよく、複数台(三台以上)備える構成としてもよい(不図示)。第2プレス装置250の側面図(概略図)を図5に示し、第2金型202の正面断面図(概略図)を図6に示す。 The resin sealing section 70 includes a sealing die (second die) 202 having a pair of dies (for example, a pair of dies made of alloy tool steel, die plates, die pillars, and other components assembled thereto) that are opened and closed. It also includes a press device (second press device) 250 that drives the second die 202 to open and close. As an example, the second press device 250 is configured to include two units, but it may also be configured to include one unit or multiple units (three or more units) (not shown). A side view (schematic diagram) of the second press device 250 is shown in FIG. 5, and a front cross-sectional view (schematic diagram) of the second die 202 is shown in FIG. 6.

ここで、第2プレス装置250は、図5に示すように、一対のプラテン254、256と、一対のプラテン254、256が架設される複数のタイバー252と、プラテン256を可動(昇降)させる駆動装置等を備えて構成されている。具体的に、当該駆動装置は、駆動源(例えば、電動モータ)260及び駆動伝達機構(例えば、ボールねじやトグルリンク機構)262等を備えて構成されている(但し、これに限定されるものではない)。本実施形態では、鉛直方向において上方側のプラテン254を固定プラテン(タイバー252に固定されるプラテン)とし、下方側のプラテン256を可動プラテン(タイバー252に摺動可能に保持されて昇降するプラテン)として設定している。但し、これに限定されるものではなく、上下逆に、すなわち上方側を可動プラテン、下方側を固定プラテンに設定してもよく、あるいは、上方側、下方側共に可動プラテンとして設定してもよい(いずれも不図示)。 Here, as shown in FIG. 5, the second press device 250 is configured to include a pair of platens 254, 256, a plurality of tie bars 252 on which the pair of platens 254, 256 are supported, and a drive device for moving (raising and lowering) the platen 256. Specifically, the drive device is configured to include a drive source (e.g., an electric motor) 260 and a drive transmission mechanism (e.g., a ball screw or a toggle link mechanism) 262 (however, this is not limited to this). In this embodiment, the upper platen 254 in the vertical direction is set as a fixed platen (a platen fixed to the tie bars 252), and the lower platen 256 is set as a movable platen (a platen slidably held by the tie bars 252 and raised and lowered). However, this is not limited to this, and the platens may be set upside down, i.e., the upper side may be set as a movable platen and the lower side as a fixed platen, or both the upper and lower sides may be set as movable platens (neither is shown).

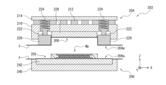
一方、第2金型202は、図6に示すように、第2プレス装置250における上記一対のプラテン254、256間に配設される一対の金型として、鉛直方向における上方側の一方の金型(第2上型204)と、下方側の他方の金型(第2下型206)とを備えている。すなわち、第2上型204が上方側のプラテン(本実施形態では、固定プラテン254)に組み付けられ、第2下型206が下方側のプラテン(本実施形態では、可動プラテン256)に組み付けられている。この第2上型204と第2下型206とが相互に接近・離反することで型閉じ・型開きが行われる(鉛直方向(上下方向)が型開閉方向となる)。 On the other hand, as shown in FIG. 6, the second mold 202 is a pair of molds arranged between the pair of platens 254, 256 in the second press device 250, and includes one mold (second upper mold 204) on the upper side in the vertical direction and the other mold (second lower mold 206) on the lower side. That is, the second upper mold 204 is assembled to the upper platen (in this embodiment, the fixed platen 254), and the second lower mold 206 is assembled to the lower platen (in this embodiment, the movable platen 256). The second upper mold 204 and the second lower mold 206 approach and move away from each other to close and open the mold (the vertical direction (up and down direction) is the mold opening and closing direction).

次に、第2金型202の第2上型204について詳しく説明する。図6に示すように、第2上型204は、上型チェイス(第2上型チェイス)210と、これに保持されるキャビティ駒(第2キャビティ駒)226、クランパ(第2クランパ)228等を備えている。第2上型チェイス210は、サポートピラー(第2サポートピラー)212を介してサポートプレート(第2サポートプレート)214の下面に対して固定されている。第2上型204の下面(第2下型206側の面)にキャビティ(第2キャビティ)208が設けられている。 Next, the second upper die 204 of the second mold 202 will be described in detail. As shown in FIG. 6, the second upper die 204 includes an upper die chase (second upper die chase) 210, a cavity piece (second cavity piece) 226 held therein, a clamper (second clamper) 228, and the like. The second upper die chase 210 is fixed to the lower surface of a support plate (second support plate) 214 via a support pillar (second support pillar) 212. A cavity (second cavity) 208 is provided on the lower surface (surface on the second lower die 206 side) of the second upper die 204.

第2クランパ228は、第2キャビティ駒226を囲うように環状に構成されると共に、押動ピン(第2押動ピン)222及びクランパバネ(第2クランパバネ)224(例えば、コイルバネに例示される付勢部材)を介して、第2サポートプレート214の下面に対して離間(フローティング)して上下動可能に組み付けられる(但し、この組み付け構造に限定されるものではない)。この第2キャビティ駒226が第2キャビティ208の奥部(底部)を構成し、第2クランパ228が第2キャビティ208の側部を構成する。尚、一つの第2上型204に設けられる第2キャビティ208の形状や個数は、ワークW等の形状や個数に応じて適宜設定される(一つもしくは複数個)。 The second clamper 228 is configured in an annular shape to surround the second cavity piece 226, and is assembled to be movable up and down while being spaced apart (floating) from the underside of the second support plate 214 via a push pin (second push pin) 222 and a clamper spring (second clamper spring) 224 (e.g., a biasing member such as a coil spring) (however, this assembly structure is not limited). The second cavity piece 226 forms the inner part (bottom part) of the second cavity 208, and the second clamper 228 forms the side part of the second cavity 208. The shape and number of the second cavities 208 provided in one second upper mold 204 are appropriately set according to the shape and number of the workpieces W, etc. (one or multiple).

ここで、第2プレス装置250には、第2上型204における第2キャビティ208の内面を含む金型面204a(所定領域)を覆うためのフィルムFを供給するフィルム供給部(第2上型フィルム供給部)213が設けられている。尚、一例として、フィルムFは、ロール状であるが短冊状であってもよい。 Here, the second press device 250 is provided with a film supply section (second upper die film supply section) 213 that supplies film F to cover the die surface 204a (predetermined area) including the inner surface of the second cavity 208 in the second upper die 204. As an example, the film F is in a roll shape, but it may also be in a strip shape.

また、第2上型204は、第2クランパ228下面や第2クランパ228と第2キャビティ駒226との境界部等に、吸引装置に連通する吸引路(孔や溝等)が設けられている(不図示)。これにより、第2上型フィルム供給部213から供給されたフィルムFを、第2キャビティ208の内面を含む金型面204aに吸着させて保持することができる。 The second upper mold 204 is also provided with suction paths (holes, grooves, etc.) (not shown) that communicate with a suction device on the underside of the second clamper 228, the boundary between the second clamper 228 and the second cavity piece 226, etc. This allows the film F supplied from the second upper mold film supply section 213 to be adsorbed and held on the mold surface 204a including the inner surface of the second cavity 208.

また、本実施形態においては、第2上型204を所定温度に加熱する第2上型加熱機構(不図示)が設けられている。この第2上型加熱機構は、ヒータ(例えば、電熱線ヒータ)、温度センサ、電源等を備えており、制御部90によって加熱の制御が行われる。一例として、ヒータは、第2上型チェイス210に内蔵され、第2上型204が所定温度(例えば、100℃~300℃)となるように加熱する。 In addition, in this embodiment, a second upper die heating mechanism (not shown) is provided that heats the second upper die 204 to a predetermined temperature. This second upper die heating mechanism includes a heater (e.g., an electric wire heater), a temperature sensor, a power source, etc., and heating is controlled by the control unit 90. As an example, the heater is built into the second upper die chase 210, and heats the second upper die 204 to a predetermined temperature (e.g., 100°C to 300°C).

次に、第2金型202の第2下型206について詳しく説明する。図6に示すように、第2下型206は、下型チェイス(第2下型チェイス)240と、これに保持される下プレート(第2プレート)242等を備えている。 Next, the second lower die 206 of the second mold 202 will be described in detail. As shown in FIG. 6, the second lower die 206 includes a lower die chase (second lower die chase) 240 and a lower plate (second plate) 242 held therein.

また、第2下型206には、封止樹脂R及びワークWを第2プレート242の上面における所定位置に保持(載置を含む)するワーク保持部205が設けられている。本実施形態においては、それぞれのキャリアCが外側となるように(対向しないように)配置した二つの封止樹脂Rの間にワークWを挟んだ状態でワーク保持部205に保持させる。尚、保持機構には公知の吸着装置やチャック爪等を用いることができる。 The second lower mold 206 is also provided with a workpiece holding section 205 that holds (including placing) the sealing resin R and the workpiece W at a predetermined position on the upper surface of the second plate 242. In this embodiment, the workpiece W is held by the workpiece holding section 205 in a state where it is sandwiched between two sealing resins R arranged so that each carrier C is on the outside (not facing each other). Note that the holding mechanism can be a publicly known suction device, chuck jaws, etc.

ここで、第2プレス装置250には、第2下型206の金型面206a(所定領域)を覆うためのフィルムFを供給するフィルム供給部(第2下型フィルム供給部)211が設けられている。尚、一例として、フィルムFは、ロール状であるが短冊状であってもよい。 Here, the second press device 250 is provided with a film supply section (second lower die film supply section) 211 that supplies film F to cover the die surface 206a (predetermined area) of the second lower die 206. As an example, the film F is in a roll shape, but it may also be in a strip shape.

また、第2下型206は、下プレート(第2プレート)242等に、吸引装置に連通する吸引路(孔や溝等)が設けられている(不図示)。これにより、第2下型フィルム供給部211から供給されたフィルムFを、金型面206aに吸着させて保持することができる。 The second lower mold 206 also has a suction passage (hole, groove, etc.) (not shown) in the lower plate (second plate) 242 etc. that communicates with a suction device. This allows the film F supplied from the second lower mold film supply unit 211 to be adsorbed and held on the mold surface 206a.

また、本実施形態においては、第2下型206を所定温度に加熱する第2下型加熱機構(不図示)が設けられている。この第2下型加熱機構は、ヒータ(例えば、電熱線ヒータ)、温度センサ、電源等を備えており、制御部90によって加熱の制御が行われる。一例として、ヒータは、第2下型チェイス240に内蔵され、第2下型206が所定温度(例えば、100℃~300℃)となるように加熱する。 In addition, in this embodiment, a second lower die heating mechanism (not shown) is provided that heats the second lower die 206 to a predetermined temperature. This second lower die heating mechanism includes a heater (e.g., an electric wire heater), a temperature sensor, a power source, etc., and heating is controlled by the control unit 90. As an example, the heater is built into the second lower die chase 240, and heats the second lower die 206 to a predetermined temperature (e.g., 100°C to 300°C).

(収納ユニット)
続いて、圧縮成形装置1が備える収納ユニット10Cについて説明する。
(Storage unit)
Next, the storage unit 10C included in the compression molding apparatus 1 will be described.

成形品Wpは、搬送装置(一例として、第2ローダ24)に保持されて第2金型202から搬出され、収納ユニット10Cへ搬送される。尚、第2ローダ24における成形品Wpの保持機構には、公知の保持機構(例えば、保持爪を有して挟持する構成、吸引装置に連通する吸引孔を有して吸着する構成、等)が用いられる(不図示)。 The molded product Wp is held by a transport device (for example, the second loader 24) and removed from the second mold 202, and transported to the storage unit 10C. The holding mechanism for the molded product Wp in the second loader 24 uses a known holding mechanism (for example, a clamping mechanism with holding claws, a suction hole that communicates with a suction device and a suction mechanism, etc.) (not shown).

上記搬送装置の変形例として、X及びY方向に移動する第2ローダ24に代えて、X方向に移動してユニット間の搬送を行う搬送装置(ローダ)と、Y方向に移動して第2金型202からの搬出を行う搬送装置(ローダ)とを別個に備える構成としてもよい(不図示)。 As a variation of the above-mentioned conveying device, instead of the second loader 24 that moves in the X and Y directions, a separate conveying device (loader) that moves in the X direction to convey between units and a separate conveying device (loader) that moves in the Y direction to unload from the second mold 202 may be provided (not shown).

尚、収納ユニット10Cは、プレスユニット10Bから搬送された成形品Wpが載置される成形品ステージ等(不図示)を備える構成としてもよい。 The storage unit 10C may also be configured to include a molded product stage (not shown) on which the molded product Wp transported from the press unit 10B is placed.

次に、収納ユニット10Cは、一例として、成形品WpからキャリアCを剥離するキャリア剥離装置16を備えている。尚、必要に応じて、成形品Wpの上下面が逆になるように反転させる反転機構を備える構成としてもよい(不図示)。尚、キャリア剥離装置16には、キャリアCを吸着して剥離する機構等を用いることができる。 Next, as an example, the storage unit 10C is equipped with a carrier peeling device 16 that peels off the carrier C from the molded product Wp. If necessary, the storage unit 10C may be configured to include an inversion mechanism that inverts the molded product Wp so that the top and bottom surfaces are reversed (not shown). The carrier peeling device 16 may be a mechanism that adsorbs and peels off the carrier C.

また、収納ユニット10Cは、一例として、成形品Wpの所定位置を切断する切断装置18を備えている。具体的に、切断装置18は、成形品WpにおけるキャリアCが剥離された領域内を厚さ方向に切断して、外縁部を切除する動作を行う。尚、切断装置18には、公知の機械式カッタや熱溶融式カッタを用いることができる。 The storage unit 10C also includes, as an example, a cutting device 18 that cuts a predetermined position of the molded product Wp. Specifically, the cutting device 18 cuts the area of the molded product Wp from which the carrier C has been peeled off in the thickness direction, and cuts off the outer edge. The cutting device 18 can be a known mechanical cutter or a thermal melting cutter.

また、収納ユニット10Cは、キャリアCが剥離され、所定位置が切断された後の成形品Wpを収納する収納マガジン14を備えている。当該収納マガジン14には、公知のスタックマガジン等を用いることができる。尚、剥離もしくは切断がなされていない状態の成形品Wpを収納する構成としてもよい。 The storage unit 10C also includes a storage magazine 14 that stores the molded product Wp after the carrier C has been peeled off and the specified positions have been cut. A known stack magazine or the like can be used as the storage magazine 14. It is also possible to use a configuration that stores molded products Wp in a state where they have not been peeled off or cut.

成形品Wpから剥離されたキャリアCは、搬送装置(一例として、第2ローダ24)に保持されて収納ユニット10Cから樹脂形成ユニット10E(もしくは、ベース樹脂供給ユニット10D)へ搬送される。尚、第2ローダ24以外の搬送装置(不図示)によって搬送される構成としてもよい。この構成によれば、剥離されたキャリアCを、封止樹脂Rの形成を行う際に再度使用することができる。 The carrier C peeled off from the molded product Wp is held by a transport device (for example, the second loader 24) and transported from the storage unit 10C to the resin forming unit 10E (or the base resin supply unit 10D). Note that the configuration may also be such that the carrier C is transported by a transport device (not shown) other than the second loader 24. With this configuration, the peeled off carrier C can be reused when forming the sealing resin R.

(圧縮成形方法)
続いて、上記圧縮成形装置1を用いて実施される本実施形態に係る圧縮成形方法の工程について説明する。ここで、図7~図13は、各工程の説明図であって、図3、図6と同方向の正面断面図として図示する。
(Compression molding method)
Next, there will be described steps of the compression molding method according to the present embodiment, which is carried out using the compression molding apparatus 1. Here, Fig. 7 to Fig. 13 are explanatory views of each step, and are illustrated as front cross-sectional views taken in the same direction as Figs. 3 and 6.

先ず、第1準備工程を実施する。第1準備工程は以下の工程を有している。第1下型加熱機構により第1下型106を所定温度(ベース樹脂Rm、封止樹脂Rが本硬化しない温度であり、例えば、50℃~80℃)に調整して加熱する加熱工程(第1下型加熱工程)を実施する。また、第1上型加熱機構により第1上型104を所定温度(ベース樹脂Rm、封止樹脂Rが本硬化しない温度であり、例えば、50℃~80℃)に調整して加熱する加熱工程(第1上型加熱工程)を実施する。また、第1下型フィルム供給部111を作動させて新しいフィルムFを供給して、第1下型106における第1キャビティ108の内面を含む金型面106aの所定領域を覆うように吸着させる下型フィルム供給工程(第1下型フィルム供給工程)を実施する。また、第1上型フィルム供給部113を作動させて新しいフィルムFを供給して、第1上型104の金型面104aの所定領域を覆うように吸着させる上型フィルム供給工程(第1上型フィルム供給工程)を実施する。 First, the first preparation step is carried out. The first preparation step includes the following steps. A heating step (first lower mold heating step) is carried out in which the first lower mold 106 is adjusted to a predetermined temperature (a temperature at which the base resin Rm and the sealing resin R do not fully cure, for example, 50°C to 80°C) and heated by the first lower mold heating mechanism. In addition, a heating step (first upper mold heating step) is carried out in which the first upper mold 104 is adjusted to a predetermined temperature (a temperature at which the base resin Rm and the sealing resin R do not fully cure, for example, 50°C to 80°C) and heated by the first upper mold heating mechanism. In addition, a lower mold film supply step (first lower mold film supply step) is carried out in which the first lower mold film supply unit 111 is operated to supply a new film F and adsorb it to cover a predetermined area of the mold surface 106a including the inner surface of the first cavity 108 in the first lower mold 106. In addition, the first upper die film supply unit 113 is operated to supply new film F, and an upper die film supply process (first upper die film supply process) is carried out in which the film F is adsorbed to cover a predetermined area of the die surface 104a of the first upper die 104.

上記の第1準備工程と前後して、もしくは並行して、封止樹脂RとしてキャリアCが固着された状態のベース樹脂Rmを準備する樹脂準備工程を実施する。 Before, after, or in parallel with the first preparation step described above, a resin preparation step is carried out to prepare a base resin Rm with a carrier C fixed thereto as the sealing resin R.

樹脂準備工程の一例として、キャリア供給部30において、キャリアCを供給する。また、ベース樹脂供給部40において、図示しないディスペンサ等によって所定量のベース樹脂Rmを供給する。次いで、樹脂形成部50において、キャリアC及びベース樹脂Rmを打錠することにより、キャリアCが固着された所定形状に形成された固形状態の封止樹脂Rを形成する打錠工程を実施する。尚、「固形」とは、本硬化しない温度まで加熱しながら打錠するため、いわゆるBステージまで溶融した状態となったものや、溶融する直前の状態のものが含まれる。 As an example of a resin preparation process, carrier C is supplied in carrier supply section 30. A predetermined amount of base resin Rm is supplied in base resin supply section 40 by a dispenser (not shown) or the like. Next, a tableting process is carried out in resin formation section 50, in which carrier C and base resin Rm are tableted to form a solid sealing resin R formed in a predetermined shape with carrier C fixed thereto. Note that "solid" includes a state in which the resin has melted to the so-called B stage or is in a state immediately before melting, since the resin is tableted while being heated to a temperature at which it will not fully harden.

上記打錠工程は、具体的に、キャリア供給部30から供給されたキャリアCを、搬送装置(例えば、第1ローダ22等)によって搬送し、第1下型106の第1キャビティ108内の所定位置(例えば、中央位置)に収容する。次いで、ベース樹脂供給部40から供給された所定量のベース樹脂Rmを、搬送装置(例えば、第1ローダ22等)によって搬送して、もしくは、ディスペンサ等から直接散布して、第1下型106の第1キャビティ108内に収容する。一例として、第1キャビティ108内において、先に収容されたキャリアCの上にベース樹脂Rmが載置された状態となる(図7参照)。次いで、第1プレス装置150を作動させて、上記の所定温度に昇温された第1金型102の型閉じを行う(図8参照)。このとき、第1キャビティ108内で第1キャビティ駒126が相対的に上昇して、第1キャビティ駒126と第1プレート142とでキャリアC及びベース樹脂Rmを打錠(挟み込んで加圧)する。これにより、キャリアCが固着された所定形状を有し、熱硬化(本硬化)していない固形状態の封止樹脂Rが形成される。 Specifically, the above-mentioned tableting process involves transporting the carrier C supplied from the carrier supply unit 30 by a transport device (e.g., the first loader 22, etc.) and storing it in a predetermined position (e.g., the center position) in the first cavity 108 of the first lower die 106. Next, a predetermined amount of base resin Rm supplied from the base resin supply unit 40 is transported by a transport device (e.g., the first loader 22, etc.) or directly sprayed from a dispenser or the like and stored in the first cavity 108 of the first lower die 106. As an example, in the first cavity 108, the base resin Rm is placed on the carrier C previously stored (see FIG. 7). Next, the first press device 150 is operated to close the first die 102 heated to the above-mentioned predetermined temperature (see FIG. 8). At this time, the first cavity piece 126 rises relatively within the first cavity 108, and the carrier C and base resin Rm are compressed (sandwiched and pressurized) between the first cavity piece 126 and the first plate 142. This forms a solid sealing resin R that has a predetermined shape with the carrier C fixed thereto and is not thermally cured (mainly cured).

一例として、上記「所定形状」は、図9A(キャリアCの露出面を上面とした状態の平面図)及び図9B(図9AにおけるA-A線断面図)に示すように、平面視で、中央部にキャリアCが配置され、キャリアCの外周Caが被覆されるように周縁部にベース樹脂Rm(打錠後の固形状態)が配置された形状である。尚、後述するワークWを上下で挟むため、ワークWの位置決め段差を樹脂面に設けてもよい。これによれば、キャリアCとベース樹脂Rmとの固着性を高めることができるため、意図しない相互の剥離が発生することを防止できる。 As an example, the above-mentioned "predetermined shape" is a shape in which, in plan view, the carrier C is placed in the center and the base resin Rm (in a solid state after tableting) is placed on the periphery so as to cover the outer periphery Ca of the carrier C, as shown in FIG. 9A (plan view with the exposed surface of the carrier C facing up) and FIG. 9B (cross-sectional view along line A-A in FIG. 9A). Note that in order to sandwich the workpiece W described below from above and below, a positioning step for the workpiece W may be provided on the resin surface. This can increase the adhesion between the carrier C and the base resin Rm, thereby preventing unintended peeling from each other.

上記の打錠工程は、形成される封止樹脂Rが、後の樹脂封止工程において熱硬化(本硬化)することができるように、ベース樹脂Rmの熱硬化(本硬化)が進み難い温度で実施すること(熱硬化(本硬化)が進み難い温度に第1下型106及び第1上型104を加熱して実施すること)が重要である。前述の通り、「熱硬化が進み難い温度」は、ベース樹脂Rmの材質にもよるが、具体例として、50℃~80℃程度である(本実施形態においては、70℃程度である)。 It is important that the above-mentioned tableting process is carried out at a temperature at which the thermal curing (main curing) of the base resin Rm does not proceed easily (the first lower die 106 and the first upper die 104 are heated to a temperature at which the thermal curing (main curing) does not proceed easily) so that the formed sealing resin R can be thermally cured (mainly cured) in the subsequent resin sealing process. As described above, the "temperature at which the thermal curing does not proceed easily" depends on the material of the base resin Rm, but as a specific example, it is about 50°C to 80°C (about 70°C in this embodiment).

また、上記ベース樹脂Rmとして、パウダー樹脂が用いられることが好適である。これによれば、顆粒樹脂や破砕状樹脂が用いられる場合と比較して、樹脂量を極めて正確に調整して供給することができる。但し、パウダー樹脂に限定されるものではない。 It is also preferable to use a powder resin as the base resin Rm. This allows the amount of resin to be adjusted and supplied with extremely high precision compared to when granular or crushed resin is used. However, it is not limited to powder resin.

また、樹脂準備工程の他の例として、上記と同じ構成の封止樹脂Rを予め装置外で形成しておき、ストッカ等に収容して、もしくは、搬送装置によって、本装置(圧縮成形装置1)に供給する構成としてもよい(不図示)。 As another example of the resin preparation process, sealing resin R having the same configuration as described above may be formed in advance outside the device and then stored in a stocker or the like, or supplied to the device (compression molding device 1) by a conveying device (not shown).

打錠工程の後に、第1金型102の型開きを行い、封止樹脂R(下面側にキャリアCが固着された状態)と使用済みのフィルムFとを分離して当該封止樹脂Rを取出せるようにする型開き工程(第1型開き工程)を実施する(図10参照)。本実施形態においては、前述の下型フィルム供給工程及び上型フィルム供給工程を備えることによって、第1下型106の金型面106a及び第1上型104の金型面104aの両方にフィルムFが配置されるため、打錠により形成された封止樹脂Rの離型が容易となり、金型への樹脂付着による欠損を防止することができる。 After the tableting process, the first mold 102 is opened, and the used film F is separated from the sealing resin R (with the carrier C fixed to the lower surface side) to enable the sealing resin R to be removed (first mold opening process) (see FIG. 10). In this embodiment, by providing the lower mold film supply process and upper mold film supply process described above, the film F is placed on both the mold surface 106a of the first lower mold 106 and the mold surface 104a of the first upper mold 104, which makes it easier to release the sealing resin R formed by tableting and prevents damage caused by resin adhesion to the mold.

また、第1型開き工程の後に、もしくは、並行して、第1下型フィルム供給部111、第1上型フィルム供給部113を作動させて、使用済みのフィルムFを第1金型102内から送り出し、新しいフィルムFを第1金型102内へ送り込んでセットするフィルム供給工程(第1下型フィルム供給工程、第1上型フィルム供給工程)を実施する。 Furthermore, after or in parallel with the first mold opening process, the first lower mold film supply unit 111 and the first upper mold film supply unit 113 are operated to perform a film supply process (first lower mold film supply process, first upper mold film supply process) in which the used film F is sent out from within the first mold 102 and a new film F is sent into and set within the first mold 102.

また、上記の第1準備工程と前後して、もしくは並行して、第2準備工程を実施する。第2準備工程は以下の工程を有している。第2上型加熱機構により第2上型204を所定温度(例えば、100℃~300℃)に調整して加熱する加熱工程(第2上型加熱工程)を実施する。また、第2下型加熱機構により第2下型206を所定温度(例えば、100℃~300℃)に調整して加熱する加熱工程(第2下型加熱工程)を実施する。また、第2下型フィルム供給部211を作動させて新しいフィルムFを供給して、第2下型206の金型面106aの所定領域を覆うように吸着させる下型フィルム供給工程(第2下型フィルム供給工程)を実施する。また、第2上型フィルム供給部213を作動させて新しいフィルムFを供給して、第2上型204における第2キャビティ208の内面を含む金型面204aの所定領域を覆うように吸着させる上型フィルム供給工程(第2上型フィルム供給工程)を実施する。 In addition, a second preparation step is carried out before, after, or in parallel with the above-mentioned first preparation step. The second preparation step has the following steps. A heating step (second upper mold heating step) is carried out in which the second upper mold 204 is adjusted to a predetermined temperature (e.g., 100°C to 300°C) and heated by the second upper mold heating mechanism. In addition, a heating step (second lower mold heating step) is carried out in which the second lower mold 206 is adjusted to a predetermined temperature (e.g., 100°C to 300°C) and heated by the second lower mold heating mechanism. In addition, a lower mold film supply step (second lower mold film supply step) is carried out in which the second lower mold film supply unit 211 is operated to supply new film F and adsorb it so as to cover a predetermined area of the mold surface 106a of the second lower mold 206. In addition, the second upper die film supply unit 213 is operated to supply new film F, and an upper die film supply process (second upper die film supply process) is performed in which the film F is adsorbed to cover a predetermined area of the die surface 204a, including the inner surface of the second cavity 208 in the second upper die 204.

第2準備工程の後に、封止樹脂R及びワークWを封止金型(第2金型202)内にセットするセット工程を実施する。図11に示すように、それぞれのキャリアCが外側となるように配置した二つの封止樹脂Rの間にワークWを挟んだ状態でワーク保持部205上に保持(載置を含む)する。 After the second preparation step, a setting step is performed in which the sealing resin R and the workpiece W are set in the sealing mold (second mold 202). As shown in FIG. 11, the workpiece W is sandwiched between two sealing resins R arranged so that each carrier C is on the outside, and is held (including placed) on the workpiece holding portion 205.

上記セット工程の一例として、樹脂準備工程で準備した第1の封止樹脂Rを、搬送装置(例えば、第1ローダ22等)によって搬送し、キャリアCが露出する面を下側としてワーク保持部205上に載置する。次いで、供給マガジン12から供給されたワークWを、搬送装置(例えば、第1ローダ22等)によって搬送し、第1の封止樹脂R上に載置する。次いで、樹脂準備工程で準備した第2の封止樹脂Rを、搬送装置(例えば、第1ローダ22等)によって搬送し、キャリアCが露出する面を上側としてワークW上に載置する。 As an example of the above-mentioned setting process, the first sealing resin R prepared in the resin preparation process is transported by a transport device (e.g., the first loader 22, etc.) and placed on the workpiece holding section 205 with the surface on which the carrier C is exposed facing down. Next, the workpiece W supplied from the supply magazine 12 is transported by a transport device (e.g., the first loader 22, etc.) and placed on the first sealing resin R. Next, the second sealing resin R prepared in the resin preparation process is transported by a transport device (e.g., the first loader 22, etc.) and placed on the workpiece W with the surface on which the carrier C is exposed facing up.

または、セット工程の他の例として、樹脂準備工程で準備した第1の封止樹脂R及び第2の封止樹脂Rと、供給マガジン12から供給されたワークWとを、それぞれのキャリアCが外側となるように配置した二つ(第1及び第2)の封止樹脂Rの間にワークWを挟んだ状態となるように積層する(すなわち、第1の封止樹脂Rを、キャリアCが露出する面を下側として準備し、ワークWを、第1の封止樹脂R上に載置し、第2の封止樹脂Rを、キャリアCが露出する面を上側としてワークW上に載置する)。次いで、当該積層状態の第1の封止樹脂R、ワークW、第2の封止樹脂Rを、搬送装置(例えば、第1ローダ22等)によって搬送し、ワーク保持部205上に載置する。この場合、第2金型202へのワークWと二つの封止樹脂Rとの搬送をそれぞれ別に行うのではなく、一回で行う利点がある。また、加熱された封止金型(第2金型202)に第1の封止樹脂Rと第2の封止樹脂Rとを同時に供給することができるため、熱履歴が変わらない利点がある。 Alternatively, as another example of the setting process, the first sealing resin R and the second sealing resin R prepared in the resin preparation process and the workpiece W supplied from the supply magazine 12 are stacked so that the workpiece W is sandwiched between the two (first and second) sealing resins R arranged so that the carriers C are on the outside (i.e., the first sealing resin R is prepared with the surface on which the carrier C is exposed on the lower side, the workpiece W is placed on the first sealing resin R, and the second sealing resin R is placed on the workpiece W with the surface on which the carrier C is exposed on the upper side). Next, the first sealing resin R, the workpiece W, and the second sealing resin R in the stacked state are transported by a transport device (e.g., the first loader 22, etc.) and placed on the workpiece holding portion 205. In this case, there is an advantage in that the workpiece W and the two sealing resins R are transported to the second mold 202 at one time, rather than separately. In addition, the first sealing resin R and the second sealing resin R can be supplied simultaneously to the heated sealing mold (second mold 202), which has the advantage that the thermal history does not change.

上記の各工程を全て実施した後に、ワークWを封止樹脂R(本実施形態では、二つの封止樹脂Rで挟んだ状態)により封止して成形品Wpに加工する樹脂封止工程を実施する。具体的に、第2金型202の型閉じを行い、第2キャビティ208内で第2キャビティ駒226を相対的に下降させて、ワークWに対して封止樹脂Rを加熱加圧する型閉じ工程(第2型閉じ工程)を実施する。これにより、封止樹脂Rが熱硬化して樹脂封止(圧縮成形)が完了する(図12参照)。これにより、図14Aに示す形状を有する成形品Wpが形成される。 After all of the above steps have been performed, a resin sealing step is performed in which the workpiece W is sealed with sealing resin R (sandwiched between two sealing resins R in this embodiment) and processed into a molded product Wp. Specifically, the second mold 202 is closed, and the second cavity piece 226 is lowered relatively within the second cavity 208 to perform a mold closing step (second mold closing step) in which the sealing resin R is heated and pressurized against the workpiece W. This causes the sealing resin R to thermally harden, completing the resin sealing (compression molding) (see FIG. 12). This forms a molded product Wp having the shape shown in FIG. 14A.

第2型閉じ工程の後に、第2金型202の型開きを行い、成形品Wpと使用済みのフィルムFとを分離して当該成形品Wpを取出せるようにする型開き工程(第2型開き工程)を実施する(図13参照)。次いで、搬送装置(例えば、第2ローダ24等)によって、成形品Wpを第2金型202内から搬出し、収納ユニット10Cへ搬送する成形品搬出工程を実施する。 After the second mold closing step, the second mold 202 is opened, and a mold opening step (second mold opening step) is performed in which the molded product Wp is separated from the used film F so that the molded product Wp can be removed (see FIG. 13). Next, a molded product removal step is performed in which the molded product Wp is removed from the second mold 202 by a conveying device (e.g., the second loader 24, etc.) and conveyed to the storage unit 10C.

成形品搬出工程の後に、もしくは、並行して、第2下型フィルム供給部211、第2上型フィルム供給部213を作動させて、使用済みのフィルムFを第2金型202内から送り出し、新しいフィルムFを第2金型202内へ送り込んでセットするフィルム供給工程(第2下型フィルム供給工程、第2上型フィルム供給工程)を実施する。 After or in parallel with the molded product removal process, the second lower die film supply unit 211 and the second upper die film supply unit 213 are operated to carry out a film supply process (second lower die film supply process, second upper die film supply process) in which the used film F is sent out from within the second die 202 and a new film F is sent into and set within the second die 202.

また、成形品搬出工程の後に、キャリア剥離装置16を用いて成形品WpからキャリアCを剥離するキャリア剥離工程を実施する。これにより、図14Bに示す形状を有する成形品Wpが形成される。尚、本工程は、成形品Wpの反転を途中で行って、上面及び下面のキャリアCを一つの剥離機構で順に剥離してもよく、あるいは、成形品Wpの反転を行わずに、上面及び下面のキャリアCを二つの剥離機構でそれぞれ剥離してもよい。 After the molded product removal process, a carrier peeling process is carried out in which the carrier C is peeled off from the molded product Wp using a carrier peeling device 16. This results in the formation of a molded product Wp having the shape shown in FIG. 14B. Note that this process may involve inverting the molded product Wp midway and peeling off the upper and lower carriers C in sequence using one peeling mechanism, or the molded product Wp may not be inverted, and the upper and lower carriers C may be peeled off separately using two peeling mechanisms.

キャリア剥離工程の後、成形品Wpから剥離されたキャリアCを、搬送装置(例えば、第2ローダ24等)によって収納ユニット10Cから樹脂形成ユニット10E(もしくは、ベース樹脂供給ユニット10D)へ搬送する工程を実施する(最終的に樹脂形成部50へ当該キャリアCが到達すればよい)。 After the carrier peeling process, a process is carried out in which the carrier C peeled off from the molded product Wp is transported from the storage unit 10C to the resin formation unit 10E (or the base resin supply unit 10D) by a transport device (e.g., the second loader 24, etc.) (it is sufficient that the carrier C finally reaches the resin formation section 50).

上記の構成によれば、成形品WpからキャリアCを剥離して、封止樹脂R(すなわち、キャリアCが固着された状態のベース樹脂Rm)を準備(形成)する樹脂準備工程から当該キャリアCを再度使用することができる。したがって、部品数(必要なキャリアCの総数)の削減による製造コストの低減を図ることができる。また、予め多くのキャリアCを用意しておく必要がないため、特にキャリアCの収納部(例えば、ストッカ等)のサイズや設置スペース等を主として装置の小型化を図ることができる。 According to the above configuration, the carrier C can be reused from the resin preparation process in which the carrier C is peeled off from the molded product Wp and the sealing resin R (i.e., the base resin Rm to which the carrier C is fixed) is prepared (formed). This makes it possible to reduce manufacturing costs by reducing the number of parts (total number of carriers C required). In addition, since there is no need to prepare many carriers C in advance, it is possible to miniaturize the device, particularly in terms of the size of the storage section for the carrier C (e.g., a stocker, etc.) and the installation space.

また、キャリア剥離工程の後、成形品Wpの所定位置(図14Bに示す破線位置)を切断する切断工程を実施する。具体的に、切断装置18を用いて、成形品WpにおけるキャリアCが剥離された領域内を厚さ方向に切断して、外縁部を切除する。これにより、図14Cに示す形状を有する、すなわち、樹脂厚み(ワークWの上方もしくは下方部分の樹脂厚み)が薄い成形品Wp(最終目的形状)を形成することができる。 After the carrier peeling process, a cutting process is performed to cut the molded product Wp at a predetermined position (the position indicated by the dashed line in FIG. 14B). Specifically, a cutting device 18 is used to cut the molded product Wp in the thickness direction within the area where the carrier C has been peeled off, and the outer edge is removed. This makes it possible to form a molded product Wp (final target shape) having the shape shown in FIG. 14C, i.e., a thin resin thickness (resin thickness at the upper or lower part of the workpiece W).

切断工程の後、成形品Wp(本実施形態では、キャリアCが剥離され、所定位置が切断された状態)を収納マガジン14に収納する収納工程を実施する。尚、キャリア剥離工程もしくは切断工程を実施せずに(すなわち、剥離もしくは切断がなされていない状態の)成形品Wpを収納する工程とすることも可能である。 After the cutting process, a storage process is carried out in which the molded product Wp (in this embodiment, the carrier C has been peeled off and the product has been cut at a predetermined position) is stored in the storage magazine 14. It is also possible to store the molded product Wp without carrying out the carrier peeling process or the cutting process (i.e., in a state where the product has not been peeled or cut).

以上が圧縮成形装置1を用いて行う圧縮成形方法の主要工程である。但し、上記の工程順は一例であって、支障がない限り先後順の変更や並行実施が可能である。 The above are the main steps of the compression molding method performed using the compression molding device 1. However, the above order of steps is only an example, and the order of steps can be changed or steps can be performed in parallel as long as there are no problems.

前述の通り、樹脂封止後における樹脂厚み(具体的に、図14Cに示すように樹脂封止後におけるワークWの上方位置の樹脂部分の厚みDaもしくは下方位置の樹脂部分の厚みDb)が0.4mm以下となる程度に薄い成形品Wpを形成しようとすると、樹脂封止前における封止樹脂(固形樹脂)の厚みも薄くせざるを得ない。しかしながら、樹脂封止前における封止樹脂(固形樹脂)は、当然、本硬化する前の状態であることから剛性が低く(脆く)、強度が弱いため、ハンドリング時(特に搬送時)に極めて割損が発生し易くなるという課題があった。特に、打錠により形成される封止樹脂(固形樹脂)の場合はより顕著であることも確認された。これに対して、本実施形態に係る封止樹脂Rを用いる圧縮成形装置1及び圧縮成形方法によれば、当該課題の解決、すなわち、封止樹脂Rのハンドリング時(特に搬送時)における割損の発生を防止することができ、且つ、樹脂部分の厚みが薄い成形品Wpを形成することができる。尚、本発明者の実験により、Da=Db=0.1mmの形状も実現できることが検証されている。 As described above, when trying to form a molded product Wp with a resin thickness of 0.4 mm or less after resin sealing (specifically, the thickness Da of the resin part at the upper position of the workpiece W or the thickness Db of the resin part at the lower position as shown in FIG. 14C), the thickness of the sealing resin (solid resin) before resin sealing must also be thin. However, the sealing resin (solid resin) before resin sealing is naturally in a state before it is fully hardened, so it has low rigidity (brittle) and low strength, and therefore there is a problem that it is very likely to break during handling (especially during transportation). In particular, it has been confirmed that this is more pronounced in the case of sealing resin (solid resin) formed by tableting. In contrast, according to the compression molding device 1 and compression molding method using the sealing resin R of this embodiment, the problem can be solved, that is, the occurrence of breakage during handling (especially during transportation) of the sealing resin R can be prevented, and a molded product Wp with a thin resin part can be formed. Furthermore, the inventor's experiments have verified that it is possible to achieve a shape where Da = Db = 0.1 mm.

また、上記構成の封止樹脂Rを用いることによって、従来のように、顆粒樹脂に起因する撒きムラ、残留気体、成形時の粉塵が発生するという課題や、ハンドリングが難しいという課題の解決もしくは低減を図ることができる。 In addition, by using the sealing resin R of the above configuration, it is possible to solve or reduce the problems that were previously caused by granular resin, such as uneven distribution, residual gas, and dust generation during molding, as well as the difficulty of handling.

[第2の実施形態]
続いて、本発明の第2の実施形態について説明する。本実施形態に係る圧縮成形装置1及び圧縮成形方法は、前述の第1の実施形態と基本的な構成は同様であるが、プレスユニット10Bの構成(特に、プレス装置及び封止金型の構成)、並びに、当該プレスユニット10Bを中心に実施される工程において相違点を有する。以下、当該相違点を中心に本実施形態について説明する。
Second Embodiment
Next, a second embodiment of the present invention will be described. The compression molding apparatus 1 and the compression molding method according to this embodiment are basically the same as those of the first embodiment described above, but have differences in the configuration of the press unit 10B (particularly, the configuration of the press apparatus and the sealing mold) and the process performed mainly by the press unit 10B. Hereinafter, this embodiment will be described focusing on the differences.

本実施形態に係るプレスユニット10Bは、型開閉される一対の金型(例えば、合金工具鋼からなる複数の金型ブロック、金型プレート、金型ピラー等やその他の部材が組み付けられたもの)を有する封止金型(第3金型)302を備えている。また、第3金型302を開閉駆動するプレス装置(第3プレス装置)350を備えている。一例として、図1において(第2プレス装置250と共通の構成として図示)、第3プレス装置350を二台備える構成としているが、一台備える構成としてもよく、複数台(三台以上)備える構成としてもよい(不図示)。第3プレス装置350の側面図(概略図)を図15に示し、第3金型302の正面断面図(概略図)を図16に示す。 The press unit 10B according to this embodiment is equipped with a sealing die (third die) 302 having a pair of dies (for example, a pair of dies made of alloy tool steel, die plates, die pillars, and other members assembled thereto) that are opened and closed. It is also equipped with a press device (third press device) 350 that drives the third die 302 to open and close. As an example, in FIG. 1 (shown as a common configuration with the second press device 250), two third press devices 350 are provided, but one or more (three or more) may be provided (not shown). A side view (schematic diagram) of the third press device 350 is shown in FIG. 15, and a front cross-sectional view (schematic diagram) of the third die 302 is shown in FIG. 16.

ここで、第3プレス装置350は、図15に示すように、一対のプラテン354、356と、一対のプラテン354、356が架設される複数のタイバー352と、プラテン356を可動(昇降)させる駆動装置等を備えて構成されている。具体的に、当該駆動装置は、駆動源(例えば、電動モータ)360及び駆動伝達機構(例えば、ボールねじやトグルリンク機構)362等を備えて構成されている(但し、これに限定されるものではない)。本実施形態では、鉛直方向において上方側のプラテン354を固定プラテン(タイバー352に固定されるプラテン)とし、下方側のプラテン356を可動プラテン(タイバー352に摺動可能に保持されて昇降するプラテン)として設定している。但し、これに限定されるものではなく、上下逆に、すなわち上方側を可動プラテン、下方側を固定プラテンに設定してもよく、あるいは、上方側、下方側共に可動プラテンとして設定してもよい(いずれも不図示)。 Here, as shown in FIG. 15, the third press device 350 is configured to include a pair of platens 354, 356, a plurality of tie bars 352 on which the pair of platens 354, 356 are supported, and a drive device for moving (raising and lowering) the platen 356. Specifically, the drive device is configured to include a drive source (e.g., an electric motor) 360 and a drive transmission mechanism (e.g., a ball screw or a toggle link mechanism) 362 (however, this is not limited to this). In this embodiment, the upper platen 354 in the vertical direction is set as a fixed platen (a platen fixed to the tie bars 352), and the lower platen 356 is set as a movable platen (a platen slidably held by the tie bars 352 and raised and lowered). However, this is not limited to this, and the platens may be set upside down, i.e., the upper side may be set as a movable platen and the lower side as a fixed platen, or both the upper and lower sides may be set as movable platens (neither is shown).

一方、第3金型302は、図16に示すように、第3プレス装置350における上記一対のプラテン354、356間に配設される一対の金型として、鉛直方向における上方側の一方の金型(第3上型304)と、下方側の他方の金型(第3下型306)とを備えている。すなわち、第3上型304が上方側のプラテン(本実施形態では、固定プラテン354)に組み付けられ、第3下型306が下方側のプラテン(本実施形態では、可動プラテン356)に組み付けられている。この第3上型304と第3下型306とが相互に接近・離反することで型閉じ・型開きが行われる(鉛直方向(上下方向)が型開閉方向となる)。 On the other hand, as shown in FIG. 16, the third mold 302 is a pair of molds arranged between the pair of platens 354, 356 in the third press device 350, and includes one mold (third upper mold 304) on the upper side in the vertical direction and the other mold (third lower mold 306) on the lower side. That is, the third upper mold 304 is assembled to the upper platen (in this embodiment, the fixed platen 354), and the third lower mold 306 is assembled to the lower platen (in this embodiment, the movable platen 356). The third upper mold 304 and the third lower mold 306 approach and move away from each other to close and open the mold (the vertical direction (up and down direction) is the mold opening and closing direction).

次に、第3金型302の第3下型306について詳しく説明する。図16に示すように、第3下型306は、下型チェイス(第3下型チェイス)310と、これに保持されるキャビティ駒(第3キャビティ駒)326、クランパ(第3クランパ)328等を備えている。第3下型チェイス310は、サポートピラー(第3サポートピラー)312を介してサポートプレート(第3サポートプレート)314の上面に対して固定されている。第3下型306の上面(第3上型304側の面)にキャビティ(第3キャビティ)308が設けられている。 Next, the third lower die 306 of the third mold 302 will be described in detail. As shown in FIG. 16, the third lower die 306 includes a lower die chase (third lower die chase) 310, a cavity piece (third cavity piece) 326 held therein, and a clamper (third clamper) 328. The third lower die chase 310 is fixed to the upper surface of a support plate (third support plate) 314 via a support pillar (third support pillar) 312. A cavity (third cavity) 308 is provided on the upper surface of the third lower die 306 (the surface on the third upper die 304 side).

第3クランパ328は、第3キャビティ駒326を囲うように環状に構成されると共に、押動ピン(第3押動ピン)322及びクランパバネ(第3クランパバネ)324(例えば、コイルバネに例示される付勢部材)を介して、第3サポートプレート314の上面に対して離間(フローティング)して上下動可能に組み付けられる(但し、この組み付け構造に限定されるものではない)。この第3キャビティ駒326が第3キャビティ308の奥部(底部)を構成し、第3クランパ328が第3キャビティ308の側部を構成する。尚、一つの第3下型306に設けられる第3キャビティ308の形状や個数は、ワークW等の形状や個数に応じて適宜設定される(一つもしくは複数個)。 The third clamper 328 is configured in an annular shape to surround the third cavity piece 326, and is assembled to be movable up and down while being spaced apart (floating) from the upper surface of the third support plate 314 via a push pin (third push pin) 322 and a clamper spring (third clamper spring) 324 (e.g., a biasing member such as a coil spring) (however, this assembly structure is not limited). The third cavity piece 326 forms the inner part (bottom part) of the third cavity 308, and the third clamper 328 forms the side part of the third cavity 308. The shape and number of the third cavities 308 provided in one third lower mold 306 are appropriately set according to the shape and number of the workpieces W, etc. (one or multiple).

ここで、第3プレス装置350には、第3下型306における第3キャビティ308の内面を含む金型面306a(所定領域)を覆うためのフィルムFを供給するフィルム供給部(第3下型フィルム供給部)311が設けられている。尚、一例として、フィルムFは、ロール状であるが短冊状であってもよい。 Here, the third press device 350 is provided with a film supply section (third lower die film supply section) 311 that supplies film F to cover the die surface 306a (predetermined area) including the inner surface of the third cavity 308 in the third lower die 306. As an example, the film F is in a roll shape, but it may also be in a strip shape.

また、第3下型306は、第3クランパ328上面や第3クランパ328と第3キャビティ駒326との境界部等に、吸引装置に連通する吸引路(孔や溝等)が設けられている(不図示)。これにより、第3下型フィルム供給部311から供給されたフィルムFを、第3キャビティ308の内面を含む金型面306aに吸着させて保持することができる。 The third lower mold 306 is also provided with suction paths (holes, grooves, etc.) (not shown) that communicate with a suction device on the top surface of the third clamper 328 and on the boundary between the third clamper 328 and the third cavity piece 326. This allows the film F supplied from the third lower mold film supply unit 311 to be adsorbed and held on the mold surface 306a, including the inner surface of the third cavity 308.

また、本実施形態においては、第3下型306を所定温度に加熱する第3下型加熱機構(不図示)が設けられている。この第3下型加熱機構は、ヒータ(例えば、電熱線ヒータ)、温度センサ、電源等を備えており、制御部90によって加熱の制御が行われる。一例として、ヒータは、第3下型チェイス310に内蔵され、第3下型306が所定温度(例えば、100℃~300℃)となるように加熱する。 In addition, in this embodiment, a third lower die heating mechanism (not shown) is provided that heats the third lower die 306 to a predetermined temperature. This third lower die heating mechanism includes a heater (e.g., an electric wire heater), a temperature sensor, a power source, etc., and heating is controlled by the control unit 90. As an example, the heater is built into the third lower die chase 310, and heats the third lower die 306 to a predetermined temperature (e.g., 100°C to 300°C).

次に、第3金型302の第3上型304について詳しく説明する。図16に示すように、第3上型304は、上型チェイス(第3上型チェイス)340と、これに保持される上プレート(第3プレート)342等を備えている。 Next, the third upper die 304 of the third mold 302 will be described in detail. As shown in FIG. 16, the third upper die 304 includes an upper die chase (third upper die chase) 340 and an upper plate (third plate) 342 held thereby.

また、本実施形態においては、樹脂封止後の成形品Wpを第3プレート342の下面における所定位置に保持する保持部305が設けられている。この保持部305は、一例として、第3プレート342を貫通して配設され、吸引装置に連通する吸引路(孔や溝等)を有している(不図示)。具体的には、吸引路の一端が第3上型304の金型面304aに通じ、他端が第3上型304外に配設される吸引装置と接続される。これにより、吸引装置を駆動させて吸引路から吸引し、金型面304a(ここでは、第3プレート342の下面)に樹脂封止後の成形品Wpを吸着させて保持することが可能となる。上記の吸着保持機構に代えて、もしくは吸着保持機構と共に、成形品Wpの外周を挟持する保持爪を備える構成としてもよい(不図示)。尚、一つの第3上型304に設けられる保持部305の形状や個数は適宜設定される(一つもしくは複数個)。 In this embodiment, a holding portion 305 is provided to hold the molded product Wp after resin sealing at a predetermined position on the lower surface of the third plate 342. As an example, the holding portion 305 is disposed through the third plate 342 and has a suction path (hole, groove, etc.) that communicates with a suction device (not shown). Specifically, one end of the suction path is connected to the mold surface 304a of the third upper mold 304, and the other end is connected to a suction device disposed outside the third upper mold 304. This makes it possible to drive the suction device to suck from the suction path and hold the molded product Wp after resin sealing by adsorbing it to the mold surface 304a (here, the lower surface of the third plate 342). Instead of the above-mentioned suction holding mechanism, or together with the suction holding mechanism, a configuration may be provided with a holding claw that holds the outer periphery of the molded product Wp (not shown). The shape and number of the holding portions 305 provided on one third upper mold 304 are appropriately set (one or multiple).

ここで、第3プレス装置350には、第3上型304の金型面304a(所定領域)を覆うためのフィルムFを供給する上型フィルム供給部(第3上型フィルム供給部)313が設けられている。尚、一例として、フィルムFは、ロール状であるが短冊状であってもよい。 Here, the third press device 350 is provided with an upper die film supply section (third upper die film supply section) 313 that supplies film F to cover the die surface 304a (predetermined area) of the third upper die 304. As an example, the film F is in a roll shape, but it may also be in a strip shape.

また、第3上型304は、第3プレート342等に、吸引装置に連通する吸引路(孔や溝等)が設けられている(不図示)。これにより、第3上型フィルム供給部313から供給されたフィルムFを、金型面304aに吸着させて保持することができる。 The third upper mold 304 also has suction paths (holes, grooves, etc.) (not shown) in the third plate 342 etc. that communicate with a suction device. This allows the film F supplied from the third upper mold film supply unit 313 to be adsorbed and held on the mold surface 304a.

また、本実施形態においては、第3上型304を所定温度に加熱する第3上型加熱機構(不図示)が設けられている。この第3上型加熱機構は、ヒータ(例えば、電熱線ヒータ)、温度センサ、電源等を備えており、制御部90によって加熱の制御が行われる。一例として、ヒータは、第3上型チェイス340に内蔵され、第3上型304が所定温度(例えば、100℃~300℃)となるように加熱する。 In addition, in this embodiment, a third upper die heating mechanism (not shown) is provided that heats the third upper die 304 to a predetermined temperature. This third upper die heating mechanism includes a heater (e.g., an electric wire heater), a temperature sensor, a power source, etc., and heating is controlled by the control unit 90. As an example, the heater is built into the third upper die chase 340, and heats the third upper die 304 to a predetermined temperature (e.g., 100°C to 300°C).

続いて、上記の構成を備える圧縮成形装置1を用いて実施される本実施形態に係る圧縮成形方法の工程について説明する。ここで、図17~図19は、各工程の説明図であって、図16と同方向の正面断面図として図示する。 Next, the steps of the compression molding method according to this embodiment, which is carried out using the compression molding device 1 having the above configuration, will be described. Here, Figures 17 to 19 are explanatory diagrams of each step, and are illustrated as front cross-sectional views in the same direction as Figure 16.

先ず、第1準備工程を実施する。具体的には第1の実施形態と同様である。 First, the first preparation step is carried out. Specifically, this is the same as in the first embodiment.

上記の第1準備工程と前後して、もしくは並行して、封止樹脂Rとして、キャリアCが固着された状態のベース樹脂Rmを準備する樹脂準備工程を実施する。具体的な工程は、第1の実施形態と同様である。 Before, after, or in parallel with the first preparation step described above, a resin preparation step is carried out to prepare a base resin Rm to which a carrier C is fixed as the sealing resin R. The specific steps are the same as those in the first embodiment.

また、本実施形態においては、前述の第2準備工程に代えて、第3準備工程を実施する。第3準備工程は以下の工程を有している。第3上型加熱機構により第3上型304を所定温度(例えば、100℃~300℃)に調整して加熱する加熱工程(第3上型加熱工程)を実施する。また、第3下型加熱機構により第3下型306を所定温度(例えば、100℃~300℃)に調整して加熱する加熱工程(第3下型加熱工程)を実施する。また、第3下型フィルム供給部311を作動させて新しいフィルムFを供給して、第3下型306における第3キャビティ308の内面を含む金型面306aの所定領域を覆うように吸着させる下型フィルム供給工程(第3下型フィルム供給工程)を実施する。また、第3上型フィルム供給部313を作動させて新しいフィルムFを供給して、第3上型304の金型面304aの所定領域を覆うように吸着させる上型フィルム供給工程(第3上型フィルム供給工程)を実施する。 In addition, in this embodiment, instead of the second preparation step described above, a third preparation step is performed. The third preparation step includes the following steps. A heating step (third upper mold heating step) is performed in which the third upper mold 304 is adjusted to a predetermined temperature (e.g., 100°C to 300°C) and heated by the third upper mold heating mechanism. A heating step (third lower mold heating step) is also performed in which the third lower mold 306 is adjusted to a predetermined temperature (e.g., 100°C to 300°C) and heated by the third lower mold heating mechanism. A lower mold film supply step (third lower mold film supply step) is also performed in which the third lower mold film supply unit 311 is operated to supply new film F and adsorb it to cover a predetermined area of the mold surface 306a including the inner surface of the third cavity 308 in the third lower mold 306. In addition, the third upper die film supply unit 313 is operated to supply new film F, and an upper die film supply process (third upper die film supply process) is carried out in which the film F is adsorbed to cover a predetermined area of the die surface 304a of the third upper die 304.

第3準備工程の後に、封止樹脂R及びワークWを封止金型(第3金型302)内にセットするセット工程を実施する。図17に示すように、それぞれのキャリアCが外側となるように配置した二つの封止樹脂Rの間にワークWを挟んだ状態で第3キャビティ308内(第3キャビティ駒326上)に保持(載置を含む)する。 After the third preparation step, a setting step is performed in which the sealing resin R and the workpiece W are set in the sealing mold (third mold 302). As shown in FIG. 17, the workpiece W is sandwiched between two sealing resins R arranged so that each carrier C is on the outside, and is held (including placed) in the third cavity 308 (on the third cavity piece 326).

上記セット工程の一例として、樹脂準備工程で準備した第1の封止樹脂Rを、搬送装置(例えば、第1ローダ22等)によって搬送し、キャリアCが露出する面を下側として第3キャビティ308内(第3キャビティ駒326上)に載置する。次いで、供給マガジン12から供給されたワークWを、搬送装置(例えば、第1ローダ22等)によって搬送し、第1の封止樹脂R上に載置する。次いで、樹脂準備工程で準備した第2の封止樹脂Rを、搬送装置(例えば、第1ローダ22等)によって搬送し、キャリアCが露出する面を上側としてワークW上に載置する。 As an example of the above-mentioned setting process, the first sealing resin R prepared in the resin preparation process is transported by a transport device (e.g., the first loader 22, etc.) and placed in the third cavity 308 (on the third cavity piece 326) with the surface on which the carrier C is exposed facing down. Next, the workpiece W supplied from the supply magazine 12 is transported by a transport device (e.g., the first loader 22, etc.) and placed on the first sealing resin R. Next, the second sealing resin R prepared in the resin preparation process is transported by a transport device (e.g., the first loader 22, etc.) and placed on the workpiece W with the surface on which the carrier C is exposed facing up.

または、セット工程の他の例として、樹脂準備工程で準備した第1の封止樹脂R及び第2の封止樹脂Rと、供給マガジン12から供給されたワークWとを、それぞれのキャリアCが外側となるように配置した二つ(第1及び第2)の封止樹脂Rの間にワークWを挟んだ状態となるように積層する(すなわち、第1の封止樹脂Rを、キャリアCが露出する面を下側として準備し、ワークWを、第1の封止樹脂R上に載置し、第2の封止樹脂Rを、キャリアCが露出する面を上側としてワークW上に載置する)。次いで、当該積層状態の第1の封止樹脂R、ワークW、第2の封止樹脂Rを、搬送装置(例えば、第1ローダ22等)によって搬送し、第3キャビティ308内(第3キャビティ駒326上)に載置する。この場合、第3金型302へのワークWと二つの封止樹脂Rとの搬送をそれぞれ別に行うのではなく、一回で行う利点がある。 As another example of the setting process, the first sealing resin R and the second sealing resin R prepared in the resin preparation process and the workpiece W supplied from the supply magazine 12 are stacked so that the workpiece W is sandwiched between the two (first and second) sealing resins R arranged so that the carriers C are on the outside (i.e., the first sealing resin R is prepared with the surface on which the carrier C is exposed on the lower side, the workpiece W is placed on the first sealing resin R, and the second sealing resin R is placed on the workpiece W with the surface on which the carrier C is exposed on the upper side). Next, the first sealing resin R, the workpiece W, and the second sealing resin R in the stacked state are transported by a transport device (e.g., the first loader 22, etc.) and placed in the third cavity 308 (on the third cavity piece 326). In this case, there is an advantage in that the workpiece W and the two sealing resins R are transported to the third mold 302 at one time, rather than separately.

上記の各工程を全て実施した後に、ワークWを封止樹脂R(本実施形態では、二つの封止樹脂Rで挟んだ状態)により封止して成形品Wpに加工する樹脂封止工程を実施する。具体的に、第3金型302の型閉じを行い、第3キャビティ308内で第3キャビティ駒326を相対的に上昇させて、ワークWに対して封止樹脂Rを加熱加圧する型閉じ工程(第3型閉じ工程)を実施する。これにより、封止樹脂Rが熱硬化して樹脂封止(圧縮成形)が完了する(図18参照)。尚、成形品Wpの構成は図14Aと同様となる。 After all of the above steps have been performed, a resin sealing step is performed in which the workpiece W is sealed with sealing resin R (sandwiched between two sealing resins R in this embodiment) and processed into a molded product Wp. Specifically, the third mold 302 is closed, and the third cavity piece 326 is raised relatively within the third cavity 308 to perform a mold closing step (third mold closing step) in which the sealing resin R is heated and pressurized against the workpiece W. This causes the sealing resin R to thermally harden, completing the resin sealing (compression molding) (see FIG. 18). The configuration of the molded product Wp is the same as that of FIG. 14A.

第3型閉じ工程の後に、第3金型302の型開きを行い、成形品Wpと使用済みのフィルムFとを分離して当該成形品Wpを取出せるようにする型開き工程(第3型開き工程)を実施する(図19参照)。次いで、搬送装置(例えば、第2ローダ24等)によって、成形品Wpを第3金型302内から搬出し、収納ユニット10Cへ搬送する成形品搬出工程を実施する。 After the third mold closing step, the third mold 302 is opened, and the molded product Wp is separated from the used film F so that the molded product Wp can be removed (third mold opening step) (see FIG. 19). Next, a molded product removal step is performed in which the molded product Wp is removed from the third mold 302 by a conveying device (e.g., the second loader 24, etc.) and conveyed to the storage unit 10C.

成形品搬出工程の後に、もしくは、並行して、第3下型フィルム供給部311、第3上型フィルム供給部313を作動させて、使用済みのフィルムFを第3金型302内から送り出し、新しいフィルムFを第3金型302内へ送り込んでセットするフィルム供給工程(第3下型フィルム供給工程、第3上型フィルム供給工程)を実施する。 After or in parallel with the molded product removal process, the third lower die film supply unit 311 and the third upper die film supply unit 313 are operated to carry out a film supply process (third lower die film supply process, third upper die film supply process) in which the used film F is sent out from within the third die 302 and a new film F is sent into and set within the third die 302.

また、成形品搬出工程の後に、キャリア剥離工程を実施する(成形品Wpの構成は図14Bと同様となる)。また、キャリア剥離工程の後に、切断工程を実施する(成形品Wpの構成は図14Cと同様となる)。また、切断工程の後に、収納工程を実施する。いずれも、具体的には第1の実施形態と同様である。尚、キャリア剥離工程もしくは切断工程の省略も可能である。 After the molded product unloading process, a carrier peeling process is performed (the structure of the molded product Wp is the same as in FIG. 14B). After the carrier peeling process, a cutting process is performed (the structure of the molded product Wp is the same as in FIG. 14C). After the cutting process, a storage process is performed. All of these are specifically the same as in the first embodiment. It is also possible to omit the carrier peeling process or the cutting process.

本実施形態に係るその他の構成は、前述の第1の実施形態と同様であり、繰り返しの説明を省略する。 The rest of the configuration of this embodiment is the same as that of the first embodiment described above, so repeated explanations will be omitted.

上記の第2の実施形態によっても、前述の第1の実施形態と同様の効果を得ることができる。 The second embodiment above can achieve the same effect as the first embodiment.

以上、説明した通り、本発明によれば、封止樹脂の撒きムラ、残留気体、成形時の粉塵発生に起因する成形不良の発生を防止することができる。また、封止樹脂のハンドリングを容易化することができると共に、特に樹脂部分の厚みが0.4mm以下となるような薄い成形品を形成する場合であっても、ハンドリング時における封止樹脂の割損発生を防止することができる。また、上型にキャビティが設けられ、下型にワークが保持される構成に適用することによって、ワークが落下する等の不具合を解決することができる。 As explained above, according to the present invention, it is possible to prevent molding defects caused by uneven spreading of the sealing resin, residual gas, and dust generation during molding. In addition, it is possible to facilitate handling of the sealing resin, and it is possible to prevent the sealing resin from breaking during handling, especially when forming a thin molded product with a resin part thickness of 0.4 mm or less. Furthermore, by applying this to a configuration in which a cavity is provided in the upper mold and the workpiece is held in the lower mold, problems such as the workpiece falling can be solved.

尚、本発明は、上記の実施形態に限定されることなく、本発明を逸脱しない範囲において種々変更可能である。 The present invention is not limited to the above-described embodiment, and various modifications are possible without departing from the scope of the present invention.

1 圧縮成形装置
22 搬送装置(第1ローダ)
24 搬送装置(第2ローダ)
102 打錠金型(第1金型)
202 封止金型(第2金型)
302 封止金型(第3金型)
C キャリア
F リリースフィルム
R 封止樹脂
Rm ベース樹脂
W ワーク
1 Compression molding device 22 Conveyor device (first loader)
24 Transport device (second loader)
102 Tableting mold (first mold)
202 Sealing mold (second mold)
302 Sealing mold (third mold)
C Carrier F Release film R Sealing resin Rm Base resin W Work

Claims (9)

上型と下型とを備える封止金型を用いて、ワークを封止樹脂により封止して成形品に加工する圧縮成形装置であって、
前記封止樹脂として、キャリアが固着された状態のベース樹脂が用いられること
を特徴とする圧縮成形装置。
A compression molding apparatus that uses a sealing die having an upper die and a lower die to seal a workpiece with a sealing resin and process it into a molded product,
A compression molding apparatus, characterized in that a base resin to which a carrier is fixed is used as the sealing resin.
前記封止樹脂として、パウダー樹脂が打錠されて前記キャリアが固着された所定形状に形成された固形樹脂が用いられること
を特徴とする請求項1記載の圧縮成形装置。
2. The compression molding apparatus according to claim 1, wherein the sealing resin is a solid resin formed into a predetermined shape by tableting a powder resin and fixing the carrier thereto.
前記所定形状は、平面視で、中央部に前記キャリアが配置され、前記キャリアの外周が被覆されるように周縁部に前記ベース樹脂が配置された形状であること
を特徴とする請求項2記載の圧縮成形装置。
The compression molding apparatus according to claim 2, characterized in that the predetermined shape, when viewed in a plane, has the carrier disposed in the center and the base resin disposed on the periphery so as to cover the outer periphery of the carrier.
それぞれの前記キャリアが外側となるように配置した二つの前記封止樹脂の間に前記ワークを挟んだ状態で前記封止金型内へ搬送する搬送装置を備えること
を特徴とする請求項1~3のいずれか一項に記載の圧縮成形装置。
The compression molding apparatus according to any one of claims 1 to 3, further comprising a conveying device that conveys the workpiece into the sealing mold while sandwiching the workpiece between two sealing resins arranged so that each carrier is on the outside.
上型と下型とを備える封止金型を用いて、ワークを封止樹脂により封止して成形品に加工する圧縮成形方法であって、
前記封止樹脂として、キャリアが固着された状態のベース樹脂を準備する樹脂準備工程と、
前記封止樹脂を前記封止金型内へ搬送する搬送工程と、
前記封止金型の型閉じを行って前記ワークを前記封止樹脂により封止して前記成形品に加工する樹脂封止工程と、を備えること
を特徴とする圧縮成形方法。
A compression molding method for molding a workpiece into a molded product by sealing the workpiece with a sealing resin using a sealing die having an upper die and a lower die,
a resin preparation step of preparing a base resin having a carrier fixed thereto as the sealing resin;
a conveying step of conveying the sealing resin into the sealing die;
and a resin sealing step of closing the sealing mold to seal the workpiece with the sealing resin and process it into the molded product.
前記封止樹脂として、パウダー樹脂が打錠されて前記キャリアが固着された所定形状に形成された固形樹脂が用いられること
を特徴とする請求項5記載の圧縮成形方法。
6. The compression molding method according to claim 5, wherein the sealing resin is a solid resin formed into a predetermined shape by tableting a powder resin and fixing the carrier thereto.
前記所定形状は、平面視で、中央部に前記キャリアが配置され、前記キャリアの外周が被覆されるように周縁部に前記ベース樹脂が配置された形状であること
を特徴とする請求項6記載の圧縮成形方法。
The compression molding method according to claim 6, characterized in that the predetermined shape, when viewed in a plane, has the carrier arranged in the center and the base resin arranged on the periphery so as to cover the outer periphery of the carrier.
前記樹脂封止工程は、それぞれの前記キャリアが外側となるように配置した二つの前記封止樹脂の間に前記ワークを挟んだ状態で前記封止金型内にセットする工程を有すること
を特徴とする請求項5~7のいずれか一項に記載の圧縮成形方法。
The compression molding method according to any one of claims 5 to 7, characterized in that the resin sealing process includes a step of setting the workpiece in the sealing mold in a state in which the workpiece is sandwiched between two sealing resins arranged so that each of the carriers is on the outside.
前記搬送工程は、それぞれの前記キャリアが外側となるように配置した二つの前記封止樹脂の間に前記ワークを挟んだ状態で前記封止金型内へ搬送する工程を有すること
を特徴とする請求項5~7のいずれか一項に記載の圧縮成形方法。
The compression molding method according to any one of claims 5 to 7, characterized in that the transport process includes a process of transporting the workpiece into the sealing mold in a state in which the workpiece is sandwiched between two sealing resins arranged so that each of the carriers is on the outside.
JP2023110537A 2023-07-05 2023-07-05 Compression molding apparatus and compression molding method Pending JP2025008394A (en)

Priority Applications (2)

Application Number Priority Date Filing Date Title
JP2023110537A JP2025008394A (en) 2023-07-05 2023-07-05 Compression molding apparatus and compression molding method
TW113123501A TWI910687B (en) 2023-07-05 2024-06-25 Compression forming apparatus and compression forming method

Applications Claiming Priority (1)

Application Number Priority Date Filing Date Title
JP2023110537A JP2025008394A (en) 2023-07-05 2023-07-05 Compression molding apparatus and compression molding method

Publications (1)

Publication Number Publication Date
JP2025008394A true JP2025008394A (en) 2025-01-20

Family

ID=94279721

Family Applications (1)

Application Number Title Priority Date Filing Date
JP2023110537A Pending JP2025008394A (en) 2023-07-05 2023-07-05 Compression molding apparatus and compression molding method

Country Status (1)

Country Link
JP (1) JP2025008394A (en)

Also Published As

Publication number Publication date
TW202502517A (en) 2025-01-16

Similar Documents

Publication Publication Date Title
JP7644489B2 (en) Compression molding apparatus and compression molding method
JP2025008394A (en) Compression molding apparatus and compression molding method
JP2025034137A (en) Compression molding apparatus and compression molding method
WO2024047916A1 (en) Resin sealing device and resin sealing method
WO2025047389A1 (en) Molded product formation method and sealing resin
TWI885727B (en) Compression forming device and compression forming method
EP4659930A1 (en) Compression-molding device and compression-molding method
JP2025049905A (en) Compression molding apparatus and compression molding method
EP4661063A1 (en) Sealing resin used for compression molding, and forming method for same
JP2025032602A (en) Compression molding apparatus and compression molding method
WO2024203997A1 (en) Compression molding apparatus and compression molding method
JP2024139406A (en) Compression molding apparatus and compression molding method
JP2024139395A (en) Apparatus and method for forming sealing resin used in compression molding
WO2024204028A1 (en) Compression-molding device and compression-molding method
TW202330243A (en) Resin sealing device
WO2024236855A1 (en) Formation device for sealing resin that is used for compression molding
JP2024139398A (en) Encapsulating resin for use in compression molding, and forming method and forming device thereof
WO2025062950A1 (en) Sealing resin for use in compression molding and method and device for forming sealing resin

Legal Events

Date Code Title Description
A621 Written request for application examination

Free format text: JAPANESE INTERMEDIATE CODE: A621

Effective date: 20250620