JP2024146437A - combine - Google Patents

combine Download PDF

Info

Publication number
JP2024146437A
JP2024146437A JP2023059333A JP2023059333A JP2024146437A JP 2024146437 A JP2024146437 A JP 2024146437A JP 2023059333 A JP2023059333 A JP 2023059333A JP 2023059333 A JP2023059333 A JP 2023059333A JP 2024146437 A JP2024146437 A JP 2024146437A
Authority
JP
Japan
Prior art keywords
discharge
cabin
grains
collection container
combine harvester
Prior art date
Legal status (The legal status is an assumption and is not a legal conclusion. Google has not performed a legal analysis and makes no representation as to the accuracy of the status listed.)
Pending
Application number
JP2023059333A
Other languages
Japanese (ja)
Inventor
弘樹 松澤
Hiroki Matsuzawa
憲之 坂本
Noriyuki Sakamoto
亮太 平賀
Ryota Hiraga
健一 坪田
Kenichi Tsubota
Current Assignee (The listed assignees may be inaccurate. Google has not performed a legal analysis and makes no representation or warranty as to the accuracy of the list.)
Iseki and Co Ltd
Iseki Agricultural Machinery Mfg Co Ltd
Original Assignee
Iseki and Co Ltd
Iseki Agricultural Machinery Mfg Co Ltd
Priority date (The priority date is an assumption and is not a legal conclusion. Google has not performed a legal analysis and makes no representation as to the accuracy of the date listed.)
Filing date
Publication date
Application filed by Iseki and Co Ltd, Iseki Agricultural Machinery Mfg Co Ltd filed Critical Iseki and Co Ltd
Priority to JP2023059333A priority Critical patent/JP2024146437A/en
Publication of JP2024146437A publication Critical patent/JP2024146437A/en
Pending legal-status Critical Current

Links

Images

Landscapes

  • Guiding Agricultural Machines (AREA)
  • Harvester Elements (AREA)

Abstract

To provide a combine capable of identifying a collection container of grains, and performing automatic travel of grain discharge and automatic discharge, according to an actual installation position.SOLUTION: A reaping device 15 is provided on a machine body travelling by a travelling unit 3, a sorting device 4 for separating grains from grain culm reaped by the reaping unit 3, is provided on one of the left and right sides of the machine body, and a discharge unit 8 for discharging grains separated by the sorting device 4 to outside, is provided, in a combine. An imaging unit 82 is provided on a tip part 80 of discharge of the discharge unit 8, a control unit 200 processes overhead image data which is imaged by the imaging unit 82, the control unit 200 displays a part where the machine body stops and stays in discharge time, as a discharge possible region EA, when there is an object which may be recognized as a collection container 201 of grains, in the overhead image.SELECTED DRAWING: Figure 24

Description

本発明は、穀粒の自動排出機構を備えるコンバインに関するものである。 The present invention relates to a combine harvester equipped with an automatic grain discharge mechanism.

従来、駆動力を発生させるエンジンと、前後進及び出力を増減させる無段変速装置と、穀稈を刈り取る刈取装置と、刈り取った穀稈を搬送して穀粒を脱穀する脱穀装置と、脱穀された穀粒を一時貯留するグレンタンクと、グレンタンクから穀粒を機外に排出する排出オーガを備えるコンバインがある(特許文献1参照)。 Conventionally, there is a combine harvester equipped with an engine that generates driving force, a continuously variable transmission that moves forward and backward and increases and decreases power, a harvester that harvests stalks, a threshing device that transports the harvested stalks and threshes the grains, a grain tank that temporarily stores the threshed grains, and a discharge auger that discharges the grains from the grain tank to the outside of the machine (see Patent Document 1).

特開2021- 69286号JP 2021-69286 A

グレンタンクの容量一杯、あるいは満杯近くなると、刈取作業を中断し、圃場外に待機する運搬車に排出オーガから排出可能な位置まで、あるいは移動可能な運搬車と合流する待機位置にコンバインが移動する必要がある。 When the grain tank is full or nearly full, harvesting operations must be stopped and the combine must move to a position where it can discharge the grain from the discharge auger to a transport vehicle waiting outside the field, or to a waiting position where it can meet up with a mobile transport vehicle.

運搬車の待機位置を事前に設定しておき、指定した地点にコンバインを移動させて穀粒の排出作業をさせるとは可能であるが、座標の数値入力やマップ画面のタッチでは本来想定した位置とはズレた位置が選択されるおそれがある。 It is possible to set the waiting position of the transport vehicle in advance and have the combine move to the specified location to discharge the grain, but there is a risk that a location other than the intended location will be selected when entering numerical coordinates or touching the map screen.

また、設定した位置が、交通量や道路の形状等により、回収容器やトラックの設置に適さない位置で、設定後に回収容器やトラックの位置を変更していると、コンバインの移動先が穀粒の排出作業を行えない位置となる可能性がある。 In addition, if the set location is not suitable for placing collection containers or trucks due to traffic volume or road shape, etc., and the location of the collection container or truck is changed after setting, the combine may end up moving to a location where it cannot discharge grain.

本発明は、上記に鑑みてなされたものであって、実際の穀粒の回収容器を識別し、実際の設置位置に合わせて穀粒排出の自動走行及び自動排出を行うことができるコンバインを提供する。 The present invention has been made in consideration of the above, and provides a combine harvester that can identify the actual grain collection container and perform automatic travel and automatic grain discharge according to the actual installation position.

請求項1記載の発明は、走行装置(3)で走行する機体に刈取装置(15)を設け、該刈取装置(3)で刈り取った穀稈から穀粒を分離する選別装置(4)を機体左右一側に設け、該選別装置(4)で分離した穀粒を機外に排出する排出装置(8)を設けたコンバインにおいて、該排出装置(8)の排出先端部(80)に撮影装置(82)を設け、該撮影装置(82)が撮影した俯瞰画像データを処理する制御装置(200)を設け、該制御装置(200)は、俯瞰画像内に穀粒の回収容器(201)と認識し得る対象が写り込んでいると、排出時に機体が停止して留まる位置を排出可能領域(EA)として画像内に表示する構成としたことを特徴とするコンバインである。 The invention described in claim 1 is a combine harvester in which a harvesting device (15) is provided on a machine body traveling on a traveling device (3), a sorting device (4) for separating grains from the stalks harvested by the harvesting device (3) is provided on one of the left and right sides of the machine body, and a discharge device (8) for discharging the grains separated by the sorting device (4) outside the machine, a photographing device (82) is provided at the discharge tip (80) of the discharge device (8), and a control device (200) is provided for processing overhead image data captured by the photographing device (82), and the control device (200) is configured to display the position where the machine body stops and remains during discharge as the dischargeable area (EA) in the image when an object that can be recognized as a grain collection container (201) is captured in the overhead image.

請求項2記載の発明は、前記排出可能領域(EA)の外形線は、機体の前後及び左右の実寸法を元に、前記制御装置(200)により一定割合の縮小補正をかけたものを表示することを特徴とする請求項1に記載のコンバインである。 The invention described in claim 2 is the combine described in claim 1, characterized in that the outline of the dischargeable area (EA) is displayed by applying a certain percentage of reduction correction by the control device (200) based on the actual dimensions of the machine body in the front-to-back and left-to-right directions.

請求項3記載の発明は、前記排出先端部(80)には、撮影装置(82)の映像内に映る回収容器(201)までの距離を測定する測距装置(203)を設け、前記制御装置(200)は、該測距装置(203)の測定により得られた距離と、取得されている前記排出可能領域(EA)に基づき移動経路を算出し、該排出可能領域(EA)と重複する位置まで自動的に走行することを特徴とする請求項1に記載のコンバインである。 The invention described in claim 3 is the combine described in claim 1, characterized in that the discharge tip (80) is provided with a distance measuring device (203) that measures the distance to the collection container (201) shown in the image of the camera (82), and the control device (200) calculates a moving path based on the distance measured by the distance measuring device (203) and the acquired dischargeable area (EA), and automatically travels to a position that overlaps with the dischargeable area (EA).

請求項4記載の発明は、前記制御装置(200)は、前記排出可能領域(EA)に到達すると排出装置(8)を回動させ、回収容器(201)の上方で排出クラッチを接続して穀粒の排出を行う構成とし、該排出クラッチが入になってから前記排出装置(8)の伸縮操作が行われたときは、排出クラッチの入切を手動操作できる構成としたことを特徴とする請求項3に記載のコンバインである。 The invention described in claim 4 is the combine described in claim 3, characterized in that the control device (200) rotates the discharge device (8) when it reaches the dischargeable area (EA) and engages the discharge clutch above the collection container (201) to discharge the grains, and when the discharge clutch is turned on and the discharge device (8) is extended or retracted, the discharge clutch can be manually turned on and off.

請求項5記載の発明は、前記制御装置(200)は、排出クラッチを接続してから所定時間が経過するごとに前記排出装置(8)を時計回り方向または反時計回り方向に交互に回動させる構成としたことを特徴とする請求項4に記載のコンバインである。 The invention described in claim 5 is the combine described in claim 4, characterized in that the control device (200) is configured to rotate the discharge device (8) alternately in a clockwise direction or a counterclockwise direction each time a predetermined time has elapsed since the discharge clutch was connected.

請求項6記載の発明は、前記排出装置(8)は上下回動可能に構成し、該排出装置(8)の上下回動角度を検出する角度センサ(87)を設け、前記撮影装置(82)と測距装置(203)は、摺動アクチュエータ(85)により前後方向に摺動すると共に、傾動アクチュエータ(86)により上下回動する可動装置(84)に装着し、前記制御装置(200)は、前記角度センサ(87)の角度の変化に連動して前記摺動アクチュエータ(85)及び傾動アクチュエータ(86)を作動させ、可動装置(84)の摺動及び回動により前記撮影装置(82)と測距装置(203)の姿勢を変化させる構成としたことを特徴とする請求項2から5のいずれか1項に記載のコンバインである。 The invention described in claim 6 is a combine harvester according to any one of claims 2 to 5, characterized in that the discharge device (8) is configured to be rotatable up and down, an angle sensor (87) is provided to detect the angle of the up and down rotation of the discharge device (8), the photographing device (82) and the distance measuring device (203) are attached to a movable device (84) that slides forward and backward by a sliding actuator (85) and rotates up and down by a tilting actuator (86), and the control device (200) operates the sliding actuator (85) and the tilting actuator (86) in conjunction with the change in the angle of the angle sensor (87), and the attitude of the photographing device (82) and the distance measuring device (203) is changed by the sliding and rotating of the movable device (84).

請求項1記載の発明によれば、画像内の回収容器(201)に排出可能領域(EA)の仮想線を表示することにより、排出装置(8)のによる排出作業時に機体を移動させるべき位置がわかるので、操作の簡略化が図られると共に、排出位置が回収容器(201)からズレることが防止され、収穫量の減少が抑えられる。 According to the invention described in claim 1, by displaying a virtual line of the dischargeable area (EA) on the collection container (201) in the image, the position to which the machine should be moved during discharge operation by the discharge device (8) is known, which simplifies the operation and prevents the discharge position from shifting from the collection container (201), thereby suppressing a decrease in the harvest yield.

請求項2記載の発明によれば、請求項1に記載の発明の効果に加えて、排出可能領域(EA)を、実際よりも一定割合縮小して表示することにより、回収容器(201)を設置した圃場端に近付く際、道路の端部や畦際の縁石などから離れた位置で停止できるので、車体が接触で傷付くことを防止できる。 According to the invention described in claim 2, in addition to the effect of the invention described in claim 1, by displaying the dischargeable area (EA) at a fixed percentage smaller than the actual size, when approaching the edge of the field where the collection container (201) is installed, the vehicle can be stopped at a position away from the edge of the road or the curb at the edge of the field, thereby preventing the vehicle body from being damaged by contact.

請求項3記載の発明によれば、請求項1に記載の発明の効果に加えて、排出可能領域(EA)が取得され、且つ測距装置(203)により回収容器(201)までの距離が算出できる場合は自動走行が実行されることにより、作業者の操作工数が減少し、労力の軽減が図られる。 According to the invention described in claim 3, in addition to the effects of the invention described in claim 1, the dischargeable area (EA) is acquired, and when the distance to the collection container (201) can be calculated by the distance measuring device (203), automatic driving is performed, thereby reducing the number of operating steps by the worker and reducing the labor.

請求項4記載の発明によれば、請求項3に記載の発明の効果に加えて、自動走行及び自動排出作業の条件が整っても、排出装置(8)の伸縮操作が行われると排出クラッチの手動での入切が可能になるので、自動排出により移動した排出装置(8)の位置が実際には不適切であるときに排出作業を中断できるので、回収容器(201)の外に穀粒が零れ落ちることを防止できると共に、零れ落ちて穀粒が回収できず、収穫量が減少することを防止できる。 According to the invention described in claim 4, in addition to the effects of the invention described in claim 3, even if the conditions for automatic travel and automatic discharge are met, the discharge clutch can be manually turned on and off when the discharge device (8) is extended or retracted. This allows the discharge operation to be interrupted when the position of the discharge device (8) moved by automatic discharge is actually inappropriate, thereby preventing grains from spilling out of the collection container (201) and preventing grains from spilling out and becoming unrecoverable, resulting in a reduction in the harvest yield.

請求項5記載の発明によれば、請求項4に記載の発明の効果に加えて、自動排出中の排出装置(8)が所定間隔毎に回動することにより、回収容器(201)内に穀粒が偏って積み上がることを防止でき、回収容器(201)から穀粒が溢れ出したり、積み上がった穀粒が崩れて舞い上がり、回収容器(201)外に穀粒が出ていくことを防止できる。 According to the invention described in claim 5, in addition to the effect of the invention described in claim 4, by rotating the discharge device (8) at a predetermined interval during automatic discharge, it is possible to prevent uneven accumulation of grains in the collection container (201), and to prevent grains from spilling out of the collection container (201) or piled-up grains from collapsing and flying up, causing grains to escape from the collection container (201).

請求項6記載の発明によれば、請求項1から5のいずれか1項に記載の発明の効果に加えて、排出装置(8)の上下回動に連動して撮影装置(82)とい測距装置(203)を備える可動装置(84)の回動角度と前後摺動位置が変動することにより、排出装置(8)の角度によって撮影対象が明瞭に捕捉できなくなることを防止でき、自動走行及び自動排出を作動させやすくすることができる。 According to the invention described in claim 6, in addition to the effects of the invention described in any one of claims 1 to 5, the rotation angle and front-back sliding position of the movable device (84) equipped with the imaging device (82) and distance measuring device (203) change in conjunction with the up-down rotation of the discharge device (8), thereby preventing the subject from being unable to be clearly captured due to the angle of the discharge device (8), and making it easier to operate automatic travel and automatic discharge.

コンバインの左側面図Left side view of combine harvester コンバインの右側面図Right side view of combine harvester コンバインの平面図Top view of a combine harvester コンバインのキャビンの平断面図Cross-sectional view of a combine harvester's cabin コンバインのキャビンの右側断面図Right side cross section of the combine harvester cabin コンバインのキャビン要部の正断面図Cross-sectional view of the main part of the combine harvester's cabin コンバインのキャビン要部の右側断面図Right-side cross-sectional view of the main part of the combine harvester's cabin コンバインの温冷庫の作用説明用の断面図Cross-sectional view of a combine harvester's hot and cold storage unit to explain its function コンバインのキャビン要部の正断面図Cross-sectional view of the main part of the combine harvester's cabin コンバインのキャビンの底断面図Bottom cross-section of the combine harvester's cabin コンバインのキャビン要部の正断面図Cross-sectional view of the main part of the combine harvester's cabin コンバインのキャビン要部の右側断面図Right-side cross-sectional view of the main part of the combine harvester's cabin コンバインのキャビン要部の左側断面図Left side cross-sectional view of the main part of the combine harvester cabin (a)搬送チェーンの巻回域に送油ノズルを設けた要部側面図 (b)搬送チェーンのコマの要部背面図(a) A side view of a main part in which an oil supply nozzle is provided in the winding area of the conveyor chain; (b) A rear view of a main part of the conveyor chain link. 刈取刃のガード体を示す要部拡大図Enlarged view of the main part showing the guard body of the cutting blade 電動式の昇降ステップと、昇降操作機構を示す側面図A side view showing the electrically operated lifting step and the lifting operation mechanism. 電動式の昇降ステップを示す側面模式図Schematic side view showing an electrically operated step-up/down step 電動式の昇降ステップの操作具を示す拡大図Close-up of the operating mechanism for the powered step-up mechanism 左右サイドカメラとリアカメラを備えるコンバインの平面図Plan view of a combine with left and right side cameras and a rear camera 左右サイドカメラとリアカメラの撮影範囲を示す模式図Schematic diagram showing the shooting range of the left and right side cameras and the rear camera 排出オーガの回転域を示す大仮想円と小仮想円を示す模式図A schematic diagram showing a large imaginary circle and a small imaginary circle indicating the rotation range of the discharge auger CPUによる制御を行う部品を示すブロック図Block diagram showing components controlled by the CPU (a)ヘッドカメラ及び測距センサを覆うカメラカバーを閉じた状態を示す要部正面図 (b)ヘッドカメラ及び測距センサを覆うカメラカバーを開いた状態を示す要部正面図FIG. 1A is a front view of the main part showing a state in which a camera cover covering a head camera and a distance measuring sensor is closed; FIG. 1B is a front view of the main part showing a state in which a camera cover covering a head camera and a distance measuring sensor is open; (a)ヘッドカメラの撮影で回収容器を認識させる作業を示す模式図 (b)排出可能領域を画像に表示し、測距センサで回収容器までの移動距離を算出する作業を示す模式図 (c)排出可能領域への自動走行を開始し、到達後に自動排出作業を行う作業を示す模式図(a) A schematic diagram showing the process of recognizing a collection container by photographing with a head camera. (b) A schematic diagram showing the process of displaying an area where the container can be discharged on an image and calculating the travel distance to the collection container using a distance measuring sensor. (c) A schematic diagram showing the process of starting automatic travel to an area where the container can be discharged and performing automatic discharge work after arriving. (a)排出オーガを下方回動させた状態のヘッドカメラ及び測距センサの姿勢を示す要部側面図 (b)排出オーガを上方回動させた状態のヘッドカメラ及び測距センサの姿勢を示す要部側面図FIG. 1A is a side view of a main part showing the attitude of a head camera and a distance measuring sensor when the discharge auger is rotated downward; FIG. 1B is a side view of a main part showing the attitude of a head camera and a distance measuring sensor when the discharge auger is rotated upward;

以下、本発明の一実施形態である作業車両の一例であるコンバイン1について添付図面を参照して説明する。なお、理解を容易にするために、操縦者から見て、前方を前側、後方を後側、右手側を右側、左手側を左側として便宜的に方向を示して説明しているが、これらにより構成が限定されるものではない。 The following describes a combine harvester 1, which is an example of a work vehicle according to an embodiment of the present invention, with reference to the attached drawings. Note that to facilitate understanding, directions are conveniently indicated as the front side, the rear side, the right hand side, and the left hand side as seen by the operator, but the configuration is not limited to these.

<コンバインの全体構成>
図1~図3に示すように、コンバイン1は、車台2の下部側に土壌面を走行する左右一対の走行クローラ3を張設した走行装置4を配設すると共に、該車台2上の左右に、フィードチェン5に挟持して搬送供給される穀稈を脱穀選別処理する脱穀装置6と、その穀粒を一時貯留する貯留装置としてのグレンタンク7と、このグレンタンク7に貯留された穀粒を機外へ排出する排穀オーガ8を載置配設し、この脱穀装置6の後端部に排藁処理装置9を装架する。排穀オーガ8は、穀粒の排出時にオーガ昇降シリンダを作動して起伏する。
<Overall configuration of the combine>
1 to 3, the combine harvester 1 has a traveling device 4 on the lower side of a chassis 2, on which a pair of left and right traveling crawlers 3 are stretched, which travel on the soil surface, and on the left and right sides of the chassis 2, a threshing device 6 that threshes and sorts the stalks that are clamped and transported by a feed chain 5, a grain tank 7 as a storage device for temporarily storing the grains, and a grain discharging auger 8 that discharges the grains stored in the grain tank 7 to the outside of the machine, and a straw waste processing device 9 is mounted on the rear end of the threshing device 6. The grain discharging auger 8 is raised and lowered by operating an auger lifting cylinder when discharging grains.

脱穀装置6の前方に、前端側から未刈穀稈を分草する分草体11と、分草した穀稈を引き起こす引起部12と、引き起こした穀稈を刈り取る刈刃部13と、刈り取った穀稈を掻き込むと共に搬送途中において扱深さを調節して前記フィードチェン5へ引き継ぎを行う供給調節搬送部等を有する刈取装置15を、刈取昇降シリンダにより土壌面に対して昇降自在なるよう車台2の前端部へ懸架配設して構成する。 In front of the threshing device 6, a harvesting device 15 is suspended from the front end of the chassis 2 so that it can be raised and lowered freely relative to the soil surface by a harvesting lifting cylinder. The harvesting device 15 has a grass dividing body 11 that divides the uncut stalks from the front end, a raising section 12 that raises the divided stalks, a cutting blade section 13 that cuts the raised stalks, and a supply adjustment transport section that rakes in the harvested stalks and adjusts the handling depth during transport and transfers them to the feed chain 5.

前記刈取装置15の後側上部にコンバイン1の操作制御を行う操作装置と、操縦者が座る操作席21を設け、この操作席21の下方側にエンジン22を搭載し、後方側に前記グレンタンク7を配置すると共に、該操作装置と操作席21を覆うキャビン23を設け、これら走行装置4,脱穀装置6,刈取装置15,操作装置,エンジン22,キャビン23等をコンバインの車台2に装着する。 The upper rear part of the harvesting device 15 is provided with an operating device for controlling the operation of the combine harvester 1, and an operating seat 21 where the operator sits. An engine 22 is mounted below the operating seat 21, and the grain tank 7 is located at the rear. A cabin 23 is provided to cover the operating device and operating seat 21. The traveling device 4, threshing device 6, harvesting device 15, operating device, engine 22, cabin 23, etc. are mounted on the chassis 2 of the combine harvester.

なお、刈取装置15から脱穀装置6には、圃場から刈り取られた穀稈が複数箇所で搬送チェーン90により挟持されて搬送されるが、これら搬送チェーン90は定期的な潤滑油の注油が行われないと、搬送駆動による熱などで焼き付きが生じて動作が悪くなり、搬送制度が低下する問題がある。 The stalks harvested from the field are clamped at multiple points by conveyor chains 90 and transported from the harvesting device 15 to the threshing device 6. If these conveyor chains 90 are not lubricated regularly, they will seize due to heat generated by the conveyor drive, causing poor operation and reducing the accuracy of the conveyor.

この問題を解消すべく、図14(a)に示すとおり、搬送チェーン90の巻回域内で、且つ非搬送作用側に、搬送チェーン90との接触時にボールが回転して潤滑油を注油する、注油ノズル91を設けている。しかしながら、図14(b)に示すとおり、注油ノズル91が接触するのは、搬送チェーン90を構成するチェーンローラ92の外周部であり、本来重点的に供給が必要な一対のチェーンプレート93,93に設けられる、チェーンローラ92のピン部92a付近には潤滑油が届きにくい問題がある。 To solve this problem, as shown in Figure 14(a), an oil nozzle 91 is provided within the winding area of the conveying chain 90, on the non-conveying side, and the ball rotates when it comes into contact with the conveying chain 90 to dispense lubricating oil. However, as shown in Figure 14(b), the oil nozzle 91 comes into contact with the outer periphery of the chain roller 92 that constitutes the conveying chain 90, and there is a problem that the lubricating oil does not easily reach the vicinity of the pin portion 92a of the chain roller 92, which is provided on a pair of chain plates 93, 93 and where the lubricating oil is primarily required.

この問題を解消すべく、注油ノズル91から放出される潤滑油を貯留し、搬送チェーン90に接触する際、微細な末端部分がチェーンローラ92のピン部92aに接触して潤滑油を供給する、給油繊維体94を、搬送チェーン90の巻回域内で、且つ非搬送作用側に配置する。 To solve this problem, an oil supply fiber body 94 is placed within the winding area of the conveying chain 90 on the non-conveying side. The oil supply fiber body 94 stores the lubricating oil discharged from the oil supply nozzle 91, and when it comes into contact with the conveying chain 90, its fine end portion comes into contact with the pin portion 92a of the chain roller 92 to supply the lubricating oil.

なお、給油繊維体94は、潤滑油を多く含有できる、合成繊維を綿状にしたナノファイバーを用いて構成することが望ましい。 It is preferable that the oil-supplying fiber body 94 be made of nanofibers, which are synthetic fibers made into a cotton-like material and can contain a large amount of lubricating oil.

なお、使用期間が長くなると吸着している潤滑油も劣化するので、給油繊維体94は専用のホルダ95に挟み込む等して着脱可能とし、交換が簡単に行えるものとするとよい。 In addition, since the adsorbed lubricating oil will deteriorate over time, it is advisable to make the oil supply fiber body 94 removable by clamping it in a special holder 95, for example, so that it can be easily replaced.

また、キャビン23内に設けたモニタ35には、満杯センサがグレンタンク7内に穀粒が満杯になったことを検出するとグレンタンク満杯の警報や燃料切れセンサが燃料タンク内の燃料が残り少なくなったことを検出すると燃料切れの警報や制御装置からの各種支持事項等が表示される。 The monitor 35 installed in the cabin 23 also displays a grain tank full alarm when the full sensor detects that the grain tank 7 is full of grain, a fuel low alarm when the fuel low sensor detects that there is little fuel remaining in the fuel tank, and various other support messages from the control device.

操作装置は、操作席21に着座した操縦者による前後操作により前後進及び停止の切換えと主変速切換えを行う変速アクチュエータを作動させる主変速レバーと、左右側への傾倒操作により左右走行クローラ3,3の左右サイドクラッチ及び左右サイドブレーキを操作する左右走行アクチュエータを作動させて直進時の左右操向及び各種旋回モードによる旋回を行わせ、前後方向の操作で刈取昇降シリンダを作動させて刈取装置15を昇降させる操向レバーと、刈脱クラッチアクチュエータを作動させて刈取装置15と脱穀装置6の駆動を入り切りする刈脱レバーと、排穀オーガ8先端部の排出口8aの位置をオーガ昇降シリンダの作動にて上下方向に移動し、左右旋回用アクチュエータの作動にて左右方向に移動させるオーガ操作レバーと、排穀オーガ8の駆動を入り切りするオーガ駆動電磁クラッチを作動させてグレンタンク7内の穀粒を排出口8aから機外に排出させるオーガ駆動切換えレバー等の各種操作具を備える。 The operating device is equipped with various operating tools such as a main speed change lever that operates a speed change actuator that switches between forward/reverse travel and stopping and switches the main speed change when operated forward/reverse by an operator seated in the operating seat 21, a left/right traveling actuator that operates the left/right side clutches and left/right side brakes of the left/right traveling crawlers 3, 3 when tilted left/right to perform left/right steering when traveling straight and turning in various turning modes, a steering lever that operates the harvesting lifting cylinder when operated forward/backward to raise/lower the harvesting device 15, a harvesting/removal lever that operates the harvesting/removal clutch actuator to turn the harvesting device 15 and the threshing device 6 on and off, an auger operating lever that moves the position of the discharge port 8a at the tip of the threshing auger 8 up and down by operating the auger lifting cylinder and moves it left and right by operating the left/right turning actuator, and an auger drive switching lever that operates the auger drive electromagnetic clutch that turns the drive of the threshing auger 8 on and off to discharge the grains in the grain tank 7 from the discharge port 8a to the outside of the machine.

図2や図15に示すとおり、前記刈取装置15は、左右方向を長手方向とする鋸刃状の刈刃部13を、伝動機構(図示省略)または刈取刃モータ157によって左右方向に往復移動する摺動ロッド151に装着し、刈刃部13の左右往復摺動により穀稈の生え際側を切断する構成である。 As shown in Figures 2 and 15, the harvesting device 15 has a saw-like cutting blade 13 with the longitudinal direction in the left-right direction attached to a sliding rod 151 that reciprocates left-right by a transmission mechanism (not shown) or a harvesting blade motor 157, and is configured to cut the stalks at the base by the left-right reciprocating sliding of the cutting blade 13.

この刈刃部13は、非作業時に硬い地面に接触し続けていると、刈取装置15の荷重により刃先が屈曲し、切断力が低下し得る。これを防止すべく、圃場への移動時や倉庫への格納時には、刈刃部13の前方及び上下をほぼ完全に覆う刈取刃カバー152を装着し、地面には多少変形しても問題の無いこの刈取カバー152を接触させておく。なお、刈取部カバー152の接地部分は、円弧状または円筒状の部材を設けておき、荷重を分散させて変形しにくく、且つ接地状態を保ちやすいものとするとよい。 If the cutting blade 13 continues to contact hard ground when not in use, the load of the cutting device 15 can cause the cutting edge to bend, reducing the cutting power. To prevent this, when moving to a field or storing in a warehouse, a cutting blade cover 152 is attached, which almost completely covers the front, top and bottom of the cutting blade 13, and this cutting cover 152, which can deform slightly without causing any problems, is kept in contact with the ground. The part of the cutting cover 152 that comes into contact with the ground should be made of an arc-shaped or cylindrical member, which distributes the load and makes it less likely to deform, while also making it easier to maintain contact with the ground.

刈刃部13は刈取刃カバー152により厳重に保護されているが、摺動ロッド151については、機体側部に金属板が設けられているだけであり、こちらは縁石等に接触して金属板が変形すると、この金属板が接触して結局破損してしまうことがあった。 The cutting blade 13 is well protected by the cutting blade cover 152, but the sliding rod 151 is simply a metal plate attached to the side of the machine body, and if the metal plate comes into contact with a curb or the like and deforms, the metal plate may come into contact with the curb and end up being damaged.

摺動ロッド151の破損を防止すべく、刈取装置15の左右両端の下部に設ける刈取ガードパイプ153に、刈取カバー152の左右両外側や摺動ロッド
151よりも機体外側で機体後側に向かって飛び出す、延長ガードパイプ154を差し込んで設ける。
In order to prevent damage to the sliding rod 151, extension guard pipes 154 are inserted into the cutting guard pipes 153 provided at the bottom of both the left and right ends of the cutting device 15, and extend toward the rear of the machine body outside the left and right sides of the cutting cover 152 and the machine body outside the sliding rod 151.

この延長ガードパイプ154と刈取ガードパイプ153の取付部分には、機体上側に突出する連結ステー153a、154aを各々設け、各々の上方突出部には、ボルト等の固定部材155…を双方に貫通させてナット等を締め込むことにより、強固に連結される構成とする。 The attachment parts of the extension guard pipe 154 and the cutting guard pipe 153 are provided with connecting stays 153a, 154a that protrude upward from the machine body, and the upper protrusions of each are fitted with fixing members 155 such as bolts that pass through both pipes and are then tightened with nuts, etc., to provide a strong connection.

さらに、延長ガードパイプ154の基部と端部の間には、該延長ガードパイプ154よりも機体外側で且つ機体上側に向かって突出するサブガードパイプ156を溶接して設ける。 Furthermore, a sub-guard pipe 156 is welded between the base and end of the extension guard pipe 154, protruding further outward from the extension guard pipe 154 and toward the upper side of the aircraft.

これにより、刈取装置15が障害物に接触しても、まずサブガードパイプ156に接触し、サブガードパイプ156が凹んだり屈曲したりするものの、延長ガードパイプ154への接触が防止され、さらには摺動ロッド151の破損が防止され、刈取装置15の刈刃部13への駆動が伝動されなくなり、刈れるはずの穀稈が圃場に残されることが防止される。 As a result, even if the harvesting device 15 comes into contact with an obstacle, it first comes into contact with the sub-guard pipe 156, which may become dented or bent, but the harvesting device 15 is prevented from coming into contact with the extension guard pipe 154, and furthermore, damage to the sliding rod 151 is prevented, so that the drive force is not transmitted to the cutting blade section 13 of the harvesting device 15, and stalks that should have been harvested are prevented from being left behind in the field.

また、双方の連結ステー153a,154a同士を合わせて固定部材155で連結したことにより、障害物との接触で側方から押される力がかかる際、延長ガードパイプ154が回転して刈取ガードパイプ153から外れてしまうことを防止できる。 In addition, by fitting the two connecting stays 153a, 154a together and connecting them with the fixing member 155, it is possible to prevent the extension guard pipe 154 from rotating and coming off the cutting guard pipe 153 when a lateral pushing force is applied due to contact with an obstacle.

これにより、障害物が摺動ロッド151に接触しにくくなるので、摺動ロッド151の故障により作業が中断されることがなく、作業能率が向上する。 This makes it difficult for obstacles to come into contact with the sliding rod 151, so work is not interrupted due to a malfunction of the sliding rod 151, improving work efficiency.

また、外れた延長ガードパイプ154を走行クローラ3で踏むこといので、走行クローラ3が破損、あるいは脱落することが防止される。 In addition, the traveling crawler 3 will not step on the detached extension guard pipe 154, preventing the traveling crawler 3 from being damaged or falling off.

なお、延長ガードパイプ154側の連結ステー154aは、固定部材155が通過可能な穴を円弧状に拡げたものとし、延長ガードパイプ154を回転させることで、サブガードパイプ156の機体外側への突出量、及び外側端部の上下高さを変更可能な構成としてもよい。 The connecting stay 154a on the extension guard pipe 154 side may have a hole that is widened in an arc shape so that the fixing member 155 can pass through, and the amount of protrusion of the sub-guard pipe 156 outward from the aircraft and the vertical height of the outer end may be changed by rotating the extension guard pipe 154.

<キャビン23>
図1~図3に示すように、キャビン23は、車台2に基部が固定されたキャビンフレーム24の上部にキャビンルーフ25を設けて箱状に構成し、右側面に右ガラス窓26aを設けた前側が開閉するドア26、左側面に左ガラス窓27,前側面にフロントガラス窓28及び後側面にリヤガラス窓29を装備する。
<Cabin 23>
As shown in Figures 1 to 3, the cabin 23 is configured in a box shape with a cabin roof 25 provided on the upper part of a cabin frame 24 whose base is fixed to the chassis 2, and is equipped with a door 26 that opens and closes at the front and has a right glass window 26a on the right side, a left glass window 27 on the left side, a windshield window 28 on the front side, and a rear glass window 29 on the rear side.

図4~図7に示すように、キャビン23内の上部左側の前後中央位置にエアコンユニット30を設け、該エアコンユニット30の後方に位置情報取得装置としてのGNSSユニット31及びペットボトル30a,30bや缶ボトル等を保冷及び保温する保存庫としての温冷庫32を設けている。 As shown in Figures 4 to 7, an air conditioning unit 30 is provided in the upper left central position in the front-to-rear direction inside the cabin 23, and a GNSS unit 31 as a location information acquisition device and a hot/cold storage unit 32 as a storage unit for keeping PET bottles 30a, 30b, canned bottles, etc., cold and hot are provided behind the air conditioning unit 30.

GNSSユニット31は、エアコンユニット30の左右幅内に配置され、温冷庫32は左側部がエアコンユニット30の右側部とオーバーラップする位置に配置されている。 The GNSS unit 31 is positioned within the left-right width of the air conditioning unit 30, and the hot/cold storage unit 32 is positioned so that its left side overlaps with the right side of the air conditioning unit 30.

また、GNSSユニット31を温冷庫32の前後幅内に配置することにより、キャビン23後方に突出することなく配置できる。 In addition, by locating the GNSS unit 31 within the front-to-rear width of the hot/cold storage unit 32, it can be positioned without protruding beyond the rear of the cabin 23.

従って、キャビン23内の上部左側空間にエアコンユニット30、GNSSユニット31及び温冷庫32をコンパクトに配置することができる。 As a result, the air conditioning unit 30, GNSS unit 31, and hot/cold storage 32 can be compactly arranged in the upper left space inside the cabin 23.

また、エアコンユニット30後方のデッドスペースを活用してGNSSユニット31及び温冷庫32を配置し、エアコンユニット30と温冷庫32を左右方向で重なる位置に配置したので、キャビン23内の空間を有効活用することができ、キャビン23内の居住空間に大きく張り出すことやキャビン23外に張り出すことが防止できる。 In addition, the GNSS unit 31 and the hot/cold storage unit 32 are positioned by utilizing the dead space behind the air conditioning unit 30, and the air conditioning unit 30 and the hot/cold storage unit 32 are positioned so that they overlap in the left-right direction, making it possible to effectively utilize the space within the cabin 23 and preventing the unit from protruding significantly into the living space within the cabin 23 or protruding outside the cabin 23.

また、GNSSユニット31をキャビン23内に設けることにより、外観が良くなる。 In addition, by installing the GNSS unit 31 inside the cabin 23, the appearance is improved.

GNSSユニット31の下面は、温冷庫32の下面よりも高い位置になるように構成され、後方視界を良くしている。 The underside of the GNSS unit 31 is configured to be higher than the underside of the hot/cold storage unit 32, improving rear visibility.

GNSSユニット31は、操作席21左端よりも左側方にはみ出して配置しており、室内空間を広く確保している。 The GNSS unit 31 is positioned to the left of the left end of the operator's seat 21, ensuring a spacious interior space.

エアコンユニット30の右側面前側からキャビン23内上部を前方に向けてフロントダクト33Fを延設してエアコンユニット30の前方で左側に張り出すように湾曲(迂回)させた後に、キャビン23内前部を左側から右側に向けて延設し、更に、キャビン23内右側を後方に向けて操作席21右側に至るまで延設している。 The front duct 33F extends from the front right side of the air conditioning unit 30 toward the front of the upper part of the cabin 23, curves (detouring) so that it juts out to the left in front of the air conditioning unit 30, then extends from the left side to the right side of the front part of the cabin 23, and further extends backward on the right side of the cabin 23 all the way to the right side of the operator's seat 21.

そして、フロントダクト33Fには、キャビン23内前部に左右前エア吹き出し口34a,34bを設け、更に、キャビン23内右部に側部エア吹き出し口としての前後右エア吹き出し口34c,34dを設けている。 The front duct 33F has left and right front air outlets 34a, 34b at the front of the cabin 23, and front and rear right air outlets 34c, 34d at the right of the cabin 23 as side air outlets.

なお、キャビン23内前部に設けた左右前エア吹き出し口34a,34bは、下方に向けて空調エアを噴出する構成としており、フロントガラス窓28の曇り防止機能(デフロスター)を兼用させている。 In addition, the left and right front air outlets 34a, 34b located at the front of the cabin 23 are configured to blow conditioned air downward and also serve to prevent fogging of the windshield window 28 (defroster).

そして、フロントダクト33F前左部を湾曲(迂回)させてキャビン23の室内空間を広くした部位には、モニタ35を配置している。 The monitor 35 is located in the area where the front left part of the front duct 33F is curved (detouring) to make the interior space of the cabin 23 larger.

モニタ35は、内装パネル36の室内側面に食い込むような状態で取り付けられ、あたかも内装パネル36に埋め込まれたように一体感があって外観が良い。 The monitor 35 is attached so that it is embedded into the interior side of the interior panel 36, creating a sense of unity and a good appearance, as if it were embedded in the interior panel 36.

また、モニタ35は、内装パネル36の下面よりも上方に配置し、光の映り込みを防止し、前部左右中央位置に設けたバックミラー(バックモニタでも良い)37の左側にあり、操作席21に着座した操縦者が見やすい。 The monitor 35 is also positioned above the underside of the interior panel 36 to prevent light reflections, and is located to the left of the rearview mirror (or rearview monitor) 37 located in the center of the front left and right, making it easy for the operator seated in the operator's seat 21 to see.

また、エアコンユニット30の右側面後側からキャビン23内上部を二股状に前方及び後方に向けてリヤダクト33Rを延設して、前方に向けて延設したリヤダクト33Rが操作席21左側に至った部位に側部エア吹き出し口としての左前エア吹き出し口34eを設け、後方に向けて延設した端部を温冷庫32内の上部に開口して、温冷庫32内に空調エアを噴出すると共に、その開閉ドア32aに後エア吹き出し口としての左後エア吹き出し口34fを設けて操作席21後側に空調エアを吹き出して操縦者の背中側を空調できるようにしている。 In addition, a rear duct 33R is extended from the rear right side of the air conditioning unit 30 in a bifurcated manner toward the front and rear of the upper part of the cabin 23, and a left front air outlet 34e is provided as a side air outlet at the part where the forward-extending rear duct 33R reaches the left side of the operator's seat 21, and the end extended toward the rear opens at the top of the hot/cold storage 32 to blow conditioned air into the hot/cold storage 32, and a left rear air outlet 34f is provided as a rear air outlet on the opening door 32a, so that conditioned air can be blown out to the rear of the operator's seat 21 to condition the back of the pilot.

そして、エアコンユニット30の右側面前側に接続されているフロントダクト33F基部のフロント吸入口33Faは、エアコンユニット30の右側面後側に接続されているリヤダクト33R基部のリヤ吸入口33Raよりも広くなっている。 The front intake port 33Fa at the base of the front duct 33F, which is connected to the front side of the right side of the air conditioning unit 30, is wider than the rear intake port 33Ra at the base of the rear duct 33R, which is connected to the rear side of the right side of the air conditioning unit 30.

従って、フロントダクト33Fは、4つの左右前エア吹き出し口34a,34b及び前後右エア吹き出し口34c,34dが設けられたキャビン23内を左部から前部を経由して右部に至る長いダクトであるが、エアコンユニット30から広いフロント吸入口33Faにて十分な空調エアの風量を確保できて、良好な空調が行なえる。 Therefore, the front duct 33F is a long duct that runs from the left to the right through the front inside the cabin 23, where the four left and right front air outlets 34a, 34b and the front and rear right air outlets 34c, 34d are provided, but a sufficient volume of conditioned air can be secured from the air conditioning unit 30 through the wide front intake 33Fa, allowing for good air conditioning.

また、リヤダクト33Rは、エアコンユニット30の近くにある左前エア吹き出し口34e及び温冷庫32を経由した左後エア吹き出し口34fから空調エアを噴出する比較的に短い経路なので、エアコンユニット30から狭いリヤ吸入口33Raを介してでも十分な空調効果が得られる。 In addition, the rear duct 33R has a relatively short path for blowing out conditioned air from the left front air outlet 34e near the air conditioning unit 30 and the left rear air outlet 34f via the hot/cold storage unit 32, so a sufficient air conditioning effect can be obtained even from the air conditioning unit 30 through the narrow rear intake 33Ra.

また、エアコンユニット30からリヤダクト33Rにて温冷庫32に空調エアを送風し、温冷庫32内に新鮮な空調エアを噴出した後に左後エア吹き出し口34fから噴き出す経路としたので、常に新鮮な空調エアにて温冷庫32内を冷やしたり温めたりすることができる。 In addition, conditioned air is blown from the air conditioning unit 30 to the hot/cold storage 32 through the rear duct 33R, and fresh conditioned air is blown into the hot/cold storage 32 before being blown out from the left rear air outlet 34f, so the inside of the hot/cold storage 32 can always be cooled or heated with fresh conditioned air.

また、エアコンユニット30からリヤダクト33Rにて温冷庫32内の上方位置に空調エアを噴出させて下方の左後エア吹き出し口34fからキャビン23内に噴き出す経路としたので、温冷庫32の冷却効率や加熱効率が良い。 In addition, conditioned air is blown from the air conditioning unit 30 through the rear duct 33R to an upper position inside the hot/cold storage unit 32 and then blown out from the lower left rear air outlet 34f into the cabin 23, so the cooling and heating efficiency of the hot/cold storage unit 32 is excellent.

また、温冷庫32の開閉ドア32aに左後エア吹き出し口34fを設けたので、吹き出し口のスペースを別に設けることなく配置できて簡潔で安価な構成となる。 In addition, the left rear air outlet 34f is provided on the door 32a of the hot/cold storage unit 32, so it can be placed without having to provide additional space for the outlet, resulting in a simple and inexpensive configuration.

なお、フロントダクト33Fとリヤダクト33Rは、合成樹脂で一体形成してあり、フロントとリヤに分けたダクトであるが一体形成することにより部品点数を増加することなく製造コストの削減が行なえる。 The front duct 33F and rear duct 33R are integrally formed from synthetic resin, and although they are separate front and rear ducts, by forming them as one unit, manufacturing costs can be reduced without increasing the number of parts.

温冷庫32の下面は、エアコンユニット30の下面よりも上方に配置され、キャビン23内の空間を広く確保できる。 The underside of the hot/cold storage unit 32 is positioned higher than the underside of the air conditioning unit 30, ensuring a large space inside the cabin 23.

温冷庫32は、キャビン23内左後上部に配置されており、操作席21に着座した操縦者の前方視界を妨げない。 The hot/cold storage unit 32 is located in the upper left rear of the cabin 23 and does not obstruct the forward visibility of the pilot seated in the operator's seat 21.

温冷庫32は、操作席21よりも後方に配置されている。従って、温冷庫32内のペットボトル30a,30b等が落下しても操作席21に着座している操縦者に当たらない。 The hot/cold storage 32 is located behind the operator's seat 21. Therefore, even if the plastic bottles 30a, 30b, etc. inside the hot/cold storage 32 fall, they will not hit the operator sitting in the operator's seat 21.

温冷庫32は、その前面と操作席21の背凭れが一致する付近に配置されている。従って、温冷庫32が操縦席である操作席21から遠く離れていないので使いやすい。 The hot/cold storage unit 32 is located near the backrest of the operator's seat 21. Therefore, the hot/cold storage unit 32 is not far from the operator's seat 21, which is the pilot's seat, making it easy to use.

温冷庫32の開閉ドア32aは、下端部に前後方向の枢支軸を設けて上部が手前下方に向けて開く構成としており、内部に入れているペットボトル30a,30b等が開閉ドア32aを開けても転げ出ない。なお、開閉ドア32a上部には、外から操作できるフック32bが設けられており、閉じた状態を保持する。 The door 32a of the hot/cold storage 32 has a pivot shaft in the front-to-rear direction at the bottom end, and the top opens downward toward the front, so that the plastic bottles 30a, 30b, etc. placed inside will not fall out even if the door 32a is opened. In addition, a hook 32b that can be operated from the outside is provided at the top of the door 32a to keep it closed.

温冷庫32の下側にエアコンユニット30のホース30c類を配策し、温冷庫32下側のスペースを有効活用している。 Hoses 30c of the air conditioning unit 30 are routed underneath the hot/cold storage unit 32, making effective use of the space underneath the hot/cold storage unit 32.

左ガラス窓27の後方に配設した左後方ガラス窓27aは、温冷庫32下面位置まで設けてあり、左後方視界を良くしている。 The rear left glass window 27a, located behind the left glass window 27, extends to the bottom of the hot/cold storage unit 32, improving visibility to the rear left.

図8に示すように、温冷庫32は、500mlのペットボトル30aなら横にして2本収容でき、350mlのペットボトル30bなら縦にして3本収容できる。 As shown in FIG. 8, the hot/cold storage 32 can accommodate two 500 ml PET bottles 30a horizontally, or three 350 ml PET bottles 30b vertically.

図9に示すように、温冷庫32は、500mlのペットボトル30aを横にして収納した際に転がるのを防止する凹部32cを内部底面に設けている。 As shown in FIG. 9, the hot/cold storage 32 has a recess 32c on the inside bottom surface to prevent a 500 ml plastic bottle 30a from rolling when stored horizontally.

温冷庫32の上面とキャビンルーフ25の間には、空間25aが設けられており、キャビンルーフ25の温度が直接温冷庫32に伝熱しないように構成されている。 A space 25a is provided between the top surface of the hot/cold storage unit 32 and the cabin roof 25, so that the temperature of the cabin roof 25 is not directly transferred to the hot/cold storage unit 32.

また、図10に示すように、モニタ35は、その取付け部35aの基部が内装パネル36下面に設けたモニタ取付用ホール35bに取付けられ、外観が奇麗である。 As shown in FIG. 10, the base of the mounting portion 35a of the monitor 35 is attached to a monitor mounting hole 35b provided on the underside of the interior panel 36, giving the monitor 35 a neat appearance.

温冷庫32は、その底面部が内装パネル36下面に設けた保冷庫取付ホール32dに取付けられ、外観が奇麗である。 The bottom of the hot/cold storage unit 32 is attached to the cold storage unit mounting hole 32d provided on the underside of the interior panel 36, giving it a neat appearance.

なお、上記実施形態では保存庫として温冷庫32の例を示したが、エアコンユニット30からの冷風にて機能する保冷庫としても良く、また、エアコンユニット30からの温風にて機能する保温庫としても良い。 In the above embodiment, an example of a hot/cold storage unit 32 is shown as a storage unit, but it may be a cold storage unit that operates using cold air from the air conditioning unit 30, or a warm storage unit that operates using hot air from the air conditioning unit 30.

以上要するに、キャビン23上部にエアコンユニット30、フロントダクト33F、リヤダクト33R及び複数のエア吹き出し口34a,34b,34c,34d,34e,34fを設けたので、キャビン23内の居住空間を広く確保できる。 In summary, the air conditioning unit 30, front duct 33F, rear duct 33R, and multiple air outlets 34a, 34b, 34c, 34d, 34e, and 34f are provided at the top of the cabin 23, ensuring a large living space inside the cabin 23.

また、送風距離が長いフロントダクト33Fのフロント吸入口33Faを送風距離の短いリヤダクト33Rのリヤ吸入口33Raよりも広くすることにより、エアコンユニット30からキャビン23内周囲の複数のエア吹き出し口34a,34b,34c,34d,34e,34fに均等に空調エアを送ることができ、キャビン23内の温度をできるだけ均一に変化させることができ、作業しやすい環境を実現できる。 In addition, by making the front intake 33Fa of the front duct 33F, which has a long air blowing distance, wider than the rear intake 33Ra of the rear duct 33R, which has a short air blowing distance, conditioned air can be sent evenly from the air conditioning unit 30 to the multiple air outlets 34a, 34b, 34c, 34d, 34e, and 34f around the inside of the cabin 23, making it possible to change the temperature inside the cabin 23 as evenly as possible and creating an environment that is easy to work in.

また、リヤダクト33Rにてペットボトル30a,30bや缶ボトル等を保冷または保温する温冷庫32に空調エアを案内し、温冷庫32に後エア吹き出し口34fを設けたので、空調エアの案内経路を活用して温冷庫32を配置ができキャビン23内の居住空間を広く確保できる。 In addition, the rear duct 33R guides the conditioned air to the hot/cold storage 32 that keeps PET bottles 30a, 30b and canned bottles cool or warm, and the hot/cold storage 32 is provided with a rear air outlet 34f, so the hot/cold storage 32 can be positioned using the conditioned air guide path, ensuring a large living space inside the cabin 23.

また、温冷庫32がキャビン23の後部側に配置され、その底部がエアコンユニット30の底部よりも上方に位置するので、キャビン23内の居住空間を広く確保できる。 In addition, the hot/cold storage 32 is located at the rear of the cabin 23, and its bottom is positioned higher than the bottom of the air conditioning unit 30, ensuring a large living space inside the cabin 23.

また、開閉ドア32aに後エア吹き出し口34fを設けたので、空調装置をさらに省スペース化することができる。 In addition, a rear air outlet 34f is provided on the opening and closing door 32a, which further reduces the space required for the air conditioning unit.

また、温冷庫32の開閉ドア32aが下部に設けた枢支軸にて上側が手前下方に向けて開く構成とし、温冷庫32及び後エア吹き出し口34fが操作席21よりも後側に位置するので、操作席21の後方に空調エアを送ることができ、キャビン23の快適性が向上し、開閉ドア32aが意図せず開いて内部のペットボトル30a,30b等が落下しても、操作席21に着座した操縦者に当たり難い配置で、安全性が確保される。 In addition, the door 32a of the hot/cold storage 32 is configured to open downwards toward the front on a pivot shaft provided at the bottom, and the hot/cold storage 32 and the rear air outlet 34f are located behind the operator's seat 21, so that conditioned air can be sent to the rear of the operator's seat 21, improving the comfort of the cabin 23. Even if the door 32a opens unintentionally and the plastic bottles 30a, 30b, etc. inside fall out, they are positioned so that they are unlikely to hit the operator seated in the operator's seat 21, ensuring safety.

また、キャビン23の上部空間を活かしてエアコンユニット30、リヤダクト33R、温冷庫32及び位置情報取得装置31をコンパクトに配置することできてキャビン23内の居住空間を広く確保できる。 In addition, the air conditioning unit 30, rear duct 33R, hot/cold storage 32, and location information acquisition device 31 can be arranged compactly by utilizing the upper space of the cabin 23, ensuring a spacious living space inside the cabin 23.

また、フロントダクト33Fを湾曲させてキャビン23の室内空間を広くした部位にモニタ35を配置したので、キャビン23の居住空間を広く確保できると共に、視認しやすい箇所にモニタ35を配置することができて能率の良い作業が可能になる。 In addition, the monitor 35 is placed in a location where the front duct 33F is curved to enlarge the interior space of the cabin 23, ensuring a large living space in the cabin 23 and allowing the monitor 35 to be placed in a location where it is easily visible, enabling efficient work.

また、フロントガラス窓28上部に位置する前エア吹き出し口34a,34bがフロントガラス窓28下方に向けて空調エアを吹き出すので、フロントガラス窓28の曇り防止機能(デフロスター)を兼用させて視認性の低下を防止できる。 In addition, the front air outlets 34a, 34b located at the top of the windshield window 28 blow conditioned air toward the bottom of the windshield window 28, which also serves as an anti-fogging function (defroster) for the windshield window 28, preventing a decrease in visibility.

図11~図13に示すように、フロントガラス窓28外面上部には、ワイパー40が装備されている。 As shown in Figures 11 to 13, a wiper 40 is installed on the upper outer surface of the windshield window 28.

キャビンルーフ25は、キャビン23前部のフロントガラス窓28よりも前方に突出している。 The cabin roof 25 protrudes forward beyond the windshield window 28 at the front of the cabin 23.

ワイパー40は、キャビンルーフ25の前部突出部に固定されたオフセットプレート39に基部が回動自在に支持された一般的な構成で、非作動時にはキャビンルーフ25の前部突出部下面内に水平な姿勢で停止して収納される。 The wiper 40 has a typical structure in which its base is supported so as to be freely rotatable on an offset plate 39 fixed to the front protrusion of the cabin roof 25, and when not in operation, it is stored in a horizontal position beneath the front protrusion of the cabin roof 25.

従って、キャビンルーフ25の前部突出部下面内にワイパー40が非作動時に収納されるので、前方視認性の向上が図れる。 As a result, the wiper 40 is stored under the front protrusion of the cabin roof 25 when not in operation, improving forward visibility.

キャビンルーフ25前端部内方には、ワイパー40を駆動するワイパーモータ41が設けられており、ワイパーモータ41の駆動軸41aがオフセットプレート39を貫通して設けられ、ワイパー40の回動リンク機構を作動させてワイパー40が水平な非作動位置と下方垂直方向に向く位置に往復回動してフロントガラス窓28外面に付着した水滴や汚れ等を拭き落とす。 A wiper motor 41 that drives the wiper 40 is provided inside the front end of the cabin roof 25. The drive shaft 41a of the wiper motor 41 passes through the offset plate 39, and by operating the rotary link mechanism of the wiper 40, the wiper 40 rotates back and forth between a horizontal inoperative position and a position facing vertically downward, wiping off water droplets and dirt adhering to the outer surface of the windshield window 28.

オフセットプレート39の左右中央部には、ウォッシャーノズル42が設けられており、操作装置の操作にてウォッシャーポンプが作動してフロントガラス窓28外面に洗浄水を噴射する。 A washer nozzle 42 is provided in the center of the left and right of the offset plate 39, and the washer pump is activated by operating the operating device to spray cleaning water onto the outer surface of the windshield window 28.

上記のキャビン23は、構造上上下方向に長く、また視認性を確保すべく高所に配置されるものであるので、乗り降り用のステップの上下長さを長く確保する必要がある。したがって、乗り降り時の移動に余分な時間と労力を費やす必要があると共に、高所で足を踏み外すとその分怪我等のリスクが増すという問題がある。 The cabin 23 is structurally long in the vertical direction and is placed at a high position to ensure visibility, so the steps for getting on and off must be long in both vertical length and height. This means that extra time and effort must be spent moving around when getting on and off, and there is also the problem that if someone trips at a high position, the risk of injury increases accordingly.

この問題に対応すべく、図16から図18に示すとおり、キャビン23のドア26の下部に、上下位置を変更自在な乗降ステップ161を備える、ステップ昇降機構160を設ける。なお、ステップ昇降機構160は、ドア26の下方で機体内側に凹む凹部内にはめ込むように配置し、乗降ステップ161の機体外側部を凹部162から5~10cmほどはみ出させる配置構成とすると、作業者が足をかけやすく、且つこの乗降ステップ161の奥の方につま先側を臨ませることで、乗降中の作業者が乗降ステップ161を踏み外して落下しにくい構成とすることができる。 To address this issue, as shown in Figures 16 to 18, a step lift mechanism 160 is provided at the bottom of the door 26 of the cabin 23, which has a boarding/alighting step 161 whose vertical position can be freely changed. The step lift mechanism 160 is arranged so that it fits into a recess that is recessed into the inside of the aircraft body below the door 26, and the outer side of the boarding/alighting step 161 extends 5 to 10 cm beyond the recess 162, making it easy for workers to place their feet on it, and by having the toes facing the back of the boarding/alighting step 161, it is possible to create a configuration in which workers are less likely to step off the boarding/alighting step 161 and fall while boarding or alighting.

前記ステップ昇降機構160は、図17に示すとおり、機体外側に開口部を形成した、上下方向に長い直方体である昇降ケース162内に、一側端部に乗降ステップ161を装着した昇降ワイヤ163を巻回させる滑車プーリ164と、該滑車プーリ164よりも機体下方で昇降ワイヤ163を巻き取る、もしくは回し出すウィンチ165を設けると共に、該ウィンチ165を正転または逆転方向に回転させる昇降モータ166を設けて構成する。 As shown in FIG. 17, the step lifting mechanism 160 is configured by providing a pulley 164 for winding a lifting wire 163 having a boarding step 161 attached to one end thereof inside a lifting case 162, which is a vertically long rectangular parallelepiped with an opening formed on the outside of the machine body, a winch 165 for winding or rotating the lifting wire 163 below the pulley 164, and a lifting motor 166 for rotating the winch 165 in the forward or reverse direction.

なお、乗降ステップ161の上下位置にかかわらず、作業者が足を乗せて荷重をかけても、乗降ステップ161が回動したり、荷重により下方に移動したりすることを防止すべく、ウィンチ165による昇降ワイヤ163の巻き取り量にかかわらず、昇降ワイヤ163は常に張り状態を保つ構成とする。 Regardless of the vertical position of the boarding/disembarking step 161, even if a worker places his/her foot on it and applies a load, the boarding/disembarking step 161 is configured to always be kept taut, regardless of the amount of the boarding/disembarking wire 163 wound by the winch 165, in order to prevent the boarding/disembarking step 161 from rotating or moving downward due to the load.

また、図16及び図18に示すとおり、キャビン23を構成するキャビンルーフ25には、乗降補助グリップ167をキャビン23の底部に向かって垂らして配置する。この乗降補助グリップ167は、キャビンルーフ25に設ける巻き取りリール(図示省略)に接続された補助ベルト168より上下高さを変更可能としており、乗降補助グリップ167には、作業者が押した状態を継続すると補助ベルト168が引き出し可能となる伸長スイッチ169aと、押すと巻き取りリールが作動して補助ベルト168を巻き取り、乗降補助グリップ167がキャビンルーフ25に接近する収縮スイッチ169bを設けるものとする。 As shown in Figures 16 and 18, a boarding/disembarking assistance grip 167 is arranged on the cabin roof 25 constituting the cabin 23, hanging down toward the bottom of the cabin 23. The boarding/disembarking assistance grip 167 can be adjusted in height by an auxiliary belt 168 connected to a take-up reel (not shown) provided on the cabin roof 25, and the boarding/disembarking assistance grip 167 is provided with an extension switch 169a that allows the auxiliary belt 168 to be pulled out when the operator continues to press it, and a retraction switch 169b that operates the take-up reel when pressed to take up the auxiliary belt 168 and move the boarding/disembarking assistance grip 167 closer to the cabin roof 25.

なお、昇降モータ166の正逆転スイッチは、伸長スイッチ169aと収縮スイッチ169bとすると、乗降ステップ161と乗降補助グリップ167の昇降位置をある程度合わせることができ、安定した姿勢でキャビン23を乗り降りでき、安全性が向上する。 If the forward/reverse switch of the lift motor 166 is an extension switch 169a and a retraction switch 169b, the lift positions of the boarding/alighting step 161 and the boarding/alighting assistance grip 167 can be aligned to a certain extent, allowing boarding and alighting from the cabin 23 in a stable posture, improving safety.

キャビン23から作業者が降りるときは、ドア26を開け、キャビンルーフ25近くに位置する乗降補助グリップ167を手に取り、乗降ステップ161に足を乗せてから、伸長スイッチ169aを押し続ける。これにより、補助ベルト168が引き出されて乗降補助グリップ167が下降すると共に、昇降モータ166がウィンチ165を回して昇降ワイヤ163を回し出すので、昇降ステップ161もほぼ同量下方に移動し、地面との距離が縮まり、安全に降車することが可能となる。 When a worker wants to get off the cabin 23, he or she opens the door 26, picks up the boarding and alighting assistance grip 167 located near the cabin roof 25, places a foot on the boarding and alighting step 161, and then presses and holds down the extension switch 169a. This causes the auxiliary belt 168 to be pulled out and the boarding and alighting assistance grip 167 to descend, while the lifting motor 166 turns the winch 165 to rotate the lifting wire 163, which causes the lifting and alighting step 161 to move downward by approximately the same amount, shortening the distance to the ground and enabling the worker to disembark safely.

一方、キャビン23に作業者が乗るときは、キャビン23内に垂れ下がっている乗降補助グリップ167を手に取り、下降している乗降ステップ161に足を乗せてから、収縮スイッチ169bを押し続ける。これにより、補助ベルト168が引き込まれて乗降補助グリップ167が上昇すると共に、昇降モータ166がウィンチ165を回して昇降ワイヤ163を巻き取るので、昇降ステップ161もほぼ同量上方に移動するので、作業者はキャビン23の床面と高低差が小さくなった状態でキャビン23に乗り込め、これにより安全に登場することが可能となる。 On the other hand, when a worker gets into the cabin 23, he or she picks up the boarding/alighting assistance grip 167 hanging inside the cabin 23, places their foot on the lowered boarding/alighting step 161, and then continues to press the contraction switch 169b. This retracts the auxiliary belt 168, raising the boarding/alighting assistance grip 167, and the lifting motor 166 turns the winch 165 to wind up the lifting wire 163, so that the lifting step 161 also moves upward by approximately the same amount, allowing the worker to get into the cabin 23 with a small height difference between the cabin 23 floor and the step, thereby enabling them to exit safely.

上記のコンバインでは、操縦者はキャビン23に搭乗して操縦を行うことが一般的であるが、キャビン23は強度確保や部材の取付の都合上、ピラー等の構造体が視界の妨げとなり、視認性を低下させる問題がある。特に、作業者の左手側は、脱穀装置6や刈取装置15に覆われていることにより、地面や穀稈を見ることができず、穀稈の刈り残しが生じたり、機体を壁面に接触させて破損させたりする問題がある。 In the above combine harvester, the operator generally operates the harvester from inside the cabin 23, but due to the need to ensure the strength of the cabin 23 and to attach components, structures such as pillars obstruct the view and reduce visibility. In particular, the operator's left hand side is covered by the threshing device 6 and the harvesting device 15, making it impossible to see the ground or the stalks, which can lead to stalks being left uncut or the machine coming into contact with a wall and being damaged.

また、キャビン23から機体後方を見ようとしても、キャビン23の構成部品だけでなく、脱穀装置6、グレンタンク7、及び排出オーガ8が視界を妨げるので、後進時に停止位置を誤り壁面にぶつかり機体が破損することや、排藁が設定どおり排出されているかを確認できない問題がある。 In addition, when trying to look at the rear of the machine from the cabin 23, the view is obstructed not only by the components of the cabin 23 but also by the threshing device 6, grain tank 7, and discharge auger 8, which can lead to problems such as the machine stopping in the wrong position when reversing, hitting a wall and damaging the machine, or not being able to check whether the straw is being discharged as set.

さらに、キャビン23の右側についても、操縦者の搭乗部は機体上方寄りに設けられている上、付近に壁等があるときには、ドア26の開閉可能な範囲が限られてしまい、下方の状態がよくわからないまま降り、泥に足を取られて滑りそうになったり、足元が汚れてしまったりする問題がある。 Furthermore, on the right side of the cabin 23, the pilot's boarding area is located toward the top of the aircraft, and when there is a wall nearby, the range in which the door 26 can be opened and closed is limited, which creates the problem that the pilot may get off without fully understanding the conditions below, and may get his or her feet caught in mud and slip, or get their feet dirty.

これらの問題を解決すべく、図19に示すとおり、キャビン23を設ける側とは反対側に、操縦者が機体左側の後方を確認するサイドミラー51を装着する、棒材を曲げ加工して構成し、機体左右一側、即ち脱穀装置6の外側端部に向かって突出するミラーステー50を回転可能に設け、該ミラーステー50のうち、該サイドミラー51の取付部よりも基部寄りの位置、より具体的に言えばサイドミラー51の取付部を形成すべく上方に向かわせる屈曲部付近に、下方の広域を撮影範囲に収められる左サイドカメラ52を配置する。 To solve these problems, as shown in Figure 19, a side mirror 51 that allows the operator to check the rear of the left side of the machine is attached to the side opposite the side where the cabin 23 is installed. A mirror stay 50 is rotatably attached, made by bending a rod material, and protrudes toward one of the left and right sides of the machine, i.e., the outer end of the threshing device 6. A left side camera 52 that can capture a wide area below is placed on the mirror stay 50 at a position closer to the base than the mounting part of the side mirror 51, or more specifically, near the bent part that faces upward to form the mounting part of the side mirror 51.

なお、ミラーステー50は、機体内側方向(平面視で半時計回り方向)に回動させるとサイドミラー51及び左サイドカメラ52を含めて脱穀装置6の上方に収まり、機体左右の外側または機体後側に突出しない位置に収まる構成とし、非作業時の接触によるミラーステー50、サイドミラー51及び左サイドカメラ52の破損を防止する。 When the mirror stay 50 is rotated inward toward the inside of the machine body (counterclockwise in a plan view), it fits above the threshing device 6, including the side mirror 51 and left side camera 52, and fits into a position that does not protrude to the outside of the left or right side of the machine body or to the rear of the machine body, preventing damage to the mirror stay 50, side mirror 51, and left side camera 52 due to contact when not in use.

一方、ミラーステー50を機体外側方向(平面視で時計回り方向)に回転させると左サイドカメラ52が脱穀装置6の外側端部よりも外側に張り出し、且つ圃場面から上方に離間した位置に配置されるので、キャビン23に搭乗する作業者が見辛い場所を左サイドカメラ52で撮影し、刈取状況や圃場の荒れ具合を正確に確認することができる。これにより、刈り残しの発生を防止できると共に、先の作業位置の状況を把握して作業を行うことができ、作業能率の低下が図られる。 On the other hand, when the mirror stay 50 is rotated toward the outside of the machine body (clockwise in a plan view), the left side camera 52 projects outward beyond the outer end of the threshing device 6 and is positioned at a distance above the field surface, so that the left side camera 52 can take pictures of areas that are difficult for the worker in the cabin 23 to see, allowing him to accurately check the harvesting situation and the roughness of the field. This prevents any leftover grass from being cut, and enables the worker to work while understanding the situation at the previous work position, reducing the decrease in work efficiency.

上記の左サイドカメラ52は、機体左側の外側を写す際は必要な領域を明確に写すことができるが、収納する際に脱穀装置6の上方に位置させた際には、映像を映す必要性は低くなる。したがって、ミラーステー50にポテンショメータ等の動作を検出可能な張出センサ53を設け、張出センサ53の検出により左サイドカメラ52が機体外側にあると判断したときは、左サイドカメラ52を起動する、あるいは左サイドカメラ52が撮影した映像をキャビン23内のモニタ35、あるいは別途通信可能に設定したタブレット等の端末に送信し、表示する構成とすると、確認の必要があるときのみ映像をモニタ35や端末に表示することができる。 The above-mentioned left side camera 52 can clearly capture the necessary area when capturing the outside of the left side of the machine, but when it is positioned above the threshing device 6 for storage, there is less need to capture the image. Therefore, if an extension sensor 53 capable of detecting the operation of a potentiometer or the like is provided on the mirror stay 50, and when it is determined that the left side camera 52 is outside the machine as detected by the extension sensor 53, the left side camera 52 is started, or the image captured by the left side camera 52 is sent to and displayed on the monitor 35 in the cabin 23, or on a terminal such as a tablet that is separately set up for communication, the image can be displayed on the monitor 35 or terminal only when confirmation is required.

言い換えれば、張出センサ53の検出により左サイドカメラ52が脱穀装置6の上方に位置していると判断されたときは、左サイドカメラ52の撮影を停止させる(スタンバイモード)か、あるいはモニタ35や端末への映像データの送信を停止する構成となる。 In other words, when the extension sensor 53 detects that the left side camera 52 is located above the threshing device 6, the left side camera 52 stops taking pictures (standby mode) or stops sending video data to the monitor 35 or terminal.

これにより、不要な時は左サイドカメラ52が撮影を行わないので、使用による劣化を抑えられると共に、不要なデータ通信を行わないので、通信コストや電力消費の低減が図られる。 As a result, the left side camera 52 does not take pictures when not needed, which reduces deterioration due to use, and also reduces communication costs and power consumption by not transmitting unnecessary data.

次に、図19で示すとおり、排藁処理装置9の後部に位置するドロッパカバー9aの上部に、平面視でH型のブロックステーを各々回動可能に連結して構成するリアミラーステー54の基部を設け、リアミラーステー54の端部にリアカメラ55を設ける。そして、リアミラーステー54にも張出センサ53を設け、リアカメラ55が機体後方に突出して機体後部の圃場面を写す状態であるか、ドロッパカバー9aの上方にリアミラーステー54が折りたたまれた状態かを判断させる。 Next, as shown in Figure 19, a base for a rear mirror stay 54, which is made up of block stays that are rotatably connected to each other and are H-shaped in a plan view, is provided on the top of the dropper cover 9a located at the rear of the straw waste treatment device 9, and a rear camera 55 is provided at the end of the rear mirror stay 54. An extension sensor 53 is also provided on the rear mirror stay 54 to determine whether the rear camera 55 is protruding rearward of the machine body to capture the field scene at the rear of the machine body, or whether the rear mirror stay 54 is folded up above the dropper cover 9a.

リアカメラ55が機体後方に突出していると判断したときは、撮影した映像をキャビン23内のモニタ35、あるいは別途通信可能に設定したタブレット等の端末に送信し、表示する構成とする。 When it is determined that the rear camera 55 is protruding rearward from the aircraft body, the captured image is sent to and displayed on the monitor 35 inside the cabin 23, or on a separate terminal such as a tablet that is set up for communication.

これにより、作業者はキャビン23に搭乗したまま機体後方の状況を視認できるので、排藁の散布が設定どおりであるか、穀稈の刈り残しや刈り株の高さはどの程度かを認識しながら作業を行える。 This allows the operator to view the situation behind the machine while remaining in the cabin 23, enabling them to carry out work while being aware of whether the straw is being spread as set, and how much of the stalks remain uncut or how high the stubble is.

また、後進する際に後方の状況がしっかりと確認できるので、畦や壁に機体をぶつけて損傷させることを防止できる。 In addition, when reversing, you can clearly see the situation behind you, which helps prevent the aircraft from hitting ridges or walls and causing damage.

逆に、ドロッパカバー9aの上方にリアミラーステー54が折りたたまれた状態であるときは、リアカメラ55の撮影を停止させる(スタンバイモード)か、あるいはモニタ35や端末への映像データの送信を停止する構成となる。 Conversely, when the rear mirror stay 54 is folded above the dropper cover 9a, the rear camera 55 stops capturing images (standby mode) or stops transmitting video data to the monitor 35 or terminal.

これにより、不要な時はリアカメラ55が撮影を行わないので、使用による劣化を抑えられると共に、不要なデータ通信を行わないので、通信コストや電力消費の低減が図られる。 As a result, the rear camera 55 does not take pictures when not needed, which reduces deterioration due to use, and also reduces communication costs and power consumption by not transmitting unnecessary data.

また、図19に示すとおり、キャビン23の機体右側端部の上方に、右サイドカメラ56を、撮影位置と非撮影位置に切替可能に配置してもよい。 Also, as shown in FIG. 19, a right side camera 56 may be arranged above the right end of the cabin 23 so that it can be switched between a shooting position and a non-shooting position.

上記の右サイドカメラ56は、キャビン23の右側の下方を撮影することにより、作業者が乗り降りする位置、及びその周辺の状況をモニタ35等に表示させることができるので、乗り降り位置に動作の妨げとなるものがあるか無いかを確認でき、作業の安全性が確保される。 The right side camera 56 captures the image of the lower right side of the cabin 23, and can display the location where the worker gets on and off and the surrounding conditions on the monitor 35, etc., so that it is possible to check whether there is anything at the getting on and off location that may hinder the worker's movements, ensuring the safety of the work.

また、撮影の必要が無いときには、右サイドカメラ56のカメラアーム56aを回動させてキャビン23の上方に収納できるので、キャビン23よりも外部に突出した右サイドカメラ56が壁等の障害物に接触して破損することが防止される。 In addition, when there is no need to take pictures, the camera arm 56a of the right side camera 56 can be rotated and stored above the cabin 23, preventing the right side camera 56, which protrudes beyond the cabin 23, from coming into contact with obstacles such as walls and being damaged.

このとき、カメラアーム56aにも張出センサ53を設け、使用状態か収納状態かを判断可能とすると、他のカメラ同様の効果を得ることができる。 In this case, if an extension sensor 53 is also provided on the camera arm 56a so that it can determine whether the camera is in use or stored, the same effect can be obtained as with other cameras.

上記の左サイドカメラ52、リアカメラ55、及び右サイドカメラ56を全て設けた際、各カメラの撮影範囲は図20のとおり、刈取始端部よりも後方を俯瞰で写すものとする。これにより、機体の操縦者が目視しやすい、刈取を行う正面以外の情報を広範囲に亘って得られるので、死角に潜む障害物と接触しにくくなると共に、周辺の穀稈の植生状態を見た上で能率的な刈取経路の構築が可能となる。 When the left side camera 52, rear camera 55, and right side camera 56 are all installed, the shooting range of each camera is set to a bird's-eye view of the area behind the start of the reaping end, as shown in Figure 20. This allows the operator of the machine to obtain a wide range of information other than the area directly in front of the reaping area, which is easy to see, making it less likely to come into contact with obstacles in blind spots and enabling the operator to create an efficient reaping route after observing the vegetation condition of the surrounding stalks.

上記のコンバインの機体周辺を俯瞰視するカメラは、使用時は勿論、収納時でも機体最上部寄りに配置される、排出オーガ8の先端付近にも装着すると、排出オーガ8を停止させているときには、他のカメラで撮影しにくい位置の映像情報を取得できる。 The camera that provides an overhead view of the area around the combine harvester is positioned near the top of the machine, not only when in use but also when stored. If it is also mounted near the tip of the discharge auger 8, video information can be obtained from positions that are difficult to capture with other cameras when the discharge auger 8 is stopped.

しかしながら、撮影位置の切替や、穀稈の排出作業時に排出オーガ8をスイング回動させている間は、カメラが撮影する位置は逐次変化し、情報を得難く、しかも作業者に疲労感や乗物酔いを誘発させかねない映像が取得されることになる。 However, when switching the shooting position or while the discharge auger 8 is swinging around during the stalk discharge operation, the camera's shooting position changes continuously, making it difficult to obtain information and resulting in images that may cause fatigue or motion sickness in the worker.

これを防止すべく、排出オーガ8をスイング回動し始めたことを検知する回動センサ57を設け、該回動センサ57が回動を検知すると、モニタ35に表示させる映像を、左サイドカメラ52、リアカメラ55、及び右サイドカメラ56のいずれかが撮影したものに切り替える。または、排出オーガ8の回動中には特段モニタ35を見ないものとして、モニタ35に撮影された映像を映さないようにしてもよい。 To prevent this, a rotation sensor 57 is provided that detects when the discharge auger 8 starts to swing and rotate. When the rotation sensor 57 detects the rotation, the image displayed on the monitor 35 is switched to the image captured by the left side camera 52, the rear camera 55, or the right side camera 56. Alternatively, the monitor 35 may not be viewed while the discharge auger 8 is rotating, and the image captured on the monitor 35 may not be displayed.

コンバインの収穫作業として望ましい例としては、圃場の傍の道路に位置することの多い穀粒の回収容器201の位置や状態を排出開始前に把握すべく、回動センサ57が排出オーガ8の回動を検出すると、右サイドカメラ56が作動し、映像がモニタ35に表示される構成が考えられる。 As a desirable example of combine harvesting operations, a configuration is considered in which when the rotation sensor 57 detects the rotation of the discharge auger 8, the right side camera 56 is activated and the image is displayed on the monitor 35 in order to grasp the position and condition of the grain collection container 201, which is often located on the road next to the field, before discharge begins.

これにより、作業者は排出オーガ8を穀粒の回収容器201の上方で回動停止させやすくなるので、排出の位置合わせに要する時間の短縮が図られる。また、穀粒の落下位置が回収容器201からズレにくく、穀粒が回収容器201外に排出されることが防止される。 This makes it easier for the operator to stop the rotation of the discharge auger 8 above the grain collection container 201, shortening the time required to align the discharge. In addition, the grains are less likely to fall out of the collection container 201, preventing the grains from being discharged outside the collection container 201.

あるいは、図21に示すとおりモニタ35には左サイドカメラ52、リアカメラ55、及び右サイドカメラ56が撮影する画像を組み合わせた俯瞰画像BVを表示し、その画像上に排出オーガ8の回動支点から先端部までの長さをから算出した、仮想の回動円Sを表示するものとしてもよい。この時の回動円Sは排出オーガ8の実際の回動範囲ではなく、排出オーガ8の回動支点から先端部までの長さを半径とする正円とし、演算を単純化すると制御系への負荷を軽減できる。 Alternatively, as shown in FIG. 21, the monitor 35 may display an overhead image BV combining images captured by the left side camera 52, rear camera 55, and right side camera 56, and a virtual rotation circle S calculated from the length from the pivot point of the discharge auger 8 to its tip may be displayed on the image. The rotation circle S in this case is not the actual rotation range of the discharge auger 8, but a perfect circle with a radius equal to the length from the pivot point of the discharge auger 8 to its tip. By simplifying the calculation, the load on the control system can be reduced.

作業者は、上記の回動円Sを見ながら、排出オーガ8を回動させると接触し得る障害物の有無を判断すると共に、回動円Sが回収容器201に重なるように機体を移動、あるいは排出オーガ8の回動位置や伸縮量の調整を行うことで、機体を破損させることなく穀粒を能率的に回収容器201に回収させることができる。 While observing the rotation circle S, the operator can determine whether there are any obstacles that may come into contact with the discharge auger 8 when it is rotated, and can move the machine so that the rotation circle S overlaps with the collection container 201, or adjust the rotation position or extension amount of the discharge auger 8, thereby efficiently collecting grains into the collection container 201 without damaging the machine.

上記のとおり、排出オーガ8は構造上伸縮が可能であるので、回動円Sは、最長状態を示す大仮想円S1と、最短状態を示す小仮想円S2の両方をモニタ35に表示されている俯瞰画像BVに重ねて表示してもよい。 As described above, the discharge auger 8 is structurally extendable, so the rotation circle S may be displayed by superimposing both a large imaginary circle S1 indicating the longest state and a small imaginary circle S2 indicating the shortest state on the overhead image BV displayed on the monitor 35.

これにより、排出オーガ8の伸長量を決めてから旋回させる状況でも、周囲の様子を排出オーガ8の設定長さに合わせて判断しやすくなり、作業能率が向上する。 This makes it easier to judge the surrounding conditions according to the set length of the discharge auger 8, even when the amount of extension of the discharge auger 8 has to be determined before it can be rotated, improving work efficiency.

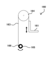
図1から図3に示すとおり、排出オーガ8は、基部側の搬送筒8bと摺動して長さを変更する摺動筒8cの双方の内部に搬送螺旋が設けられ、この搬送螺旋の搬送終端部、即ち排出オーガ8の先端部には、穀粒を落下させる排出ヘッド80を、正面視において左右方向に回転可能に設けている。この排出ヘッド80は、左右方向に所定量回転させることで穀粒の排出位置を調整し、回収容器201の内部に均等に穀粒を投入することで、穀粒が容器外に零れ落ちることを防止している。 As shown in Figures 1 to 3, the discharge auger 8 has a conveying spiral inside both the base-side conveying tube 8b and the sliding tube 8c, which slides to change its length, and a discharge head 80 that drops the grains is provided at the conveying end of this conveying spiral, i.e., the tip of the discharge auger 8, and is rotatable left and right when viewed from the front. This discharge head 80 adjusts the grain discharge position by rotating a specified amount left and right, and by depositing the grains evenly inside the collection container 201, it prevents the grains from spilling out of the container.

排出ヘッド80の排出部8aの外周は、塩化ビニル等の透明な合成樹脂の板体を曲げて矩形状とした穀粒ガイド81を備え、排出される穀粒は穀粒ガイド81の内面に接触して下方に落下するか、あるいは搬送螺旋の搬送終端部からそのまま下方に落下する。 The outer periphery of the discharge section 8a of the discharge head 80 is equipped with a grain guide 81, which is a rectangular plate made of transparent synthetic resin such as polyvinyl chloride. The discharged grains either come into contact with the inner surface of the grain guide 81 and fall downward, or fall directly downward from the end of the conveying spiral.

一方、排出ヘッド80の外周部、特に機体前側部分は穀粒の排出に関連しないと共に、排出オーガ8を最大限伸長させた際に機体から離間した位置を撮影することに適している。 On the other hand, the outer periphery of the discharge head 80, particularly the front part of the machine body, is not related to the discharge of grains and is suitable for photographing a position away from the machine body when the discharge auger 8 is fully extended.

従って、排出ヘッド80の前端部には、前方及びその周辺を撮影範囲とする、ヘッドカメラ82を設け、少なくとも穀粒の排出作業が行われる際には撮影状態を保つ構成とする。こちらは、排出オーガ8の伸長操作を行った際に作動するものとするとよい。 Therefore, a head camera 82 is provided at the front end of the discharge head 80, with a range of photography of the area in front and around it, and is configured to maintain photography at least when the grain discharge operation is being performed. This camera is preferably configured to operate when the discharge auger 8 is extended.

なお、排出ヘッド80の外周に配置するものであっても、ヘッドカメラ82は穀粒の排出時に排出口8a周辺にまき散らされる細かい粉粒や、圃場から立ち上る土煙等により、レンズが汚れて撮影精度が低下するおそれがある。 Even if the head camera 82 is placed on the outer periphery of the discharge head 80, the lens may become dirty due to fine powder particles scattered around the discharge port 8a when the grains are discharged, or dust rising from the field, which may reduce the accuracy of the image capture.

従って、図23で示すとおり、ヘッドカメラ82はカバーモータ84により開閉可能なカメラカバー83で覆い、排出オーガ8の伸縮動作時のみカメラカバー83を開き、穀粒の排出が始まるときや、排出オーガ8を刈取収穫作業時の収納位置に移動させると、カメラカバー83が閉じられる構成とするとよい。 As shown in FIG. 23, the head camera 82 is covered with a camera cover 83 that can be opened and closed by a cover motor 84, and the camera cover 83 is opened only when the discharge auger 8 extends and retracts, and is closed when grain discharge begins or when the discharge auger 8 is moved to the storage position for harvesting work.

但し、上記以外で作業者が何らかの用途でヘッドカメラ82を用いて撮影を行いたい状況が有り得ると想定し、カメラカバー83の開閉を操作するカバースイッチを設けてもよい。 However, assuming that there may be situations other than those described above where an operator would like to take pictures using the head camera 82, a cover switch for opening and closing the camera cover 83 may be provided.

また、ヘッドカメラ82を保護するには、カメラカバー83の開閉機構にコストがかかり過ぎると共に、電装系の故障時に交換が必要な部品が多くなる問題がある。したがって、ヘッドカメラ82の外周を細かい網目の防護ネットで覆い、ある程度の大きさの土砂等の夾雑物がヘッドカメラ82への隙間を通ってレンズ等を汚すことを防止できる。 In addition, protecting the head camera 82 would require too much cost for the opening and closing mechanism of the camera cover 83, and would require many parts to be replaced in the event of a breakdown in the electrical system. Therefore, the outer periphery of the head camera 82 can be covered with a fine mesh protective net to prevent debris such as soil of a certain size from passing through gaps in the head camera 82 and soiling the lens, etc.

ヘッドカメラ82が斜め上から俯瞰して撮影する映像は、画像ファイルまたは動画ファイル化して解析ソフトウェアをインストールしたCPU200に送信し、まず撮像範囲内に穀粒の回収容器201や、この回収容器201を積載したトラック202が写っているかどうかを判断する。CPU200には、事前に回収容器201やトラック202を識別させるための画像や動画データを記録させておき、なるべく誤認識を発生させない構成としている。 The image captured by the head camera 82 from an obliquely upward angle is converted into an image file or a video file and sent to the CPU 200, which has analysis software installed. It is then determined whether or not a grain collection container 201 or a truck 202 carrying this collection container 201 is captured within the captured image range. The CPU 200 is configured to record image and video data in advance for identifying the collection container 201 and the truck 202, minimizing the occurrence of erroneous recognition.

また、排出作業を行うコンバイン側は、排出オーガ8の向いている方向と磁北、または仮想地図の仮の北方向を比較して方位を仮定すると共に、ヘッドカメラ82の配置位置を中心として、排出時に自機が停止して留まる位置を排出可能領域EAとして記録させる。なお、排出可能領域EAの外形線は、機体の実際の前後及び左右幅よりも5~10%ほど小さく算出すると、畦際に近付け過ぎて衝突することを防止できる。 The combine performing the discharge operation compares the direction in which the discharge auger 8 is facing with magnetic north or the virtual north direction on a virtual map to assume a direction, and records the position where the machine will stop and remain during discharge, with the head camera 82 positioned as the center, as the dischargeable area EA. Note that if the outline of the dischargeable area EA is calculated to be 5 to 10% smaller than the actual front-to-back and left-to-right width of the machine, it is possible to prevent the machine from approaching the edge of the field and colliding with it.

次に、図24(a)~(c)に示すとおり、ヘッドカメラ82が撮影した画像内に回収容器201やトラック202が検出されたときは、レーザー等を用いた測距センサ203をヘッドカメラ82が向いている方向と同じ方向に向け、距離の算出が可能であればモニタ35などにその数値を表示させる。距離が測定できないときは、その旨をモニタ35に表示させ、測距対象をより正確に撮影し得る位置まで機体を手作業で移動させる。 24(a)-(c), when a collection container 201 or truck 202 is detected in an image captured by the head camera 82, a distance measuring sensor 203 using a laser or the like is pointed in the same direction as the head camera 82, and if the distance can be calculated, the numerical value is displayed on the monitor 35 or the like. If the distance cannot be measured, a message to that effect is displayed on the monitor 35, and the drone is manually moved to a position where the object to be measured can be photographed more accurately.

なお、機体を回収容器201やトラック202が撮影画像内に収まる位置に移動させても距離が測定できないときは、測距センサ203が故障しているか、あるいは霧や周囲の光源が原因で測定できない状況にあるとして、測定不能をモニタ35などに表示させる。このとき、穀粒の排出位置への移動は、作業者が行う。 If the distance cannot be measured even after the machine is moved to a position where the collection container 201 and the truck 202 are within the captured image, it is determined that the distance sensor 203 is broken or that fog or surrounding light sources are preventing measurement, and a message indicating that measurement is not possible is displayed on the monitor 35, etc. In this case, the operator moves the machine to the grain discharge position.

次に、接触までの距離が、排出可能領域EAと重複しているときは、回収容器201の上方で且つ中央位置に向けて排出オーガ8を旋回、または伸縮させる。 Next, when the distance to contact overlaps with the dischargeable area EA, the discharge auger 8 is rotated or extended toward a central position above the collection container 201.

上記のように、コンバイン1が穀粒の排出動作を行うべく移動しても排出可能領域EAから逸脱しないときは、コンバイン1はCPU200のアプリケーションから生成された進路に基づき自動移動すると共に、排出オーガ8を回動させて、回収容器201の中央位置の上方に臨ませる。 As described above, when the combine harvester 1 moves to discharge grains but does not deviate from the dischargeable area EA, the combine harvester 1 automatically moves based on a course generated by the application of the CPU 200, and rotates the discharge auger 8 to face above the center position of the collection container 201.

これにより、コンバイン1を畦際に接触させることなく、排出オーガ8から回収容器201に穀粒を収容することができ、穀粒が回収容器201から零れ落ちて回収できなくなり、収獲量が減少することが防止される。 This allows grains to be collected from the discharge auger 8 into the collection container 201 without the combine 1 coming into contact with the ridges, preventing grains from spilling out of the collection container 201 and becoming unrecoverable, which would result in a reduced yield.

また、条件が整ったときは自動で排出可能領域EAにコンバイン1が向かうことにより、作業者の労力が大きく軽減される。 In addition, when conditions are met, the combine harvester 1 automatically moves to the unloading area EA, greatly reducing the labor required by the operator.

なお、自動移動中及び自動穀粒排出動作中は、排出オーガ8への伝動を入切させる排出クラッチの動作を受け付けないものとする。これにより、自動排出が可能であるにもかかわらず、作業者が誤って排出クラッチを切操作してしまうと、コンバイン1はただ排出作業位置に移動するだけとなり、作業の自動化が図れず省力化に繋がらなくなる問題がある。 During automatic movement and automatic grain discharge operation, the discharge clutch that turns on and off the power transmission to the discharge auger 8 is not accepted. As a result, even though automatic discharge is possible, if the operator mistakenly turns off the discharge clutch, the combine 1 will simply move to the discharge operation position, which will result in a problem that the operation cannot be automated and will not lead to labor savings.

しかしながら、何らかの制御エラーにより、自動移動後に排出位置まで回動させたはずの排出オーガ8の排出ヘッド80の位置が、回収容器201の中央部付近でなく端部近くに位置することや、あるいは回収容器201外に位置するということも考え得る。このとき、排出クラッチの操作が行えなければ、穀粒が回収容器201の外に排出されてしまい、回収作業に余分な時間と労力を費やす必要が生じると共に、回収できない穀粒があると、収穫量が減少する問題が発生する。 However, due to some control error, the position of the discharge head 80 of the discharge auger 8, which should have been rotated to the discharge position after automatic movement, may be near the end of the collection container 201 rather than near the center, or it may be outside the collection container 201. In this case, if the discharge clutch cannot be operated, the grains will be discharged outside the collection container 201, which will require extra time and effort for the collection work, and if some grains cannot be collected, the harvest yield will be reduced.

したがって、自動排出作業に移行しているとき、作業者が排出オーガ8の伸長または収縮操作を行うと、排出クラッチの操作を受け付ける制御構成としておく。これにより、排出オーガ8の排出位置がズレているときには排出クラッチを切って穀粒の排出を停止させ、排出オーガ8を適切な排出位置に移動させてから排出クラッチを入に切り替えることができるので、穀粒の回収が容易になり、作業能率の低下が防止される。 Therefore, when the automatic discharge operation is started, the control is configured to accept the operation of the discharge clutch when the operator extends or retracts the discharge auger 8. As a result, when the discharge position of the discharge auger 8 is misaligned, the discharge clutch is disengaged to stop the discharge of grains, and the discharge auger 8 is moved to the appropriate discharge position before the discharge clutch is switched on, making it easier to collect grains and preventing a decrease in work efficiency.

なお、自動排出が行われている間、排出オーガ8は所定時間毎に右(時計回り)方向と左(反時計回り)方向に回転方向の切り替えを行い、回収容器201の一点に穀粒が積み上げられ、穀粒の山が自重で崩壊して吹き上がり、回収容器201の外に飛び出すことや、偏って積み上がった回収容器201の一部の縁部から穀粒が外部に落下することを防止できる。 During automatic discharge, the discharge auger 8 switches its rotation direction between right (clockwise) and left (counterclockwise) at predetermined intervals, preventing grains from piling up at one point in the collection container 201 and collapsing under its own weight and blowing up, flying out of the collection container 201, or preventing grains from falling to the outside from a portion of the edge of the collection container 201 where they have been unevenly piled up.

なお、回収容器201が大容量のものであるとき、排出オーガ8の左右回動範囲が回収容器201の中央部付近に偏ることがある。したがって、コンバイン1の左右の走行クローラ3,3のうち、一方を正転、他方を逆転方向に回転させて信地旋回を行い、機体の回動によって回収容器201内に満遍なく穀粒を投入する作業を行ってもよい。 When the collection container 201 has a large capacity, the left and right rotation range of the discharge auger 8 may be biased toward the center of the collection container 201. Therefore, one of the left and right traveling crawlers 3, 3 of the combine 1 may be rotated in the forward direction and the other in the reverse direction to perform a pivot turn, and the grains may be dumped evenly into the collection container 201 by rotating the machine body.

さらに、自動排出作業中は、所定時間毎に走行クローラ3,3の回転方向を自動的に入れ替える制御を行うと、より偏りのない穀粒の投入が可能になる。 Furthermore, during the automatic discharge operation, the rotation direction of the traveling crawlers 3, 3 can be automatically switched at predetermined time intervals, allowing for more even grain loading.

但し、このとき排出可能領域EAの範囲外にコンバイン1が出うる場合は、信地旋回の切替タイミングを早めるものとし、作業の中断は起こり得ないものとするとよい。 However, if the combine harvester 1 is likely to go outside the discharge area EA at this time, the timing of the pivot turn should be advanced so that work is not interrupted.

なお、ヘッドカメラ82や測距センサ203は、排出オーガ8の先端部側を最大限上方回動させても問題なく撮像できるものを用い、なるべく広域が視野に入るよう角度を調節して装着するものとする。 The head camera 82 and distance measurement sensor 203 should be capable of capturing images without any problems even when the tip of the discharge auger 8 is rotated upward to its maximum extent, and should be mounted at an angle adjusted so that as wide an area as possible is visible.

但し、排出オーガ8の位置や圃場の環境、穀稈の植生状況等によってヘッドカメラ82や測距センサ203の適切な配置は異なってくるので、排出オーガ8の基部側からワイヤやロッド(図示省略)で姿勢を調節可能に構成する、あるいは、キャビン23内に設けるスイッチやダイヤル(図示省略)により、調節アクチュエータを作動させて姿勢を調節可能に構成してもよい。 However, since the appropriate placement of the head camera 82 and distance measurement sensor 203 will vary depending on the position of the discharge auger 8, the field environment, the vegetation condition of the stalks, etc., the position can be adjusted using a wire or rod (not shown) from the base side of the discharge auger 8, or the position can be adjusted by operating an adjustment actuator using a switch or dial (not shown) provided inside the cabin 23.

コストがかかる分、作業条件に合わせてヘッドカメラ82や測距センサ203の有効範囲を適切なものとできるので、映像を利用した制御の精度が向上する。 Although this is costly, the effective range of the head camera 82 and distance sensor 203 can be adjusted appropriately to suit the work conditions, improving the accuracy of control using video.

あるいは、図25(a)(b)で示すとおり、ヘッドモータ82と測距センサ203を正逆転可能なスライドモータ85により前後移動するスライドレール84に装着し、スライドレール84の移動により撮影範囲を変更可能とする。また、スライドレール84は前後に回動可能に配置し、正逆転可能なチルトモータ86でヘッドモータ82と測距センサ203の前後傾斜角度を変更可能に構成する。 Alternatively, as shown in Figures 25(a) and 25(b), the head motor 82 and distance measuring sensor 203 are attached to a slide rail 84 that moves back and forth by a reversible slide motor 85, and the shooting range can be changed by moving the slide rail 84. The slide rail 84 is also arranged so that it can rotate back and forth, and the forward and backward tilt angle of the head motor 82 and distance measuring sensor 203 can be changed by a reversible tilt motor 86.

そして、スライドモータ85及びチルトモータの正転または逆転は、排出オーガ8の上下回動角度を検出するオーガポテンショメータ87に合わせて動作する構成とする。 The forward or reverse rotation of the slide motor 85 and tilt motor is configured to operate in accordance with the auger potentiometer 87, which detects the up and down rotation angle of the discharge auger 8.

これにより、排出オーガ8の上方回動量を増やすほど、スライドモータ84はスライドレール85を機体前側に移動させ、チルトモータ86はスライドレール85を下方傾斜姿勢にする。排出オーガ8の下方回動量を増やしたときは、真逆の挙動をするものとする。 As a result, the more the discharge auger 8 is rotated upward, the more the slide motor 84 moves the slide rail 85 toward the front of the machine, and the tilt motor 86 tilts the slide rail 85 downward. When the discharge auger 8 is rotated downward, the opposite behavior occurs.

これにより、ヘッドモータ82と測距センサ203は撮影対象を捉え続けることができるので、可能なときには穀粒排出位置への自動移動、及び自動排出を用いて省力化を図ることができる。 This allows the head motor 82 and distance sensor 203 to continue capturing the subject, and when possible, automatic movement to the grain discharge position and automatic discharge can be used to reduce labor.

なお、オーガポテンショメータ87の検出角度が変動している間にスライドモータ84やチルトモータ86がリアルタイムで動作すると、ヘッドモータ82と測距センサ203の検出内容がかえって不安定なものとなり、実際には距離の測定が可能な状況で「測定不能」と判定してしまうおそれがある。 If the slide motor 84 and tilt motor 86 are operated in real time while the detection angle of the auger potentiometer 87 is fluctuating, the detection contents of the head motor 82 and distance measurement sensor 203 may become unstable, and it may be determined that the distance is "unmeasurable" even when it is actually possible to measure the distance.

したがって、オーガポテンショメータ87の検出角度が変化し、変化が停止してから一定時間が経過するまではスライドモータ84やチルトモータ86への信号の発信は行わないものとし、排出オーガ8の姿勢変更が行われてから撮影や測距を行うものとすることが望ましい。 Therefore, it is desirable not to send a signal to the slide motor 84 or tilt motor 86 until a certain amount of time has elapsed since the detection angle of the auger potentiometer 87 changed and the change stopped, and to perform photography and distance measurement after the position of the discharge auger 8 has been changed.

また、排出オーガ8の姿勢変更が終わり、ヘッドモータ82と測距センサ203による撮影が始まったとき、コンバイン1が走行を始めてしまうと、安定した撮影や測距が行えなくなる。したがって、排出オーガ8の姿勢変更後にスライドモータ84とチルトモータ86が作動してから停止したときは、排出オーガ8の回動操作や、コンバイン1の前後進操作を所定時間(例:5~10秒程度)規制する構成とすることが望ましい。 In addition, if the combine harvester 1 starts moving when the position change of the discharge auger 8 is completed and photographing by the head motor 82 and distance measurement sensor 203 begins, stable photographing and distance measurement will not be possible. Therefore, when the slide motor 84 and tilt motor 86 are operated and then stopped after the position change of the discharge auger 8, it is desirable to configure the discharge auger 8 to restrict the rotation operation and forward/backward movement operation of the combine harvester 1 for a specified time (e.g., about 5 to 10 seconds).

あるいは、前後進操作自体は受け付けるものの、所定時間(例:5~10秒程度)は前後進の変速アクチュエータの出力上限を設定し、変速レバーの操作位置にかかわらず微速でのみ前後進可能とすることも考えられる。なお、所定時間経過後に変速レバーの操作位置に対応する出力まで一気に開放するとその場から急発進して作業者を振り回しかねないので、変速レバーの操作位置を上限として、所定時間(例:3~5秒)毎に出力を漸次増加させる制御構成とする。 Alternatively, while forward and reverse operation itself is accepted, an upper output limit for the forward and reverse gearshift actuator can be set for a specified time (e.g., 5 to 10 seconds), allowing forward and reverse movement only at a slow speed regardless of the operating position of the gearshift lever. Note that if the output is suddenly released to the level corresponding to the operating position of the gearshift lever after the specified time has elapsed, the vehicle may suddenly accelerate from the spot and throw the operator around, so the control configuration is such that the output is gradually increased every specified time (e.g., 3 to 5 seconds), with the operating position of the gearshift lever as the upper limit.

なお、回収容器201の接地位置や圃場の条件によっては、排出位置への自動走行や自動排出を用いるより、作業者の操作の方が高精度に作業を行い得ることがある。このとき、ヘッドモータ82と測距センサ203の撮影及び測距データを取得しており、条件を満たすと、排出場所への自動移動、及び自動排出が開始され、機体が作業者が意図しない挙動を取り始める可能性がある。 Depending on the grounding position of the collection container 201 and the conditions of the field, it may be possible to perform the work with higher accuracy by operating the machine manually rather than by using automatic driving to the discharge position and automatic discharge. At this time, the head motor 82 and distance measurement sensor 203 acquire image and distance measurement data, and when the conditions are met, automatic movement to the discharge location and automatic discharge are initiated, and the machine may start to behave in a way that is not intended by the operator.

したがって、手動操作時にはヘッドモータ82と測距センサ203を停止させることが望ましいが、ヘッドカメラ82の映像は作業者が回収容器201付近の状態を把握すべく活用する可能性があるので、停止は望ましくない。 Therefore, it is desirable to stop the head motor 82 and distance measurement sensor 203 during manual operation, but stopping them is not desirable because the image from the head camera 82 may be used by the operator to understand the conditions around the collection container 201.

このため、CPU200内の解析ソフトウェア等を停止させ、ヘッドモータ82や測距センサ203は使用可能な状態とする、自動排出入切スイッチ204を設けるとよい。 For this reason, it is advisable to provide an automatic ejection on/off switch 204 that stops the analysis software in the CPU 200 and leaves the head motor 82 and distance measurement sensor 203 in a usable state.

これにより、作業者の操作と自動制御が干渉し合わないので、安定した移動や穀粒の排出が行え、収穫量の減少が防止される。 This prevents interference between operator operation and automatic control, allowing for stable movement and grain discharge and preventing a reduction in harvest yield.

なお、自動排出入切スイッチ204をオフにし忘れ、自動制御が作動してしまったときは、排出オーガ8の伸縮操作、または回動操作を作業者が行うことにより、自動制御が中断される制御構成とする。 If the automatic discharge on/off switch 204 is forgotten to be turned off and the automatic control is activated, the automatic control is interrupted by the operator extending or rotating the discharge auger 8.

前記測距センサ203は、超音波等の反響で距離を算出するものであり、排出ヘッド80の前端部という、穀粒排出時の排出ヘッド80から回収容器201の現在の底部までの高さの判断に用いることが可能なものである。 The distance sensor 203 calculates distance by echoing ultrasonic waves, etc., and can be used to determine the height from the front end of the discharge head 80, i.e., the discharge head 80 when discharging grains, to the current bottom of the collection container 201.

したがって、自動、手動にかかわらず、排出オーガ8が下方回動される際には測距センサ203が測距を行い、排出オーガ8の排出ヘッド80から回収容器201の現在の底部、即ち収容された穀粒の表面までの距離を算出する。この距離が所定値以内、あるいは所定値+数十センチとなったところで排出オーガ8の下方回動を、停止までに慣性で移動する距離を加味したタイミングで停止させる。 Therefore, whether automatically or manually, when the discharge auger 8 rotates downward, the distance sensor 203 measures the distance and calculates the distance from the discharge head 80 of the discharge auger 8 to the current bottom of the collection container 201, i.e., the surface of the stored grains. When this distance is within a specified value or the specified value plus several tens of centimeters, the downward rotation of the discharge auger 8 is stopped at a timing that takes into account the distance traveled by inertia before stopping.

これにより、排出ヘッド80が回収容器201の内部に入り込んだ状態で穀粒が排出されるので、穀粒が外部に零れることを防止できる。 This allows the grains to be discharged while the discharge head 80 is inside the collection container 201, preventing the grains from spilling out.

また、実際の停止位置よりもやや上方で排出オーガ8の下方回動の停止指示を出すことにより、急激なブレーキングで排出オーガ8が撓って穀粒が飛び散ることが防止されると共に、排出オーガ8の耐久性が低下することを防止できる。なお、排出オーガ8の下降停止は、オーガポテンショメータ87の検出値で決めるとよい。 In addition, by issuing a command to stop the downward rotation of the discharge auger 8 slightly above the actual stopping position, it is possible to prevent the discharge auger 8 from bending due to sudden braking, causing grains to fly off, and also to prevent a decrease in the durability of the discharge auger 8. It is preferable to determine whether or not to stop the discharge auger 8 from descending based on the detection value of the auger potentiometer 87.

なお、自動下降中は手動による排出オーガ8の上下及び左右回動は一切受け付けないものとし、作業者の操作により排出高さや排出位置がかえって乱れ、穀粒が回収容器201外へ落下することが防止される。 During automatic descent, the discharge auger 8 is not allowed to be manually moved up and down or left and right. This prevents the discharge height and position from being disturbed by the operator's operation, and prevents grains from falling out of the collection container 201.

3 走行クローラ(走行装置)
4 脱穀装置(選別装置)
8 排出オーガ(排出装置)
15 刈取装置
80 排出ヘッド(排出先端部)
82 ヘッドカメラ(撮影装置)
85 スライドモータ(摺動アクチュエータ)
86 チルトモータ(傾動アクチュエータ)
87 オーガポテンショメータ(角度センサ)
200 CPU(制御装置)
201 回収容器
203 測距センサ(測距装置)
EA 排出可能領域
3 Traveling crawler (traveling device)
4. Threshing equipment (sorting equipment)
8. Discharge auger (discharge device)
15 Harvesting device 80 Discharge head (discharge tip)
82 Head camera (photography device)
85 Slide motor (slide actuator)
86 Tilt motor (tilt actuator)
87 Auger potentiometer (angle sensor)
200 CPU (control device)
201 Collection container 203 Distance measurement sensor (distance measurement device)
EA Dischargeable area

Claims (6)


走行装置(3)で走行する機体に刈取装置(15)を設け、該刈取装置(3)で刈り取った穀稈から穀粒を分離する選別装置(4)を機体左右一側に設け、該選別装置(4)で分離した穀粒を機外に排出する排出装置(8)を設けたコンバインにおいて、
該排出装置(8)の排出先端部(80)に撮影装置(82)を設け、該撮影装置(82)が撮影した俯瞰画像データを処理する制御装置(200)を設け、
該制御装置(200)は、俯瞰画像内に穀粒の回収容器(201)と認識し得る対象が写り込んでいると、排出時に機体が停止して留まる位置を排出可能領域(EA)として画像内に表示する構成としたことを特徴とするコンバイン。

A combine harvester is provided with a harvesting device (15) on a machine body traveling on a traveling device (3), a sorting device (4) for separating grains from the stalks harvested by the harvesting device (3) is provided on one of the left and right sides of the machine body, and a discharge device (8) for discharging the grains separated by the sorting device (4) outside the machine,
a photographing device (82) is provided at a discharge tip portion (80) of the discharge device (8), and a control device (200) is provided for processing overhead image data photographed by the photographing device (82);
The control device (200) of this combine is configured so that when an object that can be recognized as a grain collection container (201) appears in the overhead image, the position where the machine will stop and remain when unloading is displayed in the image as the unloading area (EA).
前記排出可能領域(EA)の外形線は、機体の前後及び左右の実寸法を元に、前記制御装置(200)により一定割合の縮小補正をかけたものを表示することを特徴とする請求項1に記載のコンバイン。 The combine harvester according to claim 1, characterized in that the outline of the dischargeable area (EA) is displayed by applying a certain percentage of reduction correction by the control device (200) based on the actual dimensions of the machine body in the front-to-back and left-to-right directions. 前記排出先端部(80)には、撮影装置(82)の映像内に映る回収容器(201)までの距離を測定する測距装置(203)を設け、
前記制御装置(200)は、該測距装置(203)の測定により得られた距離と、取得されている前記排出可能領域(EA)に基づき移動経路を算出し、該排出可能領域(EA)と重複する位置まで自動的に走行することを特徴とする請求項1に記載のコンバイン。
A distance measuring device (203) is provided at the discharge tip (80) to measure the distance to a collection container (201) shown in an image of the photographing device (82),
The combine harvester described in claim 1, characterized in that the control device (200) calculates a moving path based on the distance obtained by measurement of the distance measuring device (203) and the acquired dischargeable area (EA), and automatically travels to a position overlapping with the dischargeable area (EA).
前記制御装置(200)は、前記排出可能領域(EA)に到達すると排出装置(8)を回動させ、回収容器(201)の上方で排出クラッチを接続して穀粒の排出を行う構成とし、
該排出クラッチが入になってから前記排出装置(8)の伸縮操作が行われたときは、排出クラッチの入切を手動操作できる構成としたことを特徴とする請求項3に記載のコンバイン。
The control device (200) is configured to rotate the discharge device (8) when the grain reaches the dischargeable area (EA) and engage a discharge clutch above the collection container (201) to discharge the grains,
4. The combine harvester according to claim 3, wherein when the discharge clutch is turned on and the discharge device (8) is extended or retracted, the discharge clutch can be manually turned on and off.
前記制御装置(200)は、排出クラッチを接続してから所定時間が経過するごとに前記排出装置(8)を時計回り方向または反時計回り方向に交互に回動させる構成としたことを特徴とする請求項4に記載のコンバイン。 The combine harvester according to claim 4, characterized in that the control device (200) is configured to rotate the discharge device (8) alternately in a clockwise or counterclockwise direction each time a predetermined time has elapsed since the discharge clutch was engaged. 前記排出装置(8)は上下回動可能に構成し、該排出装置(8)の上下回動角度を検出する角度センサ(87)を設け、
前記撮影装置(82)と測距装置(203)は、摺動アクチュエータ(85)により前後方向に摺動すると共に、傾動アクチュエータ(86)により上下回動する可動装置(84)に装着し、
前記制御装置(200)は、前記角度センサ(87)の角度の変化に連動して前記摺動アクチュエータ(85)及び傾動アクチュエータ(86)を作動させ、可動装置(84)の摺動及び回動により前記撮影装置(82)と測距装置(203)の姿勢を変化させる構成としたことを特徴とする請求項2から5のいずれか1項に記載のコンバイン。
The discharge device (8) is configured to be vertically rotatable, and an angle sensor (87) is provided to detect the vertical rotation angle of the discharge device (8);
The photographing device (82) and the distance measuring device (203) are mounted on a movable device (84) that slides in the forward and backward directions by a sliding actuator (85) and rotates up and down by a tilting actuator (86);
The combine harvester described in any one of claims 2 to 5, characterized in that the control device (200) is configured to operate the sliding actuator (85) and the tilting actuator (86) in conjunction with a change in the angle of the angle sensor (87), and to change the attitude of the camera device (82) and the distance measuring device (203) by sliding and rotating the movable device (84).
JP2023059333A 2023-03-31 2023-03-31 combine Pending JP2024146437A (en)

Priority Applications (1)

Application Number Priority Date Filing Date Title
JP2023059333A JP2024146437A (en) 2023-03-31 2023-03-31 combine

Applications Claiming Priority (1)

Application Number Priority Date Filing Date Title
JP2023059333A JP2024146437A (en) 2023-03-31 2023-03-31 combine

Publications (1)

Publication Number Publication Date
JP2024146437A true JP2024146437A (en) 2024-10-15

Family

ID=93056733

Family Applications (1)

Application Number Title Priority Date Filing Date
JP2023059333A Pending JP2024146437A (en) 2023-03-31 2023-03-31 combine

Country Status (1)

Country Link
JP (1) JP2024146437A (en)

Similar Documents

Publication Publication Date Title
JP6958508B2 (en) Harvesting work system
US12007762B2 (en) Adjustable height sensor roof
US10383279B2 (en) Electronics for an articulated harvesting combine
RU2324323C2 (en) Device and way of management of cargo handling facilities (variants) and harvester with such device
CN105682446A (en) combine harvester
US20190313580A1 (en) Work equipment
CN107072150B (en) Combine harvester
JP2024146437A (en) combine
JP2024146438A (en) combine
JP4871039B2 (en) Combine rear monitoring device
JP4314987B2 (en) Combine
CN106973620B (en) Combine harvester
CN105992513A (en) Combine
WO2017047413A1 (en) Harvester and normal-type combine
JP7664700B2 (en) Work equipment
JP2002335742A (en) Combine
JP2005151871A (en) Combine
JP2019187286A (en) Combine
CN116249442B (en) Combine harvester, image display system, image display method, image display program, and recording medium having image display program recorded thereon
WO2022137848A1 (en) Sugarcane harvester and work machine
JP2005245324A (en) General-purpose combine pillow handling device
JP2011055757A (en) Combine harvester
JP7732491B2 (en) Harvesting machine
JP2021069286A (en) Combine harvester
US20260000028A1 (en) Grain cart control spout and related methods