JP2024139398A - Encapsulating resin for use in compression molding, and forming method and forming device thereof - Google Patents

Encapsulating resin for use in compression molding, and forming method and forming device thereof Download PDF

Info

Publication number
JP2024139398A
JP2024139398A JP2023050312A JP2023050312A JP2024139398A JP 2024139398 A JP2024139398 A JP 2024139398A JP 2023050312 A JP2023050312 A JP 2023050312A JP 2023050312 A JP2023050312 A JP 2023050312A JP 2024139398 A JP2024139398 A JP 2024139398A
Authority
JP
Japan
Prior art keywords
resin
sealing
forming
sealing resin
workpiece
Prior art date
Legal status (The legal status is an assumption and is not a legal conclusion. Google has not performed a legal analysis and makes no representation as to the accuracy of the status listed.)
Pending
Application number
JP2023050312A
Other languages
Japanese (ja)
Other versions
JP2024139398A5 (en
Inventor
正明 涌井
Masaaki Wakui
高志 斉藤
Takashi Saito
誠 川口
Makoto Kawaguchi
祐大 野村
Yuta Nomura
Current Assignee (The listed assignees may be inaccurate. Google has not performed a legal analysis and makes no representation or warranty as to the accuracy of the list.)
Apic Yamada Corp
Original Assignee
Apic Yamada Corp
Priority date (The priority date is an assumption and is not a legal conclusion. Google has not performed a legal analysis and makes no representation as to the accuracy of the date listed.)
Filing date
Publication date
Application filed by Apic Yamada Corp filed Critical Apic Yamada Corp
Priority to JP2023050312A priority Critical patent/JP2024139398A/en
Priority to PCT/JP2023/042291 priority patent/WO2024202235A1/en
Priority to TW112150470A priority patent/TW202438280A/en
Publication of JP2024139398A publication Critical patent/JP2024139398A/en
Publication of JP2024139398A5 publication Critical patent/JP2024139398A5/ja
Pending legal-status Critical Current

Links

Images

Classifications

    • HELECTRICITY
    • H01ELECTRIC ELEMENTS
    • H01LSEMICONDUCTOR DEVICES NOT COVERED BY CLASS H10
    • H01L21/00Processes or apparatus adapted for the manufacture or treatment of semiconductor or solid state devices or of parts thereof
    • H01L21/02Manufacture or treatment of semiconductor devices or of parts thereof
    • H01L21/04Manufacture or treatment of semiconductor devices or of parts thereof the devices having potential barriers, e.g. a PN junction, depletion layer or carrier concentration layer
    • H01L21/50Assembly of semiconductor devices using processes or apparatus not provided for in a single one of the groups H01L21/18 - H01L21/326 or H10D48/04 - H10D48/07 e.g. sealing of a cap to a base of a container
    • H01L21/56Encapsulations, e.g. encapsulation layers, coatings

Landscapes

  • Engineering & Computer Science (AREA)
  • Physics & Mathematics (AREA)
  • Condensed Matter Physics & Semiconductors (AREA)
  • General Physics & Mathematics (AREA)
  • Manufacturing & Machinery (AREA)
  • Computer Hardware Design (AREA)
  • Microelectronics & Electronic Packaging (AREA)
  • Power Engineering (AREA)
  • Encapsulation Of And Coatings For Semiconductor Or Solid State Devices (AREA)
  • Casting Or Compression Moulding Of Plastics Or The Like (AREA)

Abstract

To provide a compression molding device and a sealing resin capable of realizing a compression molding method capable of preventing the occurrence of molding defects, and a method and device for forming the same.SOLUTION: A method for forming a sealing resin according to the present invention is a method for forming a sealing resin R to be used in compression molding of a workpiece W having a configuration in which an electronic component Wb is mounted on a substrate Wa, and includes a forming step of forming a frame-shaped or lattice-shaped sealing resin R having through holes Rh, the forming step includes a step of setting and forming the position and shape of the through hole Rh such that the electronic component Wb of the workpiece W is accommodated in the through hole Rh and the upper surfaces Wbf of the electronic component Wb is exposed.SELECTED DRAWING: Figure 15

Description

本発明は、圧縮成形に用いられる封止樹脂並びにその形成方法及び形成装置に関する。 The present invention relates to a sealing resin used in compression molding, as well as a method and device for forming the same.

基材に電子部品が搭載されたワークを封止樹脂により封止して成形品に加工する樹脂封止装置及び樹脂封止方法の例として、圧縮成形方式によるものが知られている。 One example of a resin sealing device and resin sealing method that uses a compression molding method to seal a workpiece having electronic components mounted on a substrate with sealing resin and process it into a molded product.

圧縮成形方式は、上型と下型とを備えて構成される封止金型に設けられる封止領域(キャビティ)に所定量の封止樹脂を供給すると共に当該封止領域にワークを配置して、上型と下型とでクランプする操作によって樹脂封止する技術である。一例として、上型にキャビティを設けた封止金型を用いる場合、ワーク上の中心位置に一括して封止樹脂を供給して成形する技術等が知られている。一方、下型にキャビティを設けた封止金型を用いる場合、当該キャビティを含む金型面を覆うリリースフィルム(以下、単に「フィルム」と称する場合がある)及び封止樹脂を供給して成形する技術等が知られている(特許文献1:特開2019-145550号公報参照)。 The compression molding method is a technique in which a predetermined amount of sealing resin is supplied to a sealing area (cavity) provided in a sealing mold comprising an upper mold and a lower mold, a workpiece is placed in the sealing area, and the upper and lower molds are clamped to seal the workpiece with resin. As an example, when a sealing mold having a cavity in the upper mold is used, a technique is known in which the sealing resin is supplied all at once to the center position on the workpiece and molded. On the other hand, when a sealing mold having a cavity in the lower mold is used, a technique is known in which a release film (hereinafter sometimes simply referred to as "film") that covers the mold surface including the cavity and the sealing resin are supplied and molded (Patent Document 1: JP 2019-145550 A).

特開2019-145550号公報JP 2019-145550 A

例えば、ワークとして、ストリップタイプのワイヤー接続された電子部品(半導体チップ)を樹脂封止する場合に、上型にキャビティが設けられる圧縮成形方式では、下型に保持されるワークのワイヤー部分が予めキャビティに供給した封止樹脂又はワーク上に供給した封止樹脂と接触して変形してしまうため、樹脂封止が困難であるという課題があった。そのため、一般的には、上型にワークが保持され、下型にキャビティが設けられ、当該キャビティ内に封止樹脂(一例として、顆粒樹脂)が供給される圧縮成形方式が採用されていた。 For example, when resin-sealing a strip-type wire-connected electronic component (semiconductor chip) as a workpiece, the compression molding method in which a cavity is provided in the upper die has the problem that resin sealing is difficult because the wire portion of the workpiece held in the lower die comes into contact with the sealing resin previously supplied to the cavity or the sealing resin supplied onto the workpiece and deforms. For this reason, a compression molding method in which the workpiece is held in the upper die, a cavity is provided in the lower die, and sealing resin (granular resin, as an example) is supplied into the cavity has generally been adopted.

しかしながら、上型にワークが保持され、下型にキャビティが設けられる構成においては、ワークが薄い場合や大型の場合に、上型での保持が難しく落下が生じ易いという課題があった。また、通常、フィルムを介在させて下型のキャビティ内に封止樹脂が供給される構成となるが、厚み(ここでは、成形後の樹脂部分の厚み)が1mmを超える程度に厚い成形品を形成しようとすると、成形ストロークが大きくなり、フィルムが成形品に噛み込んでしまう成形不良が生じ易いという課題があった。さらに、封止樹脂として顆粒樹脂が用いられる場合、前記のフィルム噛み込みが発生し易くなり、また、粉塵が発生するという課題や、ハンドリングが難しいという課題に加えて、下型に設けられるキャビティ内の全領域に対して均等に封止樹脂を供給(散布)することが難しく巻きムラが生じ易いという課題があった。また、封止樹脂の散布時に粒同士の隙間に含まれる空気及び溶融時に封止樹脂より脱泡することによる気体成分が抜けずに成形品に残ってしまう成形不良が生じ易いという課題があった。特に、電子部品がワイヤー接続により搭載されたワークの場合、樹脂封止時のキャビティ内における樹脂流動に起因するワイヤー流れ(ワイヤーの変形、切断)が生じるおそれもあった。 However, in a configuration in which a workpiece is held in the upper mold and a cavity is provided in the lower mold, when the workpiece is thin or large, it is difficult to hold it in the upper mold and it is likely to fall. In addition, although the sealing resin is usually supplied into the cavity of the lower mold through a film, when attempting to form a thick molded product with a thickness (here, the thickness of the resin part after molding) exceeding 1 mm, the molding stroke becomes large, and there is a problem that the film is likely to be caught in the molded product, resulting in molding defects. Furthermore, when granular resin is used as the sealing resin, in addition to the problem of the film being easily caught, dust being generated, and the problem of difficult handling, there is a problem that it is difficult to supply (spread) the sealing resin evenly to the entire area in the cavity provided in the lower mold, and uneven winding is likely to occur. In addition, there is a problem that the air contained in the gaps between the particles when the sealing resin is spread and the gas components due to degassing from the sealing resin when melted are not released and remain in the molded product, resulting in molding defects. In particular, in the case of workpieces in which electronic components are mounted via wire connections, there is a risk of wire flow (deformation or breakage of the wire) due to the flow of resin inside the cavity during resin sealing.

一方、キャビティの配置に関わらず、ヒートシンク等の電子部品が露出した成形品を形成する場合には、当該電子部品の所定部位、具体例としてヒートシンクの上面(すなわち冷却面)が設計通りに露出しない等の成形不良の発生を防止することが課題となる。 On the other hand, when forming a molded product in which electronic components such as heat sinks are exposed, regardless of the arrangement of the cavities, the challenge is to prevent molding defects such as a specific part of the electronic component, such as the top surface of a heat sink (i.e., the cooling surface), not being exposed as designed.

本発明は、上記事情に鑑みてなされ、ハンドリングが容易であると共に、特にワークに搭載された電子部品の上面が露出する成形品の形成に好適な封止樹脂であって、樹脂流動、巻きムラ、残留気体、成形時の粉塵発生に起因する成形不良の発生防止と、厚さ寸法が大きい成形品の形成と、を可能とする圧縮成形装置及び圧縮成形方法を実現することができる封止樹脂並びにその形成方法及び形成装置を提供することを目的とする。 The present invention has been made in consideration of the above circumstances, and aims to provide a sealing resin that is easy to handle and is particularly suitable for forming molded products in which the top surfaces of electronic components mounted on a workpiece are exposed, and that can realize a compression molding device and compression molding method that can prevent molding defects caused by resin flow, uneven winding, residual gas, and dust generation during molding, and can form molded products with large thickness dimensions, as well as a molding method and molding device for the sealing resin.

本発明は、一実施形態として以下に記載するような解決手段により、前記課題を解決する。 The present invention solves the above problems by the solution described below as one embodiment.

一実施形態に係る封止樹脂は、ワークの圧縮成形に用いられる封止樹脂であって、貫通孔を有する枠状もしくは格子状に形成されていることを要件とする。例えば、前記ワークとして、基材に電子部品が搭載された構成を有するワークが用いられる。その場合、前記基材上に載置されたときに前記電子部品が収容されて該電子部品の上面を露出させる貫通孔を有する形状に形成されていることが好ましい。 The sealing resin according to one embodiment is a sealing resin used in compression molding of a workpiece, and is required to be formed in a frame or lattice shape with through holes. For example, a workpiece having a configuration in which electronic components are mounted on a substrate is used as the workpiece. In that case, it is preferable that the resin is formed in a shape having through holes that accommodate the electronic components and expose the top surfaces of the electronic components when placed on the substrate.

また、一実施形態に係る封止樹脂の形成方法は、基材に電子部品が搭載された構成を有するワークの圧縮成形に用いられる封止樹脂を形成する封止樹脂の形成方法であって、貫通孔を有する枠状もしくは格子状の前記封止樹脂を形成する形成工程を備え、前記形成工程は、前記貫通孔に前記ワークの前記電子部品が収容されて該電子部品上面が露出するように該貫通孔の位置及び形状を設定して形成する工程を有することを要件とする。 In one embodiment, the method for forming a sealing resin is a method for forming a sealing resin used in compression molding of a workpiece having a configuration in which electronic components are mounted on a substrate, and includes a forming step of forming the sealing resin in a frame or lattice shape having through holes, and the forming step includes a step of setting and forming the positions and shapes of the through holes so that the electronic components of the workpiece are housed in the through holes and the top surfaces of the electronic components are exposed.

また、前記形成工程は、ベース樹脂を打錠して前記封止樹脂を形成する工程を有することが好ましい。また、前記ベース樹脂として、パウダー樹脂が用いられることが好ましい。 The forming step preferably includes a step of tableting a base resin to form the sealing resin. It is also preferable that a powder resin is used as the base resin.

本発明に係る封止樹脂を用いれば、樹脂流動、巻きムラ、残留気体、成形時の粉塵発生に起因する成形不良の発生防止と、特にワークに搭載された電子部品の上面が露出しない成形不良の発生防止と、厚さ寸法が大きい成形品の形成と、を可能とする圧縮成形装置及び圧縮成形方法を実現することができる。また、顆粒樹脂等と比べて特に供給時やセット時におけるハンドリングが容易となる。 By using the sealing resin according to the present invention, it is possible to realize a compression molding device and compression molding method that can prevent molding defects caused by resin flow, uneven winding, residual gas, and dust generation during molding, in particular molding defects where the top surface of electronic components mounted on the workpiece is not exposed, and form molded products with large thickness dimensions. In addition, handling is easier than with granular resins, especially when supplying and setting.

本発明の実施形態に係る封止樹脂が用いられる圧縮成形装置の例を示す平面図である。FIG. 2 is a plan view showing an example of a compression molding device in which a sealing resin according to an embodiment of the present invention is used 本発明の実施形態に係る封止樹脂が用いられる圧縮成形方法の例を説明する説明図である。1A to 1C are explanatory diagrams illustrating an example of a compression molding method using a sealing resin according to an embodiment of the present invention. 図2に続く説明図である。FIG. 3 is an explanatory diagram continuing from FIG. 2 . 図4Aは図3に続く説明図であり、図4Bは図4Aに続く説明図であり、共に図3のIV部位置における拡大図として示す。4A is an explanatory view following FIG. 3, and FIG. 4B is an explanatory view following FIG. 4A, both of which are enlarged views of the portion IV in FIG. 図4Bに続く説明図である。FIG. 4B is an explanatory diagram following FIG. 4B. 図5に続く説明図である。FIG. 6 is an explanatory diagram following FIG. 5 . 本発明の実施形態に係る封止樹脂が用いられる圧縮成形方法の他の例を説明する説明図である。5A to 5C are explanatory diagrams illustrating another example of a compression molding method using a sealing resin according to an embodiment of the present invention 図7に続く説明図である。FIG. 8 is an explanatory diagram following FIG. 7 . 図8に続く説明図である。FIG. 9 is an explanatory diagram following FIG. 8 . 本発明の実施形態に係る封止樹脂の形成装置の例を示す側面図である。1 is a side view illustrating an example of an apparatus for forming a sealing resin according to an embodiment of the present invention. 図10に示す形成装置の打錠金型の例を示す側面断面図である。FIG. 11 is a side cross-sectional view showing an example of a tableting die of the forming apparatus shown in FIG. 本発明の実施形態に係る封止樹脂の形成方法の説明図である。5A to 5C are explanatory diagrams of a method for forming a sealing resin according to an embodiment of the present invention. 図12に続く説明図である。FIG. 13 is an explanatory diagram following FIG. 12. 図13に続く説明図である。FIG. 14 is an explanatory diagram following FIG. 13. 本発明の実施形態に係る封止樹脂の例を示す斜視図である。FIG. 2 is a perspective view illustrating an example of a sealing resin according to an embodiment of the present invention. 本発明の実施形態に係る封止樹脂により樹脂封止されるワークの例を示す斜視図である。1 is a perspective view showing an example of a workpiece to be resin-sealed with a sealing resin according to an embodiment of the present invention; 本発明の実施形態に係る封止樹脂により樹脂封止された成形品の例を示す斜視図である。1 is a perspective view showing an example of a molded product that is resin-sealed with a sealing resin according to an embodiment of the

(圧縮成形装置及び圧縮成形方法)
本発明の実施形態に係る封止樹脂Rは、ワークWの圧縮成形に用いられる封止樹脂Rである。初めに、当該封止樹脂Rを用いてワークWの樹脂封止(圧縮成形)を行う圧縮成形装置1及び圧縮成形方法の概略について説明する。ここで、図1は、圧縮成形装置1の例を示す平面図(概略図)である。
(Compression molding device and compression molding method)
The sealing resin R according to the embodiment of the present invention is a sealing resin R used for compression molding of a workpiece W. First, an outline of a compression molding apparatus 1 and a compression molding method for resin sealing (compression molding) a workpiece W using the sealing resin R will be described. Here, FIG. 1 is a plan view (schematic view) showing an example of the compression molding apparatus 1.

封止対象であるワークWは、基材Waに電子部品Wbが搭載された構成を備えている。より具体的には、基材Waの例として、樹脂基板、セラミックス基板、金属基板、キャリアプレート、リードフレーム、ウェハ等の板状の部材が挙げられる。また、電子部品Wbの例として、半導体チップ、MEMSチップ、受動素子、放熱板、導電部材、スペーサ等が挙げられる。尚、基材Waの形状は、長方形状(短冊状)、正方形状、円形状等である。また、一つの基材Waに搭載される電子部品Wbの個数は、一つもしくは複数個(例えば、マトリクス状等)に設定される。 The workpiece W to be sealed has a structure in which electronic components Wb are mounted on a substrate Wa. More specifically, examples of the substrate Wa include plate-shaped members such as resin substrates, ceramic substrates, metal substrates, carrier plates, lead frames, and wafers. Examples of the electronic components Wb include semiconductor chips, MEMS chips, passive elements, heat sinks, conductive members, spacers, and the like. The shape of the substrate Wa is rectangular (striped), square, circular, and the like. The number of electronic components Wb mounted on one substrate Wa is set to one or more (for example, in a matrix).

基材Waに電子部品Wbを搭載する方法の例として、ワイヤーボンディング実装、フリップチップ実装等による方法が挙げられる。あるいは、樹脂封止後に成形品Wpから基材(ガラス製や金属製のキャリアプレート)Waを剥離する構成の場合には、熱剥離性を有する粘着テープや紫外線照射により硬化する紫外線硬化性樹脂を用いて電子部品Wbを貼付ける方法もある。 Examples of methods for mounting electronic components Wb on the substrate Wa include wire bonding and flip chip mounting. Alternatively, in the case of a configuration in which the substrate (glass or metal carrier plate) Wa is peeled off from the molded product Wp after resin sealing, the electronic components Wb can be attached using a thermally peelable adhesive tape or an ultraviolet-curable resin that is cured by exposure to ultraviolet light.

また、フィルムFの例として、耐熱性、剥離容易性、柔軟性、伸展性に優れたフィルム材、例えば、PTFE(ポリテトラフルオロエチレン)、ETFE(ポリテトラフルオロエチレン重合体)、PET、FEP、フッ素含浸ガラスクロス、ポリプロピレン、ポリ塩化ビニリジン等が好適に用いられる。尚、フィルムFは、後述の形成装置100において封止樹脂Rを形成する際にも用いられる。 As examples of film F, film materials with excellent heat resistance, ease of peeling, flexibility, and extensibility, such as PTFE (polytetrafluoroethylene), ETFE (polytetrafluoroethylene polymer), PET, FEP, fluorine-impregnated glass cloth, polypropylene, polyvinylidine chloride, etc. are preferably used. Film F is also used when forming sealing resin R in forming device 100 described below.

図1に示すように、圧縮成形装置1は、ワークWの供給等を行う供給ユニット10A、ワークWを樹脂封止して成形品Wpへの加工等を行うプレスユニット10B、成形品Wpの収納等を行う収納ユニット10Cを主要構成として備えている。一例として、図1中のX方向に沿って、供給ユニット10A、プレスユニット10B、収納ユニット10Cの順に配置されている。但し、上記の構成に限定されるものではなく、ユニット内の機器構成やユニット数(特に、プレスユニット数)、ユニットの配置順等を変更することができる。また、上記以外のユニットを備える構成とすることもできる(いずれも不図示)。 As shown in FIG. 1, the compression molding device 1 mainly comprises a supply unit 10A for supplying the workpiece W, a press unit 10B for sealing the workpiece W with resin and processing it into a molded product Wp, and a storage unit 10C for storing the molded product Wp. As an example, the supply unit 10A, press unit 10B, and storage unit 10C are arranged in this order along the X direction in FIG. 1. However, the above configuration is not limited to this, and the equipment configuration within the unit, the number of units (particularly the number of press units), the arrangement order of the units, etc. can be changed. It is also possible to have a configuration that includes units other than those described above (all not shown).

また、圧縮成形装置1は、各ユニット間を跨いでガイドレール20が直線状に設けられており、ワークW及び封止樹脂Rを搬送する搬送装置(第1ローダ)22、並びに、成形品Wpを搬送する(封止樹脂Rの搬送に用いてもよい)搬送装置(第2ローダ)24が、ガイドレール20に沿って所定のユニット間を移動可能に設けられている。但し、上記の構成に限定されるものではなく、ワークW、封止樹脂R、及び成形品Wpを搬送する共通の(一つの)搬送装置(ローダ)を備える構成としてもよい(不図示)。また、搬送装置は、ローダに代えて、ロボットハンド等を備える構成としてもよい。 In addition, the compression molding device 1 has a guide rail 20 that is linearly provided between each unit, and a transport device (first loader) 22 that transports the workpiece W and the sealing resin R, and a transport device (second loader) 24 that transports the molded product Wp (which may be used to transport the sealing resin R) are provided so as to be movable between predetermined units along the guide rail 20. However, the configuration is not limited to the above, and a configuration may be provided with a common (single) transport device (loader) that transports the workpiece W, the sealing resin R, and the molded product Wp (not shown). Furthermore, the transport device may be configured to include a robot hand or the like instead of a loader.

また、圧縮成形装置1は、各ユニットにおける各機構の作動制御を行う制御部30が供給ユニット10Aに配置されている(他のユニットに配置される構成としてもよい)。 In addition, the compression molding device 1 has a control unit 30 that controls the operation of each mechanism in each unit, which is located in the supply unit 10A (it may also be configured to be located in another unit).

プレスユニット10Bは、プレス装置250によって型開閉される一対の封止金型を備えている。封止金型は、一例として、上型にキャビティが設けられる構成(封止金型202)としてもよく、他の例として、下型にキャビティが設けられる構成(封止金型302)としてもよい。また、プレス装置250には、上型204におけるキャビティ208の内面を含む金型面204a(所定領域)を覆うためのフィルムFを供給するフィルム供給部211が設けられている。尚、一例として、フィルムFは、ロール状であるが短冊状であってもよい。 The press unit 10B is equipped with a pair of sealing dies that are opened and closed by the press device 250. As an example, the sealing dies may be configured such that a cavity is provided in the upper die (sealing die 202), or as another example, may be configured such that a cavity is provided in the lower die (sealing die 302). The press device 250 is also provided with a film supply section 211 that supplies film F to cover the die surface 204a (predetermined area) including the inner surface of the cavity 208 in the upper die 204. As an example, the film F is in a roll shape, but it may also be in a strip shape.

一例として、封止金型202を備える場合の圧縮成形装置1を用いて実施される圧縮成形方法の工程について図2~図6を参照して説明する。本実施形態においては、ヒートシンク等の電子部品Wbの所定部位(具体的には、ヒートシンクの上面(基材Wa側と逆側の面を指す)すなわち冷却面)Wbfが露出した成形品Wpを形成する場合を例に挙げて説明する。尚、説明の簡素化のため、基材Wa上の電子部品Wbは一部品としているが、複数の積層部品からなる場合もある。 As an example, the steps of a compression molding method performed using a compression molding apparatus 1 equipped with a sealing mold 202 will be described with reference to Figures 2 to 6. In this embodiment, an example will be described in which a molded product Wp is formed in which a predetermined portion Wbf of an electronic component Wb such as a heat sink (specifically, the upper surface (referring to the surface opposite the substrate Wa), i.e., the cooling surface) of the heat sink is exposed. Note that, for simplicity of explanation, the electronic component Wb on the substrate Wa is treated as a single component, but it may be made up of multiple laminated components.

先ず、準備工程(封止準備工程)を実施する。具体的に、上型204及び下型206を所定温度(例えば、100℃~300℃)に調整して加熱する工程を実施する。また、フィルム供給部211を作動させて新しいフィルムFを供給して、上型204におけるキャビティ208の内面を含む金型面204aの所定領域を覆うように吸着させる工程を実施する。 First, a preparation process (sealing preparation process) is carried out. Specifically, a process is carried out in which the upper mold 204 and the lower mold 206 are adjusted to a predetermined temperature (e.g., 100°C to 300°C) and heated. In addition, a process is carried out in which the film supply unit 211 is operated to supply new film F and adsorb it to cover a predetermined area of the mold surface 204a, including the inner surface of the cavity 208 in the upper mold 204.

準備工程の後に、下型206のワーク保持部205にワークWを保持させるワーク保持工程を実施する。具体的には、供給マガジン12から供給されたワークWを、第1ローダ22によって保持して封止金型202内へ搬入し、下プレート242(金型面206a)のワーク保持部205に保持させる(図2参照)。 After the preparation process, a workpiece holding process is performed in which the workpiece W is held by the workpiece holding portion 205 of the lower die 206. Specifically, the workpiece W supplied from the supply magazine 12 is held by the first loader 22 and carried into the sealing die 202, where it is held by the workpiece holding portion 205 of the lower plate 242 (die surface 206a) (see FIG. 2).

ワーク保持工程の後に、封止樹脂Rを、ワーク保持部205に保持させたワークWの上に載置する樹脂載置工程を実施する(図3参照)。具体的には、後述する封止樹脂の形成装置(単に、「形成装置」と称する場合がある)100において形成された封止樹脂Rを、第1ローダ22(他の搬送装置でもよい)によって保持して封止金型202内へ搬入し、ワーク保持部205に保持されたワークWの上に載置する。電子部品Wbの上面Wbfが露出した成形品Wpを形成する場合、当該電子部品Wbが封止樹脂Rの貫通孔Rh(詳細は後述する)に収容されるように、ワークW及び封止樹脂Rを相互に位置合わせをして載置する。 After the workpiece holding step, a resin placing step is performed in which the sealing resin R is placed on the workpiece W held by the workpiece holding section 205 (see FIG. 3). Specifically, the sealing resin R formed in the sealing resin forming device (sometimes simply referred to as the "forming device") 100 described below is held by the first loader 22 (or another conveying device may be used) and carried into the sealing mold 202, and placed on the workpiece W held by the workpiece holding section 205. When forming a molded product Wp in which the top surface Wbf of the electronic component Wb is exposed, the workpiece W and the sealing resin R are aligned with each other and placed so that the electronic component Wb is accommodated in the through hole Rh (described in detail later) of the sealing resin R.

または、樹脂載置工程の他の例として、上記のワーク保持工程の前に、形成装置100において形成された封止樹脂RをワークWの上に載置する工程として実施してもよい。その場合、ワーク保持工程は、封止樹脂Rが載置された状態のワークWをワーク保持部205に保持させる工程となる。すなわち、第1ローダ22は、封止樹脂Rが載置された状態のワークWを保持して封止金型202内へ搬入し、ワーク保持部205に保持させる。封止金型202へのワークWと封止樹脂Rをそれぞれ別に行うのではなく、一回で行う利点がある。 Alternatively, as another example of the resin placing process, the sealing resin R formed in the forming device 100 may be placed on the workpiece W before the above-mentioned workpiece holding process. In this case, the workpiece holding process is a process in which the workpiece W with the sealing resin R placed thereon is held by the workpiece holding section 205. That is, the first loader 22 holds the workpiece W with the sealing resin R placed thereon, carries it into the sealing die 202, and holds it in the workpiece holding section 205. This has the advantage of carrying out the workpiece W and sealing resin R in the sealing die 202 in one go, rather than separately.

次いで、ワークWを封止樹脂Rにより封止して成形品Wpに加工する樹脂封止工程を実施する。具体的に、封止金型202の型閉じを行い、クランパ228に囲われたキャビティ208内でキャビティ駒226を相対的に下降させて、ワークWに対して封止樹脂Rを加熱加圧する型閉じ工程を実施する。 Next, a resin sealing process is performed in which the workpiece W is sealed with sealing resin R and processed into a molded product Wp. Specifically, the sealing mold 202 is closed, and the cavity piece 226 is lowered relatively within the cavity 208 surrounded by the clamper 228, to perform a mold closing process in which the sealing resin R is heated and pressurized against the workpiece W.

電子部品Wbの上面Wbfが露出した成形品Wpを形成する場合、封止金型202(この場合、上型204)は、以下の構成を備えることが好適である。具体的に、キャビティ駒226において、電子部品Wbの上面Wbfの全面と当接し、且つ、上下動可能な可動駒236が設けられている。当該可動駒236は押動ピン232を介して可動駒バネ234によって下型206に向けて付勢された状態で支持されている。一例として、可動駒236は、平面視において、電子部品Wbの外形よりも所定寸法大きい外形となるように設定されている。 When forming a molded product Wp in which the top surface Wbf of the electronic component Wb is exposed, it is preferable that the sealing mold 202 (in this case, the upper mold 204) has the following configuration. Specifically, the cavity piece 226 is provided with a movable piece 236 that abuts against the entire top surface Wbf of the electronic component Wb and is movable up and down. The movable piece 236 is supported in a state in which it is biased toward the lower mold 206 by a movable piece spring 234 via a pushing pin 232. As an example, the movable piece 236 is set to have an outer shape that is a predetermined dimension larger than the outer shape of the electronic component Wb in a plan view.

この構成を備える封止金型202を用いて実施する型閉じ工程は以下のようになる。具体的に、上型204と下型206とを相互に接近させる動作を行う。このとき、初めにクランパ228がワークWの基材Waと当接して、当該ワークWを挟持する(図4A参照)。次いで(もしくは同時に)、可動駒236がワークWの電子部品Wbの上面Wbfと当接して、当該上面Wbfの全面が覆われた状態となる(図4B参照)。次いで、キャビティ駒226の下面(可動駒236が設けられていない領域)がワークWの基材Wa上に載置された封止樹脂Rと当接し、さらに加圧する。このような型閉じ工程によって、封止樹脂Rが熱硬化して樹脂封止(圧縮成形)が完了する(図5参照)。 The mold closing process performed using the sealing mold 202 having this configuration is as follows. Specifically, the upper mold 204 and the lower mold 206 are moved closer to each other. At this time, the clamper 228 first comes into contact with the base material Wa of the work W and clamps the work W (see FIG. 4A). Next (or at the same time), the movable piece 236 comes into contact with the upper surface Wbf of the electronic component Wb of the work W, covering the entire upper surface Wbf (see FIG. 4B). Next, the lower surface of the cavity piece 226 (the area where the movable piece 236 is not provided) comes into contact with the sealing resin R placed on the base material Wa of the work W and further pressurizes it. This mold closing process causes the sealing resin R to thermally harden and complete the resin sealing (compression molding) (see FIG. 5).

上記の型閉じ工程に続く後の工程として、封止金型202の型開きを行い、成形品Wpと使用済みのフィルムFとを分離して当該成形品Wpを取出せるようにする型開き工程を実施する(図6参照)。本実施形態においては、上記の通り可動駒236がワークWの電子部品Wbの上面Wbf(全面)を覆った状態で樹脂封止が行われるため、当該上面Wbf(全面)が露出した状態の成形品Wpが形成される。尚、変形例として、電子部品Wbの上面Wbfの全面ではなく、一部領域を露出部位として設定することも可能である(不図示)。 As a step following the mold closing step, the sealing mold 202 is opened and the molded product Wp is separated from the used film F so that the molded product Wp can be removed (see FIG. 6). In this embodiment, as described above, resin sealing is performed with the movable piece 236 covering the upper surface Wbf (entire surface) of the electronic component Wb of the workpiece W, so that the molded product Wp is formed with the upper surface Wbf (entire surface) exposed. As a modified example, it is also possible to set a partial area as the exposed portion instead of the entire upper surface Wbf of the electronic component Wb (not shown).

次いで、第2ローダ24によって、成形品Wpを封止金型202内から搬出し、収納ユニット10Cへ搬送する成形品搬出工程を実施する。一例として、搬送した成形品Wpは、収納マガジン14に収納する。また、成形品搬出工程の後に、もしくは、並行して、フィルム供給部211を作動させて、使用済みのフィルムFを封止金型202内から送り出し、新しいフィルムFを封止金型202内へ送り込んでセットする工程を実施する。 Next, the molded product Wp is removed from the sealing mold 202 by the second loader 24, and a molded product removal process is carried out to transport it to the storage unit 10C. As an example, the transported molded product Wp is stored in the storage magazine 14. In addition, after or in parallel with the molded product removal process, a process is carried out in which the film supply unit 211 is operated to send out the used film F from the sealing mold 202 and send a new film F into the sealing mold 202 and set it there.

以上が封止金型202を備える場合の圧縮成形装置1を用いて行う圧縮成形方法の主要工程である。但し、上記の工程順は一例であって、支障がない限り先後順の変更や並行実施が可能である。 The above are the main steps of the compression molding method performed using the compression molding device 1 when equipped with the sealing mold 202. However, the above order of steps is only an example, and the order of steps can be changed or steps can be performed in parallel as long as there are no problems.

他の例として、封止金型302を備える場合の圧縮成形装置1を用いて実施される圧縮成形方法の工程について図7~図9を参照して説明する。この場合、プレス装置250には、下型306におけるキャビティ308の内面を含む金型面306a(所定領域)を覆うためのフィルムFを供給するフィルム供給部311が設けられている。尚、一例として、フィルムFは、ロール状であるが短冊状であってもよい。 As another example, the steps of a compression molding method performed using a compression molding apparatus 1 equipped with a sealing mold 302 will be described with reference to Figures 7 to 9. In this case, the press device 250 is provided with a film supply section 311 that supplies film F to cover the mold surface 306a (predetermined area) including the inner surface of the cavity 308 in the lower mold 306. As an example, the film F is in a roll shape, but it may also be in a strip shape.

先ず、準備工程(封止準備工程)を実施する。具体的に、上型304及び下型306を所定温度(例えば、100℃~300℃)に調整して加熱する工程を実施する。また、フィルム供給部311を作動させて新しいフィルムFを供給して、下型306におけるキャビティ308の内面を含む金型面306aの所定領域を覆うように吸着させる工程を実施する。 First, a preparation process (sealing preparation process) is carried out. Specifically, a process is carried out in which the upper die 304 and the lower die 306 are adjusted to a predetermined temperature (e.g., 100°C to 300°C) and heated. In addition, a process is carried out in which the film supply unit 311 is operated to supply new film F and adsorb it so as to cover a predetermined area of the die surface 306a, including the inner surface of the cavity 308 in the lower die 306.

準備工程の後に、上型304のワーク保持部305にワークWを保持させるワーク保持工程を実施する。具体的には、供給マガジン12から供給されたワークWを、第1ローダ22によって保持して封止金型302内へ搬入し、上プレート342(金型面304a)のワーク保持部305に保持させる。 After the preparation process, a workpiece holding process is performed in which the workpiece W is held by the workpiece holding portion 305 of the upper die 304. Specifically, the workpiece W supplied from the supply magazine 12 is held by the first loader 22 and carried into the sealing die 302, where it is held by the workpiece holding portion 305 of the upper plate 342 (die surface 304a).

ワーク保持工程の後に、樹脂保持工程を実施する(尚、ワーク保持工程の前に、もしくは並行して実施してもよい)。樹脂保持工程は以下の工程を有している。封止樹脂Rを、下型306のキャビティ308内に保持させる(図7参照)。具体的には、形成装置100において形成された封止樹脂Rを、第1ローダ22(他の搬送装置でもよい)によって保持して封止金型302内へ搬入し、キャビティ308内に収容する(具体的には、キャビティ駒326の上面に載置する)。電子部品Wbの上面Wbfが露出した成形品Wpを形成する場合、当該電子部品Wbが封止樹脂Rの貫通孔Rh(詳細は後述する)に収容されるように、ワークW及び封止樹脂Rを相互に位置合わせをしてそれぞれ保持させる。 After the workpiece holding process, the resin holding process is performed (it may be performed before or in parallel with the workpiece holding process). The resin holding process includes the following steps. The sealing resin R is held in the cavity 308 of the lower die 306 (see FIG. 7). Specifically, the sealing resin R formed in the forming device 100 is held by the first loader 22 (or another conveying device) and carried into the sealing mold 302, and accommodated in the cavity 308 (specifically, placed on the upper surface of the cavity piece 326). When forming a molded product Wp in which the upper surface Wbf of the electronic component Wb is exposed, the workpiece W and the sealing resin R are aligned with each other and held so that the electronic component Wb is accommodated in the through hole Rh (details will be described later) of the sealing resin R.

次いで、ワークWを封止樹脂Rにより封止して成形品Wpに加工する樹脂封止工程を実施する。具体的に、封止金型302の型閉じを行い、クランパ328に囲われたキャビティ308内でキャビティ駒326を相対的に上昇させて、ワークWに対して封止樹脂Rを加熱加圧する型閉じ工程を実施する。これにより、封止樹脂Rが熱硬化して樹脂封止(圧縮成形)が完了する(図8参照)。 Next, a resin sealing process is performed in which the workpiece W is sealed with sealing resin R and processed into a molded product Wp. Specifically, the sealing mold 302 is closed, and the cavity piece 326 is raised relatively within the cavity 308 surrounded by the clamper 328 to perform a mold closing process in which the sealing resin R is heated and pressurized against the workpiece W. This causes the sealing resin R to thermally harden, completing the resin sealing (compression molding) (see FIG. 8).

尚、この例(封止金型302を備える場合)においては、下型306のキャビティ駒326において、前述の例(封止金型202を備える場合)と同様に構成される可動駒336、押動ピン332、可動駒バネ334を設ければよい。これにより、可動駒236と当接するワークW(電子部品Wb)の上面Wbfを露出面として形成できる。 In this example (when the sealing mold 302 is provided), the cavity piece 326 of the lower mold 306 may be provided with a movable piece 336, a push pin 332, and a movable piece spring 334 configured in the same manner as in the previous example (when the sealing mold 202 is provided). This allows the upper surface Wbf of the workpiece W (electronic component Wb) that abuts against the movable piece 236 to be formed as an exposed surface.

上記の型閉じ工程に続く後の工程として、封止金型302の型開きを行い、成形品Wpと使用済みのフィルムFとを分離して当該成形品Wpを取出せるようにする型開き工程を実施する(図9参照)。次いで、第2ローダ24によって、成形品Wpを封止金型302内から搬出し、収納ユニット10Cへ搬送する成形品搬出工程を実施する。一例として、搬送した成形品Wpは、収納マガジン14に収納する。また、成形品搬出工程の後に、もしくは、並行して、フィルム供給部311を作動させて、使用済みのフィルムFを封止金型302内から送り出し、新しいフィルムFを封止金型302内へ送り込んでセットする工程を実施する。 As a process following the mold closing process, the sealing mold 302 is opened and the molded product Wp is separated from the used film F so that the molded product Wp can be removed (see FIG. 9). Next, the molded product unloading process is carried out in which the second loader 24 unloads the molded product Wp from the sealing mold 302 and transports it to the storage unit 10C. As an example, the transported molded product Wp is stored in the storage magazine 14. In addition, after or in parallel with the molded product unloading process, the film supply unit 311 is operated to send out the used film F from the sealing mold 302 and send a new film F into the sealing mold 302 and set it there.

以上が封止金型302を備える場合の圧縮成形装置1を用いて行う圧縮成形方法の主要工程である。但し、上記の工程順は一例であって、支障がない限り先後順の変更や並行実施が可能である。 The above are the main steps of the compression molding method performed using the compression molding device 1 when equipped with the sealing mold 302. However, the above order of steps is only an example, and the order of steps can be changed or steps can be performed in parallel as long as there are no problems.

(封止樹脂の形成装置)
続いて、上記の圧縮成形装置1及び圧縮成形方法に用いられる封止樹脂Rを形成する形成装置100について図10、図11を参照して説明する。当該形成装置100は、ベース樹脂Rmを加工して、封止樹脂Rを形成する。ここで、図10は、形成装置100の例を示す側面図(概略図)である。尚、形成装置100は、圧縮成形装置1の装置内、装置外のいずれに設けてもよい。
(Sealing resin forming device)
Next, the forming device 100 for forming the sealing resin R used in the compression molding device 1 and the compression molding method will be described with reference to Figs. 10 and 11. The forming device 100 processes the base resin Rm to form the sealing resin R. Here, Fig. 10 is a side view (schematic view) showing an example of the forming device 100. The forming device 100 may be provided either inside or outside the compression molding device 1.

本実施形態においては、ベース樹脂Rm、及び、当該ベース樹脂Rmから形成される封止樹脂Rとして、熱硬化性樹脂(例えば、フィラー含有のエポキシ系樹脂等であるが、これに限定されない)が用いられる。封止樹脂Rは、全体の形状がワークWの形状に対応させた所定形状(詳細は後述)を有する固形・半固形樹脂として形成される。通常は、一個で封止必要量(ワークW一個当たりの一回分)の「全体」をなすが、数個(例えば二、三個程度)の分割状態で封止必要量の「全体」をなすように構成してもよい。また、上記「半固形」とは完全な固形状態ではなくいわゆるBステージまで溶融した状態をいう。尚、ベース樹脂Rmには、熱硬化性樹脂(性質)であるパウダー樹脂(態様)が好適に用いられる(詳細は後述)。但し、これに限定されるものではなく、顆粒樹脂、破砕状樹脂、固形樹脂、液状樹脂、もしくは、それらの内の複数を組合せた樹脂、が用いられる構成としてもよい。 In this embodiment, a thermosetting resin (such as, but not limited to, an epoxy resin containing a filler) is used as the base resin Rm and the sealing resin R formed from the base resin Rm. The sealing resin R is formed as a solid or semi-solid resin having a predetermined shape (details will be described later) that corresponds to the shape of the workpiece W. Usually, one piece constitutes the "whole" of the required amount of sealing (one time per workpiece W), but it may be configured so that several pieces (e.g., about two or three pieces) are divided to constitute the "whole" of the required amount of sealing. In addition, the above-mentioned "semi-solid" does not mean a completely solid state, but a state in which it is melted to the so-called B stage. In addition, a powder resin (form) that is a thermosetting resin (property) is preferably used for the base resin Rm (details will be described later). However, it is not limited to this, and a granular resin, a crushed resin, a solid resin, a liquid resin, or a resin that is a combination of a plurality of them may be used.

図10に示すように、形成装置100は、型開閉される一対の金型(例えば、合金工具鋼からなる複数の金型ブロック、金型プレート、金型ピラー等やその他の部材が組み付けられたもの)を有する打錠金型102を備えている。また、打錠金型102を開閉駆動するプレス装置150を備えている。また、各機構の作動制御等を行う制御演算部170を備えている。ここで、図11は、打錠金型102の例を示す側面断面図(概略図)である。 As shown in FIG. 10, the forming device 100 is equipped with a tableting die 102 having a pair of dies that are opened and closed (for example, a combination of multiple die blocks, die plates, die pillars, etc., made of alloy tool steel, and other components). It also has a press device 150 that drives the tableting die 102 to open and close. It also has a control calculation unit 170 that controls the operation of each mechanism. Here, FIG. 11 is a side cross-sectional view (schematic diagram) showing an example of the tableting die 102.

プレス装置150は、図10に示すように、一対のプラテン154、156と、一対のプラテン154、156が架設される複数のタイバー152と、プラテン156を可動(昇降)させる駆動装置等を備えて構成されている。具体的に、当該駆動装置は、駆動源(例えば、電動モータ)160及び駆動伝達機構(例えば、ボールねじやトグルリンク機構)162等を備えて構成されている(但し、これに限定されるものではない)。本実施形態では、鉛直方向において上方側のプラテン154を固定プラテン(タイバー152に固定されるプラテン)とし、下方側のプラテン156を可動プラテン(タイバー152に摺動可能に保持されて昇降するプラテン)として設定している。但し、これに限定されるものではなく、上下逆に、すなわち上方側を可動プラテン、下方側を固定プラテンに設定してもよく、あるいは、上方側、下方側共に可動プラテンとして設定してもよい(いずれも不図示)。 As shown in FIG. 10, the press device 150 is configured with a pair of platens 154, 156, a plurality of tie bars 152 on which the pair of platens 154, 156 are supported, and a drive device for moving (raising and lowering) the platen 156. Specifically, the drive device is configured with a drive source (e.g., an electric motor) 160 and a drive transmission mechanism (e.g., a ball screw or a toggle link mechanism) 162 (however, this is not limited to this). In this embodiment, the upper platen 154 in the vertical direction is set as a fixed platen (a platen fixed to the tie bars 152), and the lower platen 156 is set as a movable platen (a platen slidably held by the tie bars 152 and raised and lowered). However, this is not limited to this, and the platens may be set upside down, i.e., the upper side may be set as a movable platen and the lower side as a fixed platen, or both the upper and lower sides may be set as movable platens (neither is shown).

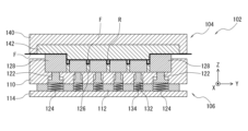
一方、打錠金型102は、図11に示すように、プレス装置150における上記一対のプラテン154、156間に配設される一対の金型として、鉛直方向における上方側の上型104と、下方側の下型106とを備えている。上型104が上方側のプラテン(本実施形態では、固定プラテン154)に組み付けられ、下型106が下方側のプラテン(本実施形態では、可動プラテン156)に組み付けられている。この上型104と下型106とが相互に接近・離反することで型閉じ・型開きが行われる(鉛直方向(上下方向)が型開閉方向となる)。本実施形態に係る打錠金型102においては、上型104がいわゆる「杵型」を構成し、下型106がいわゆる「臼型」を構成する。 On the other hand, as shown in FIG. 11, the tableting die 102 is provided with an upper die 104 on the upper side in the vertical direction and a lower die 106 on the lower side as a pair of dies arranged between the pair of platens 154, 156 in the press device 150. The upper die 104 is assembled to the upper platen (in this embodiment, the fixed platen 154), and the lower die 106 is assembled to the lower platen (in this embodiment, the movable platen 156). The upper die 104 and the lower die 106 approach and move away from each other to close and open the die (the vertical direction (up and down direction) is the die opening and closing direction). In the tableting die 102 according to this embodiment, the upper die 104 constitutes a so-called "pestle die", and the lower die 106 constitutes a so-called "mortar die".

次に、打錠金型102の下型106について詳しく説明する。図11に示すように、下型106は、下型チェイス110と、これに保持されるキャビティ駒126、クランパ128等を備えている。下型チェイス110は、サポートピラー112を介してサポートプレート114の上面に対して固定されている。下型106の上面(上型104側の面)にキャビティ108が設けられている。このキャビティ108内に所定量のベース樹脂Rmが収容される。 Next, the lower die 106 of the tableting die 102 will be described in detail. As shown in FIG. 11, the lower die 106 is equipped with a lower die chase 110, a cavity piece 126 held by it, a clamper 128, etc. The lower die chase 110 is fixed to the upper surface of the support plate 114 via a support pillar 112. A cavity 108 is provided on the upper surface of the lower die 106 (the surface facing the upper die 104). A predetermined amount of base resin Rm is accommodated in this cavity 108.

本実施形態に係る下型106は、キャビティ108内に収容される所定量のベース樹脂Rmを押圧して、ワークWの形状に対応させた所定形状を有する封止樹脂Rとなるように形成(打錠)するための以下の構成を備えている(形成方法の詳細については後述する)。具体的に、キャビティ駒126において(平面視におけるキャビティ駒126の領域内に)、後述の上型104の打錠プレート142と当接可能で、且つ、上下動可能な可動駒136が設けられている。当該可動駒136は押動ピン132を介して可動駒バネ134によって上型104に向けて付勢された状態で支持されている。一例として、可動駒136は、平面視において、電子部品Wbの外形よりも所定寸法大きい外形となるように設定されている。上記構成を有する下型106において、所定量のベース樹脂Rmは、可動駒136同士の間の凹状部138に収容される(尚、最初に可動駒136の上面を含むキャビティ108内全体に当該ベース樹脂Rmを散布し、その後、スキージ等により掃き落として、最終的に凹状部138に収容されるようにしてもよい)。 The lower die 106 according to the present embodiment has the following configuration for pressing a predetermined amount of base resin Rm contained in the cavity 108 to form (tablet) the sealing resin R having a predetermined shape corresponding to the shape of the workpiece W (details of the forming method will be described later). Specifically, in the cavity piece 126 (within the area of the cavity piece 126 in a plan view), a movable piece 136 is provided that can abut against a tableting plate 142 of the upper die 104 described later and can move up and down. The movable piece 136 is supported in a state in which it is biased toward the upper die 104 by the movable piece spring 134 via the push pin 132. As an example, the movable piece 136 is set to have an outer shape that is a predetermined dimension larger than the outer shape of the electronic component Wb in a plan view. In the lower mold 106 having the above configuration, a predetermined amount of base resin Rm is accommodated in the recessed portion 138 between the movable pieces 136 (note that the base resin Rm may first be sprayed over the entire cavity 108, including the top surface of the movable pieces 136, and then swept off with a squeegee or the like so that it is finally accommodated in the recessed portion 138).

また、クランパ128は、キャビティ駒126を囲うように環状に構成されると共に、押動ピン122及びクランパバネ124(例えば、コイルバネに例示される付勢部材)を介して、サポートプレート114の上面に対して離間(フローティング)して上下動可能に組み付けられる(但し、この組み付け構造に限定されるものではない)。このキャビティ駒126がキャビティ108の奥部(底部)を構成し、クランパ128がキャビティ108の側部を構成する。尚、一つの下型106に設けられるキャビティ108の形状や個数は、適宜設定される(一つもしくは複数個)。 The clamper 128 is configured in an annular shape to surround the cavity piece 126, and is assembled to be movable up and down while being spaced (floating) from the upper surface of the support plate 114 via the push pin 122 and the clamper spring 124 (a biasing member such as a coil spring, for example) (however, this assembly structure is not limited). The cavity piece 126 forms the inner part (bottom part) of the cavity 108, and the clamper 128 forms the side part of the cavity 108. The shape and number of cavities 108 provided in one lower mold 106 are set appropriately (one or multiple).

ここで、プレス装置150には、下型106におけるキャビティ108の内面を含む金型面106a(所定領域)を覆うためのフィルムFを供給する下型フィルム供給部111が設けられている。尚、一例として、フィルムFは、ロール状であるが短冊状であってもよい。 Here, the press device 150 is provided with a lower die film supply section 111 that supplies film F to cover the die surface 106a (predetermined area) including the inner surface of the cavity 108 in the lower die 106. As an example, the film F is in a roll shape, but it may also be in a strip shape.

また、下型106は、クランパ128上面やクランパ128とキャビティ駒126との境界部等に、吸引装置に連通する吸引路(孔や溝等)が設けられている(不図示)。これにより、下型フィルム供給部111から供給されたフィルムFを、キャビティ108の内面を含む金型面106aに吸着させて保持することができる。 In addition, the lower mold 106 is provided with suction paths (holes, grooves, etc.) (not shown) that communicate with a suction device on the upper surface of the clamper 128 and at the boundary between the clamper 128 and the cavity piece 126. This allows the film F supplied from the lower mold film supply unit 111 to be adsorbed and held on the mold surface 106a, including the inner surface of the cavity 108.

また、本実施形態においては、下型106を所定温度に加熱する下型加熱機構(不図示)が設けられている。この下型加熱機構は、ヒータ(例えば、電熱線ヒータ)、温度センサ、電源等を備えており、制御部30によって加熱の制御が行われる。一例として、ヒータは、下型チェイス110に内蔵され、下型106全体及びキャビティ108内に収容されるベース樹脂Rmに熱を加える構成となっている。このとき、ベース樹脂Rmが熱硬化(本硬化)しない程度の所定温度(例えば、50℃~80℃)となるように、下型106が加熱される。 In this embodiment, a lower die heating mechanism (not shown) is provided to heat the lower die 106 to a predetermined temperature. This lower die heating mechanism includes a heater (e.g., an electric wire heater), a temperature sensor, a power source, etc., and heating is controlled by the control unit 30. As an example, the heater is built into the lower die chase 110 and is configured to apply heat to the entire lower die 106 and the base resin Rm contained in the cavity 108. At this time, the lower die 106 is heated to a predetermined temperature (e.g., 50°C to 80°C) at which the base resin Rm does not thermally harden (mainly harden).

次に、打錠金型102の上型104について詳しく説明する。図11に示すように、上型104は、下型106のキャビティ108内に収容される所定量のベース樹脂Rmを押圧して、ワークWの形状に対応させた所定形状を有する封止樹脂Rとなるように形成(打錠)する打錠プレート142を備えている(形成方法の詳細については後述する)。打錠プレート142は、上型チェイス140に保持(固定)される。本実施形態においては、打錠プレート142の下面(下型106側の面)に、前述の下型106の可動駒136と当接可能な凸状部144が設けられている。一例として、凸状部144は、平面視において、全ての可動駒136の上面と当接すると共に、全ての凹状部138を覆うことができる外形となるように設定され、打錠プレート142の下面に所定高さ(封止樹脂Rの形成厚さに応じて設定)で立設されている。 Next, the upper die 104 of the tableting die 102 will be described in detail. As shown in FIG. 11, the upper die 104 is provided with a tableting plate 142 that presses a predetermined amount of base resin Rm contained in the cavity 108 of the lower die 106 to form (tablet) the sealing resin R having a predetermined shape corresponding to the shape of the workpiece W (details of the forming method will be described later). The tableting plate 142 is held (fixed) by the upper die chase 140. In this embodiment, a convex portion 144 that can abut against the movable piece 136 of the lower die 106 described above is provided on the lower surface (the surface on the lower die 106 side) of the tableting plate 142. As an example, the convex portion 144 is set so that it abuts against the upper surfaces of all the movable pieces 136 in a plan view and has an outer shape that can cover all the concave portions 138, and is erected at a predetermined height (set according to the forming thickness of the sealing resin R) on the lower surface of the tableting plate 142.

ここで、プレス装置150には、上型104の金型面104a(所定領域)を覆うためのフィルムFを供給する上型フィルム供給部113が設けられている。尚、一例として、フィルムFは、ロール状であるが短冊状であってもよい。 Here, the press device 150 is provided with an upper die film supply section 113 that supplies a film F to cover the die surface 104a (predetermined area) of the upper die 104. As an example, the film F is in a roll shape, but it may also be in a strip shape.

また、上型104は、打錠プレート142等に、吸引装置に連通する吸引路(孔や溝等)が設けられている(不図示)。これにより、上型フィルム供給部113から供給されたフィルムFを、金型面104aに吸着させて保持することができる。 The upper die 104 also has suction passages (holes, grooves, etc.) (not shown) in the tableting plate 142, etc., that communicate with a suction device. This allows the film F supplied from the upper die film supply unit 113 to be adsorbed and held on the die surface 104a.

また、本実施形態においては、上型104を所定温度に加熱する上型加熱機構(不図示)が設けられている。この上型加熱機構は、ヒータ(例えば、電熱線ヒータ)、温度センサ、電源等を備えており、制御部30によって加熱の制御が行われる。一例として、ヒータは、上型チェイス140に内蔵され、上型104全体に熱を加える構成となっている。このとき、上記下型106に保持(収容)されるベース樹脂Rmが熱硬化(本硬化)しない程度の所定温度(例えば、50℃~80℃)となるように、上型104が加熱される。 In addition, in this embodiment, an upper mold heating mechanism (not shown) is provided that heats the upper mold 104 to a predetermined temperature. This upper mold heating mechanism includes a heater (e.g., an electric wire heater), a temperature sensor, a power source, etc., and heating is controlled by the control unit 30. As an example, the heater is built into the upper mold chase 140 and is configured to apply heat to the entire upper mold 104. At this time, the upper mold 104 is heated to a predetermined temperature (e.g., 50°C to 80°C) at which the base resin Rm held (contained) in the lower mold 106 does not thermally cure (mainly cure).

(封止樹脂の形成方法)
続いて、上記の形成装置100を用いて実施される本実施形態に係る封止樹脂の形成方法の工程について説明する。ここで、図12~図14は、各工程の説明図であって、図11と同方向の側面断面図として図示する。
(Method of forming sealing resin)
Next, there will be described steps of the method for forming the sealing resin according to the present embodiment, which is carried out using the above-mentioned forming apparatus 100. Here, Fig. 12 to Fig. 14 are explanatory views of each step, and are illustrated as side cross-sectional views in the same direction as Fig. 11.

先ず、準備工程(打錠準備工程)を実施する。準備工程は以下の工程を有している。下型加熱機構により下型106を所定温度(ベース樹脂Rm、封止樹脂Rが本硬化しない温度であり、例えば、50℃~80℃)に調整して加熱する下型加熱工程を実施する。また、上型加熱機構により上型104を所定温度(ベース樹脂Rm、封止樹脂Rが本硬化しない温度であり、例えば、50℃~80℃)に調整して加熱する上型加熱工程を実施する。また、下型フィルム供給部111を作動させて新しいフィルムFを供給して、下型106におけるキャビティ108の内面を含む金型面106aの所定領域を覆うように吸着させる下型フィルム供給工程を実施する。また、上型フィルム供給部113を作動させて新しいフィルムFを供給して、上型104の金型面104aの所定領域を覆うように吸着させる上型フィルム供給工程を実施する。 First, a preparation step (tabletting preparation step) is performed. The preparation step includes the following steps. A lower mold heating step is performed in which the lower mold 106 is heated to a predetermined temperature (a temperature at which the base resin Rm and the sealing resin R do not fully cure, for example, 50°C to 80°C) by the lower mold heating mechanism. In addition, an upper mold heating step is performed in which the upper mold 104 is heated to a predetermined temperature (a temperature at which the base resin Rm and the sealing resin R do not fully cure, for example, 50°C to 80°C) by the upper mold heating mechanism. In addition, a lower mold film supply step is performed in which the lower mold film supply unit 111 is operated to supply a new film F and adsorb it to cover a predetermined area of the mold surface 106a including the inner surface of the cavity 108 in the lower mold 106. In addition, an upper mold film supply step is performed in which the upper mold film supply unit 113 is operated to supply a new film F and adsorb it to cover a predetermined area of the mold surface 104a of the upper mold 104.

準備工程の後に、「所定形状」(詳細は後述する)の封止樹脂Rを形成する形成工程を実施する。一例として、ベース樹脂Rmを打錠することにより、封止樹脂Rとして、全体の形状がワークWの形状に対応させた所定形状を有する固形・半固形樹脂を形成する打錠工程を備えている。尚、形成工程の他の例として、打錠によらない形成方法を採用してもよい。 After the preparation process, a forming process is carried out to form the sealing resin R in a "predetermined shape" (details will be described later). As an example, a tableting process is provided in which the base resin Rm is tableted to form the sealing resin R into a solid or semi-solid resin having a predetermined overall shape that corresponds to the shape of the workpiece W. As another example of the forming process, a forming method that does not involve tableting may be adopted.

上記の打錠工程は、具体的に、図示しないディスペンサ等によって「所定量」(詳細は後述する)のベース樹脂Rmを下型106のキャビティ108内に収容する(図12参照)。前述の通り、当該ベース樹脂Rmを、可動駒136の上面に載らないようにしながら可動駒136同士の間の凹状部138に収容する(尚、最初に可動駒136の上面を含むキャビティ108内全体に当該ベース樹脂Rmを散布し、その後、スキージ等により掃き落として、最終的に凹状部138に収容してもよい)。 Specifically, the tableting process involves placing a "predetermined amount" (details to be described later) of base resin Rm into the cavity 108 of the lower die 106 using a dispenser (not shown) or the like (see FIG. 12). As described above, the base resin Rm is placed in the recessed portion 138 between the movable pieces 136 without resting on the upper surface of the movable pieces 136 (note that the base resin Rm may first be sprayed over the entire cavity 108 including the upper surface of the movable pieces 136, and then swept off with a squeegee or the like, before finally being placed in the recessed portion 138).

次いで、プレス装置150を作動させて、上記の所定温度に昇温された打錠金型102の型閉じを行う(図13参照)。このとき、キャビティ108内でキャビティ駒126が相対的に上昇して、キャビティ駒126と打錠プレート142とでベース樹脂Rmを打錠(挟み込んで加圧)する。 Next, the press device 150 is operated to close the tableting die 102 that has been heated to the above-mentioned predetermined temperature (see FIG. 13). At this time, the cavity piece 126 rises relatively within the cavity 108, and the base resin Rm is tableted (sandwiched and pressurized) between the cavity piece 126 and the tableting plate 142.

より詳しくは、初めにクランパ128と打錠プレート142(凸状部144よりも外方部)とが当接する。次いで(もしくは同時に)、可動駒136の上面と打錠プレート142の凸状部144の下面とが当接して、当該可動駒136の上面の全面が覆われた状態となる。次いで、キャビティ駒126の上面(凹状部138の領域)と打錠プレート142の凸状部144の下面(凹状部138と対向する領域)とでベース樹脂Rmを打錠(挟み込んで加圧)する。これにより、「所定形状」を有し、熱硬化(本硬化)していない状態の固形・半固形の封止樹脂Rが形成される。具体的に、上記「所定形状」は、略板状であって板面を貫通する貫通孔Rhを有する枠状もしくは格子状の形状である。本実施形態においては、上記の形成工程(この場合、打錠工程)によって、下型106の可動駒136の周囲(凹状部138)のベース樹脂Rmが封止樹脂Rの本体部Raとして形成され、可動駒136の位置が貫通孔Rhとして形成される。尚、可動駒136は、キャビティ駒126に設けているが、打錠プレート142に設けてもよい(不図示)。 More specifically, first the clamper 128 and the tableting plate 142 (outer part than the convex part 144) come into contact. Then (or at the same time), the upper surface of the movable piece 136 comes into contact with the lower surface of the convex part 144 of the tableting plate 142, so that the entire upper surface of the movable piece 136 is covered. Next, the base resin Rm is tableted (sandwiched and pressed) between the upper surface of the cavity piece 126 (the area of the concave part 138) and the lower surface of the convex part 144 of the tableting plate 142 (the area facing the concave part 138). This forms a solid or semi-solid sealing resin R that has a "predetermined shape" and is not thermally cured (mainly cured). Specifically, the "predetermined shape" is a frame-like or lattice-like shape that is approximately plate-like and has through holes Rh penetrating the plate surface. In this embodiment, the base resin Rm around the movable piece 136 of the lower die 106 (concave portion 138) is formed as the main body portion Ra of the sealing resin R by the above-mentioned forming process (tabletting process in this case), and the position of the movable piece 136 is formed as a through hole Rh. Note that although the movable piece 136 is provided on the cavity piece 126, it may also be provided on the tableting plate 142 (not shown).

上記工程において形成される封止樹脂Rの構成(形状)例を図15に示す。具体的には、板状の本体部Raに複数の貫通孔Rhが並設された格子状の封止樹脂Rの例である(但し、これに限定されるものではない)。尚、当該封止樹脂Rは、一個で封止必要量(ワークW一個当たりの一回分)の「全体」(この場合、格子状)をなすように構成してもよく、あるいは、複数個(例えば二、三個程度)の集合(連結)状態で封止必要量の「全体」(この場合、格子状)をなすように構成してもよい。 An example of the configuration (shape) of the sealing resin R formed in the above process is shown in Figure 15. Specifically, this is an example of a lattice-shaped sealing resin R in which a number of through holes Rh are arranged side by side in a plate-shaped main body portion Ra (however, this is not limited to this). The sealing resin R may be configured so that one piece of the sealing resin R constitutes the "whole" (in this case, lattice-shaped) amount required for sealing (one application per workpiece W), or it may be configured so that a group (connected) of multiple pieces (e.g., two or three pieces) constitutes the "whole" (in this case, lattice-shaped) amount required for sealing.

上記の封止樹脂R(図15参照)によれば、特に、基材Wa上に電子部品Wbとしてヒートシンク等が搭載されたワークW(図16参照)の圧縮成形に好適に用いることができる。具体的に、上記の封止樹脂Rを用いることによって、樹脂封止後(圧縮成形後)の成形品Wp(図17参照)において当該電子部品Wb(ヒートシンク等)の上面Wbfが露出される構成を確実に形成することができる。 The above-mentioned sealing resin R (see FIG. 15) can be particularly suitably used for compression molding of a workpiece W (see FIG. 16) in which a heat sink or the like is mounted as an electronic component Wb on a substrate Wa. Specifically, by using the above-mentioned sealing resin R, it is possible to reliably form a configuration in which the upper surface Wbf of the electronic component Wb (heat sink or the like) is exposed in the molded product Wp (see FIG. 17) after resin sealing (after compression molding).

そのため、上記の形成工程においては、封止対象となるワークWの電子部品Wbが封止樹脂Rの貫通孔Rhに収容され、且つ、当該電子部品Wbの上面Wbfが露出するように、当該貫通孔Rhの位置及び形状を設定することが重要となる。 Therefore, in the above-mentioned forming process, it is important to set the position and shape of the through hole Rh in the sealing resin R so that the electronic component Wb of the workpiece W to be sealed is accommodated in the through hole Rh and the top surface Wbf of the electronic component Wb is exposed.

尚、上記の打錠工程は、形成される封止樹脂Rが、後の樹脂封止工程(圧縮成形方法の工程である)において熱硬化(本硬化)することができるように、ベース樹脂Rmが熱硬化(本硬化)しない温度で実施すること(熱硬化(本硬化)しない温度に下型106及び上型104を加熱して実施すること)が重要である。前述の通り、「熱硬化しない温度」は、ベース樹脂Rmの材質にもよるが、具体例として、50℃~80℃程度である(本実施形態においては、70℃程度である)。 It is important that the above tableting process is carried out at a temperature at which the base resin Rm does not thermally harden (fully harden) (the lower die 106 and the upper die 104 are heated to a temperature at which the base resin Rm does not thermally harden (fully harden)) so that the encapsulating resin R formed can be thermally hardened (fully hardened) in the subsequent resin encapsulating process (a process of the compression molding method). As described above, the "temperature at which the base resin Rm does not thermally harden (fully harden)" depends on the material of the base resin Rm, but is specifically about 50°C to 80°C (about 70°C in this embodiment).

次に、上記ベース樹脂Rmの「所定量」を設定する樹脂量設定工程について説明する。樹脂量設定工程の一例として、封止対象となるワークW毎に、一つの基材Waに搭載された電子部品Wbの有無の数(搭載数もしくは欠落数であり、さらには電子部品Wbの高さもしくは重量を計測する場合を含んでもよい)を計測機構等(不図示)により計測し、封止金型202、302のキャビティ208、308の体積より電子部品Wbの総体積を引くことにより、樹脂封止(圧縮成形)に必要な樹脂量(グラム数)を制御演算部170が算定して「所定量」を設定する。または、樹脂量設定工程の他の例として、封止対象となるワークWの種類に対応する複数種類の定型量が用意され、当該定型量のうちワークWの種類に応じて最適な一つを制御演算部170もしくはオペレータが選択して「所定量」を設定する。定型量の場合は、樹脂封止時(圧縮成形時)に樹脂量が不足しないことが重要である。いずれの設定によっても、ワークWの種類に応じて適正量のベース樹脂Rmを供給することができる。その結果、ワークW毎に適正量の封止樹脂Rを正確に形成することができる。したがって、樹脂封止時に必要な樹脂量が不足することに起因する成形不良の発生を防止することができる。また、必要よりも過多の樹脂量が供給されることによる無駄の発生を防止することができる。特に、ヒートシンクに例示される電子部品Wbが搭載された成形品Wpを形成する場合に、当該電子部品Wbの所定部位、(一例として、ヒートシンクの上面すなわち冷却面)Wbfが露出しない成形不良の発生を防止することができる。 Next, the resin amount setting process for setting the "predetermined amount" of the base resin Rm will be described. As an example of the resin amount setting process, for each workpiece W to be sealed, the number of electronic components Wb mounted on one substrate Wa (the number of mounted or missing components, which may also include measuring the height or weight of the electronic components Wb) is measured by a measuring mechanism or the like (not shown), and the total volume of the electronic components Wb is subtracted from the volume of the cavities 208, 308 of the sealing molds 202, 302 to calculate the amount of resin (in grams) required for resin sealing (compression molding) and set the "predetermined amount". Alternatively, as another example of the resin amount setting process, multiple types of fixed amounts corresponding to the types of workpieces W to be sealed are prepared, and the control calculation unit 170 or the operator selects one of the fixed amounts that is optimal according to the type of workpiece W to set the "predetermined amount". In the case of a fixed amount, it is important that the amount of resin is not insufficient during resin sealing (compression molding). Regardless of the setting, an appropriate amount of base resin Rm can be supplied according to the type of workpiece W. As a result, the appropriate amount of sealing resin R can be accurately formed for each workpiece W. Therefore, molding defects caused by a shortage of the amount of resin required during resin sealing can be prevented. In addition, waste caused by supplying an amount of resin that is greater than necessary can be prevented. In particular, when forming a molded product Wp on which an electronic component Wb, such as a heat sink, is mounted, molding defects can be prevented in which a predetermined portion of the electronic component Wb, (for example, the upper surface, i.e., the cooling surface, of the heat sink) Wbf, is not exposed.

また、上記ベース樹脂Rmとして、パウダー樹脂が用いられることが好適である。これによれば、顆粒樹脂や破砕状樹脂が用いられる場合と比較して、「所定量」の樹脂を極めて正確に調整して供給することができる。但し、パウダー樹脂に限定されるものではない。 It is also preferable to use a powder resin as the base resin Rm. This allows the "predetermined amount" of resin to be adjusted and supplied with extremely high precision compared to when granular or crushed resin is used. However, it is not limited to powder resin.

打錠工程の後に、打錠金型102の型開きを行い、封止樹脂Rと使用済みのフィルムFとを分離して当該封止樹脂Rを取出せるようにする型開き工程を実施する(図14参照)。本実施形態においては、前述の下型フィルム供給工程及び上型フィルム供給工程を備えることによって、下型106の金型面106a及び上型104の金型面104aの両方にフィルムFが配置されるため、打錠により形成された封止樹脂Rの離型が容易となり、金型への樹脂付着による欠損を防止することができる。 After the tableting process, the tableting die 102 is opened and the sealing resin R is separated from the used film F to enable removal of the sealing resin R (see FIG. 14). In this embodiment, the above-mentioned lower die film supply process and upper die film supply process are provided, so that the film F is placed on both the die surface 106a of the lower die 106 and the die surface 104a of the upper die 104, making it easier to release the sealing resin R formed by tableting and preventing damage caused by resin adhesion to the die.

型開き工程の後に、もしくは、並行して、下型フィルム供給部111、上型フィルム供給部113を作動させて、使用済みのフィルムFを打錠金型102内から送り出し、新しいフィルムFを打錠金型102内へ送り込んでセットするフィルム供給工程(下型フィルム供給工程、上型フィルム供給工程)を実施する。 After or in parallel with the mold opening process, the lower mold film supply unit 111 and the upper mold film supply unit 113 are operated to send out the used film F from inside the tableting mold 102 and to send and set a new film F into the tableting mold 102, thereby carrying out a film supply process (lower mold film supply process, upper mold film supply process).

尚、上記の工程順は一例であって、支障がない限り先後順の変更や並行実施が可能である。 The above process order is just one example, and the order can be changed or the steps can be carried out in parallel as long as no problems are encountered.

以上、説明した通り、本発明に係る封止樹脂は、上型にキャビティを有する構成、もしくは下型にキャビティを有する構成のいずれの圧縮成形装置及び圧縮成形方法に対しても好適に適用することができる。 As explained above, the sealing resin according to the present invention can be suitably applied to compression molding apparatuses and compression molding methods having a cavity in either the upper mold or the lower mold.

また、本発明に係る封止樹脂を用いれば、以下の効果を奏する圧縮成形装置及び圧縮成形方法を実現することができる。具体的に、当該圧縮成形装置及び圧縮成形方法によって、樹脂流動、巻きムラ、残留気体、成形時の粉塵発生に起因する成形不良の発生を防止することができる。特に、電子部品としてヒートシンク等が搭載される場合に、成形品において当該電子部品の所定部位(一例として、ヒートシンクの上面すなわち冷却面)が露出しない成形不良の発生を防止することができる。また、薄い成形品(厚さ寸法が1mm未満)はもちろん、厚い成形品(厚さ寸法が1mm以上)を形成することができる。尚、厚さ寸法の上限は、各種設定条件によるものの、10mm程度まで十分形成可能であると考えられる。また、供給時やセット時におけるハンドリングが容易となる。 In addition, by using the sealing resin according to the present invention, a compression molding apparatus and a compression molding method that achieve the following effects can be realized. Specifically, the compression molding apparatus and the compression molding method can prevent molding defects caused by resin flow, uneven winding, residual gas, and dust generation during molding. In particular, when a heat sink or the like is mounted as an electronic component, molding defects in which a specific portion of the electronic component (for example, the upper surface of the heat sink, i.e., the cooling surface) is not exposed in the molded product can be prevented. In addition, it is possible to form not only thin molded products (thickness dimension less than 1 mm) but also thick molded products (thickness dimension 1 mm or more). The upper limit of the thickness dimension depends on various setting conditions, but it is considered that it is possible to form up to about 10 mm. In addition, handling during supply and setting is made easier.

尚、本発明は、上記の実施形態に限定されることなく、本発明を逸脱しない範囲において種々変更可能である。特に、電子部品としてヒートシンクを例に挙げたが、これに限定されるものではない。また、露出部位として、電子部品の上面全面が対象となる場合を例に挙げたが、これに限定されるものではない。 The present invention is not limited to the above embodiment, and various modifications can be made without departing from the scope of the present invention. In particular, a heat sink is given as an example of an electronic component, but this is not limiting. Also, although a case where the entire top surface of an electronic component is the exposed portion is given as an example, this is not limiting.

1 圧縮成形装置
100 封止樹脂の形成装置
102 打錠金型
138 凹状部
144 凸状部
202、302 封止金型
236、336 可動駒
Rm ベース樹脂
R 封止樹脂
Ra 本体部
Rh 貫通孔
W ワーク
Wa 基材
Wb 電子部品
Reference Signs List 1 Compression molding device 100 Molding resin forming device 102 Tableting mold 138 Concave portion 144 Convex portion 202, 302 Molding mold 236, 336 Movable piece Rm Base resin R Molding resin Ra Main body Rh Through hole W Work Wa Substrate Wb Electronic component

Claims (7)

基材に電子部品が搭載された構成を有するワークの圧縮成形に用いられる封止樹脂を形成する封止樹脂の形成方法であって、
貫通孔を有する枠状もしくは格子状の前記封止樹脂を形成する形成工程を備え、
前記形成工程は、前記貫通孔に前記ワークの前記電子部品が収容されて該電子部品上面が露出するように該貫通孔の位置及び形状を設定して形成する工程を有すること
を特徴とする封止樹脂の形成方法。
A method for forming a sealing resin used in compression molding of a workpiece having a configuration in which an electronic component is mounted on a substrate, comprising the steps of:
forming the sealing resin in a frame or lattice shape having through holes;
The method for forming a sealing resin is characterized in that the forming process includes a step of setting and forming the position and shape of the through hole so that the electronic component of the work is accommodated in the through hole and the top surface of the electronic component is exposed.
前記形成工程は、ベース樹脂を打錠して前記封止樹脂を形成する工程を有すること
を特徴とする請求項1記載の封止樹脂の形成方法。
2. The method for forming an encapsulating resin according to claim 1, wherein the forming step includes a step of forming the encapsulating resin by tableting a base resin.
前記ベース樹脂として、パウダー樹脂が用いられること
を特徴とする請求項2記載の封止樹脂の形成方法。
3. The method for forming a sealing resin according to claim 2, wherein a powder resin is used as the base resin.
ベース樹脂を打錠して、ワークの圧縮成形に用いられる封止樹脂を形成する形成装置であって、
前記ベース樹脂を収容し、前記ワークの形状に対応させた貫通孔を有する枠状もしくは格子状の前記封止樹脂となるように打錠する打錠金型を備えること
を特徴とする封止樹脂の形成装置。
A forming apparatus for tableting a base resin to form an encapsulating resin to be used in compression molding of a workpiece, comprising:
An apparatus for forming an encapsulating resin, comprising: a tableting die that accommodates the base resin and tablets the encapsulating resin into a frame-like or lattice-like shape having through holes corresponding to the shape of the workpiece.
ワークの圧縮成形に用いられる封止樹脂であって、
貫通孔を有する枠状もしくは格子状に形成されていること
を特徴とする封止樹脂。
A sealing resin used in compression molding of a workpiece,
A sealing resin formed in a frame or lattice shape having through holes.
基材に電子部品が搭載された構成を有するワークの圧縮成形に用いられる封止樹脂であって、
前記基材上に載置されたときに前記電子部品が収容されて該電子部品の上面を露出させる貫通孔を有する形状に形成されていること
を特徴とする封止樹脂。
A sealing resin used in compression molding of a workpiece having a configuration in which an electronic component is mounted on a substrate,
The sealing resin is formed in a shape having a through hole that houses the electronic component and exposes an upper surface of the electronic component when the electronic component is placed on the base material.
前記貫通孔を有する枠状もしくは格子状の形状に形成されていること
を特徴とする請求項6記載の封止樹脂。
7. The sealing resin according to claim 6, wherein the sealing resin is formed in a frame-like or lattice-like shape having the through holes.
JP2023050312A 2023-03-27 2023-03-27 Encapsulating resin for use in compression molding, and forming method and forming device thereof Pending JP2024139398A (en)

Priority Applications (3)

Application Number Priority Date Filing Date Title
JP2023050312A JP2024139398A (en) 2023-03-27 2023-03-27 Encapsulating resin for use in compression molding, and forming method and forming device thereof
PCT/JP2023/042291 WO2024202235A1 (en) 2023-03-27 2023-11-27 Sealing resin used for compression molding, and forming method and forming device for same
TW112150470A TW202438280A (en) 2023-03-27 2023-12-22 Sealing resin for compression molding and forming method and forming device thereof

Applications Claiming Priority (1)

Application Number Priority Date Filing Date Title
JP2023050312A JP2024139398A (en) 2023-03-27 2023-03-27 Encapsulating resin for use in compression molding, and forming method and forming device thereof

Publications (2)

Publication Number Publication Date
JP2024139398A true JP2024139398A (en) 2024-10-09
JP2024139398A5 JP2024139398A5 (en) 2025-06-30

Family

ID=92903827

Family Applications (1)

Application Number Title Priority Date Filing Date
JP2023050312A Pending JP2024139398A (en) 2023-03-27 2023-03-27 Encapsulating resin for use in compression molding, and forming method and forming device thereof

Country Status (3)

Country Link
JP (1) JP2024139398A (en)
TW (1) TW202438280A (en)
WO (1) WO2024202235A1 (en)

Family Cites Families (2)

* Cited by examiner, † Cited by third party
Publication number Priority date Publication date Assignee Title
JP6444381B2 (en) * 2014-04-18 2018-12-26 アピックヤマダ株式会社 Resin mold and resin molding method
JP7312421B2 (en) * 2018-04-13 2023-07-21 アピックヤマダ株式会社 Mold, resin molding apparatus, resin molding method, and carrier

Also Published As

Publication number Publication date
WO2024202235A1 (en) 2024-10-03
TW202438280A (en) 2024-10-01

Similar Documents

Publication Publication Date Title
JP7644489B2 (en) Compression molding apparatus and compression molding method
JP2024139398A (en) Encapsulating resin for use in compression molding, and forming method and forming device thereof
JP2024139395A (en) Apparatus and method for forming sealing resin used in compression molding
JP2025049872A (en) Sealing resin for use in compression molding and forming method and forming apparatus thereof
JP2024033057A (en) Resin sealing equipment and resin sealing method
TWI900142B (en) Compression forming device and compression forming method
JP2024163478A (en) Equipment for forming sealing resin used in compression molding
WO2025062958A1 (en) Compression molding device and compression molding method
WO2024204008A1 (en) Device and method for forming sealing resin used for compression molding, and compression molding device
WO2025047389A1 (en) Molded product formation method and sealing resin
WO2024204028A1 (en) Compression-molding device and compression-molding method
TWI895900B (en) Forming device and forming method for compression-molded sealing resin
JP2025004928A (en) Apparatus and method for forming sealing resin used in compression molding
JP2024139399A (en) Apparatus and method for forming sealing resin used in compression molding
JP7576333B2 (en) Resin sealing equipment and sealing mold
WO2024203997A1 (en) Compression molding apparatus and compression molding method
WO2024161680A1 (en) Compression-molding device and compression-molding method
KR20250168401A (en) Sealing resin forming device
JP2025034137A (en) Compression molding apparatus and compression molding method
TWI885727B (en) Compression forming device and compression forming method
WO2024161681A1 (en) Sealing resin used for compression molding, and forming method for same
JP2025032602A (en) Compression molding apparatus and compression molding method
JP2024139406A (en) Compression molding apparatus and compression molding method
TWI902006B (en) Sealing resin for compression molding and forming method thereof
JP2025008394A (en) Compression molding apparatus and compression molding method

Legal Events

Date Code Title Description
A521 Request for written amendment filed

Free format text: JAPANESE INTERMEDIATE CODE: A523

Effective date: 20250620

A621 Written request for application examination

Free format text: JAPANESE INTERMEDIATE CODE: A621

Effective date: 20250620