JP2024126480A - シール付き自動調心ころ軸受 - Google Patents
シール付き自動調心ころ軸受 Download PDFInfo
- Publication number
- JP2024126480A JP2024126480A JP2023034871A JP2023034871A JP2024126480A JP 2024126480 A JP2024126480 A JP 2024126480A JP 2023034871 A JP2023034871 A JP 2023034871A JP 2023034871 A JP2023034871 A JP 2023034871A JP 2024126480 A JP2024126480 A JP 2024126480A
- Authority
- JP
- Japan
- Prior art keywords
- seal
- roller bearing
- sliding part
- bearing
- aligning roller
- Prior art date
- Legal status (The legal status is an assumption and is not a legal conclusion. Google has not performed a legal analysis and makes no representation as to the accuracy of the status listed.)
- Pending
Links
- 239000002184 metal Substances 0.000 description 6
- 230000000694 effects Effects 0.000 description 4
- 238000004519 manufacturing process Methods 0.000 description 4
- 238000000465 moulding Methods 0.000 description 4
- 239000004519 grease Substances 0.000 description 3
- 230000002093 peripheral effect Effects 0.000 description 3
- 238000005096 rolling process Methods 0.000 description 3
- 229910000831 Steel Inorganic materials 0.000 description 2
- 238000013459 approach Methods 0.000 description 2
- 238000003754 machining Methods 0.000 description 2
- 238000000034 method Methods 0.000 description 2
- 239000010959 steel Substances 0.000 description 2
- 239000013013 elastic material Substances 0.000 description 1
- 238000005516 engineering process Methods 0.000 description 1
- 238000012986 modification Methods 0.000 description 1
- 230000004048 modification Effects 0.000 description 1
- 238000003825 pressing Methods 0.000 description 1
- 238000007639 printing Methods 0.000 description 1
- 239000011347 resin Substances 0.000 description 1
- 229920005989 resin Polymers 0.000 description 1
- 229920003051 synthetic elastomer Polymers 0.000 description 1
- 239000005061 synthetic rubber Substances 0.000 description 1
Images
Landscapes
- Sealing With Elastic Sealing Lips (AREA)
- Support Of The Bearing (AREA)
- Sealing Of Bearings (AREA)
Abstract
【課題】シール付き自動調心ころ軸受において、従来構造よりもコスト低減を図り且つ軸受幅をコンパクト化することができるシール付き自動調心ころ軸受を提供する。
【解決手段】シール付き自動調心ころ軸受1は、内外輪2,3と、これら内外輪2,3間に二列に設けられる複数のころ4と、これらころ4を保持する保持器5,5と、内外輪2,3間の端面側に設けられたシール6,6とを備える。シール6,6が摺動する環状のシール摺動部部品7,7を備え、内外輪2,3のうちシール摺動側の軌道輪である内輪2と、シール摺動部部品7とが別体に設けられている。シール摺動部部品7は、シール6が摺動する摺動部7aをテーパ形状または球面形状としている。
【選択図】図1
【解決手段】シール付き自動調心ころ軸受1は、内外輪2,3と、これら内外輪2,3間に二列に設けられる複数のころ4と、これらころ4を保持する保持器5,5と、内外輪2,3間の端面側に設けられたシール6,6とを備える。シール6,6が摺動する環状のシール摺動部部品7,7を備え、内外輪2,3のうちシール摺動側の軌道輪である内輪2と、シール摺動部部品7とが別体に設けられている。シール摺動部部品7は、シール6が摺動する摺動部7aをテーパ形状または球面形状としている。
【選択図】図1
Description
本発明は、シール付き自動調心ころ軸受に関し、例えば、既存のシールを採用可能で且つ軸受幅をコンパクト化することができる技術に関する。
従来の内輪と外輪の間にシールを備えた自動調心ころ軸受において、内輪の軌道面の軸方向外側に設けたシール摺動部は、図7Aおよび図7Bのように軌道面50と連続する外径面51(特許文献1)、または図8のように小つば外径面52に設置される(特許文献2)。
しかしながら、これらの構造の場合、シール固定部である外輪とシール摺動面である内輪の径は軸受型番毎に異なるため、それぞれの軸受で特殊シールを製作して用いる必要がある。特殊シールを用いると、新規に成形用金型を製作する必要があり、シール単価とは別に、成形用の金型代が発生するため、軸受のコストが大幅にアップする。
また、特殊シールの使用を避け、市販のシールを採用する方法として、図9のように、密封転がり軸受において、シールを内外輪いずれか固定側の軌道輪に装着された分離可能のシールケース53と、このシールケース53の内径側に着脱自在に保持されたシール部材54とにより構成したことを特徴とする構造がある(特許文献3)。しかしながら、この構造の場合、シール固定側を分離可能なシールケース53とするため、シールを軸方向に固定するためにシールケース53の幅はシール幅より大となるため、軸受全体の幅が広がってしまう。
さらに、内輪を一体品とし、シール摺動部の径を下げる方法として、図10のような構造がある(特願2022-143062)。これは、シールリップ部55の周速を下げることで、トルク低減、摩耗抑制により許容回転数を上げることが目的であるが、既存シールを使用する目的にも対応可能な方法である。この構造では、シール摺動径が内輪軌道径より小の場合であるが、既存シール内径が内輪軌道径、小つば外径より大の場合は摺動部径を上げれば良い。しかしながら、保持器内径よりもシール摺動部径が大の場合は、保持器56が組み込めないという課題がある。
本発明の目的は、シール付き自動調心ころ軸受において、従来構造よりもコスト低減を図り且つ軸受幅をコンパクト化することができるシール付き自動調心ころ軸受を提供することである。
本発明のシール付き自動調心ころ軸受は、内外輪と、これら内外輪間に二列に設けられる複数のころと、これらころを保持する保持器と、前記内外輪間の端面側に設けられたシールとを備えたシール付き自動調心ころ軸受であって、
前記シールが摺動する環状のシール摺動部部品を備え、前記内外輪のうちシール摺動側の軌道輪と、前記シール摺動部部品とが別体に設けられている。
この明細書において、シール付き自動調心ころ軸受を、単に、軸受という場合がある。
前記シールが摺動する環状のシール摺動部部品を備え、前記内外輪のうちシール摺動側の軌道輪と、前記シール摺動部部品とが別体に設けられている。
この明細書において、シール付き自動調心ころ軸受を、単に、軸受という場合がある。
この構成によると、シール付き自動調心ころ軸受において、内外輪のうちシール摺動側の軌道輪と、シール摺動部部品とが別体に設けられている。このため、保持器の形状によらず既存のシールを採用可能となる。したがって、新規にシール成形用金型等を製作する必要がなくなるため、従来構造よりも安価にシールを製造することができ軸受全体のコスト低減を図れる。シールは内外輪のうち固定側の軌道輪に取り付けられるため、シールを固定するスペースを最小限にすることができる。このため、シールケースを備えた従来構造よりもコンパクトな幅の軸受構造とすることができる。
前記シール摺動部部品は、前記シール摺動側の軌道輪に締結部品で固定されていてもよい。この場合、軸受を軸に取り付ける際に、シール摺動部部品と軸との間に締め代を設ける必要がない。このため、軸受を軸に容易に取り付けることができ、軸受を組み付ける作業工数を低減することが可能となる。
前記シール摺動部部品は、前記シール摺動側の軌道輪に嵌合されていてもよい。この場合、周方向のシールリップの締め代の変化を小さくすることができる。またシール摺動部部品を締結部品等でシール摺動側の軌道輪に固定する構造等よりも、部品点数を低減することができる。
前記シール摺動部部品は、前記シールが摺動する摺動部をテーパ形状としてもよい。この場合、軸受の調心時に、シールリップの締め代の変化量を小さくすることが可能であり、加工も容易である。
前記シール摺動部部品は、前記シールが摺動する摺動部を球面形状としてもよい。この場合、軸受の調心時にシールリップの締め代を一定とすることができる。
本発明のシール付き自動調心ころ軸受は、シールが摺動する環状のシール摺動部部品を備え、内外輪のうちシール摺動側の軌道輪と、シール摺動部部品とが別体に設けられている。このため、シール付き自動調心ころ軸受において、従来構造よりもコスト低減を図り且つ軸受幅をコンパクト化することができる。
[第1の実施形態]
本発明の実施形態に係るシール付き自動調心ころ軸受を図1ないし図3と共に説明する。
<シール付き自動調心ころ軸受の概略構成>
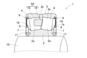
図1のように、シール付き自動調心ころ軸受1は、内外輪2,3と、複数のころ4と、一対の保持器5,5と、シール6,6と、後述する環状のシール摺動部部品7,7とを備える。複数のころ4は内外輪2,3間に二列に設けられ、一対の保持器5,5は二列のころ4,4を保持する。シール6,6は内外輪2,3間の両端面側に設けられ、環状のシール摺動部部品7,7は、シール6,6の各シールリップ8が摺動する。内外輪2,3間の軸受空間にグリースが封入され、前記軸受空間はシール6,6により密封される。
本発明の実施形態に係るシール付き自動調心ころ軸受を図1ないし図3と共に説明する。
<シール付き自動調心ころ軸受の概略構成>
図1のように、シール付き自動調心ころ軸受1は、内外輪2,3と、複数のころ4と、一対の保持器5,5と、シール6,6と、後述する環状のシール摺動部部品7,7とを備える。複数のころ4は内外輪2,3間に二列に設けられ、一対の保持器5,5は二列のころ4,4を保持する。シール6,6は内外輪2,3間の両端面側に設けられ、環状のシール摺動部部品7,7は、シール6,6の各シールリップ8が摺動する。内外輪2,3間の軸受空間にグリースが封入され、前記軸受空間はシール6,6により密封される。
外輪3の軸方向中央部に、軸受空間にグリースを供給するグリース供給孔3hが形成されている。外輪3の内径面に凹球面状の軌道面3aが形成され、内輪2の外径面に凹球面状の二列の軌道面2a,2aが形成されている。二列のころ4,4は、外輪3の軌道面3aと内輪2の軌道面2a,2aとの間に設けられる。各列のころ4は、転動面が球面状に膨らんだ所謂たる形ころである。
<保持器>
一対の保持器5,5は、径方向環状部5a,5aと周方向環状部5b,5bとを備えるかご形保持器である。各径方向環状部5aは、それぞれ軸方向開口部側にて径方向に延びる。各周方向環状部5bは、それぞれ対応する径方向環状部5aの外径部から軸受内部側に延びる。各周方向環状部5bに、円周等配にポケットPtが複数設けられ、各ポケットPtにころ4が転動自在に保持される。したがって、内輪2の外径面のうち軌道面2a,2aよりも軸方向外側に、保持器案内面2b(図2)が形成される。保持器5,5は金属製または樹脂製である。
一対の保持器5,5は、径方向環状部5a,5aと周方向環状部5b,5bとを備えるかご形保持器である。各径方向環状部5aは、それぞれ軸方向開口部側にて径方向に延びる。各周方向環状部5bは、それぞれ対応する径方向環状部5aの外径部から軸受内部側に延びる。各周方向環状部5bに、円周等配にポケットPtが複数設けられ、各ポケットPtにころ4が転動自在に保持される。したがって、内輪2の外径面のうち軌道面2a,2aよりも軸方向外側に、保持器案内面2b(図2)が形成される。保持器5,5は金属製または樹脂製である。
<シール>
シール6は、芯金6aとシール部材6bとを備える接触式のシールである。シール部材6bは、芯金6aを覆う弾性材であり合成ゴム等から成る。シール部材6bにおいて、外径側端部には膨出部9が形成され、内径側端部にはシールリップ8が形成されている。芯金6aは、本体部と、折れ曲がり片部と、傾斜片部とを有する。本体部は径方向に延びる。折れ曲がり片部は、本体部の外径端に設けられ軸受内部側へ円筒状に延びる。図2のように、傾斜片部6aaは、本体部6abの内径端に設けられ、内径側に向かうに従って軸受内部側へ傾斜するように延びる。芯金6aは、例えば、鋼板等からプレス加工にて形成されている。
シール6は、芯金6aとシール部材6bとを備える接触式のシールである。シール部材6bは、芯金6aを覆う弾性材であり合成ゴム等から成る。シール部材6bにおいて、外径側端部には膨出部9が形成され、内径側端部にはシールリップ8が形成されている。芯金6aは、本体部と、折れ曲がり片部と、傾斜片部とを有する。本体部は径方向に延びる。折れ曲がり片部は、本体部の外径端に設けられ軸受内部側へ円筒状に延びる。図2のように、傾斜片部6aaは、本体部6abの内径端に設けられ、内径側に向かうに従って軸受内部側へ傾斜するように延びる。芯金6aは、例えば、鋼板等からプレス加工にて形成されている。
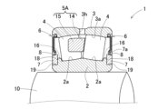
図1のように、前記折れ曲がり片部には、シール部材6bの膨出部9が被覆されている。外輪3の内径面における軸方向両端部には、凹周溝が形成されている。外輪3の各凹周溝に膨出部9がそれぞれ嵌合される。これによりシール部材6bが外輪3に装着される。図2のように、シールリップ8は傾斜片部6aaを覆う。シールリップ8は、シール摺動部部品7の摺動部7aに摺動する。図1に示す内外輪2,3のうちシール摺動側の軌道輪は、この例では内輪2である。シール固定側の軌道輪は外輪3である。
<シール摺動部部品について>
環状のシール摺動部部品7,7は、内輪2の両端面に当接するように配置される。シール摺動側の軌道輪である内輪2と、シール摺動部部品7とは、別体に設けられている。シール摺動部部品7は、例えば、内外輪2,3と同様の鋼製であるが、内外輪2,3とは異なる金属製であってもよい。シール摺動部部品7は、径方向に所定長さ延びる断面略矩形状である。この例のシール摺動部部品7は、軸10の外周面に所定の締め代を介して嵌合固定される。
環状のシール摺動部部品7,7は、内輪2の両端面に当接するように配置される。シール摺動側の軌道輪である内輪2と、シール摺動部部品7とは、別体に設けられている。シール摺動部部品7は、例えば、内外輪2,3と同様の鋼製であるが、内外輪2,3とは異なる金属製であってもよい。シール摺動部部品7は、径方向に所定長さ延びる断面略矩形状である。この例のシール摺動部部品7は、軸10の外周面に所定の締め代を介して嵌合固定される。
図2のように、シール摺動部部品7は、シールリップ8が摺動する摺動部7aをテーパ形状としている。前記テーパ形状の摺動部7aは、シール摺動部部品7の外周面であり、軸受内部側に向かうに従って外径側に傾斜する。摺動部7aにおける軸方向C1に対する傾斜角度αは、所定の傾斜角度に設定されている。摺動部7aの最大径を成す軸受内部側の外径縁部11は、保持器5における径方向環状部5aの内径部12よりも大径に形成されている。保持器5の内径部12よりもシール摺動部部品7の外径縁部11が大径であっても、内輪2とシール摺動部部品7とが別体に設けられているため、保持器5を軸受内に組み込むことが可能である。シール摺動部部品7のうち内輪2の外径面よりも外径側に延びる部分は、保持器5の径方向環状部5aの外側面13に対し、定められた軸方向隙間を介して対向する。
<作用効果>
以上説明した図1に示すシール付き自動調心ころ軸受1によると、シール摺動側の軌道輪である内輪2と、シール摺動部部品7とが別体に設けられている。このため、保持器5の形状によらず既存のシール6を採用可能となる。したがって、新規にシール成形用金型等を製作する必要がなくなるため、従来構造よりも安価にシール6を製造することができ軸受全体のコスト低減を図れる。
以上説明した図1に示すシール付き自動調心ころ軸受1によると、シール摺動側の軌道輪である内輪2と、シール摺動部部品7とが別体に設けられている。このため、保持器5の形状によらず既存のシール6を採用可能となる。したがって、新規にシール成形用金型等を製作する必要がなくなるため、従来構造よりも安価にシール6を製造することができ軸受全体のコスト低減を図れる。
シール6は固定側の軌道輪である外輪3に取り付けられるため、シール6を固定するスペースを最小限にすることができる。このため、シールケースを備えた従来構造よりもコンパクトな幅の軸受構造とすることができる。シール摺動部部品7は、シール6が摺動する摺動部7a(図2)をテーパ形状としている。このため、軸受1の調心時に、シールリップ8の締め代の変化量を小さくすることが可能であり、加工も容易である。
<もみ抜き保持器の例:図3>
前記シール付き自動調心ころ軸受1を部分的に変更した変形例として、図3のように、保持器をもみ抜き保持器5Aとしてもよい。この保持器5Aは、環状部14と、複数の柱部15とを備える。複数の柱部15は、環状部14から軸方向両側に延び円周方向一定間隔おきに設けられている。円周方向に隣り合う柱部15,15間にポケットPtが形成され、各ポケットPtにころ4が転動自在に保持される。なお内輪2における、軌道面2a,2aの軸方向外側部分には、外径側に膨出する鍔部16,16が設けられている。この変形例においても前述のシール付き自動調心ころ軸受と同様の作用効果を奏する。
前記シール付き自動調心ころ軸受1を部分的に変更した変形例として、図3のように、保持器をもみ抜き保持器5Aとしてもよい。この保持器5Aは、環状部14と、複数の柱部15とを備える。複数の柱部15は、環状部14から軸方向両側に延び円周方向一定間隔おきに設けられている。円周方向に隣り合う柱部15,15間にポケットPtが形成され、各ポケットPtにころ4が転動自在に保持される。なお内輪2における、軌道面2a,2aの軸方向外側部分には、外径側に膨出する鍔部16,16が設けられている。この変形例においても前述のシール付き自動調心ころ軸受と同様の作用効果を奏する。
<他の実施形態について>
以下の説明においては、各実施形態で先行して説明している事項に対応している部分には同一の参照符号を付し、重複する説明を略する。構成の一部のみを説明している場合、構成の他の部分は、特に記載のない限り先行して説明している実施形態と同様とする。同一の構成は同一の作用効果を奏する。各実施形態で具体的に説明している部分の組合せばかりではなく、特に組合せに支障が生じなければ、実施形態同士を部分的に組合せることも可能である。
以下の説明においては、各実施形態で先行して説明している事項に対応している部分には同一の参照符号を付し、重複する説明を略する。構成の一部のみを説明している場合、構成の他の部分は、特に記載のない限り先行して説明している実施形態と同様とする。同一の構成は同一の作用効果を奏する。各実施形態で具体的に説明している部分の組合せばかりではなく、特に組合せに支障が生じなければ、実施形態同士を部分的に組合せることも可能である。
[第2の実施形態:締結部品、図4A,図4B]
図4Aおよび図4Bのように、シール摺動部部品7は、シール摺動側の軌道輪である内輪2に締結部品17で固定されていてもよい。図4Aは、かご形保持器5の例であるのに対し、図4Bはもみ抜き保持器5Aの例である。
シール摺動部部品7は、軸10の外周面に対し隙間嵌めに設定されている。締結部品17として、例えば、ボルトが適用される。内輪2の両端面には、軸方向に延びる雌ねじが形成され、各シール摺動部部品7には、内輪2の前記雌ねじに連通するねじ孔が形成されている。締結部品17であるボルトを各シール摺動部部品7のねじ孔に差し込み内輪2の雌ねじに螺合することで、シール摺動部部品7,7が内輪2に固定される。
図4Aおよび図4Bのように、シール摺動部部品7は、シール摺動側の軌道輪である内輪2に締結部品17で固定されていてもよい。図4Aは、かご形保持器5の例であるのに対し、図4Bはもみ抜き保持器5Aの例である。
シール摺動部部品7は、軸10の外周面に対し隙間嵌めに設定されている。締結部品17として、例えば、ボルトが適用される。内輪2の両端面には、軸方向に延びる雌ねじが形成され、各シール摺動部部品7には、内輪2の前記雌ねじに連通するねじ孔が形成されている。締結部品17であるボルトを各シール摺動部部品7のねじ孔に差し込み内輪2の雌ねじに螺合することで、シール摺動部部品7,7が内輪2に固定される。
この構成によると、軸受1を軸10に取り付ける際に、シール摺動部部品7と軸10との間に締め代を設ける必要がない。このため、軸受1を軸10に容易に取り付けることができ、軸受1を組み付ける作業工数を低減することが可能となる。その他、前述と同様の作用効果を奏する。
[第3の実施形態:嵌合例、図5A,図5B]
図5A,図5Bのように、シール摺動部部品7,7は、シール摺動側の軌道輪である内輪2に嵌合されていてもよい。内輪2の外径面の軸方向外側部分に、段差部18,18を介して嵌合面19,19が形成されている。各嵌合面19は、内輪2の軌道面2aよりも小径に形成されている。内輪2の各嵌合面19に、所定の締め代を介してシール摺動部部品7がそれぞれ嵌合固定される。各シール摺動部部品7の内側面の内径側部分は、内輪2の段差部18にそれぞれ当接する。
この構成によると、周方向のシールリップ8の締め代の変化を小さくすることができる。またシール摺動部部品を締結部品等でシール摺動側の軌道輪に固定する構造等よりも、部品点数を低減することができる。
図5A,図5Bのように、シール摺動部部品7,7は、シール摺動側の軌道輪である内輪2に嵌合されていてもよい。内輪2の外径面の軸方向外側部分に、段差部18,18を介して嵌合面19,19が形成されている。各嵌合面19は、内輪2の軌道面2aよりも小径に形成されている。内輪2の各嵌合面19に、所定の締め代を介してシール摺動部部品7がそれぞれ嵌合固定される。各シール摺動部部品7の内側面の内径側部分は、内輪2の段差部18にそれぞれ当接する。
この構成によると、周方向のシールリップ8の締め代の変化を小さくすることができる。またシール摺動部部品を締結部品等でシール摺動側の軌道輪に固定する構造等よりも、部品点数を低減することができる。
<球面形状>
図6のように、シール摺動部部品7は、シール6が摺動する摺動部7aを球面形状としてもよい。この摺動部7aの球面形状は、軸受中心を中心とする球面形状である。この場合、軸受の調心時にシールリップ8の締め代を一定とすることができる。
図6のように、シール摺動部部品7は、シール6が摺動する摺動部7aを球面形状としてもよい。この摺動部7aの球面形状は、軸受中心を中心とする球面形状である。この場合、軸受の調心時にシールリップ8の締め代を一定とすることができる。
シール摺動側の軌道輪を外輪とし、シール固定側の軌道輪を内輪としてもよい。
シール付き自動調心ころ軸受の用途、使用条件等によっては、シールを内外輪間の一端面側のみに設けることも可能である。
各実施形態のシール付き自動調心ころ軸受は、例えば、鉄道車両の車軸、減速装置、製紙機械、プランマブロック、印刷機械、圧延機等の各種用途に適用可能である。
シール付き自動調心ころ軸受の用途、使用条件等によっては、シールを内外輪間の一端面側のみに設けることも可能である。
各実施形態のシール付き自動調心ころ軸受は、例えば、鉄道車両の車軸、減速装置、製紙機械、プランマブロック、印刷機械、圧延機等の各種用途に適用可能である。
以上、本発明の実施形態を説明したが、今回開示された実施形態はすべての点で例示であって制限的なものではない。本発明の範囲は上記した説明ではなくて特許請求の範囲によって示され、特許請求の範囲と均等の意味および範囲内でのすべての変更が含まれることが意図される。
1…シール付き自動調心ころ軸受、2…内輪、3…外輪、4…ころ、5,5A…保持器、6…シール、7…シール摺動部部品、17…締結部品、7a…摺動部
Claims (5)
- 内外輪と、これら内外輪間に二列に設けられる複数のころと、これらころを保持する保持器と、前記内外輪間の端面側に設けられたシールとを備えたシール付き自動調心ころ軸受であって、
前記シールが摺動する環状のシール摺動部部品を備え、前記内外輪のうちシール摺動側の軌道輪と、前記シール摺動部部品とが別体に設けられているシール付き自動調心ころ軸受。 - 請求項1に記載のシール付き自動調心ころ軸受において、前記シール摺動部部品は、前記シール摺動側の軌道輪に締結部品で固定されているシール付き自動調心ころ軸受。
- 請求項1または請求項2に記載のシール付き自動調心ころ軸受において、前記シール摺動部部品は、前記シール摺動側の軌道輪に嵌合されているシール付き自動調心ころ軸受。
- 請求項1または請求項2に記載のシール付き自動調心ころ軸受において、前記シール摺動部部品は、前記シールが摺動する摺動部をテーパ形状としたシール付き自動調心ころ軸受。
- 請求項1または請求項2に記載のシール付き自動調心ころ軸受において、前記シール摺動部部品は、前記シールが摺動する摺動部を球面形状としたシール付き自動調心ころ軸受。
Priority Applications (1)
| Application Number | Priority Date | Filing Date | Title |
|---|---|---|---|
| JP2023034871A JP2024126480A (ja) | 2023-03-07 | 2023-03-07 | シール付き自動調心ころ軸受 |
Applications Claiming Priority (1)
| Application Number | Priority Date | Filing Date | Title |
|---|---|---|---|
| JP2023034871A JP2024126480A (ja) | 2023-03-07 | 2023-03-07 | シール付き自動調心ころ軸受 |
Publications (1)
| Publication Number | Publication Date |
|---|---|
| JP2024126480A true JP2024126480A (ja) | 2024-09-20 |
Family
ID=92760797
Family Applications (1)
| Application Number | Title | Priority Date | Filing Date |
|---|---|---|---|
| JP2023034871A Pending JP2024126480A (ja) | 2023-03-07 | 2023-03-07 | シール付き自動調心ころ軸受 |
Country Status (1)
| Country | Link |
|---|---|
| JP (1) | JP2024126480A (ja) |
-
2023
- 2023-03-07 JP JP2023034871A patent/JP2024126480A/ja active Pending
Similar Documents
| Publication | Publication Date | Title |
|---|---|---|
| US20110116734A1 (en) | Punched retainer, self-aligning roller bearing, and method of manufacturing punched retainer | |
| JP5315847B2 (ja) | ころ軸受 | |
| US7771122B2 (en) | Cage for rolling bearing and rolling bearing having the same | |
| EP0746698B1 (en) | Thrust bearing assembly | |
| US5009524A (en) | Double row, self aligning roller bearing | |
| JP2010190241A (ja) | 自動調心ころ軸受 | |
| JP2009063118A (ja) | 転がり軸受 | |
| JP2008256204A (ja) | 転がり軸受 | |
| JP2004278660A (ja) | 外輪回転型転がり軸受 | |
| US20180328406A1 (en) | Thrust roller bearing cage and thrust roller bearing | |
| US10550891B2 (en) | Seal member for rolling bearing and rolling bearing assembly | |
| JP5651966B2 (ja) | ころ軸受 | |
| US10408259B1 (en) | Self-aligning roller bearing | |
| JP2009014160A (ja) | 転がり軸受 | |
| CN102425601A (zh) | 一种内、外组件均为圆柱滚子的三环轴承 | |
| JP2024126480A (ja) | シール付き自動調心ころ軸受 | |
| JP2008223965A (ja) | 転がり軸受 | |
| JP2006112555A (ja) | 調心輪付きころ軸受 | |
| JP2017096498A (ja) | 円筒ころ軸受 | |
| JP2010159787A (ja) | スラストころ軸受 | |
| JP2009092162A (ja) | ころ軸受 | |
| JP2008223967A (ja) | 転がり軸受 | |
| JP2001116055A (ja) | 複列円すいころ軸受 | |
| JP2009168106A (ja) | ころ軸受及びころ軸受の固定構造 | |
| JPS623537Y2 (ja) |
