JP2024058723A - Railroad work vehicle - Google Patents

Railroad work vehicle Download PDF

Info

Publication number
JP2024058723A
JP2024058723A JP2022165989A JP2022165989A JP2024058723A JP 2024058723 A JP2024058723 A JP 2024058723A JP 2022165989 A JP2022165989 A JP 2022165989A JP 2022165989 A JP2022165989 A JP 2022165989A JP 2024058723 A JP2024058723 A JP 2024058723A
Authority
JP
Japan
Prior art keywords
work
jack
rail
vehicle
rolling
Prior art date
Legal status (The legal status is an assumption and is not a legal conclusion. Google has not performed a legal analysis and makes no representation as to the accuracy of the status listed.)
Pending
Application number
JP2022165989A
Other languages
Japanese (ja)
Inventor
延之 川島
Nobuyuki Kawashima
明夫 佐藤
Akio Sato
智則 内田
Tomonori Uchida
満 太田
Mitsuru Ota
俊 須藤
Shun Sudo
祐希 内海
Yuki Uchiumi
Current Assignee (The listed assignees may be inaccurate. Google has not performed a legal analysis and makes no representation or warranty as to the accuracy of the list.)
Aichi Corp
Original Assignee
Aichi Corp
Priority date (The priority date is an assumption and is not a legal conclusion. Google has not performed a legal analysis and makes no representation as to the accuracy of the date listed.)
Filing date
Publication date
Application filed by Aichi Corp filed Critical Aichi Corp
Priority to JP2022165989A priority Critical patent/JP2024058723A/en
Publication of JP2024058723A publication Critical patent/JP2024058723A/en
Pending legal-status Critical Current

Links

Images

Landscapes

  • Vehicle Cleaning, Maintenance, Repair, Refitting, And Outriggers (AREA)

Abstract

【課題】軌陸作業車の作業時の安定性を向上させる。【解決手段】車体上に作業装置を備え、道路および軌道を走行可能で、転車装置を備えて軌陸車が構成される。転車装置が、車体の下方に向かって上下方向に伸縮可能な転車用ジャッキと、転車用ジャッキにより上下移動される回転支持テーブル130と、転車用ジャッキの作動を制御する転車ジャッキ制御部および転車制御装置を備えて構成される。高所作業装置は、作業台操作ボックスの操作レバーと、高所作業装置を作動させる作業アクチュエータと、操作レバーの操作に応じて作業アクチュエータを駆動して高所作業装置を作動させる高所作業制御部および高所作業制御装置を備えて構成される。そして、高所作業装置による作業が行われるときに、転車ジャッキ制御部および転車制御装置により転車用ジャッキを作動させて回転支持テーブル130を下方に張り出す制御を行う。【選択図】図7[Problem] To improve the stability of a rail-mounted work vehicle during operation. [Solution] A rail-mounted work vehicle is equipped with a working device on the vehicle body, can travel on roads and tracks, and is equipped with a rolling stock device. The rolling stock device is equipped with a rolling stock jack that can be extended and retracted in the vertical direction toward the bottom of the vehicle body, a rotating support table 130 that is moved up and down by the rolling stock jack, and a rolling stock jack control unit and a rolling stock control device that control the operation of the rolling stock jack. The high-altitude work equipment is equipped with an operation lever on a work platform control box, a work actuator that operates the high-altitude work equipment, and a high-altitude work control unit and a high-altitude work control device that drive the work actuator in response to operation of the operation lever to operate the high-altitude work equipment. Then, when work is being performed using the high-altitude work equipment, the rolling stock jack control unit and the rolling stock control device operate the rolling stock jack to control the rotating support table 130 to extend downward. [Selected Figure] Figure 7

Description

本発明は、道路及び鉄道の軌道上を走行可能な軌陸作業車に関する。本発明は特に、軌陸作業車を踏切内において軌道上に位置させる載線作業や、軌道上から道路に位置させる退線作業を行うための転車装置を備えた軌陸作業車に関する。 The present invention relates to a rail-operated work vehicle capable of traveling on roads and railway tracks. In particular, the present invention relates to a rail-operated work vehicle equipped with a rolling stock device for carrying out the work of placing the rail-operated work vehicle on the track at a railroad crossing and for carrying out the work of removing the rail-operated work vehicle from the track to the road.

軌陸作業車(以下、軌陸車とも称する)は、道路走行用車輪(以下、タイヤ車輪とも称する)によって道路走行自在に構成された車体の前後左右に、各々張出/格納自在な軌道走行用車輪(以下、鉄輪とも称する)を設け、この鉄輪を張り出した状態で鉄道の軌道(レール)上を走行可能な軌道走行装置を有し、軌道上でトロリ線などの鉄道設備の工事・点検を行う際に広く用いられている。また軌陸作業車は、通常、道路上(例えば踏切)から軌道上へ車体を載せ、又は、車体を軌道上から踏切内の道路上へ降ろす作業を容易にするための載退線装置を備えている。ここで、車体を軌道上へ載せることを「載線」といい、車体を軌道上から降ろすことを「退線」という。 A road-rail work vehicle (hereafter also referred to as a road-rail vehicle) is a vehicle body that is constructed so that it can travel freely on the road with road-traveling wheels (hereafter also referred to as tire wheels), and has track-traveling wheels (hereafter also referred to as iron wheels) that can be extended or retracted on the front, rear, left and right sides of the body. It has a track-traveling device that can travel on the railway track (rail) with these iron wheels extended, and is widely used when carrying out construction and inspection of railway facilities such as trolley wires on the track. In addition, road-rail work vehicles are usually equipped with a loading and unloading device that makes it easy to load the vehicle body from the road (for example, a railroad crossing) onto the track, or to unload the vehicle body from the track onto the road inside the railroad crossing. Here, loading the vehicle body onto the track is referred to as "loading the track," and unloading the vehicle body from the track is referred to as "unloading."

従来、載退線装置の一種として転車支持台を備えた転車装置が知られている。転車支持台は、軌陸作業車の車体の下部に下方に伸縮自在に設けられており、軌陸作業車の載線作業又は退線作業を行う際は、例えば踏切内において転車支持台を下方へ張り出して車体を地上から浮上させ、車体を水平方向へ旋回可能に支持する。この状態から、載線作業を行う場合は、作業者が車体を押して車体の向きを軌道の敷設方向へ転換させ、鉄輪を張り出した後に転車支持台を上方に収縮させて鉄輪を軌道(レール)上に載置させて車体を軌道上に載せるように構成されている。このような構成の転車装置は、例えば、特許文献1に開示されている。 Conventionally, a rolling stock device equipped with a rolling stock support platform is known as a type of loading and unloading device. The rolling stock support platform is provided on the underside of the body of the road-rail work vehicle so that it can be freely extended downward. When loading or unloading the road-rail work vehicle, for example, the rolling stock support platform is extended downward within a railroad crossing to raise the body above the ground and support the body so that it can rotate horizontally. When loading or unloading the vehicle, the rolling stock support platform is extended downward within a railroad crossing to raise the body above the ground and support the body so that it can rotate horizontally. When loading or unloading the vehicle, the worker pushes the body from this state to change the direction of the body to the direction of the track, extends the iron wheels, and then retracts the rolling stock support platform upward to place the iron wheels on the track (rail) and place the body on the track. A rolling stock device with such a configuration is disclosed, for example, in Patent Document 1.

特許第5635817号公報Patent No. 5635817

上記特許文献1に開示されている軌陸作業車は車体上にカーゴクレーンを設けた構成であるが、車体上には高所作業装置、クレーン装置などの作業装置が搭載される構成の様々なタイプの軌陸作業車が知られている。このような軌陸作業車は軌道走行状態において高所作業装置などを用いて作業を行うことがあり、このようなときには軌道(レール)上に鉄輪が位置した状態で鉄輪により車体を支持することが多い。高所作業装置やクレーン装置を有する軌陸作業車において作業時の車体を安定支持することが求められるが、軌道(レール)上に鉄輪が位置した状態で鉄輪により車体を支持する場合に、車体の安定支持に注意を払う必要性が高い。ところが一般的に、軌道はカーブしている部分において傾いて設けられている、すなわち、外側のレールが内側よりも高くなるカントと称される傾きが設けられている。このため、軌道(レール)上に鉄輪が位置した状態で鉄輪により車体を支持して作業を行う場合において、軌陸作業車がカントのある場所を走行するときに支持安定性が低下しやすいという問題がある。なお、軌道(レール)上に鉄輪が位置した状態において、停車して作業用ジャッキを張り出して車体を支持し高所作業装置を用いて作業を行うこともあるが、このようなときには鉄輪が軌道から離れないもしくは極く僅かしか離れない状態で支持が行われることが多い。これは、作業を終えて作業用ジャッキの支持を解除したときに、鉄輪が確実に軌道上に戻るようにするためであるが、この結果、車体は軌道のカントに沿った傾斜のままでの支持となり、支持安定性が低下しやすいという問
題がある。
The rail-mounted work vehicle disclosed in the above-mentioned Patent Document 1 is configured to have a cargo crane on the vehicle body, but various types of rail-mounted work vehicles are known that are configured to have work devices such as an elevated work device and a crane device mounted on the vehicle body. Such rail-mounted work vehicles may perform work using an elevated work device while traveling on a track, and in such cases, the vehicle body is often supported by the iron wheels with the iron wheels positioned on the track (rail). In rail-mounted work vehicles having an elevated work device and a crane device, it is required to stably support the vehicle body during work, but when the vehicle body is supported by the iron wheels with the iron wheels positioned on the track (rail), it is highly necessary to pay attention to the stable support of the vehicle body. However, in general, the track is provided at an incline in the curved portion, that is, a slope called a cant is provided in which the outer rail is higher than the inner rail. For this reason, when the vehicle body is supported by the iron wheels with the iron wheels positioned on the track (rail) and work is performed, there is a problem that the support stability is easily reduced when the rail-mounted work vehicle travels through a place with a cant. In addition, when the iron wheels are positioned on the track (rail), the vehicle may be stopped, a work jack may be extended to support the vehicle body, and work may be performed using an elevated work device, but in such cases, the iron wheels are often supported in a state where they do not leave the track or only slightly leave it. This is to ensure that the iron wheels return to the track when the work is completed and the support of the work jack is released, but as a result, the vehicle body is supported at an inclination along the cant of the track, which creates the problem of a reduction in support stability.

なお、支持安定性向上のためにカウンタウエイトを設けることも良く行われている。ところが、軌陸作業車においては、道路走行装置と軌道走行装置とを備え、さらに転車装置を備えるため、一般的な高所作業車、クレーン車に比べて重量が増加傾向にあり、カウンタウエイトを付加する余裕が少ないという事情がある。 It is also common to provide a counterweight to improve support stability. However, since road-rail work vehicles are equipped with a road running gear, a track running gear, and a turntable, they tend to be heavier than general aerial work vehicles and crane vehicles, meaning there is little room to add a counterweight.

本発明は、このような課題に鑑みてなされたものであり、カウンタウエイトの追加などを行うことなく、作業時の安定性を向上させることができるような構成の軌陸作業車を提供することを目的とする。 The present invention was made in consideration of these problems, and aims to provide a rail-mounted work vehicle that is configured to improve stability during work without the need to add counterweights or other measures.

上記目的を達成するため、本発明にかかる軌陸作業車は、車体上に作業装置(例えば、実施形態におけるブーム30および作業台40を備えた高所作業装置)を備え、道路走行用車輪(例えば、実施形態における操舵輪3Sおよび駆動輪3D)および軌道走行用車輪(例えば、実施形態における前鉄輪12Fおよび後鉄輪12R)を有して道路および軌道を走行可能な軌陸作業車であり、前記軌陸作業車を軌道に対して載線・退線させるための転車装置(例えば、実施形態における転車装置110)を備えて構成される。前記転車装置が、前記車体に設けられて前記車体の下方に向かって上下方向に伸縮可能な転車用ジャッキ(例えば、実施形態における転車用ジャッキ120)と、前記転車用ジャッキの下端部に設けられて前記転車用ジャッキにより上下移動される転車支持台(例えば、実施形態における回転支持テーブル130)と、前記転車用ジャッキの作動を制御するジャッキ制御装置(例えば、実施形態における転車ジャッキ制御部81および転車制御装置85)と、を備えて構成される。また、前記作業装置(例えば、実施形態における旋回台20、ブーム30および作業台40)が、前記作業装置による作業を行うために操作される作業操作装置(例えば、実施形態における作業台操作ボックス42の作業操作装置43)と、前記作業装置を作動させる作業アクチュエータ(例えば、実施形態における旋回モータ21、ブーム伸縮シリンダ31、ブーム起伏シリンダ32、首振りモータ41)と、前記作業操作装置の操作に応じて前記作業アクチュエータを駆動して前記作業装置を作動させる作業制御装置(例えば、実施形態における高所作業制御部83および高所作業制御装置90)と、を備えて構成される。そして、前記作業装置による作業が行われるときに、前記ジャッキ制御装置により前記転車用ジャッキを作動させて前記転車支持台を下方に張り出す制御を行う。 In order to achieve the above-mentioned objectives, the rail-road work vehicle of the present invention is a rail-road work vehicle that has a working device (e.g., an elevated work device equipped with a boom 30 and a work platform 40 in the embodiments) mounted on the vehicle body, has wheels for running on roads (e.g., steering wheels 3S and driving wheels 3D in the embodiments) and wheels for running on tracks (e.g., front iron wheels 12F and rear iron wheels 12R in the embodiments) and can run on roads and tracks, and is configured with a rolling device (e.g., rolling device 110 in the embodiments) for loading and unloading the rail-road work vehicle onto and from the track. The rolling device is configured to include a rolling jack (e.g., rolling jack 120 in the embodiments) that is attached to the vehicle body and can be extended and retracted in the vertical direction toward the bottom of the vehicle body, a rolling support table (e.g., rotating support table 130 in the embodiments) that is attached to the lower end of the rolling jack and moved up and down by the rolling jack, and a jack control device (e.g., rolling jack control unit 81 and rolling control device 85 in the embodiments) that controls the operation of the rolling jack. In addition, the working device (e.g., the swivel platform 20, boom 30, and work platform 40 in the embodiment) is configured with a work operation device (e.g., the work operation device 43 of the work platform operation box 42 in the embodiment) that is operated to perform work using the working device, a work actuator (e.g., the swivel motor 21, boom extension cylinder 31, boom hoisting cylinder 32, and swing motor 41 in the embodiment) that operates the working device, and a work control device (e.g., the high-altitude work control unit 83 and high-altitude work control device 90 in the embodiment) that drives the work actuator in response to the operation of the work operation device to operate the working device. Then, when work is performed using the working device, the jack control device operates the rollover jack to control the rollover support platform to extend downward.

上記軌陸作業車において、前記作業装置を使用しないときには前記作業装置が前記車体上に格納される構成であり、前記作業装置の格納を検出する格納検出器(例えば、実施形態における格納検出器39)を備え、前記格納検出器により前記作業装置が格納状態ではなくなったことを検出したときに、前記ジャッキ制御装置により前記転車用ジャッキを作動させて前記転車支持台を下方に張り出す制御を行うのが好ましい。 In the above-mentioned rail-mounted work vehicle, the working device is configured to be stored on the vehicle body when not in use, and a storage detector (e.g., storage detector 39 in the embodiment) is provided to detect the storage of the working device, and when the storage detector detects that the working device is no longer in the stored state, it is preferable that the jack control device operates the rolling jack to control the rolling support platform to extend downward.

また、上記軌陸作業車において、前記作業装置を使用しないときには前記作業装置が前記車体上に格納される構成であり、前記作業装置の格納を検出する格納検出器(例えば、実施形態における格納検出器39)を備え、前記格納検出器により前記作業装置が格納状態であることが検出されている状態において、前記作業操作装置に対する所定の操作が行われたときに、前記ジャッキ制御装置により前記転車用ジャッキを作動させて前記転車支持台を下方に張り出す制御を行うのが好ましい。 In addition, in the above-mentioned road-rail work vehicle, the working device is configured to be stored on the vehicle body when not in use, and a storage detector (e.g., storage detector 39 in the embodiment) is provided to detect the storage of the working device, and when the storage detector detects that the working device is in a stored state, it is preferable that the jack control device operates the rollover jack to control the rollover support platform to extend downward.

また、上記軌陸作業車において、前記作業装置が、前記車体上に少なくとも起伏自在に設けられたブーム(例えば、実施形態におけるブーム30)と、前記ブームの先端に取り付けられた作業者が搭乗する作業台(例えば、実施形態における作業台40)とを備え、
前記ブームが前記車体上に設けられたブーム受け(例えば、実施形態におけるブーム受け38)の上に載置されて格納される構成であり、前記格納検出器(例えば、実施形態における格納検出器39)が前記ブーム受けに設けられ、前記ブームが前記ブーム受けの上に載置されたことを検出して格納の検出を行うのが好ましい。
In addition, in the above-mentioned rail-mounted working vehicle, the working device includes a boom (e.g., the boom 30 in the embodiment) that is at least freely raised and lowered on the vehicle body, and a work platform (e.g., the work platform 40 in the embodiment) on which a worker rides and is attached to the tip of the boom,
It is preferable that the boom is placed on a boom receiver (e.g., boom receiver 38 in the embodiment) provided on the vehicle body and stored, and that the storage detector (e.g., storage detector 39 in the embodiment) is provided on the boom receiver and detects that the boom is placed on the boom receiver to detect storage.

さらに、上記軌陸作業車において、前記軌道走行用車輪を軌道上に張り出した状態において、前記作業装置による作業が行われるときに、前記ジャッキ制御装置により前記転車用ジャッキを作動させて前記転車支持台を下方に張り出す制御を行うのが好ましい。 Furthermore, in the above-mentioned road-rail work vehicle, when the track running wheels are extended above the track and work is performed by the working device, it is preferable that the jack control device operates the rolling jack to control the rolling support platform to extend downward.

本発明に係る軌陸作業車によれば、前記作業装置による作業が行われるときに、前記ジャッキ制御装置により前記転車用ジャッキを駆動して前記転車支持台を下方に張り出す制御を行うので、前記軌陸作業車全体としての重心位置が低い位置に移動する。これにより、前記作業装置を作動させて、前記軌陸作業車の重心位置が外方に移動するような場合、前記転車支持台を下方に張り出して前記軌陸作業車全体としての重心位置が低下しているため、前記軌陸作業車の重心位置の外方への移動量を小さく抑えることができ、車体の支持安定性が向上する。すなわち、前記転車支持台を引き上げて格納した状態のときに比べて、前記転車支持台を下方に張り出した状態の方が、前記作業装置を作動させたときにおける前記軌陸作業車の重心位置の外方への移動量が小さくなり、車体の支持安定性が向上する。 According to the rail-mounted work vehicle of the present invention, when work is performed by the working device, the jack control device drives the rolling jack to control the rolling support platform to extend downward, so that the center of gravity of the entire rail-mounted work vehicle moves to a lower position. As a result, when the working device is operated and the center of gravity of the rail-mounted work vehicle moves outward, the rolling support platform extends downward and the center of gravity of the entire rail-mounted work vehicle is lowered, so the amount of outward movement of the center of gravity of the rail-mounted work vehicle can be kept small, improving the support stability of the vehicle body. In other words, compared to when the rolling support platform is raised and stored, the amount of outward movement of the center of gravity of the rail-mounted work vehicle when the working device is operated is smaller when the rolling support platform is extended downward, improving the support stability of the vehicle body.

上記軌陸作業車において、前記格納検出器により前記作業装置が格納状態ではなくなったことを検出したときに、前記ジャッキ制御装置により前記転車用ジャッキを駆動して前記転車支持台を下方に張り出す制御を行うのが好ましい。前記作業装置による作業は、格納状態の前記作業装置を非格納状態としてから行われるため、このように制御すれば、作業を行うときに的確に前記転車支持台を下方に張り出して、確実に支持安定性を確保することができる。 In the above-mentioned road-rail work vehicle, when the storage detector detects that the working device is no longer in the stored state, it is preferable that the jack control device drives the rolling stock jack to control the rolling stock support platform to extend downward. Since work using the working device is performed after the working device is put into a non-stored state from a stored state, by controlling in this manner, the rolling stock support platform can be appropriately extended downward when work is performed, ensuring stable support.

また、上記軌陸作業車において、前記格納検出器により前記作業装置が格納状態であることが検出されている状態において、前記作業操作装置に対する所定の操作が行われたときに、前記ジャッキ制御装置により前記転車用ジャッキを駆動して前記転車支持台を下方に張り出す制御を行うのが好ましい。前記作業装置が格納された状態から前記作業操作装置が操作されて初めて前記作業装置による作業が開始されるものであるため、このように制御すれば、必要なときに的確に前記転車支持台を下方に張り出して、確実に支持安定性を確保することができる。 In addition, in the above-mentioned road-rail work vehicle, when the storage detector detects that the working device is in a stored state and a specified operation is performed on the work operation device, it is preferable that the jack control device drives the rollover jack to control the rollover support platform to extend downward. Since work using the working device can only be started when the work operation device is operated from a stored state of the working device, by controlling in this manner, the rollover support platform can be extended downward appropriately when necessary, ensuring support stability.

また、上記軌陸作業車において、前記作業装置が前記ブームと、前記ブームの先端に取り付けられた作業者が搭乗する作業台とを備え、前記ブームが前記車体上に設けられたブーム受けの上に載置されて格納される構成である場合には、前記格納検出器が前記ブーム受けに設けられるのが好ましい。このようにすれば、前記ブームの格納を正確且つ的確に検出できる。 In addition, in the above-mentioned road-rail work vehicle, if the working device comprises the boom and a work platform attached to the tip of the boom on which a worker sits, and the boom is placed on a boom receiver provided on the vehicle body and stored, it is preferable that the storage detector is provided on the boom receiver. In this way, storage of the boom can be detected accurately and precisely.

さらに、上記軌陸作業車において、前記軌道走行用車輪を軌道上に張り出して前記軌陸作業車が軌道上を走行可能な状態において、前記作業装置による作業が行われるときに、前記ジャッキ制御装置により前記転車用ジャッキを駆動して前記転車支持台を下方に張り出す制御を行うのが好ましい。軌道(レール)上に鉄輪が位置した状態で鉄輪により車体を支持する場合に特に車体の安定支持に注意を払う必要性が高いが、このようなときに、前記転車支持台を下方に張り出すことにより、支持安定性を向上することができる。なお、軌道(レール)上に鉄輪が位置した状態で鉄輪により前記軌陸作業車体を支持して作業を行う場合において、軌道にカントのある位置での作業を行うときに、後述するように、
特に顕著な効果が得られる。
Furthermore, in the above-mentioned road-rail work vehicle, when the track running wheels are extended above the track so that the road-rail work vehicle can run on the track and work is being performed by the working device, it is preferable that the jack control device drives the rolling stock jack to control the rolling stock support platform to extend downward. When the car body is supported by the iron wheels with the iron wheels positioned on the track (rail), particular attention must be paid to stable support of the car body, and in such a case, support stability can be improved by extending the rolling stock support platform downward. When working with the road-rail work vehicle body supported by the iron wheels with the iron wheels positioned on the track (rail), when work is being performed in a position where there is a cant on the track, as described below,
A particularly remarkable effect is obtained.

本発明に係る転車装置を備えた軌陸作業車の外観を示す側面図である。1 is a side view showing the appearance of a rail-mounted working vehicle equipped with a turntable device according to the present invention. 上記転車装置の下部の概要構成を拡大して示す平面断面図である。2 is an enlarged cross-sectional plan view showing the general configuration of the lower part of the rolling device. FIG. 上記軌陸作業車を転車装置を用いて道路走行と軌道走行とを切り替える作業(載線作業および退線作業)や、高所作業を行うための制御システムの構成を示すブロック図である。This is a block diagram showing the configuration of a control system for switching the above-mentioned rail-mounted work vehicle between road travel and track travel using a turntable device (track-mounting work and track-retracting work) and for working at height. 軌陸作業車が踏切内に移動した状態を示す平面図である。This is a plan view showing the state in which the rail-road working vehicle has moved into the railroad crossing. レールの上に載線した軌陸作業車を転車装置の後側で断面して前方を見て示す概略断面図である。This is a schematic cross-sectional view showing a rail-mounted work vehicle mounted on rails, cut from the rear of the turntable device and looking forward. カントがあるレールの上に載線した軌陸作業車を転車装置の後側で断面して前方を見て示す概略断面図である。This is a schematic cross-sectional view showing a rail-mounted work vehicle mounted on a canted rail, cut from the rear of the rolling stock device and looking forward. カントがあるレールの上に載線し転車装置を下方に張り出した状態の軌陸作業車を転車装置の後側で断面して前方を見て示す概略断面図である。This is a schematic cross-sectional view showing a rail-mounted work vehicle mounted on a canted rail with the rollover device extended downward, cut from the rear of the rollover device and looking forward. レールの上に載線し転車装置を下方に張り出した状態の軌陸作業車を転車装置の後側で断面して前方を見て示す概略断面図である。This is a schematic cross-sectional view showing a rail-mounted work vehicle mounted on rails with the rollover device extended downward, cut from the rear side of the rollover device and looking forward.

以下、図面を参照して本発明の実施形態について説明する。本発明に係る軌陸作業車1の側面図を図1に示す。図1において軌陸作業車1は、前部に運転キャビン4を設けた車体2を有し、車体2の前部に配設された左右一対のタイヤ車輪である操舵輪3Sと、車体2の後部に配設された左右一対のタイヤ車輪である駆動輪3Dとからなる道路走行用車輪によって道路上を走行可能なトラック車両をベースに構成されている。車体2は、シャシフレーム5とシャシフレーム5上に取り付けられたサブフレーム6とからなる車体フレームを有して構成されている。ここで、図1では車体2の左側の操舵輪3S及び駆動輪3Dのみを図示しているが、車体2の右側にも同様の操舵輪3S及び駆動輪3Dが設けられている。 The following describes an embodiment of the present invention with reference to the drawings. FIG. 1 shows a side view of a road-rail working vehicle 1 according to the present invention. In FIG. 1, the road-rail working vehicle 1 has a vehicle body 2 with a driver's cabin 4 at the front, and is based on a truck vehicle that can run on roads using road-running wheels consisting of a pair of left and right tires and wheels, steering wheels 3S, arranged at the front of the vehicle body 2, and a pair of left and right tires and wheels, driving wheels 3D, arranged at the rear of the vehicle body 2. The vehicle body 2 is configured with a vehicle body frame consisting of a chassis frame 5 and a subframe 6 attached to the chassis frame 5. Here, FIG. 1 shows only the steering wheel 3S and driving wheel 3D on the left side of the vehicle body 2, but similar steering wheel 3S and driving wheel 3D are also provided on the right side of the vehicle body 2.

車体2における操舵輪3Sの後方および駆動輪3Dの後方には、作業用ジャッキ15が設けられている。作業用ジャッキ15は、車体フレームに固定保持される上部ジャッキ体15aと、上部ジャッキ体15a内に下方に移動自在に配設された下部ジャッキ体15bと、その内部に上部ジャッキ体15aと下部ジャッキ体15bを繋いで設けられたジャッキシリンダ16を有して構成される。このジャッキシリンダ16が伸縮移動することによって、上部ジャッキ体15aに対して下部ジャッキ体15bが下方に向けて移動されるようになっている。作業用ジャッキ15は、主に軌陸作業車1が作業する際に使用されるものであり、ジャッキシリンダ16の伸縮動により下部ジャッキ体15bが下方に向けて移動することで車体2を持ち上げ支持し、それにより車体2全体を安定支持させた状態とする。 A work jack 15 is provided behind the steering wheels 3S and behind the drive wheels 3D of the vehicle body 2. The work jack 15 is composed of an upper jack body 15a fixed to the vehicle body frame, a lower jack body 15b arranged inside the upper jack body 15a so that it can move downward, and a jack cylinder 16 connected to the upper jack body 15a and the lower jack body 15b. The jack cylinder 16 moves in an expanding and contracting manner, so that the lower jack body 15b moves downward relative to the upper jack body 15a. The work jack 15 is mainly used when the road-rail work vehicle 1 is working, and the lower jack body 15b moves downward due to the expanding and contracting movement of the jack cylinder 16, thereby lifting and supporting the vehicle body 2, thereby stably supporting the entire vehicle body 2.

操舵輪3Sの後方の作業用ジャッキ15の後部側には、車体フレームに対して上下揺動自在に支持された前鉄輪12Fと、前鉄輪12Fを格納位置(図中、二点鎖線で示す位置)と張出位置(図中、実線で示す位置)との間で上下揺動作動させるための前鉄輪揺動シリンダ13Fを有した前鉄輪揺動装置45とが設けられている。また、駆動輪3Dの後方の作業用ジャッキ15の後部側には、車体フレームに対して上下揺動自在に支持された後鉄輪12Rと、後鉄輪12Rを格納位置(図中、二点鎖線で示す位置)と張出位置(図中、実線で示す位置)との間で上下揺動作動させるための後鉄輪揺動シリンダ13Rを有した後鉄輪揺動装置46とが設けられている。 On the rear side of the work jack 15 behind the steering wheel 3S, there are provided a front iron wheel 12F supported so as to be freely swingable up and down on the vehicle frame, and a front iron wheel rocking device 45 having a front iron wheel rocking cylinder 13F for rocking the front iron wheel 12F up and down between the storage position (position shown by the two-dot chain line in the figure) and the extension position (position shown by the solid line in the figure). Also, on the rear side of the work jack 15 behind the driving wheel 3D, there are provided a rear iron wheel 12R supported so as to be freely swingable up and down on the vehicle frame, and a rear iron wheel rocking device 46 having a rear iron wheel rocking cylinder 13R for rocking the rear iron wheel 12R up and down between the storage position (position shown by the two-dot chain line in the figure) and the extension position (position shown by the solid line in the figure).

ここで、上述した格納位置とは、軌陸作業車1が操舵輪3S及び駆動輪3Dによって道
路などを走行する際に、前鉄輪12F及び後鉄輪12Rを、走行路面より上側となる所定の高さまで上昇させた位置(図1において二点鎖線で示す前鉄輪12F及び後鉄輪12Rの位置)をいう。また、上述した張出位置とは、図1において実線で示すように、前鉄輪12F及び後鉄輪12Rが軌道上に位置し、操舵輪3Sおよび駆動輪3Dが軌道Rから離れて上方に位置し、前鉄輪12F及び後鉄輪12Rにより軌道Rの上を走行可能となる位置まで、前鉄輪12F及び後鉄輪12Rを張り出した位置をいう。
The above-mentioned stored position refers to a position where the front iron wheels 12F and rear iron wheels 12R are raised to a predetermined height above the traveling road surface when the road-rail working vehicle 1 travels on a road or the like using the steering wheels 3S and driving wheels 3D (the position of the front iron wheels 12F and rear iron wheels 12R shown by the two-dot chain line in Fig. 1). The above-mentioned extended position refers to a position where the front iron wheels 12F and rear iron wheels 12R are positioned on the track, the steering wheels 3S and driving wheels 3D are positioned above and away from the track R, and the front iron wheels 12F and rear iron wheels 12R are extended to a position where the vehicle can travel on the track R using the front iron wheels 12F and rear iron wheels 12R, as shown by the solid line in Fig. 1.

なお、図1では車体2の左側の前鉄輪12Fおよび後鉄輪12Rのみを図示しているが、車体2の右側にも同様の前鉄輪12Fおよび後鉄輪12Rが設けられている。また、作業用ジャッキ15と、前鉄輪揺動シリンダ13Fおよび前鉄輪揺動装置45と、後鉄輪揺動シリンダ13Rおよび後鉄輪揺動装置46についても、車体2の左側に設けられたもののみを図示しているが、車体2の右側にも同様の作業用ジャッキ15、前鉄輪揺動シリンダ13Fおよび前鉄輪揺動装置45と、後鉄輪揺動シリンダ13Rおよび後鉄輪揺動装置46が設けられている。 Note that while FIG. 1 only shows the front iron wheel 12F and rear iron wheel 12R on the left side of the car body 2, similar front iron wheel 12F and rear iron wheel 12R are also provided on the right side of the car body 2. Also, while only the work jack 15, front iron wheel rocking cylinder 13F, front iron wheel rocking device 45, rear iron wheel rocking cylinder 13R, and rear iron wheel rocking device 46 on the left side of the car body 2 are shown, similar work jack 15, front iron wheel rocking cylinder 13F, front iron wheel rocking device 45, rear iron wheel rocking cylinder 13R, and rear iron wheel rocking device 46 are also provided on the right side of the car body 2.

前鉄輪揺動装置45の前鉄輪揺動シリンダ13Fおよび後鉄輪揺動装置46の後鉄輪揺動シリンダ13Rを伸縮動させて、前鉄輪12Fおよび後鉄輪12Rを格納位置と張出位置との間で上下揺動させる制御は、作業者が鉄輪操作装置72(図3参照)を操作して行われる。鉄輪操作装置72は、図1では示していないが、車体2の後端位置や側端位置における作業者が操作しやすい位置に設けられており、作業者が鉄輪操作装置72を操作して、前鉄輪揺動シリンダ13Fおよび後鉄輪揺動シリンダ13Rを伸縮動させ、前鉄輪12Fおよび後鉄輪12Rを格納位置と張出位置との間で上下揺動させるようになっている。図1には図示していないが、前鉄輪12Fおよび後鉄輪12Rが張り出されたことを検出する鉄輪張出検出器95を備えている(図3参照)。鉄輪張出検出器95は、前鉄輪12Fおよび後鉄輪12Rが張出位置にあることを検出するだけでなく、格納位置にあることも検出するようにしても良い。 The front iron wheel rocking cylinder 13F of the front iron wheel rocking device 45 and the rear iron wheel rocking cylinder 13R of the rear iron wheel rocking device 46 are extended and retracted to rock the front iron wheel 12F and the rear iron wheel 12R up and down between the storage position and the extension position, and the control is performed by an operator operating the iron wheel operating device 72 (see FIG. 3). Although not shown in FIG. 1, the iron wheel operating device 72 is provided at a position at the rear end position or side end position of the car body 2 where the operator can easily operate it, and the operator operates the iron wheel operating device 72 to extend and retract the front iron wheel rocking cylinder 13F and the rear iron wheel rocking cylinder 13R to rock the front iron wheel 12F and the rear iron wheel 12R up and down between the storage position and the extension position. Although not shown in FIG. 1, an iron wheel extension detector 95 is provided to detect when the front iron wheel 12F and the rear iron wheel 12R are extended (see FIG. 3). The iron wheel extension detector 95 may be configured to not only detect when the front iron wheels 12F and rear iron wheels 12R are in the extended position, but also when they are in the retracted position.

この制御を行うシステムは図3のように構成される。図3に示すように、鉄輪操作装置72からの操作信号はコントローラ80に入力され、コントローラ80の鉄輪揺動制御部82により鉄輪制御装置86の作動が制御される。鉄輪制御装置86は、例えば、エンジンもしくは電気モータにより駆動される油圧ポンプ、この油圧ポンプから吐出される作動油を前鉄輪揺動シリンダ13Fおよび後鉄輪揺動シリンダ13Rへ供給する制御を行う鉄輪用油圧制御バルブなどから構成される。コントローラ80の鉄輪揺動制御部82は鉄輪用油圧制御バルブの駆動制御を行い、鉄輪操作装置72の操作に応じて前鉄輪揺動シリンダ13Fおよび後鉄輪揺動シリンダ13Rへの作動油供給制御を行う。この結果、作業者が鉄輪操作装置72を操作すると、その操作に応じて前鉄輪揺動シリンダ13Fおよび後鉄輪揺動シリンダ13Rを伸縮動させ、前鉄輪12Fおよび後鉄輪12Rを格納位置と張出位置との間で上下揺動させることができる。 The system that performs this control is configured as shown in FIG. 3. As shown in FIG. 3, the operation signal from the iron wheel operating device 72 is input to the controller 80, and the operation of the iron wheel control device 86 is controlled by the iron wheel swing control unit 82 of the controller 80. The iron wheel control device 86 is composed of, for example, a hydraulic pump driven by an engine or an electric motor, and an iron wheel hydraulic control valve that controls the supply of hydraulic oil discharged from this hydraulic pump to the front iron wheel swing cylinder 13F and the rear iron wheel swing cylinder 13R. The iron wheel swing control unit 82 of the controller 80 controls the drive of the iron wheel hydraulic control valve, and controls the supply of hydraulic oil to the front iron wheel swing cylinder 13F and the rear iron wheel swing cylinder 13R in response to the operation of the iron wheel operating device 72. As a result, when the worker operates the iron wheel operating device 72, the front iron wheel swing cylinder 13F and the rear iron wheel swing cylinder 13R are extended and retracted in response to the operation, and the front iron wheel 12F and the rear iron wheel 12R can be swung up and down between the storage position and the extension position.

車体2の中央下部には転車装置110が設けられている。転車装置110は、図2にも示すように、車体2の下部に設けられ下方に向かって伸縮可能な転車用ジャッキ120と、転車用ジャッキ120の下端部に設けられた回転支持テーブル(転車支持台)130とを有して構成されている。転車用ジャッキ120は、前後方向に互いにずれて左右方向(車幅方向)に互いに離間して並んで配置された2個の伸縮ポスト(左伸縮ポスト121Lおよび右伸縮ポスト121R)を有している。左伸縮ポスト121Lは、その内部に設けられた転車伸縮シリンダ122Lの伸縮動により、下方に向けて上下方向に伸縮動可能に構成されている。同様に、右伸縮ポスト121Rは、その内部に設けられた転車伸縮シリンダ122Rの伸縮動により、下方に向けて上下方向に伸縮動可能に構成されている。なお、左伸縮ポスト121Lの伸縮量と右伸縮ポスト121R伸縮量は、互いに同じとなるように調整することも可能であり互いに異なるように調整することも可能である。転車用
ジャッキ120は、2個の伸縮ポスト121L,121Rが上下方向に伸縮動することにより下方に向けて上下方向に伸縮動可能に構成されている。
A rolling device 110 is provided at the center lower part of the car body 2. As shown in FIG. 2, the rolling device 110 is configured to have a rolling jack 120 that is provided at the lower part of the car body 2 and can be extended downward, and a rotating support table (rolling support base) 130 provided at the lower end of the rolling jack 120. The rolling jack 120 has two telescopic posts (left telescopic post 121L and right telescopic post 121R) that are offset from each other in the front-rear direction and arranged side by side at a distance from each other in the left-right direction (vehicle width direction). The left telescopic post 121L is configured to be telescopically movable in the vertical direction downward by the telescopic movement of the rolling telescopic cylinder 122L provided therein. Similarly, the right telescopic post 121R is configured to be telescopically movable in the vertical direction downward by the telescopic movement of the rolling telescopic cylinder 122R provided therein. The amount of extension of the left telescopic post 121L and the amount of extension of the right telescopic post 121R can be adjusted to be the same or different. The rolling jack 120 is configured to be able to extend and retract in the vertical direction downward by the two telescopic posts 121L, 121R extending and retracting in the vertical direction.

伸縮ポスト121L,121Rを上下方向に伸縮動させる制御は、作業者が転車操作装置71(図3参照)を操作して行われる。転車操作装置71は、図1では示していないが、車体2の後端位置や側端位置における作業者が操作しやすい位置に設けられており、作業者が転車操作装置71を操作して、左右転車伸縮シリンダ122L、122Rを伸縮動させて左右伸縮ポスト121L,121Rを上下方向に伸縮動させ、転車用ジャッキ120を下方に向かって伸縮動させ、転車用ジャッキ120の下端部に設けられた回転支持テーブル(転車支持台)130を上下動させるようになっている。なお、図1には示していないが、後述するように軌道上での高所作業時に回転支持テーブル130を下方に張り出し制御するときに、その張り出し位置(量)を検出するための転車張出検出器96が転車装置110に設けられている。 The telescopic posts 121L, 121R are controlled to extend and retract in the vertical direction by an operator operating the rolling car operating device 71 (see FIG. 3). Although not shown in FIG. 1, the rolling car operating device 71 is provided at a position that is easy for an operator to operate at the rear end or side end of the car body 2. The operator operates the rolling car operating device 71 to extend and retract the left and right rolling car telescopic cylinders 122L, 122R to extend and retract the left and right telescopic posts 121L, 121R in the vertical direction, to extend and retract the rolling car jack 120 downward, and to move the rotating support table (rolling car support base) 130 provided at the lower end of the rolling car jack 120 up and down. Although not shown in FIG. 1, the rolling car extension detector 96 is provided in the rolling car device 110 to detect the extension position (amount) when the rotating support table 130 is extended downward during high-altitude work on the track as described later.

この制御を行うシステムは、図3に示すように構成されている。このシステムにおいて、転車操作装置71からの操作信号がコントローラ80に入力され、コントローラ80の転車ジャッキ制御部81により転車制御装置85の駆動が制御される。転車制御装置85は、例えば、エンジンもしくは電気モータにより駆動される油圧ポンプ、この油圧ポンプから吐出される作動油を左右転車伸縮シリンダ122L、122Rへ供給する制御を行う転車用油圧制御バルブなどから構成される。コントローラ80の転車ジャッキ制御部81は転車用油圧制御バルブの駆動制御を行い、転車操作装置71の操作に応じて左右転車伸縮シリンダ122L、122Rへの作動油供給制御を行う。この結果、作業者が転車操作装置71を操作すると、その操作に応じて左右転車伸縮シリンダ122L、122Rを伸縮動させ、転車用ジャッキ120を下方に向かって伸縮動させ、転車用ジャッキ120の下端部に設けられた回転支持テーブル(転車支持台)130を上下動させることができる。このようにして回転支持テーブル(転車支持台)130を上下動させるときにおいて、上記転車張出検出器96からの検出信号がコントローラ80に入力されるが、その入力に基づく制御については後述する。 The system that performs this control is configured as shown in Figure 3. In this system, an operation signal from the rolling stock operation device 71 is input to the controller 80, and the operation of the rolling stock control device 85 is controlled by the rolling stock jack control unit 81 of the controller 80. The rolling stock control device 85 is composed of, for example, a hydraulic pump driven by an engine or electric motor, and a rolling stock hydraulic control valve that controls the supply of hydraulic oil discharged from this hydraulic pump to the left and right rolling stock telescopic cylinders 122L, 122R. The rolling stock jack control unit 81 of the controller 80 controls the operation of the rolling stock hydraulic control valve, and controls the supply of hydraulic oil to the left and right rolling stock telescopic cylinders 122L, 122R in response to the operation of the rolling stock operation device 71. As a result, when an operator operates the rolling operation device 71, the left and right rolling telescopic cylinders 122L, 122R are extended and retracted in response to the operation, the rolling jack 120 is extended and retracted downward, and the rotating support table (rolling support base) 130 provided at the lower end of the rolling jack 120 can be raised and lowered. When the rotating support table (rolling support base) 130 is raised and lowered in this manner, a detection signal from the rolling extension detector 96 is input to the controller 80, and the control based on this input will be described later.

回転支持テーブル130は、転車用ジャッキ120の下端部において2個の伸縮ポスト121L,121Rの各下端部を繋ぐように水平に設けられた上板131と、上板131の下部に上下に延びる回転中心軸Oの回りに回転自在に水平に設けられた下板135とを有して構成されている。図2に示すように、上板131の側部に回転駆動モータ132が設けられており、この回転駆動モータ132から下方に突出する駆動軸にピニオンギヤ(図示せず)が取り付けられている。一方、下板135の上面に大径の回転ギヤ136が取り付けられており、その外周面に被動ギヤ歯136aが形成されている。この被動ギヤ歯136aには、回転駆動モータ132の駆動軸に取り付けられたピニオンギヤが噛合している。このため、回転駆動モータ132によりピニオンギヤを回転駆動するとこれと噛合する被動ギヤ歯136aを介して回転ギヤ136に回転駆動力を伝えて、被動ギヤ136が取り付けられた下板135を上板131に対して回転させることができる。 The rotary support table 130 is configured with an upper plate 131 that is horizontally arranged at the lower end of the rolling jack 120 to connect the lower ends of the two telescopic posts 121L and 121R, and a lower plate 135 that is horizontally arranged at the lower part of the upper plate 131 so as to be rotatable around a rotation center axis O that extends vertically. As shown in FIG. 2, a rotary drive motor 132 is provided on the side of the upper plate 131, and a pinion gear (not shown) is attached to the drive shaft that protrudes downward from the rotary drive motor 132. Meanwhile, a large-diameter rotary gear 136 is attached to the upper surface of the lower plate 135, and driven gear teeth 136a are formed on its outer circumferential surface. A pinion gear attached to the drive shaft of the rotary drive motor 132 meshes with the driven gear teeth 136a. Therefore, when the pinion gear is rotated by the rotary drive motor 132, the rotary drive force is transmitted to the rotary gear 136 via the driven gear teeth 136a that mesh with the pinion gear, and the lower plate 135 to which the driven gear 136 is attached can be rotated relative to the upper plate 131.

転車装置110において、転車用ジャッキ120を下方に伸長させて回転支持テーブル130の下板135を接地させて車体2を地面から持ち上げ支持することが可能である。そして、このように持ち上げ支持した状態で、下板135に対して上板131および転車用ジャッキ120を回転させることによって、車体2の方向転換を行い、載線作業・退線作業を行うことが可能である。この方向転換は、転車装置110により車体2を持ち上げ支持した状態で、作業者が車体を押して下板135に対して上板131および転車用ジャッキ120を回転させて行う。なお、回転駆動モータ132により下板135に対して上板131を回転させて行うようにすることも可能である。 In the turntable device 110, the turntable jack 120 can be extended downward to bring the lower plate 135 of the rotary support table 130 into contact with the ground, thereby lifting and supporting the car body 2 from the ground. Then, in this lifted and supported state, the upper plate 131 and the turntable jack 120 can be rotated relative to the lower plate 135 to change the direction of the car body 2 and perform loading and unloading work. This direction change is performed by a worker pushing the car body 2 while it is lifted and supported by the turntable device 110, rotating the upper plate 131 and the turntable jack 120 relative to the lower plate 135. It is also possible to rotate the upper plate 131 relative to the lower plate 135 using the rotary drive motor 132.

転車装置110は、車体2の中央下部に位置して設けられているが、図4に示すように、回転支持テーブル130の上板131に対する下板135の回転中心となる上下に延びる回転中心軸Oが車体2の幅方向中央に位置するようになっている。さらに、左右一対の前鉄輪12F、12Fは車体2の幅方向において左右対称に位置して設けられており、左右一対の後鉄輪12R、12Rも車体2の幅方向において左右対称に位置して設けられている。すなわち、回転中心軸Oを通って前後に延びる前後軸A1に対して、左右一対の前鉄輪12F、12Fおよび左右一対の後鉄輪12R、12Rがそれぞれ左右対称に位置して設けられている。また、左右一対の前鉄輪12F、12Fを繋ぐ前鉄輪軸および左右一対の後鉄輪12R、12Rを繋ぐ後鉄輪軸は、回転中心軸Oを通って幅方向に延びる左右軸A2と平行で、前後軸A1に対して直角である。 The turning device 110 is located at the lower center of the car body 2, but as shown in FIG. 4, the rotation center axis O, which extends vertically and is the center of rotation of the lower plate 135 of the rotating support table 130 relative to the upper plate 131, is located at the center of the width of the car body 2. Furthermore, the pair of left and right front iron wheels 12F, 12F are located symmetrically in the width direction of the car body 2, and the pair of left and right rear iron wheels 12R, 12R are also located symmetrically in the width direction of the car body 2. That is, the pair of left and right front iron wheels 12F, 12F and the pair of left and right rear iron wheels 12R, 12R are located symmetrically with respect to the front-rear axis A1 that extends forward and backward through the rotation center axis O. In addition, the front iron wheel axis connecting the pair of left and right front iron wheels 12F, 12F and the rear iron wheel axis connecting the pair of left and right rear iron wheels 12R, 12R are parallel to the left-right axis A2 that extends in the width direction through the rotation center axis O and are perpendicular to the front-rear axis A1.

転車装置110においては、上述のように、転車用ジャッキ120を下方に伸長させて回転支持テーブル130を下方に張り出して車体支持を行って載線作業、退線作業を行うが、道路走行時および軌道走行時には転車用ジャッキ120を上方に縮小して回転支持テーブル130を上方に移動させて格納保持する。このように格納保持するときには、図4において実線で示すように、下板135をその長手方向が左右方向(左右軸A2の方向)に延び、短手方向が前後方向(前後軸A1の方向)に延びる回転位置で保持する。 As described above, in the rolling stock device 110, the rolling stock jack 120 is extended downward and the rotary support table 130 is extended downward to support the car body and perform loading and unloading operations, but when traveling on the road or on the track, the rolling stock jack 120 is contracted upward and the rotary support table 130 is moved upward to store and hold the car. When storing and holding the car in this way, the lower plate 135 is held in a rotated position in which its length direction extends in the left-right direction (in the direction of the left-right axis A2) and its width direction extends in the front-rear direction (in the direction of the front-rear axis A1), as shown by the solid line in Figure 4.

運転キャビン4の後方にある架装領域の前部(サブフレーム6の前部)には、旋回モータ21の駆動により水平旋回可能に構成された旋回台20が設けられている。この旋回台20から上方に延びた支柱22には、フートピン23を軸としてブーム30が上下方向に揺動自在(起伏自在)に取り付けられている。ブーム30は、フートピン23により支柱22に起伏自在に取り付けられた基端ブーム30aと、中間ブーム30bと、先端ブーム30cとが入れ子式に組み合わされて構成されている。ブーム30の内部にはブーム伸縮シリンダ31が設けられており、このブーム伸縮シリンダ31の伸縮動によりブーム30を長手方向に伸縮動させることができるように構成されている。基端ブーム30aと支柱22の間にはブーム起伏シリンダ32が跨設されており、このブーム起伏シリンダ32の伸縮動によりブーム30を上下面内において起伏動させることができるように構成されている。 At the front of the mounting area (at the front of the subframe 6) behind the driver's cabin 4, a swivel base 20 is provided, which is configured to be able to rotate horizontally by driving a swivel motor 21. A boom 30 is attached to a support 22 extending upward from the swivel base 20, with a foot pin 23 as an axis, so that it can swing (raise and lower) in the vertical direction. The boom 30 is configured by combining a base boom 30a, an intermediate boom 30b, and a tip boom 30c, which are attached to the support 22 by the foot pin 23 so that they can be raised and lowered, in a nested manner. A boom telescopic cylinder 31 is provided inside the boom 30, and the boom 30 can be telescopically moved in the longitudinal direction by the telescopic movement of the boom telescopic cylinder 31. A boom hoisting cylinder 32 is provided between the base boom 30a and the support 22, and the boom hoisting cylinder 32 can be telescopically moved to raise and lower the boom 30 in the vertical plane.

先端ブーム30cの先端部には、作業台支持ブラケット35がブーム30の起伏面内において揺動可能に取り付けられている。作業台支持ブラケット35は、内部に設けられたレベリングシリンダ36の伸縮動によりブーム30の起伏角度によらず作業台支持ブラケット35の上面が常時水平に保持されるように構成されている。レベリングシリンダ36の伸縮動は、作業台40の傾斜角度を検出する傾斜角センサ(図示略)の検出値に応じて制御される。そして、この作業台支持ブラケット35の上面に作業台40が水平旋回自在に取り付けられている。作業台支持ブラケット35の内部には首振りモータ41が設けられており、この首振りモータ41を駆動させることにより作業台40を作業台支持ブラケット35に対して水平旋回(首振り作動)させることができるように構成されている。上記のように作業台支持ブラケット35の上面は常時水平に保持されるため、作業台40の床面もブーム30の起伏角度によらず水平に保持されるようになっている。作業台40には、旋回モータ21、ブーム伸縮シリンダ31、ブーム起伏シリンダ32、首振りモータ41などの各種油圧アクチュエータを駆動するために作業者が操作する作業操作装置43を有する作業台操作ボックス42が設けられている。この作業操作装置43は、作業者が操作する操作レバー、操作スイッチ類を有して構成される。 A workbench support bracket 35 is attached to the tip of the tip boom 30c so as to be able to swing within the boom 30's elevation surface. The workbench support bracket 35 is configured so that the upper surface of the workbench support bracket 35 is always kept horizontal regardless of the elevation angle of the boom 30 by the extension and retraction of a leveling cylinder 36 provided inside. The extension and retraction of the leveling cylinder 36 is controlled according to the detection value of an inclination angle sensor (not shown) that detects the inclination angle of the workbench 40. The workbench 40 is attached to the upper surface of the workbench support bracket 35 so as to be freely rotated horizontally. A swivel motor 41 is provided inside the workbench support bracket 35, and the workbench 40 can be rotated horizontally (swivel operation) relative to the workbench support bracket 35 by driving the swivel motor 41. As described above, since the upper surface of the workbench support bracket 35 is always kept horizontal, the floor surface of the workbench 40 is also kept horizontal regardless of the elevation angle of the boom 30. The work platform 40 is provided with a work platform operation box 42 having a work operation device 43 operated by an operator to drive various hydraulic actuators such as the swing motor 21, boom extension cylinder 31, boom hoisting cylinder 32, and swing motor 41. This work operation device 43 is composed of an operation lever and operation switches operated by the operator.

旋回台40の旋回制御、ブーム30の起伏、伸縮制御、作業台40の水平旋回(首振り作動)制御を行うシステムは図3のように構成される。これらの制御は作業操作装置43に設けられた操作レバー、操作スイッチ類を作業者が操作して行われる。このため、図3に示すように、作業操作装置43の操作レバー、操作スイッチ類が操作されたときにその
操作信号がコントローラ80に入力され、コントローラ80の高所作業制御部83により高所作業制御装置90の駆動が制御されるように構成されている。高所作業制御装置90は、例えば、エンジンもしくは電気モータにより駆動される油圧ポンプと、この油圧ポンプから吐出される作動油を旋回モータ21、ブーム伸縮シリンダ31、ブーム起伏シリンダ32、首振りモータ41へ供給する制御を行う高所作業用油圧制御バルブなどから構成される。コントローラ80の高所作業制御部83は作業操作装置43の操作レバー、操作スイッチ類の操作に応じて高所作業制御装置90の高所作業用油圧制御バルブの駆動制御を行い、旋回モータ21、ブーム伸縮シリンダ31、ブーム起伏シリンダ32、首振りモータ41への作動油供給制御を行う。この結果、作業者が作業操作装置43の操作レバー、操作スイッチ類を操作すると、その操作に応じて旋回モータ21、ブーム伸縮シリンダ31、ブーム起伏シリンダ32、首振りモータ41を駆動させることができる。
The system for controlling the rotation of the swivel base 40, the raising and lowering of the boom 30, and the horizontal rotation (swinging operation) of the work platform 40 is configured as shown in Fig. 3. These controls are performed by the worker by operating the operation levers and operation switches provided on the work operation device 43. For this reason, as shown in Fig. 3, when the operation levers and operation switches of the work operation device 43 are operated, the operation signals are input to the controller 80, and the operation of the work at height control device 90 is controlled by the work at height control section 83 of the controller 80. The work at height control device 90 is configured, for example, by a hydraulic pump driven by an engine or an electric motor, and a hydraulic control valve for work at height that controls the supply of hydraulic oil discharged from the hydraulic pump to the rotation motor 21, the boom extension cylinder 31, the boom hoisting cylinder 32, and the swing motor 41. The work at height control section 83 of the controller 80 controls the drive of the hydraulic control valves for work at height of the work at height control device 90 in response to the operation of the control levers and switches of the work operation device 43, and controls the supply of hydraulic oil to the swing motor 21, boom telescopic cylinder 31, boom hoisting cylinder 32, and swing motor 41. As a result, when the worker operates the control levers and switches of the work operation device 43, the swing motor 21, boom telescopic cylinder 31, boom hoisting cylinder 32, and swing motor 41 can be driven in response to that operation.

このようにして旋回モータ21、ブーム伸縮シリンダ31、ブーム起伏シリンダ32、首振りモータ41を駆動させると、その駆動に応じて旋回台40を旋回させたり、ブーム30を起伏、伸縮させたり、作業台40を水平旋回させたりすることができる。これにより、図1において二点鎖線で示すように作業台40を所望高所に移動させて、作業台40に搭乗した作業者により所望の高所作業を行うことができる。高所作業を行わないときには、図1において実線で示すように、ブーム30を後方に向けて倒伏させて車体2上に格納するようになっている。この格納姿勢でブーム30を支持するためのブーム受け38が車体2に設けられており、ブーム受け38にはブーム30を載置してブーム30が格納状態であることを検出する格納検出器39が設けられている。格納検出器39からの検出信号はコントローラ80に入力されるが、その入力に基づく制御については後述する。 In this way, when the slewing motor 21, the boom telescopic cylinder 31, the boom hoisting cylinder 32, and the swing motor 41 are driven, the slewing base 40 can be rotated, the boom 30 can be raised and lowered, and the work platform 40 can be rotated horizontally in response to the driving. As a result, the work platform 40 can be moved to a desired height as shown by the two-dot chain line in FIG. 1, and a worker riding on the work platform 40 can perform the desired high-altitude work. When high-altitude work is not being performed, the boom 30 can be folded backward and stored on the vehicle body 2 as shown by the solid line in FIG. 1. A boom receiver 38 for supporting the boom 30 in this stored position is provided on the vehicle body 2, and a storage detector 39 is provided on the boom receiver 38 to detect that the boom 30 is in a stored state by placing the boom 30 on it. A detection signal from the storage detector 39 is input to the controller 80, and control based on this input will be described later.

以上のように構成した軌陸作業車1は、前鉄輪12F及び後鉄輪12Rを格納し、操舵輪3S及び駆動輪3Dによって道路などを走行することが可能であるとともに、前鉄輪12F及び後鉄輪12Rを踏切50上に張り出し、軌道上を走行することも可能である。このとき、鉄輪張出検出器95により、前鉄輪12Fおよび後鉄輪12Rが格納位置にあるか張出位置にあるか検出される。このように、道路走行と軌道走行とを切り替えるために、上述の転車装置110を備えている。この転車装置110を用いて道路走行と軌道走行とを切り替える作業(載線作業および退線作業)について、以下に説明する。 The road-rail work vehicle 1 configured as described above can store the front iron wheels 12F and rear iron wheels 12R and travel on roads using the steering wheels 3S and drive wheels 3D, and can also extend the front iron wheels 12F and rear iron wheels 12R over the railroad crossing 50 and travel on tracks. At this time, the iron wheel extension detector 95 detects whether the front iron wheels 12F and rear iron wheels 12R are in the stored position or the extended position. In this way, the above-mentioned rolling stock device 110 is provided to switch between road travel and track travel. The work of switching between road travel and track travel using this rolling stock device 110 (laying on the track and retracting the track) will be described below.

転車装置110を用いた載線作業および退線作業は、例えば、踏切内において行われる。図4に、軌陸作業車1が踏切50内に移動した状態を平面視で示しており、この踏切50においては、左右一対のレール60、60を有した軌道Rが道路51を直角に横切って延びている。踏切内を車両が走行するときに、レール60が走行の妨げとならないようにするために、踏切50においては、左右のレール60、60の外側の道路51の上面がレール60の上面と一致し、レール60、60の間の道路55の上面もレール60の上面と一致するように、道路の路面が形成されている。転車作業を行うには、図4に示すように、転車装置110における下板135の回転中心Oが、レール60、60の中央位置に位置するように軌陸用作業車1を移動させて停車する。これは、前述したように、回転中心軸Oを通って前後に延びる前後軸A1に対して、左右一対の前鉄輪12F、12Fおよび左右一対の後鉄輪12R、12Rがそれぞれ左右対称に位置して設けられているからである。なお、このときは道路走行状態であり、前鉄輪12Fおよび後鉄輪12Rは格納されている。 The loading and unloading operations using the turntable 110 are carried out, for example, within a railroad crossing. FIG. 4 shows a plan view of the railroad work vehicle 1 moving into the railroad crossing 50, where a track R having a pair of left and right rails 60, 60 extends perpendicularly across the road 51. In order to prevent the rails 60 from interfering with the running of a vehicle through the crossing, the road surface is formed so that the upper surface of the road 51 outside the left and right rails 60, 60 coincides with the upper surface of the rails 60, and the upper surface of the road 55 between the rails 60, 60 also coincides with the upper surface of the rails 60. To perform the rolling operation, the railroad work vehicle 1 is moved and stopped so that the center of rotation O of the lower plate 135 of the turntable 110 is located at the center position of the rails 60, 60, as shown in FIG. 4. This is because, as mentioned above, the pair of left and right front iron wheels 12F, 12F and the pair of left and right rear iron wheels 12R, 12R are positioned symmetrically with respect to the front-rear axis A1 that extends forward and backward through the central axis of rotation O. Note that at this time, the vehicle is traveling on a road, and the front iron wheels 12F and rear iron wheels 12R are stored.

このように下板135の回転中心Oが、レール60、60の中央位置に位置するように軌陸用作業車1を移動させた状態では、上述したように転車装置110の下板135は、その長手方向が左右方向(左右軸A2の方向)に延び、短手方向が前後方向(前後軸A1の方向)に延びる回転位置で格納保持されている。そこでまず、転車操作装置71を操作して回転駆動モータ132を駆動して、下板135を図4において二点鎖線で示すように
、長手方向が前後方向(前後軸A1の方向)に延び、短手方向が左右方向(左右軸A2の方向)に延びる回転位置まで90度回転させる。これにより、下板135は左右のレール60、60を跨ぐ状態となる。この状態から、転車操作装置71を操作して、転車用ジャッキ120により回転支持テーブル130(上板131および下板135)を下方に移動させ、下板135をレール60およびレール60、60の間の道路55に当接させて、転車装置110により車体2を持ち上げ支持する。その後、車体2を作業者が押す等して、下板135に対して、上板131およびこれに繋がる軌陸用作業車1を90度回転させる。
In this state where the road-rail working vehicle 1 is moved so that the rotation center O of the lower plate 135 is located at the center position of the rails 60, 60, the lower plate 135 of the rolling stock device 110 is stored and held in a rotation position in which its longitudinal direction extends in the left-right direction (in the direction of the left-right axis A2) and its lateral direction extends in the front-rear direction (in the direction of the front-rear axis A1) as described above. First, the rolling stock operating device 71 is operated to drive the rotation drive motor 132, and the lower plate 135 is rotated 90 degrees to a rotation position in which its longitudinal direction extends in the front-rear direction (in the direction of the front-rear axis A1) and its lateral direction extends in the left-right direction (in the direction of the left-right axis A2) as shown by the two-dot chain line in Figure 4. This causes the lower plate 135 to straddle the left and right rails 60, 60. From this state, the rolling stock operating device 71 is operated to move the rotary support table 130 (upper plate 131 and lower plate 135) downward with the rolling stock jack 120, and the lower plate 135 is brought into contact with the rail 60 and the road 55 between the rails 60, 60, and the rolling stock device 110 lifts and supports the car body 2. Thereafter, the worker pushes the car body 2, etc., to rotate the upper plate 131 and the road-rail work vehicle 1 connected thereto by 90 degrees relative to the lower plate 135.

すると、図4において二点鎖線で示すように、車体2が軌道Rの延びる方向に向き、左右一対の前鉄輪12F、12Fおよび左右一対の後鉄輪12R、12Rがレール60、60の真上に位置する。そこで、鉄輪操作装置72を操作して前鉄輪12Fおよび後鉄輪12Rを張出位置に移動させる。このとき、鉄輪張出検出器95により、前鉄輪12Fおよび後鉄輪12Rが張出位置に移動したことが検出される。この後、転車操作装置71を操作して、転車装置110による車体2の持ち上げ支持を解放すると、すなわち、転車用ジャッキ120により回転支持テーブル130(上板131および下板135)を引き上げて格納すると、左右一対の前鉄輪12F、12Fおよび左右一対の後鉄輪12R、12Rがレール60、60の上に載り、図1に示す状態となり、載線作業が完了する。このとき、下板135は、その長手方向が車体の左右方向に延び、短手方向が前後方向に延びる回転位置となるので、そのまま格納保持される。 Then, as shown by the two-dot chain line in FIG. 4, the car body 2 faces the direction in which the track R extends, and the pair of left and right front iron wheels 12F, 12F and the pair of left and right rear iron wheels 12R, 12R are positioned directly above the rails 60, 60. Then, the iron wheel operating device 72 is operated to move the front iron wheels 12F and the rear iron wheels 12R to the extended position. At this time, the iron wheel extension detector 95 detects that the front iron wheels 12F and the rear iron wheels 12R have moved to the extended position. After this, the rolling stock operating device 71 is operated to release the lifting support of the car body 2 by the rolling stock device 110, that is, the rolling stock jack 120 is used to pull up and store the rotating support table 130 (upper plate 131 and lower plate 135), and the pair of left and right front iron wheels 12F, 12F and the pair of left and right rear iron wheels 12R, 12R are placed on the rails 60, 60, resulting in the state shown in FIG. 1, and the wiring work is completed. At this time, the lower plate 135 is in a rotated position in which its length extends in the left-right direction of the vehicle body and its width extends in the front-rear direction, so it is stored and held in that position.

以上においては、踏切まで道路走行してきた軌陸作業車1を、踏切内で軌道Rに移し替える載線作業を説明したが、踏切内で上記と逆の作動を行わせれば、軌陸作業車1を軌道R上から道路に移し替える退線作業を行うことができる。 The above describes the loading operation of the rail-road work vehicle 1, which has been traveling on the road up to the railroad crossing, onto the track R within the crossing. However, by performing the reverse operation to that described above within the crossing, it is possible to perform the derailment operation of moving the rail-road work vehicle 1 from the track R to the road.

上述のようにして軌陸作業車1をレール60、60の上に載線した後、停止状態でもしくは低速走行状態で高所作業を行うことがある。このような作業状態の一例を図5に示している。図5は、軌陸作業車1を転車装置110の後側で断面して前方を見た状態を示しており、左右の前鉄輪揺動装置45、45により左右の前鉄輪12F、12Fが下方に張り出されて左右のレール60、60の上に載っている。図5には表れないが、左右の後鉄輪12R、12Rも同様に、左右の後鉄輪揺動装置46、46により下方に張り出されて左右のレール60、60の上に載っている。この作業状態では、旋回台20が旋回されるとともにブーム30が起立して伸長されており、作業台40が車体左側の上方に位置している。この状態における軌陸車1の図5の面内における重心位置を符号G1(1)で示しており、車体左右方向の中心Cに対して左側に距離D1(1)だけ左側にずれて位置しており、左側の前鉄輪12Fに対して距離D2(1)だけ内側(右側)に位置している。なお、図5の状態では、転車装置110の回転支持テーブル130(上板131および下板135)は上方に引き上げられて格納状態である。 After the rail-mounted work vehicle 1 is placed on the rails 60, 60 as described above, high-altitude work may be performed while stopped or traveling at a low speed. An example of such a working state is shown in Figure 5. Figure 5 shows the rail-mounted work vehicle 1 in cross section at the rear of the rolling stock device 110 and viewed forward, with the left and right front iron wheels 12F, 12F extended downward by the left and right front iron wheel rocking devices 45, 45 and placed on the left and right rails 60, 60. Although not shown in Figure 5, the left and right rear iron wheels 12R, 12R are also extended downward by the left and right rear iron wheel rocking devices 46, 46 and placed on the left and right rails 60, 60. In this working state, the rotating table 20 is rotated and the boom 30 is raised and extended, and the work platform 40 is located above the left side of the vehicle body. The position of the center of gravity of the road-rail vehicle 1 in this state within the plane of Figure 5 is indicated by the symbol G1 (1), and is located to the left of the center C in the left-right direction of the vehicle body by a distance D1 (1), and is located inward (to the right) by a distance D2 (1) from the left front iron wheel 12F. In the state of Figure 5, the rotating support table 130 (upper plate 131 and lower plate 135) of the turntable 110 is pulled up and stored.

図5の状態においては左方向に転倒モーメントが作用するため、軌陸作業車1の安定性は、左側の前および後鉄輪12F、12Rに対して軌陸作業車1の重量W1により生じる安定モーメントM1=W1×D2(1)により決まる。作業台40が図5のように左側に位置すると、作業台40の重量およびブーム30の重量および位置に応じて転倒方向のモーメント(転倒モーメント)M2が作用するが、この転倒モーメントM2が安定モーメントM1より大きくなると転倒のおそれが生じるため、このような状態とならないようにブーム30および作業台40の移動規制が行われる。このような移動規制(作業範囲規制)を行うことにより、軌陸作業車1をレール60、60の上に載線した状態で、停車したままもしくは低速走行しながら高所作業を可能としている。 In the state shown in FIG. 5, a tipping moment acts to the left, so the stability of the road-rail work vehicle 1 is determined by the stabilizing moment M1 = W1 x D2 (1) generated by the weight W1 of the road-rail work vehicle 1 against the left front and rear iron wheels 12F, 12R. When the work platform 40 is positioned on the left side as shown in FIG. 5, a moment (tipping moment) M2 acts in the tipping direction according to the weight of the work platform 40 and the weight and position of the boom 30. If this tipping moment M2 becomes larger than the stabilizing moment M1, there is a risk of tipping, so the movement of the boom 30 and the work platform 40 is restricted to prevent this situation from occurring. By restricting movement (working range restriction) in this way, it is possible to work at height while the road-rail work vehicle 1 is parked on the rails 60, 60 and is stopped or traveling at a low speed.

ところで前述したように、軌道(レール60、60)はカーブしている部分においてカ
ントが設けられており、一般的にカーブの外側のレール60が内側のレール60よりも高くなっている。このため、軌道(レール)上に鉄輪が位置した状態で前および後鉄輪12F、12Rにより車体を支持して作業を行う場合において、軌陸作業車1がカントのある場所を走行するときに支持安定性が低下しやすいという問題がある。これについて、図6を参照して説明する。
As mentioned above, the track (rails 60, 60) has a cant in the curved portion, and generally the rail 60 on the outside of the curve is higher than the rail 60 on the inside. For this reason, when the vehicle body is supported by the front and rear iron wheels 12F, 12R with the iron wheels positioned on the track (rail) and work is performed, there is a problem that the support stability is likely to decrease when the road-rail working vehicle 1 travels through a place with a cant. This will be explained with reference to FIG. 6.

図6は、カーブしている箇所でのカントが設けられたレール60、60を示しており、カーブ内側となる左側レール60に対して外側となる右側レール60の方が高くなっている。このようにカントが設けられたレール60、60の上を軌陸作業車1が走行するときには、図示のように車体2が左側に傾き、これに応じて軌陸車1の図6の面内における重心位置G1(2)は左側に移動する。このため、図6に示すように、車体中心からの距離D1(2)は、図5のようにカントがない場合に比べて大きくなる。すなわち、D1(2)>D1(1)となる。これにより、左側の前鉄輪12F(および後鉄輪12R)に対する重心位置G1(2)の距離D2(2)は図5のようにカントがない場合に比べて小さくなる。すなわち、D2(2)<D2(1)となる。この結果、軌陸作業車1の安定モーメントはM1=W×D2(2)となり、図5の場合より小さくなる。すなわち、カントがある領域において軌陸作業車の作業安定性が低下する。 Figure 6 shows rails 60, 60 with a cant at a curved section, with the right rail 60 on the outside of the curve being higher than the left rail 60 on the inside of the curve. When the road-rail work vehicle 1 runs on the rails 60, 60 with a cant like this, the car body 2 tilts to the left as shown in the figure, and the center of gravity position G1 (2) of the road-rail work vehicle 1 in the plane of Figure 6 moves to the left accordingly. For this reason, as shown in Figure 6, the distance D1 (2) from the center of the car body is larger than when there is no cant as in Figure 5. That is, D1 (2) > D1 (1). As a result, the distance D2 (2) of the center of gravity position G1 (2) relative to the left front iron wheel 12F (and rear iron wheel 12R) is smaller than when there is no cant as in Figure 5. That is, D2 (2) < D2 (1). As a result, the stability moment of the road-rail work vehicle 1 is M1 = W x D2 (2), which is smaller than the case of Figure 5. In other words, the operational stability of the road-rail work vehicle decreases in areas with cant.

このようなことに鑑み、軌陸作業車1をレール60、60の上に載線した後、停止状態でもしくは低速走行状態で高所作業を行うときには、図7に示すように、転車装置110において、転車用ジャッキ120により回転支持テーブル130(上板131および下板135)を下方に張り出す制御が行われる。この制御は、図3の制御システムにおけるコントローラ80により、格納検出器39からの検出信号を受けて行われる。軌陸作業車1をレール60、60の上に載線するときにはブーム30がブーム受け38の上に載置されて格納状態であり、載線されたときにはブーム30は格納状態である。また、上述のように載線作業の完了時には、回転支持テーブル130(上板131および下板135)は上方に引き上げられた格納状態である。このため、この状態では、ブーム30がブーム受け38の上に載置されて格納状態であることが格納検出器39により検出され、その検出信号はコントローラ80に送られる。 In view of this, when the road-rail work vehicle 1 is placed on the rails 60, 60 and then works at high altitudes while stopped or traveling at a low speed, as shown in FIG. 7, the turntable 110 controls the turntable jack 120 to extend the rotating support table 130 (upper plate 131 and lower plate 135) downward. This control is performed by the controller 80 in the control system of FIG. 3 upon receiving a detection signal from the storage detector 39. When the road-rail work vehicle 1 is placed on the rails 60, 60, the boom 30 is placed on the boom receiver 38 and in a stored state, and when the vehicle is placed on the rails, the boom 30 is in a stored state. Also, as described above, when the loading work is completed, the rotating support table 130 (upper plate 131 and lower plate 135) is pulled up and in a stored state. Therefore, in this state, the storage detector 39 detects that the boom 30 is placed on the boom receiver 38 and in a stored state, and the detection signal is sent to the controller 80.

この状態から、ブーム30が起立作動されてブーム受け38から離れると、これが格納検出器39により検出され、その検出信号がコントローラ80に送られる。この検出信号を受けるとコントローラ80の転車ジャッキ制御部81は転車制御装置85により転車用ジャッキ120(左右の転車伸縮シリンダ121L、121R)を伸長作動させ、回転支持テーブル130(上板131および下板135)を下方に移動させる。このとき、転車張出検出器96が回転支持テーブル130の下方への移動量(下方への張出量)を検知しており、この検知信号を受けてコントローラ80の転車ジャッキ制御部81は回転支持テーブル130の下面(下板135の下面)がレール60、60に近接する位置まで移動させる制御を行う。すなわち、回転支持テーブル130の下面(下板135の下面)がレール60、60に当接せずに軌陸作業車1がレール60、60の上を走行移動できるが、回転支持テーブル130を可能な限り下方に移動させる制御を行う。 When the boom 30 is raised from this state and separated from the boom receiver 38, this is detected by the storage detector 39, and the detection signal is sent to the controller 80. Upon receiving this detection signal, the rolling jack control unit 81 of the controller 80 causes the rolling jack 120 (left and right rolling telescopic cylinders 121L, 121R) to extend via the rolling control device 85, causing the rotating support table 130 (upper plate 131 and lower plate 135) to move downward. At this time, the rolling extension detector 96 detects the amount of downward movement (amount of downward extension) of the rotating support table 130, and upon receiving this detection signal, the rolling jack control unit 81 of the controller 80 controls the movement of the underside of the rotating support table 130 (underside of the lower plate 135) until it is close to the rails 60, 60. In other words, the underside of the rotating support table 130 (the underside of the lower plate 135) does not come into contact with the rails 60, 60, and the road-rail work vehicle 1 can travel on the rails 60, 60, but the rotating support table 130 is controlled to move downward as far as possible.

このように回転支持テーブル130を下方に移動させる制御は、格納検出器39によりブーム30がブーム受け38から離れたことを検出して行われるが、ブーム30が格納状態ではなくなったことを他の方法で検出しても良い。例えば、格納状態からブーム30を起立動させるように作業操作装置43の操作が行われたときに、回転支持テーブル130を下方に移動させる制御を行っても良い。さらには、軌陸作業車1をレール60、60の上に載線させる載線作業が完了したときに、これに続いて回転支持テーブル130を下方に移動させる制御を行っても良い。 Although the control to move the rotating support table 130 downward in this manner is performed when the storage detector 39 detects that the boom 30 has left the boom receiver 38, other methods may be used to detect that the boom 30 is no longer in the stored state. For example, the control to move the rotating support table 130 downward may be performed when the work operation device 43 is operated to raise the boom 30 from the stored state. Furthermore, when the loading work of loading the road-rail work vehicle 1 onto the rails 60, 60 is completed, the control to move the rotating support table 130 downward may be performed subsequently.

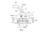
図8に示すように、回転支持テーブル130(上板131および下板135)を下方に張り出すと、車体が傾くことに対する支持安定性が向上する。この効果は特に、軌陸作業車1がカントを有するレール60、60の上に位置した場合に顕著である。図7に、回転支持テーブル130を下方に移動させた状態で、軌陸作業車1がカントを有するレール60、60の上に位置した場合を示している。図7では、回転支持テーブル130が上方に格納された状態のときの転車装置110の重心位置を符号G2(1)で示し、回転支持テーブル130を下方に移動させた状態での転車装置110の重心位置を符号G2(2)で示している。回転支持テーブル130を下方に移動させると図示のようにその重心位置G2(1)は重心位置G2(2)まで斜め右下方に移動し、車体に作用する右方向(時計回り方向)のモーメント、すなわち安定モーメントが増加する。 As shown in FIG. 8, when the rotating support table 130 (upper plate 131 and lower plate 135) is extended downward, the support stability against the vehicle body tilting is improved. This effect is particularly noticeable when the road-rail work vehicle 1 is positioned on the rails 60, 60 with a cant. FIG. 7 shows the case where the road-rail work vehicle 1 is positioned on the rails 60, 60 with a cant with the rotating support table 130 moved downward. In FIG. 7, the center of gravity position of the rolling stock device 110 when the rotating support table 130 is stored upward is indicated by the symbol G2 (1), and the center of gravity position of the rolling stock device 110 when the rotating support table 130 is moved downward is indicated by the symbol G2 (2). When the rotating support table 130 is moved downward, the center of gravity position G2 (1) moves diagonally downward to the right as shown in the figure to the center of gravity position G2 (2), and the moment in the right direction (clockwise direction) acting on the vehicle body, i.e., the stability moment, increases.

また、軌陸作業車1全体の重心位置が位置G1(3)となり、回転支持テーブル130が上方に格納された状態のときの重心位置G1(2)(図6に示す重心位置)より右側に位置し、車体左右方向の中心Cからの距離D1(3)は、図6に示す回転支持テーブル130が上方に格納された状態のときの距離D1(2)より小さくなる。このため、左側の前鉄輪12F(および後鉄輪12R)に対する重心位置G1(3)の距離D2(3)は図6のように回転支持テーブル130が上方に格納された状態のときの距離D2(2)より大きくなる。すなわち、D2(3)>D2(2)となる。この結果、軌陸作業車1の安定モーメントはM1=W×D2(3)となり、図6の場合より大きくなる。すなわち、安定性が向上する。これにより、軌陸作業車1をレール60、60の上に載線した状態での安定性が向上し、停車状態もしくは低速走行しながらの高所作業での安全性が向上する。 The center of gravity of the entire road-rail work vehicle 1 is at position G1 (3), which is located to the right of the center of gravity G1 (2) (center of gravity shown in FIG. 6) when the rotating support table 130 is stored at the top, and the distance D1 (3) from the center C in the left-right direction of the vehicle body is smaller than the distance D1 (2) when the rotating support table 130 is stored at the top as shown in FIG. 6. Therefore, the distance D2 (3) of the center of gravity G1 (3) relative to the left front iron wheel 12F (and rear iron wheel 12R) is larger than the distance D2 (2) when the rotating support table 130 is stored at the top as shown in FIG. 6. In other words, D2 (3) > D2 (2). As a result, the stability moment of the road-rail work vehicle 1 is M1 = W x D2 (3), which is larger than the case of FIG. 6. In other words, stability is improved. This improves the stability of the road-rail work vehicle 1 when it is placed on the rails 60, 60, and improves safety when working at high altitudes while stopped or traveling at low speed.

上述のようにカントがあるレール60、60の上で、すなわち、軌陸作業車1が傾いた状態で、回転支持テーブル130を下方に張り出すと、車体の支持安定性が向上することが分かる。すなわち、回転支持テーブル130を下方に張り出せば車体が傾斜したときの安定性が向上する。このことから分かるように、高所作業装置を作動させて、軌陸作業車1の重心位置が外方に移動するような場合に、回転支持テーブル130(転車支持台)を下方に張り出して軌陸作業車1の全体としての重心位置が低下しているため、軌陸作業車1の重心位置の外方への移動量を小さく抑えることができ、車体の支持安定性が向上する。このように、回転支持テーブル130を引き上げて格納した状態のときに比べて、回転支持テーブル130を下方に張り出した状態の方が、作業装置を作動させたときにおける軌陸作業車1の重心位置の外方への移動量が小さくなり、車体の支持安定性が向上する。 As described above, when the rotating support table 130 is extended downward on the canted rails 60, 60, i.e., when the road-rail work vehicle 1 is tilted, the support stability of the vehicle body is improved. In other words, when the rotating support table 130 is extended downward, the stability when the vehicle body is tilted is improved. As can be seen from this, when the high-altitude work device is operated and the center of gravity of the road-rail work vehicle 1 moves outward, the rotating support table 130 (turntable support platform) is extended downward to lower the center of gravity of the road-rail work vehicle 1 as a whole, so the amount of outward movement of the center of gravity of the road-rail work vehicle 1 can be kept small, and the support stability of the vehicle body is improved. In this way, compared to when the rotating support table 130 is raised and stored, when the rotating support table 130 is extended downward, the amount of outward movement of the center of gravity of the road-rail work vehicle 1 when the work device is operated is smaller, and the support stability of the vehicle body is improved.

以上説明したように、回転支持テーブル130を下方に張り出すと、図8のようにカントが無いレール60、60の上に位置するときにおいても、ブーム30の作動により車体の重心位置が移動するなどして少し車体が傾くことに対して安定性が向上する。すなわち、回転支持テーブル130を下方に張り出すことにより、車体の傾斜に対する安定性が向上する。このため、上述したように、載線状態だけでなく、道路走行状態において作業用ジャッキ15を張り出して車体2を持ち上げ支持した状態のときに、回転支持テーブル130を下方に張り出す制御を行っても良い。これにより、作業用ジャッキ15を張り出して車体2を持ち上げ支持して高所作業を行うような場合においても、車体の支持安定性を向上させることができる。 As described above, when the rotating support table 130 is extended downward, the stability of the vehicle body is improved against a slight tilt caused by the movement of the center of gravity of the vehicle body due to the operation of the boom 30, even when the vehicle body is positioned on rails 60, 60 with no cant as shown in FIG. 8. In other words, extending the rotating support table 130 downward improves the stability of the vehicle body against tilt. For this reason, as described above, the rotating support table 130 may be controlled to extend downward not only when the vehicle is on a line, but also when the work jack 15 is extended to lift and support the vehicle body 2 while the vehicle is traveling on a road. This improves the support stability of the vehicle body even when the work jack 15 is extended to lift and support the vehicle body 2 to perform work at height.

軌陸作業車1をレール60、60の上に載線して停止した状態で高所作業を行うときに、作業用ジャッキ15を張り出して車体を支持して高所作業を行うこともある。このようなときには鉄輪12F、12Rがレール60、60から離れないもしくは極く僅かしか離れない状態で支持が行われる。これは、作業を終えて作業用ジャッキ15の支持を解除したときに、鉄輪12F、12Rが確実にレール60、60上に戻るようにするためであるが、この結果、車体はカントに沿った傾斜のままでの支持となり、支持安定性が低下しやすいという問題がある。このようなときにも、回転支持テーブル130を下方に張り出す
制御を行えば、車体の支持安定性を向上させることができる。
When performing high-altitude work with the road-rail working vehicle 1 mounted on the rails 60, 60 and stopped, the work jack 15 may be extended to support the vehicle body. In such a case, the iron wheels 12F, 12R are supported in a state where they do not leave the rails 60, 60 or leave them only slightly. This is to ensure that the iron wheels 12F, 12R return to the rails 60, 60 when the work is completed and the support of the work jack 15 is released, but as a result, the vehicle body is supported while remaining inclined along the cant, which creates a problem that the support stability is likely to decrease. Even in such a case, the support stability of the vehicle body can be improved by controlling the rotary support table 130 to extend downward.

1 軌陸作業車 2 車体
3S 操舵輪 3D 駆動輪
12F 前鉄輪 12R 後鉄輪
38 ブーム受け 39 格納検出器
42 作業台操作ボックス 43 作業操作装置
45 前鉄輪揺動装置 46 後鉄輪揺動装置
R 軌道 61 レール
71 転車操作装置 72 鉄輪操作装置
80 コントローラ 81 転車ジャッキ制御部
82 鉄輪揺動制御部 83 高所作業制御部
90 高所作業制御装置 95 鉄輪張出検出器
110 転車装置 120 転車用ジャッキ
130 回転支持テーブル
REFERENCE SIGNS LIST 1 Road-rail work vehicle 2 Vehicle body 3S Steering wheel 3D Drive wheel 12F Front iron wheel 12R Rear iron wheel 38 Boom receiver 39 Storage detector 42 Work platform operation box 43 Work operation device 45 Front iron wheel swing device 46 Rear iron wheel swing device R Track 61 Rail
71 Rolling car operation device 72 Iron wheel operation device 80 Controller 81 Rolling car jack control unit 82 Iron wheel swing control unit 83 Height work control unit 90 Height work control device 95 Iron wheel extension detector 110 Rolling car device 120 Rolling car jack 130 Rotation support table

Claims (5)

車体上に作業装置を備え、道路走行用車輪および軌道走行用車輪を有して道路および軌道を走行可能な軌陸作業車であり、前記軌陸作業車を軌道に対して載線・退線させるための転車装置を備えた軌陸作業車であって、
前記転車装置が、
前記車体に設けられて前記車体の下方に向かって上下方向に伸縮可能な転車用ジャッキと、前記転車用ジャッキの下端部に設けられて前記転車用ジャッキにより上下移動される転車支持台と、前記転車用ジャッキの作動を制御するジャッキ制御装置と、を備えて構成され、
前記作業装置が、
前記作業装置による作業を行うために操作される作業操作装置と、前記作業装置を作動させるアクチュエータと、前記作業操作装置の操作に応じて前記アクチュエータを駆動して前記作業装置を作動させる作業制御装置と、を備えて構成され、
前記作業装置による作業が行われるときに、前記ジャッキ制御装置により前記転車用ジャッキを作動させて前記転車支持台を下方に張り出す制御を行うことを特徴とする軌陸作業車。
A rail-road work vehicle equipped with a working device on a vehicle body, having road-running wheels and track-running wheels and capable of running on roads and tracks, and equipped with a rolling device for loading and unloading the rail-road work vehicle onto and from the track,
The turning device is
The vehicle is provided with a rolling jack that is extendable and retractable in the vertical direction toward the bottom of the vehicle, a rolling support base that is provided at the lower end of the rolling jack and is moved up and down by the rolling jack, and a jack control device that controls the operation of the rolling jack.
The working device is
The present invention is configured to include a work operation device that is operated to perform work using the work device, an actuator that operates the work device, and a work control device that drives the actuator in response to operation of the work operation device to operate the work device,
A rail-mounted work vehicle characterized in that, when work is being performed using the working device, the jack control device operates the rollover jack to control the rollover support platform to be extended downward.
前記作業装置を使用しないときには前記作業装置が前記車体上に格納される構成であり、前記作業装置の格納を検出する格納検出器を備え、
前記格納検出器により前記作業装置が格納状態ではなくなったことを検出したときに、前記ジャッキ制御装置により前記転車用ジャッキを作動させて前記転車支持台を下方に張り出す制御を行うことを特徴とする請求項1に記載の軌陸作業車。
The working device is configured to be stored on the vehicle body when the working device is not in use, and a storage detector is provided for detecting storage of the working device.
A rail-mounted work vehicle as described in claim 1, characterized in that when the storage detector detects that the working device is no longer in a stored state, the jack control device operates the rollover jack to control the rollover support platform to extend downward.
前記作業装置を使用しないときには前記作業装置が前記車体上に格納される構成であり、前記作業装置の格納を検出する格納検出器を備え、
前記格納検出器により前記作業装置が格納状態であることが検出されている状態において、前記作業操作装置に対する所定の操作が行われたときに、前記ジャッキ制御装置により前記転車用ジャッキを作動させて前記転車支持台を下方に張り出す制御を行うことを特徴とする請求項1に記載の軌陸作業車。
The working device is configured to be stored on the vehicle body when the working device is not in use, and a storage detector is provided for detecting storage of the working device.
A rail-mounted work vehicle as described in claim 1, characterized in that when the storage detector detects that the work equipment is in a stored state and a specified operation is performed on the work operation device, the jack control device operates the rollover jack to control the rollover support platform to extend downward.
前記作業装置が、前記車体上に少なくとも起伏自在に設けられたブームと、前記ブームの先端に取り付けられた作業者が搭乗する作業台とを備え、前記ブームが前記車体上に設けられたブーム受けの上に載置されて格納される構成であり、
前記格納検出器が前記ブーム受けに設けられ、前記ブームが前記ブーム受けの上に載置されたことを検出して格納の検出を行うことを特徴とする請求項2もしくは3に記載の軌陸作業車。
the working device comprises a boom that is at least freely raised and lowered on the vehicle body, and a work platform on which an operator sits that is attached to a tip of the boom, and the boom is placed on a boom receiver that is provided on the vehicle body and stored;
4. A rail-mounted work vehicle as claimed in claim 2 or 3, characterized in that the storage detector is provided on the boom receiver and detects that the boom is placed on the boom receiver to detect storage.
前記軌道走行用車輪を軌道上に張り出した状態において、前記作業装置による作業が行われるときに、前記ジャッキ制御装置により前記転車用ジャッキを作動させて前記転車支持台を下方に張り出す制御を行うことを特徴とする請求項1~3のいずれかに記載の軌陸作業車。 A road-rail work vehicle according to any one of claims 1 to 3, characterized in that when the track running wheels are extended above the track and the work device is performing work, the jack control device operates the rolling stock jack to control the rolling stock support platform to extend downward.
JP2022165989A 2022-10-17 2022-10-17 Railroad work vehicle Pending JP2024058723A (en)

Priority Applications (1)

Application Number Priority Date Filing Date Title
JP2022165989A JP2024058723A (en) 2022-10-17 2022-10-17 Railroad work vehicle

Applications Claiming Priority (1)

Application Number Priority Date Filing Date Title
JP2022165989A JP2024058723A (en) 2022-10-17 2022-10-17 Railroad work vehicle

Publications (1)

Publication Number Publication Date
JP2024058723A true JP2024058723A (en) 2024-04-30

Family

ID=90826776

Family Applications (1)

Application Number Title Priority Date Filing Date
JP2022165989A Pending JP2024058723A (en) 2022-10-17 2022-10-17 Railroad work vehicle

Country Status (1)

Country Link
JP (1) JP2024058723A (en)

Similar Documents

Publication Publication Date Title
JP6026862B2 (en) Cranes for rail vehicles
JP2024058723A (en) Railroad work vehicle
JP3221597U (en) Rail car
JP2022088776A (en) Road-rail vehicle
JP2012056557A (en) Road rail working vehicle
JP5502317B2 (en) Track control device for track vehicle
JP6592255B2 (en) Work vehicle
JP2007050859A (en) Railroad work vehicle
JP4538309B2 (en) Railroad work vehicle
JP5856637B2 (en) Railroad car
JP4557496B2 (en) Railroad work vehicle
JP4024586B2 (en) Railroad work vehicle
JPH11209087A (en) Orbital traveling equipment for tracked vehicles
JP3078468B2 (en) Jack device for road work vehicles and jack device for track work vehicles
JP4005264B2 (en) Control device for raising and lowering work platform of track traveling vehicle
JP2014151991A (en) High lift work vehicle
JP3913154B2 (en) Boom operation control device for track work vehicle
JP2022121216A (en) trolley
JP2024035647A (en) Rolling device for land rail vehicles
JP2024035646A (en) Rolling device for land rail vehicles
JP5856459B2 (en) Railroad car
JP6575245B2 (en) Railroad work vehicle
JP2022174405A (en) Loading unloading device for road-rail vehicle
JP6231338B2 (en) Braking force control device for track traveling work vehicle
JP2024035648A (en) Rolling device for land rail vehicles

Legal Events

Date Code Title Description
RD03 Notification of appointment of power of attorney

Free format text: JAPANESE INTERMEDIATE CODE: A7423

Effective date: 20240624