JP2023101843A - プレキャストコンクリート構造の部材接合方法及び部材接合構造 - Google Patents
プレキャストコンクリート構造の部材接合方法及び部材接合構造 Download PDFInfo
- Publication number
- JP2023101843A JP2023101843A JP2022002011A JP2022002011A JP2023101843A JP 2023101843 A JP2023101843 A JP 2023101843A JP 2022002011 A JP2022002011 A JP 2022002011A JP 2022002011 A JP2022002011 A JP 2022002011A JP 2023101843 A JP2023101843 A JP 2023101843A
- Authority
- JP
- Japan
- Prior art keywords
- receiving hole
- reinforcing bar
- bar receiving
- hole
- precast
- Prior art date
- Legal status (The legal status is an assumption and is not a legal conclusion. Google has not performed a legal analysis and makes no representation as to the accuracy of the status listed.)
- Granted
Links
Images
Landscapes
- Joining Of Building Structures In Genera (AREA)
Abstract
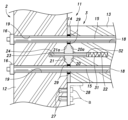
【解決手段】第1鉄筋受容孔(23)を側面に有する第1部材(12)を所定の位置に立設し、第1部材(12)に仮支持部材(28)を取り付ける(ST1、ST2)。第2鉄筋受容孔(22)を端面に有する第2部材(13)を仮支持部材(28)の上に載置し、第1鉄筋受容孔(23)と第2鉄筋受容孔(22)とを対向させる(ST3)。第1鉄筋受容孔(23)と第2鉄筋受容孔(22)とに亘るように脱落防止筋24を配置する(ST4)。第2部材(13)と第1部材(12)との間の空隙Gに充填材14を充填し(ST5)、緊張材15を配置し(ST6)、充填材14が硬化した後に、緊張材15に緊張力を付与することで第2部材(13)及び第1部材(12)にプレストレスを導入する(ST7)。その後、仮支持部材(28)を撤去する(ST8)。
【選択図】図5
Description
まず、図1~図7を参照して本発明の第1実施形態を説明する。図1は第1実施形態に係る建物1の正面図である。図1に示すように、建物1は、1対の柱2と、1対の柱2に延在方向の両端部が接合される梁3とを備えている。柱2は、平面視で互いに直交するX方向及びY方向に所定の間隔を空けて所定の位置に配置される。柱2は、X方向及びY方向の少なくとも一方に3列以上に設けられてもよい。梁3はX方向及びY方向のそれぞれに延在するように設けられる。また、梁3は、建物1の階層ごとに鉛直方向の所定の位置に設けられ、床(図示せず)を支持する。梁3の端部は柱梁接合構造11によって柱2に接合されている。
次に、図8及び図9を参照して本発明の第2実施形態を説明する。以下では、第1実施形態と異なる点について説明し、重複する説明は省略する。以降の実施形態においても同様とする。
次に、図10及び図11を参照して本発明の第3実施形態を説明する。図10に示すように、本実施形態では、押し出し用孔25(図3)が設けられる代わりに、押し出しグラウト充填孔41が梁側鉄筋受容孔22の底(後端)に連通している。押し出しグラウト充填孔41は、一端において梁側鉄筋受容孔22の底に連通し、他端においてプレキャスト梁部材13の外面に開口している。押し出しグラウト充填孔41は、プレキャスト梁部材13の配置前に梁側鉄筋受容孔22に全体が受容されるように配置されていた脱落防止筋24を押し出すために設けられている。図示例では、脱落防止筋24の後端を支持するようにピストン部材32が設けられており、押し出しグラウト充填孔41から充填されたグラウト42が梁側鉄筋受容孔22の底側に充填されている。
次に、図12及び図13を参照して本発明の第4実施形態を説明する。図12に示すように、本実施形態では、プレキャスト梁部材13に押し出し用孔25が設けられていない。また、梁側鉄筋受容孔22が第1実施形態の柱側鉄筋受容孔23(図3)と同程度の長さとされている。一方、本実施形態の柱側鉄筋受容孔23はプレキャスト柱部材12を貫通するように形成されている。柱側鉄筋受容孔23には充填材14が充填されている。
次に、図14を参照して本発明の第5実施形態を説明する。図14は、第5実施形態に係る建物1の正面図である。図14に示すように、本実施形態では、プレキャスト梁部材13の両端部が、連続しない緊張材15によって1対のプレキャスト柱部材12に圧着により接合される点において第1実施形態と異なる。以下、具体的に説明する。
12 :プレキャスト柱部材
13 :プレキャスト梁部材
14 :充填材
15 :緊張材
18 :梁側貫通孔
19 :柱側貫通孔
22 :梁側鉄筋受容孔
23 :柱側鉄筋受容孔
24 :脱落防止筋
25 :押し出し用孔
26 :押し出し部材
27 :埋込アンカー(保持部材)
28 :ブラケット(仮支持部材)
31 :押し出しばね
41 :押し出しグラウト充填孔
42 :グラウト
G :空隙
Claims (9)
- プレキャストコンクリート構造の部材接合方法であって、
第1鉄筋受容孔を側面に有する第1部材を所定の位置に立設するステップと、
前記第1部材に着脱可能な仮支持部材を取り付けるステップと、
第2鉄筋受容孔を端面に有する第2部材を前記仮支持部材の上に載置し、前記第1鉄筋受容孔と前記第2鉄筋受容孔とを対向させるステップと、
前記第1鉄筋受容孔と前記第2鉄筋受容孔とに亘るように脱落防止筋を配置するステップと、
前記第2部材と前記第1部材との間に形成される空隙に充填材を充填するステップと、
前記第2部材と前記第1部材とに亘るように緊張材を配置するステップと、
前記充填材が硬化した後に、前記緊張材に緊張力を付与することで前記第2部材及び前記第1部材にプレストレスを導入するステップと、
前記緊張材に前記緊張力が与えられた後に、前記仮支持部材を撤去するステップとを備える部材接合方法。 - 前記脱落防止筋が、前記第1鉄筋受容孔及び前記第2鉄筋受容孔の一方に全体が受容されるように予め配置されており、
前記脱落防止筋を配置するステップでは、前記第1鉄筋受容孔及び前記第2鉄筋受容孔の前記一方から他方に向けて前記脱落防止筋を移動させる請求項1に記載の部材接合方法。 - 前記第1鉄筋受容孔及び前記第2鉄筋受容孔の前記一方の後端には押し出し用孔が連通しており、
前記脱落防止筋を配置するステップでは、前記押し出し用孔に押し出し部材を押し込んで前記脱落防止筋を移動させる請求項2に記載の部材接合方法。 - 前記第1鉄筋受容孔及び前記第2鉄筋受容孔の前記一方の後部には押し出しばねが縮設されており、
前記脱落防止筋を配置するステップでは、前記押し出しばねのばね力によって前記脱落防止筋を移動させる請求項2に記載の部材接合方法。 - 前記第1鉄筋受容孔及び前記第2鉄筋受容孔の前記一方の後端には押し出しグラウト充填孔が連通しており、
前記脱落防止筋を配置するステップでは、前記押し出しグラウト充填孔にグラウトを充填して前記脱落防止筋を移動させる請求項2に記載の部材接合方法。 - 前記第1鉄筋受容孔が前記第1部材を貫通しており、
前記脱落防止筋を配置するステップでは、前記第1部材の前記第2部材と相反する側から前記脱落防止筋を挿入する請求項1に記載の部材接合方法。 - プレキャストコンクリート構造の部材接合構造であって、
所定の位置に立設され、第1鉄筋受容孔を側面に有する第1部材と、
第2鉄筋受容孔を端面に有し、前記第1鉄筋受容孔が前記第2鉄筋受容孔に対向するように配置された第2部材と、
前記第1鉄筋受容孔と前記第2鉄筋受容孔とに亘るように配置された脱落防止筋と、
前記第2部材と前記第1部材との間に形成される空隙に充填された充填材と、
前記第2部材と前記第1部材とに亘るように配置され、前記第2部材及び前記第1部材にプレストレスを導入する緊張材とを備える部材接合構造。 - 前記第1部材における前記第2部材の下方の部分には、前記第2部材を仮支持するための仮支持部材を着脱可能に保持する保持部材が設けられている請求項7に記載の部材接合構造。
- 前記第2部材には、前記緊張材を挿通するべく長手方向に延びる第2貫通孔が形成され、前記第1部材には、前記第2貫通孔に整合する位置にて水平方向に延びる第1貫通孔が形成され、前記第2貫通孔と前記第1貫通孔とが前記空隙から区画されて互いに連通しており、
前記緊張材が前記第2貫通孔及び前記第1貫通孔に挿通され、前記第2部材及び前記第1部材に対してアンボンド状態とされている請求項7又は8に記載の部材接合構造。
Priority Applications (1)
| Application Number | Priority Date | Filing Date | Title |
|---|---|---|---|
| JP2022002011A JP7783056B2 (ja) | 2022-01-11 | 2022-01-11 | プレキャストコンクリート構造の部材接合方法 |
Applications Claiming Priority (1)
| Application Number | Priority Date | Filing Date | Title |
|---|---|---|---|
| JP2022002011A JP7783056B2 (ja) | 2022-01-11 | 2022-01-11 | プレキャストコンクリート構造の部材接合方法 |
Publications (2)
| Publication Number | Publication Date |
|---|---|
| JP2023101843A true JP2023101843A (ja) | 2023-07-24 |
| JP7783056B2 JP7783056B2 (ja) | 2025-12-09 |
Family
ID=87425361
Family Applications (1)
| Application Number | Title | Priority Date | Filing Date |
|---|---|---|---|
| JP2022002011A Active JP7783056B2 (ja) | 2022-01-11 | 2022-01-11 | プレキャストコンクリート構造の部材接合方法 |
Country Status (1)
| Country | Link |
|---|---|
| JP (1) | JP7783056B2 (ja) |
Citations (11)
| Publication number | Priority date | Publication date | Assignee | Title |
|---|---|---|---|---|
| JPH0742245A (ja) * | 1993-07-30 | 1995-02-10 | Ryoichi Sato | プレキャスト構造物の連結構造および連結方法 |
| JPH10280602A (ja) * | 1997-04-09 | 1998-10-20 | Ryoichi Sato | 平版構造体 |
| JPH11181807A (ja) * | 1997-12-22 | 1999-07-06 | Ohbayashi Corp | 地下階の施工方法 |
| JP2002146915A (ja) * | 2000-11-13 | 2002-05-22 | Ps Corp | 仕口部の組立方法及び構造 |
| JP2002309669A (ja) * | 2001-04-12 | 2002-10-23 | Kurosawa Construction Co Ltd | 柱と梁の接合構造 |
| JP2011069064A (ja) * | 2009-09-24 | 2011-04-07 | Taisei Corp | プレキャスト部材の接合構造及びその構築方法 |
| JP2012057315A (ja) * | 2010-09-06 | 2012-03-22 | Ohbayashi Corp | Pc部材の接合方法、及び接合構造 |
| JP2012132203A (ja) * | 2010-12-21 | 2012-07-12 | Takenaka Komuten Co Ltd | プレキャストコンクリート部材の接合構造、構造物、構造物の施工方法。 |
| JP2013096164A (ja) * | 2011-11-02 | 2013-05-20 | Kajima Corp | プレキャスト部材の設置方法及びこれに用いるプレキャスト部材 |
| WO2017013694A1 (ja) * | 2015-07-17 | 2017-01-26 | 三井住友建設株式会社 | 架構構造及びその構築方法 |
| US20200141110A1 (en) * | 2017-06-22 | 2020-05-07 | China State Construction Engineering Cororation Limited | Prestressed assembled concrete frame-joint connecting structure and constructing method thereof |
-
2022
- 2022-01-11 JP JP2022002011A patent/JP7783056B2/ja active Active
Patent Citations (11)
| Publication number | Priority date | Publication date | Assignee | Title |
|---|---|---|---|---|
| JPH0742245A (ja) * | 1993-07-30 | 1995-02-10 | Ryoichi Sato | プレキャスト構造物の連結構造および連結方法 |
| JPH10280602A (ja) * | 1997-04-09 | 1998-10-20 | Ryoichi Sato | 平版構造体 |
| JPH11181807A (ja) * | 1997-12-22 | 1999-07-06 | Ohbayashi Corp | 地下階の施工方法 |
| JP2002146915A (ja) * | 2000-11-13 | 2002-05-22 | Ps Corp | 仕口部の組立方法及び構造 |
| JP2002309669A (ja) * | 2001-04-12 | 2002-10-23 | Kurosawa Construction Co Ltd | 柱と梁の接合構造 |
| JP2011069064A (ja) * | 2009-09-24 | 2011-04-07 | Taisei Corp | プレキャスト部材の接合構造及びその構築方法 |
| JP2012057315A (ja) * | 2010-09-06 | 2012-03-22 | Ohbayashi Corp | Pc部材の接合方法、及び接合構造 |
| JP2012132203A (ja) * | 2010-12-21 | 2012-07-12 | Takenaka Komuten Co Ltd | プレキャストコンクリート部材の接合構造、構造物、構造物の施工方法。 |
| JP2013096164A (ja) * | 2011-11-02 | 2013-05-20 | Kajima Corp | プレキャスト部材の設置方法及びこれに用いるプレキャスト部材 |
| WO2017013694A1 (ja) * | 2015-07-17 | 2017-01-26 | 三井住友建設株式会社 | 架構構造及びその構築方法 |
| US20200141110A1 (en) * | 2017-06-22 | 2020-05-07 | China State Construction Engineering Cororation Limited | Prestressed assembled concrete frame-joint connecting structure and constructing method thereof |
Also Published As
| Publication number | Publication date |
|---|---|
| JP7783056B2 (ja) | 2025-12-09 |
Similar Documents
| Publication | Publication Date | Title |
|---|---|---|
| CN111622374B (zh) | 复合结构壁及其构造方法 | |
| JP7285202B2 (ja) | 架構構造及びこれを備えた建物 | |
| KR102640461B1 (ko) | Pc 조 3 축 압축 기둥 보 접합부의 프리스트레스 도입법 | |
| KR20180069554A (ko) | 프리스트레스가 도입된 콘크리트 부분 충전 원형강관 거더 및 이를 이용한 구조물의 시공방법 | |
| JP2011202419A (ja) | 軸部材とrc部材との接合構造及び方法 | |
| JP2005097946A (ja) | 橋脚の構築方法 | |
| JP6647721B1 (ja) | 無緊張pc鋼棒コンクリート柱梁構造 | |
| JPH08333714A (ja) | ハイブリッドプレファブセグメントを用いた柱状構造物の構築方法 | |
| JPH0518003A (ja) | 鋼管コンクリート柱とハーフプレキヤスト鉄筋コンクリート柱の接合方法。 | |
| JP2006132303A (ja) | 鉄骨造間柱の鉄筋コンクリート造梁への定着構造 | |
| JP2023101843A (ja) | プレキャストコンクリート構造の部材接合方法及び部材接合構造 | |
| JP6683336B1 (ja) | 建物構造及び建物構造の形成方法 | |
| JPH05340031A (ja) | プレストレストコンクリート桁及びその製造方法 | |
| JP3948809B2 (ja) | コンクリート部材と鋼管部材との接合構造及び接合方法、並びにコンクリート・鋼複合トラス橋 | |
| JP2025082071A (ja) | プレキャストプレストレストコンクリート部材 | |
| JP6340467B1 (ja) | 袖壁を用いるラーメン構造及びその接合方法 | |
| KR101576865B1 (ko) | 역 t형 주형보를 이용한 교량 슬래브의 무지보 시공 방법 | |
| JP7628905B2 (ja) | 柱梁接合方法及び柱梁接合構造 | |
| JP2010248746A (ja) | 埋設型枠 | |
| KR20100089255A (ko) | 프리캐스트 콘크리트 부재에 의한 건물의 구축 공법 | |
| JP2762906B2 (ja) | Rc架構 | |
| JPH11190068A (ja) | 建物構造 | |
| JPH06158716A (ja) | プレキャストコンクリート部材による建物の構築工法 | |
| JP6159155B2 (ja) | プレキャスト部材セット、プレキャスト部材の圧着方法、構造体 | |
| JP2005002585A (ja) | キャピタル部材及びこれを使用したrcft柱の施工方法 |
Legal Events
| Date | Code | Title | Description |
|---|---|---|---|
| A621 | Written request for application examination |
Free format text: JAPANESE INTERMEDIATE CODE: A621 Effective date: 20240805 |
|
| A977 | Report on retrieval |
Free format text: JAPANESE INTERMEDIATE CODE: A971007 Effective date: 20250219 |
|
| A131 | Notification of reasons for refusal |
Free format text: JAPANESE INTERMEDIATE CODE: A131 Effective date: 20250225 |
|
| A521 | Request for written amendment filed |
Free format text: JAPANESE INTERMEDIATE CODE: A523 Effective date: 20250425 |
|
| A131 | Notification of reasons for refusal |
Free format text: JAPANESE INTERMEDIATE CODE: A131 Effective date: 20250729 |
|
| A521 | Request for written amendment filed |
Free format text: JAPANESE INTERMEDIATE CODE: A523 Effective date: 20250926 |
|
| TRDD | Decision of grant or rejection written | ||
| A01 | Written decision to grant a patent or to grant a registration (utility model) |
Free format text: JAPANESE INTERMEDIATE CODE: A01 Effective date: 20251111 |
|
| A61 | First payment of annual fees (during grant procedure) |
Free format text: JAPANESE INTERMEDIATE CODE: A61 Effective date: 20251127 |
|
| R150 | Certificate of patent or registration of utility model |
Ref document number: 7783056 Country of ref document: JP Free format text: JAPANESE INTERMEDIATE CODE: R150 |
