JP2023042869A - 仮設構造体 - Google Patents

仮設構造体 Download PDF

Info

Publication number
JP2023042869A
JP2023042869A JP2021150265A JP2021150265A JP2023042869A JP 2023042869 A JP2023042869 A JP 2023042869A JP 2021150265 A JP2021150265 A JP 2021150265A JP 2021150265 A JP2021150265 A JP 2021150265A JP 2023042869 A JP2023042869 A JP 2023042869A
Authority
JP
Japan
Prior art keywords
reinforcing
additional
pair
brace
diagonal members
Prior art date
Legal status (The legal status is an assumption and is not a legal conclusion. Google has not performed a legal analysis and makes no representation as to the accuracy of the status listed.)
Granted
Application number
JP2021150265A
Other languages
English (en)
Other versions
JP7721122B2 (ja
Inventor
正治郎 松浦
Shojiro Matsuura
光大 河合
Mitsuhiro Kawai
洋文 浅井
Hirofumi Asai
Current Assignee (The listed assignees may be inaccurate. Google has not performed a legal analysis and makes no representation or warranty as to the accuracy of the list.)
Asahi Sangyo Co Ltd
Original Assignee
Asahi Sangyo Co Ltd
Priority date (The priority date is an assumption and is not a legal conclusion. Google has not performed a legal analysis and makes no representation as to the accuracy of the date listed.)
Filing date
Publication date
Application filed by Asahi Sangyo Co Ltd filed Critical Asahi Sangyo Co Ltd
Priority to JP2021150265A priority Critical patent/JP7721122B2/ja
Publication of JP2023042869A publication Critical patent/JP2023042869A/ja
Application granted granted Critical
Publication of JP7721122B2 publication Critical patent/JP7721122B2/ja
Active legal-status Critical Current
Anticipated expiration legal-status Critical

Links

Images

Landscapes

  • Joining Of Building Structures In Genera (AREA)

Abstract

【課題】仮設構造体の支柱間に補強用の筋交いを容易に増設できるようにする。【解決手段】上下方向に所要間隔をおいてフランジ2が設けられた隣り合う支柱1間に架け渡され、並列する支柱1と、支柱の高さ方向に沿って設けられる複数の係合部2と、隣り合う支柱1、1の係合部2間に架け渡される一対の斜材4、5を備えた交差筋交い10と、一対の斜材4、5の上端間に接続される水平材13と、一対の斜材4、5の上端に設けられた第一連結部17と、一対の斜材4、5の下端に設けられた第二連結部19とを備え、第一連結部17に補強筋交い3の下端部が接続され、第二連結部19に補強筋交い3の上端部が接続されている。【選択図】図1

Description

この発明は、仮設足場や支保工の組み立てに使用される仮設構造体に関する。
各種の建築工事や土木工事において、仮設構造物として仮設足場や支保工が用いられている。この仮設足場として、例えば、特許文献1に記載のものがある。特許文献1では、建築物等の対象物の外壁等に沿って所定の間隔で支柱を並列させ、その並列方向に沿って隣り合う支柱同士の間を、一対の斜材をその中ほどで交差させた筋交い(以下、交差筋交いと称する)で結合し、さらに、その隣り合う支柱のそれぞれの上部に設けられた水平桟間に、足場板を掛け渡している。
支柱は、その高さ方向に沿って所要間隔で係合部を有している。交差筋交いは、この係合部を介して支柱に連結される。また、隣り合う支柱間は、適宜水平材で連結されている。さらに、特許文献2には、交差筋交いの上端間に水平方向の手摺を設けた技術が開示されている。
特開2003-147953号公報(第8頁図2参照) 特開2006-169919号公報(第7頁図2参照)
昨今、仮設足場や支保工等の仮設構造体に対して、強度や剛性をさらに向上させたいという要請がある。しかしながら、特許文献1及び特許文献2では、交差筋交いの端部は、隣り合う支柱の対角位置にある係合部に接続されている。このため、交差筋交いは、予め係合部が設定された箇所にしか取り付けることができない。このため、筋交いを増設するには支柱の構造を変更する必要が生じ、その変更はコスト高の要因となり容易ではない。
そこで、この発明が解決しようとする課題は、仮設構造体の支柱間に補強用の筋交いを容易に増設できるようにすることである。
前記の課題を解決するために、この発明に係る仮設構造体は、並列する複数の支柱と、前記支柱の高さ方向に沿って設けられる複数の係合部と、隣り合う前記支柱の前記係合部間に架け渡される一対の斜材を備えた交差筋交いと、前記交差筋交いまたは前記交差筋交いに固定された別部材に設けられた追加係合部とを備え、前記追加係合部に、前記交差筋交いとは別の補強筋交いが接続されている構成を採用することができる。
この構成によると、交差筋交いまたは交差筋交いに固定された別部材に設けられた追加係合部に、補強筋交いを接続することが可能となり、仮設構造物に補強筋交いを容易に増設することができる。
また、前記別部材は、前記一対の斜材の上端間に接続される水平材である構成を採用することができる。この構成では、交差筋交いの一対の斜材の上端部間に水平材を接続し、この水平材に設けられた追加係合部に補強筋交いを接続することができる。
また、前記追加係合部は、前記一対の斜材の上端に設けられた第一連結部である構成を採用することができる。この構成では、例えば、この第一連結部に補強筋交いの下端部を接続することで、交差筋交いの直上に補強筋交いを連結することができる。
さらに、前記追加係合部は、前記一対の斜材の下端に設けられた第二連結部である構成を採用することができる。この構成では、例えば、この第二連結部に補強筋交いの上端部を接続することで、交差筋交いの直下に補強筋交いを連結することができる。
前記支柱の間に配置される追加手摺りをさらに備え、前記追加手摺りが水平材部と前記水平材部の長さ方向両側部に下向きに形成される傾斜材部とを有し、前記傾斜材部が追加係合部に連結されている構成を採用することができる。
また、前記支柱の間に配置される追加手摺りをさらに備え、前記追加手摺りが前記支柱間に斜めに配置される一対の追加斜材と、前記一対の追加斜材の上端部間に架け渡される追加水平材とを有し、前記一対の追加斜材の上端部が前記支柱の係合部に係合され、前記一対の追加斜材の下端部が追加係合部に連結されている構成を採用することができる。
追加手摺りを備える構成では、例えば、仮設構造体における最上位の交差筋交いの上方であって、支柱の間に上述の追加手摺りを設置すれば、支柱の間での剛性を高めることができる。また、最上位の交差筋交いの位置に設置された足場板上で作業する作業者の安全性が向上する。
前記補強筋交いが一対の補強用斜材を備え、前記一対の補強用斜材の上端または下端に前記追加係合部に係合するフックを有し、前記フックが前記追加係合部に向かって突出する軸状部と、前記軸状部から上下方向外向きに延びる先端部を有している構成を採用することができる。
この構成において、補強筋交いを傾けて、一対の補強用斜材に設けたフックの先端部を一対の斜材の上端または下端に設けられた追加係合部に係合することができる。
以上のように、この発明に係る仮設構造体は、隣り合う支柱の係合部間に架け渡される交差筋交いに補強筋交いを容易に追加することができる。また、補強筋交いを容易に追加することができると、仮設構造体が受ける地震等の水平力に対する耐久性を向上させることができる。さらに、追加手摺りを支柱間に設置することにより、支柱の間で剛性を高めることができる。
この発明の実施形態に係る仮設構造体を示す正面図 この実施形態の交差筋交いを示す正面図 交差筋交いの第一係止部を示す要部拡大正面図 (a)交差筋交いの第一係止部を支柱のフランジへ係止する前の状態を示す斜視図、(b)交差筋交いの第一係止部を支柱のフランジへ係止した状態を示す斜視図 交差筋交いの第二係止部を示す要部拡大正面図 (a)交差筋交いの第二係止部を支柱のフランジへ係止する前の状態を示す斜視図、(b)交差筋交いの第二係止部を支柱のフランジへ係止した状態を示す斜視図 (a)交差筋交いの第二係止部に補強筋交いを連結する前の状態を示す斜視図、(b)交差筋交いの第二係止部に補強筋交いを連結した状態を示す斜視図 交差筋交いの第一係止部に補強筋交いを連結した状態を示す斜視図 (a)係合部材の係合片が固定軸部に支持されている状態を示す斜視図、(b)係合部材の係合片が固定軸部に支持されている状態を示す側面図 (a)係合部材の係合片が固定軸部に保持されている状態を示す斜視図、(b)係合部材の係合片が固定軸部に保持されている状態を示す側面図 交差筋交いの他の形態を示す正面図 図11に示す交差筋交いの他の形態の第一係止部を支柱のフランジへ係止した状態を示す斜視図 (a)補強筋交いの他の形態を示す斜視図、(b)補強筋交いの他の形態の上端部を示す拡大斜視図、(c)補強筋交いの他の形態の下端部を示す拡大斜視図 図13に示す補強筋交いの他の形態を交差筋交いの第一係止部に連結した状態を示す斜視図 図13に示す補強筋交いの他の形態を交差筋交いの第一係止部に連結した状態を示す側面図 図13に示す補強筋交いの他の形態を交差筋交いの第一係止部に連結する途中の状態を示す正面図 図13に示す補強筋交いの他の形態を交差筋交いの第一係止部に連結する途中の状態を示す側面図 (a)図13に示す補強筋交いの他の形態の軸状フックを交差筋交いの第一係止部に挿入する状態を示す側面図、(b)図13に示す補強筋交いの他の形態の軸状フックを交差筋交いの第一係止部に係合している状態を示す側面図 補強筋交いのさらに他の形態を交差筋交いの第二係止部に連結する途中の状態を示す側面図 追加手摺りを備えた仮設構造体を示す正面図 追加手摺りを示す正面図 図21に示す追加手摺りを交差筋交いの第一係止部に連結した状態を示す要部拡大正面図 追加手摺りの係合部材を交差筋交いの第一連結部に挿通している状態を示す斜視図 追加手摺りの他の形態を備えた仮設構造体を示す正面図 図24に示す他の形態の追加手摺りを支柱のフランジへ係止した状態を示す正面図
以下、この発明の実施形態に係る仮設構造体を図面に基づいて説明する。図1から図10に示すように、この実施形態に係る仮設構造体は、建築物等の対象物の外壁等に沿って並列する複数の支柱1、1と、支柱1、1の高さ方向に沿って所定間隔で設けられる係合部2と、隣り合う支柱1、1の係合部2間に架け渡される一対の斜材11、12を備えた交差筋交い10と、交差筋交い10または交差筋交い10に固定された別部材Aに設けられた追加係合部Bとを備え、追加係合部Bに交差筋交い10とは別の補強筋交い3が接続されているものである。なお、明細書中において、「前後方向」とは、仮設構造体が構築される建築物等の対象物の外壁等に正対した状態で、その外壁等に向かう方向を「前方」、その外壁等に向かう方向と反対方向を「後方」とした場合での「前後方向」を意味する。
支柱1は、鋼管であり、長さ方向に所要間隔をおいて係合部としてのフランジ2が固定されたものである。支柱1は所定の長さ寸法を有しており、長さ方向に順次継ぎ足すことができるものである。図4(a)、(b)に示すように、フランジ2は、環状をなす金属製の板状部材であり、内周部から周方向4箇所に等間隔に形成された係止孔2aを有する。フランジ2の内周部が支柱1に対して溶接により固着されている。
図2に示すように、交差筋交い10は、隣り合う支柱1の対角位置にあるフランジ2の間に斜めに架け渡される一対の斜材11、12とからなり、一対の斜材11、12の上端間に、交差筋交い10とは別部材Aとなる水平材13が接続されている。以下、この実施形態では別部材Aを水平材13と称す。一対の斜材11、12および水平材13は、円筒状の鋼パイプ材からなる。斜材11は、一端部(上端部)に設けられる第一係止部14と、他端部(下端部)に設けられる第二係止部15とを有する。
図3に示すように、第一係止部14は、三角形をなす金属板からなる。第一係止部14は、斜材11の長さ方向外側に位置する下向きのフック16と、フック16よりも上位にかつ第一係止部14から上方へ延び出す状態に形成される追加係合部Bとしての第一連結部17とを有する。フック16は、隣り合う支柱1の対角位置にあるフランジ2のうち上位のフランジ2の係止孔2aにそれぞれ係止される。第一連結部17は、貫通孔17aと貫通孔17aの周縁部からなる孔部により形成されている。第一連結部17の孔部は、一対の斜材11、12のそれぞれに対して直交する方向を向く状態となっている。第一係止部14には水平材13の端部がピン13aにより連結されている。
図6(a)、(b)に示すように、第二係止部15は、斜材11の他端部の長さ方向外側部分に設けられる角筒部18と、角筒部18の斜材11の他端部側で下方に延び出す状態に設けられる追加係合部Bとしての第二連結部19とを有する。角筒部18は上下方向に開放しており、筒軸と直交する方向に形成された切り欠き18aを有する。切り欠き18aは、角筒部18に対して、斜材11の他端部側と反対側から斜材11へ向かって形成されている。切り欠き18aは、フランジ2へ差し込み可能な上下方向の開口幅を有している。第二連結部19は、貫通孔19aとその貫通孔19aの周縁部からなる孔部により形成される。貫通孔19aは、一対の斜材11、12のそれぞれに対して直交する方向を向く状態にある。斜材12は、斜材11と同じ構造であるので、斜材11に付した符号と同じ符号を付して、その構造の説明を省略する。
第二係止部15は、角筒部18に上方から挿入される楔体20を備えている。楔体20は、下方に延び出す係合片部20aおよび支持片部20bを有する二股状の板状部材である。楔体20の上部の係合片部20a側に、係合片部20aから、支柱1へ向かって突出するストッパ20cが形成されている。係合片部20aは支持片部20bよりも下方への延び出し長さが短い。切り欠き18aに支柱1のフランジ2を差し込んだ状態で、角筒部18に挿入される楔体20の係合片部20aが支柱1のフランジ2の係止孔2aに係止する状態となる。このとき、楔体20の支持片部20bは、支柱1のフランジ2の外側に配置され、ストッパ20cとともに角筒部18内での楔体20を支持している。
この実施形態では、水平材13は、一対の斜材11、12の上端間に接続されているが、例えば、一対の斜材11、12の下端間に接続するようにしてもよい。
補強筋交い3は、円筒状の鋼パイプ材である一対の補強用斜材4、5から構成される。補強用斜材4、5は、それぞれ反対向きに斜めに配置され、X字状に交差している長さ方向中間部分で相互に一体化されている。図7、8に示すように、補強用斜材4の両端部は、鋼パイプ材を扁平状に加工して形成され、その扁平面が同じ方向(前後方向)を向いている。補強用斜材4の両端部には、前後方向一方側にそれぞれ係合部材25が設けられている。
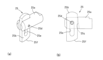
図9(a)、(b)に示すように、それぞれの係合部材25は、固定軸部25aと固定軸部25aの先端部に取り付けられる係合片25bとを有する。固定軸部25aは、補強用斜材4の両端部からそれぞれ同じ向きに突出している。固定軸部25aは先端から長さ方向内向きに形成される二股部分を有している。固定軸部25aは一対の斜材11、12の第一連結部17および第二連結部19の孔部に挿通可能な大きさを有している。固定軸部25aの二股状部分の間の根本側に受け面部25cが形成されている。受け面部25cは固定軸部25aの突出方向を臨む平面である。受け面部25cは下方に向かうに従って固定軸部25aの先端から離れる向きに傾斜している。固定軸部25aの二股状部分の間には、支持ピン25dが架け渡されている。
係合片25bは帯状の板状部材である。係合片25bは長さ方向に沿う長孔25eと、長さ方向一方の端面に形成される係止面部25fとを有する。長孔25e内に支持ピン25dが挿通されている。係止面部25fは、係合片25bの幅方向一端側から他端側に向かって長さ方向内向きに傾斜する湾曲面に形成されている。係合片25bの幅方向寸法は、一対の斜材11、12の第一連結部17および第二連結部19の孔部に挿通可能な大きさを有している。
係合片25bは、固定軸部25aに対して、支持ピン25dにより揺動可能に、かつ長孔25cに沿ってスライド可能に支持される。この支持状態では、係止面部25fが下側に位置し、かつ係合片25bの幅方向他端が固定軸部25aの受け面部25c側に位置している。引き上げられた係合片25bは、係止面部25fが受け面部25cへ向かって回動されると、係止面部25fが受け面部25cで受け止められる状態となる。この係合片25bは、その長さ方向が固定軸部15aの突出方向と一致する位置で、固定軸部25aに保持される(図10(a)、(b)参照)。
補強用斜材5は補強用斜材4と同じ構造であり、補強用斜材5の両端部には、補強用斜材4の係合部材25と同じ構造の係合部材25が同じ向きに設けられている。このため、補強用斜材5については、補強用斜材4に付した符号と同じ符号を付して、その構造の説明を省略する。
この実施形態に係る仮設構造体は、以上のように構成される。次に、この仮設構造体の構築方法を説明する。まず、建築物等の対象物の外壁に対して、前後一対の支柱1、1を、その外壁に沿って所定間隔に複数対並列させる。この並列方向に隣り合う支柱1間にフランジ2を介して、最下位の交差筋交い10を順次連結する。そして、最下位の交差筋交い10よりも高い位置であって、それぞれの前後一対の支柱1、1間に下位の水平桟(図示省略)を設け、前記並列方向に隣り合う下位の水平桟の間に足場板X1(図1の一点鎖線参照)を架け渡して、下段の足場を構築する。
続いて、前記並列方向に隣り合う支柱1間に下位の交差筋交い10を順次連結する。この下位の交差筋交い10は、斜材11、12の下端部に設けられる第二係止部15を、足場板X1の高さと同じ位置にあるフランジ2に係止し、斜材11、12の上端部に設けられる第一係止部14を足場板X1よりも高い位置にあるフランジ2に係止する。
その後、必要に応じて別体の支柱1を継ぎ足して、それぞれの支柱1の高さを延長する。さらに、下位の交差筋交い10よりも高い位置であって、前後一対の支柱1、1間に上位の水平桟(図示省略)を設ける。そして、前記並列方向に隣り合う支柱1間に上位の交差筋交い10を順次連結する。この上位の交差筋交い10は、斜材11、12の下端部に設けられる第二係止部15を、上位の水平桟の高さと同じ位置にあるフランジ2に係止し、斜材11、12の上端部に設けられる第一係止部14を上位の水平桟よりも高い位置にあるフランジ2に係止する。上位の交差筋交い10の連結後に前記並列方向に隣り合う上位の水平桟の間に足場板X2(図1の一点鎖線参照)を架け渡し、上段の足場を構築する。これらの作業を繰り返して、上下方向に多段となる足場を順次構築する。
続いて、上下方向に多段となる足場を構築後に、上位の交差筋交い10と下位の交差筋交い10との間に、補強筋交い3を接続する。上位の交差筋交い10に対する補強筋交い3の接続は、以下のように行われる。まず、図7(a)に示すように、補強用斜材4の上端部に設けられた係合部材25を、その係合片25bの長さ方向と固定軸部25aの突出方向とを一致させた状態とする。この状態の係合部材25を斜材12の第二係止部15の第二連結部19の貫通孔19aに挿入する。挿入された係合片25bは、係止面部25fと反対側の先端部を上方へ回動させることにより、自重で下方にスライドする(図7(b)参照)。このスライドによって、係合片25bの長孔25eの上端部に固定軸部25aの支持ピン25dが位置する状態となる。これにより、補強筋交い3の補強用斜材4の上端部を、斜材12の第二係止部15の第二連結部19に係合して、上位の交差筋交い10に接続する。同様に、補強筋交い3の補強用斜材5の上端部を、係合部材25を介して、斜材11の第二係止部15の第二連結部19に係合して、上位の交差筋交い10に接続する。
次に、下位の交差筋交い10に対する補強筋交い3の接続は、以下のように行われる。まず、補強用斜材4の下端部に設けられた係合部材25を、その係合片25bの長さ方向と固定軸部25aの突出方向とを一致させた状態とする。この状態の係合部材25を斜材12の第一係止部14の第一連結部17の貫通孔17aに挿入する。この後、上述した補強用斜材4の上端部に設けた係合部材25と同様の作用により、補強筋交い3の補強用斜材4の下端部を、係合部材25を介して、斜材12の第一係止部14の第一連結部17に係合し、下位の交差筋交い10に接続する(図8参照)。同様に、係合部材25を介して、補強筋交い3の補強用斜材5の下端部を、斜材11の第一係止部14の第一連結部17に係合して、下位の交差筋交い10に接続する。
以上のようにして、上位の交差筋交い10と下位の交差筋交い10との間に補強筋交い3を接続し、この実施形態に係る仮設構造体を構築する。
なお、補強筋交い3の補強用斜材4、5の両端部にそれぞれ設けられる係合部材25の代わりに固定孔を設けてもよい。この場合、ボルトおよびナットによる締結により、上位の交差筋交い10と下位の交差筋交い10との間に補強筋交い3を接続することができる。
この実施形態に係る仮設構造体において、交差筋交い10の一対の斜材11、12は、一端部に第一連結部17を有し、他端部に第二連結部19を有している。このため、第一連結部17および第二連結部19との間に、補強筋交い3の一対の補強用斜材4、5を容易に連結することができる。さらに、補強筋交い3を容易に連結することができると、この実施形態に係る仮設構造体が受ける地震等の水平力に対する耐久性を向上させることができる。
また、一対の斜材11、12の第一係止部14から第一連結部17が上方に延び出す状態にある。このため、下位の交差筋交い10の直上に補強筋交い3の補強用斜材4、5を連結することができる。また、一対の斜材11、12の第二係止部15から第二連結部19が下方に延び出す状態にある。このため、上位の交差筋交い10の直下に補強筋交い3の補強用斜材4、5を接続することができる。
このように補強筋交い3の補強用斜材4、5が上位および下位の交差筋交い10に接続されると、仮設構造物に取り付けられた足場板の幅方向内側に補強筋交い3が突き出すことがない。このため、仮設構造物における作業、通行のスペースを確保することができる。
上記実施形態では、図2に示すように、第一連結部17が一対の斜材11、12の第一係止部14に設けられた交差筋交い10を例に挙げて説明した。例えば、図11、12に示すように、第一連結部17を水平材13の長さ方向両側に設けてもよい。この場合、例えば、一対の斜材11、12の第一係止部14を、第一連結部17が形成されたものに変更する必要がない。このため、交差筋交い10の一対の斜材11、12として、上端部にフックのみを有する従来の一対の斜材を利用することができる。さらに、支柱1から離れた位置で補強筋交いの連結作業を行うことができる。
また、上記実施形態では、図7、8に示すように、補強用斜材4、5の両端部にそれぞれ係合部材25が設けられた補強筋交い3を例に挙げて説明した。例えば、図13に示すように、補強筋交い3の他の形態として、補強筋交い6を採用することができる。この補強筋交い6としては、補強用斜材4、5の下端部に設けられる係合部材25の代わりに軸状フック26が設けられた点、補強用斜材4、5の両端部近傍に屈曲部27、28が形成されている点で、補強筋交い3と相違する。以下、補強筋交い6において、補強筋交い3との相違点を説明する。
屈曲部27、28は、補強用斜材4、5の両端部寄りの位置に形成されている。屈曲部27は、補強用斜材4の両端部を、補強用斜材4の中間部分に対して前後方向一方側に偏位する状態で連結するものである。屈曲部28は、補強用斜材5の両端部を、補強用斜材5の中間部分に対して前後方向他方側に偏位する状態で連結するものである。この屈曲部27、28により、補強用斜材4、5の両端部は補強用斜材4、5の中間部分の軸心に対して平行であって、前後方向を向く状態となっている。補強用斜材4、5の中間部分の長さ方向外方に補強用斜材4、5の両端部が位置している。
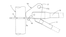
軸状フック26は、補強用斜材4、5の下端部の前後方向一方側に設けられている。軸状フック26は、前後方向一方に向かって突出し、その先端部分が湾曲部分を介して上下方向外向きとなる下向きに延び出している。軸状フック26は、一対の斜材11、12の第一連結部17および第二連結部19の孔部に挿通可能な大きさを有している。
係合部材25は、補強用斜材4、5の上端部の前後方向一方側に設けられている。このような補強筋交い6は、補強用斜材4が補強用斜材5に対して前後方向一方側に位置する状態で、X字状に交差している。補強筋交い6は、補強用斜材4、5の上端部同士および下端部同士が前後方向内側に位置している。
補強筋交い6は以上のように構成される。次に、補強筋交い6を上位の交差筋交い10と下位の交差筋交い10との間に接続する方法を図面に基づいて説明する。
まず、補強用斜材4、5の下端部を下位の交差筋交い10に接近させ、かつ補強用斜材4、5の上端部を上位の交差筋交い10から離間させて、補強筋交い6を傾けた姿勢で保持する。このとき、補強用斜材4、5の軸状フック26は、下位の交差筋交い10側に配置されている。
補強筋交い6を傾けた姿勢で保持しつつ、図18(a)に示すように、補強用斜材4の軸状フック26の先端部分を下位の交差筋交い10の斜材12の第一連結部17に挿入する。また、補強用斜材5の軸状フック26の先端部分を下位の交差筋交い10の斜材11の第一連結部17に挿入する。
その後、図18(b)に示すように、補強用斜材4、5の上端部を上位の交差筋交い10に徐々に近づけて、補強筋交い6を、その傾きが上下方向に対して小さくなるように持ち上げる。ここで、軸状フック26は、先端部分が下方に延び出している。このため、補強用斜材4、5の軸状フック26の湾曲部分が、下位の交差筋交い10の斜材11、12の第一連結部17にそれぞれ係合する状態となる。この係合によって、補強筋交い6は、補強用斜材4、5の下端部を斜材11、12の第一連結部17で支持する状態に維持することができる。
さらに、補強用斜材4、5の上端部を上位の交差筋交い10に近づける。そして、補強筋交い3の場合と同様にして、補強用斜材4、5の上端部を、係合部材25を介して、上位の交差筋交い10の斜材11、12の第二連結部19に係合する。このようにして、補強筋交い6を上位の交差筋交い10と下位の交差筋交い10との間に接続する。
この補強筋交い6は、その姿勢を傾けて、補強用斜材4、5の軸状フック26を下位の交差筋交い10の斜材11、12の第一連結部17の孔部にそれぞれ挿入することで、容易に軸状フック26を第一連結部17に係合することができる。
また、補強筋交い3の他の形態として、補強用斜材4、5の下端部に設けられた係合部材25の代わりに軸状フック26が設けられ、補強用斜材4、5の両端部近傍に屈曲部27、28が形成された補強筋交い6を例に挙げて説明したが、図19に示すように、補強用斜材4、5の上端部に係合部材25の代わりに軸状フック26が設けられ、補強用斜材4、5の両端部近傍に屈曲部27、28が形成された補強筋交い7を採用してもよい。
この補強筋交い7において、軸状フック26は、補強用斜材4、5の上端部の前後方向一方側に設けられている。軸状フック26は、前後方向一方に向かって突出し、その先端部分が湾曲部分を介して上下方向外向きとなる上向きに延び出している。係合部材25は、補強用斜材4、5の下端部の前後方向一方側に設けられている。その他の構造は、補強筋交い6と同じ構造であるので、同じ符号を付してその説明を省略する。
補強筋交い7では、補強用斜材4、5の上端部を上位の交差筋交い10に接近させ、かつ補強用斜材4、5の下端部を下位の交差筋交い10から離間させて、傾けた姿勢で保持する。その後、軸状フック26の先端部分を、上位の交差筋交い10の斜材11、12の第二連結部19にそれぞれ係合して、補強用斜材4、5の下端部を下位の交差筋交い10に近づける。そして、補強筋交い3の場合と同様にして、補強用斜材4、5の下端部を、係合部材25を介して、下位の交差筋交い10の斜材11、12の第一連結部17に係合する。このようにして、補強筋交い7を上位の交差筋交い10と下位の交差筋交い10との間に接続することができる。
図20に示すように、この実施形態の仮設構造体は、支柱1の間であって、最上位の交差筋交い10の上方に配置される追加手摺り21を備えるものであってもよい。図21に示すように、追加手摺り21は、水平に配置される水平材部22と水平材部22の長さ方向両端部に一体に形成される傾斜材部23、24とを有する。水平材部22は、円筒状の鋼パイプ材からなる。傾斜材部23は水平材部22の一端部に一体に形成され、水平材部22の長さ方向外側に向かって下方に延び出す状態となっている。傾斜材部23は、斜材11の第一連結部17に係合する係合部材25を有している。
傾斜材部24は水平材部22の他端部に一体に形成され、水平材部22の長さ方向外側に向かって下方に延び出す状態となっている。傾斜材部24は、斜材12の第一連結部17に係合する係合部材25を有する。傾斜部材23、24の係合部材25は、上述の補強用斜材4、5の両端部に設けられる係合部材25と同じ構造であり、固定軸部25aの突出向きが反対向きであることのみが相違する。このため、傾斜部材23、24の係合部材25は、補強用斜材4、5の係合部材25と同じ符号を付して、その説明を省略する。
支柱1の間であって、最上位の交差筋交い10の上方への追加手摺り21の連結は、以下のようになされる。すなわち、まず、図23に示すように、傾斜材部23の係合部材25を、その係合片25bの長さ方向と固定軸部25aの突出方向とを一致させた状態とする。この状態の係合部材25を斜材11の第一係止部14の第一連結部17の貫通孔17aに挿入する。挿入された係合片25bは、係止面部25fと反対側の先端部を上方へ回動させることにより、自重で下方にスライドする(図22参照)。このスライドによって、係合片25bの長孔25cの上端部に固定軸部25aの支持ピン25dが位置する状態となる。これにより、傾斜材部23は、斜材11の第一係止部14の第一連結部17に係合する。同様にして、傾斜材部24は、係合部材25を介して、斜材12の第一係止部14の第一連結部17に係合する。このようにして、追加手摺り21を最上位の交差筋交い10の上方へ連結する。
この追加手摺り21の水平材部22は最上位の交差筋交い10の水平材13よりも高い位置に設けられる。このため、仮設構造物において、支柱1の間での剛性を高めることができる。さらに、作業員の足場板上を移動する際の安全性が向上する。
また、追加手摺り21の他の形態を図24、25に示す。この他の形態の追加手摺り31は、支柱1間に斜めに配置される一対の追加斜材32、33と、一対の追加斜材32、33の一端部間に架け渡される追加水平材34とを備えるものである。一対の追加斜材32、33の一端部が支柱1のフランジ2の係止孔2aに係合可能なフック部35を有している。
追加手摺り31は、支柱1の間に配置され、最上位の交差筋交い10の上方に連結される。一対の追加斜材32、33に設けられたフック部35が、最上位の交差筋交い10のフック16が係止するフランジ2よりも上位のフランジ2に係止している。一対の追加斜材32、33の下端部が、最上位の交差筋交い10の第一連結部17を介して、ボルト、ナットの締結により連結されている。なお、一対の追加斜材32、33の他端部に、上述した係合部材25を設けてもよい。
このように、仮設構造体において、支柱1の間であって、最上位の交差筋交い10の上方に、追加手摺り31が連結される。この追加手摺り31の追加水平材34は、最上位の交差筋交い10の水平材13よりも高い位置に設けられる。このため、追加手摺り21を取り付けた場合と同様に、仮設構造物において、支柱1の間での剛性を高めることができ、作業員の足場板上を移動する際の安全性が向上する。
1 支柱
2 フランジ(係合部)
2a 係止孔
3、6、7 補強筋交い
4、5 補強用斜材
10 交差筋交い
11、12 斜材
13 水平材
14 第一係止部
15 第二係止部
16 フック
17 第一連結部
17a 貫通孔
18 角筒部
18a 切り欠き
19 第二連結部
19a 貫通孔
20 楔体
20a 係合片部
20b 支持片部
21、31 追加手摺り
22 水平材部
23、24 傾斜材部
25 係合部材
25a 固定軸部
25b 係合片
26 軸状フック
27、28 屈曲部
32、33 追加斜材
34 追加水平材
35 フック部
A 別部材
B 追加係合部
X1、X2 足場板

Claims (7)

  1. 並列する複数の支柱(1、1)と
    前記支柱(1、1)の高さ方向に沿って設けられる複数の係合部(2)と、
    隣り合う前記支柱(1、1)の前記係合部(2)間に架け渡される一対の斜材(11、12)を備えた交差筋交い(10)と、
    前記交差筋交い(10)または前記交差筋交い(10)に固定された別部材(A)に設けられた追加係合部(B)とを備え、
    前記追加係合部(B)に、前記交差筋交い(10)とは別の補強筋交い(3)が接続されている仮設構造体。
  2. 前記別部材(A)は、一対の斜材(11、12)の上端間に接続される水平材(13)である請求項1に記載の仮設構造体。
  3. 前記追加係合部(B)は、一対の斜材(11、12)の上端に設けられた第一連結部(17)である請求項1または2に記載の仮設構造体。
  4. 前記追加係合部(B)は、一対の斜材(11、12)の下端に設けられた第二連結部(19)である請求項1~3のいずれか1項に記載の仮設構造体。
  5. 前記支柱(1)の間に配置される追加手摺り(21)をさらに備え、前記追加手摺り(21)が水平材部(22)と前記水平材部(22)の長さ方向両側部に下向きに形成される傾斜材部(23、24)とを有し、
    前記傾斜材部(23、24)が追加係合部(B)に連結されている請求項1または2に記載の仮設構造体。
  6. 前記支柱(1)の間に配置される追加手摺り(31)をさらに備え、前記追加手摺り(31)が前記支柱(1)間に斜めに配置される一対の追加斜材(32、33)と、前記一対の追加斜材(32、33)の上端部間に架け渡される追加水平材(34)とを有し、
    前記一対の追加斜材(32、33)の上端部が前記支柱(1)の係合部(2)に係合され、前記一対の追加斜材(32、33)の下端部が追加係合部(B)に連結されている請求項1または2に記載の仮設構造体。
  7. 前記補強筋交いが一対の補強用斜材(4、5)を備え、前記一対の補強用斜材(4、5)の上端または下端に前記追加係合部(B)に係合するフック(26)を有し、前記フック(26)が前記追加係合部(B)に向かって突出する軸状部と、前記軸状部から上下方向外向きに延びる先端部を有している請求項1に記載の仮設構造体。
JP2021150265A 2021-09-15 2021-09-15 仮設構造体 Active JP7721122B2 (ja)

Priority Applications (1)

Application Number Priority Date Filing Date Title
JP2021150265A JP7721122B2 (ja) 2021-09-15 2021-09-15 仮設構造体

Applications Claiming Priority (1)

Application Number Priority Date Filing Date Title
JP2021150265A JP7721122B2 (ja) 2021-09-15 2021-09-15 仮設構造体

Publications (2)

Publication Number Publication Date
JP2023042869A true JP2023042869A (ja) 2023-03-28
JP7721122B2 JP7721122B2 (ja) 2025-08-12

Family

ID=85724131

Family Applications (1)

Application Number Title Priority Date Filing Date
JP2021150265A Active JP7721122B2 (ja) 2021-09-15 2021-09-15 仮設構造体

Country Status (1)

Country Link
JP (1) JP7721122B2 (ja)

Citations (2)

* Cited by examiner, † Cited by third party
Publication number Priority date Publication date Assignee Title
JP2006169919A (ja) * 2004-12-20 2006-06-29 Satoru Ota 筋交いとこれを用いた先行筋交い手摺り
JP2020186579A (ja) * 2019-05-15 2020-11-19 株式会社タカミヤ 仮設構築物用ブレース

Patent Citations (2)

* Cited by examiner, † Cited by third party
Publication number Priority date Publication date Assignee Title
JP2006169919A (ja) * 2004-12-20 2006-06-29 Satoru Ota 筋交いとこれを用いた先行筋交い手摺り
JP2020186579A (ja) * 2019-05-15 2020-11-19 株式会社タカミヤ 仮設構築物用ブレース

Also Published As

Publication number Publication date
JP7721122B2 (ja) 2025-08-12

Similar Documents

Publication Publication Date Title
CN110733619B (zh) 脚手架装置的角结构物
KR101289048B1 (ko) 가설벤트를 이용한 조립식 고하중 안전계단
JPH10280669A (ja) 足場ユニット
JPH08284439A (ja) 重荷重形型枠支保工ならびにその部材
JP2023042869A (ja) 仮設構造体
JP5172796B2 (ja) 横架材および該横架材を用いた構台
JP6452253B2 (ja) 骨組構造物
JP3138112U (ja) 屋根ユニット構造及びこれに使用する連結用金物
JP3709080B2 (ja) 張弦梁構造
JP2018145783A (ja) パイプサポート支承具、支承構造及び支承方法
JP2878589B2 (ja) 仮設構造物
JP7329213B2 (ja) 仮設足場における妻側先行手摺の設置構造
JP4312323B2 (ja) 仮設構造物の構築方法
JP5971878B1 (ja) 骨組構造物用構造材及びこれを用いた骨組構造物
US20050077108A1 (en) Horizontal support member for tube and clamp scaffold assembly
JP2019124111A (ja) 仮設足場の妻側先行手摺
KR100606985B1 (ko) 프레임과 이 프레임에 의해 조립되는 구조체
JP7190134B2 (ja) 荷受けステージ及びその取付け方法
JP2013104295A (ja) 仮設用手摺
JP4183654B2 (ja) 手摺り支柱用ブラケット、先行手摺り組立セット、枠組足場
JP7552712B2 (ja) 足場
JP7715864B1 (ja) ボイラ火炉ホッパー部足場の設置工法
JP4695433B2 (ja) わく組足場用手摺
KR200267867Y1 (ko) 접이식 비계
JP2542018Y2 (ja) 積上式仮設支持枠の端部支持枠

Legal Events

Date Code Title Description
A621 Written request for application examination

Free format text: JAPANESE INTERMEDIATE CODE: A621

Effective date: 20240508

A977 Report on retrieval

Free format text: JAPANESE INTERMEDIATE CODE: A971007

Effective date: 20241127

A131 Notification of reasons for refusal

Free format text: JAPANESE INTERMEDIATE CODE: A131

Effective date: 20250107

A521 Request for written amendment filed

Free format text: JAPANESE INTERMEDIATE CODE: A523

Effective date: 20250307

TRDD Decision of grant or rejection written
A01 Written decision to grant a patent or to grant a registration (utility model)

Free format text: JAPANESE INTERMEDIATE CODE: A01

Effective date: 20250624

A61 First payment of annual fees (during grant procedure)

Free format text: JAPANESE INTERMEDIATE CODE: A61

Effective date: 20250723

R150 Certificate of patent or registration of utility model

Ref document number: 7721122

Country of ref document: JP

Free format text: JAPANESE INTERMEDIATE CODE: R150