JP2021161620A - Load-bearing wall structure - Google Patents

Load-bearing wall structure Download PDF

Info

Publication number
JP2021161620A
JP2021161620A JP2020061033A JP2020061033A JP2021161620A JP 2021161620 A JP2021161620 A JP 2021161620A JP 2020061033 A JP2020061033 A JP 2020061033A JP 2020061033 A JP2020061033 A JP 2020061033A JP 2021161620 A JP2021161620 A JP 2021161620A
Authority
JP
Japan
Prior art keywords
adjacent
bearing wall
frame
joining
members
Prior art date
Legal status (The legal status is an assumption and is not a legal conclusion. Google has not performed a legal analysis and makes no representation as to the accuracy of the status listed.)
Granted
Application number
JP2020061033A
Other languages
Japanese (ja)
Other versions
JP7523764B2 (en
Inventor
久光 梶川
Hisamitsu Kajikawa
歩 三津橋
Ayumi Mitsuhashi
洋一郎 大木
Yoichiro Oki
春彦 小川
Haruhiko Ogawa
由佳 岡田
Yuka Okada
Current Assignee (The listed assignees may be inaccurate. Google has not performed a legal analysis and makes no representation or warranty as to the accuracy of the list.)
Misawa Homes Co Ltd
Original Assignee
Misawa Homes Co Ltd
Priority date (The priority date is an assumption and is not a legal conclusion. Google has not performed a legal analysis and makes no representation as to the accuracy of the date listed.)
Filing date
Publication date
Application filed by Misawa Homes Co Ltd filed Critical Misawa Homes Co Ltd
Priority to JP2020061033A priority Critical patent/JP7523764B2/en
Publication of JP2021161620A publication Critical patent/JP2021161620A/en
Application granted granted Critical
Publication of JP7523764B2 publication Critical patent/JP7523764B2/en
Active legal-status Critical Current
Anticipated expiration legal-status Critical

Links

Images

Landscapes

  • Load-Bearing And Curtain Walls (AREA)

Abstract

To improve toughness of a load-bearing wall and to maintain sufficient earthquake resistance even with a wooden building in a relatively large scale.SOLUTION: A load-bearing wall 1 comprises first frame materials 2 which adjoin each other at intervals, and a plurality of coupling materials 3 which each have both end parts joined to the adjacent first frame materials 2 to couple the adjacent first frame materials 2 to each other. The plurality of coupling materials 3 are arranged at intervals, side by side, in a length direction of the adjacent first frame materials 2, and moment resistance joining which resists an external force when the adjacent first frame materials 2 receive the external force is applied to joining parts of the plurality of coupling materials 3 for the adjacent first frame materials 2.SELECTED DRAWING: Figure 1

Description

本発明は、耐力壁構造に関する。 The present invention relates to a bearing wall structure.

木造建物においては、地震時や台風時の水平荷重に抵抗するため、必要壁量を満たすように耐力壁が設けられる。
このような耐力壁としては、隣り合う柱材間の開口部に筋交いを架け渡したり、隣り合う柱材間の開口部全面を覆うように構造用合板を張り付けたりすることで構成されている(例えば特許文献1参照)。
In wooden buildings, bearing walls are provided to meet the required amount of walls in order to withstand horizontal loads during earthquakes and typhoons.
Such a bearing wall is configured by bridging an opening between adjacent column members or attaching a structural plywood so as to cover the entire opening between adjacent column members (). For example, see Patent Document 1).

特開2009−293367号公報Japanese Unexamined Patent Publication No. 2009-293367

ところで、近年では、耐力壁を、例えば中層・高層の木造建物や延べ面積の広い木造建物のような比較的規模の大きな木造建物の建築に使用することが求められている。
しかしながら、比較的規模の大きな木造建物に、例えば規模の小さい木造の戸建て住宅に使用されるような通常の耐力壁を適用すると、粘り強さを発揮するための性質である靭性が十分でない場合があり、耐震性を維持しにくい。
By the way, in recent years, it has been required to use a bearing wall for the construction of a relatively large-scale wooden building such as a middle-rise / high-rise wooden building or a wooden building having a large total area.
However, when a normal bearing wall, such as that used for a small wooden detached house, is applied to a relatively large wooden building, the toughness, which is a property for exerting tenacity, may not be sufficient. , It is difficult to maintain earthquake resistance.

本発明は上記事情に鑑みてなされたものであり、その課題は、耐力壁における靭性を向上させ、比較的規模の大きな木造建物でも十分な耐震性を維持できるようにすることである。 The present invention has been made in view of the above circumstances, and an object of the present invention is to improve the toughness of a bearing wall so that sufficient earthquake resistance can be maintained even in a relatively large-scale wooden building.

請求項1に記載の発明は、耐力壁1構造であって、例えば図1〜図7に示すように、互いに間隔を空けて隣り合う第一フレーム材2と、
両端部が前記隣り合う第一フレーム材2に接合され、前記隣り合う第一フレーム材2同士を連結する複数の連結材3と、を備えており、
前記複数の連結材3は、前記隣り合う第一フレーム材2の長さ方向に並んで、かつ互いに間隔を空けて配置されており、
前記隣り合う第一フレーム材2に対する前記複数の連結材3の接合部には、前記隣り合う第一フレーム材2が外力を受けた場合に、当該外力に抵抗するモーメント抵抗接合が適用されていることを特徴とする。
The invention according to claim 1 is a load-bearing wall 1 structure, in which, for example, as shown in FIGS. 1 to 7, the first frame material 2 adjacent to each other at intervals is used.
Both ends are joined to the adjacent first frame members 2, and a plurality of connecting members 3 for connecting the adjacent first frame members 2 to each other are provided.
The plurality of connecting members 3 are arranged side by side in the length direction of the adjacent first frame members 2 and spaced apart from each other.
A moment resistance joint that resists an external force when the adjacent first frame member 2 receives an external force is applied to the joint portion of the plurality of connecting members 3 to the adjacent first frame member 2. It is characterized by that.

請求項1に記載の発明によれば、複数の連結材3は、隣り合う第一フレーム材2の長さ方向に並んで、かつ互いに間隔を空けて配置されており、隣り合う第一フレーム材2に対する複数の連結材3の接合部には、隣り合う第一フレーム材2が外力を受けた場合に、当該外力に抵抗するモーメント抵抗接合が適用されているので、隣り合う第一フレーム材2と複数の連結材3からなる耐力壁1の骨格部分の靭性を向上させることができる。
そのため、隣り合う第一フレーム材2が外力を受けた場合にも、複数の連結材3によって靭性の高い状態を確保・維持し、耐力壁1としての機能を損なわずに、外力に抵抗できることとなる。これにより、比較的規模の大きな木造建物でも十分な耐震性を維持することができる。
According to the invention of claim 1, the plurality of connecting members 3 are arranged side by side in the length direction of the adjacent first frame members 2 and spaced apart from each other, and the adjacent first frame members 3 are adjacent to each other. When the adjacent first frame members 2 receive an external force, a moment resistance joint that resists the external force is applied to the joints of the plurality of connecting members 3 with respect to 2, so that the adjacent first frame members 2 are adjacent to each other. It is possible to improve the toughness of the skeleton portion of the bearing wall 1 composed of the plurality of connecting members 3.
Therefore, even when the adjacent first frame members 2 receive an external force, the plurality of connecting members 3 secure and maintain a high toughness state, and can resist the external force without impairing the function as the bearing wall 1. Become. As a result, sufficient earthquake resistance can be maintained even in a relatively large-scale wooden building.

請求項2に記載の発明は、例えば図1に示すように、請求項1に記載の耐力壁1構造において、
前記隣り合う第一フレーム材2同士を連結するパネル材4を更に備えており、
前記隣り合う第一フレーム材2に対する前記複数の連結材3の接合部に適用された前記モーメント抵抗接合は、前記外力を受けて前記パネル材4に破壊が生じた後にも、当該外力に抵抗することを特徴とする。
The invention according to claim 2 has the bearing wall 1 structure according to claim 1, as shown in FIG. 1, for example.
Further, a panel material 4 for connecting the adjacent first frame materials 2 to each other is provided.
The moment resistance joint applied to the joint portion of the plurality of connecting materials 3 with respect to the adjacent first frame material 2 resists the external force even after the panel material 4 is destroyed by the external force. It is characterized by that.

請求項2に記載の発明によれば、隣り合う第一フレーム材2同士を連結するパネル材4を更に備えているので、パネル材4によって耐力壁1の耐力を向上させることができる。
さらに、隣り合う第一フレーム材2に対する複数の連結材3の接合部に適用されたモーメント抵抗接合は、外力を受けてパネル材4に破壊が生じた後にも、当該外力に抵抗するので、外力を受けてパネル材4に破壊が生じた後であっても、耐力壁1は、複数の連結材3によって靭性の高い状態を確保・維持することができる。
According to the second aspect of the present invention, since the panel material 4 for connecting the adjacent first frame materials 2 to each other is further provided, the proof stress of the bearing wall 1 can be improved by the panel material 4.
Further, the moment resistance joint applied to the joint portion of the plurality of connecting materials 3 with respect to the adjacent first frame material 2 resists the external force even after the panel material 4 is destroyed by the external force. Even after the panel material 4 is damaged due to the above, the bearing wall 1 can secure and maintain a high toughness state by the plurality of connecting materials 3.

請求項3に記載の発明は、例えば図2,図3に示すように、請求項1又は2に記載の耐力壁1構造において、
前記第一フレーム材2のうち前記複数の連結材3が配置される位置には、当該複数の連結材3の端部が差し込まれる複数の接合用差込穴2a,2bが形成され、
前記接合用差込穴2a,2bの内側面と、前記連結材3の外側面との間に空隙が形成され、当該空隙には接着剤が充填されていることを特徴とする。
The invention according to claim 3 has the bearing wall 1 structure according to claim 1 or 2, as shown in FIGS. 2 and 3, for example.
At positions of the first frame member 2 where the plurality of connecting members 3 are arranged, a plurality of joining insertion holes 2a and 2b into which the ends of the plurality of connecting members 3 are inserted are formed.
A gap is formed between the inner side surface of the joining insertion holes 2a and 2b and the outer side surface of the connecting member 3, and the gap is filled with an adhesive.

請求項3に記載の発明によれば、第一フレーム材2のうち複数の連結材3が配置される位置に形成された接合用差込穴2a,2bの内側面と、連結材3の外側面との間に空隙が形成され、当該空隙には接着剤が充填されているので、連結材3を保持した状態で接着剤が硬化すると、応力を接着剤の付着力と連結材3を介して伝達し、接合耐力を発生させることになる。そのため、複数の連結材3を、隣り合う第一フレーム材2に対して確実にモーメント抵抗接合することができ、隣り合う第一フレーム材2と複数の連結材3からなる耐力壁1の骨格部分の変形性能を格段に向上させることができる。 According to the invention of claim 3, the inner side surface of the joining insertion holes 2a and 2b formed at the position where the plurality of connecting members 3 are arranged in the first frame member 2 and the outer surface of the connecting member 3 Since a gap is formed between the side surface and the gap and the gap is filled with an adhesive, when the adhesive is cured while holding the connecting material 3, stress is applied through the adhesive force of the adhesive and the connecting material 3. Will be transmitted and the joint strength will be generated. Therefore, the plurality of connecting members 3 can be reliably moment-resistant bonded to the adjacent first frame members 2, and the skeleton portion of the bearing wall 1 composed of the adjacent first frame members 2 and the plurality of connecting members 3. The deformation performance of the lumber can be significantly improved.

請求項4に記載の発明は、例えば図4,図6,図7に示すように、請求項1又は2に記載の耐力壁1(1A,1C)構造において、
前記第一フレーム材2のうち前記複数の連結材13,33が配置される位置には、当該複数の連結材13,33の端部が差し込まれる複数の接合用差込穴2a,32bが形成され、
前記接合用差込穴2a,32bに差し込まれる前記連結材13,33の端部断面における縦横の寸法は、前記接合用差込穴2a,32bの内側面と、前記連結材13,33の端部における外側面との間に空隙が形成されないように設定されていることを特徴とする。
The invention according to claim 4 has the bearing wall 1 (1A, 1C) structure according to claim 1 or 2, as shown in FIGS. 4, 6 and 7, for example.
A plurality of joining insertion holes 2a and 32b into which the ends of the plurality of connecting members 13 and 33 are inserted are formed at positions of the first frame material 2 where the plurality of connecting members 13 and 33 are arranged. Being done
The vertical and horizontal dimensions of the end cross section of the connecting members 13 and 33 to be inserted into the joining insertion holes 2a and 32b are the inner surface of the joining insertion holes 2a and 32b and the ends of the connecting members 13 and 33. It is characterized in that it is set so that a gap is not formed between the portion and the outer surface.

請求項4に記載の発明によれば、接合用差込穴2a,32bに差し込まれる連結材13,33の端部断面における縦横の寸法は、接合用差込穴2a,32bの内側面と、連結材13,33の端部における外側面との間に空隙が形成されないように設定されているので、接合用差込穴2a,32bの内側面と連結材13,33の端部における外側面とがぴったりと接して合致する。そのため、接合用差込穴2a,32bの内側面と連結材13,33の端部における外側面との接触面積を広く確保すれば、接着剤を用いなくても、第一フレーム材2に対する連結材13,33の接合強度を向上できる。そのため、複数の連結材13,33を、隣り合う第一フレーム材2に対して確実にモーメント抵抗接合することができ、隣り合う第一フレーム材2と複数の連結材13,33からなる耐力壁1の骨格部分の変形性能を格段に向上させることができる。 According to the invention of claim 4, the vertical and horizontal dimensions in the end cross section of the connecting members 13 and 33 to be inserted into the joining insertion holes 2a and 32b are the inner side surfaces of the joining insertion holes 2a and 32b. Since a gap is not formed between the ends of the connecting members 13 and 33 and the outer surface, the inner surface of the joining insertion holes 2a and 32b and the outer surface at the ends of the connecting members 13 and 33 are formed. And fit perfectly. Therefore, if a wide contact area between the inner surface of the insertion holes 2a and 32b for joining and the outer surface at the ends of the connecting members 13 and 33 is secured, the connection to the first frame material 2 can be performed without using an adhesive. The joint strength of the materials 13 and 33 can be improved. Therefore, the plurality of connecting members 13 and 33 can be reliably moment-resistant bonded to the adjacent first frame members 2, and the bearing wall composed of the adjacent first frame members 2 and the plurality of connecting members 13 and 33 can be joined. The deformation performance of the skeleton portion of 1 can be remarkably improved.

請求項5に記載の発明は、例えば図5に示すように、請求項1又は2に記載の耐力壁1(1B)構造において、
前記第一フレーム材2のうち前記複数の連結材23が配置される位置には、当該複数の連結材23の端部が差し込まれる複数の接合用差込穴2bが形成され、
前記接合用差込穴2bの内側面には雌ネジが形成され、
前記連結材23は棒状部材であり、前記連結材23の端部には雄ネジが形成されていることを特徴とする。
The invention according to claim 5 has the bearing wall 1 (1B) structure according to claim 1 or 2, for example, as shown in FIG.
At the position of the first frame member 2 where the plurality of connecting members 23 are arranged, a plurality of joining insertion holes 2b into which the ends of the plurality of connecting members 23 are inserted are formed.
A female screw is formed on the inner surface of the insertion hole 2b for joining.
The connecting member 23 is a rod-shaped member, and is characterized in that a male screw is formed at an end portion of the connecting member 23.

請求項5に記載の発明によれば、第一フレーム材2のうち複数の連結材23が配置される位置には、当該複数の連結材23の端部が差し込まれる複数の接合用差込穴2bが形成され、接合用差込穴2bの内側面には雌ネジが形成され、連結材23は棒状部材であり、連結材23の端部には雄ネジが形成されているので、連結材23の端部が、接合用差込穴2bにねじ込まれ、接合用差込穴2bの内側面と連結材23の外側面とがぴったりと接して合致する。そのため、接着剤を用いなくても、第一フレーム材2に対する連結材23の接合強度を向上できる。そのため、複数の連結材23を、隣り合う第一フレーム材2に対して確実にモーメント抵抗接合することができ、隣り合う第一フレーム材2と複数の連結材23からなる耐力壁1の骨格部分の変形性能を格段に向上させることができる。 According to the invention of claim 5, a plurality of joining insertion holes into which the ends of the plurality of connecting members 23 are inserted at the positions where the plurality of connecting members 23 are arranged in the first frame member 2. 2b is formed, a female screw is formed on the inner surface of the insertion hole 2b for joining, the connecting member 23 is a rod-shaped member, and a male screw is formed at the end of the connecting member 23. The end portion of the 23 is screwed into the joining insertion hole 2b, and the inner side surface of the joining insertion hole 2b and the outer surface of the connecting member 23 are in close contact with each other. Therefore, the bonding strength of the connecting material 23 to the first frame material 2 can be improved without using an adhesive. Therefore, the plurality of connecting members 23 can be reliably moment-resistant bonded to the adjacent first frame members 2, and the skeleton portion of the bearing wall 1 composed of the adjacent first frame members 2 and the plurality of connecting members 23. The deformation performance of the lumber can be significantly improved.

請求項6に記載の発明は、例えば図5に示すように、請求項5に記載の耐力壁1(B)構造において、
前記連結材23の両端部は、前記隣り合う第一フレーム材2のうち互いに平行かつ対向しない外側面2eから側方に突出しており、当該突出する両端部にはナット23aが設けられていることを特徴とする。
The invention according to claim 6 has the bearing wall 1 (B) structure according to claim 5, as shown in FIG. 5, for example.
Both ends of the connecting member 23 project laterally from the outer surfaces 2e of the adjacent first frame members 2 that are parallel to each other and do not face each other, and nuts 23a are provided at the projecting both ends. It is characterized by.

請求項6に記載の発明によれば、連結材23の両端部は、隣り合う第一フレーム材2のうち互いに平行かつ対向しない外側面2eから側方に突出しており、当該突出する両端部にはナット23aが設けられているので、連結材23が接合用差込穴2bから引き抜かれることを防止でき、第一フレーム材2に対する連結材23の接合強度を更に向上できる。 According to the invention of claim 6, both ends of the connecting member 23 project laterally from the outer side surfaces 2e of the adjacent first frame members 2 that are parallel to each other and do not face each other, and the protruding end portions. Since the nut 23a is provided, the connecting member 23 can be prevented from being pulled out from the joining insertion hole 2b, and the joining strength of the connecting member 23 to the first frame member 2 can be further improved.

本発明によれば、耐力壁における靭性を向上させ、比較的規模の大きな木造建物でも十分な耐震性を維持することができる。 According to the present invention, the toughness of the bearing wall can be improved, and sufficient seismic resistance can be maintained even in a relatively large-scale wooden building.

耐力壁を示す斜視図である。It is a perspective view which shows the bearing wall. 第一フレーム材に対する連結材の接合部の一例を示す断面図である。It is sectional drawing which shows an example of the joint part of the connecting material with respect to the 1st frame material. 第一フレーム材に対する連結材の接合部の一例を示す断面図である。It is sectional drawing which shows an example of the joint part of the connecting material with respect to the 1st frame material. 単管パイプを用いた場合の耐力壁を示す断面図である。It is sectional drawing which shows the bearing wall when a single pipe is used. 長ボルトを用いた場合の耐力壁を示す断面図である。It is sectional drawing which shows the bearing wall when a long bolt is used. 木質の横架材を用いた場合の耐力壁を示す斜視図である。It is a perspective view which shows the bearing wall when the wooden horizontal member is used. 第一フレーム材に対する横架材の接合部を示す部分拡大図である。It is a partially enlarged view which shows the joint part of the horizontal member with respect to the 1st frame material. パネル材として建築用木質パネルを用いた耐力壁を示す斜視図である。It is a perspective view which shows the bearing wall which used the wooden panel for construction as a panel material. 建築用木質パネルの配置例を示す平断面図である。It is a plan sectional view which shows the arrangement example of the wooden panel for construction. 直交方向に隣接する耐力壁の連結構造を示す平断面図である。It is a plan sectional view which shows the connecting structure of the bearing wall adjacent in the orthogonal direction. コーナ部において共有される第一フレーム材に対する連結材の配置を説明する斜視図である。It is a perspective view explaining the arrangement of the connecting material with respect to the 1st frame material shared in the corner part. コーナ部において共有される第一フレーム材に対する連結材の接合部の一例を示す断面図である。It is sectional drawing which shows an example of the joint part of the connecting material with respect to the 1st frame material shared in the corner part. (a)は、同一方向に隣接する耐力壁の連結構造を示す正断面図であり、(b)は、平断面図である。(A) is a regular cross-sectional view showing a connecting structure of bearing walls adjacent to each other in the same direction, and (b) is a plan cross-sectional view.

以下、図面を参照して本発明の実施の形態について説明する。ただし、以下に述べる実施形態には、本発明を実施するために技術的に好ましい種々の限定が付されているが、本発明の技術的範囲を以下の実施形態及び図示例に限定するものではない。なお、以下の実施形態及び図示例における方向は、あくまでも説明の便宜上設定したものである。 Hereinafter, embodiments of the present invention will be described with reference to the drawings. However, although the embodiments described below are provided with various technically preferable limitations for carrying out the present invention, the technical scope of the present invention is not limited to the following embodiments and illustrated examples. No. The directions in the following embodiments and illustrated examples are set for convenience of explanation.

図1において符号1は、耐力壁を示す。この耐力壁1は、主として、例えば、中層・高層の木造建物や、延べ面積の広い木造建物のような、比較的規模の大きな木造建物の建築に使用されるものである。このような比較的規模の大きな木造建物以外にも、例えば、戸建て住宅のような比較的規模の小さな木造建物に使用してもよいし、建物のリフォーム時に採用してもよい。さらに、耐力壁1は、枠組壁工法やパネル工法による建物以外にも、木造軸組構法による建物に使用してもよいし、木造と非木造を組み合わせた混構造の建物に使用してもよい。 In FIG. 1, reference numeral 1 indicates a bearing wall. The bearing wall 1 is mainly used for the construction of a relatively large-scale wooden building such as a middle-rise / high-rise wooden building or a wooden building having a large total area. In addition to such a relatively large-scale wooden building, it may be used for a relatively small-scale wooden building such as a detached house, or may be used when remodeling a building. Further, the bearing wall 1 may be used not only for a building by a frame wall construction method or a panel construction method but also for a building by a wooden frame construction method, or may be used for a building having a mixed structure in which a wooden structure and a non-wooden structure are combined. ..

また、このような耐力壁1を建物に組み込む場合、耐力壁1は、基礎や梁、土台、床等の下部構造材6(図4,図5参照)上に立設され、上には、梁や床、上階の壁(耐力壁を含む)等の上部構造材7(図4,図5参照)が載せられる。つまり、耐力壁1は、下部構造材6と上部構造材7との間に挟まれた状態に設けられる。 Further, when such a bearing wall 1 is incorporated into a building, the bearing wall 1 is erected on a lower structural member 6 (see FIGS. 4 and 5) such as a foundation, a beam, a base, and a floor. Superstructure materials 7 (see FIGS. 4 and 5) such as beams, floors, and upper floor walls (including bearing walls) are placed on the floors. That is, the bearing wall 1 is provided in a state of being sandwiched between the lower structural member 6 and the upper structural member 7.

さらに、耐力壁1は、棒鋼やボルト、長ボルト等の棒材によって下部構造材6及び上部構造材7に接合されている。すなわち、耐力壁1には、棒材の一端が差し込まれる差込穴2c(図7参照)が形成され、下部構造材6と上部構造材7にも、棒材の他端が差し込まれる差込穴が形成されることになる。
棒材としては、異形棒鋼や全ねじボルト等のように、表面に凹凸のある長尺な棒材が好適に用いられる。
また、棒材による耐力壁1と下部構造材6及び上部構造材7との接合には、後述するグルードインロッド(GIR:Glued in Rod)と呼ばれる方法が採用される。
なお、本実施形態においては、棒材による耐力壁1と下部構造材6及び上部構造材7との接合には、グルードインロッドの方法を採用したが、例えば接合用の金物を用いるなど、その他の方法を採用してもよい。
Further, the bearing wall 1 is joined to the lower structural member 6 and the upper structural member 7 by a bar such as a steel bar, a bolt, or a long bolt. That is, the bearing wall 1 is formed with an insertion hole 2c (see FIG. 7) into which one end of the bar member is inserted, and the other end of the bar member is also inserted into the lower structural member 6 and the upper structural member 7. A hole will be formed.
As the bar material, a long bar material having an uneven surface, such as a deformed steel bar or a full-threaded bolt, is preferably used.
Further, a method called a Glued in Rod (GIR), which will be described later, is adopted for joining the bearing wall 1 with the bar member to the lower structural member 6 and the upper structural member 7.
In the present embodiment, the glue-in rod method is adopted for joining the bearing wall 1 with the bar member and the lower structural member 6 and the upper structural member 7, but for example, a metal fitting for joining is used. Method may be adopted.

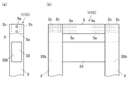
以上のような耐力壁1は、互いに間隔を空けて隣り合う第一フレーム材2と、隣り合う第一フレーム材2同士を連結する複数の連結材3と、隣り合う第一フレーム材2同士を連結するパネル材4と、を備えている。また、耐力壁1は、隣り合う第一フレーム材2同士を連結する第二フレーム材5を更に備えている。 The load-bearing wall 1 as described above comprises a first frame member 2 adjacent to each other at intervals, a plurality of connecting members 3 connecting the adjacent first frame members 2 to each other, and adjacent first frame members 2 to each other. It includes a panel material 4 to be connected. Further, the bearing wall 1 further includes a second frame member 5 that connects adjacent first frame members 2 to each other.

第一フレーム材2は、水平方向(横方向・左右方向)よりも上下方向に長尺な構造用集成材であり、平断面視において正方形状に形成されている。なお、本実施形態においては、第一フレーム材2として構造用集成材が用いられているが、通常の角材でもよいし、例えばLVL(Laminated Veneer Lumber)による柱材でもよい。すなわち、第一フレーム材2は、木製の柱状部材である。また、断面形状も正方形状ではなく、矩形状でもよいし、円状(正円、長円)であってもよい。 The first frame material 2 is a structural laminated wood that is longer in the vertical direction than in the horizontal direction (horizontal direction / horizontal direction), and is formed in a square shape in a plan view. In the present embodiment, the structural laminated lumber is used as the first frame material 2, but it may be a normal square lumber or, for example, a pillar lumber made of LVL (Laminated Veneer Lumber). That is, the first frame material 2 is a wooden columnar member. Further, the cross-sectional shape may not be a square shape but may be a rectangular shape or a circular shape (a perfect circle or an oval).

第一フレーム材2のうち、複数の連結材3が配置される位置(隣り合う第一フレーム材2における互いに対向する側面であり、以下、内側面2dと呼称する。)には、当該複数の連結材3の端部が差し込まれて接合される複数の接合用差込穴2a又は複数の接合用差込穴2bが、上下方向に間隔を空けて形成されている。
複数の接合用差込穴2aは、図2に示すように、第一フレーム材2を左右方向に貫通しない穴(非貫通孔)であり、隣り合う第一フレーム材2における内側面2dに形成されている。
複数の接合用差込穴2bは、図3に示すように、第一フレーム材2を左右方向に貫通する貫通孔であり、隣り合う第一フレーム材2における内側面2dから、当該内側面2dとは反対側の、隣り合う第一フレーム材2における互いに平行かつ対向しない側面(以下、外側面2e)にかけて貫通形成されている。
なお、本実施形態においては、図2に示す接合用差込穴2aを採用するが、図3に示す接合用差込穴2bを採用してもよく、特に限定されるものではない。
また、第一フレーム材2の上端部には、上記の差込穴2cが形成されている。図示はしないが、第一フレーム材2の下端部にも差込穴2cが形成されている。
Among the first frame members 2, the plurality of connecting members 3 are arranged at positions (the sides facing each other in the adjacent first frame members 2 and hereinafter referred to as inner side surfaces 2d). A plurality of joining insertion holes 2a or a plurality of joining insertion holes 2b into which the ends of the connecting members 3 are inserted and joined are formed at intervals in the vertical direction.
As shown in FIG. 2, the plurality of insertion holes 2a for joining are holes (non-penetrating holes) that do not penetrate the first frame material 2 in the left-right direction, and are formed on the inner side surface 2d of the adjacent first frame material 2. Has been done.
As shown in FIG. 3, the plurality of insertion holes 2b for joining are through holes that penetrate the first frame material 2 in the left-right direction, and from the inner side surface 2d of the adjacent first frame material 2 to the inner side surface 2d. It is formed to penetrate through the side surfaces (hereinafter, outer surface 2e) of the adjacent first frame members 2 that are parallel to each other and do not face each other on the opposite side.
In the present embodiment, the joining insertion hole 2a shown in FIG. 2 is adopted, but the joining insertion hole 2b shown in FIG. 3 may be adopted and is not particularly limited.
Further, the above-mentioned insertion hole 2c is formed at the upper end portion of the first frame material 2. Although not shown, an insertion hole 2c is also formed at the lower end of the first frame material 2.

複数の連結材3は、水平方向(横方向・左右方向)に長尺な棒材であり、本実施形態においては、異形棒鋼や全ねじボルト等のように、表面に凹凸のある長尺な棒材が好適に用いられる。そのため、本実施形態においては、連結材3を、以下、連結用棒材3と呼称する。
そして、複数の連結用棒材3は、隣り合う第一フレーム材2の長さ方向(上下方向)に並んで、かつ、隣り合う第一フレーム材2の長さ方向(上下方向)に互いに間隔を空けて設けられている。複数の連結用棒材3同士の間隔は、本実施形態においては等間隔とされているが、異なる間隔で配置されてもよい。また、これら複数の連結用棒材3は、隣り合う第一フレーム材2の下端部から上端部にかけて、なるべく満遍なく設けられることが望ましい。また、耐力壁1に用いられる本数も、数本(例えば3〜4本)程度ではなく、例えば10本以上など、より数多く用いられることが望ましい。
The plurality of connecting members 3 are long bars in the horizontal direction (horizontal direction / horizontal direction), and in the present embodiment, they are long bars having irregularities on the surface, such as deformed steel bars and all-screw bolts. Bars are preferably used. Therefore, in the present embodiment, the connecting member 3 is hereinafter referred to as a connecting rod member 3.
The plurality of connecting rods 3 are arranged in the length direction (vertical direction) of the adjacent first frame members 2 and spaced apart from each other in the length direction (vertical direction) of the adjacent first frame members 2. It is provided with a space. Although the intervals between the plurality of connecting rods 3 are equal in the present embodiment, they may be arranged at different intervals. Further, it is desirable that the plurality of connecting rods 3 are provided as evenly as possible from the lower end to the upper end of the adjacent first frame members 2. Further, it is desirable that the number of the bearing wall 1 used is not about several (for example, 3 to 4) but more, for example, 10 or more.

また、複数の連結用棒材3は、その両端部が、隣り合う第一フレーム材2に対してグルードインロッドの方法によって接合されている。より詳細に説明すると、連結用棒材3と第一フレーム材2側の接合用差込穴2aとの空隙に接着剤を充填し、その接着剤の硬化により、応力を接着剤の付着力と連結用棒材3を介して伝達し、接合耐力を発生させる方法である。
すなわち、連結用棒材3と、第一フレーム材2側の接合用差込穴2aとの間には空隙があり、接着剤が充填されていない状態では、連結用棒材3は第一フレーム材2に対して接合されない。
Further, both ends of the plurality of connecting rods 3 are joined to the adjacent first frame members 2 by a glue-in rod method. More specifically, the gap between the connecting rod 3 and the joining insertion hole 2a on the first frame material 2 side is filled with an adhesive, and the stress is applied to the adhesive force of the adhesive by curing the adhesive. This is a method of transmitting through the connecting rod 3 to generate a joining strength.
That is, when there is a gap between the connecting rod 3 and the joining insertion hole 2a on the first frame material 2 side and the adhesive is not filled, the connecting rod 3 is the first frame. Not joined to lumber 2.

耐力壁1が強い外力(水平力)を受けた場合、隣り合う第一フレーム材2は、同一の方向に傾くように動こうとする。このような第一フレーム材2の動きに対し、複数の連結用棒材3が、第一フレーム材2の長さ方向(上下方向)に並んで設けられていると、隣り合う第一フレーム材2が同一の方向に傾こうとする動きを抑制できることとなる。つまり、隣り合う第一フレーム材2に対する複数の連結用棒材3の接合部には、外力に抵抗するモーメント抵抗接合が適用されていることになり、下部構造材6と上部構造材7との間に挟まれた状態に設けられた耐力壁1は、靭性が高い状態となる。
ここで、靭性とは、耐力壁1に対して外力による変形が生じた後も壁としての機能が著しく低下しない粘り強さを発揮するための性質を指し、このような靭性は、隣り合う第一フレーム材2が複数の連結用棒材3によって連結され、かつ、複数の連結用棒材3が、隣り合う第一フレーム材2に対してモーメント抵抗接合されることにより確保される。
When the bearing wall 1 receives a strong external force (horizontal force), the adjacent first frame members 2 tend to move so as to tilt in the same direction. When a plurality of connecting rods 3 are provided side by side in the length direction (vertical direction) of the first frame material 2 in response to such movement of the first frame material 2, adjacent first frame materials 3 are provided. It is possible to suppress the movement of 2 trying to tilt in the same direction. That is, a moment resistance joint that resists an external force is applied to the joint portion of the plurality of connecting rods 3 to the adjacent first frame material 2, and the lower structural material 6 and the upper structural material 7 are connected to each other. The bearing wall 1 provided in a state of being sandwiched between the bearing walls 1 is in a state of high toughness.
Here, the toughness refers to a property for exhibiting tenacity in which the function as a wall does not significantly deteriorate even after the bearing wall 1 is deformed by an external force, and such toughness is the first adjacent to each other. The frame material 2 is connected by a plurality of connecting rods 3, and the plurality of connecting rods 3 are secured by moment resistance joining to the adjacent first frame materials 2.

第二フレーム材5は、隣り合う第一フレーム材2における上端部と下端部のそれぞれに設けられ、隣り合う第一フレーム材2同士を連結している。
第二フレーム材5は、上下方向よりも水平方向(横方向・左右方向)に長尺な構造用であり、縦断面視において正方形状に形成されている。この第二フレーム材5も、第一フレーム材2と同様に、構造用集成材以外の木材でもよい。また、断面形状も、第一フレーム材2と同様に、正方形状でなくてもよい。
なお、第二フレーム材5は、隣り合う第一フレーム材2における上端部と下端部だけでなく、隣り合う第一フレーム材2における上下方向の中間部分などに設けられてもよい。
The second frame material 5 is provided at each of the upper end portion and the lower end portion of the adjacent first frame material 2, and connects the adjacent first frame materials 2 to each other.
The second frame material 5 is for a structure that is longer in the horizontal direction (horizontal direction / horizontal direction) than in the vertical direction, and is formed in a square shape in a vertical cross-sectional view. Like the first frame material 2, the second frame material 5 may be wood other than the structural laminated lumber. Further, the cross-sectional shape does not have to be square as in the first frame material 2.
The second frame member 5 may be provided not only at the upper end and the lower end of the adjacent first frame members 2, but also at an intermediate portion in the vertical direction of the adjacent first frame members 2.

第二フレーム材5の両端部には、当該第二フレーム材5の両端部と隣り合う第一フレーム材2とを接合するための複数の接合用棒材5aが差し込まれる複数の接合用差込穴が形成されている。また、隣り合う第一フレーム材2のうち、第二フレーム材5が配置される位置には、当該第一フレーム材2と第二フレーム材5の端部とを接合する複数の接合用棒材5aが差し込まれる複数の接合用差込穴が形成されている。これら複数の接合用差込穴は、第一フレーム材2を左右方向に貫通する貫通孔である。第二フレーム材5に形成された複数の接合用差込穴の位置と、第一フレーム材2に形成された複数の接合用差込穴の位置は整合している。そのため、複数の接合用棒材5aを、左の第一フレーム材2における左側面と右の第一フレーム材2における右側面から、第二フレーム材5に向かって差し込むことができる(図7参照)。
すなわち、隣り合う第一フレーム材2と第二フレーム材5は、複数の接合用棒材5aによってモーメント抵抗接合されていることになる。
A plurality of joining rods 5a for joining the both ends of the second frame material 5 and the adjacent first frame material 2 are inserted into both ends of the second frame material 5. A hole is formed. Further, among the adjacent first frame members 2, a plurality of joining rods for joining the first frame member 2 and the end portion of the second frame member 5 are located at the positions where the second frame member 5 is arranged. A plurality of joining insertion holes into which 5a is inserted are formed. These plurality of insertion holes for joining are through holes that penetrate the first frame material 2 in the left-right direction. The positions of the plurality of joining insertion holes formed in the second frame material 5 and the positions of the plurality of joining insertion holes formed in the first frame material 2 are aligned with each other. Therefore, a plurality of joining rods 5a can be inserted from the left side surface of the left first frame material 2 and the right side surface of the right first frame material 2 toward the second frame material 5 (see FIG. 7). ).
That is, the adjacent first frame member 2 and the second frame member 5 are moment-resisted joined by a plurality of joining rods 5a.

パネル材4は、合板などの矩形板材である。このようなパネル材4は、幅寸法(左右方向の寸法)が、隣り合う第一フレーム材2間の間隔寸法よりも長く設定され、隣り合う第一フレーム材2のうち同一鉛直面上に配置された正面及び背面の側面2f間に亘って設けられて接着されている。
なお、パネル材4は、一枚の大判なものでもよいし、複数に分割されたパネル材4を上下方向に並べて隣り合う第一フレーム材2間に設けるようにしてもよい。
また、パネル材4は、上下端部の第二フレーム材5に接し、接着によって接合されてもよい。
パネル材4は、第一フレーム材2や上下端部の第二フレーム材5に対して接着により接合されるが、これに限られるものではなく、釘などの固定具によって固定されて接合されてもよい。
また、複数に分割されたパネル材4を上下方向に並べて設ける場合は、接着で接合されたパネル材4と、固定具によって接合されたパネル材4とが混在してもよい。さらに、例えば開口部が形成される箇所などのように、場合によっては、パネル材4が部分的に設けられなくてもよい。
The panel material 4 is a rectangular plate material such as plywood. In such a panel material 4, the width dimension (dimension in the left-right direction) is set longer than the distance dimension between the adjacent first frame members 2, and the panel members 4 are arranged on the same vertical plane among the adjacent first frame members 2. It is provided and adhered between the front and back side surfaces 2f.
The panel material 4 may be a single large-sized material, or a plurality of panel materials 4 may be arranged vertically and provided between the adjacent first frame materials 2.
Further, the panel material 4 may be in contact with the second frame material 5 at the upper and lower ends and may be joined by adhesion.
The panel material 4 is bonded to the first frame material 2 and the second frame material 5 at the upper and lower ends by adhesion, but the present invention is not limited to this, and the panel material 4 is fixed and joined by a fixture such as a nail. May be good.
Further, when the panel materials 4 divided into a plurality of parts are provided side by side in the vertical direction, the panel materials 4 joined by adhesion and the panel materials 4 joined by the fixture may be mixed. Further, in some cases, such as a place where an opening is formed, the panel material 4 may not be partially provided.

以上のようなパネル材4は、木質であるため、ある程度の粘り強さも有しているが、耐力壁1が強い外力を受けた場合には、破壊が生じる場合がある。破壊が生じる直前までは、複数の連結用棒材3と共に耐力壁1を補強する効果を発揮する。 Since the panel material 4 as described above is made of wood, it has a certain degree of tenacity, but when the bearing wall 1 receives a strong external force, it may be destroyed. Until just before the fracture occurs, the effect of reinforcing the bearing wall 1 together with the plurality of connecting rods 3 is exhibited.

以上のように構成された耐力壁1は、例えば、中層・高層の木造建物や、延べ面積の広い木造建物のような、比較的規模の大きな木造建物に組み込まれる。当該木造建物が地震や台風等によって強い外力(水平力)を受けると、耐力壁1は剪断方向に変形しようとする。ここで、隣り合う第一フレーム材2と複数の連結用棒材3との接合部には、モーメント抵抗接合が適用されているので、隣り合う第一フレーム材2と複数の連結用棒材3からなる耐力壁1の骨格部分の変形性能は、パネル材4自体の変形性能よりも高い。そのため、耐力壁1が一定値以上の外力を受けると、パネル材4に破壊が生じる場合がある。
従来公知の耐力壁の場合は、耐力壁に剛性を付与するパネル材に破壊が生じると、耐力壁としての機能を損なう。これに対して、本実施形態によれば、複数の連結用棒材3は、隣り合う第一フレーム材2の長さ方向に並んで、かつ互いに間隔を空けて配置されており、隣り合う第一フレーム材2に対する複数の連結用棒材3の接合部には、モーメント抵抗接合が適用されているため、隣り合う第一フレーム材2と複数の連結用棒材3からなる耐力壁1の骨格部分の靭性を向上させることができる。
そのため、隣り合う第一フレーム材2が外力を受けた場合にも、複数の連結用棒材3によって靭性の高い状態を確保・維持し、耐力壁1としての機能を損なわずに、外力に抵抗できることとなる。これにより、比較的規模の大きな木造建物でも十分な耐震性を維持することができる。
The bearing wall 1 configured as described above is incorporated into a relatively large-scale wooden building such as a middle-rise / high-rise wooden building or a wooden building having a large total area. When the wooden building receives a strong external force (horizontal force) due to an earthquake, a typhoon, or the like, the bearing wall 1 tends to deform in the shearing direction. Here, since moment resistance joining is applied to the joint portion between the adjacent first frame material 2 and the plurality of connecting rods 3, the adjacent first frame material 2 and the plurality of connecting rods 3 are joined. The deformation performance of the skeleton portion of the bearing wall 1 made of the same is higher than the deformation performance of the panel material 4 itself. Therefore, if the bearing wall 1 receives an external force of a certain value or more, the panel material 4 may be damaged.
In the case of a conventionally known bearing wall, if the panel material that imparts rigidity to the bearing wall is broken, the function as the bearing wall is impaired. On the other hand, according to the present embodiment, the plurality of connecting rods 3 are arranged side by side in the length direction of the adjacent first frame members 2 and spaced apart from each other, and are adjacent to each other. Since moment resistance joining is applied to the joints of the plurality of connecting rods 3 to the one frame material 2, the skeleton of the bearing wall 1 composed of the adjacent first frame material 2 and the plurality of connecting rods 3 The toughness of the part can be improved.
Therefore, even when the adjacent first frame members 2 receive an external force, the plurality of connecting rods 3 secure and maintain a high toughness state, and resist the external force without impairing the function as the bearing wall 1. You will be able to do it. As a result, sufficient earthquake resistance can be maintained even in a relatively large-scale wooden building.

また、耐力壁1は、隣り合う第一フレーム材2同士を連結するパネル材4を更に備えているので、パネル材4によって耐力壁1の耐力を向上させることができる。
さらに、隣り合う第一フレーム材2に対する複数の連結用棒材3の接合部に適用されたモーメント抵抗接合は、外力を受けてパネル材4に破壊が生じた後にも、当該外力に抵抗するので、外力を受けてパネル材4に破壊が生じた後であっても、耐力壁1は、複数の連結用棒材3によって靭性の高い状態を確保・維持することができる。
Further, since the load-bearing wall 1 further includes a panel material 4 for connecting the adjacent first frame materials 2, the load-bearing wall 1 can improve the load-bearing wall 1.
Further, the moment resistance joint applied to the joint portion of the plurality of connecting rods 3 with respect to the adjacent first frame material 2 resists the external force even after the panel material 4 is destroyed by the external force. Even after the panel material 4 is destroyed by receiving an external force, the bearing wall 1 can secure and maintain a high toughness state by the plurality of connecting rods 3.

また、第一フレーム材2のうち複数の連結用棒材3が配置される位置に形成された接合用差込穴2a,2bの内側面と、連結用棒材3の外側面との間に空隙が形成され、当該空隙には接着剤が充填されているので、連結用棒材3を保持した状態で接着剤が硬化すると、応力を接着剤の付着力と連結用棒材3を介して伝達し、接合耐力を発生させる。そのため、連結用棒材3を、第一フレーム材2に対して確実にモーメント抵抗接合することができ、隣り合う第一フレーム材2と複数の連結用棒材3からなる耐力壁1の骨格部分の変形性能を格段に向上させることができる。 Further, between the inner side surfaces of the joining insertion holes 2a and 2b formed at positions where a plurality of connecting rods 3 are arranged in the first frame material 2 and the outer surface of the connecting rods 3. Since a gap is formed and the gap is filled with an adhesive, when the adhesive is cured while holding the connecting rod 3, stress is applied to the adhesive force of the adhesive through the connecting rod 3. Transmit and generate joint strength. Therefore, the connecting rod 3 can be reliably moment-resistant bonded to the first frame material 2, and the skeleton portion of the bearing wall 1 composed of the adjacent first frame material 2 and the plurality of connecting rods 3. The deformation performance of the lumber can be significantly improved.

〔変形例〕
なお、本発明を適用可能な実施形態は、上述した実施形態に限定されることなく、本発明の趣旨を逸脱しない範囲で適宜変更可能である。以下、変形例について説明する。以下に挙げる変形例は可能な限り組み合わせてもよい。また、以下の各変形例において、上述の実施形態と共通する要素については、共通の符号を付し、説明を省略又は簡略する。
[Modification example]
The embodiment to which the present invention can be applied is not limited to the above-described embodiment, and can be appropriately changed without departing from the spirit of the present invention. Hereinafter, a modified example will be described. The following modifications may be combined as much as possible. Further, in each of the following modifications, the elements common to the above-described embodiment are designated by a common reference numeral, and the description thereof will be omitted or simplified.

〔変形例1〕
本変形例における耐力壁1Aには、連結材として、単管パイプ13が用いられている。単管パイプ13は、中空筒状に形成された鋼管であり、両端部は開放されている。
隣り合う第一フレーム材2の内側面2dには、複数の単管パイプ13の両端部が差し込まれる複数の接合用差込穴2aが形成されている。
[Modification 1]
A single pipe 13 is used as a connecting material for the bearing wall 1A in this modified example. The single pipe 13 is a steel pipe formed in a hollow cylindrical shape, and both ends are open.
A plurality of joining insertion holes 2a into which both ends of the plurality of single pipes 13 are inserted are formed on the inner side surface 2d of the adjacent first frame members 2.

接合用差込穴2aの内側面と単管パイプ13の外側面との間には空隙が形成され、かつ当該空隙に接着剤が充填されてもよいし、空隙が形成されず、接合用差込穴2aの内側面と単管パイプ13の外側面とがぴったりと接して合致するようにしてもよい。 A gap may be formed between the inner surface of the insertion hole 2a for joining and the outer surface of the single pipe 13, and the gap may be filled with an adhesive, or the gap may not be formed and the difference for joining. The inner surface of the insertion hole 2a and the outer surface of the single pipe 13 may be in close contact with each other.

接合用差込穴2aの内側面と単管パイプ13の外側面との間には空隙が形成され、かつ当該空隙に接着剤が充填される場合は、単管パイプ13の中空部に接着剤が入り込んでもよい。すなわち、単管パイプ13の両端部において、接着剤が、単管パイプ13の外側面と内側面にも接するので、そのまま硬化すれば、接着剤によって単管パイプ13の筒壁を内外から挟み込むことができる。これにより、第一フレーム材2に対する単管パイプ13の接合強度を向上できる。 When a gap is formed between the inner surface of the insertion hole 2a for joining and the outer surface of the single pipe 13, and the gap is filled with an adhesive, the hollow portion of the single pipe 13 is filled with an adhesive. May enter. That is, since the adhesive also contacts the outer side surface and the inner side surface of the single pipe pipe 13 at both ends of the single pipe pipe 13, if it is cured as it is, the cylinder wall of the single pipe pipe 13 is sandwiched from the inside and outside by the adhesive. Can be done. Thereby, the joint strength of the single pipe 13 with respect to the first frame material 2 can be improved.

接合用差込穴2aの内側面と単管パイプ13の外側面との間に空隙が形成されず、接合用差込穴2aの内側面と単管パイプ13の外側面とがぴったりと接して合致する場合は、接合用差込穴2aの内側面と単管パイプ13の外側面との接触面積を広く確保することが望ましい。
接合用差込穴2aの内側面と単管パイプ13の外側面との接触面積を広く確保する場合は、接合用差込穴2aの穴深さを、接着剤を用いる場合よりも深くしてもよい。さらに、接合用差込穴2aの奥行き方向にある穴底に、単管パイプ13の端部開口部に差し込まれて単管パイプ13の内側面に接する突出部を形成してもよい。
このように接合用差込穴2aの内側面と単管パイプ13の外側面との接触面積を広く確保できれば、接着剤によって接着されていなくても、第一フレーム材2に対する単管パイプ13の接合強度を向上できる。
また、貫通孔ではない接合用差込穴2aに替えて、貫通孔である接合用差込穴2bを第一フレーム材2に形成し、それに合わせた長さの単管パイプ13を用いるようにしてもよい。
No gap is formed between the inner surface of the joining insertion hole 2a and the outer surface of the single pipe 13, and the inner surface of the joining insertion hole 2a and the outer surface of the single pipe 13 are in close contact with each other. If they match, it is desirable to secure a wide contact area between the inner surface of the joining insertion hole 2a and the outer surface of the single pipe 13.
When ensuring a wide contact area between the inner surface of the joining insertion hole 2a and the outer surface of the single pipe 13, the hole depth of the joining insertion hole 2a is made deeper than when an adhesive is used. May be good. Further, a protruding portion that is inserted into the end opening of the single pipe pipe 13 and is in contact with the inner side surface of the single pipe pipe 13 may be formed at the bottom of the insertion hole 2a for joining in the depth direction.
If the contact area between the inner surface of the insertion hole 2a for joining and the outer surface of the single pipe 13 can be secured widely in this way, the single pipe 13 can be attached to the first frame material 2 even if it is not bonded by an adhesive. Bond strength can be improved.
Further, instead of the joining insertion hole 2a which is not a through hole, a joining insertion hole 2b which is a through hole is formed in the first frame material 2, and a single pipe 13 having a length corresponding to the through hole is used. You may.

本変形例によれば、隣り合う第一フレーム材2同士を連結する複数の連結材として、比較的安価な単管パイプ13を用いたとしても、隣り合う第一フレーム材2と複数の単管パイプ13からなる耐力壁1Aの骨格部分の靭性を向上させることができる。
そのため、隣り合う第一フレーム材2が外力を受けた場合にも、複数の単管パイプ13によって靭性の高い状態を確保・維持し、耐力壁1Aとしての機能を損なわずに、外力に抵抗できることとなる。これにより、コストや部品点数の上昇を抑えつつ、比較的規模の大きな木造建物でも十分な耐震性を維持することができる。
According to this modification, even if a relatively inexpensive single pipe 13 is used as a plurality of connecting materials for connecting the adjacent first frame materials 2, the adjacent first frame materials 2 and the plurality of single pipes are used. The toughness of the skeleton portion of the bearing wall 1A made of the pipe 13 can be improved.
Therefore, even when the adjacent first frame members 2 receive an external force, a state of high toughness can be secured and maintained by the plurality of single pipes 13, and the external force can be resisted without impairing the function as the bearing wall 1A. It becomes. As a result, it is possible to maintain sufficient earthquake resistance even in a relatively large-scale wooden building while suppressing an increase in cost and the number of parts.

〔変形例2〕
本変形例における耐力壁1Bには、連結材として、長ボルト23が用いられている。本変形例においては、長ボルト23の長さ方向両端部に雄ネジ(図示省略)が形成されているが、長ボルト23のうち、少なくとも一端部に雄ネジが形成されていればよい。なお、このように長ボルト23の一端部にのみ雄ネジを形成するパターンの場合、長ボルト23の他端部は、上記のグルードインロッドの方法を採用する。
隣り合う第一フレーム材2には、複数の長ボルト23の両端部が差し込まれる、貫通孔である複数の接合用差込穴2bが形成されている。これら複数の接合用差込穴2bの内側面には、長ボルト23における雄ネジが合致する雌ネジが形成されている。
[Modification 2]
A long bolt 23 is used as a connecting material for the bearing wall 1B in this modified example. In this modification, male screws (not shown) are formed at both ends of the long bolt 23 in the length direction, but it is sufficient that male screws are formed at least at one end of the long bolt 23. In the case of a pattern in which a male screw is formed only on one end of the long bolt 23 as described above, the above-mentioned glue-in rod method is adopted for the other end of the long bolt 23.
The adjacent first frame members 2 are formed with a plurality of insertion holes 2b for joining, which are through holes into which both ends of the plurality of long bolts 23 are inserted. A female screw that matches the male screw of the long bolt 23 is formed on the inner surface of the plurality of insertion holes 2b for joining.

本変形例における長ボルト23は、両端部が、隣り合う第一フレーム材2のうち互いに平行かつ対向しない外側面2eから側方に突出する長さに設定されている。
長ボルト23における第一フレーム材2の外側面2eから突出する両端部にはナット23aがねじ込まれて設けられている。これにより、隣り合う第一フレーム材2を、左右方向の外側から中央側に向かって挟み込むことができる。
Both ends of the long bolt 23 in this modification are set to have a length that projects laterally from the outer surface 2e of the adjacent first frame members 2 that are parallel to each other and do not face each other.
Nuts 23a are screwed into both ends of the long bolt 23 protruding from the outer surface 2e of the first frame member 2. As a result, the adjacent first frame members 2 can be sandwiched from the outside in the left-right direction toward the center side.

本変形例によれば、第一フレーム材2のうち複数の長ボルト23が配置される位置には、当該複数の長ボルト23の端部が差し込まれる複数の接合用差込穴2bが形成され、接合用差込穴2bの内側面には雌ネジが形成され、長ボルト23は棒状部材であり、連結材23の端部には雄ネジが形成されているので、長ボルト23の端部が、接合用差込穴2bにねじ込まれ、接合用差込穴2bの内側面と長ボルト23の外側面とがぴったりと接して合致する。そのため、接着剤を用いなくても、第一フレーム材2に対する長ボルト23の接合強度を向上できる。そのため、複数の長ボルト23を、隣り合う第一フレーム材2に対して確実にモーメント抵抗接合することができ、隣り合う第一フレーム材2と複数の長ボルト23からなる耐力壁1Bの骨格部分の変形性能を格段に向上させることができる。 According to this modification, a plurality of joining insertion holes 2b into which the ends of the plurality of long bolts 23 are inserted are formed at positions of the first frame material 2 where the plurality of long bolts 23 are arranged. A female screw is formed on the inner surface of the insertion hole 2b for joining, the long bolt 23 is a rod-shaped member, and a male screw is formed at the end of the connecting member 23. Therefore, the end of the long bolt 23 Is screwed into the joining insertion hole 2b, and the inner surface of the joining insertion hole 2b and the outer surface of the long bolt 23 are in close contact with each other. Therefore, the bonding strength of the long bolt 23 to the first frame material 2 can be improved without using an adhesive. Therefore, a plurality of long bolts 23 can be reliably moment-resistant bonded to the adjacent first frame material 2, and the skeleton portion of the bearing wall 1B composed of the adjacent first frame material 2 and the plurality of long bolts 23. The deformation performance of the lumber can be significantly improved.

また、長ボルト23の両端部は、隣り合う第一フレーム材2のうち互いに平行かつ対向しない外側面2eから側方に突出しており、当該突出する両端部にはナット23aが設けられているので、長ボルト23が接合用差込穴2bから引き抜かれることを防止でき、第一フレーム材2に対する長ボルト23の接合強度を更に向上できる。
なお、長ボルト23の両端部は外側面2eから側方に突出し、ナット23aが外側面2eに設けられているが、内側面に接するナットを設けて内外側面から第一フレーム材2を挟み込むようにしてもよい。
また、長ボルト23の両端部を外側面2eから側方に突出させなくてもよい。その場合、ナット23aは第一フレーム材2に埋め込まれる。
Further, both ends of the long bolt 23 project laterally from the outer surface 2e of the adjacent first frame members 2 which are parallel to each other and do not face each other, and nuts 23a are provided at the projecting both ends. , The long bolt 23 can be prevented from being pulled out from the joining insertion hole 2b, and the joining strength of the long bolt 23 with respect to the first frame material 2 can be further improved.
Both ends of the long bolt 23 project laterally from the outer surface 2e, and the nut 23a is provided on the outer surface 2e. However, a nut in contact with the inner side surface is provided so as to sandwich the first frame material 2 from the inner / outer surface. It may be.
Further, both ends of the long bolt 23 do not have to protrude laterally from the outer surface 2e. In that case, the nut 23a is embedded in the first frame material 2.

なお、接合用差込穴2bの内側面に形成された雌ネジと、長ボルト23の外側面に形成された雄ネジとの間に僅かに空隙を形成し、当該空隙に接着剤を充填してもよい。これにより、ネジによる固定と接着剤による固定とを併用できるので、第一フレーム材2に対する長ボルト23の接合強度を向上できる。又は、接合用差込穴2bの内側面に雌ネジを形成せずに、接合用差込穴2bの内側面と長ボルト23の外側面に形成された雄ネジとの間の空隙に接着剤を充填することと、ナット23aによる締め付けを併用して、第一フレーム材2に対する長ボルト23の接合強度を向上させてもよい。 A slight gap is formed between the female screw formed on the inner surface of the insertion hole 2b for joining and the male screw formed on the outer surface of the long bolt 23, and the gap is filled with an adhesive. You may. As a result, fixing with screws and fixing with an adhesive can be used together, so that the joint strength of the long bolt 23 with respect to the first frame material 2 can be improved. Alternatively, instead of forming a female screw on the inner surface of the insertion hole 2b for joining, an adhesive is provided in the gap between the inner surface of the insertion hole 2b for joining and the male screw formed on the outer surface of the long bolt 23. And tightening with the nut 23a may be used in combination to improve the joint strength of the long bolt 23 with respect to the first frame material 2.

〔変形例3〕
本変形例における耐力壁1Cには、連結材として、横架材33が用いられている。横架材33は、上下方向よりも水平方向(横方向・左右方向)に長尺な構造用集成材であり、平断面視において矩形状に形成されている。なお、本実施形態においては、横架材33として構造用集成材が用いられているが、通常の角材でもよいし、例えばLVLによる横架材でもよい。すなわち、横架材33は、木製の梁状部材である。また、断面形状も矩形状ではなく、正方形状でもよい。
[Modification 3]
A horizontal member 33 is used as a connecting material for the bearing wall 1C in this modified example. The horizontal member 33 is a structural laminated wood that is longer in the horizontal direction (horizontal direction / horizontal direction) than in the vertical direction, and is formed in a rectangular shape in a plan view. In this embodiment, the structural laminated lumber is used as the horizontal member 33, but it may be a normal square lumber or, for example, a horizontal member made of LVL. That is, the horizontal member 33 is a wooden beam-shaped member. Further, the cross-sectional shape may be square instead of rectangular.

隣り合う第一フレーム材2のうち、複数の横架材33が配置されて当該複数の横架材33の両端部が差し込まれる位置には、貫通孔である複数の接合用差込穴32bが形成されている。複数の接合用差込穴32bは、横架材33の断面形状に合わせて矩形状の貫通孔として形成されている。
接合用差込穴32bに差し込まれる横架材33の端部断面における縦横の寸法は、横架材33が接合用差込穴32bに差し込まれた場合に、接合用差込穴32bの内側面と、横架材33の外側面との間に空隙が形成されないように設定されている。これにより、接合用差込穴32bの内側面と横架材33の外側面は、ぴったりと接して合致する。
Among the adjacent first frame members 2, a plurality of joining insertion holes 32b, which are through holes, are provided at positions where a plurality of horizontal members 33 are arranged and both ends of the plurality of horizontal members 33 are inserted. It is formed. The plurality of insertion holes 32b for joining are formed as rectangular through holes according to the cross-sectional shape of the horizontal member 33.
The vertical and horizontal dimensions of the end cross section of the horizontal member 33 to be inserted into the joining insertion hole 32b are the inner surface of the joining insertion hole 32b when the horizontal member 33 is inserted into the joining insertion hole 32b. And the outer surface of the horizontal member 33 are set so as not to form a gap. As a result, the inner surface of the joining insertion hole 32b and the outer surface of the horizontal member 33 are in close contact with each other.

接合用差込穴32bの内側面と横架材33の外側面との間に空隙が形成されず、接合用差込穴32bの内側面と横架材33の外側面とがぴったりと接して合致する場合は、接合用差込穴32bの内側面と横架材33の外側面との接触面積を広く確保することが望ましい。そのため、接合用差込穴32bは上記のように貫通孔とされており、横架材33は、隣り合う第一フレーム材2の外側面2e間の長さに設定されている。
なお、横架材33における長さ方向両端面は、隣り合う第一フレーム材2の外側面2eと面一となっている。
No gap is formed between the inner surface of the joining insertion hole 32b and the outer surface of the horizontal member 33, and the inner surface of the joining insertion hole 32b and the outer surface of the horizontal member 33 are in close contact with each other. If they match, it is desirable to secure a wide contact area between the inner surface of the joining insertion hole 32b and the outer surface of the horizontal member 33. Therefore, the insertion hole 32b for joining is a through hole as described above, and the horizontal member 33 is set to the length between the outer surfaces 2e of the adjacent first frame members 2.
Both end faces of the horizontal member 33 in the length direction are flush with the outer surface 2e of the adjacent first frame members 2.

本変形例によれば、貫通孔である接合用差込穴32bに差し込まれる木質の横架材33の端部断面における縦横の寸法は、接合用差込穴32bの内側面と、横架材33の端部における外側面との間に空隙が形成されないように設定されているので、接合用差込穴32bの内側面と横架材33の端部における外側面とがぴったりと接して合致する。そのため、接合用差込穴2aの内側面と横架材33の端部における外側面との接触面積を広く確保すれば、接着剤を用いなくても、第一フレーム材2に対する横架材33の接合強度を向上できる。そのため、複数の横架材33を、隣り合う第一フレーム材2に対して確実にモーメント抵抗接合することができ、隣り合う第一フレーム材2と複数の横架材33からなる耐力壁1Cの骨格部分の変形性能を格段に向上させることができる。 According to this modification, the vertical and horizontal dimensions of the end cross section of the wooden horizontal member 33 to be inserted into the joining insertion hole 32b, which is a through hole, are the inner surface of the joining insertion hole 32b and the horizontal member. Since it is set so that no gap is formed between the outer surface at the end of 33, the inner surface of the joining insertion hole 32b and the outer surface at the end of the horizontal member 33 are in close contact with each other. do. Therefore, if a wide contact area between the inner surface of the insertion hole 2a for joining and the outer surface at the end of the horizontal member 33 is secured, the horizontal member 33 with respect to the first frame member 2 can be secured without using an adhesive. Bond strength can be improved. Therefore, the plurality of horizontal members 33 can be reliably moment-resistant bonded to the adjacent first frame members 2, and the bearing wall 1C composed of the adjacent first frame members 2 and the plurality of horizontal members 33 can be joined. The deformation performance of the skeleton part can be significantly improved.

〔変形例4〕
上記の実施形態におけるパネル材4は、合板などの矩形板材であるとしたが、本変形例における耐力壁1Dのパネル材44は、図8に示すように、中空状に形成された建築用木質パネルが用いられている。
建築用木質パネルは、縦横の框材によって形成された枠体44aと、この枠体44aの少なくとも一側面(本変形例においては正面側及び背面側の双方)に設けられた面材44bと、を有する中空パネル体である。枠体44aの内部には、框材と平行する補強桟材44cを組み込まれており、さらに、グラスウールやロックウール等の断熱材が装填されてもよい。
このような中空状の建築用木質パネルであるパネル材44は、図8,図9に示すように、隣り合う第一フレーム材2における内側面2d間に架け渡されて設けられる。また、パネル材44は、複数の連結用棒材3の正面側と背面側のうち、いずれか一方若しくは両方に設けられる。このとき、複数の連結用棒材3は、図9に示すように、隣り合う第一フレーム材2の軸心よりも正面側又は背面側にずれて配置されてもよい。さらに、隣り合う第一フレーム材2のうち同一鉛直面上に配置された正面及び背面の側面2fと、パネル材44の表面は面一の状態になっていることが好ましい。
[Modification example 4]
The panel material 4 in the above embodiment is assumed to be a rectangular plate material such as plywood, but the panel material 44 of the bearing wall 1D in this modified example is a hollow lumber for construction as shown in FIG. Panels are used.
The wooden panel for construction includes a frame body 44a formed of vertical and horizontal frame members, and face members 44b provided on at least one side surface (both front side and back side in this modification) of the frame body 44a. It is a hollow panel body having. A reinforcing bar 44c parallel to the stile material is incorporated in the frame body 44a, and a heat insulating material such as glass wool or rock wool may be further loaded.
As shown in FIGS. 8 and 9, the panel material 44, which is such a hollow wooden panel for construction, is provided so as to be bridged between the inner side surfaces 2d of the adjacent first frame material 2. Further, the panel material 44 is provided on one or both of the front side and the back side of the plurality of connecting rods 3. At this time, as shown in FIG. 9, the plurality of connecting rods 3 may be arranged so as to be offset from the axial center of the adjacent first frame members 2 to the front side or the back side. Further, it is preferable that the front and back side surfaces 2f of the adjacent first frame members 2 arranged on the same vertical surface and the surface of the panel member 44 are flush with each other.

本変形例におけるパネル材44によれば、面材44bが枠体44aに接着されて一体化しているため、矩形板材からなるパネル材4とは異なり、パーツ全体(枠体44a、面材44b、補強桟材44c)で剛性と強度を保持するようになっている。
また、パネル材44自体は、木質であるため、ある程度の粘り強さも有しているが、耐力壁1Dが強い外力を受けた場合には、破壊が生じる場合がある。しかしながら、隣り合う第一フレーム材2に対する複数の連結用棒材3の接合部には、モーメント抵抗接合が適用されているため、隣り合う第一フレーム材2と複数の連結用棒材3からなる耐力壁1の骨格部分の靭性を向上させることができる。
According to the panel material 44 in this modification, since the face material 44b is adhered to and integrated with the frame body 44a, unlike the panel material 4 made of a rectangular plate material, the entire parts (frame body 44a, face material 44b, Reinforcing bar timber 44c) is designed to maintain rigidity and strength.
Further, since the panel material 44 itself is made of wood, it has a certain degree of tenacity, but when the bearing wall 1D receives a strong external force, it may be destroyed. However, since moment resistance joining is applied to the joints of the plurality of connecting rods 3 with respect to the adjacent first frame members 2, the first frame members 2 adjacent to each other and the plurality of connecting rods 3 are formed. The toughness of the skeleton portion of the bearing wall 1 can be improved.

〔変形例5〕
本変形例における耐力壁1Eは、図10に示すように、平面視においてコーナ部Cを介して直交配置されており、平面視においてロ字状に形成された四角筒状の柱状体50を構成している。
換言すれば、柱状体50は、四側面に耐力壁1Eを備えた状態となっている。より詳細に説明すると、当該柱状体50は、四隅に配置された4本の第一フレーム材2と、隣り合う第一フレーム材2間に設けられた連結用棒材3及びパネル材44と、を含んで構成されている。なお、パネル材44は、矩形板材からなるパネル材4を採用してもよい。
[Modification 5]
As shown in FIG. 10, the bearing walls 1E in this modified example are arranged orthogonally via the corner portion C in a plan view, and form a square cylindrical columnar body 50 formed in a square shape in a plan view. doing.
In other words, the columnar body 50 is in a state of having bearing walls 1E on four side surfaces. More specifically, the columnar body 50 includes four first frame members 2 arranged at four corners, a connecting rod 3 and a panel member 44 provided between adjacent first frame members 2. Is configured to include. As the panel material 44, the panel material 4 made of a rectangular plate material may be adopted.

耐力壁1Eを、平面視においてコーナ部Cを介して直交配置する場合は、コーナ部Cを介して隣接する耐力壁1E同士が、1本の第一フレーム材2を共有することになるが、その場合、一方の耐力壁1Eにおける連結用棒材3と、他方の耐力壁1Eにおける連結用棒材3との納まりに不具合が生じないようにする必要がある。 When the bearing walls 1E are arranged orthogonally via the corner portion C in a plan view, the bearing walls 1E adjacent to each other via the corner portion C share one first frame member 2. In that case, it is necessary to prevent a problem in fitting the connecting rod 3 on one bearing wall 1E and the connecting rod 3 on the other bearing wall 1E.

図10,図11においては、隣接する耐力壁1Eの連結用棒材3同士が干渉しないように、上下方向の位置が互い違いになるように並べられて配置されている。このような配置にすれば、連結用棒材3が第一フレーム材2に形成された接合用差込穴2a(2b)に差し込まれる差し込み深さ(連結用棒材3の長さ)に関係なく、隣接する耐力壁1Eの連結用棒材3同士を直交配置することが可能となる。 In FIGS. 10 and 11, the connecting rods 3 of the adjacent bearing walls 1E are arranged so as to be staggered in the vertical direction so as not to interfere with each other. With such an arrangement, it is related to the insertion depth (the length of the connecting rod 3) in which the connecting rod 3 is inserted into the joining insertion holes 2a (2b) formed in the first frame material 2. Instead, the connecting rods 3 of the adjacent bearing walls 1E can be arranged orthogonally to each other.

図12は、隣接する耐力壁1Eの連結用棒材3同士が、上下方向において同一の位置(高さ位置)に設けられた場合の構造を示している。
すなわち、直交する連結用棒材3同士が同一の高さ位置に配置されるため、第一フレーム材2には、第一差込穴52aと、第二差込穴52bと、からなる直交型差込穴52aが形成されている。図12における直交型差込穴52は、平断面視において十字状に形成されており、一方の連結用棒材3が第一差込穴52aに深く差し込まれている。また、他方の連結用棒材3が第二差込穴52bに浅く差し込まれ、かつ、先端が、第一差込穴52aに差し込まれた一方の連結用棒材3に接している。
このような状態で直交型差込穴52に接着剤を充填し、その接着剤を硬化させれば、応力を接着剤の付着力と双方の連結用棒材3を介して伝達し、接合耐力を発生させることが可能となる(グルードインロッドの方法)。
FIG. 12 shows a structure in which the connecting rods 3 of the adjacent bearing walls 1E are provided at the same position (height position) in the vertical direction.
That is, since the orthogonal connecting rods 3 are arranged at the same height position, the first frame material 2 is an orthogonal type including a first insertion hole 52a and a second insertion hole 52b. An insertion hole 52a is formed. The orthogonal type insertion hole 52 in FIG. 12 is formed in a cross shape in a plan sectional view, and one of the connecting rods 3 is deeply inserted into the first insertion hole 52a. Further, the other connecting rod 3 is shallowly inserted into the second insertion hole 52b, and the tip is in contact with the one connecting rod 3 inserted into the first insertion hole 52a.
If the orthogonal type insertion hole 52 is filled with an adhesive in such a state and the adhesive is cured, the stress is transmitted through the adhesive force of the adhesive and the connecting rods 3 of both, and the joining strength is increased. (Glue-in rod method).

なお、図12に示す直交型差込穴52は、平断面視において十字状に形成されているが、これに限られるものではなく、平断面視L字状に形成されてもよいし、平断面視T字状に形成されてもよい。
平断面視L字状に形成される場合は、一方及び他方の連結用棒材3における長さ寸法を揃えてもよいし、接触し合う端部を斜め45度にカットして直角に配置できるようにしてもよい。
平断面視T字状に形成される場合は、深く差し込まれる方の連結用棒材3から差し込み、その後に、浅く差し込まれる方の連結用棒材3を差し込む、という手順を規定することができる。
また、図10に示す柱状体50において、隣接する耐力壁1Eの連結用棒材3同士を同一の高さ位置に設ける場合は、図12に示す構造を四隅に採用すれば、連結用棒材3の長さを全て揃えることができる。
The orthogonal insertion hole 52 shown in FIG. 12 is formed in a cross shape in a plan view, but is not limited to this, and may be formed in an L shape in a plan view, or may be flat. It may be formed in a T shape in cross section.
When it is formed in an L shape in a plan view, the length dimensions of one and the other connecting rods 3 may be the same, or the contacting ends may be cut at an angle of 45 degrees and arranged at a right angle. You may do so.
When it is formed in a T-shape in a cross-sectional view, it is possible to specify a procedure in which the connecting rod 3 to be inserted deeply is inserted first, and then the connecting rod 3 to be inserted shallowly is inserted. ..
Further, in the columnar body 50 shown in FIG. 10, when the connecting rods 3 of the adjacent bearing walls 1E are provided at the same height position, if the structure shown in FIG. 12 is adopted at the four corners, the connecting rods can be used. All the lengths of 3 can be made uniform.

本変形例によれば、一方の耐力壁1Eにおける連結用棒材3と、他方の耐力壁1Eにおける連結用棒材3を、1本の第一フレーム材2を共有して当該第一フレーム材2に差し込むことができるので、隣接する耐力壁1Eにおける連結用棒材3同士が干渉し合うことがなく、耐力壁1Eを平面視においてコーナ部Cを介して直交配置する場合に、支障がない。
さらに、耐力壁1Eを平面視において直交配置すれば、少なくとも2方向に耐力を発揮することになるので、比較的規模の大きな木造建物でも十分な耐震性を維持することができる。
According to this modification, the connecting rod 3 on one bearing wall 1E and the connecting rod 3 on the other bearing wall 1E share one first frame material 2 and the first frame material. Since it can be inserted into 2, the connecting rods 3 on the adjacent bearing wall 1E do not interfere with each other, and there is no problem when the bearing wall 1E is arranged orthogonally via the corner portion C in a plan view. ..
Further, if the bearing walls 1E are arranged orthogonally in a plan view, the bearing walls are exhibited in at least two directions, so that sufficient earthquake resistance can be maintained even in a relatively large-scale wooden building.

〔変形例6〕
本変形例においては、図13に示すように、1本の第一フレーム材2を共有して隣接する複数の耐力壁1Fが、平面視において同一方向に設けられている。本変形例の場合も、一方の耐力壁1Fにおける連結材23と、他方の耐力壁1Eにおける連結材23との納まりに不具合が生じないようにする必要がある。
[Modification 6]
In this modification, as shown in FIG. 13, a plurality of bearing walls 1F that share one first frame member 2 and are adjacent to each other are provided in the same direction in a plan view. Also in the case of this modification, it is necessary to prevent a problem in fitting the connecting member 23 on one bearing wall 1F and the connecting member 23 on the other bearing wall 1E.

図13においては、隣接する耐力壁1Fの連結材23同士が干渉しないように、上下方向の位置が互い違いになるように並べられて配置されている。
このような配置にすれば、連結材23が第一フレーム材2に形成された接合用差込穴2a(2b)に差し込まれる差し込み深さ(連結材23の長さ)に関係なく、隣接する耐力壁1Fの連結材23同士を、平面視において同一方向に配置することが可能となる。
特に、本変形例においては、連結材23として長ボルト23を使用している。そのため、ナット23aで締め付ける必要がある分、長ボルト23の両端部が側方に突出するが、隣接する耐力壁1Fにおける長ボルト23同士を上下互い違いに配置すれば、当該長ボルト23同士が干渉し合うことがないので、納まりの面で支障がない。
In FIG. 13, the connecting members 23 on the adjacent bearing wall 1F are arranged so as to be staggered in the vertical direction so as not to interfere with each other.
With such an arrangement, the connecting member 23 is adjacent to the connecting member 23 regardless of the insertion depth (length of the connecting member 23) inserted into the joining insertion hole 2a (2b) formed in the first frame member 2. The connecting members 23 on the bearing wall 1F can be arranged in the same direction in a plan view.
In particular, in this modification, the long bolt 23 is used as the connecting member 23. Therefore, both ends of the long bolts 23 project sideways because they need to be tightened with the nuts 23a, but if the long bolts 23 on the adjacent bearing wall 1F are arranged alternately up and down, the long bolts 23 interfere with each other. Since there is no mutual interaction, there is no problem in terms of fitting.

なお、本変形例においては、連結材23として長ボルト23を使用したが、これに限られるものではなく、上記の実施形態及び各変形例で挙げたような他の連結材を使用してもよい。 In this modified example, the long bolt 23 is used as the connecting material 23, but the present invention is not limited to this, and other connecting materials as described in the above-described embodiment and each modified example may be used. good.

〔変形例7〕
上記の実施形態及び各変形例で挙げられた連結材(異形棒鋼、全ねじボルト、単管パイプ、長ボルト、木質の横架材)の他にも、丸棒や角型鋼管(角パイプ)等を連結材として適宜採用してもよい。
[Modification 7]
In addition to the connecting materials (deformed steel bars, full-threaded bolts, single pipes, long bolts, wood horizontal members) mentioned in the above embodiments and each modification, round bars and square steel pipes (square pipes) Etc. may be appropriately adopted as a connecting material.

1 耐力壁
2 第一フレーム材
2a 接合用差込穴
2b 接合用差込穴
2d 内側面
2e 外側面
3 連結用棒材
4 パネル材
13 単管パイプ
23 長ボルト
23a ナット
32b 接合用差込穴
33 横架材
1 Load-bearing wall 2 First frame material 2a Insertion hole for joining 2b Insertion hole for joining 2d Inner side surface 2e Outer side surface 3 Connecting rod 4 Panel material 13 Single pipe pipe 23 Long bolt 23a Nut 32b Inserting hole for joining 33 Horizontal material

Claims (6)

互いに間隔を空けて隣り合う第一フレーム材と、
両端部が前記隣り合う第一フレーム材に接合され、前記隣り合う第一フレーム材同士を連結する複数の連結材と、を備えており、
前記複数の連結材は、前記隣り合う第一フレーム材の長さ方向に並んで、かつ互いに間隔を空けて配置されており、
前記隣り合う第一フレーム材に対する前記複数の連結材の接合部には、前記隣り合う第一フレーム材が外力を受けた場合に、当該外力に抵抗するモーメント抵抗接合が適用されていることを特徴とする耐力壁構造。
The first frame material, which is adjacent to each other with a space between them,
Both ends are joined to the adjacent first frame material, and a plurality of connecting materials for connecting the adjacent first frame materials are provided.
The plurality of connecting members are arranged side by side in the length direction of the adjacent first frame members and at intervals from each other.
A feature is that a moment resistance joint that resists the external force when the adjacent first frame material receives an external force is applied to the joint portion of the plurality of connecting materials to the adjacent first frame material. Bearing wall structure.
請求項1に記載の耐力壁構造において、
前記隣り合う第一フレーム材同士を連結するパネル材を更に備えており、
前記隣り合う第一フレーム材に対する前記複数の連結材の接合部に適用された前記モーメント抵抗接合は、前記外力を受けて前記パネル材に破壊が生じた後にも、当該外力に抵抗することを特徴とする耐力壁構造。
In the bearing wall structure according to claim 1,
A panel material for connecting the adjacent first frame materials is further provided.
The moment resistance joint applied to the joint portion of the plurality of connecting materials to the adjacent first frame material is characterized in that it resists the external force even after the panel material is broken by receiving the external force. Bearing wall structure.
請求項1又は2に記載の耐力壁構造において、
前記第一フレーム材のうち前記複数の連結材が配置される位置には、当該複数の連結材の端部が差し込まれる複数の接合用差込穴が形成され、
前記接合用差込穴の内側面と、前記連結材の外側面との間に空隙が形成され、当該空隙には接着剤が充填されていることを特徴とする耐力壁構造。
In the bearing wall structure according to claim 1 or 2,
At the position where the plurality of connecting members are arranged in the first frame material, a plurality of joining insertion holes into which the ends of the plurality of connecting members are inserted are formed.
A bearing wall structure characterized in that a gap is formed between the inner surface of the insertion hole for joining and the outer surface of the connecting member, and the gap is filled with an adhesive.
請求項1又は2に記載の耐力壁構造において、
前記第一フレーム材のうち前記複数の連結材が配置される位置には、当該複数の連結材の端部が差し込まれる複数の接合用差込穴が形成され、
前記接合用差込穴に差し込まれる前記連結材の端部断面における縦横の寸法は、前記接合用差込穴の内側面と、前記連結材の端部における外側面との間に空隙が形成されないように設定されていることを特徴とする耐力壁構造。
In the bearing wall structure according to claim 1 or 2,
At the position where the plurality of connecting members are arranged in the first frame material, a plurality of joining insertion holes into which the ends of the plurality of connecting members are inserted are formed.
The vertical and horizontal dimensions of the end cross section of the connecting member to be inserted into the joining insertion hole are such that a gap is not formed between the inner surface of the joining insertion hole and the outer surface at the end of the connecting member. A bearing wall structure characterized by being set in such a way.
請求項1又は2に記載の耐力壁構造において、
前記第一フレーム材のうち前記複数の連結材が配置される位置には、当該複数の連結材の端部が差し込まれる複数の接合用差込穴が形成され、
前記接合用差込穴の内側面には雌ネジが形成され、
前記連結材は棒状部材であり、前記連結材の端部には雄ネジが形成されていることを特徴とする耐力壁構造。
In the bearing wall structure according to claim 1 or 2,
At the position where the plurality of connecting members are arranged in the first frame material, a plurality of joining insertion holes into which the ends of the plurality of connecting members are inserted are formed.
A female screw is formed on the inner surface of the insertion hole for joining.
The bearing wall structure is characterized in that the connecting member is a rod-shaped member and a male screw is formed at an end portion of the connecting member.
請求項5に記載の耐力壁構造において、
前記連結材の両端部は、前記隣り合う第一フレーム材のうち互いに平行かつ対向しない外側面から側方に突出しており、当該突出する両端部にはナットが設けられていることを特徴とする耐力壁構造。
In the bearing wall structure according to claim 5,
Both ends of the connecting member project laterally from the outer surfaces of the adjacent first frame members that are parallel to each other and do not face each other, and nuts are provided at both ends of the projecting members. Load-bearing wall structure.
JP2020061033A 2020-03-30 2020-03-30 Load-bearing wall structure Active JP7523764B2 (en)

Priority Applications (1)

Application Number Priority Date Filing Date Title
JP2020061033A JP7523764B2 (en) 2020-03-30 2020-03-30 Load-bearing wall structure

Applications Claiming Priority (1)

Application Number Priority Date Filing Date Title
JP2020061033A JP7523764B2 (en) 2020-03-30 2020-03-30 Load-bearing wall structure

Publications (2)

Publication Number Publication Date
JP2021161620A true JP2021161620A (en) 2021-10-11
JP7523764B2 JP7523764B2 (en) 2024-07-29

Family

ID=78002757

Family Applications (1)

Application Number Title Priority Date Filing Date
JP2020061033A Active JP7523764B2 (en) 2020-03-30 2020-03-30 Load-bearing wall structure

Country Status (1)

Country Link
JP (1) JP7523764B2 (en)

Cited By (2)

* Cited by examiner, † Cited by third party
Publication number Priority date Publication date Assignee Title
JP2023137449A (en) * 2022-03-18 2023-09-29 学校法人明治大学 Framework reinforcement structure
JP2024043920A (en) * 2022-09-20 2024-04-02 ミサワホーム株式会社 Vibration-damping walls and wooden prefabricated columns

Citations (5)

* Cited by examiner, † Cited by third party
Publication number Priority date Publication date Assignee Title
JPS641876A (en) * 1987-06-24 1989-01-06 Taisei Corp Variable rigid connection of bearing wall
JP2006097396A (en) * 2004-09-30 2006-04-13 Daiwa House Ind Co Ltd High rigidity lattice wall
JP3132427U (en) * 2007-03-29 2007-06-07 輝北プレスウッド株式会社 Wooden building wall reinforcement frame
JP2008255624A (en) * 2007-04-04 2008-10-23 Aqura Home Co Ltd Bearing wall
JP2011153437A (en) * 2010-01-26 2011-08-11 Norimine Okura Reinforcing hardware

Patent Citations (5)

* Cited by examiner, † Cited by third party
Publication number Priority date Publication date Assignee Title
JPS641876A (en) * 1987-06-24 1989-01-06 Taisei Corp Variable rigid connection of bearing wall
JP2006097396A (en) * 2004-09-30 2006-04-13 Daiwa House Ind Co Ltd High rigidity lattice wall
JP3132427U (en) * 2007-03-29 2007-06-07 輝北プレスウッド株式会社 Wooden building wall reinforcement frame
JP2008255624A (en) * 2007-04-04 2008-10-23 Aqura Home Co Ltd Bearing wall
JP2011153437A (en) * 2010-01-26 2011-08-11 Norimine Okura Reinforcing hardware

Cited By (3)

* Cited by examiner, † Cited by third party
Publication number Priority date Publication date Assignee Title
JP2023137449A (en) * 2022-03-18 2023-09-29 学校法人明治大学 Framework reinforcement structure
JP7762381B2 (en) 2022-03-18 2025-10-30 学校法人明治大学 Frame reinforcement structure
JP2024043920A (en) * 2022-09-20 2024-04-02 ミサワホーム株式会社 Vibration-damping walls and wooden prefabricated columns

Also Published As

Publication number Publication date
JP7523764B2 (en) 2024-07-29

Similar Documents

Publication Publication Date Title
JP7649899B2 (en) Wall structure and construction method of wall structure
JP3581426B2 (en) Structural materials and floor and roof structures of wooden buildings and construction methods using them
JP2024143166A (en) Joint structure between beam and earthquake-resistant wall
JP2021161620A (en) Load-bearing wall structure
JP7685148B2 (en) Shear wall panel connection structure
JP7015624B2 (en) Bearing wall
JP7496574B2 (en) Load-bearing wall structure
JP6860354B2 (en) Building structure
JP3971836B2 (en) Wall panels
JP2024139186A (en) Joint structure of wooden pillars and reinforced concrete foundation
JP4904100B2 (en) Connection structure between building unit and foundation, method for connecting building unit and foundation, and unit building
JP7383195B1 (en) load-bearing wall structure
JP2023137449A (en) Framework reinforcement structure
JP2948716B2 (en) Wooden frame panel structure
WO2021245735A1 (en) Laminated wood joint structure
JP2023137447A (en) Bearing wall and bearing structure
JP7771595B2 (en) wooden frame structure
JP3192439B2 (en) Joining structure of building components
JP7637337B2 (en) Shear wall panel connection structure
JP7782609B1 (en) Building walls and structures
JP2020163770A (en) Woody panel, woody panel composite body and woody panel mount structure
JP2000234407A (en) Earthquake-resistant wall structure using wooden gate frame
JP2503753Y2 (en) Floor panels in wooden structures
JP2024061007A (en) Wooden bearing wall
JP2025093449A (en) Joint structure of wooden column units and steel beams

Legal Events

Date Code Title Description
A711 Notification of change in applicant

Free format text: JAPANESE INTERMEDIATE CODE: A711

Effective date: 20221005

A621 Written request for application examination

Free format text: JAPANESE INTERMEDIATE CODE: A621

Effective date: 20221219

A977 Report on retrieval

Free format text: JAPANESE INTERMEDIATE CODE: A971007

Effective date: 20230921

A131 Notification of reasons for refusal

Free format text: JAPANESE INTERMEDIATE CODE: A131

Effective date: 20230926

A521 Request for written amendment filed

Free format text: JAPANESE INTERMEDIATE CODE: A523

Effective date: 20231122

A131 Notification of reasons for refusal

Free format text: JAPANESE INTERMEDIATE CODE: A131

Effective date: 20240123

A521 Request for written amendment filed

Free format text: JAPANESE INTERMEDIATE CODE: A523

Effective date: 20240306

TRDD Decision of grant or rejection written
A01 Written decision to grant a patent or to grant a registration (utility model)

Free format text: JAPANESE INTERMEDIATE CODE: A01

Effective date: 20240611

A61 First payment of annual fees (during grant procedure)

Free format text: JAPANESE INTERMEDIATE CODE: A61

Effective date: 20240705

R150 Certificate of patent or registration of utility model

Ref document number: 7523764

Country of ref document: JP

Free format text: JAPANESE INTERMEDIATE CODE: R150