JP2021065933A - Punching die arrangement capable of suppressing deformation of workpiece - Google Patents

Punching die arrangement capable of suppressing deformation of workpiece Download PDF

Info

Publication number
JP2021065933A
JP2021065933A JP2020027585A JP2020027585A JP2021065933A JP 2021065933 A JP2021065933 A JP 2021065933A JP 2020027585 A JP2020027585 A JP 2020027585A JP 2020027585 A JP2020027585 A JP 2020027585A JP 2021065933 A JP2021065933 A JP 2021065933A
Authority
JP
Japan
Prior art keywords
space
wall
punching
processed product
plate
Prior art date
Legal status (The legal status is an assumption and is not a legal conclusion. Google has not performed a legal analysis and makes no representation as to the accuracy of the status listed.)
Granted
Application number
JP2020027585A
Other languages
Japanese (ja)
Other versions
JP6784903B1 (en
Inventor
鄭▲けい▼▲きん▼
Jiongxin Zheng
Current Assignee (The listed assignees may be inaccurate. Google has not performed a legal analysis and makes no representation or warranty as to the accuracy of the list.)
Hangzho West Nonelectronic Information Technology Co Ltd
Original Assignee
Hangzho West Nonelectronic Information Technology Co Ltd
Priority date (The priority date is an assumption and is not a legal conclusion. Google has not performed a legal analysis and makes no representation as to the accuracy of the date listed.)
Filing date
Publication date
Application filed by Hangzho West Nonelectronic Information Technology Co Ltd filed Critical Hangzho West Nonelectronic Information Technology Co Ltd
Application granted granted Critical
Publication of JP6784903B1 publication Critical patent/JP6784903B1/en
Publication of JP2021065933A publication Critical patent/JP2021065933A/en
Expired - Fee Related legal-status Critical Current
Anticipated expiration legal-status Critical

Links

Images

Classifications

    • BPERFORMING OPERATIONS; TRANSPORTING
    • B21MECHANICAL METAL-WORKING WITHOUT ESSENTIALLY REMOVING MATERIAL; PUNCHING METAL
    • B21DWORKING OR PROCESSING OF SHEET METAL OR METAL TUBES, RODS OR PROFILES WITHOUT ESSENTIALLY REMOVING MATERIAL; PUNCHING METAL
    • B21D28/00Shaping by press-cutting; Perforating
    • B21D28/02Punching blanks or articles with or without obtaining scrap; Notching
    • BPERFORMING OPERATIONS; TRANSPORTING
    • B21MECHANICAL METAL-WORKING WITHOUT ESSENTIALLY REMOVING MATERIAL; PUNCHING METAL
    • B21DWORKING OR PROCESSING OF SHEET METAL OR METAL TUBES, RODS OR PROFILES WITHOUT ESSENTIALLY REMOVING MATERIAL; PUNCHING METAL
    • B21D28/00Shaping by press-cutting; Perforating
    • B21D28/02Punching blanks or articles with or without obtaining scrap; Notching
    • B21D28/04Centering the work; Positioning the tools
    • BPERFORMING OPERATIONS; TRANSPORTING
    • B21MECHANICAL METAL-WORKING WITHOUT ESSENTIALLY REMOVING MATERIAL; PUNCHING METAL
    • B21DWORKING OR PROCESSING OF SHEET METAL OR METAL TUBES, RODS OR PROFILES WITHOUT ESSENTIALLY REMOVING MATERIAL; PUNCHING METAL
    • B21D28/00Shaping by press-cutting; Perforating
    • B21D28/02Punching blanks or articles with or without obtaining scrap; Notching
    • B21D28/20Applications of drives for reducing noise or wear

Landscapes

  • Engineering & Computer Science (AREA)
  • Mechanical Engineering (AREA)
  • Punching Or Piercing (AREA)

Abstract

To provide a punching die arrangement which can suppress deformation of a workpiece.SOLUTION: A punching die arrangement comprises a main body. A clamping cavity opened to the right is arranged in the main body. A punching cavity opened to the left is arranged in an inner wall of a left side of the clamping cavity so as to communicate with the clamping cavity. A workpiece is placed between the punching cavity and the clamping cavity. A driving device is arranged in an inner wall of an upper side of the clamping cavity. According to the present invention, the workpiece can be clamped, the workpiece can be kept a horizontal state during machining; machining errors are reduced; the workpiece can be prevented from a problem of deformation after punching; and a cross section of a shear contour of the workpiece is completely determined by the cross section of a die, corresponding dies are not needed, and the production cost is suppressed.SELECTED DRAWING: Figure 1

Description

本願発明は金型分野に関わり、具体的には加工品の変形を抑えられる押し抜き型設備である。 The present invention is related to the mold field, and specifically, is a punching die equipment capable of suppressing deformation of a processed product.

押し抜きとはダイを利用して一部の材料あるいは工程物を他の部分の材料、加工品または無用の材料から分離させるプレス工程であり、押し抜きはせん断、材料落とし、穴抜き、溝抜き、カット、切割り、縁切り、舌切り、切り裂きなどの分離工程の総称であり、押し抜き過程に、輪郭線の附近の金属をせん断すること以外、加工品の板材料自身は塑性変形が発生しなく、そのため、平板押し抜き加工の部品の形は依然として平面形状であり、一部の加工品の板材料はその縁に押し抜き加工を行う必要があり、この時、一般的な挟み方法及び押し抜き方法を使用しては、加工品の板材料は変形がひどくなり、生産要求を満たせなく、またダイの横断面が変わる時、一般には横断面に対応するダイスを配備することにより、押し抜き加工を完成でき、生産コストを増やし、本願発明に記載の加工品の変形を抑えられる押し抜き型設備は上記の問題を解決でき、本願発明は加工品を挟め、また加工する時、加工品が水平状態を保持でき、加工誤差を減少し、押し抜き後の加工品は変形が発生することを避け、さらに、加工品のせん断輪郭の横断面は完全にダイの横断面により決定されるため、対応のダイスを配備する必要がなく、生産コストを抑えられる。 Punching is a pressing process that uses a die to separate some materials or processes from other parts, processed or useless materials, and punching is shearing, material removal, drilling, grooving. , A general term for separation processes such as cutting, cutting, edge cutting, tongue cutting, and tearing. In the punching process, plastic deformation occurs in the plate material itself of the processed product, except for shearing the metal near the contour line. Therefore, the shape of the flat plate punching part is still flat, and the plate material of some processed products needs to be punched at the edge. When the punching method is used, the plate material of the processed product becomes severely deformed and cannot meet the production requirements, and when the cross section of the die changes, it is generally punched by deploying a die corresponding to the cross section. The punching die equipment that can complete the processing, increase the production cost, and suppress the deformation of the processed product described in the present invention can solve the above problems. Since the horizontal state can be maintained, machining errors are reduced, the machined product after punching avoids deformation, and the cross section of the shear contour of the machined product is completely determined by the cross section of the die. There is no need to deploy compatible dies, and production costs can be reduced.

中国特許出願公開第103846967号明細書Chinese Patent Application Publication No. 103846967

技術問題:
加工品の板材料の縁に押し抜き加工を行う時、加工品の板材料はひどい変形が発生しやすく、生産要求を満たせなく、また一般的なダイに合わせて対応するダイスが必要があり、生産コストが高い。
Technical problem:
When punching the edges of the processed plate material, the processed plate material is prone to severe deformation, cannot meet production requirements, and requires a die that matches the general die. The production cost is high.

上記の問題を解決するため、本願発明は加工品の変形を抑えられる押し抜き型設備を設計した。本願発明の加工品の変形を抑えられる押し抜き型設備は、本体を含み、前記本体の中には右方に開口した挟み空間が設置され、前記挟み空間の左側内壁には左方に開口した押し抜き空間が前記挟み空間と連通するように設置され、加工品が前記押し抜き空間と前記挟み空間との間に置かれ、前記挟み空間の上側内壁には駆動装置が設置され、前記挟み空間の中には挟み板がスライド可能に設置され、前記挟み板の中には上方に開口したネジ穴が前後対称に設置され、前記駆動装置の中にある二本のスクリューの下端がそれぞれ両側に位置する前記ネジ穴の中に伸びており、かつ前記挟み板とネジ山により連結され、前記駆動装置は二本の前記スクリューにより前記挟み板をスライドさせることができ、さらに前記加工品を挟め、前記押し抜き空間の上側内壁には押し抜き装置が設置され、前記押し抜き装置と前記駆動装置とが伝動ベルトにより連結され、前記押し抜き空間の中にはダイがスライド可能に設置され、前記押し抜き装置の中に位置する親ネジの下端が前記押し抜き空間の中に伸びており、かつ前記ダイとネジ山により連結され、前記駆動装置は前記伝動ベルトにより前記押し抜き装置を駆動でき、さらに前記親ネジにより前記ダイを降下させて前記加工品に押し抜き加工を行え、前記加工品の左端面が前記ダイの左端面を越えられなく、前記押し抜き空間の下側内壁には位置制限溝が前記押し抜き空間と連通するように形成され、前記位置制限溝の中には支持装置が設置され、前記ダイにより前記加工品に押し抜きをする時、前記支持装置は恒常の圧力で前記加工品の下端に支えられ、これにより前記加工品に大きの変形が発生することを避けられ、さらに前記支持装置は前記ダイをサポートして前記加工品に押し抜き加工と落とし作業を行え、前記加工品の押し抜きのところに異なる輪郭をせん断する時、前記ダイを入れ替えるだけでよく、対応のダイスを配備する必要がなく、生産コストを抑えられる。 In order to solve the above problems, the present invention has designed a punch-out type facility capable of suppressing deformation of the processed product. The punch-out type equipment capable of suppressing deformation of the processed product of the present invention includes a main body, in which a sandwiching space opened to the right is installed, and an inner wall on the left side of the sandwiching space is opened to the left. The punched space is installed so as to communicate with the sandwiched space, the processed product is placed between the punched space and the sandwiched space, and a drive device is installed on the upper inner wall of the sandwiched space. A sandwich plate is slidably installed inside, screw holes opened upward are installed symmetrically in the sandwich plate, and the lower ends of the two screws in the drive device are on both sides, respectively. It extends into the screw hole located and is connected to the sandwich plate by a screw thread, and the drive device can slide the sandwich plate by the two screws to further sandwich the processed product. A punching device is installed on the upper inner wall of the punching space, the punching device and the driving device are connected by a transmission belt, and a die is slidably installed in the punching space. The lower end of the base screw located in the punching device extends into the punching space and is connected to the die by a screw thread, and the driving device can drive the punching device by the transmission belt. The die is lowered by the lead screw to perform punching on the processed product, the left end surface of the processed product cannot cross the left end surface of the die, and a position limiting groove is formed on the lower inner wall of the punched space. Is formed so as to communicate with the punching space, a support device is installed in the position limiting groove, and when the machined product is punched by the die, the support device is processed at a constant pressure. It is supported by the lower end of the product, which prevents the processed product from undergoing large deformation, and the support device supports the die to perform punching and dropping operations on the processed product. When shearing different contours at the punched part of the product, it is only necessary to replace the die, and it is not necessary to deploy a corresponding die, so that the production cost can be suppressed.

好ましくは、前記挟み板の中には下方に開口したバネ溝が前後対称に形成され、前記バネ溝の中には圧力板がスライド可能に設置され、前記圧力板の下端が前記バネ溝から滑り出られ、前記圧力板の上端と前記バネ溝の上側内壁とが圧力バネにより固定的に連結され、前記圧力バネが前記駆動装置に通電できるように連結され、前記駆動装置は前記スクリューにより前記挟み板を駆動して下方にスライドさせかつ前記加工品と当接させ、さらに前記加工品が前記圧力板を押し動かして前記バネ溝の中にスライドさせて前記圧力バネが前記圧力板により圧縮され、前記圧力板が完全に前記バネ溝の中に入ったあと、前記圧力バネで前記駆動装置内部に通電し、また前記駆動装置内部の伝動方式を変え、この時、前記駆動装置は前記挟み板をスライドさせなくなり、ただ片側の前記圧力板が完全に前記バネ溝の中に滑り込んだ時、前記駆動装置は引き続き前記圧力板においてまだ完全に前記バネ溝の中に滑り込んでいない側にある前記挟み板を下方にスライドさせられ、この時、もう片側の前記挟み板は両側の前記圧力板が完全に前記バネ溝の中に入るまで下方にスライドしなくなり、ここで前記加工品が水平状態を保持することを保証できる。 Preferably, a spring groove opened downward is formed symmetrically in the sandwich plate, a pressure plate is slidably installed in the spring groove, and the lower end of the pressure plate slides from the spring groove. The upper end of the pressure plate and the upper inner wall of the spring groove are fixedly connected by a pressure spring, the pressure spring is connected so that the drive device can be energized, and the drive device is sandwiched by the screw. The plate is driven and slid downward and brought into contact with the processed product, and the processed product pushes the pressure plate and slides it into the spring groove, so that the pressure spring is compressed by the pressure plate. After the pressure plate is completely inserted into the spring groove, the pressure spring energizes the inside of the drive device and changes the transmission method inside the drive device. At this time, the drive device presses the sandwich plate. When the pressure plate on only one side does not slide completely into the spring groove, the drive unit continues to be on the side of the pressure plate that has not yet completely slipped into the spring groove. At this time, the sandwich plate on the other side does not slide downward until the pressure plates on both sides are completely inserted into the spring groove, where the processed product is kept in a horizontal state. I can guarantee that.

有益なように、前記駆動装置は前記挟み空間の上側内壁に設置された伝動空間を含み、前記伝動空間の中には大プーリが回転可能に設置され、前記大プーリの中にはモーターが固定的に連結され、前記伝動空間の下側内壁には電動機が固定的に設置され、前記モーターの下端が前記電動機に伝動可能に連結され、前記伝動ベルトの右端が前記大プーリに連結され、前記伝動ベルトの左端が前記押し抜き装置に連結され、前記大プーリの前後両側には小プーリが対称かつ回転可能に設置され、前記大プーリと前記小プーリとが連結ベルトにより連結され、前記小プーリの下端には支持軸が固定的に連結され、前記支持軸の下端が前記伝動空間の下側内壁に回転可能に連結され、前記小プーリの中には噛み合い穴が前記小プーリの内部を上下に貫通するように設置され、二本の前記スクリューの上端がそれぞれ前記噛み合い穴の中に伸びており、前記スクリューと前記小プーリと前記支持軸とが回転可能に連結され、前記噛み合い穴の中にはスライド歯車が回転可能かつスライド可能に設置され、前記スライド歯車が前記従動プーリに噛み合うことができ、前記スライド歯車の中には下方に開口した連結穴が設置され、前記スクリューの上端が前記連結穴の中に伸びており、前記スライド歯車と連結され、前記スライド歯車の上端にはスライド軸が回転可能に連結され、前記伝動空間の上側内壁には上方に開口した抜き穴が前後対称かつ前記伝動空間と連通するように設置され、前記スライド軸と前記抜き穴の内壁とが電磁バネにより固定的に連結され、前後両側の前記電磁バネがそれぞれ両側の前記圧力バネに通電可能に連結され、前記電動機を始動し、前記モーターにより前記大プーリを回転させ、そして前記伝動ベルトにより前記押し抜き装置を駆動し、また前記大プーリが前記連結ベルトにより前記小プーリを回転させ、さらに前記スライド歯車を回転させ、前記スクリューにより前記挟み板をスライドさせ、前記圧力板が完全に前記バネ溝の中に入ったあとに前記圧力バネを圧縮し、そして対応した前記電磁バネに通電し、さらに前記スライド軸が駆動されて上方にスライドし、前記スライド歯車が駆動されて上方にスライドし、前記スライド歯車を前記小プーリ及び前記スクリューとの連結から離脱させ、この時、前記スクリューが回転しなくなる。 To be beneficial, the drive includes a transmission space installed on the upper inner wall of the sandwiching space, in which a large pulley is rotatably installed and a motor is fixed in the large pulley. The electric motor is fixedly installed on the lower inner wall of the transmission space, the lower end of the motor is electrically connected to the electric motor, and the right end of the transmission belt is connected to the large pulley. The left end of the transmission belt is connected to the punching device, small pulleys are symmetrically and rotatably installed on both front and rear sides of the large pulley, and the large pulley and the small pulley are connected by a connecting belt, and the small pulley is connected. A support shaft is fixedly connected to the lower end of the small pulley, the lower end of the support shaft is rotatably connected to the lower inner wall of the transmission space, and a meshing hole is vertically connected to the inside of the small pulley. The upper ends of the two screws each extend into the meshing hole, and the screw, the small pulley, and the support shaft are rotatably connected to each other in the meshing hole. A slide gear is rotatably and slidably installed in the body, the slide gear can mesh with the driven pulley, a connecting hole opened downward is installed in the slide gear, and the upper end of the screw is the upper end of the screw. It extends into the connecting hole and is connected to the slide gear, the slide shaft is rotatably connected to the upper end of the slide gear, and the upper inner wall of the transmission space has a hole that opens upward and is symmetrical. It is installed so as to communicate with the transmission space, the slide shaft and the inner wall of the punch hole are fixedly connected by an electromagnetic spring, and the electromagnetic springs on both front and rear sides are connected to the pressure springs on both sides so as to be energized. , The electric motor is started, the large pulley is rotated by the motor, and the punching device is driven by the transmission belt, and the large pulley rotates the small pulley by the connecting belt, and further, the slide gear. And slide the sandwich plate with the screw, compress the pressure spring after the pressure plate is completely in the spring groove, and energize the corresponding electromagnetic spring, and further slide. The shaft is driven and slides upward, the slide gear is driven and slides upward, and the slide gear is disengaged from the connection with the small pulley and the screw, at which time the screw does not rotate.

有益なように、前記大プーリの直径が前記小プーリの直径より大きく、そして前記大プーリを主動に回転させられる時、前記連結ベルトにより前記小プーリを回転させることができる。 Beneficially, when the diameter of the large pulley is larger than the diameter of the small pulley and the large pulley is driven to rotate, the connecting belt can rotate the small pulley.

好ましくは、前記スライド軸の上端には始動スイッチが固定的に連結され、前記本体の上端には注意灯が前後対称かつ固定的に連結され、前記注意灯の中には導電ブロックが固定的に設置され、前記始動スイッチが前記導電ブロックと接触した時、前記注意灯を灯せ、両側の前記注意灯が全部光った時、両側の前記スライド歯車が前記小プーリ及び前記スクリューとの連結から離脱し、この時、両側の前記圧力板が完全に前記バネ溝の中に入り、前記加工品が水平状態を保持し、前記加工品に対して押し抜き加工を行う。 Preferably, a start switch is fixedly connected to the upper end of the slide shaft, a caution light is fixedly connected to the upper end of the main body symmetrically in the front-rear direction, and a conductive block is fixedly connected in the caution light. When installed and the start switch comes into contact with the conductive block, the caution light is turned on, and when all the caution lights on both sides are lit, the slide gears on both sides are disconnected from the connection with the small pulley and the screw. At this time, the pressure plates on both sides are completely inserted into the spring groove, the processed product is maintained in a horizontal state, and the processed product is punched.

有益なように、前記押し抜き装置は前記伝動空間の左側内壁に前記伝動空間と連通するように形成されたベルト溝を含み、前記ベルト溝の左側内壁には空き空間が前記ベルト溝と連通するように設置され、前記空き空間の中には従動プーリが回転可能に設置され、前記伝動ベルトの左端が前記従動プーリに連結され、前記従動プーリの中にはアーム軸が固定的に連結され、前記アーム軸の上端が前記空き空間の上側内壁に回転可能に連結され、前記従動プーリの下側には軸スリーブが回転可能かつスライド可能に設置され、前記軸スリーブの中にはスプライン穴が前記軸スリーブの内部を上下に貫通するように設置され、前記アーム軸の下端が前記スプライン穴に伸びて前記軸スリーブとスプラインにより連結され、前記親ネジの上端が前記空き空間の中に伸びており、さらに前記スプライン穴の中に伸びて前記軸スリーブとスプラインにより連結されることができ、前記親ネジが前記本体に回転可能に連結され、両側の前記注意灯がいずれも光っていない時、前記軸スリーブと前記親ネジとが連結されていなく、両側の前記注意灯がいずれも光っている時、前記軸スリーブが下方にスライドして前記親ネジと連結され、この時、前記大プーリが回転して前記伝動ベルトにより前記従動プーリを回転させ、そして前記アーム軸により前記軸スリーブを回転させ、さらに前記親ネジにより前記ダイを下方にスライドさせて前記加工品に押し抜き加工をする。 Beneficially, the punching device includes a belt groove formed on the left inner wall of the transmission space to communicate with the transmission space, and an empty space communicates with the belt groove on the left inner wall of the belt groove. The driven pulley is rotatably installed in the empty space, the left end of the transmission belt is connected to the driven pulley, and the arm shaft is fixedly connected in the driven pulley. The upper end of the arm shaft is rotatably connected to the upper inner wall of the empty space, a shaft sleeve is rotatably and slidably installed under the driven pulley, and a spline hole is provided in the shaft sleeve. It is installed so as to penetrate the inside of the shaft sleeve up and down, the lower end of the arm shaft extends into the spline hole and is connected to the shaft sleeve by the spline, and the upper end of the lead screw extends into the empty space. Further, when it extends into the spline hole and can be connected to the shaft sleeve by the spline, the base screw is rotatably connected to the main body, and the caution lights on both sides are not lit, the said. When the shaft sleeve and the master screw are not connected and the caution lights on both sides are lit, the shaft sleeve slides downward and is connected to the master screw, and at this time, the large pulley rotates. Then, the driven pulley is rotated by the transmission belt, the shaft sleeve is rotated by the arm shaft, and the die is slid downward by the master screw to punch out the processed product.

好ましくは、前記従動プーリの下側にはスライド板がスライド可能に設置され、前記スライド板が前記軸スリーブに回転可能に連結され、前記スライド板の下端にはリンクが左右対称かつ固定的に連結され、前記リンクの下端が前記押し抜き空間の中に伸びており、前記リンクの下側には緩衝板がスライド可能に設置され、前記緩衝板の中には上方に開口した凹溝が形成され、前記リンクの下端と前記凹溝の下側内壁とが緩衝バネにより固定的に連結され、前記スライド板の下端と前記空き空間の下側内壁とが二本の連結バネが固定的に連結され、前記押し抜き空間の上側内壁には位置制限溝が左右対称かつ前記押し抜き空間と連通するように形成され、前記緩衝板が前記位置制限溝の中にスライドでき、初期に、前記ダイの上端が前記緩衝板と当接し、この時、前記緩衝板が前記位置制限溝の中に収納され、前記スライド板と前記軸スリーブが上限界位置にあり、前記軸スリーブと前記親ネジとが連結されていなく、前記連結バネが引っ張られた状態にあり、両側の前記注意灯が全部光った時、前記連結バネに通電し、そして前記連結バネが圧縮され、さらに前記リンク及び前記軸スリーブを下方にスライドさせ、前記軸スリーブを前記リンクと連結し、この時、前記緩衝バネを圧縮し、前記緩衝板及び前記ダイがスライドしていなく、前記親ネジが回転することにより前記ダイを下方にスライドさせられ、そして前記ダイが前記緩衝板との接触から離脱し、前記緩衝バネの弾性力で前記緩衝板を下方へ前記押し抜き空間の中にスライドさせる。 Preferably, a slide plate is slidably installed under the driven pulley, the slide plate is rotatably connected to the shaft sleeve, and a link is symmetrically and fixedly connected to the lower end of the slide plate. The lower end of the link extends into the punched space, a cushioning plate is slidably installed under the link, and a concave groove opened upward is formed in the cushioning plate. , The lower end of the link and the lower inner wall of the concave groove are fixedly connected by a buffer spring, and the lower end of the slide plate and the lower inner wall of the empty space are fixedly connected by two connecting springs. On the upper inner wall of the punched space, a position limiting groove is formed so as to be symmetrical and communicate with the punched space, and the cushioning plate can slide into the position limiting groove, and initially, the upper end of the die. At this time, the cushion plate is housed in the position limiting groove, the slide plate and the shaft sleeve are in the upper limit position, and the shaft sleeve and the base screw are connected to each other. When the connecting spring is in a pulled state and all the caution lights on both sides are lit, the connecting spring is energized, the connecting spring is compressed, and the link and the shaft sleeve are further lowered. Slide and connect the shaft sleeve to the link, at this time compressing the cushioning spring, the buffer plate and the die are not sliding, and the lead screw rotates to slide the die downward. Then, the die is separated from the contact with the cushioning plate, and the elastic force of the cushioning spring slides the cushioning plate downward into the punching space.

有益なように、前記支持装置は前記位置制限溝の下側内壁に環状に配列されかつ前記位置制限溝と連通している百個の密封空間を含み、前記密封空間の中には支持棒がスライド可能に設置され、前記支持棒により前記密封空間が密封され、前記支持棒の上端が前記加工品に当接し、前記位置制限溝の右側内壁には空気ポンプが固定的に設置され、前記空気ポンプの下端には検出箱が固定的に連結され、前記検出箱の中には上方に開口した緩衝空間が設置され、前記緩衝空間が前記空気ポンプに連通しており、前記空気ポンプの下端には気圧検出ヘッドが固定的に連結され、前記気圧検出ヘッドにより前記緩衝空間の中の気圧をタイムリー監視でき、前記空気ポンプにより前記緩衝空間の中にガス入れまたはガス吸い上げを行うことにより、前記緩衝空間の中の気圧に恒常値を保持させることができ、前記密封空間の下側内壁と前記緩衝空間の下側内壁とがガスガイド管により固定的に連結され、前記ガスガイド管により前記密封空間と前記緩衝空間とが連通され、前記密封空間内の気圧が前記緩衝空間内の気圧と一致しており、百個の前記密封空間は前記ガスガイド管及び前記緩衝空間により連通されており、前記ダイが下方にスライドして前記加工品に対して押し抜き加工を行い、そして前記ダイに正対する前記支持棒を押し動かして下方にスライドさせ、他の前記支持棒が引き続き前記加工品を支持し、この時、前記密封空間及び前記緩衝空間内の気圧を増大し、この時、前記気圧検出ヘッドにより前記緩衝空間及び前記密封空間内の気圧を検出し、前記空気ポンプを始動し、そして前記緩衝空間及び前記密封空間内の気体を吸い上げ、また前記緩衝空間及び前記密封空間内の気圧に恒常値を保持させ、この時、下方にスライドする前記支持棒が前記ダイを補助して前記加工品に押し抜き加工を行う。 Beneficially, the support device includes a hundred sealing spaces that are annularly arranged in the lower inner wall of the position limiting groove and communicate with the position limiting groove, in which the support rod is contained. It is slidably installed, the sealed space is sealed by the support rod, the upper end of the support rod abuts on the processed product, and an air pump is fixedly installed on the right inner wall of the position limiting groove to provide the air. A detection box is fixedly connected to the lower end of the pump, a buffer space opened upward is installed in the detection box, and the buffer space communicates with the air pump, and is connected to the lower end of the air pump. The pressure detection head is fixedly connected, the pressure in the buffer space can be monitored in a timely manner by the pressure detection head, and gas is injected or sucked into the buffer space by the air pump. A constant value can be maintained at the pressure pressure in the buffer space, and the lower inner wall of the sealed space and the lower inner wall of the buffer space are fixedly connected by a gas guide pipe, and the sealed space is sealed by the gas guide pipe. The space and the buffer space are communicated with each other, the pressure in the sealed space coincides with the pressure in the buffer space, and the 100 sealed spaces are communicated by the gas guide tube and the buffer space. The die slides downward to punch out the processed product, and the support rod facing the die is pushed and moved to slide downward, and the other support rods continue to support the processed product. At this time, the pressure in the sealed space and the buffer space is increased, and at this time, the pressure in the buffer space and the sealed space is detected by the pressure detection head, the air pump is started, and the air pump is started. The gas in the buffer space and the sealed space is sucked up, and the pressure in the buffer space and the sealed space is maintained at a constant value. At this time, the support rod sliding downward assists the die and the processed product. Punching is performed.

有益なように、押し抜き加工の前、前記支持棒の上端面を前記挟み空間の下側内壁と水平に保ち、そして前記加工品に水平状態を保持させることができる。 Beneficially, prior to the punching process, the upper end surface of the support rod can be kept level with the lower inner wall of the sandwiching space, and the work piece can be kept horizontal.

本願発明の効果は:本願発明は加工品を挟め、また加工する時に加工品に水平状態を保持させ、加工誤差を減少し、押し抜くことをしたあとに加工品が変形する問題を避け、また加工品のせん断輪郭の横断面が完全にダイの横断面により決定され、対応のダイスが要らなく、生産コストを抑えられる。 The effect of the present invention is: The present invention sandwiches the processed product and keeps the processed product in a horizontal state at the time of processing, reduces the processing error, avoids the problem that the processed product is deformed after punching, and also The cross section of the shear contour of the processed product is completely determined by the cross section of the die, so no corresponding die is required and the production cost can be suppressed.

下記に図1〜7をあわせて本発明について詳しく説明し、便利に説明するために、下記の方向を以下のように規定する:図1は本発明装置の正面図であり、本願に記載の各方向が、図1と同じ向きに装置を見た際の方向である。 In order to explain the present invention in detail with reference to FIGS. 1 to 7 below and to explain the present invention in a convenient manner, the following directions are defined as follows: FIG. 1 is a front view of the apparatus of the present invention and is described in the present application. Each direction is the direction when the device is viewed in the same direction as in FIG.

図1は本願発明の全体構成概略図FIG. 1 is a schematic diagram of the overall configuration of the present invention. 図2は図1の「A―A」方向の構成概略図FIG. 2 is a schematic configuration diagram in the “AA” direction of FIG. 図3は図1の「B」方向の構成概略図FIG. 3 is a schematic configuration diagram in the “B” direction of FIG. 図4は図1の「C―C」の拡大構成概略図FIG. 4 is an enlarged schematic diagram of “CC” of FIG. 図5は図3の「D―D」方向の構成概略図FIG. 5 is a schematic configuration diagram in the “DD” direction of FIG. 図6は図4の「E―E」方向の構成概略図FIG. 6 is a schematic configuration diagram in the “EE” direction of FIG. 図7は図5の「F―F」方向の構成概略図FIG. 7 is a schematic configuration diagram in the “FF” direction of FIG.

本願発明は加工品の変形を抑えられる押し抜き型設備であり、主に加工品の周りに材料落としの押し抜き加工作業に使用され、以下、本願発明の附図に合わせてさらなる説明を行う。 The present invention is a punching type equipment capable of suppressing deformation of a processed product, and is mainly used for punching work of dropping a material around a processed product. Hereinafter, further description will be given with reference to the accompanying drawings of the present invention.

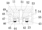
本願発明に記載の加工品の変形を抑えられる押し抜き型設備は、本体11を含み、前記本体11の中には右方に開口した挟み空間21が設置され、前記挟み空間21の左側内壁には左方に開口した押し抜き空間23が前記挟み空間21と連通するように設置され、加工品25が前記押し抜き空間23と前記挟み空間21との間に置かれ、前記挟み空間21の上側内壁には駆動装置101が設置され、前記挟み空間21の中には挟み板22がスライド可能に設置され、前記挟み板22の中には上方に開口したネジ穴20が前後対称に設置され、前記駆動装置101の中にある二本のスクリュー30の下端がそれぞれ両側に位置する前記ネジ穴20の中に伸びており、かつ前記挟み板22とネジ山により連結され、前記駆動装置101は二本の前記スクリュー30により前記挟み板22をスライドさせることができ、さらに前記加工品25を挟め、前記押し抜き空間23の上側内壁には押し抜き装置100が設置され、前記押し抜き装置100と前記駆動装置101とが伝動ベルト53により連結され、前記押し抜き空間23の中にはダイ24がスライド可能に設置され、前記押し抜き装置100の中に位置する親ネジ42の下端が前記押し抜き空間23の中に伸びており、かつ前記ダイ24とネジ山により連結され、前記駆動装置101は前記伝動ベルト53により前記押し抜き装置100を駆動でき、さらに前記親ネジ42により前記ダイ24を降下させて前記加工品25に押し抜き加工を行え、前記加工品25の左端面が前記ダイ24の左端面を越えられなく、前記押し抜き空間23の下側内壁には位置制限溝26が前記押し抜き空間23と連通するように形成され、前記位置制限溝26の中には支持装置102が設置され、前記ダイ24により前記加工品25に押し抜きをする時、前記支持装置102は恒常の圧力で前記加工品25の下端に支えられ、これにより前記加工品25に大きの変形が発生することを避けられ、さらに前記支持装置102は前記ダイ24をサポートして前記加工品25に押し抜き加工と落とし作業を行え、前記加工品25の押し抜きのところに異なる輪郭をせん断する時、前記ダイ24を入れ替えるだけでよく、対応のダイスを配備する必要がなく、生産コストを抑えられる。 The punch-out type equipment described in the present invention that can suppress deformation of the processed product includes a main body 11, and a sandwiching space 21 that opens to the right is installed in the main body 11, and is provided on the left inner wall of the sandwiching space 21. Is installed so that the punching space 23 opened to the left communicates with the sandwiching space 21, and the processed product 25 is placed between the punching space 23 and the sandwiching space 21, and is above the sandwiching space 21. A drive device 101 is installed on the inner wall, a sandwich plate 22 is slidably installed in the sandwich space 21, and screw holes 20 opened upward are installed symmetrically in the sandwich plate 22. The lower ends of the two screws 30 in the drive device 101 extend into the screw holes 20 located on both sides of the drive device 101, and are connected to the sandwich plate 22 by threads, so that the drive device 101 has two screws. The sandwiching plate 22 can be slid by the screw 30 of the book, the processed product 25 is sandwiched therein, and a punching device 100 is installed on the upper inner wall of the punching space 23, and the punching device 100 and the punching device 100 and the said. The drive device 101 is connected to the transmission belt 53, the die 24 is slidably installed in the push-out space 23, and the lower end of the base screw 42 located in the push-out device 100 is the push-out space. It extends into 23 and is connected to the die 24 by a screw thread, and the drive device 101 can drive the punching device 100 by the transmission belt 53, and further lowers the die 24 by the master screw 42. The processed product 25 can be punched, the left end surface of the processed product 25 cannot cross the left end surface of the die 24, and a position limiting groove 26 is formed on the lower inner wall of the punched space 23. A support device 102 is installed in the position limiting groove 26 so as to communicate with the space 23, and when the die 24 pushes the processed product 25, the support device 102 is pressed at a constant pressure. It is supported by the lower end of the processed product 25, thereby avoiding a large deformation of the processed product 25, and further, the support device 102 supports the die 24 and punches the processed product 25. When the dropping work can be performed and different contours are sheared at the punched portion of the processed product 25, it is only necessary to replace the die 24, and it is not necessary to deploy a corresponding die, and the production cost can be suppressed.

有益なように、前記挟み板22の中には下方に開口したバネ溝19が前後対称に形成され、前記バネ溝19の中には圧力板17がスライド可能に設置され、前記圧力板17の下端が前記バネ溝19から滑り出られ、前記圧力板17の上端と前記バネ溝19の上側内壁とが圧力バネ18により固定的に連結され、前記圧力バネ18が前記駆動装置101に通電できるように連結され、前記駆動装置101は前記スクリュー30により前記挟み板22を駆動して下方にスライドさせかつ前記加工品25と当接させ、さらに前記加工品25が前記圧力板17を押し動かして前記バネ溝19の中にスライドさせて前記圧力バネ18が前記圧力板17により圧縮され、前記圧力板17が完全に前記バネ溝19の中に入ったあと、前記圧力バネ18で前記駆動装置101内部に通電し、また前記駆動装置101内部の伝動方式を変え、この時、前記駆動装置101は前記挟み板22をスライドさせなくなり、ただ片側の前記圧力板17が完全に前記バネ溝19の中に滑り込んだ時、前記駆動装置101は引き続き前記圧力板17においてまだ完全に前記バネ溝19の中に滑り込んでいない側にある前記挟み板22を下方にスライドさせられ、この時、もう片側の前記挟み板22は両側の前記圧力板17が完全に前記バネ溝19の中に入るまで下方にスライドしなくなり、ここで前記加工品25が水平状態を保持することを保証できる。 As a benefit, a spring groove 19 that opens downward is formed symmetrically in the sandwiching plate 22, and a pressure plate 17 is slidably installed in the spring groove 19 so that the pressure plate 17 can be slidably installed. The lower end is slid out from the spring groove 19, the upper end of the pressure plate 17 and the upper inner wall of the spring groove 19 are fixedly connected by the pressure spring 18, so that the pressure spring 18 can energize the drive device 101. The driving device 101 is connected to the above, and the sandwiching plate 22 is driven by the screw 30 to be slid downward and brought into contact with the processed product 25, and the processed product 25 pushes the pressure plate 17 to move. The pressure spring 18 is compressed by the pressure plate 17 by sliding into the spring groove 19, and after the pressure plate 17 is completely entered into the spring groove 19, the pressure spring 18 inside the drive device 101. At this time, the drive device 101 does not slide the sandwich plate 22, and the pressure plate 17 on only one side is completely inserted into the spring groove 19. When slipped, the drive device 101 is subsequently slid downward in the pinch plate 22 on the side of the pressure plate 17 that has not yet completely slipped into the spring groove 19, and at this time, the pinch on the other side. The plate 22 does not slide downward until the pressure plates 17 on both sides are completely inside the spring groove 19, where it can be ensured that the work piece 25 remains in a horizontal state.

前記駆動装置101は前記挟み空間21の上側内壁に設置された伝動空間31を含み、前記伝動空間31の中には大プーリ57が回転可能に設置され、前記大プーリ57の中にはモーター58が固定的に連結され、前記伝動空間31の下側内壁には電動機59が固定的に設置され、前記モーター58の下端が前記電動機59に伝動可能に連結され、前記伝動ベルト53の右端が前記大プーリ57に連結され、前記伝動ベルト53の左端が前記押し抜き装置100に連結され、前記大プーリ57の前後両側には小プーリ56が対称かつ回転可能に設置され、前記大プーリ57と前記小プーリ56とが連結ベルト41により連結され、前記小プーリ56の下端には支持軸29が固定的に連結され、前記支持軸29の下端が前記伝動空間31の下側内壁に回転可能に連結され、前記小プーリ56の中には噛み合い穴33が前記小プーリ56の内部を上下に貫通するように設置され、二本の前記スクリュー30の上端がそれぞれ前記噛み合い穴33の中に伸びており、前記スクリュー30と前記小プーリ56と前記支持軸29とが回転可能に連結され、前記噛み合い穴33の中にはスライド歯車40が回転可能かつスライド可能に設置され、前記スライド歯車40が前記従動プーリ50に噛み合うことができ、前記スライド歯車40の中には下方に開口した連結穴32が設置され、前記スクリュー30の上端が前記連結穴32の中に伸びており、前記スライド歯車40と連結され、前記スライド歯車40の上端にはスライド軸34が回転可能に連結され、前記伝動空間31の上側内壁には上方に開口した抜き穴35が前後対称かつ前記伝動空間31と連通するように設置され、前記スライド軸34と前記抜き穴35の内壁とが電磁バネ39により固定的に連結され、前後両側の前記電磁バネ39がそれぞれ両側の前記圧力バネ18に通電可能に連結され、前記電動機59を始動し、前記モーター58により前記大プーリ57を回転させ、そして前記伝動ベルト53により前記押し抜き装置100を駆動し、また前記大プーリ57が前記連結ベルト41により前記小プーリ56を回転させ、さらに前記スライド歯車40を回転させ、前記スクリュー30により前記挟み板22をスライドさせ、前記圧力板17が完全に前記バネ溝19の中に入ったあとに前記圧力バネ18を圧縮し、そして対応した前記電磁バネ39に通電し、さらに前記スライド軸34が駆動されて上方にスライドし、前記スライド歯車40が駆動されて上方にスライドし、前記スライド歯車40を前記小プーリ56及び前記スクリュー30との連結から離脱させ、この時、前記スクリュー30が回転しなくなる。 The drive device 101 includes a transmission space 31 installed on the upper inner wall of the sandwiching space 21, a large pulley 57 is rotatably installed in the transmission space 31, and a motor 58 is contained in the large pulley 57. Is fixedly connected, an electric motor 59 is fixedly installed on the lower inner wall of the transmission space 31, the lower end of the motor 58 is electrically connected to the electric motor 59, and the right end of the transmission belt 53 is said. The large pulley 57 is connected, the left end of the transmission belt 53 is connected to the punching device 100, and small pulleys 56 are symmetrically and rotatably installed on both front and rear sides of the large pulley 57. The small pulley 56 is connected by a connecting belt 41, the support shaft 29 is fixedly connected to the lower end of the small pulley 56, and the lower end of the support shaft 29 is rotatably connected to the lower inner wall of the transmission space 31. In the small pulley 56, a meshing hole 33 is installed so as to vertically penetrate the inside of the small pulley 56, and the upper ends of the two screws 30 extend into the meshing hole 33, respectively. The screw 30, the small pulley 56, and the support shaft 29 are rotatably connected, a slide gear 40 is rotatably and slidably installed in the meshing hole 33, and the slide gear 40 is driven. A connecting hole 32 that can mesh with the pulley 50 and is opened downward is installed in the slide gear 40, and the upper end of the screw 30 extends into the connecting hole 32 and is connected to the slide gear 40. A slide shaft 34 is rotatably connected to the upper end of the slide gear 40, and a punched hole 35 opened upward is installed on the upper inner wall of the transmission space 31 so as to be symmetrical in the front-rear direction and communicate with the transmission space 31. The slide shaft 34 and the inner wall of the punched hole 35 are fixedly connected by an electromagnetic spring 39, and the electromagnetic springs 39 on both front and rear sides are connected to the pressure springs 18 on both sides so as to be energized. The motor 58 rotates the large pulley 57, the transmission belt 53 drives the punching device 100, and the large pulley 57 rotates the small pulley 56 by the connecting belt 41. Further, the slide gear 40 is rotated, the sandwich plate 22 is slid by the screw 30, and the pressure spring 18 is compressed after the pressure plate 17 is completely inserted into the spring groove 19, and the corresponding is made. The electromagnetic spring 39 is energized, and further before The slide shaft 34 is driven and slides upward, the slide gear 40 is driven and slides upward, and the slide gear 40 is disengaged from the connection with the small pulley 56 and the screw 30. The screw 30 does not rotate.

有益なように、前記大プーリ57の直径が前記小プーリ56の直径より大きく、そして前記大プーリ57を主動に回転させられる時、前記連結ベルト41により前記小プーリ56を回転させることができる。 Beneficially, when the diameter of the large pulley 57 is larger than the diameter of the small pulley 56 and the large pulley 57 is driven to rotate, the connecting belt 41 can rotate the small pulley 56.

有益なように、前記スライド軸34の上端には始動スイッチ38が固定的に連結され、前記本体11の上端には注意灯36が前後対称かつ固定的に連結され、前記注意灯36の中には導電ブロック37が固定的に設置され、前記始動スイッチ38が前記導電ブロック37と接触した時、前記注意灯36を灯せ、両側の前記注意灯36が全部光った時、両側の前記スライド歯車40が前記小プーリ56及び前記スクリュー30との連結から離脱し、この時、両側の前記圧力板17が完全に前記バネ溝19の中に入り、前記加工品25が水平状態を保持し、前記加工品25に対して押し抜き加工を行う。 To be beneficial, a start switch 38 is fixedly connected to the upper end of the slide shaft 34, and a caution light 36 is fixedly connected to the upper end of the main body 11 symmetrically and fixedly in the warning light 36. When the conductive block 37 is fixedly installed and the start switch 38 comes into contact with the conductive block 37, the caution light 36 is turned on, and when all the caution lights 36 on both sides are lit, the slide gears 40 on both sides are turned on. Is disconnected from the connection between the small pulley 56 and the screw 30, and at this time, the pressure plates 17 on both sides are completely inserted into the spring groove 19, the processed product 25 is kept in a horizontal state, and the processing is performed. Punching is performed on the product 25.

前記押し抜き装置100は前記伝動空間31の左側内壁に前記伝動空間31と連通するように形成されたベルト溝60を含み、前記ベルト溝60の左側内壁には空き空間55が前記ベルト溝60と連通するように設置され、前記空き空間55の中には従動プーリ50が回転可能に設置され、前記伝動ベルト53の左端が前記従動プーリ50に連結され、前記従動プーリ50の中にはアーム軸51が固定的に連結され、前記アーム軸51の上端が前記空き空間55の上側内壁に回転可能に連結され、前記従動プーリ50の下側には軸スリーブ54が回転可能かつスライド可能に設置され、前記軸スリーブ54の中にはスプライン穴52が前記軸スリーブ54の内部を上下に貫通するように設置され、前記アーム軸51の下端が前記スプライン穴52に伸びて前記軸スリーブ54とスプラインにより連結され、前記親ネジ42の上端が前記空き空間55の中に伸びており、さらに前記スプライン穴52の中に伸びて前記軸スリーブ54とスプラインにより連結されることができ、前記親ネジ42が前記本体11に回転可能に連結され、両側の前記注意灯36がいずれも光っていない時、前記軸スリーブ54と前記親ネジ42とが連結されていなく、両側の前記注意灯36がいずれも光っている時、前記軸スリーブ54が下方にスライドして前記親ネジ42と連結され、この時、前記大プーリ57が回転して前記伝動ベルト53により前記従動プーリ50を回転させ、そして前記アーム軸51により前記軸スリーブ54を回転させ、さらに前記親ネジ42により前記ダイ24を下方にスライドさせて前記加工品25に押し抜き加工をする。 The punching device 100 includes a belt groove 60 formed on the left inner wall of the transmission space 31 so as to communicate with the transmission space 31, and an empty space 55 is formed on the left inner wall of the belt groove 60 with the belt groove 60. It is installed so as to communicate with each other, a driven pulley 50 is rotatably installed in the empty space 55, the left end of the transmission belt 53 is connected to the driven pulley 50, and an arm shaft is installed in the driven pulley 50. 51 is fixedly connected, the upper end of the arm shaft 51 is rotatably connected to the upper inner wall of the empty space 55, and a shaft sleeve 54 is rotatably and slidably installed under the driven pulley 50. A spline hole 52 is installed in the shaft sleeve 54 so as to vertically penetrate the inside of the shaft sleeve 54, and the lower end of the arm shaft 51 extends into the spline hole 52 by the shaft sleeve 54 and the spline. The lead screw 42 is connected, and the upper end of the lead screw 42 extends into the empty space 55, further extends into the spline hole 52, and can be connected to the shaft sleeve 54 by a spline. When the caution lights 36 on both sides are rotatably connected to the main body 11 and none of the caution lights 36 on both sides are lit, the shaft sleeve 54 and the lead screw 42 are not connected and the caution lights 36 on both sides are lit. At this time, the shaft sleeve 54 slides downward and is connected to the master screw 42. At this time, the large pulley 57 rotates to rotate the driven pulley 50 by the transmission belt 53, and the arm shaft The shaft sleeve 54 is rotated by the 51, and the die 24 is further slid downward by the master screw 42 to punch out the processed product 25.

有益なように、前記従動プーリ50の下側にはスライド板48がスライド可能に設置され、前記スライド板48が前記軸スリーブ54に回転可能に連結され、前記スライド板48の下端にはリンク48が左右対称かつ固定的に連結され、前記リンク48の下端が前記押し抜き空間23の中に伸びており、前記リンク48の下側には緩衝板45がスライド可能に設置され、前記緩衝板45の中には上方に開口した凹溝43が形成され、前記リンク48の下端と前記凹溝43の下側内壁とが緩衝バネ44により固定的に連結され、前記スライド板48の下端と前記空き空間55の下側内壁とが二本の連結バネ47が固定的に連結され、前記押し抜き空間23の上側内壁には位置制限溝46が左右対称かつ前記押し抜き空間23と連通するように形成され、前記緩衝板45が前記位置制限溝46の中にスライドでき、初期に、前記ダイ24の上端が前記緩衝板45と当接し、この時、前記緩衝板45が前記位置制限溝46の中に収納され、前記スライド板48と前記軸スリーブ54が上限界位置にあり、前記軸スリーブ54と前記親ネジ42とが連結されていなく、前記連結バネ47が引っ張られた状態にあり、両側の前記注意灯36が全部光った時、前記連結バネ47に通電し、そして前記連結バネ47が圧縮され、さらに前記リンク48及び前記軸スリーブ54を下方にスライドさせ、前記軸スリーブ54を前記リンク42と連結し、この時、前記緩衝バネ44を圧縮し、前記緩衝板45及び前記ダイ24がスライドしていなく、前記親ネジ42が回転することにより前記ダイ24を下方にスライドさせられ、そして前記ダイ24が前記緩衝板45との接触から離脱し、前記緩衝バネ44の弾性力で前記緩衝板45を下方へ前記押し抜き空間23の中にスライドさせる。 For convenience, a slide plate 48 is slidably installed under the driven pulley 50, the slide plate 48 is rotatably connected to the shaft sleeve 54, and a link 48 is rotatably connected to the lower end of the slide plate 48. The lower end of the link 48 extends into the punching space 23, and a cushioning plate 45 is slidably installed under the link 48 so as to be slidably installed. A concave groove 43 that opens upward is formed in the inside, and the lower end of the link 48 and the lower inner wall of the concave groove 43 are fixedly connected by a buffer spring 44, and the lower end of the slide plate 48 and the empty space are formed. Two connecting springs 47 are fixedly connected to the lower inner wall of the space 55, and the position limiting groove 46 is formed symmetrically on the upper inner wall of the punched space 23 so as to communicate with the punched space 23. The cushion plate 45 can slide into the position limiting groove 46, and the upper end of the die 24 initially comes into contact with the cushioning plate 45. At this time, the cushioning plate 45 is inside the position limiting groove 46. The slide plate 48 and the shaft sleeve 54 are in the upper limit position, the shaft sleeve 54 and the base screw 42 are not connected, and the connecting spring 47 is in a pulled state on both sides. When all the caution lights 36 are lit, the connecting spring 47 is energized, the connecting spring 47 is compressed, the link 48 and the shaft sleeve 54 are slid downward, and the shaft sleeve 54 is moved to the link 42. At this time, the cushioning spring 44 is compressed, the cushioning plate 45 and the die 24 are not slid, and the lead screw 42 is rotated to slide the die 24 downward, and the die 24 is slid downward. The die 24 is separated from the contact with the cushioning plate 45, and the cushioning plate 45 is slid downward into the punching space 23 by the elastic force of the cushioning spring 44.

前記支持装置102は前記位置制限溝26の下側内壁に環状に配列されかつ前記位置制限溝26と連通している百個の密封空間28を含み、前記密封空間28の中には支持棒27がスライド可能に設置され、前記支持棒27により前記密封空間28が密封され、前記支持棒27の上端が前記加工品25に当接し、前記位置制限溝26の右側内壁には空気ポンプ16が固定的に設置され、前記空気ポンプ16の下端には検出箱13が固定的に連結され、前記検出箱13の中には上方に開口した緩衝空間15が設置され、前記緩衝空間15が前記空気ポンプ16に連通しており、前記空気ポンプ16の下端には気圧検出ヘッド14が固定的に連結され、前記気圧検出ヘッド14により前記緩衝空間15の中の気圧をタイムリー監視でき、前記空気ポンプ16により前記緩衝空間15の中にガス入れまたはガス吸い上げを行うことにより、前記緩衝空間15の中の気圧に恒常値を保持させることができ、前記密封空間28の下側内壁と前記緩衝空間15の下側内壁とがガスガイド管12により固定的に連結され、前記ガスガイド管12により前記密封空間28と前記緩衝空間15とが連通され、前記密封空間28内の気圧が前記緩衝空間15内の気圧と一致しており、百個の前記密封空間28は前記ガスガイド管12及び前記緩衝空間15により連通されており、前記ダイ24が下方にスライドして前記加工品25に対して押し抜き加工を行い、そして前記ダイ24に正対する前記支持棒27を押し動かして下方にスライドさせ、他の前記支持棒27が引き続き前記加工品25を支持し、この時、前記密封空間28及び前記緩衝空間15内の気圧を増大し、この時、前記気圧検出ヘッド14により前記緩衝空間及び前記密封空間28内の気圧を検出し、前記空気ポンプ16を始動し、そして前記緩衝空間15及び前記密封空間28内の気体を吸い上げ、また前記緩衝空間15及び前記密封空間28内の気圧に恒常値を保持させ、この時、下方にスライドする前記支持棒27が前記ダイ24を補助して前記加工品25に押し抜き加工を行う。 The support device 102 includes 100 sealing spaces 28 arranged in an annular shape on the lower inner wall of the position limiting groove 26 and communicating with the position limiting groove 26, and the support rod 27 is contained in the sealing space 28. Is slidably installed, the sealing space 28 is sealed by the support rod 27, the upper end of the support rod 27 abuts on the processed product 25, and the air pump 16 is fixed to the inner wall on the right side of the position limiting groove 26. A detection box 13 is fixedly connected to the lower end of the air pump 16, a buffer space 15 opened upward is installed in the detection box 13, and the buffer space 15 is the air pump. The air pressure detection head 14 is fixedly connected to the lower end of the air pump 16 so as to communicate with the air pump 16, and the air pressure in the buffer space 15 can be monitored in a timely manner by the pressure detection head 14. By injecting gas or sucking gas into the buffer space 15, a constant value can be maintained at the pressure pressure in the buffer space 15, and the lower inner wall of the sealed space 28 and the buffer space 15 can be maintained. The lower inner wall is fixedly connected by the gas guide pipe 12, the sealed space 28 and the buffer space 15 are communicated by the gas guide pipe 12, and the air pressure in the sealed space 28 is in the buffer space 15. Consistent with the pressure, the 100 sealed spaces 28 are communicated by the gas guide tube 12 and the buffer space 15, and the die 24 slides downward to punch out the processed product 25. Then, the support rod 27 facing the die 24 is pushed and moved and slid downward, and the other support rod 27 continues to support the processed product 25, at this time, the sealed space 28 and the buffer space. The pressure in the buffer space 15 is increased, and at this time, the pressure pressure in the buffer space and the sealed space 28 is detected by the pressure detecting head 14, the air pump 16 is started, and the buffer space 15 and the sealed space 28 are started. The gas inside is sucked up, and the pressure inside the buffer space 15 and the sealed space 28 is kept at a constant value. At this time, the support rod 27 sliding downward assists the die 24 to the processed product 25. Perform punching.

有益なように、押し抜き加工の前、前記支持棒27の上端面を前記挟み空間21の下側内壁と水平に保ち、そして前記加工品25に水平状態を保持させることができる。 Beneficially, the upper end surface of the support rod 27 can be kept horizontal to the lower inner wall of the sandwiching space 21 and the work piece 25 can be kept horizontal prior to the punching process.

以下、附図1〜7を参照して本願発明の使用ステップを詳しく説明する。 Hereinafter, the steps of using the present invention will be described in detail with reference to FIGS. 1 to 7.

初期に、支持棒27の上端を挟み空間21の下側内壁と水平に保ち、この時、挟み板22が上限界位置にあり、圧力板17の下端がバネ溝19の外部にスライドし、スライド歯車40がスクリュー30及び小プーリ56との連結を保持し、始動スイッチ38が導電ブロック37と接触していなく、ダイ24が上限界位置にあり、緩衝板45が位置制限溝46の中に位置しており、スライド板48と軸スリーブ54が上限界位置にあり、親ネジ42が軸スリーブ54と連結していなく、連結バネ47が引っ張られた状態にある。 Initially, the upper end of the support rod 27 is kept horizontal with the lower inner wall of the sandwiching space 21, and at this time, the sandwiching plate 22 is in the upper limit position, and the lower end of the pressure plate 17 slides out of the spring groove 19 and slides. The gear 40 holds the connection with the screw 30 and the small pulley 56, the start switch 38 is not in contact with the conductive block 37, the die 24 is in the upper limit position, and the buffer plate 45 is in the position limiting groove 46. The slide plate 48 and the shaft sleeve 54 are in the upper limit position, the base screw 42 is not connected to the shaft sleeve 54, and the connecting spring 47 is in a pulled state.

使用時、加工品25を押し抜き空間23と挟み空間21との間に置き、支持棒27の上端を加工品25に当接させ、加工品25の左端がダイ24の左端を越えられなく、この時、電動機59を始動し、モーター58により大プーリ57が駆動されて回転し、伝動ベルト53により従動プーリ50が駆動されて回転し、そしてアーム軸51により軸スリーブ54が駆動されて回転し、この時、親ネジ42と軸スリーブ54とが連結していなく、軸スリーブ54が空回りする状態にあり、それと同時に、大プーリ57が回転して連結ベルト41により小プーリ56が駆動されて回転し、そしてスライド歯車40が駆動されて回転し、スクリュー30により挟み板22が駆動されて挟み板22と加工品25とが当接するまで下方にスライドし、さらに、加工品25が圧力板17をバネ溝19へスライドさせ、さらに圧力バネ18を圧縮し、圧力板17が完全にバネ溝19の中に入った時、対応した側の電磁バネ39に通電し、そしてスライド軸34を駆動して上方にスライドさせ、スライド歯車40を駆動して上方にスライドさせ、またスライド歯車40を従動プーリ50及びスクリュー30との連結から離脱させ、それと同時に、スライド軸34が始動スイッチ38を駆動して上方にスライドさせて導電ブロック37と接触させ、さらに注意灯36を灯し、両側の注意灯36が全部光っていることは挟み板22により加工品25が挟まれて水平状態を保持することを示し、この時、連結バネ47に通電し、そしてスライド板48を下方にスライドさせ、軸スリーブ54を駆動して下方にスライドさせ、さらに軸スリーブ54と親ネジ42を連結し、この時、リンク48が下方にスライドして緩衝バネ44を圧縮し、緩衝板45がスライドしなく、軸スリーブ54が回転して親ネジ42によりダイ24は駆動されて下方にスライドして緩衝板45との接触から離脱し、そして緩衝バネ44の弾性力により緩衝板45が押し動かされて位置制限溝45からスライドし、それと同時にダイ24が下方にスライドして加工品25に対して押し抜き加工を行い、そしてダイ24に正対する支持棒27を下方にスライドさせ、他の支持棒27が引き続き加工品25を支持し、この時、密封空間28及び緩衝空間15内の気圧を増大し、空気ポンプ16を始動し、緩衝空間15及び密封空間28内の気圧を吸い上げ、緩衝空間15及び密封空間28内の気圧に恒常値を保持させ、この時、下方にスライドする支持棒27がダイ24を補助して加工品25に対して押し抜き加工を行い、ダイ24の下端が挟み空間21の下側内壁を超えた時、電動機59を停止し、ここで加工品25に押し抜き加工を行うことが完了となる。 At the time of use, the processed product 25 is placed between the punching space 23 and the sandwiching space 21, and the upper end of the support rod 27 is brought into contact with the processed product 25 so that the left end of the processed product 25 cannot cross the left end of the die 24. At this time, the electric motor 59 is started, the large pulley 57 is driven and rotated by the motor 58, the driven pulley 50 is driven and rotated by the transmission belt 53, and the shaft sleeve 54 is driven and rotated by the arm shaft 51. At this time, the main screw 42 and the shaft sleeve 54 are not connected, and the shaft sleeve 54 is in a state of idling. At the same time, the large pulley 57 rotates and the small pulley 56 is driven by the connecting belt 41 to rotate. Then, the slide gear 40 is driven to rotate, the sandwich plate 22 is driven by the screw 30 and slides downward until the sandwich plate 22 and the processed product 25 come into contact with each other, and the processed product 25 further presses the pressure plate 17. It slides into the spring groove 19, further compresses the pressure spring 18, and when the pressure plate 17 is completely inside the spring groove 19, energizes the corresponding electromagnetic spring 39 and drives the slide shaft 34. Slide upward, drive the slide gear 40 to slide upward, and disengage the slide gear 40 from the connection with the driven pulley 50 and the screw 30, and at the same time, the slide shaft 34 drives the start switch 38 upward. The caution lamp 36 is lit, and the fact that all the caution lamps 36 on both sides are shining indicates that the processed product 25 is sandwiched by the sandwich plate 22 to maintain the horizontal state. At this time, the connecting spring 47 is energized, the slide plate 48 is slid downward, the shaft sleeve 54 is driven and slid downward, and the shaft sleeve 54 and the lead screw 42 are further connected. Slides downward to compress the cushioning spring 44, the cushioning plate 45 does not slide, the shaft sleeve 54 rotates, the die 24 is driven by the lead screw 42, and slides downward from contact with the cushioning plate 45. The cushion plate 45 is pushed and moved by the elastic force of the buffer spring 44 to slide out of the position limiting groove 45, and at the same time, the die 24 slides downward to punch out the work piece 25. The support rod 27 facing the die 24 is slid downward, and the other support rod 27 continues to support the processed product 25. At this time, the pressure in the sealed space 28 and the buffer space 15 is increased, and the air pump 16 is started. Then, the pressure inside the buffer space 15 and the sealed space 28 is sucked up, and the buffer space 15 and the sealed space 28 are sucked up. A constant value is maintained at the air pressure in 28, and at this time, the support rod 27 that slides downward assists the die 24 to punch out the processed product 25, and the lower end of the die 24 is below the sandwiching space 21. When the side inner wall is exceeded, the electric motor 59 is stopped, and the punching process of the processed product 25 is completed here.

電動機59を逆方向に回転するように始動し、ダイ24を上昇させて加工品25から離脱させ、ダイ24の上端が緩衝板45と接触した時、緩衝板45と、リンク48と、スライド板48とを上昇させ、そして軸スリーブ54が親ネジ42との連結から離脱し、ダイ24が上昇しなくなり、この時、緩衝板45が位置制限溝46の中に収められ、電磁バネ39に停電し、そしてスライド歯車40が再び小プーリ56及びスクリュー30と連結され、さらに挟み板22が駆動されて上昇して加工品25から離脱し、この時、押し抜き加工あとの加工品25及びせん断された落下の材料を取り出し、空気ポンプ16が緩衝空間15及び密封空間28にガス入れを行うことにより、支持棒27が初期状態に戻る。 When the electric motor 59 is started to rotate in the opposite direction, the die 24 is raised to separate it from the processed product 25, and the upper end of the die 24 comes into contact with the cushioning plate 45, the cushioning plate 45, the link 48, and the slide plate are used. The 48 and 48 are raised, and the shaft sleeve 54 is disconnected from the lead screw 42, and the die 24 is no longer raised. At this time, the cushioning plate 45 is housed in the position limiting groove 46, and the electromagnetic spring 39 loses power. Then, the slide gear 40 is connected to the small pulley 56 and the screw 30 again, and the sandwich plate 22 is driven to rise and separate from the processed product 25. At this time, the processed product 25 and the processed product 25 after punching are sheared. The falling material is taken out, and the air pump 16 injects gas into the buffer space 15 and the sealed space 28, so that the support rod 27 returns to the initial state.

本願発明の効果は:本願発明は加工品を挟め、また加工する時に加工品に水平状態を保持させ、加工誤差を減少し、押し抜くことをしたあとに加工品が変形する問題を避け、また加工品のせん断輪郭の横断面が完全にダイの横断面により決定され、対応のダイスが要らなく、生産コストを抑えられる。 The effect of the present invention is: The present invention sandwiches the processed product and keeps the processed product in a horizontal state at the time of processing, reduces the processing error, avoids the problem that the processed product is deformed after punching, and also The cross section of the shear contour of the processed product is completely determined by the cross section of the die, so no corresponding die is required and the production cost can be suppressed.

上記の方式により、当業者は本願発明の範囲内で作業状況に応じて様々の改変を加えられる。 According to the above method, those skilled in the art can make various modifications according to the working situation within the scope of the present invention.

Claims (9)

本体を含み、前記本体の中には右方に開口した挟み空間が設置され、前記挟み空間の左側内壁には左方に開口した押し抜き空間が前記挟み空間と連通するように設置され、加工品が前記押し抜き空間と前記挟み空間との間に置かれ、前記挟み空間の上側内壁には駆動装置が設置され、前記挟み空間の中には挟み板がスライド可能に設置され、前記挟み板の中には上方に開口したネジ穴が前後対称に設置され、前記駆動装置の中にある二本のスクリューの下端がそれぞれ両側に位置する前記ネジ穴の中に伸びており、かつ前記挟み板とネジ山により連結され、前記駆動装置は二本の前記スクリューにより前記挟み板をスライドさせることができ、さらに前記加工品を挟め、
前記押し抜き空間の上側内壁には押し抜き装置が設置され、前記押し抜き装置と前記駆動装置とが伝動ベルトにより連結され、前記押し抜き空間の中にはダイがスライド可能に設置され、前記押し抜き装置の中に位置する親ネジの下端が前記押し抜き空間の中に伸びており、かつ前記ダイとネジ山により連結され、前記駆動装置は前記伝動ベルトにより前記押し抜き装置を駆動でき、さらに前記親ネジにより前記ダイを降下させて前記加工品に押し抜き加工を行え、前記加工品の左端面が前記ダイの左端面を越えられなく、
前記押し抜き空間の下側内壁には位置制限溝が前記押し抜き空間と連通するように形成され、前記位置制限溝の中には支持装置が設置され、前記ダイにより前記加工品に押し抜きをする時、前記支持装置は恒常の圧力で前記加工品の下端に支えられ、これにより前記加工品に大きの変形が発生することを避けられ、さらに前記支持装置は前記ダイをサポートして前記加工品に押し抜き加工と落とし作業を行え、前記加工品の押し抜きのところに異なる輪郭をせん断する時、前記ダイを入れ替えるだけでよく、対応のダイスを配備する必要がなく、生産コストを抑えられることを特徴とする加工品の変形を抑えられる押し抜き型設備。
Including the main body, a sandwich space opened to the right is installed in the main body, and a punched space opened to the left is installed on the left inner wall of the sandwich space so as to communicate with the sandwich space, and processed. The product is placed between the punched space and the sandwiching space, a drive device is installed on the upper inner wall of the sandwiching space, and a sandwiching plate is slidably installed in the sandwiching space. Inside, screw holes opened upward are installed symmetrically in the front-rear direction, and the lower ends of the two screws in the drive device extend into the screw holes located on both sides, and the sandwich plate. The drive device can slide the sandwich plate by the two screws, and further sandwich the processed product.
A punching device is installed on the upper inner wall of the punching space, the punching device and the driving device are connected by a transmission belt, and a die is slidably installed in the punching space. The lower end of the base screw located in the punching device extends into the punching space and is connected to the die by a screw thread, and the driving device can drive the punching device by the transmission belt. The die can be lowered by the lead screw to punch out the processed product, and the left end surface of the processed product cannot cross the left end surface of the die.
A position limiting groove is formed on the lower inner wall of the punching space so as to communicate with the punching space, a support device is installed in the position limiting groove, and the die punches the processed product. At that time, the support device is supported by the lower end of the processed product with a constant pressure, thereby avoiding a large deformation of the processed product, and the support device further supports the die to perform the processing. When punching and dropping work can be performed on the product and different contours are sheared at the punched part of the processed product, it is only necessary to replace the die, and it is not necessary to deploy a corresponding die, and the production cost can be suppressed. Punch-type equipment that can suppress deformation of processed products.
前記挟み板の中には下方に開口したバネ溝が前後対称に形成され、前記バネ溝の中には圧力板がスライド可能に設置され、前記圧力板の下端が前記バネ溝から滑り出られ、前記圧力板の上端と前記バネ溝の上側内壁とが圧力バネにより固定的に連結され、前記圧力バネが前記駆動装置に通電できるように連結されていることを特徴とする請求項1に記載の加工品の変形を抑えられる押し抜き型設備。 A spring groove opened downward is formed symmetrically in the sandwich plate, a pressure plate is slidably installed in the spring groove, and the lower end of the pressure plate is slid out from the spring groove. The first aspect of claim 1, wherein the upper end of the pressure plate and the upper inner wall of the spring groove are fixedly connected by a pressure spring, and the pressure spring is connected so that the drive device can be energized. Punch-type equipment that can suppress deformation of processed products. 前記駆動装置は前記挟み空間の上側内壁に設置された伝動空間を含み、前記伝動空間の中には大プーリが回転可能に設置され、前記大プーリの中にはモーターが固定的に連結され、前記伝動空間の下側内壁には電動機が固定的に設置され、前記モーターの下端が前記電動機に伝動可能に連結され、
前記伝動ベルトの右端が前記大プーリに連結され、前記伝動ベルトの左端が前記押し抜き装置に連結され、
前記大プーリの前後両側には小プーリが対称かつ回転可能に設置され、前記大プーリと前記小プーリとが連結ベルトにより連結され、前記小プーリの下端には支持軸が固定的に連結され、前記支持軸の下端が前記伝動空間の下側内壁に回転可能に連結され、
前記小プーリの中には噛み合い穴が前記小プーリの内部を上下に貫通するように設置され、二本の前記スクリューの上端がそれぞれ前記噛み合い穴の中に伸びており、前記スクリューと前記小プーリと前記支持軸とが回転可能に連結され、前記噛み合い穴の中にはスライド歯車が回転可能かつスライド可能に設置され、前記スライド歯車が前記従動プーリに噛み合うことができ、前記スライド歯車の中には下方に開口した連結穴が設置され、前記スクリューの上端が前記連結穴の中に伸びており、前記スライド歯車と連結され、
前記スライド歯車の上端にはスライド軸が回転可能に連結され、前記伝動空間の上側内壁には上方に開口した抜き穴が前後対称かつ前記伝動空間と連通するように設置され、前記スライド軸と前記抜き穴の内壁とが電磁バネにより固定的に連結され、前後両側の前記電磁バネがそれぞれ両側の前記圧力バネに通電可能に連結されていることを特徴とする請求項2に記載の加工品の変形を抑えられる押し抜き型設備。
The drive device includes a transmission space installed on the upper inner wall of the sandwiching space, a large pulley is rotatably installed in the transmission space, and a motor is fixedly connected to the large pulley. An electric motor is fixedly installed on the lower inner wall of the transmission space, and the lower end of the motor is movably connected to the electric motor.
The right end of the transmission belt is connected to the large pulley, and the left end of the transmission belt is connected to the punching device.
Small pulleys are symmetrically and rotatably installed on both front and rear sides of the large pulley, the large pulley and the small pulley are connected by a connecting belt, and a support shaft is fixedly connected to the lower end of the small pulley. The lower end of the support shaft is rotatably connected to the lower inner wall of the transmission space.
A meshing hole is installed in the small pulley so as to penetrate the inside of the small pulley up and down, and the upper ends of the two screws extend into the mesh hole, respectively, and the screw and the small pulley And the support shaft are rotatably connected, a slide gear is rotatably and slidably installed in the meshing hole, the slide gear can mesh with the driven pulley, and the slide gear can be engaged in the slide gear. Is provided with a connecting hole that opens downward, and the upper end of the screw extends into the connecting hole and is connected to the slide gear.
A slide shaft is rotatably connected to the upper end of the slide gear, and a hole opened upward is installed on the upper inner wall of the transmission space so as to be symmetrical in the front-rear direction and communicate with the transmission space. The processed product according to claim 2, wherein the inner wall of the punch hole is fixedly connected by an electromagnetic spring, and the electromagnetic springs on both the front and rear sides are connected to the pressure springs on both sides so as to be energized. Punch-type equipment that can suppress deformation.
前記大プーリの直径が前記小プーリの直径より大きく、そして前記大プーリを主動に回転させられる時、前記連結ベルトにより前記小プーリを回転させることができることを特徴とする請求項3に記載の加工品の変形を抑えられる押し抜き型設備。 The process according to claim 3, wherein the small pulley can be rotated by the connecting belt when the diameter of the large pulley is larger than the diameter of the small pulley and the large pulley can be mainly rotated. Punch-type equipment that can suppress product deformation. 前記スライド軸の上端には始動スイッチが固定的に連結され、前記本体の上端には注意灯が前後対称かつ固定的に連結され、前記注意灯の中には導電ブロックが固定的に設置されていることを特徴とする請求項3に記載の加工品の変形を抑えられる押し抜き型設備。 A start switch is fixedly connected to the upper end of the slide shaft, a caution light is fixedly connected to the upper end of the main body symmetrically in the front-rear direction, and a conductive block is fixedly installed in the caution light. A punch-out type facility capable of suppressing deformation of the processed product according to claim 3, characterized in that the product is provided. 前記押し抜き装置は前記伝動空間の左側内壁に前記伝動空間と連通するように形成されたベルト溝を含み、前記ベルト溝の左側内壁には空き空間が前記ベルト溝と連通するように設置され、前記空き空間の中には従動プーリが回転可能に設置され、前記伝動ベルトの左端が前記従動プーリに連結され、
前記従動プーリの中にはアーム軸が固定的に連結され、前記アーム軸の上端が前記空き空間の上側内壁に回転可能に連結され、前記従動プーリの下側には軸スリーブが回転可能かつスライド可能に設置され、前記軸スリーブの中にはスプライン穴が前記軸スリーブの内部を上下に貫通するように設置され、前記アーム軸の下端が前記スプライン穴に伸びて前記軸スリーブとスプラインにより連結され、
前記親ネジの上端が前記空き空間の中に伸びており、さらに前記スプライン穴の中に伸びて前記軸スリーブとスプラインにより連結されることができ、前記親ネジが前記本体に回転可能に連結されていることを特徴とする請求項3に記載の加工品の変形を抑えられる押し抜き型設備。
The punching device includes a belt groove formed on the left inner wall of the transmission space so as to communicate with the transmission space, and an empty space is installed on the left inner wall of the belt groove so as to communicate with the belt groove. A driven pulley is rotatably installed in the empty space, and the left end of the transmission belt is connected to the driven pulley.
An arm shaft is fixedly connected to the driven pulley, the upper end of the arm shaft is rotatably connected to the upper inner wall of the empty space, and a shaft sleeve is rotatable and slides under the driven pulley. Possible to be installed, a spline hole is installed in the shaft sleeve so as to penetrate the inside of the shaft sleeve up and down, and the lower end of the arm shaft extends into the spline hole and is connected to the shaft sleeve by the spline. ,
The upper end of the lead screw extends into the empty space and can be further extended into the spline hole to be connected to the shaft sleeve by the spline, and the lead screw is rotatably connected to the main body. A punch-out type facility capable of suppressing deformation of the processed product according to claim 3, wherein the product is characterized by the above.
前記従動プーリの下側にはスライド板がスライド可能に設置され、前記スライド板が前記軸スリーブに回転可能に連結され、前記スライド板の下端にはリンクが左右対称かつ固定的に連結され、前記リンクの下端が前記押し抜き空間の中に伸びており、
前記リンクの下側には緩衝板がスライド可能に設置され、前記緩衝板の中には上方に開口した凹溝が形成され、前記リンクの下端と前記凹溝の下側内壁とが緩衝バネにより固定的に連結され、前記スライド板の下端と前記空き空間の下側内壁とが二本の連結バネが固定的に連結され、
前記押し抜き空間の上側内壁には位置制限溝が左右対称かつ前記押し抜き空間と連通するように形成され、前記緩衝板が前記位置制限溝の中にスライドできることを特徴とする請求項6に記載の加工品の変形を抑えられる押し抜き型設備。
A slide plate is slidably installed on the lower side of the driven pulley, the slide plate is rotatably connected to the shaft sleeve, and a link is symmetrically and fixedly connected to the lower end of the slide plate. The lower end of the link extends into the punched space
A cushioning plate is slidably installed on the lower side of the link, a concave groove opened upward is formed in the cushioning plate, and the lower end of the link and the lower inner wall of the concave groove are connected by a cushioning spring. The lower end of the slide plate and the lower inner wall of the empty space are fixedly connected, and two connecting springs are fixedly connected.
The sixth aspect of claim 6 is characterized in that a position limiting groove is formed symmetrically on the upper inner wall of the punched space so as to communicate with the punched space, and the cushioning plate can slide into the position limiting groove. Punching type equipment that can suppress the deformation of processed products.
前記支持装置は前記位置制限溝の下側内壁に環状に配列されかつ前記位置制限溝と連通している百個の密封空間を含み、前記密封空間の中には支持棒がスライド可能に設置され、前記支持棒により前記密封空間が密封され、前記支持棒の上端が前記加工品に当接し、
前記位置制限溝の右側内壁には空気ポンプが固定的に設置され、前記空気ポンプの下端には検出箱が固定的に連結され、前記検出箱の中には上方に開口した緩衝空間が設置され、前記緩衝空間が前記空気ポンプに連通しており、前記空気ポンプの下端には気圧検出ヘッドが固定的に連結され、前記気圧検出ヘッドにより前記緩衝空間の中の気圧をタイムリー監視でき、前記空気ポンプにより前記緩衝空間の中にガス入れまたはガス吸い上げを行うことにより、前記緩衝空間の中の気圧に恒常値を保持させることができ、
前記密封空間の下側内壁と前記緩衝空間の下側内壁とがガスガイド管により固定的に連結され、前記ガスガイド管により前記密封空間と前記緩衝空間とが連通され、前記密封空間内の気圧が前記緩衝空間内の気圧と一致していることを特徴とする請求項1に記載の加工品の変形を抑えられる押し抜き型設備。
The support device includes 100 sealing spaces that are annularly arranged on the lower inner wall of the position limiting groove and communicate with the position limiting groove, in which support rods are slidably installed. , The sealed space is sealed by the support rod, and the upper end of the support rod comes into contact with the processed product.
An air pump is fixedly installed on the inner wall on the right side of the position limiting groove, a detection box is fixedly connected to the lower end of the air pump, and a buffer space opened upward is installed in the detection box. The air pressure detection head is fixedly connected to the lower end of the air pump, and the air pressure detection head can timely monitor the air pressure in the buffer space. By injecting gas or sucking gas into the buffer space with an air pump, it is possible to maintain a constant value at the air pressure in the buffer space.
The lower inner wall of the sealed space and the lower inner wall of the buffer space are fixedly connected by a gas guide pipe, the sealed space and the buffer space are communicated by the gas guide pipe, and the air pressure in the sealed space. The punch-out type equipment according to claim 1, wherein the perforated product can suppress deformation of the processed product according to claim 1, wherein is consistent with the air pressure in the buffer space.
押し抜き加工の前、前記支持棒の上端面を前記挟み空間の下側内壁と水平に保ち、そして前記加工品に水平状態を保持させることができることを特徴とする請求項8に記載の加工品の変形を抑えられる押し抜き型設備。 The processed product according to claim 8, wherein the upper end surface of the support rod can be kept horizontal with the lower inner wall of the sandwiching space before the punching process, and the processed product can be kept in a horizontal state. Punch-type equipment that can suppress the deformation of.
JP2020027585A 2019-10-25 2020-02-20 Punching type equipment that can suppress deformation of processed products Expired - Fee Related JP6784903B1 (en)

Applications Claiming Priority (2)

Application Number Priority Date Filing Date Title
CN201911024825.6 2019-10-25
CN201911024825.6A CN110695184B (en) 2019-10-25 2019-10-25 Blanking die equipment capable of reducing workpiece deformation

Publications (2)

Publication Number Publication Date
JP6784903B1 JP6784903B1 (en) 2020-11-18
JP2021065933A true JP2021065933A (en) 2021-04-30

Family

ID=69203529

Family Applications (1)

Application Number Title Priority Date Filing Date
JP2020027585A Expired - Fee Related JP6784903B1 (en) 2019-10-25 2020-02-20 Punching type equipment that can suppress deformation of processed products

Country Status (2)

Country Link
JP (1) JP6784903B1 (en)
CN (1) CN110695184B (en)

Families Citing this family (21)

* Cited by examiner, † Cited by third party
Publication number Priority date Publication date Assignee Title
CN111483168B (en) * 2020-05-14 2021-12-03 聊城锐利机械设备有限公司 Tabletting mechanism of rotary tablet press
CN112427530A (en) * 2020-12-12 2021-03-02 湖北伟士通汽车零件有限公司 External tooth fine punching die for electric angle adjuster of automobile seat
CN113035543B (en) * 2021-02-26 2022-12-13 湘潭华夏特种变压器有限公司 Manufacturing process of oil tank shell of oil-immersed transformer
CN112935067A (en) * 2021-03-26 2021-06-11 上海迪探节能科技有限公司 Middle-sealing punching die structure
CN113959135B (en) * 2021-09-08 2023-04-21 广州市亚威特汽车零部件有限公司 Cooling device for new energy automobile processing
CN113890288B (en) * 2021-10-08 2022-10-14 深圳市中科世纪科技有限公司 A brushless DC motor manufacturing stator assembly automatic processing equipment
CN114102953B (en) * 2021-11-27 2024-07-12 临朐瑞星塑胶制品有限公司 Heating device for production of door and window sealing rubber sheet
CN114268195B (en) * 2021-12-31 2023-06-09 杭州萧山环宇冲件有限公司 Stamping die method for motor stator punching sheet
CN114261124A (en) * 2022-01-05 2022-04-01 安徽精晟模具有限公司 Press-forming molding equipment for mold production and processing
CN114505382B (en) * 2022-02-17 2023-10-24 泰州市长征冷机管件有限公司 Automatic pipe bending machine for inner exhaust pipe of refrigerator compressor
CN115055682B (en) * 2022-08-22 2022-11-04 蓬莱市超硬复合材料有限公司 Forming device and method for powder metallurgy
CN116117013A (en) * 2022-10-13 2023-05-16 刘冰 High-precision hardware stamping die
CN115608841B (en) * 2022-10-27 2024-01-02 江门市镇怡实业有限公司 Punching device and method for sheet metal machining with continuous operation conversion head structure
CN116984461B (en) * 2023-09-25 2023-12-19 黑龙江勃锦悍马农业装备制造有限公司 Stamping device and method for no-tillage planter shell
CN117110094B (en) * 2023-10-23 2024-03-22 深圳市德迅达精密工业有限责任公司 Precision die strength detection equipment
CN117245729B (en) * 2023-11-15 2024-01-30 江苏沃凯氟精密智造有限公司 A kind of automobile seal strip punching equipment
CN117281737B (en) * 2023-11-22 2024-02-02 山西旺龙药业集团有限公司 Filling device and method for producing norfloxacin capsules
CN118371582B (en) * 2024-06-21 2024-08-20 常州市生生线缆有限公司 New forms of energy battery is with aluminium row stamping device
CN118905069B (en) * 2024-09-09 2025-05-16 南京朗耀照明科技有限公司 Stamping equipment for lamp shell machining
CN119076737B (en) * 2024-10-22 2025-02-28 江苏海森电气科技有限公司 A device for processing a partition plate in an air conditioner outdoor unit and a method for using the same
CN120551482B (en) * 2025-07-31 2025-09-26 内蒙古正能化工集团有限公司 Frock clamp is used in magnesium ingot processing

Citations (18)

* Cited by examiner, † Cited by third party
Publication number Priority date Publication date Assignee Title
JPS4522781Y1 (en) * 1966-05-09 1970-09-08
JPS56152126U (en) * 1980-04-11 1981-11-14
JPS6032916Y2 (en) * 1980-12-22 1985-10-01 相生精機株式会社 Knockout device for press machines
JPH01284434A (en) * 1988-05-12 1989-11-15 Tanaka Kikinzoku Kogyo Kk Processing mold for circular filler metal
JPH05220522A (en) * 1992-02-13 1993-08-31 Nippon Avionics Co Ltd Blanking press machine
JPH07265968A (en) * 1994-03-28 1995-10-17 Apic Yamada Kk Press die device
JP2594732B2 (en) * 1992-07-15 1997-03-26 協栄プリント技研株式会社 Die for printed circuit board punching
JP2002346654A (en) * 2001-05-18 2002-12-03 Zexel Valeo Climate Control Corp Press equipment
JP3558663B2 (en) * 1993-07-19 2004-08-25 株式会社アマダ Punching equipment
JP3680102B2 (en) * 1995-07-17 2005-08-10 パスカル株式会社 Printed circuit board punching equipment
WO2006001329A1 (en) * 2004-06-25 2006-01-05 Amada Company, Limited Punch mold
JP3943686B2 (en) * 1997-12-15 2007-07-11 パスカルエンジニアリング株式会社 Printed circuit board punching equipment
JP4529271B2 (en) * 2000-10-20 2010-08-25 パナソニック株式会社 Mold for electrode plate cutting
JP4783667B2 (en) * 2006-04-27 2011-09-28 住友重機械工業株式会社 Tie bar cutting mold
JP2017013134A (en) * 2015-07-06 2017-01-19 ファインツール インターナショナル ホールディング アーゲー Apparatus and method for withdrawing/pushing out punched grid/inner mold member and ejecting blanked member in precision blanking press
JP2018083220A (en) * 2016-11-25 2018-05-31 Shマテリアル株式会社 Progressive metal mold, and method for manufacturing lead frame
JP2018093103A (en) * 2016-12-06 2018-06-14 三菱電機株式会社 Lead processing apparatus and semiconductor device manufactured using the same
JP2020025962A (en) * 2018-08-09 2020-02-20 株式会社三井ハイテック Molded body manufacturing method and manufacturing device

Family Cites Families (5)

* Cited by examiner, † Cited by third party
Publication number Priority date Publication date Assignee Title
JP2899276B1 (en) * 1998-06-02 1999-06-02 彰久 村田 Butt joining apparatus and joining method for strip-shaped metal sheets
CN103817201B (en) * 2014-03-17 2016-02-24 南京欧创机电有限公司 A kind of sheet metal blanking units
CN204602992U (en) * 2015-04-30 2015-09-02 浙江惠创风机有限公司 A kind of two-way perforating mechanism of blower frame band material with counting device
CN108620476A (en) * 2018-06-06 2018-10-09 湖州坚美电声元件有限公司 A kind of safe hole punched device of stamping parts
CN109175032A (en) * 2018-09-24 2019-01-11 赵银栋 A kind of stainless steel tube bending equipment easy to use

Patent Citations (18)

* Cited by examiner, † Cited by third party
Publication number Priority date Publication date Assignee Title
JPS4522781Y1 (en) * 1966-05-09 1970-09-08
JPS56152126U (en) * 1980-04-11 1981-11-14
JPS6032916Y2 (en) * 1980-12-22 1985-10-01 相生精機株式会社 Knockout device for press machines
JPH01284434A (en) * 1988-05-12 1989-11-15 Tanaka Kikinzoku Kogyo Kk Processing mold for circular filler metal
JPH05220522A (en) * 1992-02-13 1993-08-31 Nippon Avionics Co Ltd Blanking press machine
JP2594732B2 (en) * 1992-07-15 1997-03-26 協栄プリント技研株式会社 Die for printed circuit board punching
JP3558663B2 (en) * 1993-07-19 2004-08-25 株式会社アマダ Punching equipment
JPH07265968A (en) * 1994-03-28 1995-10-17 Apic Yamada Kk Press die device
JP3680102B2 (en) * 1995-07-17 2005-08-10 パスカル株式会社 Printed circuit board punching equipment
JP3943686B2 (en) * 1997-12-15 2007-07-11 パスカルエンジニアリング株式会社 Printed circuit board punching equipment
JP4529271B2 (en) * 2000-10-20 2010-08-25 パナソニック株式会社 Mold for electrode plate cutting
JP2002346654A (en) * 2001-05-18 2002-12-03 Zexel Valeo Climate Control Corp Press equipment
WO2006001329A1 (en) * 2004-06-25 2006-01-05 Amada Company, Limited Punch mold
JP4783667B2 (en) * 2006-04-27 2011-09-28 住友重機械工業株式会社 Tie bar cutting mold
JP2017013134A (en) * 2015-07-06 2017-01-19 ファインツール インターナショナル ホールディング アーゲー Apparatus and method for withdrawing/pushing out punched grid/inner mold member and ejecting blanked member in precision blanking press
JP2018083220A (en) * 2016-11-25 2018-05-31 Shマテリアル株式会社 Progressive metal mold, and method for manufacturing lead frame
JP2018093103A (en) * 2016-12-06 2018-06-14 三菱電機株式会社 Lead processing apparatus and semiconductor device manufactured using the same
JP2020025962A (en) * 2018-08-09 2020-02-20 株式会社三井ハイテック Molded body manufacturing method and manufacturing device

Also Published As

Publication number Publication date
CN110695184B (en) 2020-07-03
JP6784903B1 (en) 2020-11-18
CN110695184A (en) 2020-01-17

Similar Documents

Publication Publication Date Title
JP6784903B1 (en) Punching type equipment that can suppress deformation of processed products
CN204735591U (en) Manual punching device of baffle backing plate
CN203292310U (en) Trimming mold movable waste cutter of automobile covering part
CN104889233A (en) Manual punching device of guide plate base plate
CN213437541U (en) Plate shearing machine is used in vehicle air conditioner production
CN203526948U (en) Automatic aluminum product processing machine
CN210966624U (en) Punching, half-cutting and forming device for automobile safety airbag gas filter screen
CN208629693U (en) A kind of glass drilling machine operating Portable safety
CN111390027A (en) Numerical control machining rapid forming stamping die
CN217393492U (en) A stamping die for LED lamp power supply cover
CN217141891U (en) Automatic cutting equipment for electric cabinet wire slot
CN215358780U (en) Paper indentation die-cutting integrated machine
CN205651064U (en) Shearing machine
CN205128757U (en) Stamping machine
CN112775333B (en) High-efficient pair of small-size part that discharges fast closes stamping die
CN112742989B (en) Rapid forming die is used in iron box processing
CN211053884U (en) Multi-station top-breaking packaging machine
CN104707905B (en) Cupping tool
CN112974626A (en) Automatic punching and cutting integrated machine
CN113977315A (en) High-end equipment is with sharp limit cutting equipment of shell
CN114309265A (en) Efficient production progressive die production process
CN221453994U (en) Sheet metal part stamping forming device
CN221064123U (en) Refrigerator front and rear plate stamping die with discharging function
CN113198904A (en) Automobile steering knuckle casting punching device without tool withdrawal resistance and punching method thereof
CN220697992U (en) Punching equipment for stainless steel processing

Legal Events

Date Code Title Description
A521 Request for written amendment filed

Free format text: JAPANESE INTERMEDIATE CODE: A523

Effective date: 20200608

A871 Explanation of circumstances concerning accelerated examination

Free format text: JAPANESE INTERMEDIATE CODE: A871

Effective date: 20200718

A975 Report on accelerated examination

Free format text: JAPANESE INTERMEDIATE CODE: A971005

Effective date: 20200806

TRDD Decision of grant or rejection written
A01 Written decision to grant a patent or to grant a registration (utility model)

Free format text: JAPANESE INTERMEDIATE CODE: A01

Effective date: 20200819

A711 Notification of change in applicant

Free format text: JAPANESE INTERMEDIATE CODE: A711

Effective date: 20200829

A61 First payment of annual fees (during grant procedure)

Free format text: JAPANESE INTERMEDIATE CODE: A61

Effective date: 20200829

A521 Request for written amendment filed

Free format text: JAPANESE INTERMEDIATE CODE: A821

Effective date: 20200909

R150 Certificate of patent or registration of utility model

Ref document number: 6784903

Country of ref document: JP

Free format text: JAPANESE INTERMEDIATE CODE: R150

LAPS Cancellation because of no payment of annual fees