JP2020172824A - 排水用トラップ - Google Patents

排水用トラップ Download PDF

Info

Publication number
JP2020172824A
JP2020172824A JP2019076499A JP2019076499A JP2020172824A JP 2020172824 A JP2020172824 A JP 2020172824A JP 2019076499 A JP2019076499 A JP 2019076499A JP 2019076499 A JP2019076499 A JP 2019076499A JP 2020172824 A JP2020172824 A JP 2020172824A
Authority
JP
Japan
Prior art keywords
drainage
trap
opening
flow path
path forming
Prior art date
Legal status (The legal status is an assumption and is not a legal conclusion. Google has not performed a legal analysis and makes no representation as to the accuracy of the status listed.)
Granted
Application number
JP2019076499A
Other languages
English (en)
Other versions
JP6871966B2 (ja
Inventor
大輔 野島
Daisuke Nojima
大輔 野島
武己 佐藤
Takemi Sato
武己 佐藤
Current Assignee (The listed assignees may be inaccurate. Google has not performed a legal analysis and makes no representation or warranty as to the accuracy of the list.)
Toei Electric Co Ltd
Toei Kogyo KK
Original Assignee
Toei Electric Co Ltd
Toei Kogyo KK
Priority date (The priority date is an assumption and is not a legal conclusion. Google has not performed a legal analysis and makes no representation as to the accuracy of the date listed.)
Filing date
Publication date
Application filed by Toei Electric Co Ltd, Toei Kogyo KK filed Critical Toei Electric Co Ltd
Priority to JP2019076499A priority Critical patent/JP6871966B2/ja
Publication of JP2020172824A publication Critical patent/JP2020172824A/ja
Application granted granted Critical
Publication of JP6871966B2 publication Critical patent/JP6871966B2/ja
Active legal-status Critical Current
Anticipated expiration legal-status Critical

Links

Images

Landscapes

  • Sink And Installation For Waste Water (AREA)

Abstract

【課題】各種排水設備に装着した際に、この排水設備の下方に所要の空間を形成可能に構成することによって、利用者が排水設備を楽に利用することを可能にする排水用トラップを提供する。【解決手段】この発明の排水用トラップ1は、筒状の管部材2と、前記管部材2内に着脱自在に装着される有底筒状の流路形成部材3と、前記流路形成部材3内に着脱自在に装着されるトラップ主体4と、前記管部材2の下端開口部2eに着脱自在に装着されるキャップ部材5で構成され、前記流路形成部材3は、その上部と側面の、前記管部材2の開口部2cに相当する位置に開口部3eを有し、内面の所要部位に前記トラップ主体4を装着するための装着部を有し、内底面が、側面の開口部下縁に向けて水平面又は下方に傾斜させた傾斜面に形成されるように構成されている。【選択図】図1

Description

この発明は、各種排水設備の配管の途中に配置される排水用トラップに関するものである。
より具体的には、キッチンの流し場や洗面所、風呂場など各種排水設備の下方に設けて、上方からの排水を側方に流通させる排水用トラップに関するもので、配管技術、さらには建造物の構築技術に属するものである。
従来、排水管には出口側からの悪臭や害虫などの侵入を防止する目的でS字トラップなどの封水式排水管トラップが設けられている。
しかしながら、この封水式排水管トラップにおいては、これが排水管の折曲部分に溜った排水の封鎖作用を利用するものであるため、折曲部分に常に一定量の排水が残留する上、固形物などが詰まり易いなどの問題があった。
さらに、排水の頻度が低い場合には、トラップ内の排水が蒸発し、封鎖作用が得られなくなるという問題もあった。
さらにまた、洗面所の場合において、設置される洗面器は、その下方に封水式排水管トラップが設けられる構造を有するものであるため、その利用者、特に車椅子使用者がその洗面器を利用しようとすると、利用者の足や車椅子が封水式排水管トラップに接触してしまい、利用者が十分に洗面器に近づくことができず、或いは封水式排水管トラップを避けるように無理な姿勢で洗面器に近づかざるをえないという問題もあった。
キッチンの流し場や洗面所、風呂場など各種排水設備に対して、封水式排水管トラップに代えて、揺動弁体にバランスウエイトを設け、排水が無い時はバランスウエイトによって揺動弁体を閉鎖し、排水時には該排水の重量或いは流水圧で弁体を開く排水用トラップ(弁トラップ)を設ける方法が知られている。
例えば、実公昭63−23489号公報(特許文献1)においては、大きなスペースがなくても排水管に接続でき、しかも、生ごみなどが詰まるおそれがなく安心して使用でき、悪臭の上昇を確実に防ぐことができることは勿論、虫やねずみの侵入も完全に阻止できる排水用トラップが提案されている。
この排水用トラップは、排水の流出口となる側の管口を傾斜させると共に、その傾斜面と鈍角をなす側の管壁に、該管口を傾斜面に沿って割円状に塞ぐ突出片を設け、この突出片に、該管口の外側へ向けて一対の支腕を設け、この両支腕に軸を架け渡し、一方、弁主体部と錘保持部とを側面形状がくの字形をなすように屈折した弁の、錘保持部に錘を固定し、この錘保持部を水平方向に位置して前記軸に該弁を揺動自在に取付け、錘によって弁主体部が突出片と一直線上に連なるようにして管口を塞ぐ方向に付勢したものである。
さらに、特開2004−197453号公報(特許文献2)においては、キャップを回動してケーシングの螺合部から外し、該キャップを上方に持ち上げることで、弁トラップユニットを取り出すことができ、メンテナンスや清掃を容易且つ確実に行うことができる排水用トラップが提案されている。
この排水用トラップは、上流側排水管の下端部に接続可能な管状体をなし該管状体の下端部に径方向外方に張出したフランジ部を形成したスリーブと、前記フランジ部と略同径の筒状体をなし下端部に下流側排水管の上端部に接続可能な管状部を有すると共に筒状体部の上端側外周面に螺合部を形成したケーシングと、短管状体の傾斜した管口に開閉可能な揺動弁体を設け且つ該揺動弁体を閉鎖方向に付勢するバランスウエイトを設けると共に上端部には径方向外方に張出し前記スリーブのフランジ部と略同径のフランジ部を形成した弁トラップユニットと、スリーブ管状体部を挿通可能な開口部を上端蓋部中央に有しその外周下側に連なる短円筒部にスリーブフランジ部及び弁トラップユニットフランジ部を収容可能であると共に該短円筒部下端内周面にケーシングの螺合部に対応する螺合部を形成したキャップとで構成されるものである。
実公昭63−23489号公報(実用新案登録請求の範囲,図2) 特開2004−197453号公報(特許請求の範囲,図1)
前記特許文献1および2に開示されている排水用トラップは、下方に排水するもので、各種排水設備の下方に備えられている排水管と床下に設けられる排水管との間に取り付けられるものであるため、排水設備の下方に、利用者の足や車椅子使用者の車椅子が近づくのに十分な空間を形成することは困難であった。
したがって、排水設備の利用者、特に車椅子使用者が利用しやすい点において、さらなる改善が求められている。
この発明はかかる現状に鑑み、排水用トラップを、各種排水設備に装着した際に、この排水設備の下方に所要の空間を形成可能に構成することによって、利用者、特に車椅子使用者が排水設備を楽に利用することを可能にし、排水設備の下方に設けられる収納スペースをより大きなものにすることを可能にする排水用トラップを提供せんとするものである。
前記目的を達成するため、この発明にかかる請求項1に記載の発明は、
上下端開放の筒状体で構成される管部材と、前記管部材内に着脱自在に装着される有底筒状の流路形成部材と、前記流路形成部材内に着脱自在に装着されるトラップ主体と、前記管部材の下端開口部に着脱自在に装着されるキャップ部材から構成される排水用トラップにおいて、
前記管部材は、
その上端部に排水管と接続可能な接続部を有するとともに、側面に貫通形成された開口部周縁から側方に延出することにより形成した排水管と接続可能な接続部を有し、
前記流路形成部材は、
その上部の、前記管部材の上部開口部に相当する位置と、側面の、前記管部材の側方開口部に相当する位置のそれぞれに開口部を有するとともに、内面の所要部位に、前記トラップ主体を装着するための装着部を有し、内底面が、前記側面の開口部下縁に向けて水平面又は下方に傾斜させた傾斜面に形成され、
前記トラップ主体は、
前記側方開口部側の端部を前端として、下部開口部が後方に向かって周面が減少する傾斜面を有し、上部開口部には一対の軸受け部を有するフランジが形成されたもので、前記下部開口部の後部側は遮蔽板によって閉塞され、前記遮蔽板によって閉塞されない部位を弁体によって開閉自在としたこと
を特徴とする排水用トラップである。
この発明の請求項2に記載の発明は、
請求項1に記載の排水用トラップにおいて、
前記内底面は、
前記側面の開口部下縁に向けて下方に傾斜させた傾斜面に形成されていること
を特徴とするものである。
この発明の請求項3に記載の発明は、
請求項2に記載の排水用トラップにおいて、
前記傾斜面は、
前記管部材の側方接続部の下側の内周面との接続部位が、段差のない又は少ない状態で滑らかに繋がるように形成されていること
を特徴とするものである。
この発明の請求項4に記載の発明は、
請求項1〜3のいずれかに記載の排水用トラップにおいて、
前記流路形成部材は、
その頂部が前記管部材の内壁に当接し、かつその底面が前記キャップ部材の裏面と当接するよう構成されていること
を特徴とするものである。
この発明の請求項5に記載の発明は、
請求項1〜4のいずれかに記載の排水用トラップにおいて、
前記トラップ主体は、
弁体を備え、
前記弁体は、
全体が楕円状の板状体で構成され、その基端側を、側面視へ字状になるよう折り曲げて屈曲部を形成し、最上部には、弁体を常時閉鎖方向に付勢するバランスウエイトを設け、屈曲部には、揺動のための支軸を保持する筒状の保持部を設けたものであること
を特徴とするものである。
この発明の請求項6に記載の発明は、
請求項1〜5のいずれかに記載の排水用トラップにおいて、
前記流路形成部材は、
その内面の所要部位に、リング状の載置部と、この載置部の内側に突出形成されるリング状の段部と、この段部に、一方側の嵌合凹部を他方側の嵌合凹部に対して偏倚させて設けられる一対の嵌合凹部を備え、
前記トラップ主体は、
流入口を囲繞して外方に向かってフランジが一体的に形成され、かつこのフランジの下面の、前記嵌合凹部に相当する位置に、弁体を揺動自在に保持するための支軸の、両端部を係合保持する一対の軸受け部が設けられたものであること
を特徴とするものである。
この発明の排水用トラップは、上下端開放の筒状体で構成される管部材と、前記管部材内に着脱自在に装着される有底筒状の流路形成部材と、前記流路形成部材内に着脱自在に装着されるトラップ主体と、前記管部材の下端開口部に着脱自在に装着されるキャップ部材で構成したものであって、前記管部材を、その上端部に排水管と接続可能な接続部を備えるとともに、側面に貫通形成された開口部周縁から側方に延出することにより形成した排水管と接続可能な接続部を備えるように構成し、前記流路形成部材を、その上部の、前記管部材の上部開口部に相当する位置と、側面の、前記管部材の側方開口部に相当する位置のそれぞれに開口部が形成され、内面の所要部位に、前記トラップ主体を装着するための装着部が形成され、内底面が、前記側面の開口部下縁に向けて水平面又は下方に傾斜させた傾斜面に形成されるように構成し、前記トラップ主体を、前記側方開口部側の端部を前端として、下部開口部が後方に向かって周面が減少する傾斜面を有し、上部開口部には一対の軸受け部を有するフランジが形成されるよう構成するとともに、前記下部開口部の後部側を遮蔽板によって閉塞し、前記遮蔽板によって閉塞されない部位を弁体によって開閉自在となるよう構成したものである。
したがって、前記排水用トラップは、トラップ自体を小型化することができるので、極めてコンパクトに構成され、各種排水設備に装着した際に、この排水設備の下方に所要の空間を形成することができ、利用者が車椅子使用者の場合であっても、排水設備を楽に利用することを可能にし、さらに、排水設備の下方に設けられる収納スペースをより大きなものにすることを可能にするという利点を有している。
さらに、前記排水用トラップは、流路形成部材や弁体の着脱が容易であるので、その清掃、メンテナンス作業が容易なものである。
さらに、前記排水用トラップにおいて、前記流路形成部材の内底面を、前記側面の開口部下縁に向けて下方に傾斜させた傾斜面に形成することができる。
このような構成によって、前記流路形成部材内を通過する排水は、対流を起こすことなく、円滑に流出することができ、さらに、前記流路形成部材内におけるゴミや髪の毛などの異物の堆積がないか又はその抑制に優れたものとすることができる。
その際、前記傾斜面を、前記流路形成部材が前記管部材内に装着された状態において、前記管部材の側方の接続部の下側の内周面との接続部位が、段差のない又は少ない状態で滑らかに繋がるように形成することが好ましい。
さらに、前記排水用トラップにおいて、前記流路形成部材を、その頂部が前記管部材の内壁に当接し、かつその底面が前記キャップ部材の裏面と当接するよう構成することができる。
このような構成によって、前記流路形成部材の過剰な揺動を抑止することができる。
さらに、前記流路形成部材の内面の所要部位に、リング状の載置部と、この載置部の内側に突出形成されるリング状の段部と、この段部に、一方側の嵌合凹部を他方側の嵌合凹部に対して偏倚させて設けられる一対の嵌合凹部を形成するとともに、前記トラップ主体を、流入口を囲繞して外方に向かってフランジが一体的に形成され、かつこのフランジの下面の、前記嵌合凹部に相当する位置に、弁体を揺動自在に保持するための支軸の、両端部を係合保持する一対の軸受け部が設けられるように構成することができる。
このような構成によって、前記トラップ主体を前記流路形成部材内に正確に装着することができる。
さらにまた、この発明の排水用トラップは、これを構成するトラップ主体を管部材に対して着脱可能としているので、排水用トラップの清掃、メンテナンス作業を大幅に簡素化することができる。
この発明にかかる排水用トラップの一例を示す縦断面図である。 図1に示される排水用トラップを構成する管部材の縦断面図である。 図1に示される排水用トラップを構成する流路形成部材の縦断面図である 図1に示される排水用トラップを構成するトラップ主体の縦断面図である。 図4に示されるトラップ主体の平面図である。 図4に示されるトラップ主体の底面図である。 図2に示される流路形成部材の平面図である。 図1に示される排水用トラップを構成するキャップ部材の平面図である。 図8に示されるキャップ部材の縦断面図である。
以下、この発明にかかる排水用トラップについて、添付の図面に基づいて具体的に説明する。
なお、この発明は開示された実施例にのみ限定されるものではなく、その要旨を変更しない範囲内において種々改良することができるものである。
図1は、この発明にかかる排水用トラップの一例を示す断面図である。
この発明にかかる排水用トラップ1は、図1に示すように、排水をコントロールするトラップ主体4と、このトラップ主体4を着脱自在に装着し、かつ上方(排水設備)から流入した排水を横方向に流通させる流路形成部材3と、この流路形成部材を着脱自在に装着する管部材2と、この管部材2に、その下端開口部2eを閉止するよう着脱自在に装着されるキャップ部材5とから構成されるものである。
なお、前記排水用トラップ1は、ステンレスなどの金属材料や合成樹脂材料などの適当な材料で構成することができ、これを構成する材料については特段の制限はない。
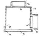
前記管部材2は、排水管として機能するもので、図1及び2に示すように、上下端開放の筒状体で構成されている。
なお、図1及び2において、管部材2は、前記流路形成部材3を収容すべく、その内径が前記流路形成部材3の外径とほぼ等しくなるよう構成されている。
図1及び2において、前記筒状体は、横断面円形のものであり、その上部開口部2c側には、排水を流入させる排水管の下端部と接続可能な接続部2aが形成されている。
さらに、前記管部材2の側面には、側方開口部2dが貫通形成され、この開口部2d周縁から側方に延出させて、排水を流出させるための排水管の端部と接続可能な接続部2bが形成されている。
さらにまた、前記管部材2の下端側内周面には、前記キャップ部材5との螺合のための螺合部2gが形成されている。
なお、前記管部材2の内周面の所要部位には、後述する流路形成部材3の外周面に形成されたストッパ3iと係合して流路形成部材3の位置決めと固定を行うための係合部2fが形成されている。
前記管部材2の内部に着脱自在に装着される流路形成部材3は、図1及び3に示すように、上部開口部3eを排水の流入口として有する有底筒状体で構成されたもので、その側面には、排水を横方向に排出する流出口としての開口部3fが貫通形成され、内面の所要部位には、後述するトラップ主体4を装着するための装着部が形成されている。
図1、3及び7において、前記流路形成部材3は、横断面円形の有底筒状体で構成されており、前記管部材2の内径とほぼ等しい外径を有するよう構成されている。
図1及び3に示すように、前記上部の開口部3eは、前記管部材2の上部開口部2cと連通するよう、前記管部材2の上部開口部2cに相当する位置に形成され、前記側面の開口部3fは、前記管部材2の側方開口部2dと連通するよう、前記管部材2の側方開口部2dに相当する位置に形成されている。
このような構成によって、前記流路形成部材3において、排水経路が形成される。
この実施例において、前記上部の開口部3eは、前記上部開口部2cよりも大きい平面視円形になるよう形成されている。
なお、前記側面の開口部3fは、前記側方開口部2dよりも大きい平面視矩形になるよう形成され、かつ開口部3f下縁と側方開口部2d下縁が水平に連なるようにされているが、開口部3f下縁側より側方開口部2d下縁側が低位置となるように形成してもよい。
前記流路形成部材3の内底面3dは、排水誘導のため、前記管部材2の側方開口部2dに連通する側方開口部3fに向けて水平面又は下方に傾斜させた傾斜面に形成される。
図1及び3において、前記流路形成部材3は、その内底面3dを、側方開口部3f下縁に向けて下方に傾斜させた傾斜面を有する。
このような構成によって、前記流路形成部材3内を通過する排水は、対流を起こすことがないので、円滑に流出する。
さらに、前記流路形成部材3内にゴミや髪の毛などの異物が堆積しないか又はその堆積の抑制に優れているという作用効果も得られる。
なお、前記内底面3dを側方開口部3fに向けて下方に傾斜させる場合において、前記傾斜面は、前記流路形成部材3が前記管部材2内に装着された状態において、前記管部材2の接続部2bの下側の内周面との接続部位が、段差のない又は少ない状態で滑らかに繋がるように形成されることがより好ましい。
前記流路形成部材3の上部内面の所要部位には、図3及び7に示すように、前記トラップ主体4を装着するための装着部が形成されている。
前記装着部は、リング状の載置部3aと、この載置部3aの内側に突出形成されるリング状の段部3bから構成されている。
前記段部3bには、一対の嵌合凹部3c,3cが、一方の嵌合凹部3cが相対する部位から偏倚した状態で形成されている。
したがって、後述するように、前記トラップ主体4を、その底部側から前記流路形成部材3内に、軸受け4d,4dが嵌合凹部3c,3cと嵌合するよう挿入すると、前記トラップ主体4は、前記流路形成部材3内に離脱不能に固定される。
図1において、前記流路形成部材3の中央に形成された凹部3gは、前記キャップ部材5の上面に形成された嵌合部5cと嵌合している。
したがって、前記流路形成部材3は、その頂部が前記管部材2の内壁に当接し、かつその底面が、前記キャップ部材5の裏面と当接するよう構成されているので、前記流路形成部材3の過剰な揺動が抑止される。
なお、図1及び図3に示すように、前記流路形成部材3の上部開口部3eの周縁を所要の深さ切り欠いてリング状のフィルタ取付部3hを形成し、この取付部3hに、前記管部材2の上部開口部2c及び前記流路形成部材3の上部開口部3eを通過する排水中のゴミや髪の毛などを捕集する捕集部材としての網状のフィルタ部材(図示せず)を配してもよい。
前記流路形成部材3に装着されるトラップ主体4は、図4に示すように、上部に流入口4aを有する短い筒状体からなるもので、前記流入口4aを囲繞して外方に向かってフランジ4cが一体的に形成されるとともに、側方開口部3f側の端部を前端として、その下部を、前端から後端に向かって斜め上方に傾斜するようカットして流出口4bとしたものである。
前記フランジ4cの下面には、図6に示すように、弁体6を揺動自在に保持するための支軸7の、両端部を係合保持する一対の軸受け部4d,4dが設けられている。
図6において、軸受け4d,4dは、前記嵌合凹部3c,3cに相当する位置に設けられているので、一方側が他方側に対して偏倚状態にある。
したがって、前記トラップ主体4を前記流路形成部材3に装着する際、図7に示すように、前記軸受け4d,4dと前記流路形成部材3の段部3bに形成された嵌合凹部3c,3cをそれぞれ嵌合させた状態で、前記フランジ4cを前記載置部3aに載置することによって、前記トラップ主体4が前記流路形成部材3内に正確に装着される。
さらに、前記トラップ主体4の、下部開口部の後端側には、図4及び5で明らかなように、開口部に沿って半円状の遮蔽板4eが固定される。
なお、この実施例において、前記遮蔽板4eによって閉止される開口部は、前記トラップ主体4の下部開口部の直径の1/2以下としてある。
前記トラップ主体2には、図4に示すように、弁体6が装着される。
前記弁体6は、図4及び6に示すように、前記遮蔽板4eで閉塞された以外の開口部を開閉するもので、全体が楕円状の板状体からなる弁体6の基端側を、側面視「へ」字状になるよう折り曲げて屈曲部6bを形成し、最上部6aには、弁体6を常時閉鎖方向に付勢するバランスウエイトBWを設け、屈曲部6bには、揺動のための支軸7を挿通する軸受け(保持部)6cを設けたものである。
したがって、弁体6は、前記軸受け部4d,4d間に保持された支軸7の各端部を、前記軸受け6cに軸支することによって、揺動自在とするものである。
前記バランスウエイトBWは、前記弁体6を常時閉方向に付勢するためのもので、排水の水圧もしくは流量がバランスウエイトBWの重量より多くなった場合には、バランスウエイトBWはその付勢力を失くすので、前記弁体6が開き、排水が、排水流出部としての開口部3fに流出する。
前記管部材2の下部開口部2eには、図1に示すように、この開口部2eを閉止するよう、開口部2eの内径とほぼ等しい外径の端部を有するキャップ部材5が着脱自在に装着される。
前記キャップ部材5の上端外周面には、前記管部材2の下端側内周面の螺合部2gに対応する螺合部5bが形成されている。
なお、前記管部材2と前記キャップ部材5の係合方法については、特段の制限はなく、いわゆるバヨネット方式などの公知の係合手段を採用することもできるが、好ましくは、気密性の観点から、螺合による方法が選択される。
前記キャップ部材5は、図8及び9に示すように、その下面に、キャップ部材5を回動させるための把手5aが付設され、その上面に、前記流路形成部材3の凹部3gと嵌合可能な嵌合部5cが形成されている。
なお、図9において、前記キャップ部材5の下部外周には、円環状の段部5dが形成され、円環状のシール部材(Oリングなど)8がその段部5dに支持されている。
このような構成によれば、シール部材8は、前記管部材2と前記キャップ部材5との間を気密的にシールするので、前記管部材2の内部の気密性が向上し、トラップ主体4の開閉が、より正確に行われ得る。
かかる構成部材からなる排水用トラップ1を構成するに際しては、まず、弁体6に支軸7を装着させたのち、両端の突出部を、前記トラップ主体4のフランジ4cの両端部に形成した軸受け部4d,4dにそれぞれ係合させて、弁体6をトラップ主体4に対して揺動自在に保持させて、トラップ主体4を構成する。
ついで、流路形成部材3の上部の開口部3eから、トラップ主体4を、軸受け4d,4dと嵌合凹部3c,3cをそれぞれ嵌合させた状態で挿入させて、トラップ主体4を流路形成部材3内に固定する。
その際、トラップ主体4は、弁体6が側方開口部3f側に位置する状態で、前記載置部3a上に固定保持される。
さらに、管部材2の下端の開口部2eから、流路形成部材3を、側面の開口部3fが管部材2の側方開口部2dと連通するように挿入する。
かくして管部材2内に、流路形成部材3を装着したのち、前記開口部2eをキャップ部材5で閉止したのち、各種排水設備の配管経路の途中に、排水用トラップ1を配置するものである。
その際、前記流路形成部材3は、管部材2の内面とキャップ部材5の裏面(下面)によって挟持されるので、前記流路形成部材3は、その上下方向への移動が阻止され、安定して管部材2内に強固に固定される。
かかる排水用トラップ1は、管部材2が、従来のS字トラップなどの封水式排水管トラップに比して小型で、排水設備の下方に所要の空間を形成可能な大きさの排水管として構成され、この管部材2の内部に、流路形成部材3を介して、トラップ主体4を装着する構成を有しているので、排水設備の構築に際し、排水設備の下方に、楽に利用し、より大きな収納スペースを設けるのに十分なスペースを確保することができる。
さらに、使用途中において、排水用トラップ1内に塵埃や異物などが溜ったり詰まったりした場合には、キャップ部材5を取外し、前記手順と逆の操作を行うことによって、内部を容易に清掃することができ、かつ部品の取替えもきわめて容易に実施することができるものである。
かかる構成からなる排水用トラップ1を配管経路の途中に配置すると、排水がない場合、あるいは、弁体6を揺動させるに必要な排水量がない場合には、図1に実線で示すように、弁体6は、バランスウエイトBWの作用によって常に流出口4bを閉止しているので、排水は接続部2b側には流れない。
一方、排水設備からの排水が、排水流入部Xに所定量溜り、その水圧あるいは流圧でトラップ主体4の弁体6が排水流出部Y側に押圧されると、図1に示すように、弁体6は支軸7を支点として、図1の鎖線で示すように上方に揺動して、前記流通孔が開口する。
この流通孔が開口すると、排水流入部Xに流入した、あるいは溜まった排水は、流通孔を介して排水流出部Y側に流れ、弁体6に対する水圧が解消されると、弁体6は、付設したバランスウエイトBWの作用によって、再び流出口4bの端面と密着当接して、排水が、排水流出部Yから排水流入部Xに逆流するのを阻止する。
かかる構成の排水用トラップは、従来の封水式排水管トラップとは異なり、トラップ自体を小型化することができ、かつ構造を簡素化できるもので、メンテナンスや清掃が容易なものである。
さらに、前記排水用トラップは、配管経路の途中に配置することができるもので、各種排水設備、特に、キッチンの流し場や洗面所、風呂場などの配管経路の途中に配置された場合には、配管から床面までの距離を長くすることができるので、この排水設備の下方に所要の空間を形成し、利用者、特に車椅子使用者が、排水設備を楽に利用することを可能にするとともに、排水設備の下方に設けられる収納スペースをより大きなものにすることを可能にする。
この発明にかかる排水用トラップは、キッチンの流し場や洗面所、風呂場などの設備から排出される水(排水)を、下方に排出する配管経路に装着して使用することができるもので、使用に際しては、その設備の下方に十分なスペースを形成することが可能であり、配管を取り外すことなくメンテナンスや清掃が可能である。
したがって、業務用または家庭用のキッチンの流し場や洗面所、風呂場などの各種排水設備の排水を必要とする部位に使用することが可能であるため、広い産業分野で利用される可能性を有するものである。
1 排水用トラップ
2 管部材
2a 排水流入側の接続部
2b 排水流出側の接続部
2c 上部開口部
2d 側方開口部
2e 下部開口部
2f 係合部
2g 螺合部
3 流路形成部材
3a 載置台
3b 段部
3c 嵌合凹部
3d 内底面
3e 上部開口部
3f 側方開口部
3g 凹部
3h フィルタ取付部
3i ストッパ
4 トラップ主体
4a 流入口
4b 流出口
4c フランジ
4d 軸受け部
4e 遮蔽板
5 キャップ部材
5a 把手
5b 螺合部
5c 嵌合部
5d 円環状の段部
6 弁体
6a 最上部
6b 屈曲部
6c 軸受け
BW バランスウエイト
7 支軸
8 シール部材
X 排水流入部
Y 排水流出部
前記目的を達成するため、この発明にかかる請求項1に記載の発明は、
上下端開放の筒状体で構成される管部材と、前記管部材内に着脱自在に装着される有底筒状の流路形成部材と、前記流路形成部材内に着脱自在に装着されるトラップ主体と、前記管部材の下端開口部に着脱自在に装着されるキャップ部材から構成される排水用トラップにおいて、
前記管部材は、
その上端部に排水管と接続可能な接続部を有するとともに、側面に貫通形成された開口部周縁から側方に延出することにより形成した排水管と接続可能な接続部を有し、
前記流路形成部材は、
その上部の、前記管部材の上部開口部に相当する位置と、側面の、前記管部材の側方開口部に相当する位置のそれぞれに開口部を有するとともに、内面の所要部位に、前記トラップ主体を装着するための装着部を有し、内底面が、前記側面の開口部下縁に向けて下方に傾斜させた傾斜面に形成され、
前記トラップ主体は、
前記側方開口部側の端部を前端として、下部開口部が後方に向かって周面が減少する傾斜面を有し、上部開口部には一対の軸受け部を有するフランジが形成されたもので、前記下部開口部の後部側は遮蔽板によって閉塞され、前記遮蔽板によって閉塞されない部位を弁体によって開閉自在としたこと
を特徴とする排水用トラップである。
この発明の請求項2に記載の発明は、
請求項1に記載の排水用トラップにおいて、
前記管部材の内周面の所要部位には、前記流路形成部材の位置決めと固定を行うため前記流路形成部材の外周面に形成されたストッパと係合する係合部が形成されていること
を特徴とするものである。
この発明の請求項3に記載の発明は、
請求項1又は2に記載の排水用トラップにおいて、
前記傾斜面は、
前記管部材の側方接続部の下側の内周面との接続部位が、段差のない又は少ない状態で滑らかに繋がるように形成されていること
を特徴とするものである。
なお、前記排水用トラップにおいて、前記流路形成部材の内底面、前記側面の開口部下縁に向けて下方に傾斜させた傾斜面に形成されている。
このような構成によって、前記流路形成部材内を通過する排水は、対流を起こすことなく、円滑に流出することができ、さらに、前記流路形成部材内におけるゴミや髪の毛などの異物の堆積がないか又はその抑制に優れたものとすることができる。
その際、前記傾斜面を、前記流路形成部材が前記管部材内に装着された状態において、前記管部材の側方の接続部の下側の内周面との接続部位が、段差のない又は少ない状態で滑らかに繋がるように形成することが好ましい。

Claims (6)

  1. 上下端開放の筒状体で構成される管部材と、前記管部材内に着脱自在に装着される有底筒状の流路形成部材と、前記流路形成部材内に着脱自在に装着されるトラップ主体と、前記管部材の下端開口部に着脱自在に装着されるキャップ部材から構成される排水用トラップにおいて、
    前記管部材は、
    その上端部に排水管と接続可能な接続部を有するとともに、側面に貫通形成された開口部周縁から側方に延出することにより形成した排水管と接続可能な接続部を有し、
    前記流路形成部材は、
    その上部の、前記管部材の上部開口部に相当する位置と、側面の、前記管部材の側方開口部に相当する位置のそれぞれに開口部を有するとともに、内面の所要部位に、前記トラップ主体を装着するための装着部を有し、内底面が、前記側面の開口部下縁に向けて水平面又は下方に傾斜させた傾斜面に形成され、
    前記トラップ主体は、
    前記側方開口部側の端部を前端として、下部開口部が後方に向かって周面が減少する傾斜面を有し、上部開口部には一対の軸受け部を有するフランジが形成されたもので、前記下部開口部の後部側は遮蔽板によって閉塞され、前記遮蔽板によって閉塞されない部位を弁体によって開閉自在としたこと
    を特徴とする排水用トラップ。
  2. 前記内底面は、
    前記側面の開口部下縁に向けて下方に傾斜させた傾斜面に形成されていること
    を特徴とする請求項1に記載の排水用トラップ。
  3. 前記傾斜面は、
    前記管部材の側方接続部の下側の内周面との接続部位が、段差のない又は少ない状態で滑らかに繋がるように形成されていること
    を特徴とする請求項2に記載の排水用トラップ。
  4. 前記流路形成部材は、
    その頂部が前記管部材の内壁に当接し、かつその底面が前記キャップ部材の裏面と当接するよう構成されていること
    を特徴とする請求項1〜3のいずれかに記載の排水用トラップ。
  5. 前記トラップ主体は、
    弁体を備え、
    前記弁体は、
    全体が楕円状の板状体で構成され、その基端側を、側面視へ字状になるよう折り曲げて屈曲部を形成し、最上部には、弁体を常時閉鎖方向に付勢するバランスウエイトを設け、屈曲部には、揺動のための支軸を保持する筒状の保持部を設けたものであること
    を特徴とする請求項1〜4のいずれかに記載の排水用トラップ。
  6. 前記流路形成部材は、
    その内面の所要部位に、リング状の載置部と、この載置部の内側に突出形成されるリング状の段部と、この段部に、一方側の嵌合凹部を他方側の嵌合凹部に対して偏倚させて設けられる一対の嵌合凹部を備え、
    前記トラップ主体は、
    流入口を囲繞して外方に向かってフランジが一体的に形成され、かつこのフランジの下面の、前記嵌合凹部に相当する位置に、弁体を揺動自在に保持するための支軸の、両端部を係合保持する一対の軸受け部が設けられたものであること
    を特徴とする請求項1〜5のいずれかに記載の排水用トラップ。
JP2019076499A 2019-04-12 2019-04-12 排水用トラップ Active JP6871966B2 (ja)

Priority Applications (1)

Application Number Priority Date Filing Date Title
JP2019076499A JP6871966B2 (ja) 2019-04-12 2019-04-12 排水用トラップ

Applications Claiming Priority (1)

Application Number Priority Date Filing Date Title
JP2019076499A JP6871966B2 (ja) 2019-04-12 2019-04-12 排水用トラップ

Publications (2)

Publication Number Publication Date
JP2020172824A true JP2020172824A (ja) 2020-10-22
JP6871966B2 JP6871966B2 (ja) 2021-05-19

Family

ID=72830177

Family Applications (1)

Application Number Title Priority Date Filing Date
JP2019076499A Active JP6871966B2 (ja) 2019-04-12 2019-04-12 排水用トラップ

Country Status (1)

Country Link
JP (1) JP6871966B2 (ja)

Cited By (1)

* Cited by examiner, † Cited by third party
Publication number Priority date Publication date Assignee Title
JP2023120722A (ja) * 2022-02-18 2023-08-30 アロン化成株式会社 逆流抑止継手

Citations (5)

* Cited by examiner, † Cited by third party
Publication number Priority date Publication date Assignee Title
JPH10183715A (ja) * 1996-12-25 1998-07-14 Kirin Brewery Co Ltd 排水ますの臭気止め
JP2009057690A (ja) * 2007-08-29 2009-03-19 Yamaha Livingtec Corp 排水トラップ
JP2013014878A (ja) * 2011-06-30 2013-01-24 Maruichi Corp 排水配管
JP2014196605A (ja) * 2013-03-29 2014-10-16 丸一株式会社 配管装置
JP2016084680A (ja) * 2014-10-29 2016-05-19 株式会社東栄工業 排水用トラップ

Patent Citations (5)

* Cited by examiner, † Cited by third party
Publication number Priority date Publication date Assignee Title
JPH10183715A (ja) * 1996-12-25 1998-07-14 Kirin Brewery Co Ltd 排水ますの臭気止め
JP2009057690A (ja) * 2007-08-29 2009-03-19 Yamaha Livingtec Corp 排水トラップ
JP2013014878A (ja) * 2011-06-30 2013-01-24 Maruichi Corp 排水配管
JP2014196605A (ja) * 2013-03-29 2014-10-16 丸一株式会社 配管装置
JP2016084680A (ja) * 2014-10-29 2016-05-19 株式会社東栄工業 排水用トラップ

Cited By (2)

* Cited by examiner, † Cited by third party
Publication number Priority date Publication date Assignee Title
JP2023120722A (ja) * 2022-02-18 2023-08-30 アロン化成株式会社 逆流抑止継手
JP7674289B2 (ja) 2022-02-18 2025-05-09 アロン化成株式会社 逆流抑止継手

Also Published As

Publication number Publication date
JP6871966B2 (ja) 2021-05-19

Similar Documents

Publication Publication Date Title
JP6871966B2 (ja) 排水用トラップ
JP3915069B2 (ja) 排水配管
KR101401231B1 (ko) 세면기 배수장치
KR200489327Y1 (ko) 냄새차단 트랩
EP3507427B1 (en) Shower drain fitting
JP2008196169A (ja) 排水トラップ
EP3825478B1 (en) Drain strainer for a drainpipe
JP2021067062A (ja) 防臭弁ユニット
JP2009270344A (ja) 排水装置
KR100619180B1 (ko) 배수트랩
KR200317103Y1 (ko) 하수구 냄새 차단장치
JP2009068193A (ja) 排水トラップ
JP2021134912A (ja) 逆流防止弁
JP2015145563A (ja) 捕集部材を備えた排水口構造
JP2013221377A (ja) 小便器の目皿及び小便器
JP2012211436A (ja) 排水桝
KR200388695Y1 (ko) 악취 방지 하수구 덮개
JP5270881B2 (ja) ヘアキャッチャー
JP2005133314A (ja) 排水トラップ
KR200230642Y1 (ko) 하수구 덮개
JP3190043U (ja) 排水桝
JP2006161419A (ja) 排水目皿
JP2024024834A (ja) ヘアキャッチャー及び排水口装置
JPS6227578Y2 (ja)
JP2007120022A (ja) 排水トラップ

Legal Events

Date Code Title Description
A621 Written request for application examination

Free format text: JAPANESE INTERMEDIATE CODE: A621

Effective date: 20190530

RD02 Notification of acceptance of power of attorney

Free format text: JAPANESE INTERMEDIATE CODE: A7422

Effective date: 20190530

A977 Report on retrieval

Free format text: JAPANESE INTERMEDIATE CODE: A971007

Effective date: 20200212

A131 Notification of reasons for refusal

Free format text: JAPANESE INTERMEDIATE CODE: A131

Effective date: 20200310

A521 Request for written amendment filed

Free format text: JAPANESE INTERMEDIATE CODE: A523

Effective date: 20200408

A131 Notification of reasons for refusal

Free format text: JAPANESE INTERMEDIATE CODE: A131

Effective date: 20200929

TRDD Decision of grant or rejection written
A01 Written decision to grant a patent or to grant a registration (utility model)

Free format text: JAPANESE INTERMEDIATE CODE: A01

Effective date: 20210413

A61 First payment of annual fees (during grant procedure)

Free format text: JAPANESE INTERMEDIATE CODE: A61

Effective date: 20210416

R150 Certificate of patent or registration of utility model

Ref document number: 6871966

Country of ref document: JP

Free format text: JAPANESE INTERMEDIATE CODE: R150

R250 Receipt of annual fees

Free format text: JAPANESE INTERMEDIATE CODE: R250

R250 Receipt of annual fees

Free format text: JAPANESE INTERMEDIATE CODE: R250