JP2020169049A - Packaging box - Google Patents

Packaging box Download PDF

Info

Publication number
JP2020169049A
JP2020169049A JP2019072830A JP2019072830A JP2020169049A JP 2020169049 A JP2020169049 A JP 2020169049A JP 2019072830 A JP2019072830 A JP 2019072830A JP 2019072830 A JP2019072830 A JP 2019072830A JP 2020169049 A JP2020169049 A JP 2020169049A
Authority
JP
Japan
Prior art keywords
side plates
plate
packaging box
hanging
lid
Prior art date
Legal status (The legal status is an assumption and is not a legal conclusion. Google has not performed a legal analysis and makes no representation as to the accuracy of the status listed.)
Pending
Application number
JP2019072830A
Other languages
Japanese (ja)
Inventor
基司 三島
Motoji Mishima
基司 三島
直樹 藤井
Naoki Fujii
直樹 藤井
郁 横山
Iku Yokoyama
郁 横山
Current Assignee (The listed assignees may be inaccurate. Google has not performed a legal analysis and makes no representation or warranty as to the accuracy of the list.)
Ueroku Printing Co Ltd
Original Assignee
Ueroku Printing Co Ltd
Priority date (The priority date is an assumption and is not a legal conclusion. Google has not performed a legal analysis and makes no representation as to the accuracy of the date listed.)
Filing date
Publication date
Application filed by Ueroku Printing Co Ltd filed Critical Ueroku Printing Co Ltd
Priority to JP2019072830A priority Critical patent/JP2020169049A/en
Publication of JP2020169049A publication Critical patent/JP2020169049A/en
Pending legal-status Critical Current

Links

Images

Landscapes

  • Cartons (AREA)

Abstract

To provide a packaging box for hanging or carrying, which have never existed before.SOLUTION: A blank of a packaging box A includes: front and rear side plates 2, 3 and left and right side plates 4, 5 provided on four sides of a square bottom plate 1 via crease lines r; lid pieces 6a, 6b provided on upper edges of the front and rear side plates 2, 3 respectively via the crease lines r; and hanging plates 7 having holding pieces 9 and locking pieces 8, and provided on front edges of both lid pieces via crease lines r'. The front and rear side plates 2, 3 and the left and right side plates 4, 5 are raised from the bottom plate 1 via the crease lines r, the lid pieces 6a, 6b are bent inward respectively from the front and rear side plates via the crease lines r, the hanging plates 7 are raised from the front edges of both lid pieces via crease lines r', and along with it, the holding pieces 9 are brought to outsides of the left and right side plates 4, 5, and the locking pieces 8 are locked in locking holes 10 in the left and right side plates 4, 5. Since the left and right side plates 4, 5 are sandwiched and supported by paired holding pieces 9 and 9, a shape of the packaging box is stable. In addition, said construction of being sandwiched is new and novel as a packaging box.SELECTED DRAWING: Figure 1

Description

この発明は、保形が確実かつ斬新な包装箱に関するものである。 The present invention relates to a packaging box whose shape retention is reliable and novel.

製品(商品)を包装して店頭に吊り下げ展示する包装箱は、通常、底板周囲に側板を設けるとともに、その側板の上縁に蓋板を設け、その蓋板から吊り下げ板を起立させた物が一般的であり、その吊り下げ板の吊り孔に棒状吊り具を通して展示する(特許文献1図6等参照)。
また、ケーキ等の菓子類の包装箱は、通常、底板周囲に側板を設けるとともに、その側板の上縁に蓋板を設け、その蓋板から手提げ板を起立させた物が一般的であり、その手提げ板の手提げ孔に指を通して持ち運ぶ(特許文献2図1等参照)。
In a packaging box in which a product (product) is wrapped and hung and displayed at a store, a side plate is usually provided around the bottom plate, a lid plate is provided on the upper edge of the side plate, and the hanging plate is erected from the lid plate. Items are generally used, and are displayed through a rod-shaped hanging tool in the hanging hole of the hanging plate (see Patent Document 1, FIG. 6 and the like).
In addition, a packaging box for confectionery such as cakes is generally provided with a side plate around the bottom plate, a lid plate is provided on the upper edge of the side plate, and a carrying plate is erected from the lid plate. Carry it through the hand-carrying hole of the hand-carrying plate through a finger (see Patent Document 2, FIG. 1, etc.).

特開平11−29138号公報JP-A-11-29138 特開2000−255663号公報Japanese Unexamined Patent Publication No. 2000-255663

上記従来の吊り下げ用包装箱は、蓋板から吊り下げ板を単に立ち上げているだけであるため、その吊り下げ状態が不安定である。
上記手提げ用包装箱は、手提げ板を左右の側板から立ち上げた係止板に係止しており、その係止状態が不安定である。
In the above-mentioned conventional packaging box for hanging, the hanging state is unstable because the hanging plate is simply raised from the lid plate.
In the above-mentioned packaging box for carrying, the carrying plate is locked to the locking plates raised from the left and right side plates, and the locked state is unstable.

この発明は、以上の状況の下、吊り下げ用や手提げ用としても、その吊り下げ状態又は手提げ状態が安定し、かつ斬新な形態の包装箱を提供することを課題とする。 An object of the present invention is to provide a packaging box in a novel form in which the suspended or hand-held state is stable even for hanging or hand-carrying under the above circumstances.

上記課題を達成するため、この発明は、吊り下げ用又は手提げ用の板でもって左右の側板を挟んで支持するようにしたのである。
左右の側板を挟めば、その左右の側板が安定するため、包装箱の形状も安定する。また、この挟んだ形状は包装箱としては、新規であって斬新である。
In order to achieve the above object, the present invention is to support the left and right side plates by sandwiching them with a hanging or hand-carrying plate.
By sandwiching the left and right side plates, the left and right side plates are stable, so the shape of the packaging box is also stable. In addition, this sandwiched shape is new and novel as a packaging box.

この発明に係る包装箱の具体的な構成としては、底板と、その底板周囲前後左右の側板と、その前後側板の上縁に設けた蓋板と、蓋板から起立した吊り下げ板と、を有し、蓋板はその中央で2分割された対の蓋片からなり、その対の蓋片の対向する縁に吊り下げ板がそれぞれ起立して設けられ、その吊り下げ板は左右側板から突出して下方に延びる挟持片を有し、その挟持片下部の係止片が左右側板の係止孔に係止している構成を採用することができる。
この構成において、吊り下げ板は手提げ板となることは勿論である。このため、以下、「吊り下げ板」は「手提げ板」ともする。
As a specific configuration of the packaging box according to the present invention, a bottom plate, front, rear, left and right side plates around the bottom plate, a lid plate provided on the upper edge of the front and rear side plates, and a hanging plate standing up from the lid plate are provided. The lid plate is composed of a pair of lid pieces divided into two at the center thereof, and hanging plates are provided upright on the opposite edges of the pair of lid pieces, and the hanging plates project from the left and right side plates. It is possible to adopt a configuration in which the holding piece extends downward and the locking piece at the lower part of the holding piece is locked in the locking holes of the left and right side plates.
In this configuration, the hanging plate is of course a hand-held plate. Therefore, hereinafter, the "hanging plate" is also referred to as a "hand-carrying plate".

この構成の包装箱を1枚のブランクから構成するには、例えば、四角状底板の4辺に折り目線を介して前後側板及び左右側板を設けるとともに、その前後側板の上縁に折り目線を介して蓋片をそれぞれ設け、かつその両蓋片の前縁に折り目線を介して挟持片及び係止片を有する吊り下げ板をそれぞれ設けたブランクとし、底板から前後側板及び左右側板を折り目線を介して立ち上げ、その前後側板から折り目線を介して蓋片をそれぞれ内側に折り曲げるとともに、その両蓋片の前縁から折り目線を介して吊り下げ板をそれぞれ立ち上げ、その立ち上げに伴って挟持片を左右側板外側に至らせて係止片を左右側板の係止孔に係止する。 In order to construct a packaging box having this configuration from one blank, for example, front and rear side plates and left and right side plates are provided on four sides of the square bottom plate via crease lines, and the upper edges of the front and rear side plates are provided with crease lines. A blank is provided with each lid piece, and a hanging plate having a holding piece and a locking piece is provided on the front edges of both lid pieces via crease lines, and the front and rear side plates and the left and right side plates are crease lines from the bottom plate. The lid pieces are bent inward from the front and rear side plates via the crease lines, and the hanging plates are raised from the front edges of both lid pieces via the crease lines. The sandwiching piece is brought to the outside of the left and right side plates, and the locking piece is locked in the locking holes of the left and right side plates.

この構成のブランクは、左側板、底板及び右側板の両側全長に亘ってその幅中央の折り目線を形成すれば、対の蓋片に設けた両吊り下げ板を貼着した状態で、折り目線を介して前後側板を重ねた態様(図11参照)にし得るため、嵩張ら無いものとなる。このため、搬送や収納に有利なものとなる。 If a crease line at the center of the width is formed over the entire length of both sides of the left side plate, the bottom plate and the right side plate, the blank having this configuration has the crease line in a state where both hanging plates provided on the pair of lid pieces are attached. Since the front and rear side plates can be overlapped with each other (see FIG. 11), the front and rear side plates are not bulky. Therefore, it is advantageous for transportation and storage.

この発明は、以上のように構成したので、従来になかった斬新な包装箱となる。 Since the present invention is configured as described above, it is a novel packaging box that has never existed before.

この発明に係る包装箱の一実施形態の斜視図A perspective view of an embodiment of a packaging box according to the present invention. 同実施形態の切断正面図Cutting front view of the same embodiment 同実施形態の切断側面図Cutting side view of the same embodiment 同実施形態の展開図Development view of the same embodiment 同実施形態の組み立て説明用斜視図Perspective view for assembling explanation of the same embodiment 同組み立て説明用斜視図Perspective view for assembling explanation 同組み立て説明用斜視図Perspective view for assembling explanation 同組み立て説明用斜視図Perspective view for assembling explanation 同組み立て説明用斜視図Perspective view for assembling explanation 同組み立て説明用斜視図Perspective view for assembling explanation 同実施形態の搬送・収納時の斜視図Perspective view of the same embodiment during transportation and storage

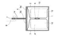
この発明に係る包装箱の実施形態を図1〜図11に示し、この実施形態の包装箱Aは、底板1と、その底板1周囲の前後側板2、3及び左右側板4、5と、その側板に起伏可能に設けた蓋板6と、蓋板6から起立した吊り下げ板7と、を有する。
上記蓋板6はその中央で2分割された対の蓋片6a、6bからなり、その対の蓋片6a、6bの対向する縁に吊り下げ板7、7がそれぞれ起立可能に設けられ、その吊り下げ板7は前後側板2、3から突出して下方に延びる挟持片9を有し、その挟持片9に左右側板4、5の係止孔10に係止する係止片8を設けている。
Embodiments of the packaging box according to the present invention are shown in FIGS. 1 to 11, and the packaging box A of this embodiment includes a bottom plate 1, front and rear side plates 2 and 3 around the bottom plate 1, and left and right side plates 4 and 5, and the same. It has a lid plate 6 provided on the side plate so as to be undulating, and a hanging plate 7 standing up from the lid plate 6.
The lid plate 6 is composed of a pair of lid pieces 6a and 6b divided into two at the center thereof, and hanging plates 7 and 7 are provided on opposite edges of the pair of lid pieces 6a and 6b so as to be able to stand up. The hanging plate 7 has a holding piece 9 that protrudes from the front and rear side plates 2 and 3 and extends downward, and the holding piece 9 is provided with a locking piece 8 that locks into the locking holes 10 of the left and right side plates 4 and 5. ..

この包装箱Aは、図4に示す、ボール紙からなるブランクからなり、正四角形の底板1の一辺に正四角形の前側板2、後側板3、左側板4、右側板5が折り目線rを介して連接(連設)されている。左右側板4、5の先端縁にはフラップ片11がそれぞれ折り目線rを介して連接されている。前後側板2、3の先端縁には蓋板6をなす対の蓋片6a、6bがそれぞれ折り目線rを介して連接され、同左右縁にはフラップ片12がそれぞれ折り目線rを介して連接されている。 This packaging box A is made of a blank made of cardboard as shown in FIG. 4, and the front side plate 2, the rear side plate 3, the left side plate 4, and the right side plate 5 of the regular quadrangle have a crease line r on one side of the bottom plate 1 of the regular quadrangle. It is connected (continuously) through. Flap pieces 11 are connected to the tip edges of the left and right plates 4 and 5 via crease lines r, respectively. A pair of lid pieces 6a and 6b forming the lid plate 6 are connected to the tip edges of the front and rear side plates 2 and 3 via the crease line r, and flap pieces 12 are connected to the left and right edges via the crease line r, respectively. Has been done.

両蓋片6a、6bの先端縁には吊り下げ板7、7が折り目線rを介してそれぞれ連設され、この両吊り下げ板7は前後側板2、3の幅方向にそれぞれ突出している(延設されている)。その延設部分が挟持片9となり、その挟持片9下部に左右側板4、5の係止孔10に係止する係止片8を設けている。図中、rは直線状の折り目線、r’はミシン目状の折り目線である。 Suspension plates 7 and 7 are connected to the tip edges of both lid pieces 6a and 6b via a crease line r, respectively, and the two suspension plates 7 project in the width directions of the front and rear side plates 2 and 3, respectively ( It has been extended). The extended portion becomes a holding piece 9, and a locking piece 8 for locking into the locking holes 10 of the left and right side plates 4 and 5 is provided below the holding piece 9. In the figure, r is a straight crease line and r'is a perforated crease line.

このブランクからなるこの実施形態の包装箱Aは、図5に示すように、底板1に対して前側板2を立ち上げるとともに、一方の蓋片6aを内側に折り、一方の吊り下げ板7を上側に起立させる。同様に、図6に示すように、底板1に対して後側板2を立ち上げるとともに、他方の蓋片6bを内側に折り、他方の吊り下げ板7を上側に起立させて前記一方の吊り下げ板7に沿わせる。 In the packaging box A of this embodiment composed of this blank, as shown in FIG. 5, the front side plate 2 is raised with respect to the bottom plate 1, one lid piece 6a is folded inward, and the other hanging plate 7 is folded. Stand up on the upper side. Similarly, as shown in FIG. 6, the rear side plate 2 is raised with respect to the bottom plate 1, the other lid piece 6b is folded inward, and the other hanging plate 7 is raised upward to suspend the other. Along the board 7.

その後、図7から図8に示すように、フラップ片12、12、12、12を内側に折り曲げるとともに、重ねた吊り下げ板7、7を倒した状態として左右側板4、5を立ち上げて、底板1、前後側板2、3、左右側板4、5からなる立方体の箱体を構成する。このとき、フラップ片11、11は内側に折り曲げる。 After that, as shown in FIGS. 7 to 8, the flap pieces 12, 12, 12, and 12 are bent inward, and the left and right side plates 4 and 5 are raised with the stacked hanging plates 7 and 7 tilted down. It constitutes a cubic box body including a bottom plate 1, front and rear side plates 2, 3 and left and right side plates 4, 5. At this time, the flap pieces 11 and 11 are bent inward.

この後、図9、図10に示すように、吊り下げ板7を起立させるとともに、その立ち上げに伴って挟持片9を左右側板4、5外面に至らせて係止片8を係止孔10に挿入係止する。吊り下げ板7、7同士、及び挟持片9、9同士は、両面テープや糊によって糊付けする(図4のa部分)。
このように構成される包装箱Aは、化粧品、日用雑貨品、小物P等を収納したり、ケーキ等のお菓子Pを収納したりする。その収納は、図7に示す、左右側板4、5が開口された状態で行ったり、図5に示す一方の吊り下げ板7を上側に起立させる前、又は起立した後の状態で行ったりする。
After that, as shown in FIGS. 9 and 10, the hanging plate 7 is erected, and the holding piece 9 is brought to the outer surfaces of the left and right side plates 4 and 5 as the hanging plate 7 is erected, and the locking piece 8 is locked. Insert and lock at 10. The hanging plates 7 and 7 and the holding pieces 9 and 9 are glued with double-sided tape or glue (part a in FIG. 4).
The packaging box A configured in this way stores cosmetics, daily necessities, small items P, and the like, and stores sweets P such as cakes. The storage is performed with the left and right side plates 4 and 5 shown in FIG. 7 opened, or before or after the one hanging plate 7 shown in FIG. 5 is erected upward. ..

この包装箱Aの運搬や収納には、図7の吊り下げ板7、7及び挟持片9、9を貼着した状態で、図11に示すように、底板1、左右側板4、5及び両フラップ片11、11の中央線上の折り目線13(図4の一点鎖線)を介して折り畳む。この状態は扁平となって積み重ねても嵩張らない。この折り畳んだ状態から、前後側板2、3を離すように開けば、図6、図7に示す態様になる。 For the transportation and storage of the packaging box A, the bottom plate 1, the left and right side plates 4, 5 and both are attached as shown in FIG. 11 with the hanging plates 7 and 7 and the holding pieces 9 and 9 of FIG. 7 attached. Fold the flap pieces 11 and 11 through the crease line 13 (dashed line in FIG. 4) on the center line. This state is flat and does not become bulky even when stacked. If the front and rear side plates 2 and 3 are opened apart from this folded state, the mode shown in FIGS. 6 and 7 can be obtained.

吊り下げ板7には、図1で示すように、「A・・・E」等の収納製品の名前、各種のロゴ、模様などを適宜に印刷(記載)する。そのロゴ等は各側板2、3、4、5等にも記載することができる。
店頭展示には、図3に示すように、吊り下げ板7の透孔(吊り孔)14に吊り杆Bを通して行う。このとき、吊り下げ板7は包装箱Aの前後側板2、3の中心軸上にあって透孔14ほぼ重心軸上に位置するため、その吊り下げ状態は安定する。持ち運びには、吊り下げ板7を持って行う。また、図1一点鎖線で示すように、手提げ用孔20を形成して、この包装箱Aを手提げ用とすることもできる。このため、吊り下げ板7は手提げ板ともいうことができる。
このように、この包装箱Aは、吊り下げ用や手提げ用等として使用し得るため、その用途や収納(包装)商品Pの種類、大きさ等によって、箱形状は、側面視、正方形に限らず、長方形等としたり、その大きさも適宜に選択したりする。
As shown in FIG. 1, the hanging plate 7 is appropriately printed (described) with the names of stored products such as "A ... E", various logos, patterns, and the like. The logo and the like can also be written on each side plate 2, 3, 4, 5, and the like.
As shown in FIG. 3, the store display is carried out by passing the hanging rod B through the through hole (hanging hole) 14 of the hanging plate 7. At this time, since the hanging plate 7 is located on the central axis of the front and rear side plates 2 and 3 of the packaging box A and substantially on the axis of the center of gravity of the through hole 14, the suspended state is stable. To carry it, hold the hanging plate 7. Further, as shown by the alternate long and short dash line in FIG. 1, the hand-carrying hole 20 can be formed so that the packaging box A can be used for hand-carrying. Therefore, the hanging plate 7 can also be called a hand-carrying plate.
As described above, since the packaging box A can be used for hanging, carrying, etc., the box shape is limited to the side view and the square shape depending on the use, the type and size of the storage (packaging) product P, and the like. Instead, make it a rectangle, etc., and select the size as appropriate.

この発明に係る包装箱の材料は、ボール紙に限らず、他の板紙、プラスチックシート、又は紙とプラスチックの複合シート等の種々のものを採用し得る。
このように、今回開示された実施の形態はすべての点で例示であって制限的なものではないと考えられるべきである。この発明の範囲は、特許請求の範囲によって示され、特許請求の範囲と均等の意味および範囲内でのすべての変更が含まれることが意図される。
The material of the packaging box according to the present invention is not limited to cardboard, and various materials such as other paperboards, plastic sheets, and composite sheets of paper and plastic can be adopted.
Thus, it should be considered that the embodiments disclosed this time are exemplary in all respects and not restrictive. The scope of the present invention is indicated by the scope of claims and is intended to include all modifications within the meaning and scope equivalent to the scope of claims.

A 包装箱
P 商品
B 吊り杆
a 糊代
1 底板
2 前側板
3 後側板
4 左側板
5 右側板
6 蓋板
6a、6b 蓋板の蓋片
7 吊り下げ板
8 係止片
9 挟持片
10 係止孔
11、12 フラップ片
r、r’、13 折り目線
A Packaging box P Product B Hanging rod a Glue allowance 1 Bottom plate 2 Front side plate 3 Rear side plate 4 Left side plate 5 Right side plate 6 Lid plate 6a, 6b Lid plate lid piece 7 Hanging plate 8 Locking piece 9 Holding piece 10 Locking Holes 11, 12 Flap pieces r, r', 13 Fold line

Claims (3)

底板(1)と、その底板(1)周囲前後左右の側板(2、3、4、5)と、その前後側板(2、3)の上縁に設けた蓋板(6)と、蓋板(6)から起立した吊り下げ板(7)と、を有し、
上記蓋板(6)はその中央で2分割された対の蓋片(6a、6b)からなり、その対の蓋片(6a、6b)の対向する縁に上記吊り下げ板(7、7)がそれぞれ起立して設けられ、その吊り下げ板(7、7)は上記左右側板(4、5)から突出して下方に延びる挟持片(9)を有し、その挟持片(9)下部の係止片(8)が前記左右側板(4、5)の係止孔(10)に係止している包装箱。
The bottom plate (1), the front, rear, left and right side plates (2, 3, 4, 5) around the bottom plate (1), the lid plate (6) provided on the upper edge of the front and rear side plates (2, 3), and the lid plate. It has a hanging plate (7) that stands up from (6),
The lid plate (6) is composed of a pair of lid pieces (6a, 6b) divided into two at the center thereof, and the hanging plate (7, 7) is attached to the opposite edge of the pair of lid pieces (6a, 6b). Each of the hanging plates (7, 7) stands upright and has a holding piece (9) protruding downward from the left and right side plates (4, 5), and the lower part of the holding piece (9) is engaged. A packaging box in which a stop piece (8) is locked in a locking hole (10) of the left and right side plates (4, 5).
請求項1に記載の包装箱であって、四角状底板(1)の4辺に折り目線(r)を介して前後側板(2、3)及び左右側板(4、5)を設けて立ち上げ、その前後側板(2、3)の上縁に折り目線(r)を介して蓋片(6a、6b)をそれぞれ設けて内側に折り曲げ、その両蓋片(6a、6b)の前縁に折り目線(r)を介して挟持片(9)及び係止片(8)を有する吊り下げ板(7、7)をそれぞれ設けて立ち上げ、その立ち上げに伴って前記挟持片(9)が前記左右側板(4、5)外側に至って前記係止片(8)を前記左右側板(4、5)の係止孔(10)に係止した包装箱。 The packaging box according to claim 1, wherein the front and rear side plates (2, 3) and the left and right side plates (4, 5) are provided on the four sides of the square bottom plate (1) via the crease lines (r). , The lid pieces (6a, 6b) are provided on the upper edges of the front and rear side plates (2, 3) via the crease lines (r) and bent inward, and the front edges of both lid pieces (6a, 6b) are folded. Suspension plates (7, 7) having a holding piece (9) and a locking piece (8) are provided and raised via the wire (r), and the holding piece (9) is raised as the holding piece (9) is raised. A packaging box in which the locking piece (8) is locked to the locking holes (10) of the left and right side plates (4, 5) by reaching the outside of the left and right plates (4, 5). 上記左側板(4)、底板(1)及び右側板(5)の両側全長に亘ってその幅中央の折り目線(13)を形成し、上記対の蓋片(6a、6b)に設けた両吊り下げ板(7、7)が貼着された状態で、前記折り目線(13)を介して前後側板(2、3)が重なる請求項2に記載の包装箱。 A crease line (13) at the center of the width is formed over the entire lengths of both sides of the left side plate (4), the bottom plate (1), and the right side plate (5), and both are provided on the pair of lid pieces (6a, 6b). The packaging box according to claim 2, wherein the front and rear side plates (2, 3) overlap each other through the crease line (13) with the hanging plates (7, 7) attached.
JP2019072830A 2019-04-05 2019-04-05 Packaging box Pending JP2020169049A (en)

Priority Applications (1)

Application Number Priority Date Filing Date Title
JP2019072830A JP2020169049A (en) 2019-04-05 2019-04-05 Packaging box

Applications Claiming Priority (1)

Application Number Priority Date Filing Date Title
JP2019072830A JP2020169049A (en) 2019-04-05 2019-04-05 Packaging box

Publications (1)

Publication Number Publication Date
JP2020169049A true JP2020169049A (en) 2020-10-15

Family

ID=72745705

Family Applications (1)

Application Number Title Priority Date Filing Date
JP2019072830A Pending JP2020169049A (en) 2019-04-05 2019-04-05 Packaging box

Country Status (1)

Country Link
JP (1) JP2020169049A (en)

Citations (6)

* Cited by examiner, † Cited by third party
Publication number Priority date Publication date Assignee Title
JPS55145419U (en) * 1979-04-06 1980-10-18
JPS5966713U (en) * 1982-10-28 1984-05-04 大日本印刷株式会社 hand box
US6390299B1 (en) * 2000-03-03 2002-05-21 Westvaco Corp. Paperboard carrier for prepared food
JP3144245U (en) * 2008-06-10 2008-08-21 株式会社クラウン・パッケージ Bottle holder
US20100108748A1 (en) * 2008-09-13 2010-05-06 Imagigraphics Inc. Hand carrier
JP2011189992A (en) * 2011-05-19 2011-09-29 Mybox Fukyu Kigyo Kumiai Collapsible container

Patent Citations (6)

* Cited by examiner, † Cited by third party
Publication number Priority date Publication date Assignee Title
JPS55145419U (en) * 1979-04-06 1980-10-18
JPS5966713U (en) * 1982-10-28 1984-05-04 大日本印刷株式会社 hand box
US6390299B1 (en) * 2000-03-03 2002-05-21 Westvaco Corp. Paperboard carrier for prepared food
JP3144245U (en) * 2008-06-10 2008-08-21 株式会社クラウン・パッケージ Bottle holder
US20100108748A1 (en) * 2008-09-13 2010-05-06 Imagigraphics Inc. Hand carrier
JP2011189992A (en) * 2011-05-19 2011-09-29 Mybox Fukyu Kigyo Kumiai Collapsible container

Similar Documents

Publication Publication Date Title
US9102442B2 (en) Container with presentation element
US4037721A (en) Glassware carrier
US2206728A (en) Display stand
US3292290A (en) Display unit
JP2020193016A (en) paper box
JP6794676B2 (en) Self-supporting packaging
JP2020169049A (en) Packaging box
JP6046415B2 (en) Clothing packing box
US2735638A (en) Portable cardboard display members
KR200382008Y1 (en) Portable packaging box of folding type
US4520922A (en) Container for flat articles
US2138984A (en) Collapsible carton
JP3216300U (en) Packaging box
JP6927511B2 (en) Article support structure
JP3962578B2 (en) Packaging box
US20130186892A1 (en) Collapsible paperboard gift basket kit.
US928281A (en) Display-holder.
JP2019131251A (en) Packing box with flap
JPH0126573Y2 (en)
JP7370243B2 (en) Hook vanity case
JP6857020B2 (en) Article containment
JP3157012U (en) Packaging box
JPH0518261Y2 (en)
JP3208774U (en) Hanging structure
JP6147381B1 (en) Paper box, packing body, paper assembly, and storage body

Legal Events

Date Code Title Description
A621 Written request for application examination

Free format text: JAPANESE INTERMEDIATE CODE: A621

Effective date: 20220120

A977 Report on retrieval

Free format text: JAPANESE INTERMEDIATE CODE: A971007

Effective date: 20221118

A131 Notification of reasons for refusal

Free format text: JAPANESE INTERMEDIATE CODE: A131

Effective date: 20221129

A02 Decision of refusal

Free format text: JAPANESE INTERMEDIATE CODE: A02

Effective date: 20230530