JP2020118364A - Evaporator - Google Patents

Evaporator Download PDF

Info

Publication number
JP2020118364A
JP2020118364A JP2019009904A JP2019009904A JP2020118364A JP 2020118364 A JP2020118364 A JP 2020118364A JP 2019009904 A JP2019009904 A JP 2019009904A JP 2019009904 A JP2019009904 A JP 2019009904A JP 2020118364 A JP2020118364 A JP 2020118364A
Authority
JP
Japan
Prior art keywords
fin
fins
size
evaporator
straight pipe
Prior art date
Legal status (The legal status is an assumption and is not a legal conclusion. Google has not performed a legal analysis and makes no representation as to the accuracy of the status listed.)
Granted
Application number
JP2019009904A
Other languages
Japanese (ja)
Other versions
JP7175779B2 (en
Inventor
雄太 原田
Yuta Harada
雄太 原田
Current Assignee (The listed assignees may be inaccurate. Google has not performed a legal analysis and makes no representation or warranty as to the accuracy of the list.)
Resonac Holdings Corp
Original Assignee
Showa Denko KK
Priority date (The priority date is an assumption and is not a legal conclusion. Google has not performed a legal analysis and makes no representation as to the accuracy of the date listed.)
Filing date
Publication date
Application filed by Showa Denko KK filed Critical Showa Denko KK
Priority to JP2019009904A priority Critical patent/JP7175779B2/en
Publication of JP2020118364A publication Critical patent/JP2020118364A/en
Application granted granted Critical
Publication of JP7175779B2 publication Critical patent/JP7175779B2/en
Active legal-status Critical Current
Anticipated expiration legal-status Critical

Links

Images

Landscapes

  • Heat-Exchange Devices With Radiators And Conduit Assemblies (AREA)

Abstract

To provide an evaporation capable of preventing frost adhesion while suppressing reduction of a heat exchange amount.SOLUTION: An evaporator 1 includes a refrigerant pipe 10 and a plurality of fin groups 21 to 26 consisting of a plurality of plate fins 31, 32 arranged in parallel and laminated in an air flow direction. In the fin groups 21 to 26, when it is defined that a direction in which a straight pipe section 11 of the refrigerant pipe 10 is penetrated into the plate fins 31, 32 is a width direction and a direction orthogonal to the depth direction and the air flow direction is a width direction, plate fins of at least one of the fin groups 21 to 25 are constituted of a full size fin 31 of which the dimension of the width direction is equal to the dimension of the width direction of the fin group and a small size fin 32 of which the dimension of the width direction is smaller than that of the full size fin 31, and a gap 36 is formed by the small size fin 32.SELECTED DRAWING: Figure 1

Description

本発明は、並列に配置された複数のプレートフィンに冷媒管を貫通させた蒸発器に関する。 The present invention relates to an evaporator in which a plurality of plate fins arranged in parallel have a refrigerant pipe penetrating them.

冷蔵庫の断熱箱体内には、圧縮機、凝縮器および蒸発器を備えた冷凍サイクルが設置されている。このような冷凍サイクルの蒸発器として、並列に配置された複数のプレートフィンからなるフィン群が空気流れ方向に間隔をおいて設けられ、各フィン群のプレートフィンに貫通状に固定された複数の直管部および隣り合う直管部を接続しかつ直管部より1つ少ない数の屈曲管部よりなる熱交換管とを備えており、全てのプレートフィンの全体が、熱交換管の直管部と直角をなす方向と平行な平面上に位置しているものが広く用いられている(特許文献1、2参照)。 A refrigeration cycle equipped with a compressor, a condenser and an evaporator is installed in the heat insulating box of the refrigerator. As an evaporator of such a refrigeration cycle, a fin group composed of a plurality of plate fins arranged in parallel is provided at intervals in the air flow direction, and a plurality of fins fixed to the plate fins of each fin group in a penetrating manner. A straight pipe portion and a heat exchange pipe that connects adjacent straight pipe portions and is composed of a bent pipe portion whose number is one less than that of the straight pipe portion are provided, and all the plate fins are straight pipes of the heat exchange pipe. Those located on a plane parallel to the direction perpendicular to the part are widely used (see Patent Documents 1 and 2).

蒸発器に用いるフィン付の熱交換管は、例えば以下の方法で作製される。管挿通穴を有する複数のプレートフィンを所定ピッチで並べて一つのフィン群を形成し、かつ複数のフィン群を間隔を開けて配置し、全てのプレートフィンに熱交換管を通し、熱交換管を拡管してプレートフィンを固定する。その後、このフィン付熱交換管のフィン無し部分を曲げて複数のフィン群を積層させる。 The heat exchange tube with fins used in the evaporator is manufactured, for example, by the following method. A plurality of plate fins having tube insertion holes are arranged at a predetermined pitch to form one fin group, and the plurality of fin groups are arranged at intervals, and the heat exchange tubes are passed through all the plate fins to form the heat exchange tubes. Expand the tube and fix the plate fins. Then, the finless portion of the heat exchange tube with fins is bent to stack a plurality of fin groups.

前記フィン付熱交換管の製造装置としては特許文献2に記載されたものがある。前記製造装置は、ベース上に複数のフィン支持プレートが所定ピッチで立設したフィンセット治具と、管クランプ用の下プレートおよび上プレートとを備え、それぞれに管を嵌め入れる切欠きが形成されている。そして、プレートフィンをフィンセット治具にセットし、フィンのない部分には下プレートをセットし、プレートフィンの管挿通穴に熱交換管を通すとともに下プレートで下支えし、下プレート上に上プレートを置き、さらに押圧部材で上プレートを押圧して熱交換管を拘束した状態で、管内に流体を導入した拡管成形することによりプレートフィンを熱交換管に固定する。 As a manufacturing apparatus for the finned heat exchange tube, there is one described in Patent Document 2. The manufacturing apparatus includes a fin set jig in which a plurality of fin support plates are erected at a predetermined pitch on a base, a lower plate and an upper plate for pipe clamps, and notches for fitting pipes are formed in the respective jigs. ing. Then, set the plate fins on the fin setting jig, set the lower plate on the part where there is no fin, pass the heat exchange tube through the tube insertion hole of the plate fin, and support it by the lower plate. The plate fin is fixed to the heat exchange pipe by expanding the pipe by introducing a fluid into the pipe in a state where the upper plate is pressed by the pressing member and the heat exchange pipe is restrained.

特表2017−516972号公報Special table 2017-516972 gazette 特開2004−190906号公報JP 2004-190906 A

この種の蒸発器は、フィンピッチを密にしてフィンの表面積を拡大することで熱交換量を増大させている。しかし、フィンピッチを密にするとプレートフィンの表面に霜が発生して空気が流れ難くなり、さらに霜が着きやすくなりプレートフィン間が詰まることがある。このため、風上側のフィンピッチを粗くして空気の流れが滞らないようにしている。即ち、熱交換量の増大と霜の着きにくさ(空気の流れ易さ)とは相反する性質でありながら、それらを兼ね備えた蒸発器が求められている。 This type of evaporator increases the amount of heat exchange by increasing the fin surface area by increasing the fin pitch. However, if the fin pitch is made dense, frost is generated on the surface of the plate fins and it becomes difficult for the air to flow, and further frost is likely to form and the plate fins may be clogged. For this reason, the fin pitch on the windward side is made coarse so that the air flow is not stopped. That is, there is a demand for an evaporator that has both the increased heat exchange amount and the difficulty of forming frost (the ease with which air flows), but has both of them.

また、フィンピッチの異なるフィン群を備えた蒸発器用のフィン付管を特許文献2に製造装置を用いて作製するには、ピッチの寸法毎に専用のフィンセット治具が必要であり、かつ作製に手間がかかる。 Further, in order to manufacture a finned tube for an evaporator having fin groups with different fin pitches by using the manufacturing apparatus in Patent Document 2, a dedicated fin set jig is required for each pitch dimension, and the manufacturing is also performed. Takes time.

本発明は、上述した背景技術に鑑み、熱交換量の低下を抑制しつつ霜が着きにくい蒸発器を提供するものである。 In view of the background art described above, the present invention provides an evaporator that suppresses a decrease in heat exchange amount and is less likely to form frost.

即ち、本発明は下記[1]〜[7]に記載の構成を有する。 That is, the present invention has the configurations described in [1] to [7] below.

[1]直管部と曲管部とが交互に形成されたジグザク状の冷媒管と、並列に配置された複数のプレートフィンからなり空気の流れ方向に積層された複数のフィン群とを有し、前記冷媒管の直管部が前記フィン群のプレートフィンを貫通することにより冷媒管とフィン群が一体化された蒸発器において、
前記フィン群において、直管部がプレートフィンを貫通する方向を奥行方向、前記奥行方向および空気の流れ方向に直交する方向を幅方向とし、
少なくとも1つのフィン群のプレートフィンが、幅方向の寸法がフィン群の幅方向の寸法と等しいフルサイズフィンと、幅方向の寸法がフルサイズフィンよりも小さい小サイズフィンとで構成され、前記小サイズフィンによって空隙が形成されていることを特徴とする蒸発器。
[1] A zigzag-shaped refrigerant pipe in which straight pipe portions and curved pipe portions are alternately formed, and a plurality of fin groups formed of a plurality of plate fins arranged in parallel and stacked in the air flow direction are provided. Then, in the evaporator in which the straight pipe portion of the refrigerant pipe penetrates the plate fins of the fin group to integrate the refrigerant pipe and the fin group,
In the fin group, a direction in which a straight pipe portion penetrates a plate fin is a depth direction, a direction orthogonal to the depth direction and a flow direction of air is a width direction,
The plate fins of at least one fin group are composed of full-size fins having a widthwise dimension equal to the widthwise dimension of the fin group, and small-size fins having a widthwise dimension smaller than the full-size fins. An evaporator characterized in that voids are formed by size fins.

[2]前記フィン群内のプレートフィンが等ピッチで配列されている前項1に記載の蒸発器。 [2] The evaporator according to the above item 1, wherein the plate fins in the fin group are arranged at an equal pitch.

[3]前記フルサイズフィンは幅方向の2箇所以上で冷媒管の直管部が貫通し、小サイズフィンはフルサイズフィンよりも少ない箇所で直管部が貫通する前項1または2に記載の蒸発器。 [3] The straight pipe portion of the refrigerant pipe penetrates the full size fin at two or more positions in the width direction, and the small size fin penetrates the straight pipe part at a smaller number of places than the full size fin. Evaporator.

[4]空気の流れ方向において隣り合うフィン群は異なる位置に小サイズフィンが配置されている前項1〜3のいずれかに記載の蒸発器。 [4] The evaporator according to any one of the aforementioned Items 1 to 3, wherein the fin groups adjacent to each other in the air flow direction have small-sized fins arranged at different positions.

[5]空気の流れ方向において隣り合うフィン群の小サイズフィンは、幅方向の一端側と他端側の交互に配置されている前項4に記載の蒸発器。 [5] The evaporator according to the above item 4, wherein the small-sized fins of the fin group adjacent to each other in the air flow direction are alternately arranged on one end side and the other end side in the width direction.

[6]積層された複数のフィン群の幅方向の一端側の面および他端側の面において、空隙の少ない面に他方の面よりも除霜用のパイプヒーターが多く取り付けられている前項1〜5のうちのいずれかに記載の蒸発器。 [6] In the surface on one end side and the surface on the other end side in the width direction of the plurality of stacked fin groups, the surface with less voids is provided with more defrosting pipe heaters than the other surface. The evaporator according to any one of to 5.

[7]前項1〜6のうちのいずれかに記載された蒸発器が搭載されていることを特徴とする冷蔵装置。 [7] A refrigerating apparatus equipped with the evaporator described in any one of the above items 1 to 6.

上記[1]に記載の蒸発器によれば、フィン群内にフルサイズフィンと小サイズフィンを混在しているので、小サイズフィンによってフィン群の幅方向の一部に空隙が形成されている。空隙は空気が流れ易いので、着霜耐力が向上する。また、空隙の無い部分はフルサイズフィンと小サイズフィンが密に配列されているので、熱交換量の低下が抑制される。 According to the evaporator described in the above [1], since the full-size fins and the small-size fins are mixed in the fin group, the small-size fin forms a void in a part of the fin group in the width direction. .. Since air easily flows through the voids, frost resistance is improved. Further, since the full-size fins and the small-size fins are densely arranged in the portion having no void, the decrease in heat exchange amount is suppressed.

上記[2]に記載の蒸発器によれば、フィン群内のプレートフィンを等ピッチで配列すれば空隙を形成できるので作製が容易である。 According to the evaporator described in the above [2], if the plate fins in the fin group are arranged at an equal pitch, voids can be formed, and therefore the production is easy.

上記[3]に記載の蒸発器によれば、小サイズフィンにフルサイズフィンよりも少ない箇所で直管部が貫通させることにより、両者の寸法差を大きく設定することができ、空隙の面積を十分に大きくすることができる。 According to the evaporator described in the above [3], the size difference between the small size fins can be set to be large by allowing the straight pipe parts to penetrate through the small size fins at locations smaller than the full size fins, and the area of the voids can be increased. Can be large enough.

上記[4]に記載の蒸発器によれば、空気の流れ方向において隣り合うフィン群は異なる位置に小サイズフィンが配置され、隣り合うフィン群で異なる位置に空隙が形成されているので空気の流れが滞ることなく流れる。 According to the evaporator described in the above [4], the fins adjacent to each other in the air flow direction have the small-sized fins arranged at different positions, and the fins adjacent to each other have the voids formed at different positions. Flows without interruption.

上記[5]に記載の記載の蒸発器によれば、空気の流れ方向において隣り合うフィン群の小サイズフィンが幅方向の一端側と他端側の交互に配置され、フィン群の幅方向の一端側と他端側に交互に空隙が形成されているので、特に空気の流れが良い。 According to the evaporator described in [5], the small-sized fins of the fin groups that are adjacent to each other in the air flow direction are alternately arranged on one end side and the other end side in the width direction, and Since air gaps are formed alternately on one end side and the other end side, the air flow is particularly good.

上記[6]に記載の蒸発器は、空隙が少なく着霜し易い面に他方の面よりも除霜用のパイプヒーターが多く取り付けられているので、効率良く除霜できる。 In the evaporator described in the above [6], since more pipe heaters for defrosting are attached to the surface having less voids and easily frosted than the other surface, defrosting can be performed efficiently.

上記[7]に記載の冷蔵装置は蒸発器について上記の効果が得られる。 The refrigerating apparatus according to the above [7] can obtain the above effects for the evaporator.

本発明の蒸発器の一実施形態の斜視図である。It is a perspective view of one embodiment of the evaporator of the present invention. 図1の蒸発器に用いられるフルサイズフィンの斜視図である。It is a perspective view of the full size fin used for the evaporator of FIG. 図1の蒸発器に用いられる小サイズフィンの斜視図である。It is a perspective view of the small size fin used for the evaporator of FIG. 図1の蒸発器のフィン群の断面図である。It is sectional drawing of the fin group of the evaporator of FIG. 他の蒸発器のフィン群の断面図である。It is sectional drawing of the fin group of another evaporator. フィン固定装置の要部斜視図である。It is a principal part perspective view of a fin fixing device. フィン固定装置の要部断面図である。It is a principal part sectional drawing of a fin fixing device. 図7のVIII- VIII線断面図である。FIG. 8 is a sectional view taken along line VIII-VIII of FIG. 7. フィン付管の平面図である。It is a top view of a tube with fins. フィン付管から蒸発器に加工する方法を示す要部斜視図である。It is a principal part perspective view which shows the method of processing from a finned tube to an evaporator. パイプヒーターを備えた蒸発器の断面図である。It is sectional drawing of the evaporator provided with the pipe heater.

図1〜図4に本発明の蒸発器の一例を示す。 1 to 4 show an example of the evaporator of the present invention.

蒸発器1は、直管部11と曲管部12とが交互に形成されたジグザク状の冷媒管10と、並列に配置された複数のプレートフィン31、32からなり空気の流れ方向に積層された6つのフィン群21、22、23、24、25、26とを有している。前記フィン群21〜26に前記冷媒管10の直管部11が貫通しプレートフィン31、32が直管部に固定されることにより、冷媒管10とフィン群21〜26がと一体化されている。前記蒸発器1は、図面の下方から上方に空気が流れるように設定されている(図1矢印参照)。 The evaporator 1 includes a zigzag-shaped refrigerant pipe 10 in which straight pipe portions 11 and curved pipe portions 12 are alternately formed, and a plurality of plate fins 31 and 32 arranged in parallel, and are laminated in a flow direction of air. It also has six fin groups 21, 22, 23, 24, 25, 26. Since the straight pipe portion 11 of the refrigerant pipe 10 penetrates the fin groups 21 to 26 and the plate fins 31 and 32 are fixed to the straight pipe portions, the refrigerant pipe 10 and the fin groups 21 to 26 are integrated with each other. There is. The evaporator 1 is set so that air flows from the bottom to the top of the drawing (see the arrow in FIG. 1).

前記フィン群21〜26において、直管部11がプレートフィン31、32を貫通する方向を奥行方向、奥行方向および空気の流れ方向に直交する方向を幅方向と定義する。また、以下の説明において、6層のフィン群21〜26は、空気の流れ方向の風上側から風下側へ順に1段目のフィン群21、2段目のフィン群22、…6段目のフィン群26と称する。 In the fin groups 21 to 26, the direction in which the straight pipe portion 11 penetrates the plate fins 31 and 32 is defined as the depth direction, and the direction orthogonal to the depth direction and the air flow direction is defined as the width direction. Further, in the following description, the six-layer fin groups 21 to 26 are the first-stage fin group 21, the second-stage fin group 22,... The sixth-stage fin group in order from the leeward side to the leeward side in the air flow direction. It is referred to as a fin group 26.

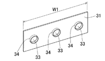
各フィン群21〜26は、図2の幅方向の寸法W1がフィン群21〜26の幅方向の寸法と等しいフルサイズのプレートフィン(以下「フルサイズフィン」と称する)31と、図3の幅方向の寸法W2がフルサイズフィン31の幅寸法W1の2/3の小サイズのプレートフィン(以下「小サイズフィン」と略する)32のサイズの異なる2種類のプレートフィンによって構成されている。前記フルサイズフィン31と小サイズフィン32は、フィンの厚みおよび空気の流れ方向の寸法、即ち高さは共通である。また、前記フルサイズフィン31は高さ方向の中央に幅方向に間隔をおいて3つの貫通穴33が形成され、これらの貫通穴33の周縁からフランジ34が突出している。前記小サイズフィン32は高さ方向の中央に幅方向に間隔をおいて2つの貫通穴33が形成され、これらの貫通穴33の周縁からフフランジ34が突出している。フルサイズフィン31のフランジ34と小サイズフィン32のフランジ34の突出高さは同寸であり、前記フランジ34の突出高さによってフィンピッチが設定される。前記貫通穴33は直管部11を貫通させる穴であるから、フルサイズフィン31は3箇所で直管部11が貫通し、小サイズフィン32は2箇所で直管部11が貫通する。 Each of the fin groups 21 to 26 has a full-size plate fin (hereinafter referred to as “full-size fin”) 31 in which the widthwise dimension W1 in FIG. 2 is equal to the widthwise dimension of the fin groups 21 to 26, and FIG. The size W2 in the width direction is made up of two types of plate fins having different sizes, that is, a small size plate fin (hereinafter abbreviated as "small size fin") 32 that is ⅔ of the width size W1 of the full size fin 31. .. The full-size fins 31 and the small-size fins 32 have the same fin thickness and size in the air flow direction, that is, height. Further, the full-size fin 31 has three through holes 33 formed in the center in the height direction at intervals in the width direction, and a flange 34 projects from the peripheral edge of these through holes 33. The small-sized fin 32 has two through holes 33 formed in the center in the height direction at intervals in the width direction, and a flange 34 projects from the peripheral edge of these through holes 33. The protrusion heights of the flange 34 of the full-size fin 31 and the flange 34 of the small-size fin 32 are the same, and the fin pitch is set by the protrusion height of the flange 34. Since the through hole 33 is a hole through which the straight pipe portion 11 penetrates, the straight pipe portion 11 penetrates the full size fin 31 at three locations, and the small size fin 32 penetrates the straight pipe portion 11 at two locations.

6つのフィン群21〜26はそれぞれ3箇所で直管部11が貫通し、隣接する直管部11は曲管部12によって接続され、冷媒管10は入口から出口まで連通している。また、各フィン群21〜26は上述したフルサイズフィン31および小サイズフィン32によって構成され、かつ段によって2種類のフィンの配置が異なる。図4は各段のフィン群21〜26の高さ方向の中心で切断した断面図であり、図面の下方を幅方向の一端側、上方を他端側となるように示している。なお、図4はフルサイズフィン31および小サイズフィン32の配置を模式的に示す図面であり、フランジ34の表示を省略している。各フィン群21〜26は3箇所で直管部11が貫通しており、図面の下側から上側へ順に、一端側直管部11a、中間直管部11b、他端側直管部11cと称する。 Each of the six fin groups 21 to 26 has a straight pipe portion 11 penetrating at three locations, adjacent straight pipe portions 11 are connected by a curved pipe portion 12, and the refrigerant pipe 10 communicates from an inlet to an outlet. Further, each fin group 21 to 26 is composed of the above-described full-size fins 31 and small-size fins 32, and the arrangement of the two types of fins differs depending on the step. FIG. 4 is a cross-sectional view taken along the center of the height direction of the fin groups 21 to 26 in each stage, and the lower part of the drawing is shown as one end side in the width direction and the upper part is shown as the other end side. Note that FIG. 4 is a drawing schematically showing the arrangement of the full-size fins 31 and the small-size fins 32, and the flange 34 is not shown. In each fin group 21 to 26, the straight pipe portion 11 penetrates at three places, and one end side straight pipe portion 11a, an intermediate straight pipe portion 11b, and the other end side straight pipe portion 11c are sequentially arranged from the lower side to the upper side of the drawing. To call.

1段目、3段目および5段目のフィン群21、23、25のプレートフィンは、フルサイズフィン31と小サイズフィン32が交互に配置されている。前記フルサイズフィン31に一端側直管部11a、中間直管部11bおよび他端側直管部11cが貫通し、小サイズサイズフィン32に中間直管部11bおよび他端側直管部11cが貫通している。2段目および4段目のフィン群22、24のプレートフィンもフルサイズフィン31と小サイズフィン32が交互に配置されていが、小サイズフィン32には一端側直管部11aおよび中間直管部11bが貫通している。6段目のフィン群26のプレートフィンはフルサイズフィン31のみで構成され、全てのフルサイズフィン31に一端側直管部11a、中間直管部11bおよび他端側直管部11cが貫通している。 The plate fins of the first-stage, third-stage, and fifth-stage fin groups 21, 23, and 25 are alternately arranged with full-size fins 31 and small-size fins 32. One end side straight pipe part 11a, middle straight pipe part 11b and the other end side straight pipe part 11c penetrate the full size fin 31, and middle size straight pipe part 11b and the other end side straight pipe part 11c penetrate the small size fin 32. Penetrates. The plate fins of the second-stage and fourth-stage fin groups 22 and 24 are also arranged with the full-size fins 31 and the small-size fins 32 alternately. The small-size fins 32 have one end side straight pipe portion 11a and an intermediate straight pipe. The part 11b penetrates. The plate fins of the sixth-stage fin group 26 are composed of only the full-size fins 31, and all the full-size fins 31 are penetrated by the straight pipe part 11a on one end side, the straight pipe part 11b on the middle side, and the straight pipe part 11c on the other end side. ing.

前記フィン群21〜26では、プレートフィンを隣りのプレートフィンのフランジに当接させて配列することにより設定される。前記フルサイズフィン31および小サイズフィン32のフランジ34の突出寸法は等しいので、寸法の異なる2種類のプレートフィンをどのように配列してもフィンピッチPは均等になる。しかし、1段目〜5段目のフィン群21〜25は、中間直管部11bがフルサイズフィン31と小サイズフィン32の両方に直管部11が貫通しているが、小サイズフィン32は一端側直管部11aに貫通させると他端側直管部11cに届かず、他端側直管部11cに貫通させると一端側直管部11aに届かない。フィン群21〜25の幅方向において、小サイズフィン32が直管部11a、11cに届かない部分に空隙36が形成される。また、前記フィン群21〜25はフルサイズフィン31と小サイズフィン32が交互に配置されているので、空隙36のフィン群21〜25の奥行き方向の寸法P1は前記フィンピッチPの2倍にプレートフィンの厚みを加えた寸法である。また、1段目、3段目、5段目のフィン群21、23、25は小サイズフィン32が一端側直管部11aに届かないので一端側に空隙36が形成される。一方、2段目および4段目のフィン群22、24は小サイズフィン32が他端側直管部11cに届かないので他端側に空隙36が形成される。また、6段目のフィン群26は全てがフルサイズフィン31であるから空隙は形成されない。 The fin groups 21 to 26 are set by bringing plate fins into contact with the flanges of adjacent plate fins and arranging them. Since the protrusion sizes of the flanges 34 of the full-size fins 31 and the small-size fins 32 are the same, the fin pitch P becomes uniform no matter how two kinds of plate fins having different sizes are arranged. However, in the first to fifth fin groups 21 to 25, the intermediate straight pipe portion 11 b penetrates both the full-size fins 31 and the small-size fins 32, but the small-size fins 32. Does not reach the other end side straight pipe part 11c when it penetrates the one end side straight pipe part 11a, and does not reach the one end side straight pipe part 11a when it penetrates the other end side straight pipe part 11c. In the width direction of the fin groups 21 to 25, a gap 36 is formed in a portion where the small size fin 32 does not reach the straight pipe portions 11a and 11c. Further, since the full-size fins 31 and the small-size fins 32 are alternately arranged in the fin groups 21 to 25, the dimension P1 in the depth direction of the fin groups 21 to 25 of the void 36 is twice the fin pitch P. It is the dimension including the thickness of the plate fin. Further, in the fin groups 21, 23, 25 of the first stage, the third stage, and the fifth stage, the small size fins 32 do not reach the straight pipe portion 11a on one end side, so that the void 36 is formed on one end side. On the other hand, in the second-stage and fourth-stage fin groups 22 and 24, the small-sized fins 32 do not reach the other end side straight pipe portion 11c, so that a gap 36 is formed on the other end side. Further, since the fin group 26 in the sixth stage is all full-size fins 31, no void is formed.

前記蒸発器1において、空気は空隙36において流れ易くなり、着霜耐力が向上して除霜が必要となるまでの時間を延ばすことができる。また、前記空隙36はフィン群21〜25の幅方向の一部のみに形成されており、空隙35のない部分35はフルサイズフィン31と小サイズフィン32が密に配列されているので、熱交換量の低下が抑制される。前記空隙36は積層されたフィン群21〜26の幅方向の一端側と他端側とで交互に形成されているので、空気は空隙36と空隙のない部分35とを交互に通って流れていき、空気が滞る箇所がなく全体として良く流れる。このように、隣り合うフィン群で異なる位置に空隙を形成ことにより、空気が滞ることなく流れる。特にフィン群の幅方向の一端側と他端側に交互に空隙を形成することにより、換言すると小サイズフィンを幅方向の一端側と他端側に交互に配置することにより空気の流れを良くすることができる。 In the evaporator 1, the air easily flows in the gap 36, the frost resistance is improved, and the time required for defrosting can be extended. Further, since the voids 36 are formed only in a part of the fin groups 21 to 25 in the width direction, and the full-size fins 31 and the small-size fins 32 are densely arranged in the portion 35 without the voids 35, A decrease in the exchange amount is suppressed. Since the voids 36 are alternately formed on one end side and the other end side in the width direction of the stacked fin groups 21 to 26, air flows alternately through the voids 36 and the non-voided portions 35. There is no place where the air stays and there is a good flow as a whole. In this way, by forming gaps at different positions in the adjacent fin groups, the air flows without stopping. Particularly, by forming voids alternately on one end side and the other end side in the width direction of the fin group, in other words, by arranging the small size fins alternately on one end side and the other end side in the width direction, the air flow is improved. can do.

上述したように、フィン群内にサイズの異なるプレートフィンを混在させることにより、幅方向の一部に空隙が形成される。空隙の面積、数および位置は小サイズフィンの位置および数によって変更できる。 As described above, by mixing the plate fins having different sizes in the fin group, a gap is formed in a part in the width direction. The area, number and position of the voids can be changed by the position and number of small size fins.

空隙の数および面積は、空気の流れを良くして着霜耐力を高めるために、着霜しやすい風上側で多くまたは大きくすることが好ましい。図5の蒸発器2は、空隙がフィン群の幅方向の一端側と他端側で交互に形成され、かつ風上側で大きく風下側で小さくなっている。即ち、1段目のフィン群41はフルサイズフィン31の間に4枚の小サイズフィン32を配置して空隙37aが形成され、2段目および3段目のフィン群42、43はフルサイズフィン31の間に2枚の小サイズフィン32を配置して空隙37bが形成され、4段目および5段目のフィン群44、45はフルサイズフィン31の間に1枚の小サイズフィン32を配置して空隙37cが形成され、6段目のフィン群46はフルサイズフィン31のみで構成されている。3種類の空隙37a、37b、37cのフィン群の奥行き方向の寸法P2、P3、P4およびフィンピッチPの関係は、P2>P3>P4>Pである。 The number and area of the voids are preferably increased or increased on the windward side where frost formation is likely to occur in order to improve the air flow and enhance the frost resistance. In the evaporator 2 of FIG. 5, voids are alternately formed on one end side and the other end side in the width direction of the fin group, and are large on the windward side and small on the leeward side. That is, the first-stage fin group 41 has four small-sized fins 32 arranged between the full-size fins 31 to form a gap 37a, and the second- and third-stage fin groups 42 and 43 are full-sized. A gap 37b is formed by arranging two small size fins 32 between the fins 31, and the fin groups 44 and 45 in the fourth and fifth steps are one small size fin 32 between the full size fins 31. To form a space 37c, and the fin group 46 in the sixth stage is composed of only the full-size fins 31. The relationship between the depth-direction dimensions P2, P3, P4 and the fin pitch P of the fin group of the three types of voids 37a, 37b, 37c is P2>P3>P4>P.

前記蒸発器1、2は、フィンピッチを一定にして部分的に空隙を設けているので、フィンピッチを粗くした場合よりも熱交換量の低下は少ない。フィン群21〜25、41〜45の幅方向の一部に空隙36、37a、37b、37cを形成することにより、フィンピッチを粗くしたことによる熱交換量の低下を抑制しつつ着霜耐力を向上させることができる。 In the evaporators 1 and 2, since the fin pitch is made constant and the voids are partially provided, the heat exchange amount is less decreased than in the case where the fin pitch is made coarse. By forming the voids 36, 37a, 37b, 37c in a part of the fin groups 21 to 25, 41 to 45 in the width direction, the frost resistance is suppressed while suppressing a decrease in the heat exchange amount due to the roughened fin pitch. Can be improved.

図示例の蒸発器1、2はフルサイズフィン31の3箇所に直管部11を貫通させているが、本発明においてプレートフィンを貫通する直管部の数は限定されず、4箇所以上または2箇所以下でも良い。また、小サイズフィンとフルサイズフィンの寸法差も問わない。図2〜5の小サイズフィン32は、フルサイズフィン31に対して貫通穴33の数を1つ減じて2つとし幅寸法がフルサイズフィン31の2/3であるが、貫通穴33を1つにした幅寸法1/3のフィンであってもよい。ただし、小サイズフィン32の寸法はフルサイズフィン31の60%〜80%が望ましい。フィン群21〜25、41〜45の幅方向においてフルサイズフィン31のみが存在する領域に空隙36、37a、37b、37cが形成されるので、貫通穴33の数を減じることなく幅寸法を小さくしただけでも拡大フィンピッチ部を形成することができる。ただし、その程度の幅寸法の縮小では空隙の面積を十分に大きくすることができないので、空気の流れを促進する効果も小さい。従って、小サイズフィンは貫通穴の数を減じて幅寸法を小さくすることが望ましい。 In the evaporators 1 and 2 of the illustrated example, the straight pipe portion 11 is passed through three places of the full-size fin 31, but the number of straight pipe portions passing through the plate fin is not limited in the present invention, and four or more places or It may be two or less. Further, the dimensional difference between the small size fin and the full size fin does not matter. In the small size fins 32 of FIGS. 2 to 5, the number of the through holes 33 is reduced by one from the full size fins 31 to be two, and the width dimension is 2/3 of the full size fins 31, but the through holes 33 are It may be one fin having a width dimension of 1/3. However, the size of the small size fin 32 is preferably 60% to 80% of that of the full size fin 31. Since the voids 36, 37a, 37b, 37c are formed in the region where only the full-size fins 31 exist in the width direction of the fin groups 21-25, 41-45, the width dimension can be reduced without reducing the number of through holes 33. The expansion fin pitch portion can be formed only by doing this. However, since the area of the void cannot be made sufficiently large by reducing the width dimension to that extent, the effect of promoting the flow of air is also small. Therefore, it is desirable to reduce the width of the small size fin by reducing the number of through holes.

また、本発明の蒸発器は全てのフィン群が空隙を有していることに限定されない。空隙を形成すると空気が通りやすくなって着霜し難くなるが、その反面熱交換量が低下するので、着霜しにくい風下に空隙の無いフィン群を配置して熱交換量低下の抑制を図ることも好ましい態様である。さらに、一つのフィン群内に配置される複数の小サイズフィンの幅方向の位置が同一であることにも限定されない。例えば、図4の2段目のフィン群22は全ての小サイズフィン32は幅方向の一端側に一端側直管部11aおよび中間直管部11bを貫通させているが、一端側に寄せて一端側直管部11aが貫通する小サイズフィンと他端側に寄せて他端側直管部11cが貫通する小サイズフィンが混在させてもよい。また、フルサイズフィンと小サイズフィンをランダムに配置することもできる。 Further, the evaporator of the present invention is not limited to having all the fin groups having voids. The formation of voids makes it easier for air to pass through and makes it difficult for frost to form, but on the other hand, the amount of heat exchange decreases, so a fin group with no voids is placed in the leeward direction where frost formation is difficult to prevent reduction in the amount of heat exchange. That is also a preferred embodiment. Furthermore, it is not limited that the plurality of small size fins arranged in one fin group have the same position in the width direction. For example, in the fin group 22 in the second stage of FIG. 4, all the small-sized fins 32 have one end side straight pipe portion 11a and the intermediate straight pipe portion 11b penetrating to one end side in the width direction, but they are brought close to one end side. Small size fins through which the straight pipe portion 11a on one side penetrates and small size fins through which the straight pipe portion 11c on the other end penetrates may be mixed. Further, the full-size fins and the small-size fins can be randomly arranged.

さらに、本発明は複数のフィン群のフィンピッチが等しいことに限定されない。寸法の異なるプレートフィンを混在させ、かつフィンピッチの粗密を組み合わせることもできる。
[蒸発器の製造方法]
前記蒸発器1は、例えば図6〜8に示すフィン固定装置3を用いて直管にプレートフィンを固定し、次いで曲管で直管を接続して図9のフィン付管100を作製し、このフィン付管100を曲げ加工することによって製造できる。
(プレートフィンの固定方法)
図6〜8のフィン固定装置3は、長い板状ベース61および板状ベース61上に長手方向に間隔をおいて立設された複数の並列状フィン支持プレート62よりなるフィンセット治具60と、フィンセット治具60の隣接するフィン支持プレート62間のフィンセット間隙63に配される管クランプ用の下プレート64と、隣接するフィン支持プレート62間に配された下プレート64の上に配される管クランプ用の上プレート65と、上プレート65を下方に押圧する板状押圧部材66とを備えている。
板状ベース61は、複数のベースユニット61Aを直列に並べることにより構成され、各ベースユニット61A上に複数のフィン支持プレート62が立設されている。各フィン支持プレート62の上縁に直管102を嵌め入れ得る略U字状の切り欠き62aが間隔をおいて3つ形成されている。また、管クランプ用の下プレート64の上縁および上プレート65の下縁にはそれぞれ3つの半円形の切り欠き64a、65aが間隔をおいて形成されており、これらの切り欠き64a、65aにより上下プレート64、65間に、直管102を挿通し得る3つの円形貫通穴67が、フィン支持プレート62の3つの切り欠き62a間のピッチと同一ピッチで形成されている。この貫通穴67の内径は、拡管前の直管102の外径より大きい。
Furthermore, the present invention is not limited to the fin pitches of a plurality of fin groups being equal. It is also possible to mix plate fins having different dimensions and to combine fin pitch density.
[Evaporator manufacturing method]
In the evaporator 1, for example, plate fins are fixed to a straight pipe by using the fin fixing device 3 shown in FIGS. 6 to 8, and then the straight pipe is connected by a curved pipe to produce the finned pipe 100 of FIG. It can be manufactured by bending the finned pipe 100.
(How to fix plate fins)
The fin fixing device 3 shown in FIGS. 6 to 8 includes a fin set jig 60 including a long plate-shaped base 61 and a plurality of parallel fin support plates 62 that are erected on the plate-shaped base 61 at intervals in the longitudinal direction. , A pipe clamp lower plate 64 arranged in the fin set gap 63 between the adjacent fin support plates 62 of the fin set jig 60, and a lower plate 64 arranged between the adjacent fin support plates 62. The pipe clamp upper plate 65 and the plate-shaped pressing member 66 for pressing the upper plate 65 downward are provided.
The plate-shaped base 61 is configured by arranging a plurality of base units 61A in series, and a plurality of fin support plates 62 are erected on each base unit 61A. Three substantially U-shaped notches 62a into which the straight pipes 102 can be fitted are formed at the upper edge of each fin support plate 62 at intervals. Further, three semicircular cutouts 64a, 65a are formed at intervals on the upper edge of the lower plate 64 for pipe clamping and the lower edge of the upper plate 65, respectively, and these cutouts 64a, 65a are formed. Three circular through holes 67 through which the straight pipe 102 can be inserted are formed between the upper and lower plates 64 and 65 at the same pitch as the pitch between the three notches 62 a of the fin support plate 62. The inner diameter of this through hole 67 is larger than the outer diameter of the straight pipe 102 before pipe expansion.

前記蒸発器1の製造にあたり、フィン固定用の3本の直管102、多数のフルサイズフィン31、多数の小サイズフィン32、前記直管103を接続する2つの半円形の連結部材103を用意する。 In manufacturing the evaporator 1, three straight pipes 102 for fixing fins, a large number of full size fins 31, a large number of small size fins 32, and two semi-circular connecting members 103 for connecting the straight pipes 103 are prepared. To do.

前記フィン固定装置3における全てのフィン支持プレート62間のフィンセット間隙63のうち、1段目〜5段目フィン群21〜25に対応する位置のフィンセット間隙63内にフルサイズフィン31および小サイズフィン32を所定の順序で配置し、6段目のフィン群26に対応する位値のフィンセット間隙65にフルサイズフィン31を配置する。図6はフルサイズフィン31と小サイズフィン32を交互に配置した例を示している。フィン群間のフィンの無い部分のフィンセット間隙63に下プレート64を配置する。ついで、3本の直管102をフルサイズフィン31および小サイズフィン32の貫通穴33に通すととも下プレート64の切り欠き64aに嵌め入れる。次に、下プレート64上に上プレート65を配置して両プレート24、25間に形成される3つの貫通穴67に直管102をそれぞれ通した状態にする。 Of the fin set gaps 63 between all the fin support plates 62 in the fin fixing device 3, the full size fins 31 and the small size fins 31 and the small fins are arranged in the fin set gaps 63 at positions corresponding to the first to fifth stage fin groups 21 to 25. The size fins 32 are arranged in a predetermined order, and the full-size fins 31 are arranged in the fin set gap 65 of the order corresponding to the fin group 26 in the sixth stage. FIG. 6 shows an example in which full size fins 31 and small size fins 32 are alternately arranged. The lower plate 64 is arranged in the fin set gap 63 in the finless portion between the fin groups. Next, the three straight tubes 102 are passed through the through holes 33 of the full-size fins 31 and the small-size fins 32 and are fitted into the notches 64a of the lower plate 64. Next, the upper plate 65 is arranged on the lower plate 64 so that the straight pipes 102 are respectively passed through the three through holes 67 formed between the plates 24 and 25.

そして、押圧部材66により上プレート65を下方に押圧した状態で、3本の直管102の一方の端部の開口部を塞ぐとともに金具(図示省略)で拘束し、他方の端部の開口部流体を導入して拡管する。この拡管により直管102の外周面がフルサイズフィン31および小サイズフィン32の貫通穴33およびフランジ34の内面に強く当接してフィン31、32が直管102に固定される。 Then, in a state where the upper plate 65 is pressed downward by the pressing member 66, the openings at one ends of the three straight tubes 102 are closed and restrained by a metal fitting (not shown), and the openings at the other ends. Introduce a fluid to expand the tube. Due to this expansion, the outer peripheral surface of the straight pipe 102 strongly abuts the through holes 33 of the full-size fins 31 and the small-size fins 32 and the inner surfaces of the flanges 34, and the fins 31 and 32 are fixed to the straight pipe 102.

次に、連結部材103の両端を2本の直管102の端部に接合し、3本の直管102が2つの連結部材103によって連通する1本の冷媒管を形成する。このようにして作製したフィン付管100は、1本の長尺の冷媒管が2箇所で屈曲して各フィン群21〜26に3箇所で貫通している(図9)。 Next, both ends of the connecting member 103 are joined to the ends of the two straight pipes 102 to form one refrigerant pipe in which the three straight pipes 102 communicate with each other by the two connecting members 103. In the finned tube 100 thus manufactured, one long refrigerant tube is bent at two locations and penetrates each fin group 21 to 26 at three locations (FIG. 9).

そして、図10に示すように、前記フィン付管100のフィン群21〜26間のフィン無し部分101を蛇行状に曲げて、6つのフィン群21〜26が積層されるように加工する。これにより、図1の蒸発器1となる。 Then, as shown in FIG. 10, the finless portion 101 between the fin groups 21 to 26 of the finned tube 100 is bent in a meandering shape so that the six fin groups 21 to 26 are laminated. As a result, the evaporator 1 shown in FIG. 1 is obtained.

前記フィンセット治具60は、プレートフィンを幅寸法の大小に関係なく等ピッチで配列する治具であり、フィン支持プレート62のピッチがフィンピッチPに対応する寸法となる。空隙36は小サイズフィン32が直管102に届かない部分に形成されるので、フィンセット治具60の所期する位置に小サイズフィン32を配置すれば空隙36を形成できる。また、空隙36の奥行き方向の寸法は小サイズフィン32の連続配置枚数に応じて自在に拡大できる。従って、空隙をフィン群内の異なる位置に形成する場合も、寸法のことなる空隙を形成する場合もフィンセット治具60は共通である。なお、本発明の蒸発器は前記フィンセット治具を用いて作製されたものに限定されない。
[蒸発器の他の態様]
蒸発器には除霜用ヒーターを取り付ける。ヒーターは着霜量の多い部分に取り付けることで効率良く除霜できる。従って、本発明の蒸発器においては、積層された複数のフィン群の幅方向の一端側の面および他端側の面において、空隙数の多い面に他方の面よりも除霜用パイプヒーターを取り付けることが望ましい。図11は6段のフィン群71〜76を有する蒸発器4であり、1段目、3段目および5段目のフィン群71、73、75は一端側に部空隙77が形成され、2段目のフィン群72は他端側に空隙77が形成され、4段目および6段目のフィン群74、76は空隙77が形成されていない。即ち、前記蒸発器4はフィン群71〜76の一端側の面に他端側の面よりも多く空隙77が形成されている。そして、フィン群71〜76の一端側の面の2箇所、他端側の面の4箇所に、除霜用パイプヒーター78がそれぞれ奥行方向に沿って取り付けられている。
The fin setting jig 60 is a jig for arranging plate fins at an equal pitch regardless of the size of the width, and the pitch of the fin support plate 62 corresponds to the fin pitch P. Since the void 36 is formed in a portion where the small fin 32 does not reach the straight pipe 102, the void 36 can be formed by disposing the small fin 32 at a desired position of the fin setting jig 60. Further, the size of the space 36 in the depth direction can be freely expanded according to the number of the small fins 32 continuously arranged. Therefore, the fin set jig 60 is common whether the voids are formed at different positions in the fin group or when the voids having different sizes are formed. The evaporator of the present invention is not limited to the one manufactured by using the fin setting jig.
[Other modes of evaporator]
Install a defrosting heater on the evaporator. The heater can be efficiently defrosted by attaching it to the part with a large amount of frost. Therefore, in the evaporator of the present invention, the defrosting pipe heater is provided on the one end side surface and the other end side surface in the width direction of the plurality of stacked fin groups more on the surface with a larger number of voids than on the other surface. It is desirable to install it. FIG. 11 shows an evaporator 4 having fin groups 71 to 76 in six stages. The fin groups 71, 73, and 75 in the first, third, and fifth stages have a partial void 77 formed on one end side. A space 77 is formed on the other end side of the fin group 72 in the tier, and a space 77 is not formed in the fin groups 74 and 76 of the fourth and sixth tiers. That is, the evaporator 4 has a larger number of voids 77 formed on one end side surface of the fin groups 71 to 76 than on the other end side surface. The defrosting pipe heaters 78 are attached to the fin groups 71 to 76 at two positions on one end side and four positions on the other end side, respectively, in the depth direction.

また、本発明の蒸発器を取り付けた冷蔵装置においては、上述した効果を得ることができる。 Further, in the refrigerating apparatus equipped with the evaporator of the present invention, the above-mentioned effects can be obtained.

本発明の蒸発器は冷蔵装置に用いることができる。 The evaporator of the present invention can be used in a refrigerator.

1、2、4…蒸発器
10…冷媒管
11…直管部
11a…一端側直管部
11b…中間直管部
11c…他端側奥直管部
12…曲管部
21〜26、41〜46、71〜76…フィン群
31…フルサイズフィン(プレートフィン)
32…小サイズフィン(プレートフィン)
35…空隙のない部分
36、37a、37b、37c、77…空隙
78…パイプヒーター
1, 2, 4... Evaporator 10... Refrigerant pipe 11... Straight pipe part 11a... One end side straight pipe part 11b... Intermediate straight pipe part 11c... Other end side straight straight pipe part 12... Curved pipe parts 21-26, 411- 46, 71 to 76... Fin group 31... Full size fin (plate fin)
32...Small fins (plate fins)
35... Portions without void 36, 37a, 37b, 37c, 77... Void 78... Pipe heater

Claims (7)

直管部と曲管部とが交互に形成されたジグザク状の冷媒管と、並列に配置された複数のプレートフィンからなり空気の流れ方向に積層された複数のフィン群とを有し、前記冷媒管の直管部が前記フィン群のプレートフィンを貫通することにより冷媒管とフィン群が一体化された蒸発器において、
前記フィン群において、直管部がプレートフィンを貫通する方向を奥行方向、前記奥行方向および空気の流れ方向に直交する方向を幅方向とし、
少なくとも1つのフィン群のプレートフィンが、幅方向の寸法がフィン群の幅方向の寸法と等しいフルサイズフィンと、幅方向の寸法がフルサイズフィンよりも小さい小サイズフィンとで構成され、前記小サイズフィンによって空隙が形成されていることを特徴とする蒸発器。
A zigzag-shaped refrigerant pipe in which straight pipe portions and curved pipe portions are alternately formed, and a plurality of fin groups formed of a plurality of plate fins arranged in parallel and laminated in the air flow direction, In an evaporator in which a refrigerant pipe and a fin group are integrated by a straight pipe portion of the refrigerant pipe penetrating a plate fin of the fin group,
In the fin group, a direction in which a straight pipe portion penetrates a plate fin is a depth direction, a direction orthogonal to the depth direction and a flow direction of air is a width direction,
The plate fins of at least one fin group are composed of full-size fins having a widthwise dimension equal to the widthwise dimension of the fin group, and small-size fins having a widthwise dimension smaller than the full-size fins. An evaporator characterized in that voids are formed by size fins.
前記フィン群内のプレートフィンが等ピッチで配列されている請求項1に記載の蒸発器。 The evaporator according to claim 1, wherein the plate fins in the fin group are arranged at an equal pitch. 前記フルサイズフィンは幅方向の2箇所以上で冷媒管の直管部が貫通し、小サイズフィンはフルサイズフィンよりも少ない箇所で直管部が貫通する請求項1または2に記載の蒸発器。 The evaporator according to claim 1 or 2, wherein the full-size fins penetrate the straight pipe portion of the refrigerant pipe at two or more locations in the width direction, and the small-size fins penetrate the straight pipe portion at fewer locations than the full-size fins. .. 空気の流れ方向において隣り合うフィン群は異なる位置に小サイズフィンが配置されている請求項1〜3のいずれかに記載の蒸発器。 The evaporator according to any one of claims 1 to 3, wherein small fins are arranged at different positions in the fin groups adjacent to each other in the air flow direction. 空気の流れ方向において隣り合うフィン群の小サイズフィンは、幅方向の一端側と他端側の交互に配置されている請求項4に記載の蒸発器。 The evaporator according to claim 4, wherein the small-sized fins of the fin group that are adjacent to each other in the air flow direction are alternately arranged on one end side and the other end side in the width direction. 積層された複数のフィン群の幅方向の一端側の面および他端側の面において、空隙の少ない面に他方の面よりも除霜用のパイプヒーターが多く取り付けられている請求項1〜5のうちのいずれかに記載の蒸発器。 A surface of one end side and a surface of the other end in the width direction of the plurality of stacked fin groups are provided with more defrosting pipe heaters on the surface with less voids than on the other surface. The evaporator according to any one of 1. 請求項1〜6のうちのいずれかに記載された蒸発器が搭載されていることを特徴とする冷蔵装置。 A refrigerating apparatus comprising the evaporator according to claim 1.
JP2019009904A 2019-01-24 2019-01-24 Evaporator Active JP7175779B2 (en)

Priority Applications (1)

Application Number Priority Date Filing Date Title
JP2019009904A JP7175779B2 (en) 2019-01-24 2019-01-24 Evaporator

Applications Claiming Priority (1)

Application Number Priority Date Filing Date Title
JP2019009904A JP7175779B2 (en) 2019-01-24 2019-01-24 Evaporator

Publications (2)

Publication Number Publication Date
JP2020118364A true JP2020118364A (en) 2020-08-06
JP7175779B2 JP7175779B2 (en) 2022-11-21

Family

ID=71890422

Family Applications (1)

Application Number Title Priority Date Filing Date
JP2019009904A Active JP7175779B2 (en) 2019-01-24 2019-01-24 Evaporator

Country Status (1)

Country Link
JP (1) JP7175779B2 (en)

Citations (4)

* Cited by examiner, † Cited by third party
Publication number Priority date Publication date Assignee Title
JPS6375780U (en) * 1986-11-05 1988-05-20
JP2001124437A (en) * 1999-10-28 2001-05-11 Mitsubishi Electric Corp Cooler and refrigerator
JP2001133180A (en) * 1999-10-29 2001-05-18 Matsushita Refrig Co Ltd Fin-tube-type heat exchanger
JP2018025373A (en) * 2016-01-13 2018-02-15 三星電子株式会社Samsung Electronics Co.,Ltd. Heat exchanger for refrigerator, and refrigerator

Patent Citations (4)

* Cited by examiner, † Cited by third party
Publication number Priority date Publication date Assignee Title
JPS6375780U (en) * 1986-11-05 1988-05-20
JP2001124437A (en) * 1999-10-28 2001-05-11 Mitsubishi Electric Corp Cooler and refrigerator
JP2001133180A (en) * 1999-10-29 2001-05-18 Matsushita Refrig Co Ltd Fin-tube-type heat exchanger
JP2018025373A (en) * 2016-01-13 2018-02-15 三星電子株式会社Samsung Electronics Co.,Ltd. Heat exchanger for refrigerator, and refrigerator

Also Published As

Publication number Publication date
JP7175779B2 (en) 2022-11-21

Similar Documents

Publication Publication Date Title
JP6116683B2 (en) Laminated header, heat exchanger, and air conditioner
JP6012857B2 (en) Laminated header, heat exchanger, and air conditioner
JP6177319B2 (en) Laminated header, heat exchanger, and air conditioner
CN105209845B (en) Laminated header, heat exchanger, and air conditioner
JP6278904B2 (en) Refrigerant distributor and heat pump device using the refrigerant distributor
US9657996B2 (en) Flat tube heat exchanger and outdoor unit of air-conditioning apparatus including the heat exchanger
JP5195733B2 (en) Heat exchanger and refrigeration cycle apparatus equipped with the same
JP6080982B2 (en) Laminated header, heat exchanger, and air conditioner
WO2014184916A1 (en) Laminated header, heat exchanger, and air conditioner
EP3650798B1 (en) Heat exchanger
EP1760909A1 (en) Turn fin condenser
JP6419882B2 (en) Air conditioner
JP6005268B2 (en) Laminated header, heat exchanger, and air conditioner
JP6946105B2 (en) Heat exchanger
JP5608478B2 (en) Heat exchanger and air conditioner using the same
JP2007170718A (en) Heat exchanger
JP2020118364A (en) Evaporator
JP2007046869A (en) Evaporator
JP2007046868A (en) Evaporator
KR102843983B1 (en) Heat exchanger and air conditioner having the same
CN211926198U (en) Heat Exchangers and Air Conditioners
JP2010107147A (en) Heat exchanger and method of manufacturing the same
US20170074564A1 (en) Heat exchanger and refrigeration cycle apparatus including the heat exchanger
JP2010107146A (en) Heat exchanger and method of manufacturing the same
JP5712786B2 (en) Manufacturing method of corrugated fin laminated heat exchanger

Legal Events

Date Code Title Description
A621 Written request for application examination

Free format text: JAPANESE INTERMEDIATE CODE: A621

Effective date: 20211013

A977 Report on retrieval

Free format text: JAPANESE INTERMEDIATE CODE: A971007

Effective date: 20220804

A131 Notification of reasons for refusal

Free format text: JAPANESE INTERMEDIATE CODE: A131

Effective date: 20220816

A521 Request for written amendment filed

Free format text: JAPANESE INTERMEDIATE CODE: A523

Effective date: 20220926

TRDD Decision of grant or rejection written
A01 Written decision to grant a patent or to grant a registration (utility model)

Free format text: JAPANESE INTERMEDIATE CODE: A01

Effective date: 20221018

A61 First payment of annual fees (during grant procedure)

Free format text: JAPANESE INTERMEDIATE CODE: A61

Effective date: 20221109

R150 Certificate of patent or registration of utility model

Ref document number: 7175779

Country of ref document: JP

Free format text: JAPANESE INTERMEDIATE CODE: R150

RD02 Notification of acceptance of power of attorney

Free format text: JAPANESE INTERMEDIATE CODE: R3D02

S111 Request for change of ownership or part of ownership

Free format text: JAPANESE INTERMEDIATE CODE: R313111

R350 Written notification of registration of transfer

Free format text: JAPANESE INTERMEDIATE CODE: R350

S531 Written request for registration of change of domicile

Free format text: JAPANESE INTERMEDIATE CODE: R313531

R350 Written notification of registration of transfer

Free format text: JAPANESE INTERMEDIATE CODE: R350