JP2020118187A - Coupling device - Google Patents

Coupling device Download PDF

Info

Publication number
JP2020118187A
JP2020118187A JP2019007993A JP2019007993A JP2020118187A JP 2020118187 A JP2020118187 A JP 2020118187A JP 2019007993 A JP2019007993 A JP 2019007993A JP 2019007993 A JP2019007993 A JP 2019007993A JP 2020118187 A JP2020118187 A JP 2020118187A
Authority
JP
Japan
Prior art keywords
lock member
hole
flange portion
shaft
shaft portion
Prior art date
Legal status (The legal status is an assumption and is not a legal conclusion. Google has not performed a legal analysis and makes no representation as to the accuracy of the status listed.)
Granted
Application number
JP2019007993A
Other languages
Japanese (ja)
Other versions
JP7246940B2 (en
Inventor
和田 浩
Hiroshi Wada
浩 和田
祐治 鎌崎
Yuji Kamazaki
祐治 鎌崎
悟史 久保田
Satoshi Kubota
悟史 久保田
Current Assignee (The listed assignees may be inaccurate. Google has not performed a legal analysis and makes no representation or warranty as to the accuracy of the list.)
JFE Metal Products and Engineering Inc
Original Assignee
JFE Metal Products and Engineering Inc
Priority date (The priority date is an assumption and is not a legal conclusion. Google has not performed a legal analysis and makes no representation as to the accuracy of the date listed.)
Filing date
Publication date
Application filed by JFE Metal Products and Engineering Inc filed Critical JFE Metal Products and Engineering Inc
Priority to JP2019007993A priority Critical patent/JP7246940B2/en
Publication of JP2020118187A publication Critical patent/JP2020118187A/en
Application granted granted Critical
Publication of JP7246940B2 publication Critical patent/JP7246940B2/en
Active legal-status Critical Current
Anticipated expiration legal-status Critical

Links

Images

Landscapes

  • Pit Excavations, Shoring, Fill Or Stabilisation Of Slopes (AREA)
  • Connection Of Plates (AREA)
  • Snaps, Bayonet Connections, Set Pins, And Snap Rings (AREA)

Abstract

To reduce a burden of a coupling operation by simply coupling overlaid coupling objects to each other.SOLUTION: A coupling device 1 comprises an insertion member 10 inserted in each of holes 130 formed on respective overlaid coupling objects, and a locking member 20 fixing the insertion member 10 inserted in the coupling object. The insertion member 10 has a shaft part 11, an engagement part 13, which is formed on the shaft part 11, which can be freely inserted in the hole 130, and which is engaged with the locking member 20, and a contact part 15 formed on the shaft part 11 and contacting a peripheral edge of the hole of the coupling object. The locking member 20 has an insertion hole 21, in which the engagement part 13 and the shaft part 11 can be inserted, and a slide hole 23 inserted in the insertion hole 21, extending in a direction crossing with an insertion direction of the insertion member 10, and having width larger than the shaft part 11 and smaller than the engagement part 13.SELECTED DRAWING: Figure 7

Description

本発明は、重ねられた連結対象物を互いに連結する連結装置に関する。 The present invention relates to a connecting device for connecting overlapping connection objects to each other.

従来、台風や地震等により鉄塔等の構造物が倒れないようにするために、構造物の足下に強固な基礎を構築してきた。基礎には、長さが数十メートルにもおよぶ杭を用いることがあり、杭を埋めるために相応の深さの立坑を掘削する。
基礎に用いられる杭を地中深くにまで埋める深礎工法においては、立坑の内壁が崩壊することを防止するために、立坑の内壁に沿って土留を構築する必要がある。土留は、例えば、土留材としてライナープレートを用い、立坑の内壁面に沿って、ライナープレートを立坑の周方向(横断面方向)及び高さ方向(深さ方向)に複数連結して構築する。
ライナープレートを連結する連結装置としては、ボルト及びナットが用いられる。ボルトをライナープレートのフランジに形成された挿通孔に挿通して、ボルトにナットを螺合させることで隣接するライナープレート同士を連結している(例えば、特許文献1参照)。
In the past, in order to prevent structures such as steel towers from falling down due to typhoons, earthquakes, etc., a strong foundation has been built under the structure. A pile with a length of several tens of meters may be used for the foundation, and a vertical shaft of a suitable depth is excavated to fill the pile.
In the deep foundation method of burying piles used for foundation deeply in the ground, it is necessary to construct soil retaining along the inner wall of the shaft to prevent the inner wall of the shaft from collapsing. The soil retaining is constructed by using a liner plate as the soil retaining material and connecting a plurality of liner plates along the inner wall surface of the shaft in the circumferential direction (transverse cross-sectional direction) and the height direction (depth direction) of the shaft.
A bolt and a nut are used as a connecting device for connecting the liner plates. The bolts are inserted into the through holes formed in the flanges of the liner plates, and the nuts are screwed into the bolts to connect the liner plates adjacent to each other (see, for example, Patent Document 1).

特開2009−257070号公報JP, 2009-257070, A

ところで、1つの立坑の内壁面に土留を構築する場合、立坑の内壁面に設置する複数のライナープレートをボルト及びナットにより互いに連結する連結箇所は、数千箇所を超えることがある。連結箇所の全てにおいて、作業者(以下同様)が手作業によりボルトをフランジに形成された挿通孔に挿通して、ボルトの先端部にナットを螺合させる場合、作業者への負担が大きく、施工効率の向上が困難であった。 By the way, when constructing an earth retaining wall on the inner wall surface of one shaft, the number of connecting points for connecting a plurality of liner plates installed on the inner wall surface of the shaft to each other by bolts and nuts may exceed several thousand. When an operator (same below) manually inserts a bolt into an insertion hole formed in a flange to screw a nut at the tip of the bolt at all of the connection points, the burden on the operator is great. It was difficult to improve the construction efficiency.

そこで、本発明は、上記課題に鑑みてなされたものであり、重ねられた連結対象物を簡単に連結することができ、作業者への負担を軽減して、施工効率を向上することができる連結装置を提供することを目的とする。 Therefore, the present invention has been made in view of the above problems, can be easily connected overlapping objects to be connected, reduce the burden on the operator, it is possible to improve the construction efficiency. An object is to provide a coupling device.

上記課題を解決するために、本発明は、重ねられた連結対象物のそれぞれに形成された孔に挿通される挿通部材と、前記連結対象物に挿通された前記挿通部材を固定するロック部材と、を備える連結装置であって、前記挿通部材は、軸部と、前記軸部に形成され前記孔を挿通自在でかつ前記ロック部材と係合する係合部と、前記軸部に形成され前記連結対象物の前記孔の周縁部に接触する接触部と、を有し、前記ロック部材は、前記係合部及び前記軸部が挿通自在な挿通孔と、前記挿通孔に連通し、前記挿通部材の挿通方向と交差する方向に延びて前記軸部よりも大きくかつ前記係合部よりも小さな幅のスライド孔と、を有することを特徴とする。 In order to solve the above-mentioned problems, the present invention provides an insertion member that is inserted into the holes formed in each of the stacked connection objects, and a lock member that fixes the insertion member that is inserted into the connection object. And the insertion member includes a shaft portion, an engagement portion that is formed in the shaft portion and that is insertable through the hole and that engages with the lock member, and the insertion member that is formed in the shaft portion. A contact portion that comes into contact with a peripheral portion of the hole of the object to be connected, the lock member, an insertion hole through which the engaging portion and the shaft portion are insertable, and the insertion portion that communicates with the insertion hole. A slide hole that extends in a direction intersecting the insertion direction of the member and has a width that is larger than the shaft portion and smaller than the engagement portion.

また、前記ロック部材の厚さは、前記挿通孔の側から前記スライド孔の側に向かって連続的に大きくなるように変化していてもよい。 Further, the thickness of the lock member may be changed so as to continuously increase from the side of the insertion hole toward the side of the slide hole.

また、前記軸部が前記スライド孔にある状態において、前記ロック部材の前記軸部に対する相対的な移動を防止するストッパ構造を有していてもよい。 Further, it may have a stopper structure for preventing relative movement of the lock member with respect to the shaft portion when the shaft portion is in the slide hole.

本発明によれば、重ねられた連結対象物を簡単に連結して、連結作業の負担を軽減することができる。 ADVANTAGE OF THE INVENTION According to this invention, the connection object which was piled up can be easily connected, and the load of connection work can be reduced.

周方向及び高さ方向に互いに連結されたライナープレートの斜視図である。FIG. 6 is a perspective view of liner plates connected to each other in a circumferential direction and a height direction. 本発明の実施の形態に係る連結装置の挿入部材の構成を説明するための図である。It is a figure for demonstrating the structure of the insertion member of the coupling device which concerns on embodiment of this invention. 本発明の実施の形態に係る連結装置のロック部材の構成を説明するための図である。It is a figure for demonstrating the structure of the lock member of the coupling device which concerns on embodiment of this invention. ライナープレートを本発明の実施の形態に係る連結装置により連結する工程を説明するための図である。It is a figure for demonstrating the process of connecting a liner plate with the connecting device which concerns on embodiment of this invention. ライナープレートを本発明の実施の形態に係る連結装置により連結する工程を説明するための図である。It is a figure for demonstrating the process of connecting a liner plate with the connecting device which concerns on embodiment of this invention. ライナープレートを本発明の実施の形態に係る連結装置により連結する工程を説明するための図である。It is a figure for demonstrating the process of connecting a liner plate with the connecting device which concerns on embodiment of this invention. ライナープレートを本発明の実施の形態に係る連結装置により連結する工程を説明するための図である。It is a figure for demonstrating the process of connecting a liner plate with the connecting device which concerns on embodiment of this invention. 変形例に係るロック部材の構成を説明するための図である。It is a figure for demonstrating the structure of the lock member which concerns on a modification. 別の変形例に係るロック部材の構成を説明するための図である。It is a figure for demonstrating the structure of the lock member which concerns on another modification.

本発明の好ましい実施の形態について、図面を参照しながら説明する。なお、以下に示す実施の形態は一つの例示であり、本発明の範囲において種々の形態をとりうる。 A preferred embodiment of the present invention will be described with reference to the drawings. It should be noted that the embodiment described below is merely an example, and various embodiments can be adopted within the scope of the present invention.

図1は、周方向及び高さ方向に互いに連結されたライナープレート100の斜視図である。ライナープレート100は、例えば、立坑の内壁面に沿って設けられる鋼板等により製造されている。ライナープレート100は、立坑の内壁面が崩落することを防ぐための土留を構築するための部材である。
本発明の実施の形態に係る連結装置1が適用されるライナープレート100は、立坑の内壁面に面するプレート面部110と、プレート面部110の縁部に立設されたフランジ部120と、を有する。
FIG. 1 is a perspective view of liner plates 100 connected to each other in a circumferential direction and a height direction. The liner plate 100 is made of, for example, a steel plate provided along the inner wall surface of the shaft. The liner plate 100 is a member for constructing an earth retention to prevent the inner wall surface of the vertical shaft from collapsing.
The liner plate 100 to which the coupling device 1 according to the embodiment of the present invention is applied has a plate surface portion 110 that faces the inner wall surface of the shaft, and a flange portion 120 that is provided upright at the edge of the plate surface portion 110. ..

プレート面部110は、その主面が立坑の内壁に面して配置されている。プレート面部110は、平面視矩形状に形成されており、例えば、鋼板をその短手方向に沿って波形状に湾曲させると共に、その長手方向に沿って円弧状に湾曲させて形成されている。また、プレート面部110は、波形状又は円弧形状に湾曲させて形成したものに限られず、平板状に形成されていてもよい。 The plate surface 110 is arranged such that its main surface faces the inner wall of the shaft. The plate surface portion 110 is formed in a rectangular shape in a plan view, and is formed by, for example, curving a steel plate in a wavy shape along its lateral direction and curving it in an arc shape along its longitudinal direction. Further, the plate surface portion 110 is not limited to being formed by curving in a wave shape or an arc shape, and may be formed in a flat plate shape.

フランジ部120は、プレート面部110の縁部に設けられており、長手フランジ部121と、短手フランジ部122と、を有する。長手フランジ部121は、プレート面部110の長手側の2つの縁部に設けられており、プレート面部110に一体に形成されている。長手フランジ部121は、プレート面部110を成形する際に、長手側の縁部をその主面に直交するように折り曲げることで形成されている。長手フランジ部121は、立坑の内側に向かって突出している。なお、長手フランジ部121は、プレート面部110に一体に形成される場合に限られず、プレート面部110に溶接によって接合されていてもよい。 The flange portion 120 is provided on the edge portion of the plate surface portion 110, and has a long flange portion 121 and a short flange portion 122. The long-sided flange portion 121 is provided at the two edges on the long side of the plate surface portion 110, and is formed integrally with the plate surface portion 110. The long-sided flange 121 is formed by bending the edge portion on the long side so as to be orthogonal to the main surface when the plate surface portion 110 is formed. The long-sided flange portion 121 projects toward the inside of the vertical shaft. The longitudinal flange portion 121 is not limited to being integrally formed with the plate surface portion 110, and may be joined to the plate surface portion 110 by welding.

各長手フランジ部121には、複数の挿通孔130が形成されている。挿通孔130には、高さ方向に隣接するライナープレート100同士を互いに連結する、後述する連結装置1が挿通される。挿通孔130は、長手フランジ部121の延在方向に沿って所定の間隔をあけて形成されている。 A plurality of insertion holes 130 are formed in each longitudinal flange 121. A connecting device 1 to be described later that connects the liner plates 100 adjacent to each other in the height direction to each other is inserted into the insertion hole 130. The insertion holes 130 are formed at predetermined intervals along the extending direction of the longitudinal flange portion 121.

短手フランジ部122は、例えば、プレート面部110に溶接によって接合できる鋼板から形成されている。短手フランジ部122は、プレート面部110の短手側の2つの縁部に溶接によって接合され、プレート面部110の主面に対して立設されている。各短手フランジ部122には、複数の挿通孔140が形成されている。挿通孔140には、周方向に隣接するライナープレート100同士を互いに連結する、公知の連結部材が挿通されても、後述する連結装置1が挿通されてもよい。挿通孔140は、短手フランジ部122の延在方向に沿って所定の間隔をあけて形成されている。 The short flange portion 122 is formed of, for example, a steel plate that can be joined to the plate surface portion 110 by welding. The short-side flange portion 122 is joined to the two short-side edges of the plate surface portion 110 by welding, and is erected on the main surface of the plate surface portion 110. A plurality of insertion holes 140 are formed in each short flange portion 122. A well-known connecting member that connects the liner plates 100 that are adjacent to each other in the circumferential direction to each other may be inserted into the insertion hole 140, or the connecting device 1 described below may be inserted. The insertion holes 140 are formed at predetermined intervals along the extending direction of the short flange portion 122.

このように、1つのライナープレート100は、1つのプレート面部110と、2つの長手フランジ部121と、2つの短手フランジ部122と、を有する。高さ方向及び周方向に隣接するライナープレート100同士は、それぞれの長手フランジ部121及び短手フランジ部122同士の主面方向が互いに平行となるように配置されている。
隣接するライナープレート100は、互いの短手フランジ部122が立坑の延在方向に連続するのではなく、ライナープレート100の長手方向の長さの半分程度、立坑の周方向にずらして千鳥状に配置されている。
Thus, one liner plate 100 has one plate surface part 110, two long side flange parts 121, and two short side flange parts 122. The liner plates 100 adjacent to each other in the height direction and the circumferential direction are arranged such that the long side flange portions 121 and the short side flange portions 122 have main surface directions parallel to each other.
Adjacent liner plates 100 do not have their short flanges 122 continuous to each other in the extending direction of the shaft, but are staggered by being shifted in the circumferential direction of the shaft by about half the length of the liner plate 100 in the longitudinal direction. It is arranged.

上述の構成を有する隣接するライナープレート100同士は、本発明の実施の形態に係る連結装置1により互いに連結されている。隣接するライナープレート100同士は、互いに長手フランジ部121同士を重ねてそれぞれの挿通孔130を整合させ、連結装置1を挿通させることで連結されている。図2(a)は連結装置1の挿通部材10を先端(挿通)側から見た斜視図であり、図2(b)は連結装置1の挿通部材10の側面図である。図3(a)は連結装置1のロック部材20の斜視図であり、図3(b)は連結装置1のロック部材20の側面図である。 Adjacent liner plates 100 having the above structure are connected to each other by the connecting device 1 according to the embodiment of the present invention. Adjacent liner plates 100 are connected to each other by overlapping the longitudinal flange portions 121 with each other to align the insertion holes 130 and inserting the connection device 1. 2A is a perspective view of the insertion member 10 of the coupling device 1 as seen from the tip (insertion) side, and FIG. 2B is a side view of the insertion member 10 of the coupling device 1. 3A is a perspective view of the lock member 20 of the coupling device 1, and FIG. 3B is a side view of the lock member 20 of the coupling device 1.

連結装置1は、鋼材から形成されている。連結装置1は、高さ方向(上下)に重ねられたライナープレート100(連結対象物)を互いに連結する。連結装置1は、挿通部材10と、ロック部材20と、を備える。
挿通部材10は、軸部11と、係合鍔部(係合部)13と、接触鍔部(接触部)15と、を有する。挿通部材10は、高さ方向に重ねられたライナープレート100の長手フランジ部121にそれぞれ形成され整合した状態にある挿通孔130に一端が挿通されて、他端が高さ方向において下側(一方の側)にあるライナープレート100の長手フランジ部121に接触する。
The coupling device 1 is made of steel. The connection device 1 connects the liner plates 100 (connection objects) that are stacked in the height direction (up and down) to each other. The connection device 1 includes an insertion member 10 and a lock member 20.
The insertion member 10 includes a shaft portion 11, an engagement flange portion (engagement portion) 13, and a contact flange portion (contact portion) 15. The insertion member 10 has one end inserted into the insertion holes 130 formed in the longitudinal flange portions 121 of the liner plates 100 stacked in the height direction and aligned with each other, and the other end is lower in the height direction (one side). Contact the long side flange portion 121 of the liner plate 100 on the side of the.

軸部11は、円柱状に形成されており、軸線x方向の一端の側に係合鍔部13が設けられており、他端の側に接触鍔部15が設けられている。係合鍔部13及び接触鍔部15は、軸部11に対して同心的に形成されている。軸線xに沿った軸部11の長さは、ライナープレート100の長手フランジ部121を重ねた状態の厚さ及びロック部材20の板厚とを合わせた厚さと略同じになっている。つまり、係合鍔部13と接触鍔部15とが互いに面する面間において、重ねた状態の長手フランジ部121及びロック部材20は、互いにほぼ隙間なく収容されるようになっている。 The shaft portion 11 is formed in a cylindrical shape, the engaging flange portion 13 is provided on one end side in the axis x direction, and the contact flange portion 15 is provided on the other end side. The engaging collar portion 13 and the contact collar portion 15 are formed concentrically with the shaft portion 11. The length of the shaft portion 11 along the axis line x is substantially the same as the combined thickness of the liner plate 100 with the longitudinal flange portions 121 and the plate thickness of the lock member 20. In other words, the longitudinal flange portion 121 and the lock member 20 in the overlapped state are housed with each other with almost no gap between the surfaces of the engagement flange portion 13 and the contact flange portion 15 facing each other.

係合鍔部13は、軸部11の外周から径方向外側に延びた円形部分であり、挿通孔130の直径よりも小さな直径を有している。係合鍔部13は、長手フランジ部121の挿通孔130への挿通方向I(図4b参照。)において軸部11の先端(一端)に形成され、高さ方向に重ねられたライナープレート100の挿通孔130を挿通自在でかつロック部材20と係合する。 The engagement flange portion 13 is a circular portion that extends radially outward from the outer circumference of the shaft portion 11, and has a diameter smaller than the diameter of the insertion hole 130. The engaging flange portion 13 is formed at the tip (one end) of the shaft portion 11 in the insertion direction I (see FIG. 4b) of the longitudinal flange portion 121 into the insertion hole 130, and the liner plates 100 are stacked in the height direction. It is insertable through the insertion hole 130 and engages with the lock member 20.

接触鍔部15は、軸部11の外周から径方向外側に環状に延びた円形部分であり、挿通孔130の直径よりも大きな直径を有している。接触鍔部15は、挿通方向Iにおける軸部11の後端(他端)に形成され、下側のライナープレート100の挿通孔130の周縁部に接触する。 The contact collar portion 15 is a circular portion that extends annularly outward in the radial direction from the outer periphery of the shaft portion 11, and has a diameter larger than the diameter of the insertion hole 130. The contact flange portion 15 is formed at the rear end (the other end) of the shaft portion 11 in the insertion direction I and contacts the peripheral edge portion of the insertion hole 130 of the lower liner plate 100.

軸部11の直径R1と、係合鍔部13の直径R2と、接触鍔部15の直径R3とは、互いにR1<R2<R3の関係になっている。 The diameter R1 of the shaft portion 11, the diameter R2 of the engaging collar portion 13, and the diameter R3 of the contact collar portion 15 have a relationship of R1<R2<R3.

ロック部材20は、高さ方向に重ねられたライナープレート100のうち上側にあるライナープレート100の側で挿通部材10の係合鍔部13と係合し、重ねられたライナープレート100を、挿通部材10の接触鍔部15と挟んで連結する。本実施の形態においてロック部材20は、平面視角丸長方形又は楕円形に形成されているが矩形であってもよい。 The locking member 20 engages with the engaging flange portion 13 of the insertion member 10 on the side of the liner plate 100 that is the upper side of the liner plates 100 that are stacked in the height direction, and the stacked liner plate 100 is inserted into the insertion member. It is connected with the contact flange portion 15 of 10 by sandwiching it. In the present embodiment, the lock member 20 is formed in a rounded rectangular shape or an elliptical shape in a plan view, but may be a rectangular shape.

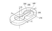
ロック部材20は、挿通孔21と、スライド孔23とを有する。挿通孔21及びスライド孔23は、ロック部材20をその厚さ方向に貫通している。挿通孔21は、ロック部材20の中心からずれた位置に平面視円形において形成されている。挿通孔21は、挿通部材10の係合鍔部13が挿通自在な大きさに形成されている。 The lock member 20 has an insertion hole 21 and a slide hole 23. The insertion hole 21 and the slide hole 23 penetrate the lock member 20 in the thickness direction. The insertion hole 21 is formed in a circular shape in plan view at a position displaced from the center of the lock member 20. The insertion hole 21 is formed in such a size that the engaging flange portion 13 of the insertion member 10 can be inserted therein.

スライド孔23は、挿通孔21から挿通部材10の挿通方向Iと交差する交差方向に延びており、具体的には、挿通孔21の周縁部からロック部材20の長軸方向(交差方向)Lに沿って延びている。スライド孔23は、挿通部材10の挿通方向Iに対して交差する方向のうち長軸方向Lでの、軸部11に対するロック部材20の相対移動を許容しつつ、係合鍔部13の挿通を許容しない。つまり、挿通孔21の直径は、挿通部材10の軸部11の直径R1及び係合鍔部13の直径R2よりも大きく、挿通部材10の接触鍔部15の直径R3よりも小さく形成されている。
これにより、ロック部材20は、挿通部材10を係止して挿通部材10の抜け落ちを防いでいる。スライド孔23は、軸部11に対するロック部材20の長軸方向Lに沿ったスライド移動を許容し、かつ挿通部材10の挿通方向Iとは反対側への移動を許容しないように形成されている。つまり、ロック部材20の短軸方向Sにおけるスライド孔23の寸法は、軸部11の直径R1より大きく、係合鍔部13の直径R2より小さい。
The slide hole 23 extends from the insertion hole 21 in an intersecting direction that intersects the insertion direction I of the insertion member 10, and specifically, from the peripheral portion of the insertion hole 21 to the major axis direction (intersection direction) L of the lock member 20. Extends along. The slide hole 23 allows insertion of the engagement flange portion 13 while allowing relative movement of the lock member 20 with respect to the shaft portion 11 in the major axis direction L of the direction intersecting the insertion direction I of the insertion member 10. Do not allow. That is, the diameter of the insertion hole 21 is formed to be larger than the diameter R1 of the shaft portion 11 of the insertion member 10 and the diameter R2 of the engagement flange portion 13 and smaller than the diameter R3 of the contact flange portion 15 of the insertion member 10. ..
Thereby, the lock member 20 locks the insertion member 10 and prevents the insertion member 10 from falling off. The slide hole 23 is formed so as to allow sliding movement of the lock member 20 with respect to the shaft portion 11 along the long-axis direction L, and not allow movement of the insertion member 10 in a direction opposite to the insertion direction I. .. That is, the dimension of the slide hole 23 in the minor axis direction S of the lock member 20 is larger than the diameter R1 of the shaft portion 11 and smaller than the diameter R2 of the engaging collar portion 13.

ロック部材20は、側面視において厚さが連続的に変化している。具体的には、ロック部材20の挿通孔21側の厚さD1は、スライド孔23側の厚さD2に対して小さく形成されている。ロック部材20の厚さは、挿通孔21の側からスライド孔23の側に向かって連続的に大きくなっている。 The thickness of the lock member 20 continuously changes in a side view. Specifically, the thickness D1 of the lock member 20 on the insertion hole 21 side is smaller than the thickness D2 of the slide hole 23 side. The thickness of the lock member 20 continuously increases from the insertion hole 21 side toward the slide hole 23 side.

次に、高さ方向に隣り合うライナープレート100同士を連結する方法について説明する。図4(a)は高さ方向に互いに重なるライナープレート100の各挿通孔130に挿通部材10を挿通させた状態を示す斜視図であり、図4(b)は図4(a)を長手フランジ部121の長手方向に沿った断面図である。図5(a)は挿通孔130に挿通された挿通部材10にロック部材20を接近させた状態を示す斜視図であり、図5(b)は図5(a)を長手フランジ部121の長手方向に沿った断面図である。図6(a)は挿通部材10がロック部材20の挿通孔21に挿通された状態を示す斜視図であり、図6(b)は図6(a)を長手フランジ部121の長手方向に沿った断面図である。図7(a)は挿通部材10に対してロック部材20を相対的に移動させた状態を示す斜視図であり、図7(b)は図7(a)を長手フランジ部121の長手方向に沿った断面図である。 Next, a method of connecting the liner plates 100 adjacent to each other in the height direction will be described. FIG. 4A is a perspective view showing a state in which the insertion member 10 is inserted through the insertion holes 130 of the liner plate 100 that overlap each other in the height direction, and FIG. 4B is a longitudinal flange of FIG. 4A. It is sectional drawing along the longitudinal direction of the part 121. 5A is a perspective view showing a state in which the lock member 20 is brought close to the insertion member 10 inserted through the insertion hole 130, and FIG. 5B is a longitudinal view of the longitudinal flange portion 121 shown in FIG. 5A. It is sectional drawing which followed the direction. FIG. 6A is a perspective view showing a state in which the insertion member 10 is inserted into the insertion hole 21 of the lock member 20, and FIG. 6B shows FIG. 6A along the longitudinal direction of the longitudinal flange portion 121. FIG. 7A is a perspective view showing a state in which the lock member 20 is relatively moved with respect to the insertion member 10, and FIG. 7B is a view showing FIG. 7A in the longitudinal direction of the longitudinal flange portion 121. FIG.

例えば、立坑の内壁面に土留を構築する場合、立坑を掘り下げるに連れてライナープレート100を高さ方向に連結していく。新たに連結するライナープレート100を下側から既設のライナープレート100に連結する。まず、新たに連結するライナープレート100をジャッキ等により吊り上げて既設のライナープレート100の下側から接近させ、双方の挿通孔130同士が整合する状態にする。この状態において、作業者は、挿通部材10を下側のライナープレート100の上側の長手フランジ部121の挿通孔130、次いで、上側のライナープレート100の長手フランジ部121の挿通孔130に挿通させる。作業者は、挿通部材10の接触鍔部15を下側のライナープレート100の長手フランジ部121に対して上方に押し付けた状態で、ロック部材20を準備する。 For example, in the case of constructing earth retaining on the inner wall surface of the vertical shaft, the liner plate 100 is connected in the height direction as the vertical shaft is dug down. The liner plate 100 to be newly connected is connected to the existing liner plate 100 from below. First, the liner plate 100 to be newly connected is lifted by a jack or the like to be brought close to the lower side of the existing liner plate 100, and both insertion holes 130 are aligned with each other. In this state, the operator inserts the insertion member 10 into the insertion hole 130 of the upper longitudinal flange portion 121 of the lower liner plate 100 and then the insertion hole 130 of the longitudinal flange portion 121 of the upper liner plate 100. The operator prepares the lock member 20 in a state in which the contact flange portion 15 of the insertion member 10 is pressed upward against the longitudinal flange portion 121 of the lower liner plate 100.

次いで作業者は、下側のライナープレート100から挿通されて上側のライナープレート100の長手フランジ部121の挿通孔130から進出した挿通部材10の係合鍔部13をロック部材20の挿通孔21に通す。この状態において、ロック部材20は、上側のライナープレート100の長手フランジ部121に載置された状態になる。長手フランジ部121に載置された状態にあるロック部材20は、そのスライド孔23が長手フランジ部121の長手方向にほぼ沿った状態になっている。 Next, the operator inserts the engaging flange portion 13 of the insertion member 10 that has been inserted from the lower liner plate 100 and advanced from the insertion hole 130 of the longitudinal flange portion 121 of the upper liner plate 100 into the insertion hole 21 of the lock member 20. Pass through. In this state, the lock member 20 is placed on the longitudinal flange portion 121 of the upper liner plate 100. The lock member 20 placed on the longitudinal flange portion 121 has the slide hole 23 substantially along the longitudinal direction of the longitudinal flange portion 121.

次いで作業者は、挿通孔21とは反対のスライド孔23の側から所定の工具でロック部材20を水平方向に打つ。これにより、ロック部材20が挿通部材10に対してスライド移動して、挿通部材10の軸部11がスライド孔23に進入する。ロック部材20のスライド移動により、挿通部材10の係合鍔部13は、スライド孔23の周縁部においてロック部材20の表面に接触するようになる。この作業を、ライナープレート100の各挿通孔130において実施する。これにより、高さ方向において上下のライナープレート100は、長手フランジ部121において下側からは接触鍔部15により、上側からは係合鍔部13と長手フランジ部121との間に挟まれたロック部材20により固く挟持された状態となり、互いに連結される。 Next, the operator hits the lock member 20 horizontally with a predetermined tool from the side of the slide hole 23 opposite to the insertion hole 21. As a result, the lock member 20 slides with respect to the insertion member 10, and the shaft portion 11 of the insertion member 10 enters the slide hole 23. By the sliding movement of the lock member 20, the engagement flange portion 13 of the insertion member 10 comes into contact with the surface of the lock member 20 at the peripheral edge portion of the slide hole 23. This operation is performed in each insertion hole 130 of the liner plate 100. As a result, the upper and lower liner plates 100 in the height direction are locked by the contact flange portion 15 from the lower side of the longitudinal flange portion 121 and between the engaging flange portion 13 and the longitudinal flange portion 121 from the upper side. The members 20 are firmly clamped by the members 20 and are connected to each other.

以上のような連結装置1により、従来のボルト及びナットを使用したライナープレート100の連結技術に比べて、ライナープレート100同士を極めて簡単にかつ迅速に連結することができるようになる。つまり、(1)ライナープレート100の挿通孔130に挿通部材10を挿通し、(2)ロック部材20の挿通孔21に挿通部材10を挿通し、(3)所定の工具によりロック部材20を打ってスライド移動させる、だけで簡単にライナープレート100同士を連結することができる。 With the connecting device 1 as described above, it becomes possible to connect the liner plates 100 to each other very easily and quickly as compared with the conventional connecting technique of the liner plates 100 using the bolts and nuts. That is, (1) the insertion member 10 is inserted into the insertion hole 130 of the liner plate 100, (2) the insertion member 10 is inserted into the insertion hole 21 of the lock member 20, and (3) the lock member 20 is struck by a predetermined tool. The liner plates 100 can be easily connected to each other simply by sliding them.

また、ロック部材20は、その長軸方向Lに沿って厚さが変化しているので、楔のように挿通部材10の係合鍔部13と、ライナープレート100の長手フランジ部121との間をスライド移動する。これにより、ロック部材20が係合鍔部13とライナープレート100の長手フランジ部121との間に進入するに伴い、挿通部材10の係合鍔部13は長手フランジ部121から離れる方向(上方)に移動し、接触鍔部15は長手フランジ部121に押し付けられる方向(上方)に移動する。これにより、ライナープレート100は長手フランジ部121において接触鍔部15とロック部材20とにより強固に挟まれた状態になる。かくして、ライナープレート100同士の強固な連結を達成することができる。 Moreover, since the thickness of the lock member 20 changes along the major axis direction L thereof, the lock member 20 is provided between the engagement flange portion 13 of the insertion member 10 and the longitudinal flange portion 121 of the liner plate 100 like a wedge. To slide. Thereby, as the lock member 20 enters between the engagement flange portion 13 and the longitudinal flange portion 121 of the liner plate 100, the engagement flange portion 13 of the insertion member 10 moves away from the longitudinal flange portion 121 (upward). Then, the contact flange 15 moves in the direction (upward) pressed against the longitudinal flange 121. As a result, the liner plate 100 is firmly sandwiched between the contact flange portion 15 and the lock member 20 at the longitudinal flange portion 121. Thus, a strong connection between the liner plates 100 can be achieved.

<その他>
以上、本発明の好適な実施の形態について説明したが、本発明は上記の実施の形態に限定されるものではなく、本発明の概念及び特許請求の範囲に含まれるあらゆる態様を含む。また、上述した課題及び効果の少なくとも一部を奏するように、各構成を適宜選択的に組み合わせてもよい。また、例えば、上記実施の形態における各構成要素の形状、材料、配置、サイズ等は、本発明の具体的使用態様によって適宜変更され得る。例えば、挿通部材10の軸部11がロック部材20のスライド孔23にある場合、軸部11に対するロック部材20の相対的な移動を防止するストッパ構造が設けられていてもよい。
<Other>
Although the preferred embodiment of the present invention has been described above, the present invention is not limited to the above embodiment, and includes all aspects included in the concept of the present invention and the scope of the claims. Further, the respective configurations may be appropriately and selectively combined so as to achieve at least a part of the above-mentioned problems and effects. Further, for example, the shape, material, arrangement, size, etc. of each constituent element in the above-described embodiment can be appropriately changed depending on the specific usage mode of the present invention. For example, when the shaft portion 11 of the insertion member 10 is in the slide hole 23 of the lock member 20, a stopper structure that prevents relative movement of the lock member 20 with respect to the shaft portion 11 may be provided.

図8は、変形例1に係るロック部材20Aの構成を説明するための図である。なお、以下ではロック部材20と異なる部分についてのみ説明し、ロック部材20と同じ構成についての説明は省略する。例えば、ストッパ構造は、スライド孔23に設けられた一対の突起部24Aである。一対の突起部24Aは、長軸方向Lに沿って延びるスライド孔23の一対の対向壁面25Aに設けられている。一対の突起部24Aは、対向壁面25Aから互いに接近するように突出している。一対の突起部24Aは、各対向壁面25Aに設けられており、ロック部材20Aの厚さ方向に亘って延びている。 FIG. 8 is a diagram for explaining the configuration of the lock member 20A according to the first modification. Note that only the parts different from the lock member 20 will be described below, and the description of the same configuration as the lock member 20 will be omitted. For example, the stopper structure is a pair of protrusions 24A provided in the slide hole 23. The pair of protrusions 24A are provided on the pair of opposing wall surfaces 25A of the slide hole 23 extending along the major axis direction L. The pair of protrusions 24A project from the facing wall surface 25A so as to approach each other. The pair of protrusions 24A are provided on each of the opposing wall surfaces 25A and extend in the thickness direction of the lock member 20A.

変形例1において挿通方向Iに交差する突起部24Aの断面形状は半円状となっている。しかし、突起部24Aの断面形状は特に限定されず他の形状であってもよい。また、変形例1において一対の突起部24Aは、挿通孔21に隣接したスライド孔23の位置に設けられている。しかし、一対の突起部24Aとスライド孔23の終壁面26Aとの間に、軸部11が収容される間隔が設けられていれば、突起部24Aが設けられる位置は特に限定されない。 In the modified example 1, the cross-sectional shape of the protrusion 24A intersecting the insertion direction I is semicircular. However, the cross-sectional shape of the protrusion 24A is not particularly limited and may be another shape. Further, in the modified example 1, the pair of protrusions 24</b>A are provided at the position of the slide hole 23 adjacent to the insertion hole 21. However, the position at which the protrusion 24A is provided is not particularly limited as long as there is a space between the pair of protrusions 24A and the end wall surface 26A of the slide hole 23 for accommodating the shaft portion 11.

一対の突起部24Aは互いに所定の間隔D3をあけて設けられている。間隔D3は、挿通部材10の軸部11の直径R2よりも僅かに狭くなっている。所定の工具によりロック部材20を打ってスライド移動させると、突起部24Aが軸部11の外周面に乗り上げるようにして移動し、突起部24Aが軸部11を乗り越える。突起部24Aと終壁面26Aとの間で挿通部材10が挿通孔21の側に戻ることを、突起部24Aにより効果的に防ぐことができる。
なお、変形例1においては一対の突起部24Aが設けられていたが、挿通部材10が挿通孔21の側に戻ることを防ぐことができれば、突起部24Aは、一方の対向壁面25Aにのみ設けられていてもよい。
The pair of protrusions 24A are provided at a predetermined distance D3 from each other. The distance D3 is slightly smaller than the diameter R2 of the shaft portion 11 of the insertion member 10. When the lock member 20 is struck and slid by a predetermined tool, the protrusion 24A moves so as to ride on the outer peripheral surface of the shaft 11, and the protrusion 24A rides over the shaft 11. The protrusion 24A can effectively prevent the insertion member 10 from returning to the insertion hole 21 side between the protrusion 24A and the end wall surface 26A.
Although the pair of protrusions 24A is provided in the first modification, the protrusion 24A is provided only on one of the opposing wall surfaces 25A as long as the insertion member 10 can be prevented from returning to the insertion hole 21 side. It may be.

図9は、変形例2に係るロック部材20Bの構成を説明するための図である。なお、以下では、ロック部材20と異なる部分についてのみ説明し、ロック部材20と同じ構成についての説明は省略する。例えば、ストッパ構造は、ロック部材20に形成された凹部24Bである。凹部24Bは、長軸方向Lにおけるスライド孔23の終端位置において、ロック部材20の一方の表面から凹に形成されている。 FIG. 9 is a diagram for explaining the configuration of the lock member 20B according to Modification 2. In addition, below, only the part different from the lock member 20 will be described, and the description of the same configuration as the lock member 20 will be omitted. For example, the stopper structure is a recess 24B formed in the lock member 20. The recess 24B is formed in a recess from one surface of the lock member 20 at the end position of the slide hole 23 in the major axis direction L.

凹部24Bは、係合鍔部13の形状に対応した円形状を有する。ロック部材20Bがスライド移動して、挿通部材10の軸部11がスライド孔23の終壁面25Bの側で所定の位置に達すると、係合鍔部13が凹部24Bに落ち込む。係合鍔部13が凹部24Bに落ち込んだ状態において、係合鍔部13の外周面は、凹部24Bの内周面26Bと少なくとも部分的に接触しており、接触鍔部15に面する係合鍔部13の面は、凹部24Bの底面27Bに接触している。 The concave portion 24B has a circular shape corresponding to the shape of the engaging flange portion 13. When the lock member 20B slides and the shaft portion 11 of the insertion member 10 reaches a predetermined position on the end wall surface 25B side of the slide hole 23, the engaging collar portion 13 falls into the recess 24B. In a state in which the engaging brim portion 13 has fallen into the recess 24B, the outer peripheral surface of the engaging brim portion 13 is at least partially in contact with the inner peripheral surface 26B of the concave portion 24B, and the engagement facing the contact brim portion 15 is engaged. The surface of the flange 13 is in contact with the bottom surface 27B of the recess 24B.

凹部24Bは、係合鍔部13が凹部24Bに落ち込んだ状態において、少なくとも凹部24Bのスライド孔23側の内周面と係合鍔部13の外周面とが部分的に対面している状態になるように形成されている。また、ロック部材20の一方の表面から凹部24Bの底面27Bまでの深さは、係合鍔部13が凹部24Bに落ち込んだ状態において、係合鍔部13、接触鍔部15及びロック部材20の間で、互いに連結されるライナープレート100の長手フランジ部121同士が接触した状態を維持する、即ち、下側のライナープレート100の長手フランジ部121と上側のライナープレート100の長手フランジ部121との間に隙間が生じない状態、つまり、係合鍔部13と接触鍔部15とによって、上下に重なる長手フランジ部121とロック部材20とを強固に挟み込んでいる状態を維持するように設定されている。これにより、挿通部材10は、凹部24Bにおいて係止されるので、ロック部材20の再度のスライド移動は許容されない。 The recessed portion 24B is in a state in which at least the inner peripheral surface of the recessed portion 24B on the slide hole 23 side and the outer peripheral surface of the engagement flanged portion 13 partially face each other in a state in which the engaging collar portion 13 has fallen into the recessed portion 24B. Is formed. Further, the depth from one surface of the lock member 20 to the bottom surface 27B of the recess 24B is such that the engagement flange portion 13, the contact flange portion 15, and the lock member 20 are in a state in which the engagement flange portion 13 has fallen into the recess portion 24B. Between the longitudinal flange portions 121 of the liner plate 100 that are connected to each other, that is, between the longitudinal flange portion 121 of the lower liner plate 100 and the longitudinal flange portion 121 of the upper liner plate 100. It is set to maintain a state in which there is no gap between them, that is, a state in which the engagement flange portion 13 and the contact flange portion 15 firmly sandwich the vertically overlapping longitudinal flange portion 121 and the lock member 20. There is. As a result, the insertion member 10 is locked in the recess 24B, so that the sliding movement of the lock member 20 again is not permitted.

また、上記の実施の形態において、係合鍔部13及び接触鍔部15の平面形状は円形であったが、楕円形や多角形等であってもよい。 Further, in the above embodiment, the planar shapes of the engaging flange portion 13 and the contact flange portion 15 are circular, but they may be elliptical or polygonal.

また、上記の実施の形態において、ロック部材20は、その長軸方向Lに沿って厚さが変化していたが、一定の厚さをもって形成されていてもよい。 Further, in the above-described embodiment, the lock member 20 has a thickness that varies along the long-axis direction L thereof, but may have a constant thickness.

1 連結装置
10 挿通部材
11 軸部
13 係合鍔部(係合部)
15 接触鍔部(接触部)
20 ロック部材
21 挿通孔
23 スライド孔
100 ライナープレート(連結対象物)
121 長手フランジ部
130 挿通孔
I 挿通方向
L 長軸方向(交差方向)
1 Connection Device 10 Insertion Member 11 Shaft 13 Engagement Collar (Engagement)
15 Contact collar (contact part)
20 lock member 21 insertion hole 23 slide hole 100 liner plate (object to be connected)
121 Longitudinal flange portion 130 Insertion hole I Insertion direction L Long axis direction (intersection direction)

Claims (3)

重ねられた連結対象物のそれぞれに形成された孔に挿通される挿通部材と、
前記連結対象物に挿通された前記挿通部材を固定するロック部材と、
を備える連結装置であって、
前記挿通部材は、軸部と、前記軸部に形成され前記孔を挿通自在でかつ前記ロック部材と係合する係合部と、前記軸部に形成され前記連結対象物の前記孔の周縁部に接触する接触部と、を有し、
前記ロック部材は、
前記係合部及び前記軸部が挿通自在な挿通孔と、前記挿通孔に連通し、前記挿通部材の挿通方向と交差する方向に延びて前記軸部よりも大きくかつ前記係合部よりも小さな幅のスライド孔と、を有する
ことを特徴とする連結装置。
An insertion member that is inserted into a hole formed in each of the overlapping connection objects,
A lock member for fixing the insertion member inserted into the connection target;
A coupling device comprising:
The insertion member includes a shaft portion, an engagement portion formed in the shaft portion that is insertable through the hole and engages with the lock member, and a peripheral portion of the hole of the connection target formed in the shaft portion. A contact portion that comes into contact with
The lock member is
An insertion hole through which the engagement portion and the shaft portion are freely inserted, and a communication hole that communicates with the insertion hole, extends in a direction intersecting the insertion direction of the insertion member, and is larger than the shaft portion and smaller than the engagement portion. And a slide hole having a width.
前記ロック部材の厚さは、前記挿通孔の側から前記スライド孔の側に向かって連続的に大きくなるように変化していることを特徴とする請求項1に記載の連結装置。 The connecting device according to claim 1, wherein the thickness of the lock member is changed so as to continuously increase from the insertion hole side toward the slide hole side. 前記軸部が前記スライド孔にある状態において、前記ロック部材の前記軸部に対する相対的な移動を防止するストッパ構造を有することを特徴とする請求項1又は2に記載の連結装置。 The coupling device according to claim 1, further comprising a stopper structure that prevents relative movement of the lock member with respect to the shaft portion when the shaft portion is in the slide hole.
JP2019007993A 2019-01-21 2019-01-21 Coupling device Active JP7246940B2 (en)

Priority Applications (1)

Application Number Priority Date Filing Date Title
JP2019007993A JP7246940B2 (en) 2019-01-21 2019-01-21 Coupling device

Applications Claiming Priority (1)

Application Number Priority Date Filing Date Title
JP2019007993A JP7246940B2 (en) 2019-01-21 2019-01-21 Coupling device

Publications (2)

Publication Number Publication Date
JP2020118187A true JP2020118187A (en) 2020-08-06
JP7246940B2 JP7246940B2 (en) 2023-03-28

Family

ID=71890334

Family Applications (1)

Application Number Title Priority Date Filing Date
JP2019007993A Active JP7246940B2 (en) 2019-01-21 2019-01-21 Coupling device

Country Status (1)

Country Link
JP (1) JP7246940B2 (en)

Cited By (2)

* Cited by examiner, † Cited by third party
Publication number Priority date Publication date Assignee Title
CN112253582A (en) * 2020-11-09 2021-01-22 福建杜氏木业有限公司 Invisible connecting piece
JP2023071572A (en) * 2021-12-27 2023-05-23 株式会社SysaPlanning bolt retainer

Citations (5)

* Cited by examiner, † Cited by third party
Publication number Priority date Publication date Assignee Title
JPS4840567Y1 (en) * 1968-04-08 1973-11-28
JPS50112654A (en) * 1974-01-21 1975-09-04
JPH0979224A (en) * 1995-09-07 1997-03-25 Ukou Kensetsu Kk Fastener
JP2007524051A (en) * 2004-02-26 2007-08-23 ヴインクラー,ウイルヘルム Coupling unit
JP2011179682A (en) * 2009-10-13 2011-09-15 Yasuhisa Kurihara Fastening member and fastening method

Patent Citations (5)

* Cited by examiner, † Cited by third party
Publication number Priority date Publication date Assignee Title
JPS4840567Y1 (en) * 1968-04-08 1973-11-28
JPS50112654A (en) * 1974-01-21 1975-09-04
JPH0979224A (en) * 1995-09-07 1997-03-25 Ukou Kensetsu Kk Fastener
JP2007524051A (en) * 2004-02-26 2007-08-23 ヴインクラー,ウイルヘルム Coupling unit
JP2011179682A (en) * 2009-10-13 2011-09-15 Yasuhisa Kurihara Fastening member and fastening method

Cited By (3)

* Cited by examiner, † Cited by third party
Publication number Priority date Publication date Assignee Title
CN112253582A (en) * 2020-11-09 2021-01-22 福建杜氏木业有限公司 Invisible connecting piece
JP2023071572A (en) * 2021-12-27 2023-05-23 株式会社SysaPlanning bolt retainer
JP7751290B2 (en) 2021-12-27 2025-10-08 株式会社SysaPlanning Bolt Retaining Device

Also Published As

Publication number Publication date
JP7246940B2 (en) 2023-03-28

Similar Documents

Publication Publication Date Title
KR100854106B1 (en) File joiner
JP6381939B2 (en) Cut beam device and retaining support
KR101595702B1 (en) Soil retaining structure using plate pile with reinforcing bridge and construction method thereof
KR101382609B1 (en) Earths wall for groundprotection and Construction Method thereof
JP2020118187A (en) Coupling device
JP6740738B2 (en) Joining method and joining structure of steel members
KR101714371B1 (en) Joints Appartus of The Concrete Piles and Steel Pipe
KR102274384B1 (en) Connection apparatus of steel pipe
KR101172642B1 (en) Shoe assembly and Step-Tapered PHC pile with shoe assembly for minimize the slime effect
KR101419001B1 (en) Earths wall for groundprotection and Construction Method thereof
JP2021123927A (en) Structural material, annular body and structure
KR200390920Y1 (en) Slanting steel member and supporting assembly including the same
JP6070118B2 (en) Retaining wall structure, method for constructing retaining wall structure
KR102234544B1 (en) Leading-edge extension type micropile device for reinforcing structures
JP7227771B2 (en) Coupling device
KR20180070481A (en) Apparatus for connecting steel pipe
KR20150025698A (en) Joint Apparatus For Concrete Piles
KR102124772B1 (en) Self-supporting retaining wall and construction method using it
KR101628049B1 (en) Self-retained wall sructures and construction method thereof
JP7543164B2 (en) Earth retaining structures
KR101528302B1 (en) Self-retained wall sructures and construction method thereof
JP5551943B2 (en) Foundation structure using ground improvement body
JP7706342B2 (en) Earth retaining panel
JP2025099267A (en) Corrugated steel plate and wall structure
JP7520702B2 (en) Earth retaining structure construction tool and earth retaining structure construction method

Legal Events

Date Code Title Description
RD07 Notification of extinguishment of power of attorney

Free format text: JAPANESE INTERMEDIATE CODE: A7427

Effective date: 20210820

A621 Written request for application examination

Free format text: JAPANESE INTERMEDIATE CODE: A621

Effective date: 20211001

A521 Request for written amendment filed

Free format text: JAPANESE INTERMEDIATE CODE: A523

Effective date: 20211110

RD07 Notification of extinguishment of power of attorney

Free format text: JAPANESE INTERMEDIATE CODE: A7427

Effective date: 20220202

A977 Report on retrieval

Free format text: JAPANESE INTERMEDIATE CODE: A971007

Effective date: 20220722

A131 Notification of reasons for refusal

Free format text: JAPANESE INTERMEDIATE CODE: A131

Effective date: 20220803

A521 Request for written amendment filed

Free format text: JAPANESE INTERMEDIATE CODE: A523

Effective date: 20220922

A131 Notification of reasons for refusal

Free format text: JAPANESE INTERMEDIATE CODE: A131

Effective date: 20221116

A521 Request for written amendment filed

Free format text: JAPANESE INTERMEDIATE CODE: A523

Effective date: 20230110

TRDD Decision of grant or rejection written
A01 Written decision to grant a patent or to grant a registration (utility model)

Free format text: JAPANESE INTERMEDIATE CODE: A01

Effective date: 20230307

A61 First payment of annual fees (during grant procedure)

Free format text: JAPANESE INTERMEDIATE CODE: A61

Effective date: 20230315

R150 Certificate of patent or registration of utility model

Ref document number: 7246940

Country of ref document: JP

Free format text: JAPANESE INTERMEDIATE CODE: R150