JP2020083502A - コンベアベルトおよびそれを用いたベルトコンベア装置 - Google Patents

コンベアベルトおよびそれを用いたベルトコンベア装置 Download PDF

Info

Publication number
JP2020083502A
JP2020083502A JP2018216206A JP2018216206A JP2020083502A JP 2020083502 A JP2020083502 A JP 2020083502A JP 2018216206 A JP2018216206 A JP 2018216206A JP 2018216206 A JP2018216206 A JP 2018216206A JP 2020083502 A JP2020083502 A JP 2020083502A
Authority
JP
Japan
Prior art keywords
belt
main body
conveyor
conveyor belt
partition
Prior art date
Legal status (The legal status is an assumption and is not a legal conclusion. Google has not performed a legal analysis and makes no representation as to the accuracy of the status listed.)
Granted
Application number
JP2018216206A
Other languages
English (en)
Other versions
JP7165472B2 (ja
Inventor
茂樹 木下
Shigeki Kinoshita
茂樹 木下
俊彦 伊東
Toshihiko Ito
俊彦 伊東
俊次 二井
Shunji Futai
俊次 二井
Current Assignee (The listed assignees may be inaccurate. Google has not performed a legal analysis and makes no representation or warranty as to the accuracy of the list.)
Okumura Corp
Original Assignee
Okumura Corp
Priority date (The priority date is an assumption and is not a legal conclusion. Google has not performed a legal analysis and makes no representation as to the accuracy of the date listed.)
Filing date
Publication date
Application filed by Okumura Corp filed Critical Okumura Corp
Priority to JP2018216206A priority Critical patent/JP7165472B2/ja
Publication of JP2020083502A publication Critical patent/JP2020083502A/ja
Application granted granted Critical
Publication of JP7165472B2 publication Critical patent/JP7165472B2/ja
Active legal-status Critical Current
Anticipated expiration legal-status Critical

Links

Images

Landscapes

  • Excavating Of Shafts Or Tunnels (AREA)
  • Structure Of Belt Conveyors (AREA)
  • Belt Conveyors (AREA)

Abstract

【課題】被運搬物を高さ方向に効率良く運搬する。【解決手段】ベルトコンベア装置BMは、立坑内の土砂を地上に運ぶときに、ベルトコンベア装置BMを構成するコンベアベルトBの幅方向両端部を近づけるようにコンベアベルトBを折り曲げることで形成した管内に土砂を包み込むようにして運ぶ。コンベアベルトBを管状にするとその管内には、コンベアベルトBの長手方向に沿って所定の間隔毎に仕切部PPが形成される。仕切部PPは、コンベアベルトBの幅方向に沿って配置された複数のフィンFで構成されており、コンベアベルトBを管状にすると、複数のフィンFが管の中央に集まることで形成される。この場合、コンベアベルトBの管内の土砂を仕切部PPで支えながら高さ方向に運ぶことができるので、仕切部PPが無い場合に比べてスムーズに効率良く土砂を運ぶことができる。【選択図】図5

Description

本発明は、コンベアベルトおよびそれを用いたベルトコンベア装置に関し、例えば、大深度トンネル工事において地下で発生した掘削土砂を地上まで運搬するための運搬技術に関するものである。
近年、新たな地下工事を行う場合、既存の地下施設を避けるために大深度で工事を行うことが多くなっている。例えば、リニア新幹線は、全線で地下に設置することになっている上、なるべく線路を真直ぐにするために既設の地下施設の下方に設置することになっている。
地下工事で生じた掘削土砂を地上に運ぶための古典的な運搬技術としては、例えば、一定間隔毎に配置された複数個のバケットをチェーンで繋いだ連続バケット方式があるが、バケットおよびチェーンの重量が重く、運搬距離が長い場合には適さない。また、バケットを往路と復路との両方で移動させるので、立坑内における運搬装置の占有領域が大きくなる。
また、一般的なシールド工法では、立坑の底部で掘削土砂に水を混ぜ合わせて泥土を形成した後、その泥土をポンプで地上まで押し上げているが、立坑が深くなり泥土を運ぶ縦管の長さが長くなるほど泥土を押し上げるために、ポンプに必要とされる出力が極端に大きくなる。その結果、大型のポンプや複数のポンプが必要となり、立坑内における運搬装置の占有領域が大きくなる。また、地上に運ばれた泥土は水と土砂とを分離して、水は立坑内に送り返すことになるので、その水の分だけ余計な荷重分を運んだことになる。
そこで、上記の2つの運搬技術に比べて小型で簡単な構成のベルトコンベア装置を用いて立坑内の掘削土砂を地上まで運ぶ場合がある。このベルトコンベア装置を用いた運搬技術については、例えば、特許文献1〜3に記載があり、いずれの場合も管状に丸めたコンベアベルトで被運搬物を包み込んだ状態で運ぶ技術が開示されている。
特開昭64−53909号公報 特開平2−43114号公報 特開平10−167436号公報
しかし、上記した特許文献1〜3のベルトコンベア装置では、被運搬物を高さ方向にスムーズに効率良く運搬することについて充分な考慮がなされておらず、特に、掘削土砂等のような形状が不揃いで重い被運搬物の場合には運搬効率が著しく低下する、という課題がある。
また、立坑内には、作業員が昇降するエレベータの他、セグメント等を運搬する設備等も必要であり、掘削土砂等を運ぶベルトコンベア装置の占有領域をできるだけ小さくすることが好ましい、という課題がある。
本発明は、上述の技術的背景からなされたものであって、被運搬物を高さ方向に効率良く運搬することのできる技術を提供することを目的とする。
また、本発明は、立坑内におけるベルトコンベア装置の占有領域を小さくすることのできる技術を提供することを目的とする。
上記課題を解決するため、請求項1に記載の本発明のコンベアベルトは、平面視で帯状のベルト本体と、前記ベルト本体の幅方向両端部を接近させる方向に前記ベルト本体を折り曲げて管状にしたときに、前記ベルト本体で形成される管内を前記ベルト本体の長手方向に沿って複数の空間に分ける複数の仕切部と、を備え、前記複数の仕切部の各々は、前記ベルト本体の幅方向に沿って配置された複数の仕切片を有しており、前記複数の仕切片の各々は、前記ベルト本体の前記管内側の面に接合されているとともに、前記管内側の面から前記ベルト本体の厚さ方向に突出されていることを特徴とする。
請求項2に記載の発明は、上記請求項1に記載の発明において、前記仕切片の突出長は、前記ベルト本体で形成される管の口径よりも小さいことを特徴とする。
請求項3に記載の発明は、上記請求項1または2に記載の発明において、前記ベルト本体の幅方向に隣接する前記仕切片は、前記ベルト本体の長手方向に互いにずれて配置されていることを特徴とする。
請求項4に記載の発明は、上記請求項1〜3のいずれか1項に記載の発明において、前記仕切片は、前記ベルト本体の幅方向に伸縮自在な構成とされていることを特徴とする。
請求項5に記載の発明は、上記請求項1〜3のいずれか1項に記載の発明において、前記ベルト本体は、弾性体で構成されていることを特徴とする。
請求項6に記載の発明は、上記請求項1〜5のいずれか1項に記載の発明において、前記ベルト本体で形成される管の長手方向に交差する面の断面形状は、矩形管状であることを特徴とする。
請求項7に記載の発明は、上記請求項1〜5のいずれか1項に記載の発明において、前記ベルト本体で形成される管の長手方向に交差する面の断面形状は、丸形管状であることを特徴とする。
請求項8に記載の本発明のベルトコンベア装置は、第1プーリと、前記第1プーリから離間した位置に配置された第2プーリと、前記第1プーリと前記第2プーリとに無端状に巻回された平面視で帯状のベルト本体の幅方向両端部を接近させる方向に折り曲げ管状にした状態で被運搬物を包み込むようにして運ぶコンベアベルトと、を備え、前記コンベアベルトは、前記ベルト本体を管状にしたときに、前記ベルト本体で形成される管内を前記ベルト本体の長手方向に沿って複数の空間に分ける複数の仕切部を備え、前記複数の仕切部の各々は、前記ベルト本体の幅方向に沿って配置された複数の仕切片を有しており、前記複数の仕切片の各々は、前記ベルト本体の前記管内側の面に接合されているとともに、前記管内側の面から前記ベルト本体の厚さ方向に突出されていることを特徴とする。
請求項9に記載の発明は、上記請求項8に記載の発明において、前記第1プーリは、立坑の底面に設置され、前記第2プーリは、前記立坑の外の地上面に設置され、前記第1プーリと前記立坑の内側面との間には、前記コンベアベルトが前記立坑の底面に沿うように配置される第1区間があり、前記立坑の底面と前記地上面との間には、前記コンベアベルトが前記立坑の内側面に沿うように配置される第2区間があり、前記立坑の内側面と前記第2プーリとの間には、前記コンベアベルトが前記地上面に沿う第3区間があり、前記コンベアベルトの往路において、少なくとも前記第2区間では、管状にした前記ベルト本体で前記被運搬物を包み込むようにして運ぶことを特徴とする。
請求項10に記載の発明は、上記請求項8または9に記載の発明において、前記コンベアベルトの復路では、前記第2プーリから前記第1プーリに向かって前記ベルト本体を広げた状態で送ることを特徴とする。
請求項11に記載の発明は、上記請求項8〜10のいずれか1項に記載の発明において、前記仕切片の突出長は、前記ベルト本体で形成される管の口径よりも小さいことを特徴とする。
請求項12に記載の発明は、上記請求項8〜11のいずれか1項に記載の発明において、前記ベルト本体の幅方向に隣接する仕切片は、前記ベルト本体の長手方向に互いにずれて配置されていることを特徴とする。
請求項13に記載の発明は、上記請求項8〜12のいずれか1項に記載の発明において、前記仕切片は、前記ベルト本体の幅方向に伸縮自在な構成とされていることを特徴とする。
請求項14に記載の発明は、上記請求項8〜13のいずれか1項に記載の発明において、前記ベルト本体は、弾性体で構成されていることを特徴とする。
請求項15に記載の発明は、上記請求項8〜14のいずれか1項に記載の発明において、前記ベルト本体で形成される管の長手方向に交差する面の断面形状は、矩形管状であることを特徴とする。
請求項16に記載の発明は、上記請求項8〜14のいずれか1項に記載の発明において、前記ベルト本体で形成される管の長手方向に交差する面の断面形状は、丸形管状であることを特徴とする。
本発明によれば、被運搬物を高さ方向に効率良く運搬することが可能になる。
また、本発明によれば、立坑内におけるベルトコンベア装置の占有領域を小さくすることが可能になる。
本発明の一実施の形態に係るベルトコンベア装置の概略側面図である。 (a)は図1のベルトコンベア装置を構成するコンベアベルトの要部拡大斜視図、(b)は図2(a)のコンベアベルトを管状にした場合の要部斜視図である。 (a)は図2のコンベアベルトの要部平面図、(b)は図3(a)の変形例のコンベアベルトの要部平面図である。 (a)〜(c)は図2のコンベアベルトの展開状態を示す要部横断面図である。 図1のベルトコンベア装置の垂直搬送区間におけるI−I線位置の要部横断面図である。 図5のII−II線の要部縦断面図である。 図1のベルトコンベア装置の下部または上部の水平搬送区間の要部斜視図である。 (a)はコンベアベルトの展開図、(b)は図8(a)のコンベアベルトの変形例の展開図である。 (a)は図1のベルトコンベア装置を構成するコンベアベルトの要部拡大斜視図、(b)は図9(a)のコンベアベルトを管状にした場合の要部斜視図である。 第2の実施の形態における図1のベルトコンベア装置の垂直搬送区間におけるI−I線位置の要部横断面図である。 (a)〜(c)は第3の実施の形態のコンベアベルトの展開状態を示す要部横断面図である。
以下、本発明の一例としての実施の形態について、図面に基づいて詳細に説明する。なお、実施の形態を説明するための図面において、同一の構成要素には原則として同一の符号を付し、その繰り返しの説明は省略する。
(第1の実施の形態)
図1は本実施の形態に係るベルトコンベア装置の概略側面図である。なお、図1において、白抜きの矢印はベルトコンベア装置BMのコンベアベルトBの往路の方向を示し、黒塗りの矢印はコンベアベルトBの復路の方向を示している。また、符号Gは地盤を示している。
ベルトコンベア装置BMは、例えば、シールドマシンTMで立坑VHの内側面に掘削孔LHを形成した際に、シールドマシンTMで掘削された土砂(被運搬物)を立坑VHの底部から立坑VHの外の地上まで運搬するための運搬装置である。ここでは、シールドマシンTMから排出された土砂は、通常のベルトコンベア装置NBMに載せられ、土砂投入用ホッパーHiを通じて、本実施の形態のベルトコンベア装置BMの投入領域(入口領域)Riに投入されるようになっている。なお、立坑VHの深度は、特に限定されるものではないが、例えば、70〜120m程度である。
ベルトコンベア装置BMは、立坑VHの底面に設置された従動プーリ(第1プーリ)PFと、立坑VHの外の地上面に設置された駆動プーリ(第2プーリ)PDと、駆動プーリPDを駆動する駆動モータMDと、従動プーリPFと駆動プーリPDとに無端状に巻回されたコンベアベルトBと、コンベアベルトBを支持する複数の支持体SBとを有している。
従動プーリPFおよび駆動プーリPDは、例えば、円柱棒状に形成されており、その円柱軸を中心にして回転可能な状態で設置されている。駆動プーリPDは、回転ベルトRBを介して駆動モータMDと機械的に接続されており、駆動モータMDによって回転するようになっている。コンベアベルトBおよび支持体SBについては後述する。
また、ベルトコンベア装置BMは、従動プーリPFから駆動プーリPDに向かって順に、下部水平搬送区間(第1区間)S1、下部連結区間S2、垂直搬送区間(第2区間)S3、上部連結区間S4および上部水平搬送区間(第3区間)S5を有している。
下部水平搬送区間S1は、従動プーリPFと立坑VHの内側面との間に配置されている。下部水平搬送区間S1では、コンベアベルトBが立坑VHの底面に沿うように移動するようになっている。この下部水平搬送区間S1には、コンベアベルトB上に土砂を投入する上記投入領域Riが形成される。
垂直搬送区間S3は、下部連結区間S2と上部連結区間S4との間に配置されている。垂直搬送区間S3では、コンベアベルトBが立坑VHの内側面に沿って移動するようになっている。すなわち、垂直搬送区間S3のコンベアベルトBは、立坑VHの底面に対してほぼ垂直な方向に移動するようになっている。
下部連結区間S2は、下部水平搬送区間S1と垂直搬送区間S3との間にそれぞれの区間を連結するように配置されている。下部連結区間S2では、コンベアベルトBが水平方向から次第に垂直方向に変わるように(または垂直方向から次第に水平方向に変わるように)湾曲状に移動するようになっている。
上部水平搬送区間S5は、立坑VHの内側面と駆動プーリPDとの間に配置されている。上部水平搬送区間S5では、コンベアベルトBが立坑VHの外の地上面に沿うように移動するようになっている。この上部水平搬送区間S5の駆動プーリPD側には、コンベアベルトB上の土砂を排出する排土領域Rdが形成される。なお、排土領域Rdに運ばれた土砂は、排土用ホッパーHdを介して排出される。
上部連結区間S4は、垂直搬送区間S3と上部水平搬送区間S5との間にそれぞれの領域を連結するように配置されている。上部連結区間S4では、コンベアベルトBが垂直方向から次第に水平方向に変わるように(または水平方向から次第に垂直方向に変わるように)湾曲状に移動するようになっている。
本実施の形態では、コンベアベルトBの往路において、少なくとも垂直搬送区間S3(ここでは、例えば、投入領域Riと排土領域Rdとの間の下部水平搬送区間S1、下部連結区間S2、垂直搬送区間S3、上部連結区間S4および上部水平搬送区間S5)で、管状に形成されたコンベアベルトBで土砂を包み込むようにして運ぶようになっている。これにより、土砂を撒き散らすことなく、立坑VHの底部から地上まで運ぶことができる。
また、コンベアベルトBの往路でも下部水平搬送区間S1および上部水平搬送区間S5の一部では、通常のベルトコンベア装置NBMと同様にコンベアベルトBを広げて平面視で帯状にして搬送するようになっている。なお、この例では、下部水平搬送区間S1においては、なるべく通常のベルトコンベア装置NBMを使用する区間を長くし、ベルトコンベア装置BMのベルト本体BBを広げた状態で搬送する区間を短めにしている。これにより、特殊な構成のベルトコンベア装置BMの長さを短くすることができるので、ベルトコンベア装置BMの製作コストを低減できる。
また、コンベアベルトBの復路では、駆動プーリPDから従動プーリPFに向かってコンベアベルトBを広げてほぼ平坦な状態で送るようになっている。コンベアベルトBの復路でもコンベアベルトBを管状にして送ることもできるが、往路および復路の両方でコンベアベルトBを管状にしてしまうと立坑VH内におけるベルトコンベア装置BMの占有領域が大きくなってしまう。これに対して、復路ではコンベアベルトBを広げて送ることにより、往路および復路の両方でコンベアベルトBを管状にして送る場合に比べて、立坑VH内におけるベルトコンベア装置BMの占有領域を小さくすることができる。すなわち、立坑VH内において、作業員が昇降するエレベータ等の設置空間やセグメント等を運搬する設備等の設置空間を拡大することができる。なお、コンベアベルトBの複数の突起は、フィン(仕切片)Fを示している。フィンFについては後述する。
次に、図2(a)は図1のベルトコンベア装置を構成するコンベアベルトの要部拡大斜視図、図2(b)は図2(a)のコンベアベルトを管状にした場合の要部斜視図、図3(a)は図2のコンベアベルトの要部平面図、図3(b)は図3(a)の変形例のコンベアベルトの要部平面図、図4(a)〜(c)は図2のコンベアベルトの展開状態を示す要部横断面図である。なお、図2および図3において、白抜きの矢印はベルトコンベア装置BMのコンベアベルトBの往路の方向を示し、黒塗りの矢印はコンベアベルトBの復路の方向を示している。
図2〜図4に示すように、コンベアベルトBは、ベルト本体BBと、そのベルト本体BBに設けられた複数の仕切部PPとを有している。ベルト本体BBは、図2(a)および図3に示すように、例えば、平面視で帯状に形成されている。ベルト本体BBは、例えば、合成ゴム等のような弾性体により形成されている。ただし、ベルト本体BBは合成ゴムで形成されることに限定されるものではなく種々変更可能であり、例えば、全体または一部を樹脂または不織布で形成しても良い。
仕切部PPは、図2(b)および図4(a)〜(c)に示すように、ベルト本体BBの幅方向(短方向)両端部を接近させる方向にベルト本体BBを折り曲げて管状にしたときに、ベルト本体BBで形成される管内をベルト本体BBの長手方向に沿って複数の空間に分ける部材である。ここでは、図2および図3に示すように、仕切部PPがベルト本体BBの長手方向に沿って所定の間隔毎に配置されている。
図2(a)、図3および図4(a)に示すように、ベルト本体BBを広げたときの仕切部PPは、ベルト本体BBの幅方向に沿って配置された複数枚のフィン(仕切片)Fに分かれている。すなわち、各仕切部PPは、ベルト本体BBの幅方向に沿って配置された複数枚のフィンFを有している。
各フィンFは、例えば、平面視で略半円形状の薄板からなり、ベルト本体BBの管内側の面からベルト本体BBの厚さ方向に突出した状態で、ベルト本体BBの管内側の面に強固に接合されている。このフィンFは、例えば、合成ゴム等からなり、土砂を支持することが可能な強度を有している。ただし、フィンFは合成ゴムで形成されることに限定されるものではなく種々変更可能であり、例えば、全体または一部を、樹脂、不織布または金属等で形成しても良い。フィンFを不織布で形成することによりフィンFの形状変化を容易にすることができる。また、フィンFを金属で形成することにより、フィンFの耐久性を向上させることができる。
また、仕切部PPを構成する複数のフィンFにおいて、ベルト本体BBの幅方向に隣接するフィンF,F同士は、ベルト本体BBの長手方向に1枚のフィンFの厚さ以上ずらして配置されている。この例では、図3(a)に示すように、複数枚のフィンFが平面視で千鳥状に配置されている。これにより、フィンFに邪魔されることなく、ベルト本体BBを管状に形成することができる。ただし、複数枚のフィンFの配置は千鳥状に限定されるものではなく種々変更可能であり、例えば、図3(b)に示すように、複数枚のフィンFを斜め線(ベルト本体BBの長辺に対して斜めの線)に沿って配置しても良い。
また、各フィンFの突出長(ベルト本体BBの接合面からの高さ)は、ベルト本体BBで形成される管の口径(対向辺間の距離)よりも小さい。この例では、各フィンFの突出長は、ベルト本体BBで形成される管の口径の半分以下になっている。これについては後述する。
このようなコンベアベルトBのベルト本体BBを図4(b),(c)にしめすように管状にすると、互いに隣接するフィンF,Fの一部が平面視で重なるとともに、互いに向かい合うフィンF,Fの円弧側の頂点が当接されるようにして、仕切部PPが形成されるようになっている。ここでは、仕切部PPを構成するフィンFを4枚にしたことにより、図2(b)および図4(c)に示すように、管状にしたときのベルト本体BBの断面形状が、例えば、フィンFの底面を一辺とする矩形管状に形成される。なお、ベルト本体BBを管状にし易くするために、ベルト本体BBにおいて隣接するフィンF,F間の部分を折れ曲がり易い材料(構造)で形成しても良い。ここでは、複数枚のフィンFの隣接間を通過するようにベルト本体BBの長手方向に沿って延びる複数の折り目FDが形成されている。
次に、図5は図1のベルトコンベア装置の垂直搬送区間におけるI−I線位置の要部横断面図、図6は図5のII−II線の要部縦断面図である。なお、図6において、白抜きの矢印はベルトコンベア装置BMのコンベアベルトBの往路の方向を示し、黒塗りの矢印はコンベアベルトBの復路の方向を示している。
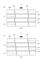
図5に示すように、垂直搬送区間S3等のコンベアベルトBの往路においては、ベルト本体BBが支持体SBによって矩形管状にされた状態で搬送されるようになっている。支持体SBは、矩形枠状の枠体部FMと、その枠内の各辺に回転可能な状態で支持された4個のローラRLとを有している。矩形管状のコンベアベルトBは、そのベルト本体BBの外周の各辺に各ローラRLが接した状態で、枠体部FMの枠内に支持されている。この場合、ローラRLは、ベルト本体BBの幅方向の両端部(合わせ部)がしっかりと閉じるようにベルト本体BBの外周の辺にしっかりと押し付けられている。これにより、ベルト本体BBの幅方向両端部の合わせ部分から土砂がこぼれるのを防止することができる。なお、支持体SBの構成(枠体部FMの形状、ローラRLの数や位置等)は、上記したものに限定されるものではなく種々変更可能である。
また、図6に示すように、垂直搬送区間S3等の往路においてコンベアベルトBのベルト本体BBの管内には、上記したようにコンベアベルトBの長手方向に沿って所定の間隔毎に複数の仕切部PPが形成される。そして、土砂SDは、複数の仕切部PPで仕切られた各空間内においてベルト本体BBに包まれ、かつ、仕切部PPに支持された状態で立坑VHの底面に対してほぼ垂直に上昇し、地上に運ばれるようになっている。ここで、特許文献1〜3では、ベルトコンベア装置で被運搬物を垂直方向に運搬する場合、コンベアベルトの管内において被運搬物が上昇および落下を繰り返しながら次第に上昇するようになっている。これに対して、本実施の形態では、コンベアベルトBのベルト本体BBで形成される管の空間内において土砂SDが落下することなく仕切部PPに支えられながら上昇するので、土砂SDを高さ方向にスムーズに効率良く運搬することができる。
なお、仕切部PPの四隅に隙間が形成される場合、その隙間を通じて、土砂に含まれた水分が下方に流れる場合がある。その場合は、ベルト本体BBの管内の隙間を通じて流れてきた水を収容する容器やベルト本体BBの管内の隙間を通じて流れてきた水を上記容器に誘導する配管等を設置することが好ましい。
一方、図5および図6に示すように、コンベアベルトBの復路においては、ベルト本体BBがほぼ平坦に広げられた状態で搬送されるようになっている。これにより、上記したように、往路および復路の両方でコンベアベルトBのベルト本体BBを管状にして送る場合に比べて、立坑VH内におけるベルトコンベア装置BMの占有領域を小さくすることができる。ところで、1つの仕切部を1つのフィンで構成し、そのフィンの高さをベルト本体BBの管の口径と同じにすることも考えられる。しかし、フィンの高さ(突出長)をベルト本体の管の口径と同じにしてしまうと、復路においてベルト本体BBを広げて搬送したとしても、往路および復路の両方でベルト本体を管状にして送るのとほぼ同じになってしまい、ベルトコンベア装置BMの占有領域を小さくすることができない。これに対して、本実施の形態では、1つの仕切部PPを複数個のフィンFに分けることで、各フィンFの高さをベルト本体BBの管の口径より小さくすることができる。具体的には、フィンFの高さをベルト本体BBの管の口径の半分以下にすることができる。これにより、コンベアベルトBの復路において、ベルト本体BBを広げた状態で搬送することにより、復路におけるコンベアベルトBの占有領域を小さくすることができるので、立坑VH内におけるベルトコンベア装置BMの占有領域を小さくすることができる。
次に、図7は図1のベルトコンベア装置の下部または上部の水平搬送区間の要部斜視図、図8(a)はコンベアベルトの展開図、図8(b)は図8(a)のコンベアベルトの変形例の展開図である。なお、図7において、白抜きの矢印はベルトコンベア装置BMのコンベアベルトBの往路の方向を示し、黒塗りの矢印はコンベアベルトBの復路の方向を示している。
図7に示すように、下部水平搬送区間S1では、コンベアベルトBのベルト本体BBを広げた状態で搬送し、途中から垂直搬送区間S3に近づくにつれて支持体(図示せず)によって次第にベルト本体BBを管状に折り曲げて搬送するようになっている。一方、上部水平搬送区間S5では、コンベアベルトBのベルト本体BBを、管状の状態で搬送し、途中から駆動プーリPDに近づくにつれて支持体(図示せず)とベルト本体BBの弾性力とによって次第にベルト本体BBを広げて搬送するようになっている。
ここで、下部水平搬送区間S1および上部水平搬送区間S5(投入領域Riおよび排土領域Rdを含める)において、ベルト本体BBをほぼ平坦に広げても良いが、ベルト本体BBの幅方向中央が凹むように撓ませても良い。これにより、ベルト本体BBを展開する際にベルト本体BBを曲げる角度を小さくすることができるので、ベルト本体BBの展開を容易にすることができる。また、ベルト本体BB上に投入された土砂がベルト本体BBの幅方向中央の窪みに集まるので、土砂がベルト本体BBの外にこぼれないようにすることができる。
本実施の形態では、図8(a)に示すように、仕切部PPを構成する各フィンFの底面(脚部)を直線状にしたが、上記のように下部水平搬送区間S1および上部水平搬送区間S5においてベルト本体BBを撓ませて搬送する場合、図8(b)に示すように、フィンFの底面をベルト本体BBの撓みに合わせて若干湾曲させても良い。
次に、本実施の形態のベルトコンベア装置BMの動作例について図1を参照して説明する。
まず、シールドマシンTMで掘削された土砂は、立坑VHの底部に設置された通常のベルトコンベア装置NBMに載せられて搬送終端に送られ、土砂投入用ホッパーHiを通じて、本実施の形態のベルトコンベア装置BMの下部水平搬送区間S1の投入領域Riに投入される。この際、コンベアベルトBの長手方向に隣接する仕切部PP(図7等参照)で仕切られる区間内全域に土砂を詰め込むと、後にベルト本体BBを管状にしたときにコンベアベルトBの進路を曲げることが困難になる。このため、土砂の投入に際しては、仕切部PPで仕切られる区間内に隙間ができるように土砂を投入することが望ましい。
次いで、下部水平搬送区間S1のコンベアベルトBの往路においてベルト本体BBは、通常のベルトコンベア装置と同様に、ほぼ平坦に、または幅方向の中央が凹んだ状態に広げられて水平に搬送されるが、途中から下部連結区間S2(垂直搬送区間S3)に近づくにつれて、ベルト本体BBの幅方向両端が近づくように折り曲げられて管状に形成される。これにより、ベルト本体BB上の土砂はベルト本体BBに包まれる。また、ベルト本体BBが管状に形成されると、複数のフィンFがベルト本体BBで形成される管の中心に集まり仕切部PPが形成される。これにより、ベルト本体BBで形成される管内は長手方向に沿って複数の空間に分けられて、その各空間内に土砂が収容される状態になる。
次いで、下部連結区間S2のコンベアベルトBの往路においてベルト本体BBは、水平状態から垂直状態になるように次第に向きを変えて垂直搬送区間S3に搬送される。続いて、垂直搬送区間S3のコンベアベルトBの往路においてベルト本体BBは管状のままほぼ垂直に上昇して上部連結区間S4に搬送される。この際、土砂は、ベルト本体BBに包み込まれているので、外部にこぼれることもない。また、土砂は仕切部PPで支えられて上昇するので、土砂を高さ方向にスムーズに効率良く運搬することができる。
次いで、上部連結区間S4のコンベアベルトBの往路において管状のベルト本体BBは、垂直状態から水平状態になるように次第に向きを変えて上部水平搬送区間S5に搬送される。続いて、上部水平搬送区間S5のコンベアベルトBの往路においてベルト本体BBは、管状の状態で水平に搬送されるが、途中から通常のベルトコンベア装置と同様に、ほぼ平坦に、または幅方向の中央が凹んだ状態に広げられて水平に搬送される。これにより、コンベアベルトB上の土砂が露出される。そして、広げられたベルト本体BBが駆動プーリPDに至ると、ベルト本体BB上の土砂が排土領域Rdから排土用ホッパーHdを介して排出される。
次いで、土砂排出後のコンベアベルトBの復路では、図5および図6に示したように、ベルト本体BBが広げられた状態で、上部水平搬送区間S5、上部連結区間S4、垂直搬送区間S3、下部連結区間S2および下部水平搬送区間S1に順に搬送され、従動プーリPFまで戻る。このようにして、シールドマシンTMで掘削した土砂を立坑VH内から地上まで運搬する動作を繰り返す。
(第2の実施の形態)
本実施の形態では、コンベアベルトのベルト本体を断面視で円形管状に形成する場合の一例について説明する。図9(a)は図1のベルトコンベア装置を構成するコンベアベルトの要部拡大斜視図、図9(b)は図9(a)のコンベアベルトを管状にした場合の要部斜視図である。
本実施の形態では、図9(a)に示すように、コンベアベルトBの仕切部PPが、例えば、3枚で構成されており、各フィンFが、ベルト本体BBの幅方向に伸縮自在なように、例えば、平面視で蛇腹状に形成されている。この場合、図9(b)に示すように、ベルト本体BBを管状にしたときのベルト本体BBの断面形状は、例えば、円形管状に形成される。なお、円形管状には、正円管状のほか、楕円管状も含む。
次に、図10は第2の実施の形態における図1のベルトコンベア装置の垂直搬送区間におけるI−I線位置の要部横断面図である。なお、図10の縦断面は図6とほぼ同じなので図示を省略する。
本実施の形態では、図10に示すように、コンベアベルトBのベルト本体BBが断面視で円形管状に形成される。ここでは、ベルト本体BBの幅方向の一方の端部が、ベルト本体BBの幅方向の他方の端部側の上面に一部重なっている。しかも、支持体SBの1つのローラRLが、ベルト本体BBの幅方向両端部の重なり部分を押さえるように配置されている。これらにより、ベルト本体BBで形成される管内の土砂が外部にこぼれないようにすることができる。
支持体SBのローラRLは、例えば、4個配置されており、ベルト本体BBの幅方向端部の重なり部分を押さえるように1つ、これに対向する位置に1つ、そしてその2つのローラRLの左右に1つずつ配置されている。この場合も支持体SBの各ローラRLはベルト本体BBの外周面に接するように配置されている。
このような本実施の形態では、管状のベルト本体BBの外周四辺にローラRLを接触させる必要もなく、既存の支持体SBを使用できるので、ベルトコンベア装置BMの製造コストを低減できる。これら以外の構成および効果は、前記第1の実施の形態と同じである。
(第3の実施の形態)
本実施の形態では、コンベアベルトの仕切部を構成するフィンの数が5個以上とする場合の一例について説明する。図11(a)〜(c)は本実施の形態のコンベアベルトの展開状態を示す要部横断面図である。
上記仕切部PPを構成するフィンFの数は、4個に限定されるものではなく5個以上でも良い。図11は、仕切部PPを構成するフィンFの数が、例えば、6個の場合を示している。各フィンFの平面視での形状は、例えば、半楕円形状に形成されている。また、図11(c)に示すように、管状のベルト本体BBの断面形状は、例えば、六角形管状に形成される。
このような本実施の形態では、ベルト本体BBを管状にするときにベルト本体BBを曲げる角度(=360°/折り曲げ角の数)を小さくすることができるので、ベルト本体BBを管状にし易くすることができる。また、ベルト本体BBの管内を仕切部PPで分けることで形成される空間の容積を前記第1の実施の形態の場合より大きくすることができるので、単位時間当たりに運搬できる土砂の量を増やすことができる。したがって、土砂の運搬作業時間を短縮できる。これら以外の構成および効果は、前記第1の実施の形態と同じである。
以上本発明者によってなされた発明を実施の形態に基づき具体的に説明したが、本明細書で開示された実施の形態はすべての点で例示であって、開示された技術に限定されるものではない。すなわち、本発明の技術的な範囲は、前記の実施の形態における説明に基づいて制限的に解釈されるものでなく、あくまでも特許請求の範囲の記載に従って解釈されるべきであり、特許請求の範囲の記載技術と均等な技術および特許請求の範囲の要旨を逸脱しない限りにおけるすべての変更が含まれる。
例えば、第1の実施の形態でも、第2の実施の形態と同様に、ベルト本体を管状にしたときにベルト本体の幅方向両端部の一方の一部を他方の上に重ねるようにしても良い。
また、前記実施の形態においては、図1に示したベルトコンベア装置BMの往路においてコンベアベルトBを水平から垂直に、または、その逆の垂直から水平に変える下部連結区間S2および上部連結区間S4においてコンベアベルトBを完全に管状にして搬送する場合について説明したが、これに限定されるものではない。例えば、図1に示した下部連結区間S2において、コンベアベルトBを水平から垂直に次第に傾けていくときに、コンベアベルトBを帯状に広げた状態から管状の状態に次第に変えるようにしても良い。また、図1に示した上部連結区間S4において、コンベアベルトBを垂直から水平に次第に傾けていくときに、コンベアベルトBを管状の状態から帯状の状態に次第に広げるようにしても良い。いずれの場合も、コンベアベルトBの搬送方向の変更時にコンベアベルトB内の土砂がこぼれないようにする。これらの場合、コンベアベルトBの搬送方向が水平から垂直または垂直から水平に変わるときにコンベアベルトBを変形させ易いので、コンベアベルトBの搬送性を向上させることができる。
また、被運搬物は、土砂に限定されるものではなく種々変更可能であり、セメントや小麦粉等のような粉体でも良いし、米、麦、粟、稗、豆またはトウモロコシ等のような穀物でも良い。
以上の説明では、本発明のベルトコンベア装置を立坑から地上に土砂を運ぶ垂直運搬装置に適用した場合が示されているが、例えば、水平面内において被運搬物を運ぶ水平運搬装置等、種々の運搬装置に適用することができる。
BM ベルトコンベア装置
B コンベアベルト
BB ベルト本体
FD 折り目
PP 仕切部
F フィン
PF 従動プーリ
PD 駆動プーリ
MD モータ
SB 支持体
FM 枠体部
RL ローラ
S1 下部水平搬送区間
S2 下部連結区間
S3 垂直搬送区間
S4 上部連結区間
S5 上部水平区間

Claims (16)

  1. 平面視で帯状のベルト本体と、
    前記ベルト本体の幅方向両端部を接近させる方向に前記ベルト本体を折り曲げて管状にしたときに、前記ベルト本体で形成される管内を前記ベルト本体の長手方向に沿って複数の空間に分ける複数の仕切部と、
    を備え、
    前記複数の仕切部の各々は、前記ベルト本体の幅方向に沿って配置された複数の仕切片を有しており、前記複数の仕切片の各々は、前記ベルト本体の前記管内側の面に接合されているとともに、前記管内側の面から前記ベルト本体の厚さ方向に突出されていることを特徴とするコンベアベルト。
  2. 前記仕切片の突出長は、前記ベルト本体で形成される管の口径よりも小さいことを特徴とする請求項1記載のコンベアベルト。
  3. 前記ベルト本体の幅方向に隣接する前記仕切片は、前記ベルト本体の長手方向に互いにずれて配置されていることを特徴とする請求項1または2記載のコンベアベルト。
  4. 前記仕切片は、前記ベルト本体の幅方向に伸縮自在な構成とされていることを特徴とする請求項1〜3のいずれか1項に記載のコンベアベルト。
  5. 前記ベルト本体は、弾性体で構成されていることを特徴とする請求項1〜4のいずれか1項に記載のコンベアベルト。
  6. 前記ベルト本体で形成される管の長手方向に交差する面の断面形状は、矩形管状であることを特徴とする請求項1〜5のいずれか1項に記載のコンベアベルト。
  7. 前記ベルト本体で形成される管の長手方向に交差する面の断面形状は、丸形管状であることを特徴とする請求項1〜5のいずれか1項に記載のコンベアベルト。
  8. 第1プーリと、
    前記第1プーリから離間した位置に配置された第2プーリと、
    前記第1プーリと前記第2プーリとに無端状に巻回された平面視で帯状のベルト本体の幅方向両端部を接近させる方向に折り曲げ管状にした状態で被運搬物を包み込むようにして運ぶコンベアベルトと、
    を備え、
    前記コンベアベルトは、
    前記ベルト本体を管状にしたときに、前記ベルト本体で形成される管内を前記ベルト本体の長手方向に沿って複数の空間に分ける複数の仕切部を備え、
    前記複数の仕切部の各々は、前記ベルト本体の幅方向に沿って配置された複数の仕切片を有しており、前記複数の仕切片の各々は、前記ベルト本体の前記管内側の面に接合されているとともに、前記管内側の面から前記ベルト本体の厚さ方向に突出されていることを特徴とするベルトコンベア装置。
  9. 前記第1プーリは、立坑の底面に設置され、
    前記第2プーリは、前記立坑の外の地上面に設置され、
    前記第1プーリと前記立坑の内側面との間には、前記コンベアベルトが前記立坑の底面に沿うように配置される第1区間があり、
    前記立坑の底面と前記地上面との間には、前記コンベアベルトが前記立坑の内側面に沿うように配置される第2区間があり、
    前記立坑の内側面と前記第2プーリとの間には、前記コンベアベルトが前記地上面に沿う第3区間があり、
    前記コンベアベルトの往路において、少なくとも前記第2区間では、管状にした前記ベルト本体で前記被運搬物を包み込むようにして運ぶことを特徴とする請求項8記載のベルトコンベア装置。
  10. 前記コンベアベルトの復路では、前記第2プーリから前記第1プーリに向かって前記ベルト本体を広げた状態で送ることを特徴とする請求項8または9記載のベルトコンベア装置。
  11. 前記仕切片の突出長は、前記ベルト本体で形成される管の口径よりも小さいことを特徴とする請求項8〜10のいずれか1項に記載のベルトコンベア装置。
  12. 前記ベルト本体の幅方向に隣接する仕切片は、前記ベルト本体の長手方向に互いにずれて配置されていることを特徴とする請求項8〜11のいずれか1項に記載のベルトコンベア装置。
  13. 前記仕切片は、前記ベルト本体の幅方向に伸縮自在な構成とされていることを特徴とする請求項8〜12のいずれか8〜12のいずれか1項に記載のベルトコンベア装置。
  14. 前記ベルト本体は、弾性体で構成されていることを特徴とする請求項8〜13のいずれか1項に記載のベルトコンベア装置。
  15. 前記ベルト本体で形成される管の長手方向に交差する面の断面形状は、矩形管状であることを特徴とする請求項8〜14のいずれか1項に記載のベルトコンベア装置。
  16. 前記ベルト本体で形成される管の長手方向に交差する面の断面形状は、丸形管状であることを特徴とする請求項8〜14のいずれか1項に記載のベルトコンベア装置。
JP2018216206A 2018-11-19 2018-11-19 コンベアベルトおよびそれを用いたベルトコンベア装置 Active JP7165472B2 (ja)

Priority Applications (1)

Application Number Priority Date Filing Date Title
JP2018216206A JP7165472B2 (ja) 2018-11-19 2018-11-19 コンベアベルトおよびそれを用いたベルトコンベア装置

Applications Claiming Priority (1)

Application Number Priority Date Filing Date Title
JP2018216206A JP7165472B2 (ja) 2018-11-19 2018-11-19 コンベアベルトおよびそれを用いたベルトコンベア装置

Publications (2)

Publication Number Publication Date
JP2020083502A true JP2020083502A (ja) 2020-06-04
JP7165472B2 JP7165472B2 (ja) 2022-11-04

Family

ID=70906231

Family Applications (1)

Application Number Title Priority Date Filing Date
JP2018216206A Active JP7165472B2 (ja) 2018-11-19 2018-11-19 コンベアベルトおよびそれを用いたベルトコンベア装置

Country Status (1)

Country Link
JP (1) JP7165472B2 (ja)

Cited By (1)

* Cited by examiner, † Cited by third party
Publication number Priority date Publication date Assignee Title
CN112693808A (zh) * 2020-12-31 2021-04-23 安徽牧洋饲料科技有限公司 一种冻油脂圆管带式输送装置的组件

Citations (4)

* Cited by examiner, † Cited by third party
Publication number Priority date Publication date Assignee Title
JPS57151509A (en) * 1981-03-11 1982-09-18 Daiki Kogyo Kk Vertical belt conveyer
JPS5883314U (ja) * 1981-12-02 1983-06-06 株式会社ブリヂストン コンベアベルト
JPS6274609U (ja) * 1985-10-25 1987-05-13
JPH09315539A (ja) * 1996-05-24 1997-12-09 Kuroda Tekkosho:Kk 地下掘削用土砂搬出コンベア装置

Patent Citations (4)

* Cited by examiner, † Cited by third party
Publication number Priority date Publication date Assignee Title
JPS57151509A (en) * 1981-03-11 1982-09-18 Daiki Kogyo Kk Vertical belt conveyer
JPS5883314U (ja) * 1981-12-02 1983-06-06 株式会社ブリヂストン コンベアベルト
JPS6274609U (ja) * 1985-10-25 1987-05-13
JPH09315539A (ja) * 1996-05-24 1997-12-09 Kuroda Tekkosho:Kk 地下掘削用土砂搬出コンベア装置

Cited By (1)

* Cited by examiner, † Cited by third party
Publication number Priority date Publication date Assignee Title
CN112693808A (zh) * 2020-12-31 2021-04-23 安徽牧洋饲料科技有限公司 一种冻油脂圆管带式输送装置的组件

Also Published As

Publication number Publication date
JP7165472B2 (ja) 2022-11-04

Similar Documents

Publication Publication Date Title
CN105228929A (zh) 在承载侧覆盖面板上带有人字造型(倾斜凸角造型)的管状传送机皮带或袋式传送机皮带
KR20140035304A (ko) 다방향성 바퀴들을 구비한 컨베이어, 벨트, 및 모듈
JP2020083502A (ja) コンベアベルトおよびそれを用いたベルトコンベア装置
CN111491876A (zh) 封闭带轨道输送机系统
US9573763B2 (en) Pipe conveyors
JP2003246426A (ja) コンベヤベルトによる搬送装置
TWI715788B (zh) 輸送帶裝置
US5383547A (en) Scraper conveyor
JP6660075B2 (ja) コンベヤ装置
CN204297516U (zh) 链斗输送机
CN211309101U (zh) 袋装弹簧的生产设备
CN203682365U (zh) 可弯曲挡隔板皮带及可弯曲挡隔板皮带输送机
RU2252827C1 (ru) Семяочистительная машина
CN110683124A (zh) 袋装弹簧的生产设备和生产方法
US2601558A (en) Conveyer for grain and like materials
CN210125559U (zh) 具有精细筛选功能的选煤机
JP7451980B2 (ja) チェーンコンベア装置
JP4919380B2 (ja) 搬送コンベヤ
JP6233249B2 (ja) 急傾斜コンベヤベルト
CN223521329U (zh) 一种土木工程管道运送装置
CN217457395U (zh) 一种翻带回程装置和带式输送机
JPH0243114A (ja) 管状ベルトコンベアにおける垂直輸送方法と垂直輸送装置
CN204453538U (zh) 弯道输送平整机构及辊筒式输送设备
JP2017105552A (ja) ベルトコンベヤ
CN212075433U (zh) 管道内砂浆送料机

Legal Events

Date Code Title Description
A621 Written request for application examination

Free format text: JAPANESE INTERMEDIATE CODE: A621

Effective date: 20210726

A977 Report on retrieval

Free format text: JAPANESE INTERMEDIATE CODE: A971007

Effective date: 20220426

A131 Notification of reasons for refusal

Free format text: JAPANESE INTERMEDIATE CODE: A131

Effective date: 20220427

A521 Request for written amendment filed

Free format text: JAPANESE INTERMEDIATE CODE: A523

Effective date: 20220614

A131 Notification of reasons for refusal

Free format text: JAPANESE INTERMEDIATE CODE: A131

Effective date: 20220822

A521 Request for written amendment filed

Free format text: JAPANESE INTERMEDIATE CODE: A523

Effective date: 20220823

TRDD Decision of grant or rejection written
A01 Written decision to grant a patent or to grant a registration (utility model)

Free format text: JAPANESE INTERMEDIATE CODE: A01

Effective date: 20221021

A61 First payment of annual fees (during grant procedure)

Free format text: JAPANESE INTERMEDIATE CODE: A61

Effective date: 20221021

R150 Certificate of patent or registration of utility model

Ref document number: 7165472

Country of ref document: JP

Free format text: JAPANESE INTERMEDIATE CODE: R150

R250 Receipt of annual fees

Free format text: JAPANESE INTERMEDIATE CODE: R250