JP2020079117A - 減圧用装置及び減圧用装置を用いた容器内部の減圧方法 - Google Patents
減圧用装置及び減圧用装置を用いた容器内部の減圧方法 Download PDFInfo
- Publication number
- JP2020079117A JP2020079117A JP2019182168A JP2019182168A JP2020079117A JP 2020079117 A JP2020079117 A JP 2020079117A JP 2019182168 A JP2019182168 A JP 2019182168A JP 2019182168 A JP2019182168 A JP 2019182168A JP 2020079117 A JP2020079117 A JP 2020079117A
- Authority
- JP
- Japan
- Prior art keywords
- opening
- lid
- container
- depressurizing
- blocker
- Prior art date
- Legal status (The legal status is an assumption and is not a legal conclusion. Google has not performed a legal analysis and makes no representation as to the accuracy of the status listed.)
- Granted
Links
- 230000006837 decompression Effects 0.000 title claims abstract description 96
- 238000000034 method Methods 0.000 title claims description 25
- 238000004891 communication Methods 0.000 claims description 5
- 239000012530 fluid Substances 0.000 abstract description 31
- 239000000126 substance Substances 0.000 abstract description 31
- 230000000903 blocking effect Effects 0.000 abstract description 4
- 230000002093 peripheral effect Effects 0.000 description 16
- 239000007788 liquid Substances 0.000 description 13
- 239000000853 adhesive Substances 0.000 description 10
- 230000001070 adhesive effect Effects 0.000 description 10
- 238000012545 processing Methods 0.000 description 8
- 239000000463 material Substances 0.000 description 7
- 230000008961 swelling Effects 0.000 description 7
- 239000003973 paint Substances 0.000 description 6
- 230000000052 comparative effect Effects 0.000 description 5
- 238000000576 coating method Methods 0.000 description 4
- 239000004566 building material Substances 0.000 description 3
- 239000011248 coating agent Substances 0.000 description 3
- 239000003566 sealing material Substances 0.000 description 3
- 244000025254 Cannabis sativa Species 0.000 description 2
- 239000002184 metal Substances 0.000 description 2
- 229910052751 metal Inorganic materials 0.000 description 2
- 238000003825 pressing Methods 0.000 description 2
- 239000011347 resin Substances 0.000 description 2
- 229920005989 resin Polymers 0.000 description 2
- 238000007789 sealing Methods 0.000 description 2
- 238000004078 waterproofing Methods 0.000 description 2
- 238000005452 bending Methods 0.000 description 1
- 238000011109 contamination Methods 0.000 description 1
- 230000008602 contraction Effects 0.000 description 1
- 230000007423 decrease Effects 0.000 description 1
- 238000009408 flooring Methods 0.000 description 1
- 238000009434 installation Methods 0.000 description 1
- 239000011344 liquid material Substances 0.000 description 1
- 150000002739 metals Chemical class 0.000 description 1
- 238000002156 mixing Methods 0.000 description 1
- 238000012856 packing Methods 0.000 description 1
- 239000000843 powder Substances 0.000 description 1
- 230000000630 rising effect Effects 0.000 description 1
- 238000000926 separation method Methods 0.000 description 1
- 238000012360 testing method Methods 0.000 description 1
- 238000012546 transfer Methods 0.000 description 1
- 238000011144 upstream manufacturing Methods 0.000 description 1
Images
Landscapes
- Details Of Rigid Or Semi-Rigid Containers (AREA)
Abstract
Description
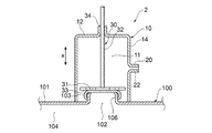
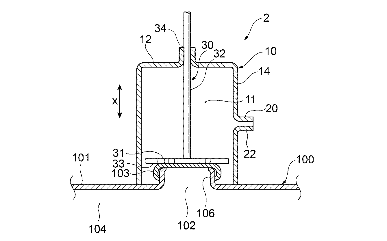
[1]容器の開口部を所定空間を介して覆う開口部閉塞体と、該開口部閉塞体で覆われた前記所定空間を減圧する減圧手段が接続される減圧手段接続部と、を備えた減圧用装置。
[2]前記開口部閉塞体が、前記容器のうち、前記開口部が設けられた壁部の一部領域を覆う[1]に記載の減圧用装置。
[3]前記減圧手段接続部が、前記開口部閉塞体の壁面に設けられた貫通孔を有する[1]または[2]に記載の減圧用装置。
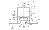
[4]さらに、前記開口部に取り付けられる蓋を前記開口部に取り付けて前記開口部を閉じるための蓋取り付け用部材を備えた[1]乃至[3]のいずれか1つに記載の減圧用装置。
[5]前記蓋取り付け用部材が、前記開口部に対向配置される蓋押し部と、該蓋押し部から前記開口部に対して鉛直方向へ開口部閉塞体を貫通して延在する支持部と、を備えた[4]に記載の減圧用装置。
[6]前記蓋取り付け用部材に、蓋を保持するための蓋保持部が設けられている[4]に記載の減圧用装置。
[7]前記蓋取り付け用部材が、前記開口部に対向配置される前記蓋保持部と、該蓋保持部から前記開口部に対して鉛直方向へ開口部閉塞体を貫通して延在する支持部と、を備えた[6]に記載の減圧用装置。
[8]前記開口部閉塞体の側面部に、蛇腹部が形成されている[1]乃至[3]のいずれか1つに記載の減圧用装置。
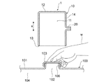
[9]容器の開口部を所定空間を介して覆う開口部閉塞体と、該開口部閉塞体で覆われた前記所定空間を減圧する減圧手段が接続される減圧手段接続部と、を備えた減圧用装置を、前記開口部閉塞体の内部空間と前記容器の内部空間を連通させた状態で前記容器の開口部に設置する工程と、
前記減圧手段接続部に接続された減圧手段により、前記開口部閉塞体内部を減圧する工程と、
前記開口部に蓋を取り付けて前記開口部を閉じる工程と、を含む容器内部の減圧方法。
[10]前記減圧用装置が、さらに、前記開口部に取り付けられる蓋を前記開口部に取り付けて前記開口部を閉じるための蓋取り付け用部材を備えた[9]に記載の容器内部の減圧方法。
[11]前記開口部閉塞体の側面部に、蛇腹部が形成されている[9]に記載の容器内部の減圧方法。
[12]前記開口部閉塞体内部を減圧する工程にて前記蛇腹部が縮むことで、作業者を介さずに、前記開口部に前記蓋を取り付けて前記開口部を閉じる[11]に記載の容器内部の減圧方法。
10 開口部閉塞体
11 所定空間
20 減圧手段接続部
Claims (12)
- 容器の開口部を所定空間を介して覆う開口部閉塞体と、該開口部閉塞体で覆われた前記所定空間を減圧する減圧手段が接続される減圧手段接続部と、を備えた減圧用装置。
- 前記開口部閉塞体が、前記容器のうち、前記開口部が設けられた壁部の一部領域を覆う請求項1に記載の減圧用装置。
- 前記減圧手段接続部が、前記開口部閉塞体の壁面に設けられた貫通孔を有する請求項1または2に記載の減圧用装置。
- さらに、前記開口部に取り付けられる蓋を前記開口部に取り付けて前記開口部を閉じるための蓋取り付け用部材を備えた請求項1乃至3のいずれか1項に記載の減圧用装置。
- 前記蓋取り付け用部材が、前記開口部に対向配置される蓋押し部と、該蓋押し部から前記開口部に対して鉛直方向へ開口部閉塞体を貫通して延在する支持部と、を備えた請求項4に記載の減圧用装置。
- 前記蓋取り付け用部材に、蓋を保持するための蓋保持部が設けられている請求項4に記載の減圧用装置。
- 前記蓋取り付け用部材が、前記開口部に対向配置される前記蓋保持部と、該蓋保持部から前記開口部に対して鉛直方向へ開口部閉塞体を貫通して延在する支持部と、を備えた請求項6に記載の減圧用装置。
- 前記開口部閉塞体の側面部に、蛇腹部が形成されている請求項1乃至3のいずれか1項に記載の減圧用装置。
- 容器の開口部を所定空間を介して覆う開口部閉塞体と、該開口部閉塞体で覆われた前記所定空間を減圧する減圧手段が接続される減圧手段接続部と、を備えた減圧用装置を、前記開口部閉塞体の内部空間と前記容器の内部空間を連通させた状態で前記容器の開口部に設置する工程と、
前記減圧手段接続部に接続された減圧手段により、前記開口部閉塞体内部を減圧する工程と、
前記開口部に蓋を取り付けて前記開口部を閉じる工程と、を含む容器内部の減圧方法。 - 前記減圧用装置が、さらに、前記開口部に取り付けられる蓋を前記開口部に取り付けて前記開口部を閉じるための蓋取り付け用部材を備えた請求項9に記載の容器内部の減圧方法。
- 前記開口部閉塞体の側面部に、蛇腹部が形成されている請求項9に記載の容器内部の減圧方法。
- 前記開口部閉塞体内部を減圧する工程にて前記蛇腹部が縮むことで、作業者を介さずに、前記開口部に前記蓋を取り付けて前記開口部を閉じる請求項11に記載の容器内部の減圧方法。
Applications Claiming Priority (2)
| Application Number | Priority Date | Filing Date | Title |
|---|---|---|---|
| JP2018212859 | 2018-11-13 | ||
| JP2018212859 | 2018-11-13 |
Publications (2)
| Publication Number | Publication Date |
|---|---|
| JP2020079117A true JP2020079117A (ja) | 2020-05-28 |
| JP7473938B2 JP7473938B2 (ja) | 2024-04-24 |
Family
ID=70802334
Family Applications (1)
| Application Number | Title | Priority Date | Filing Date |
|---|---|---|---|
| JP2019182168A Active JP7473938B2 (ja) | 2018-11-13 | 2019-10-02 | 減圧用装置及び減圧用装置を用いた容器内部の減圧方法 |
Country Status (1)
| Country | Link |
|---|---|
| JP (1) | JP7473938B2 (ja) |
Cited By (1)
| Publication number | Priority date | Publication date | Assignee | Title |
|---|---|---|---|---|
| CN112773137A (zh) * | 2020-12-20 | 2021-05-11 | 中山市瑞米智能科技有限公司 | 自动取料机及取料方法 |
Citations (5)
| Publication number | Priority date | Publication date | Assignee | Title |
|---|---|---|---|---|
| JPS529580A (en) * | 1975-07-10 | 1977-01-25 | Eitarou Souhonpo Yuugen | Automatic vacuum cover tightening system for vessels |
| JPS54159087A (en) * | 1978-05-31 | 1979-12-15 | Takeda Chemical Industries Ltd | Vacuum plugging device for vial or similars |
| JPS6050196U (ja) * | 1983-09-12 | 1985-04-09 | 大日本インキ化学工業株式会社 | 栓開閉機具 |
| JPH01150502U (ja) * | 1988-04-07 | 1989-10-18 | ||
| US20150266600A1 (en) * | 2014-03-23 | 2015-09-24 | Vp Sheets Ltd | Device and Method for Atmosphere Modification in a Container During the Sealing Process |
-
2019
- 2019-10-02 JP JP2019182168A patent/JP7473938B2/ja active Active
Patent Citations (5)
| Publication number | Priority date | Publication date | Assignee | Title |
|---|---|---|---|---|
| JPS529580A (en) * | 1975-07-10 | 1977-01-25 | Eitarou Souhonpo Yuugen | Automatic vacuum cover tightening system for vessels |
| JPS54159087A (en) * | 1978-05-31 | 1979-12-15 | Takeda Chemical Industries Ltd | Vacuum plugging device for vial or similars |
| JPS6050196U (ja) * | 1983-09-12 | 1985-04-09 | 大日本インキ化学工業株式会社 | 栓開閉機具 |
| JPH01150502U (ja) * | 1988-04-07 | 1989-10-18 | ||
| US20150266600A1 (en) * | 2014-03-23 | 2015-09-24 | Vp Sheets Ltd | Device and Method for Atmosphere Modification in a Container During the Sealing Process |
Cited By (2)
| Publication number | Priority date | Publication date | Assignee | Title |
|---|---|---|---|---|
| CN112773137A (zh) * | 2020-12-20 | 2021-05-11 | 中山市瑞米智能科技有限公司 | 自动取料机及取料方法 |
| CN112773137B (zh) * | 2020-12-20 | 2024-04-16 | 中山市瑞米智能科技有限公司 | 自动取料机及取料方法 |
Also Published As
| Publication number | Publication date |
|---|---|
| JP7473938B2 (ja) | 2024-04-24 |
Similar Documents
| Publication | Publication Date | Title |
|---|---|---|
| US11298833B2 (en) | Gripper, grasping device, and industrial robot | |
| EP4316777A3 (en) | Fluid delivery assembly for a spray gun | |
| US10875196B2 (en) | Gripping device and industrial robot | |
| WO2011135450A1 (en) | Grasping apparatus having bag members filled by a granular substance | |
| CN105188953A (zh) | 用于手持式喷涂装置的涂料罐适配器 | |
| US9651084B1 (en) | Suction cup covers | |
| JP2020079117A (ja) | 減圧用装置及び減圧用装置を用いた容器内部の減圧方法 | |
| CN110304597B (zh) | 开闭机构、开闭方法以及开闭结构 | |
| EP3689558B1 (en) | Gripping device and industrial robot | |
| EP3878639A3 (en) | Scrolls that vacuum secure objects to complex surfaces | |
| WO2019167652A1 (ja) | 把持装置及び産業用ロボット | |
| WO2006008337A1 (en) | Pressure testing apparatus and method for pressure testing | |
| EP3020646A1 (en) | Pallet and conveyance system | |
| US20100012656A1 (en) | Spackle container lid | |
| WO2008082861A1 (en) | Pulverulent material transport | |
| EP3038147B1 (en) | Gas purge device and gas purge method | |
| PL3980191T3 (pl) | Sposób i urządzenie do malowania obudowy sprężarki lub pompy próżniowej | |
| US20110147381A1 (en) | Spackle container lid having working surface | |
| JP2014172613A (ja) | 蓋付き金属缶 | |
| TW202227356A (zh) | 開閉構件 | |
| US10981414B2 (en) | Paint can squeegee apparatus | |
| WO2008146738A1 (ja) | 基板搬送システム | |
| CA3106185A1 (en) | Dispensing lid and pump for a paint pail | |
| JP2017222998A (ja) | 止水部材 | |
| KR200482236Y1 (ko) | 부착장치 |
Legal Events
| Date | Code | Title | Description |
|---|---|---|---|
| A521 | Request for written amendment filed |
Free format text: JAPANESE INTERMEDIATE CODE: A523 Effective date: 20191101 |
|
| A621 | Written request for application examination |
Free format text: JAPANESE INTERMEDIATE CODE: A621 Effective date: 20220902 |
|
| A977 | Report on retrieval |
Free format text: JAPANESE INTERMEDIATE CODE: A971007 Effective date: 20230628 |
|
| A131 | Notification of reasons for refusal |
Free format text: JAPANESE INTERMEDIATE CODE: A131 Effective date: 20230704 |
|
| A521 | Request for written amendment filed |
Free format text: JAPANESE INTERMEDIATE CODE: A523 Effective date: 20230828 |
|
| A131 | Notification of reasons for refusal |
Free format text: JAPANESE INTERMEDIATE CODE: A131 Effective date: 20231205 |
|
| TRDD | Decision of grant or rejection written | ||
| A01 | Written decision to grant a patent or to grant a registration (utility model) |
Free format text: JAPANESE INTERMEDIATE CODE: A01 Effective date: 20240402 |
|
| A61 | First payment of annual fees (during grant procedure) |
Free format text: JAPANESE INTERMEDIATE CODE: A61 Effective date: 20240405 |
|
| R150 | Certificate of patent or registration of utility model |
Ref document number: 7473938 Country of ref document: JP Free format text: JAPANESE INTERMEDIATE CODE: R150 |
