JP2020013810A - Non-contact power supply device, coil, and manufacturing method of coil - Google Patents

Non-contact power supply device, coil, and manufacturing method of coil Download PDF

Info

Publication number
JP2020013810A
JP2020013810A JP2018133006A JP2018133006A JP2020013810A JP 2020013810 A JP2020013810 A JP 2020013810A JP 2018133006 A JP2018133006 A JP 2018133006A JP 2018133006 A JP2018133006 A JP 2018133006A JP 2020013810 A JP2020013810 A JP 2020013810A
Authority
JP
Japan
Prior art keywords
section
wire
winding
coil
parallel
Prior art date
Legal status (The legal status is an assumption and is not a legal conclusion. Google has not performed a legal analysis and makes no representation as to the accuracy of the status listed.)
Granted
Application number
JP2018133006A
Other languages
Japanese (ja)
Other versions
JP7199170B2 (en
Inventor
秀樹 松本
Hideki Matsumoto
秀樹 松本
聖 三浦
Sei Miura
聖 三浦
野内 健太郎
Kentaro Nouchi
健太郎 野内
Current Assignee (The listed assignees may be inaccurate. Google has not performed a legal analysis and makes no representation or warranty as to the accuracy of the list.)
SWCC Corp
Original Assignee
SWCC Showa Cable Systems Co Ltd
Priority date (The priority date is an assumption and is not a legal conclusion. Google has not performed a legal analysis and makes no representation as to the accuracy of the date listed.)
Filing date
Publication date
Application filed by SWCC Showa Cable Systems Co Ltd filed Critical SWCC Showa Cable Systems Co Ltd
Priority to JP2018133006A priority Critical patent/JP7199170B2/en
Publication of JP2020013810A publication Critical patent/JP2020013810A/en
Application granted granted Critical
Publication of JP7199170B2 publication Critical patent/JP7199170B2/en
Active legal-status Critical Current
Anticipated expiration legal-status Critical

Links

Images

Classifications

    • YGENERAL TAGGING OF NEW TECHNOLOGICAL DEVELOPMENTS; GENERAL TAGGING OF CROSS-SECTIONAL TECHNOLOGIES SPANNING OVER SEVERAL SECTIONS OF THE IPC; TECHNICAL SUBJECTS COVERED BY FORMER USPC CROSS-REFERENCE ART COLLECTIONS [XRACs] AND DIGESTS
    • Y02TECHNOLOGIES OR APPLICATIONS FOR MITIGATION OR ADAPTATION AGAINST CLIMATE CHANGE
    • Y02TCLIMATE CHANGE MITIGATION TECHNOLOGIES RELATED TO TRANSPORTATION
    • Y02T10/00Road transport of goods or passengers
    • Y02T10/60Other road transportation technologies with climate change mitigation effect
    • Y02T10/70Energy storage systems for electromobility, e.g. batteries
    • YGENERAL TAGGING OF NEW TECHNOLOGICAL DEVELOPMENTS; GENERAL TAGGING OF CROSS-SECTIONAL TECHNOLOGIES SPANNING OVER SEVERAL SECTIONS OF THE IPC; TECHNICAL SUBJECTS COVERED BY FORMER USPC CROSS-REFERENCE ART COLLECTIONS [XRACs] AND DIGESTS
    • Y02TECHNOLOGIES OR APPLICATIONS FOR MITIGATION OR ADAPTATION AGAINST CLIMATE CHANGE
    • Y02TCLIMATE CHANGE MITIGATION TECHNOLOGIES RELATED TO TRANSPORTATION
    • Y02T10/00Road transport of goods or passengers
    • Y02T10/60Other road transportation technologies with climate change mitigation effect
    • Y02T10/7072Electromobility specific charging systems or methods for batteries, ultracapacitors, supercapacitors or double-layer capacitors
    • YGENERAL TAGGING OF NEW TECHNOLOGICAL DEVELOPMENTS; GENERAL TAGGING OF CROSS-SECTIONAL TECHNOLOGIES SPANNING OVER SEVERAL SECTIONS OF THE IPC; TECHNICAL SUBJECTS COVERED BY FORMER USPC CROSS-REFERENCE ART COLLECTIONS [XRACs] AND DIGESTS
    • Y02TECHNOLOGIES OR APPLICATIONS FOR MITIGATION OR ADAPTATION AGAINST CLIMATE CHANGE
    • Y02TCLIMATE CHANGE MITIGATION TECHNOLOGIES RELATED TO TRANSPORTATION
    • Y02T90/00Enabling technologies or technologies with a potential or indirect contribution to GHG emissions mitigation
    • Y02T90/10Technologies relating to charging of electric vehicles
    • Y02T90/14Plug-in electric vehicles

Landscapes

  • Coils Of Transformers For General Uses (AREA)

Abstract

【課題】規定の性能が得られ、間隔保持部材を用いることなくハンドリング性良くコイルの形状を保持できるようにする。【解決手段】本発明のコイル20は、電線を複数回巻回して形成するコイル20であって、巻きはじめから、第N、第(N+1)、第(N+2)巻き目の電線が離間して曲線状に配置されるコーナー区間A1(但し、Nは1以上の整数)と、コーナー区間A1の巻線方向両側に、一巻きおきの第N巻き目の電線と第(N+2)巻き目の電線が一定の間隔をおいて平行に配線される平行区間であり、第(N+1)巻き目の電線が前記間隔内で蛇行して平行区間内で他の平行な巻き目の電線と離間する第1離間区間P3と、第1離間区間P3の両側に配置され、第(N+1)巻き目の電線が、平行な巻き目の電線のいずれかに当接する第1および第2当接区間P1、P2とを有する直線区間A2とを有する。【選択図】図1PROBLEM TO BE SOLVED: To obtain a specified performance and to maintain a coil shape with good handleability without using an interval holding member. SOLUTION: The coil 20 of the present invention is a coil 20 formed by winding an electric wire a plurality of times, and the electric wires of the Nth, (N + 1), and (N + 2) windings are separated from each other from the beginning of winding. The corner section A1 (where N is an integer of 1 or more) arranged in a curved line, and the Nth winding wire and the (N + 2) winding wire every other winding on both sides of the corner section A1 in the winding direction. Is a parallel section in which is wired in parallel at regular intervals, and the first (N + 1) winding wire meanders within the interval and is separated from other parallel winding wires in the parallel section. The first and second contact sections P1 and P2, which are arranged on both sides of the separation section P3 and the first separation section P3 and in which the wire of the first (N + 1) winding abuts on any of the wires of the parallel winding. Has a straight section A2 and has. [Selection diagram] Fig. 1

Description

本発明は、非接触給電装置、コイルおよびコイルの製造方法に関する。   The present invention relates to a non-contact power supply device, a coil, and a method for manufacturing a coil.

近年、無人搬送車や電気自動車の給電システムに非接触給電の採用が検討されている。   2. Description of the Related Art In recent years, the adoption of non-contact power supply for power supply systems for automatic guided vehicles and electric vehicles has been studied.

非接触給電の技術は、例えば給電所の路面に埋め込むようにして設けた送電用(1次側)の平面コイル(地上側コイル)と電気自動車の底部に設けた受電用(2次側)の平面コイル(車両側コイル)とを一定の間隔、例えば数十cm程度の間隔で対向させて電力を無線送電することで電気自動車に給電する技術である。   The non-contact power supply technology includes, for example, a power transmission (primary side) planar coil (ground side coil) provided to be embedded in a road surface of a power supply station and a power reception (secondary side) provided at the bottom of an electric vehicle. This is a technique in which a flat coil (vehicle-side coil) is opposed at a fixed interval, for example, an interval of about several tens of cm, and wirelessly transmits electric power to supply power to an electric vehicle.

非接触給電においては電力の伝送効率が高いことが求められ、これに使用されるコイルについても損失が少ないことが必要とされる。よって、非接触給電に使用するコイルは銅損を小さくする、すなわち交流抵抗を小さくする必要がある。   In non-contact power feeding, high power transmission efficiency is required, and a coil used for the power transmission is required to have low loss. Therefore, it is necessary to reduce the copper loss, that is, the AC resistance of the coil used for the non-contact power supply.

電気自動車の非接触給電に用いる平面コイルは、駆動周波数、コイルのずれを含めた最少伝送効率、地上側コイルと車両側コイルとの位置ずれの許容範囲などが規格化されつつあり、この規格に向けて各社が競合して、より性能のよい製品を開発することになる。   For planar coils used for non-contact power supply for electric vehicles, drive frequency, minimum transmission efficiency including coil displacement, allowable range of displacement between ground side coil and vehicle side coil, etc. are being standardized. Companies will compete to develop better products.

実際にコイルを給電所や車両に設置する場合は、さらにコイルの外形、内径、巻き数なども指定されることがあり、その中でコイルの交流抵抗を小さくして損失を押さえつつ、コイル形状保持のための強度も保持したコイルを作成することが求められる。   When actually installing the coil in a power supply station or vehicle, the outer shape, inner diameter, number of turns, etc. of the coil may also be specified. It is required to create a coil that also maintains the strength for holding.

コイルの交流抵抗に影響を与える要因としては、次の2つの要因が考えられる。第1の要因は、巻線用線材の導体断面積に依存する直流抵抗であり、第2の要因は、周波数や線材の撚り構成、コイル形態などにより変わる近接効果と表皮効果による損失である。   The following two factors can be considered as factors affecting the AC resistance of the coil. The first factor is a DC resistance depending on the conductor cross-sectional area of the wire for winding, and the second factor is a loss due to a proximity effect and a skin effect which change depending on a frequency, a twist configuration of the wire, a coil form, and the like.

特に非接触給電においてはkHzオーダーの高周波帯で利用されるため、第2の要因の影響が大きくなる。この第2の要因の影響を軽減するには、線材にリッツ線を用い、コイルの形態としては、巻線間に隙間を設けて巻くコイル(以下これを「ギャップ巻きコイル」と称す」が適する。   In particular, in the non-contact power supply, since it is used in a high-frequency band on the order of kHz, the influence of the second factor becomes large. In order to reduce the influence of the second factor, a coil wound with a gap between windings (hereinafter referred to as a “gap wound coil”) is suitable as a coil using a litz wire as a wire material. .

上記事情を鑑み、非接触給電に用いる従来のコイルは、細い複数のエナメル線を撚り合わせて形成したリッツ線(絶縁導体)を平面的に渦巻き状にかつ巻線間に隙間を設けて巻回して形成する。   In view of the above circumstances, a conventional coil used for non-contact power feeding is configured such that a litz wire (insulated conductor) formed by twisting a plurality of thin enamel wires is wound spirally in a plane and with a gap between the windings. Formed.

ところで、巻線間に隙間を設けると単純にいっても、製造現場では、コイルとしての製品を搬送したり、製造中もコイルを移送する作業を行うことやコイルのインダクタンスの変動を抑えることから、線材をコイルの形状に巻回する工程での製造性(自動巻線機での線材の巻き易さ)やその後の形状保持やハンドリング性を考慮する必要がある。   By the way, if a gap is provided between the windings, at the manufacturing site, it is necessary to transport the product as a coil, transfer the coil during manufacturing, and suppress the fluctuation of the coil inductance. In addition, it is necessary to consider the manufacturability in the step of winding the wire into a coil shape (easiness of winding the wire by an automatic winding machine) and the subsequent shape retention and handling.

巻線間に隙間を設ける従来の技術は、隙間を設けた溝を渦巻状に形成した支持基板を用意し、その支持基板の溝に電線を手作業ではめ込んでいく「溝はめ込み構造」、または巻線間にスペーサを設けて巻線を巻く「スペーサ構造」などの技術がある(例えば特許文献1参照)。   The conventional technique of providing a gap between the windings is to prepare a support substrate in which a groove provided with a gap is formed in a spiral shape, and manually insert an electric wire into the groove of the support substrate, a `` groove fitting structure '', or There is a technique such as a “spacer structure” in which a spacer is provided between windings and the winding is wound (for example, see Patent Document 1).

「溝はめ込み構造」のコイルの場合、支持基板を用意するため支持基板の部材コストに加え、製造上のコストアップ、さらにはコイルユニットのサイズも大きくなるため搬送費用のアップに繋がる等の問題点がある。また「スペーサ構造」のコイルについてもスペーサという間隔保持部材が必要なため、「溝はめ込み構造」とほぼ同様に部材コストや製造コストがアップするといった問題が生じる。   In the case of a coil with a “groove fitting structure”, in addition to the cost of the support substrate, the cost of manufacturing is increased due to the preparation of the support substrate, and the size of the coil unit is also increased, leading to an increase in transportation costs. There is. In addition, since a coil having a "spacer structure" also requires a spacing member called a spacer, there is a problem that the member cost and manufacturing cost increase substantially in the same manner as in the "groove fitting structure".

特開2008‐60432号公報JP 2008-60432 A

このように通電線を平面的に巻回する従来のコイル場合、コイルの形状保持のため、溝を形成した支持基板を用意したり、巻線間にスペーサを介挿して隙間を保持しつつハンドリング性を確保する必要があり、スペーサや基板などの部品コストがかかり、またその作業のため、製造効率が低下するという問題がある。   In the case of a conventional coil in which a current-carrying wire is wound in a plane as described above, a supporting substrate having a groove formed is prepared for maintaining the shape of the coil, or a spacer is interposed between the windings to handle while maintaining a gap. Therefore, there is a problem that the cost of parts must be ensured, the cost of parts such as a spacer and a substrate is increased, and the work reduces production efficiency.

そこで、本発明は、上記課題を解決するためになされたものであり、規定の性能が得られ、スペーサやテープなどの間隔保持部材や溝を切った支持基板を用いることなくハンドリング性良くコイル形状を保持できる非接触給電装置、コイルおよびコイルの製造方法の提供を目的とする。   Therefore, the present invention has been made to solve the above-described problems, and has a specified performance, and has a coil shape with good handling properties without using a spacing member such as a spacer or tape or a support substrate having a groove. It is an object of the present invention to provide a non-contact power supply device capable of holding a coil, a coil, and a method for manufacturing the coil.

上記目的を達成するために、本発明の一態様に係るコイルは、電線を複数回巻回して形成するコイルであって、巻きはじめから、第N、第(N+1)、第(N+2)巻き目の電線が離間して曲線状に配置されるコーナー区間(但し、Nは1以上の整数)と、コーナー区間の巻線方向両側に、一巻きおきの電線(第N巻き目の電線と第(N+2)巻き目の電線)が一定の間隔をおいて平行に配線される平行区間であり、第(N+1)巻き目の電線が間隔内で蛇行して平行区間内で他の平行な巻き目の電線と離間する第1離間区間と、この第1離間区間の両側に配置され、第(N+1)巻き目の電線が、平行な巻き目の電線のいずれかに当接する第1および第2当接区間を有する直線区間とを有することを特徴とする。   In order to achieve the above object, a coil according to one embodiment of the present invention is a coil formed by winding an electric wire a plurality of times, and includes the Nth, (N + 1) th, and (N + 2) th turns from the beginning of winding. (Where N is an integer equal to or greater than 1), and every other winding (the N-th wire and the ( (N + 2) -th winding) is a parallel section in which the (N + 1) -th winding is meandering within the interval and parallel to another parallel winding in the parallel section. A first separation section separated from the electric wire, and first and second abutments disposed on both sides of the first separation section, wherein the (N + 1) th wire is in contact with one of the parallel winding wires. And a straight section having a section.

本発明の一態様に係る非接触給電装置は、金属製または樹脂製の基板と、前記基板の上に配置した磁心コア板と、この磁心コア板の上に配置した上記コイルとを具備する。   A non-contact power supply device according to one embodiment of the present invention includes a metal or resin substrate, a magnetic core plate disposed on the substrate, and the coil disposed on the magnetic core plate.

本発明の一態様に係るコイルの製造方法は、電線を複数回巻回してコーナー区間と、このコーナー区間の巻線方向両側に直線区間とを有するコイルを形成するコイルの製造方法であって、前記コーナー区間において、巻きはじめから、第N、第(N+1)、第(N+2)巻き目の電線を離間させて曲線状に配置する工程と、直線区間に、一巻きおきの電線が一定の間隔をおいて平行に配線される平行区間を配置する工程と、第(N+1)巻き目の電線が間隔内で蛇行して平行区間内で他の平行な巻き目の電線と離間する第1離間区間を直線区間に配置する工程と、直線区間において第1離間区間の両側に、第(N+1)巻き目の電線が平行な巻き目の電線のいずれかに当接する第1および第2当接区間を配置する工程とを有することを特徴とする。   A method for manufacturing a coil according to one embodiment of the present invention is a method for manufacturing a coil in which a wire is wound a plurality of times to form a coil having a corner section and a straight section on both sides in a winding direction of the corner section, In the corner section, the Nth, (N + 1) th and (N + 2) th winding wires are separated from the beginning of the winding and arranged in a curved line, and in the straight section, every other winding is fixed at a constant interval. Arranging a parallel section that is wired in parallel with the first section, and a first separation section in which the (N + 1) -th winding electric wire meanders within the interval and separates from other parallel winding electric wires within the parallel section. In the straight section, and, on both sides of the first separated section in the straight section, first and second contact sections in which the (N + 1) th wire abuts on one of the parallel wires. And arranging. That.

本発明によれば、規定の性能を得つつ低コストでかつ製造作業性のよい非接触給電装置、コイルおよびコイルの製造方法を提供することができる。   Advantageous Effects of Invention According to the present invention, it is possible to provide a non-contact power supply device, a coil, and a method for manufacturing a coil that are low in cost and have good manufacturing workability while obtaining specified performance.

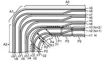
本発明に係る第1実施形態の渦巻き状のコイル(正方形の外形のコイル)の平面図。FIG. 3 is a plan view of a spiral coil (coil having a square outer shape) according to the first embodiment of the present invention. 図1のコイルの要部(コーナー区間A1、直線区間A2の部分)を示す拡大図。The enlarged view which shows the principal part (corner section A1, the part of straight section A2) of the coil of FIG. 図1のコイルにおける電線の離間区間(区間P3、P4)を示す図。FIG. 2 is a diagram showing separated sections (sections P3 and P4) of electric wires in the coil of FIG. 1. コイルのコーナー部の半径R1、R2の中心位置をつなぐ直線を示す拡大図。FIG. 4 is an enlarged view showing a straight line connecting the center positions of the radii R1 and R2 of the corners of the coil. 第2実施形態の渦巻き状のコイル(長方形状の外形のコイル)の平面図。The top view of the spiral coil (coil of a rectangular external shape) of 2nd Embodiment. 図5のコイルの要部(コーナー区間A1、直線区間A2の部分)を示す拡大図。FIG. 6 is an enlarged view showing a main part (a section of a corner section A1 and a straight section A2) of the coil of FIG. 5. 図5のコイルと比較例とを対比した周波数‐交流抵抗特性図。FIG. 6 is a frequency-AC resistance characteristic diagram comparing the coil of FIG. 5 with a comparative example. 第1、第2実施形態のコイルを用いた非接触給電装置を示す図1のB−B断面図。The BB sectional view of Drawing 1 showing the non-contact electric supply using the coil of a 1st, 2nd embodiment.

以下、本発明の実施の形態を図面に基づき説明する。
非接触給電装置は、1次側の非接触送電装置と2次側の非接触受電装置とを対向配置して構成される。電力を供給する側である1次側の非接触送電装置と電力を受ける側の2次側の非接触受電装置は、コイルの部分の要素はほぼ同じ要素で構成されており、ここでは、一方の側について説明するが、他方の側も同様であることは言うまでもない。
Hereinafter, embodiments of the present invention will be described with reference to the drawings.
The non-contact power supply device is configured by arranging a primary-side non-contact power transmission device and a secondary-side non-contact power reception device in opposition to each other. The primary-side non-contact power transmission device, which supplies power, and the secondary-side non-contact power reception device, which receives power, have substantially the same coil elements, and in this case, This side will be described, but it goes without saying that the other side is also the same.

(第1実施形態)
以下、本発明に係る第1実施形態のコイル20を図1、図2を参照して説明する。図1は本発明に係る第1実施形態の渦巻き状のコイル(コーナー蛇行巻きコイル)の平面図、図2は要部(コーナー区間A1、直線区間A2、それぞれの一部の区間P1〜P4)の拡大図である。
(1st Embodiment)
Hereinafter, the coil 20 according to the first embodiment of the present invention will be described with reference to FIGS. FIG. 1 is a plan view of a spiral coil (corner winding coil) according to a first embodiment of the present invention, and FIG. 2 is a main part (corner section A1, straight section A2, and some sections P1 to P4 of each section). FIG.

図1、図2に示すように、本発明に係る第1実施形態のコイル20は、一本の電線または絶縁導体としてのリッツ線22を、最内周の位置A0から巻線方向Cへ巻き始めて、電線が湾曲して配置されるコーナー区間A1と、電線が一巻おきに直線状に配置される直線区間A2とを設けるように渦巻き状に平らに並べて(平面的に)巻回して形成(製造)した外形がほぼ方形状(コーナー区間A1に丸みをつけている)のコイルである。   As shown in FIGS. 1 and 2, the coil 20 of the first embodiment according to the present invention winds a single wire or a litz wire 22 as an insulated conductor from a position A0 on the innermost circumference in a winding direction C. For the first time, it is formed by spirally laying flatly (in a plane) so as to provide a corner section A1 where the electric wire is curved and arranged and a straight section A2 where the electric wire is arranged linearly every other turn. The (manufactured) coil has a substantially square shape (the corner section A1 is rounded).

直線区間A2は、奇数巻き目の電線n1、n3、n5、n7、n9が一巻きおきに一定の間隔をおいて平行に配置される平行区間であり、偶数巻き目の電線n2、n4、n6、n8が間隔内を蛇行し、平行な配線n1、n3、n5、n7、n9に当接および離間するように配置される。   The straight section A2 is a parallel section in which the odd-numbered electric wires n1, n3, n5, n7, and n9 are arranged in parallel at regular intervals every other turn, and the even-numbered electric wires n2, n4, and n6. , N8 meander within the interval, and are arranged so as to abut and separate from the parallel wires n1, n3, n5, n7, n9.

直線区間A2(平行区間内)には、その中央部に、偶数巻き目の電線n2、n4、n6、n8が他の平行な奇数巻き目の電線n1、n3、n5、n7、n9と離間する第1離間区間である区間P3が配置されている。
区間P3の両側には、偶数巻き目の電線n2、n4、n6、n8が、平行な奇数巻き目の電線線n1、n3、n5、n7、n9のいずれかに当接する区間P1,P2が配置されている。区間P3の左側に配置される区間P1を第1当接区間という。区間P3の右側に配置される区間を第2当接区間P2という。
In the straight section A2 (within the parallel section), even-numbered wires n2, n4, n6, and n8 are separated from other parallel odd-numbered wires n1, n3, n5, n7, and n9 at the center. A section P3, which is a first separated section, is arranged.
On both sides of the section P3, sections P1 and P2 where even-numbered electric wires n2, n4, n6, and n8 abut on any of the parallel odd-numbered electric wire lines n1, n3, n5, n7, and n9 are arranged. Have been. The section P1 arranged on the left side of the section P3 is referred to as a first contact section. A section arranged on the right side of the section P3 is referred to as a second contact section P2.

区間P1は、奇数巻き目の電線n1とその外周側の偶数巻き目の電線n2とが当接し、かつ偶数巻き目の電線n2とその外周側の奇数巻き目の電線n3が離間する区間である。
区間P2は、奇数巻き目の電線n1とその外周側の偶数巻き目の電線n2が離間し、かつ偶数巻き目の電線n2とその外周側の奇数巻き目の電線n3が当接する区間である。
The section P1 is a section where the odd-numbered electric wire n1 abuts the even-numbered electric wire n2 on the outer peripheral side thereof, and the even-numbered electric wire n2 and the odd-numbered electric wire n3 on the outer peripheral side thereof are separated from each other. .
The section P2 is a section in which the odd-numbered electric wire n1 and the even-numbered electric wire n2 on the outer peripheral side thereof are separated from each other, and the even-numbered electric wire n2 and the odd-numbered electric wire n3 on the outer peripheral side thereof are in contact with each other.

電線の巻き数をNに置き換え、電線の巻きはじめから第N、第(N+1)、第(N+2)巻き目とした場合、区間P1は、第N巻き目の電線n1と第(N+1)巻き目の電線n2とが当接し、かつ第(N+1)巻き目の電線n2と第(N+2)巻き目の電線n3が離間する区間である。なお、Nは1以上の整数である。
区間P2は、第N巻き目の電線n1と第(N+1)巻き目の電線n2が離間し、かつ第(N+1)巻き目の電線n2と第(N+2)巻き目の電線n3が当接する区間である。
If the number of turns of the electric wire is replaced with N and the Nth, (N + 1) th, and (N + 2) th turns from the beginning of the electric wire winding, the section P1 is the Nth electric wire n1 and the (N + 1) th turn. And the (N + 1) th wire n2 and the (N + 2) th wire n3 are separated from each other. Note that N is an integer of 1 or more.
The section P2 is a section where the electric wire n1 of the Nth winding and the electric wire n2 of the (N + 1) th winding are separated, and the electric wire n2 of the (N + 1) th winding and the electric wire n3 of the (N + 2) th winding are in contact with each other. is there.

コーナー区間A1は、各巻き目の電線n1、n2、n3…n7、n8、n9が離間して曲線状に配置される。つまり第N、第(N+1)、第(N+2)巻き目…の電線が離間して曲線状に配置される。   In the corner section A1, the electric wires n1, n2, n3,..., N7, n8, n9 of the respective windings are arranged in a curved shape with a distance. That is, the N-th, (N + 1) -th, (N + 2) -th, etc. electric wires are spaced apart and arranged in a curved shape.

コーナー区間A1において、奇数巻き目の電線n1、n3、n5、n7、n9が描く弧(曲線)の半径R1と、偶数巻き目の電線n2、n4、n6、n8が描く弧(曲線)の半径R2は例えば40.0mm(R40と称す)であり、互いの半径R1、R2は同径である。なお、互いの半径R1、R2は異なっていてもよい。   In the corner section A1, the radius (R1) of the arc (curve) drawn by the odd-numbered electric wires n1, n3, n5, n7, and n9 and the radius (arc) drawn by the even-numbered electric wires n2, n4, n6, and n8. R2 is, for example, 40.0 mm (referred to as R40), and the radii R1 and R2 are the same. Note that the radii R1 and R2 may be different from each other.

コーナー区間A1には、区間P4が配置される。区間P4は、巻線方向の手前に配置される直線区間A2における第(N+1)巻き目の電線(例えば電線n2)と第N巻き目の電線(例えば電線n1)との当接から、巻線方向の先に配置される区間P2における第(N+1)巻き目の電線(例えば電線n2)と第(N+2)巻き目の電線(例えば電線n3)との当接に切り替わる第2離間区間である。   A section P4 is arranged in the corner section A1. The section P4 starts from the contact between the (N + 1) -th wire (for example, the wire n2) and the N-th wire (for example, the wire n1) in the straight section A2 disposed in the front of the winding direction. This is a second separation section in which the (N + 1) -th wire (for example, the wire n2) and the (N + 2) -th wire (for example, the wire n3) are brought into contact with each other in a section P2 disposed earlier in the direction.

この巻き方のコイル20を、コーナー区間A1では、奇数巻き目の電線n1、n3、n5、n7、n9と偶数巻き目の電線n2、n4、n6、n8の曲線部(弧の部分)を半径R1,R2とも同径で巻き、かつ隣接する電線どうし(例えば電線n1と電線n2、電線n2と電線n3など)を離間させて、コーナー区間A1の両側の直線区間A2(コーナー区間A1の手前の区間P1とコーナー区間A1の先の区間P2)で電線どうしを当接させる構造であることから、「コーナー蛇行巻きコイル」と称す。   In the corner section A1, the radius of the curved portion (arc portion) of the odd-numbered wires n1, n3, n5, n7, and n9 and the even-numbered wires n2, n4, n6, and n8 is determined. R1 and R2 are wound with the same diameter, and the adjacent electric wires (for example, the electric wire n1 and the electric wire n2, the electric wire n2 and the electric wire n3) are separated from each other, and the straight section A2 on both sides of the corner section A1 (before the corner section A1). Since the wires are in contact with each other in the section P1 and the section P2 before the corner section A1, they are referred to as "corner winding coils".

コイル20の巻回には、渦巻状の溝が形成された金型(巻回治具)を用いた自動巻回装置を用いる。自動巻回装置は、リッツ線22の送り出し位置を固定し、巻回治具の溝にリッツ線22のあてがい、リッツ線22を送り出しながら巻回治具を平面的に回転させて溝にリッツ線22を順に嵌め込んでいく装置である。   For winding the coil 20, an automatic winding device using a mold (winding jig) having a spiral groove is used. The automatic winding device fixes the sending position of the litz wire 22, applies the litz wire 22 to the groove of the winding jig, rotates the winding jig planarly while feeding the litz wire 22, and inserts the litz wire into the groove. 22 is a device that is fitted in order.

平面的に渦巻き状に巻回しただけのコイル20は、金型(巻回治具)から取り出す際や搬送時にばらけてしまうため、金型(巻回治具)に嵌め込んだ図1の状態で接着剤を散布して、巻線どうしの当接部を接着し、接着剤が固化するまでの一定時間放置した後、ハンドリングするものとする。当接部の接着には、例えば熱融着繊維を巻き付けたリッツ線22を利用して加熱による接着を行ってもよく、最外層に自己融着層を設けた自己融着線を用いて熱溶着あるいは溶剤接着してもよく、また、リッツ線22にアセテート糸を巻き付けて溶剤接着してもよい。   The coil 20 which is simply wound in a spiral shape in a plane is disintegrated at the time of taking out from the mold (winding jig) or at the time of transportation, so that the coil 20 of FIG. 1 fitted into the mold (winding jig) is used. The adhesive is sprayed in this state, the contact portions between the windings are adhered to each other, and the winding is left for a certain period of time until the adhesive is solidified, and then handled. The bonding of the contact portions may be performed by heating using, for example, a litz wire 22 wrapped with a heat-fusible fiber, and may be performed by using a self-fusing wire provided with a self-fusing layer on the outermost layer. Welding or solvent bonding may be used, or an acetate thread may be wound around the litz wire 22 and solvent bonded.

つまりコイル20は、リッツ線22をほぼ平らに並べながら巻回し、線間に離間部と当接部を規則的に設けて全体として渦巻き状にしたものであり、形状維持のため当接部を接着剤で接着(固着)し、さらにリッツ線22の両端に一対の圧着端子21、24を接続したものである。圧着端子21、24を両端に取り付けるのは接着する前であっても後でもよい。   In other words, the coil 20 is formed by winding the litz wire 22 while arranging it almost flat, and regularly forming a separation portion and a contact portion between the wires to form a spiral shape. It is bonded (fixed) with an adhesive, and a pair of crimp terminals 21 and 24 are connected to both ends of the litz wire 22. The crimp terminals 21 and 24 may be attached to both ends before or after bonding.

リッツ線22は、複数のエナメル線を撚り合わせて束にして形成した線材群である。なお、この例では、線の直径が例えば4.4mm程度のリッツ線22を用いている。この例以外の通電用の電線としては、例えば絶縁被覆していない導体(銅やアルミニウムを材料とする線)や、最外層に自己融着層を設けた自己融着線などを用いてもよい。   The litz wire 22 is a wire group formed by twisting a plurality of enamel wires and forming a bundle. In this example, a litz wire 22 having a wire diameter of, for example, about 4.4 mm is used. As a current-carrying electric wire other than this example, for example, a conductor without insulation coating (a wire made of copper or aluminum), a self-fused wire having a self-fused layer provided on the outermost layer, or the like may be used. .

圧着端子21は、リッツ線22の内側の一端と接続されるものであって、概略的に圧着部と、固定用の孔が設けられた固定部とから構成されている。圧着部は、筒形状の金属部材によって構成されており、リッツ線22のエナメル被覆を除去した導体部を挿入し加締め加工することで線材と金属部とを圧着一体化し、圧着端子21をリッツ線22に固定する。圧着端子24は、リッツ線22の外側の一端と接続されるものであり、圧着端子21と同じものである。   The crimp terminal 21 is connected to one end on the inner side of the litz wire 22 and roughly includes a crimp portion and a fixing portion provided with a fixing hole. The crimping portion is formed of a cylindrical metal member, and the conductor portion from which the enamel coating of the litz wire 22 has been removed is inserted and crimped, whereby the wire and the metal portion are crimped and integrated, and the crimp terminal 21 is litz-bonded. Secure to line 22. The crimp terminal 24 is connected to one end outside the litz wire 22 and is the same as the crimp terminal 21.

図2に示すように、このコイル20は、巻回一周のうちに4つの電線配線区間P1〜P4(以下「区間P1〜P4」と称す)P1〜P4を設けるように巻回されている。直線区間A2には、区間P2、区間P3、区間P1が配置されており、コーナー区間A1に区間P4が配置されている。直線区間A2からコーナー区間A1へ電線を巻き進める方向でいうと、区間P2、区間P3、区間P1、区間P4の順に繰り返すように各区間P1〜P4が配置されている。   As shown in FIG. 2, the coil 20 is wound so as to provide four electric wire wiring sections P1 to P4 (hereinafter referred to as “sections P1 to P4”) P1 to P4 in one round of winding. A section P2, a section P3, and a section P1 are arranged in the straight section A2, and a section P4 is arranged in the corner section A1. In the direction of winding the electric wire from the straight section A2 to the corner section A1, the sections P1 to P4 are arranged so as to repeat in the order of the section P2, the section P3, the section P1, and the section P4.

区間P1(第1当接区間)は、巻き始めから第N巻き目の電線(内側から第一巻き目の場合は電線n1)と第(N+1)巻き目の電線(内側から第二巻き目の場合は電線n2)が当接する当接部位と、第(N+1)巻き目の電線(内側から第二巻き目の電線n2)と第(N+2)巻き目の電線(内側から第三巻き目の場合は電線n3)が離間する離間部位とを有する区間である。なおNは1以上の整数とする。   The section P1 (first contact section) includes the N-th wire from the start of winding (the wire n1 in the case of the first winding from the inside) and the (N + 1) -th wire (the second winding from the inside). In this case, the abutting portion where the wire n2 abuts, the (N + 1) th wire (the second wire n2 from the inside) and the (N + 2) th wire (the third wire from the inside) Is a section having a separated portion where the electric wire n3) is separated. N is an integer of 1 or more.

区間P2(第2当接区間)は、第N巻き目の電線である電線n1と第(N+1)巻き目の電線である電線n2が離間し、かつ第(N+1)巻き目の電線である電線n2と第(N+2)巻き目の電線である電線n3が当接する部位を有する区間である。   In the section P2 (second contact section), the electric wire n1 that is the Nth electric wire and the electric wire n2 that is the (N + 1) th electric wire are separated from each other, and the electric wire that is the (N + 1) th electric wire. This is a section having a portion where the wire n2 and the wire n3, which is the (N + 2) th wire, are in contact.

区間P3(第1離間区間)は、第(N+1)巻き目の電線である電線n2が、第(N+2)巻き目の電線n3との当接から第N巻き目の電線である電線n1との当接に切り替わる区間である。   In the section P3 (first separated section), the electric wire n2, which is the (N + 1) th electric wire, is connected to the electric wire n1, which is the Nth electric wire, from the contact with the (N + 2) th electric wire n3. This is the section that switches to contact.

換言すると、この区間P3(第1離間区間)は、第2N巻き目の電線である電線n2、n4…が、自線の外側の第(2N+1)巻き目の電線である電線n3、n5…との当接部位から自線の内側の第(2N−1)巻き目の電線である電線n1、n3…の当接部位へ巻き進む向きに横切る(内側に斜めに渡る)区間である。   In other words, in this section P3 (first separated section), the electric wires n2, n4, which are the electric wires of the second Nth winding, and the electric wires n3, n5, which are the electric wires of the (2N + 1) th winding outside the own wire. , Which are the electric wires n1, n3,..., Which are the (2N-1) th winding electric wires inside the own wire, cross the direction in which the electric wires n1, n3,.

区間P4(第2離間区間)は、巻線方向の手前に配置される直線区間A2における第(N+1)巻き目の電線である電線n2が、電線n1との当接から、巻線方向の先に配置される直線区間A2の区間P2における第(N+2)巻き目の電線である電線n3との当接に切り替わる区間である。   In the section P4 (the second separation section), the electric wire n2, which is the (N + 1) th electric wire in the straight section A2 disposed in the front of the winding direction, is positioned from the contact with the electric wire n1 in the winding direction. In the section P2 of the straight section A2, the section is switched to the contact with the electric wire n3 which is the (N + 2) -th winding electric wire.

換言すると、区間P4(第4区間)は、第2N巻き目の電線である電線n2、n4…が、図面に向かって右横側の直線区間A2における第(2N−1)巻き目の電線である電線n1、n3、n5…の当接部位から、図面に向かって左下側の直線区間A2における第(2N+1)巻き目の電線である電線n3、n5…の当接部位へ巻き進む向きに横切る(渡る)区間である。   In other words, the section P4 (fourth section) is the (2N-1) th winding wire in the straight section A2 on the right-hand side of the drawing as the electric wires n2, n4. .. Traverses from the contact portion of a certain electric wire n1, n3, n5... In the direction in which the electric wire n3, n5. (Crossing) section.

区間P4では、区間P4の右側の区間P1から、区間P4の左側の区間P2に向けて各巻き目の電線どうしの当接関係が切り替わるように偶数巻き目の電線n2(第2N巻き目の電線)が巻回されている。つまりこの区間P4では、奇数巻き目の電線n1、n3間の隙間を偶数巻き目の電線n2が斜めに横断するように配置されている。   In the section P4, the even-numbered wire n2 (the second N-th wire) is switched so that the contact relationship between the wires of each winding is switched from the section P1 on the right side of the section P4 to the section P2 on the left side of the section P4. ) Is wound. That is, in this section P4, the even-numbered electric wire n2 is disposed so as to obliquely cross the gap between the odd-numbered electric wires n1 and n3.

換言すると、区間P4では、偶数巻き目の電線n2、n4…が、奇数巻き目の電線n1、n3、n5…間の隙間を奇数巻き目の電線n1、n3、n5…が曲線を描く半径R1の中心位置とは異なる中心位置を持つ半径R2の曲線を描いて横切るように配置される。なお、半径の中心位置には、半径を描く中心点や中心点をつなぐ線などが含まれる。   In other words, in the section P4, the even-numbered wires n2, n4,..., And the odd-numbered wires n1, n3, n5. Are arranged so as to cross and draw a curve with a radius R2 having a center position different from the center position. Note that the center position of the radius includes a center point for drawing the radius, a line connecting the center points, and the like.

図2に示すように、区間P4の偶数巻目の電線n2…は、区間P4の片側(右側)に隣接する第1区間P1の第1当接部位31と、区間P4の他の片側(左下側)に隣接する区間P1の第2当接部位32とを結ぶような弧の中心を持つ半径R2で巻回される。   As shown in FIG. 2, the even-numbered electric wires n2... Of the section P4 include the first contact portion 31 of the first section P1 adjacent to one side (right side) of the section P4 and the other side (lower left) of the section P4. Side) is wound with a radius R2 having an arc center connecting the second contact portion 32 of the section P1 adjacent to the section P1.

例えば電線n1、n2、n3を例にしてコイル20の巻回構造を説明すると、コーナー区間A1と直線区間A2とを有する外形がほぼ方形状のコイル20を4つの区間P1〜P4に分けて、区間P1、P2では平行な奇数巻き目の電線n1、n3の間で偶数巻き目の電線n2を蛇行させて当接および離間させる。   For example, the winding structure of the coil 20 will be described using the electric wires n1, n2, and n3 as an example. The coil 20 having a substantially square outer shape having a corner section A1 and a straight section A2 is divided into four sections P1 to P4. In the sections P1 and P2, the even-numbered electric wire n2 is meandered between the parallel odd-numbered electric wires n1 and n3 to abut and separate from each other.

また、区間P3、P4では、電線n1、n2、n3の当接または離間の関係を切り替えるよう偶数巻き目の電線n2を斜めに横断させる。   In the sections P3 and P4, the even-numbered wire n2 is obliquely crossed so as to switch the contact or separation of the wires n1, n2, and n3.

このように巻き目の異なる電線を直線区間A2の区間P3とコーナー区間A1の区間P4で離間させて、その間の区間P1,P2では隣接する電線どうしをほぼ一定の間隔で当接させ、その当接部分を接着することで、コイルとしての形状保持力を向上することができる。   In this manner, the wires having different windings are separated from each other in the section P3 of the straight section A2 and the section P4 of the corner section A1, and in the sections P1 and P2 therebetween, adjacent wires are brought into contact with each other at substantially constant intervals. By bonding the contact portions, the shape retention force as a coil can be improved.

なお、この例では、コイル全体の巻き数を9巻きとしたが、これ以外の巻き数や巻き方にも本願発明は適用可能である。この例では、巻き数の総数を奇数としたが、偶数としてもよく、巻き数自体も増減してもよい。   Note that, in this example, the number of turns of the entire coil is nine, but the present invention is applicable to other numbers of turns and winding methods. In this example, the total number of turns is an odd number, but may be an even number, and the number of turns itself may be increased or decreased.

この例では、外形が四角形(この例のように外形がほぼ方形状の場合は四隅のコーナー区間A1に丸みをつけている)になるようにリッツ線22を渦巻き状に巻回したが、この他、外形をほぼ三角形、ほぼ五角形、ほぼ六角形、ほぼ八角形などの多角形の形状や、ほぼD形状、ほぼ長方形状などにしてもよい。   In this example, the litz wire 22 is spirally wound so that the outer shape is a quadrangle (when the outer shape is substantially square as in this example, the four corner sections A1 are rounded). In addition, the outer shape may be a polygonal shape such as a substantially triangular shape, a substantially pentagonal shape, a substantially hexagonal shape, a substantially octagonal shape, a substantially D shape, a substantially rectangular shape, or the like.

以下、図1に示したコイル20の製造方法を説明する。
この場合、最内周を1巻き目として、リッツ線22を内周側から外周側に向けて複数回巻回してコイル20を形成する。この際、リッツ線22を巻き進めながら区間P1〜P4の配線の状態を形成する。なお、この実施形態では、電線の巻きはじめを最内周側からとしているが、最外周側から巻き始めてもよい。
Hereinafter, a method of manufacturing the coil 20 shown in FIG. 1 will be described.
In this case, the coil 20 is formed by winding the litz wire 22 a plurality of times from the inner peripheral side toward the outer peripheral side with the innermost circumference as the first winding. At this time, the state of the wiring in the sections P1 to P4 is formed while the litz wire 22 is wound. In this embodiment, the winding of the electric wire is started from the innermost peripheral side, but may be started from the outermost peripheral side.

この場合、リッツ線22を、位置A0から巻回方向Cに沿って巻回してゆく上で、初めの一周目(第1巻き目の電線n1)は、コーナー区間A1を除き、リッツ線22を折り曲げることなく、直線的に巻いてゆく。   In this case, when the litz wire 22 is wound along the winding direction C from the position A0, the first round (the first winding wire n1) excluding the corner section A1, the litz wire 22 is wound. Roll it straight without bending.

二周目に入ると、第2巻き目の電線n2は、第1巻き目の電線n1と当接して直ぐにコーナー区間A1に入るため、コーナー区間A1では電線n2を電線n1から分離(分岐)させて半径R2で曲線状に配線する。   In the second round, the electric wire n2 of the second winding enters the corner section A1 immediately after contacting the electric wire n1 of the first winding, so that the electric wire n2 is separated (branched) from the electric wire n1 in the corner section A1. To form a curve with a radius R2.

コーナー区間A1を通過したその先の直線区間A2の区間P2では、電線n2を次の周で巻く電線n3と当接するように配線する。   In the section P2 of the straight section A2 ahead of the corner section A1, the electric wire n2 is wired so as to be in contact with the electric wire n3 wound around the next circumference.

直線区間A2の区間P3では、電線n3との当接位置から電線n2を屈折させることで離間させて電線n1の側へ斜めに巻き進める。   In the section P3 of the straight section A2, the electric wire n2 is bent away from the contact position with the electric wire n3 to be separated from the contact position with the electric wire n3 and wound obliquely toward the electric wire n1.

そして、区間P1では、電線n2は電線n1と当接し、電線n1に沿って巻き進める。   Then, in the section P1, the electric wire n2 comes into contact with the electric wire n1 and is wound along the electric wire n1.

直線区間A2に入る前に、電線n2を電線n1から分離させて、電線n3の側へ半径R2の弧を描くように巻き進める。このように電線n2を残りの半周蛇行させて二周目を終える。   Before entering the straight section A2, the electric wire n2 is separated from the electric wire n1 and wound around the electric wire n3 so as to draw an arc having a radius R2. Thus, the electric wire n2 is meandered for the remaining half of the circumference, and the second round is completed.

次に、三周目(第3巻き目の電線n3)は、初めの一周目(第1巻き目の電線n1)と同様の軌跡でリッツ線22を折り曲げることなく、直線的に巻いてゆく。これで第3巻き目の電線n3は第2巻き目の電線n2と区間P2で当接するようになる。   Next, the third round (the third winding electric wire n3) winds the litz wire 22 in a straight line without bending the litz wire 22 along the same locus as the first round (the first winding electric wire n1). As a result, the third winding wire n3 comes into contact with the second winding wire n2 in the section P2.

このようにして、コーナー区間A1に各巻き目の電線を離間して曲線状に配置し、コーナー区間A1の巻線方向両側に配置した直線区間A2において、奇数巻きの電線n1、n3、n5、n7、n9を一巻きおきに一定の間隔をおいて平行に配置すると共に、奇数巻き目の電線n1、n3、n5、n7、n9の間隔内を偶数巻き目の電線n2、n4、n6、n8が蛇行し、平行な配線n1、n3、n5、n7、n9に当接および離間するように配置する。   In this manner, the electric wires of the respective turns are arranged in a curved shape with a distance from each other in the corner section A1, and the odd-numbered electric wires n1, n3, n5, in the straight section A2 arranged on both sides in the winding direction of the corner section A1. n7 and n9 are arranged in parallel at regular intervals every other turn, and the even-numbered wires n2, n4, n6 and n8 within the intervals of the odd-numbered wires n1, n3, n5, n7 and n9. Meander, and are arranged so as to abut and separate from the parallel wirings n1, n3, n5, n7, n9.

このように第1実施形態の非接触給電装置によれば、各巻き目の電線を離間して曲線状に湾曲して配置するコーナー区間A1と、内周側から奇数巻き目の電線n1、n3…を平行に巻回し、内周側から偶数巻き目の電線n2、n4…を奇数巻き目の電線n1、n3…に当接・離間するように蛇行させる直線区間A2とを形成し、図3に示すように、渦巻状のコイルにほぼ一定の間隔で他の巻き目の電線への切り替える区間(直線区間A2の中央部の区間P3とコーナー区間A1の区間P4)を設け、これら区間P3、P4の両側で他の巻き目との当接部位を形成しそれぞれの当接部位を接着することで、コイルとしての形状保持力が向上し、スペーサや支持基板などを設けることなく、電線間に規則的な隙間(ギャップ)を設けた状態のコイルをハンドリングできるようになり、規定の性能を得つつ低コストでかつコイル製造の作業性のよい非接触給電装置、コイルおよびコイルの製造方法を提供することができる。   As described above, according to the non-contact power supply device of the first embodiment, the corner section A1 in which the electric wires of the respective turns are separated and curved in a curved shape, and the electric wires n1, n3 of the odd-numbered turns from the inner peripheral side. . Are wound in parallel to form a straight section A2 in which the even-numbered wires n2, n4... Meander so as to abut and separate from the odd-numbered wires n1, n3. As shown in FIG. 2, sections (switching sections P3 of the central portion of the straight section A2 and sections P4 of the corner sections A1) for switching to electric wires of other windings are provided at substantially constant intervals in the spiral coil, and these sections P3, By forming contact portions with other windings on both sides of P4 and bonding the respective contact portions, the shape holding force as a coil is improved, and without providing a spacer or a support substrate, between the electric wires. Carp with regular gaps The can now handling workability good non-contact power feeding device of low cost and coil production while obtaining the specified performance, it is possible to provide a manufacturing method of the coil and coil.

また、上記実施形態では、半径R1、R2を同径とし、中心位置を異ならせたが、図4に示すように、奇数巻き目の電線n1、n3…の半径R1の中心位置をつなぐ直線の位置と偶数巻き目の電線n2、n4…の半径R2の中心位置をつなぐ直線の位置とが異なるように(具体的には半径R1、R2の中心位置をつなぐ直線が平行になるように)各巻き目の電線を配置してもよい。互いの半径R1、R2を例えば40.0mm(R40)などにすることが考えられる。このように半径R1、R2を同径とすることで、自動巻き機による電線の自動巻きがしやすくなるという効果が得られる。   Further, in the above embodiment, the radii R1 and R2 have the same diameter and the center positions are different. However, as shown in FIG. 4, a straight line connecting the center positions of the radius R1 of the odd-numbered electric wires n1, n3. Each position is different from the position of a straight line connecting the center positions of the radii R2 of the even-numbered electric wires n2, n4... (Specifically, the straight lines connecting the center positions of the radii R1 and R2 are parallel). A winding electric wire may be arranged. It is conceivable that the radii R1 and R2 are set to, for example, 40.0 mm (R40). By setting the radii R1 and R2 to be the same as described above, an effect is obtained that the electric wire can be easily wound by the automatic winding machine.

(第2実施形態)
次に、図5、図6を参照して第2実施形態を説明する。図6は第2実施形態のコイル(2線1対の長方形状のコイル)を示す平面図、図7はその要部拡大図である。なお第2実施形態において第1実施形態と同じ構成要素には同一の符号を付しその説明は省略する。
(2nd Embodiment)
Next, a second embodiment will be described with reference to FIGS. FIG. 6 is a plan view showing a coil (a pair of two-wire rectangular coils) of the second embodiment, and FIG. 7 is an enlarged view of a main part thereof. In the second embodiment, the same components as those in the first embodiment are denoted by the same reference numerals, and description thereof will be omitted.

図5に示すように、第2実施形態のコイル20は、コーナー区間A1とその両側に直線区間A2とを有するものの、外形(縦幅と横幅)が上記第1実施形態と異なるほぼ長方形状である。このコイル20は、内周側の電線22aと外周側の電線22bからなる一対のリッツ線22a、22bを外形がほぼ長方形状(コーナー区間A1が丸みを帯びている)になるように巻回したものであり、電線自体が第1実施形態と同じ径の線を2本1対で使用したパラレルタイプのものである。   As shown in FIG. 5, although the coil 20 of the second embodiment has a corner section A1 and a straight section A2 on both sides thereof, the outer shape (vertical width and width) of the coil 20 is substantially rectangular different from that of the first embodiment. is there. The coil 20 is formed by winding a pair of litz wires 22a and 22b including an inner wire 22a and an outer wire 22b such that the outer shape is substantially rectangular (the corner section A1 is rounded). The electric wire itself is of a parallel type using two pairs of wires having the same diameter as that of the first embodiment.

それぞれの線の直径が例えば4.4mmのものを2本使用すると、2本分の断面積はおおよそ16.0mmとなり、これは1本のリッツ線22の2倍の導体断面積が得られ、直流抵抗が半減し、損失及び発熱を抑えることができる。また、コイルの磁界分布をより均一化することにも寄与する。 If two wires each having a diameter of, for example, 4.4 mm are used, the cross-sectional area of the two wires is approximately 16.0 mm 2 , which is twice the conductor cross-sectional area of one litz wire 22. , DC resistance is reduced by half, and loss and heat generation can be suppressed. It also contributes to making the magnetic field distribution of the coil more uniform.

この第2実施形態では、区間P1、区間P2、区間P3を直線区間A2に配置し、区間P4をコーナー区間A1に配置しており、第1実施形態と同じように区間P1〜P4が配置されている。   In the second embodiment, the section P1, the section P2, and the section P3 are arranged in the straight section A2, and the section P4 is arranged in the corner section A1, and the sections P1 to P4 are arranged as in the first embodiment. ing.

詳述すると、図6に示すように、コーナー区間A1は、この区間A1の巻線方向C手前に配置される直線区間A2内の区間P1における第(N+1)巻き目の電線n5と第(N)巻き目の電線n4との当接から、この区間A1の巻線方向Cの先に配置される区間P2における第(N+1)巻き目の電線n5と第(N+2)巻き目の電線n6との当接に切り替わる第2離間区間である区間P4を有する。   More specifically, as shown in FIG. 6, the corner section A1 is composed of the (N + 1) -th winding electric wire n5 and the (N + 1) th winding in the section P1 in the straight section A2 disposed before the section A1 in the winding direction C. ) From the contact with the electric wire n4 of the winding, the electric wire n5 of the (N + 1) -th electric wire and the electric wire n6 of the (N + 2) -th electric winding in the section P2 disposed earlier in the winding direction C of this section A1. There is a section P4 that is a second separation section that switches to contact.

このコーナー区間A1において、第N巻き目の電線n4および第(N+2)巻き目の電線n6などの外周側の電線22bが描く弧(曲線)の半径R1は、例えば72.4mm(以下R72.4と称す)である。一方、第(N+1)巻き目の電線n5(内周側の電線22a)が描く弧(曲線)の半径R2は、例えば68.0mm(R68.0)であり、互いの半径R1、R2は異なる。   In this corner section A1, the radius (R1) of the arc (curve) drawn by the outer-side electric wire 22b such as the N-th electric wire n4 and the (N + 2) -th electric wire n6 is, for example, 72.4 mm (hereinafter R72.4). ). On the other hand, the radius (R2) of the arc (curve) drawn by the (N + 1) -th winding wire n5 (the inner wire 22a) is, for example, 68.0 mm (R68.0), and the radii R1 and R2 are different from each other. .

このように2本で一対の電線22a、22bのうち、外側の電線22bと内側の電線22aとを異なる半径にすることで、直線区間の距離が長くなり、当接部位が増えることで、コイルの形状保持力をより向上することができる。なお、内周側と外周側の隣り合う電線どうしの関係でいうと、内周側に位置する電線22aの半径R2よりも外周側に位置する電線22bの半径R1を大きくするものとする。R2(内周側)<R1(外周側)   As described above, the outer wire 22b and the inner wire 22a of the pair of wires 22a and 22b have different radii, so that the distance of the straight section becomes longer and the number of abutting portions increases, thereby increasing the coil. Can be further improved. In addition, in terms of the relationship between the adjacent electric wires on the inner peripheral side and the outer peripheral side, the radius R1 of the electric wire 22b located on the outer peripheral side is larger than the radius R2 of the electric wire 22a located on the inner peripheral side. R2 (inner side) <R1 (outer side)

直線区間A2は、一巻きおきの電線(例えば第N巻き目の電線n4と第(N+2)巻き目の電線n6)が一定の間隔をおいて平行に配線される平行区間を有する。この平行区間には、3つの区間(区間P1、P2、P3)が設けられており、巻線方向Cに区間P2、P3、P1…の順に配置されている。   The straight section A2 has a parallel section in which every other turn of the electric wire (for example, the electric wire n4 of the N-th turn and the electric wire n6 of the (N + 2) -th turn) are wired in parallel at a fixed interval. In this parallel section, three sections (sections P1, P2, P3) are provided, and are arranged in the winding direction C in the order of sections P2, P3, P1,.

区間P3は、平行区間内の中央部に配置されており、第(N+1)巻き目の電線n5が、上記間隔内で斜めに蛇行して他の平行な巻き目の電線(電線n4や電線n6)と離間する第1離間区間である。   The section P3 is disposed at the center of the parallel section, and the (N + 1) -th wire n5 meanders obliquely within the above-mentioned interval and has another parallel wire (the wire n4 or the wire n6). ) Is a first separation section separated from the first section.

区間P3の両側に区間P1と区間P2が配置されている。これら区間P1、P2は、第(N+1)巻き目の電線n5が、隣接する平行な巻き目の電線n4、n6のいずれかに当接する当接区間である。区間P3の左側に配置される区間P1を第1当接区間という。区間P3の右側に配置される区間を第2当接区間P2という。   Sections P1 and P2 are arranged on both sides of the section P3. These sections P1 and P2 are contact sections in which the (N + 1) th wire n5 is in contact with one of the adjacent parallel wires n4 and n6. The section P1 arranged on the left side of the section P3 is referred to as a first contact section. A section arranged on the right side of the section P3 is referred to as a second contact section P2.

区間P1は、第N巻き目の電線n4と第(N+1)巻き目の電線n5とが当接し、かつ第(N+1)巻き目の電線n5と第(N+2)巻き目の電線n6が離間する区間である。   The section P1 is a section in which the Nth winding wire n4 and the (N + 1) th winding wire n5 are in contact with each other, and the (N + 1) th winding wire n5 is separated from the (N + 2) th winding wire n6. It is.

区間P2は、第N巻き目の電線n4と第(N+1)巻き目の電線n5が離間し、かつ第(N+1)巻き目の電線n5と第(N+2)巻き目の電線n6が当接する区間である。   The section P2 is a section in which the Nth electric wire n4 and the (N + 1) th electric wire n5 are separated from each other, and the (N + 1) th electric wire n5 and the (N + 2) th electric wire n6 are in contact with each other. is there.

このコイル20では、直線区間A2のほぼ中央の区間P3とコーナー区間A1(区間P4)で、平行な電線間(例えば電線n4と電線n6の間)を電線n5が斜めに横切るように配線される。   In the coil 20, the electric wire n5 is wired so as to cross obliquely between parallel electric wires (for example, between the electric wires n4 and n6) in a substantially central section P3 and a corner section A1 (section P4) of the straight section A2. .

続いて、第2実施形態のコイル20の製造方法を説明する。
この第2実施形態では、最内周を1巻き目として、内周側のリッツ線22aを内周側から外周側に向けて複数回巻いた後、内周側のリッツ線22aに沿わせるようにして外周側のリッツ線22bを内周側から外周側に向けて複数回巻いて、図5のようなコーナー区間A1と、このコーナー区間A1の巻線方向C両側に直線区間A2とを有するコイル20を形成する。この例では、巻きはじめを最内周側からとしたが、最外周側から巻き始めてもよい。
Next, a method for manufacturing the coil 20 according to the second embodiment will be described.
In the second embodiment, the innermost circumference is the first winding, and the inner circumference side litz wire 22a is wound a plurality of times from the inner circumference side to the outer circumference side, and then along the inner circumference side litz wire 22a. The litz wire 22b on the outer peripheral side is wound a plurality of times from the inner peripheral side to the outer peripheral side to have a corner section A1 as shown in FIG. 5 and a straight section A2 on both sides of the winding direction C of the corner section A1. The coil 20 is formed. In this example, winding is started from the innermost side, but winding may be started from the outermost side.

この際、図6に示すように、コーナー区間A1(区間P4)には、例えば電線n4、電線n5、電線n6などの各巻き目(第N、第(N+1)、第(N+2)巻き目)の電線を離間させて曲線状に配置する。   At this time, as shown in FIG. 6, in the corner section A1 (section P4), for example, the respective turns (the N-th, (N + 1) -th, and (N + 2) -th turns) of the electric wire n4, the electric wire n5, the electric wire n6, and the like. Are separated from each other and arranged in a curved shape.

続いて、直線区間A2では、一巻きおきの電線(第N巻き目の電線n4と第(N+2)巻き目の電線n6)が一定の間隔をおいて平行に配線される平行区間を配置する。   Subsequently, in the straight section A2, a parallel section in which every other turn of the electric wire (the electric wire n4 of the Nth turn and the electric wire n6 of the (N + 2) th turn) are arranged in parallel at a fixed interval is arranged.

第(N+1)巻き目の電線n5が電線n4と電線n6と間隔内で蛇行して平行区間内の中央部で他の平行な巻き目の電線と離間する区間P3を直線区間A2に配置する。   The section P3 in which the electric wire n5 of the (N + 1) th winding meanders within the interval between the electric wires n4 and n6 and is separated from the other parallel winding electric wires at the center in the parallel section is arranged in the straight section A2.

また、直線区間A2では、区間P3の両側に、第(N+1)巻き目の電線n5が平行な巻き目の電線n4、n6のいずれかに当接する区間P1,P2を配置する。   In the straight section A2, on both sides of the section P3, sections P1 and P2 where the (N + 1) th wire n5 abuts on one of the parallel wires n4 and n6 are arranged.

このようにこの第2実施形態によれば、直線区間A2の中央部の区間P3とコーナー区間A1の区間P4で、巻回により隣接する内側のリッツ線22aと外側のリッツ線22bどうしの当接部位を切り替え、特に線どうしが離間するコーナー部A1の両脇に巻き目の異なる線どうしが当接する当接区間(区間P1、P2)を配置し、コイル20の各巻き目の電線どうしを接着する部位(当接部)をコイル20の中心から放射方向に均等に配置し、その当接部位を接着することで、隙間のあるコイルの形状維持力を高めることができる。   As described above, according to the second embodiment, in the central section P3 of the straight section A2 and the section P4 of the corner section A1, the inner litz wire 22a and the outer litz wire 22b that are adjacent to each other by winding are brought into contact with each other. By switching the parts, particularly, contact sections (sections P1 and P2) where different windings are in contact with each other on both sides of the corner A1 where the wires are separated from each other, and the windings of the coil 20 are bonded together. By arranging the portions (contact portions) to be radiated evenly in the radial direction from the center of the coil 20 and bonding the contact portions, the shape maintaining force of the coil having a gap can be increased.

ここで、図7を参照してこの第2実施形態のコイル20(図5のコーナー蛇行巻きコイル)と比較例(リッツ線を一定間隔の隙間を設けながら渦巻き状に巻回したコイル(以下、これを「ギャップ巻きコイル」と称す)とを対比して性能を説明する。   Here, referring to FIG. 7, a coil 20 of the second embodiment (the meandering coil of FIG. 5) and a comparative example (a coil in which a litz wire is spirally wound with a predetermined gap therebetween (hereinafter, referred to as a coil). The performance will be described in comparison with a “gap-wound coil”.

ギャップ巻きコイルは、リッツ線を一定間隔の隙間を設けながら渦巻き状に巻回したコイルである。ギャップ巻きコイルは、リッツ線一巻き毎に所定間隔の隙間を空けた試料としてスタンダードなコイルであり、このギャップ巻きコイルのコイル性能(特性)を規定値としてこれにできるだけ近付けることが望ましい。   The gap-wound coil is a coil in which a litz wire is spirally wound while providing a predetermined gap. The gap-wound coil is a standard coil as a sample in which a gap is provided at a predetermined interval for each turn of the litz wire, and it is desirable that the coil performance (characteristics) of the gap-wound coil be a specified value and be as close as possible to this.

試験条件としては、上記の2つの試料(ギャップ巻きコイルとコーナー蛇行巻きコイル)それぞれについて、コイル両端を既存のLCRメータに接続して、周波数を0〜200kHzまで変化させて交流抵抗を測定したものである。この図7において周波数が0の位置の値(およそ14mΩ)は直流抵抗である。   The test conditions were as follows. For each of the above two samples (gap wound coil and corner meandering coil), both ends of the coil were connected to an existing LCR meter, and the AC resistance was measured while changing the frequency from 0 to 200 kHz. It is. In FIG. 7, the value at the position where the frequency is 0 (about 14 mΩ) is a DC resistance.

計測結果の図7を参照すると、どの周波数においても、本発明のコーナー蛇行巻きコイルは、ギャップ巻きコイルと近似した特性が得られており、規定の性能が得られていることがわかる。   Referring to FIG. 7 of the measurement results, it can be seen that at any frequency, the corner meandering coil of the present invention has characteristics similar to those of the gap winding coil, and that the specified performance is obtained.

上記第1、2実施形態に示したコイル20(コーナー蛇行巻きコイル)を用いた非接触給電装置は、図8に示すように、アルミニウム板などの基板1と、この基板1の上面に配置された磁心コア板2と、この磁心コア板2の上面に載置(配置)されたコイル20とを備える。   The non-contact power supply device using the coil 20 (corner winding coil) shown in the first and second embodiments is disposed on a substrate 1 such as an aluminum plate and the upper surface of the substrate 1 as shown in FIG. And a coil 20 mounted (arranged) on the upper surface of the core core plate 2.

これにより、例えば1次側の非接触送電装置または2次側の非接触受電装置とすることができる。さらに、磁心コア板2におけるコイル20の位置を固定するために、磁心コア板2の上面をモールド樹脂などにより皮膜してもよい。また磁心コア板2自体にコイル20の形状を保持するための溝を設けてもよい。基板1としては、アルミニウム板などの金属板以外に樹脂板などの絶縁物の板材であってもよい。   Thereby, for example, a non-contact power transmission device on the primary side or a non-contact power reception device on the secondary side can be provided. Further, in order to fix the position of the coil 20 on the core core plate 2, the upper surface of the core core plate 2 may be coated with a mold resin or the like. Further, a groove for holding the shape of the coil 20 may be provided in the core core plate 2 itself. The substrate 1 may be an insulating plate material such as a resin plate in addition to a metal plate such as an aluminum plate.

このようにコイル20を磁心コア板2の上に移動するときに、予め線どうしの当接部を接着しておくことで、溝を形成した支持基板(ボビン)やスペーサなどを必要とすること無く形状が維持された状態でコイル20をハンドリングでき、インダクタンスの変動が少なく、良好なハンドリング性(コイル製造時の作業性)が得られる。   As described above, when the coil 20 is moved onto the magnetic core plate 2, the contact portions between the wires are bonded in advance, so that a support substrate (bobbin) having a groove, a spacer, and the like are required. The coil 20 can be handled in a state in which the shape is maintained without any change, the variation in inductance is small, and good handling properties (workability during coil manufacturing) can be obtained.

以上、本発明の実施の形態を説明したが、上記実施形態は、例として提示したものであり、発明の範囲を限定することは意図していない。上記の新規な実施形態は、その他の様々な形態で実施することが可能であり、発明の要旨を逸脱しない範囲で、種々の省略、置き換え、変更を行うことができる。上記した実施形態やその変形例は、発明の範囲や要旨に含まれると共に、特許請求の範囲に記載された発明とその均等の範囲に含まれる。   Although the embodiment of the present invention has been described above, the above embodiment is presented as an example and is not intended to limit the scope of the invention. The new embodiment described above can be implemented in other various forms, and various omissions, replacements, and changes can be made without departing from the spirit of the invention. The above-described embodiment and its modified examples are included in the scope and gist of the invention, and are also included in the invention described in the claims and equivalents thereof.

1…アルミニウム板(基板)、2…磁心コア板、20…コイル、21、24…圧着端子、22、22a、22b…リッツ線。   DESCRIPTION OF SYMBOLS 1 ... Aluminum plate (substrate), 2 ... Magnetic core board, 20 ... Coil, 21, 24 ... Crimp terminal, 22, 22a, 22b ... Litz wire.

Claims (7)

電線を複数回巻回して形成するコイルであって、
巻きはじめから、第N、第(N+1)、第(N+2)巻き目の電線が離間して曲線状に配置されるコーナー区間(但し、Nは1以上の整数)と、
前記コーナー区間の巻線方向両側に、一巻きおきの第N巻き目の電線と第(N+2)巻き目の電線が一定の間隔をおいて平行に配線される平行区間であり、前記第(N+1)巻き目の電線が前記間隔内で蛇行して前記平行区間内で他の平行な巻き目の電線と離間する第1離間区間と、前記第1離間区間の両側に配置され、前記第(N+1)巻き目の電線が、平行な巻き目の電線のいずれかに当接する第1および第2当接区間とを有する直線区間と
を有することを特徴とするコイル。
A coil formed by winding an electric wire a plurality of times,
From the beginning of winding, a corner section (where N is an integer of 1 or more) in which the Nth, (N + 1) th, and (N + 2) th wires are spaced apart and arranged in a curved shape;
On both sides in the winding direction of the corner section, a parallel section in which every other turn of the N-th wire and the (N + 2) -th wire are wired in parallel at a predetermined interval, and the (N + 1) ) A first separated section in which the winding electric wire meanders within the interval and separates from the other parallel winding electric wires in the parallel section, and is disposed on both sides of the first separated section; A coil having a straight section having first and second contact sections abutting on one of the parallel wound wires;
前記コーナー区間が、
巻線方向の手前に配置される前記直線区間における前記第(N+1)巻き目の電線と前記第N巻き目の電線との当接から、巻線方向の先に配置される前記直線区間における前記第(N+1)巻き目の電線と前記第(N+2)巻き目の電線との当接に切り替わる第2離間区間を有することを特徴とする請求項1記載のコイル。
The corner section is
From the contact of the (N + 1) th wire and the Nth wire in the straight section disposed in the winding direction, the straight section disposed in the winding direction at the end of the straight section. 2. The coil according to claim 1, further comprising a second separation section that is switched to contact between the (N + 1) -th wire and the (N + 2) -th wire. 3.
前記コーナー区間において前記第N巻き目の電線および前記第(N+2)巻き目の電線が描く弧(曲線)の半径または半径の中心位置と、前記第(N+1)巻き目の電線が描く弧(曲線)の半径または半径の中心位置とが異なることを特徴とする請求項1に記載のコイル。   In the corner section, the radius of the arc (curve) drawn by the N-th wire and the (N + 2) -th wire or the center position of the radius and the arc (curve) drawn by the (N + 1) -th wire The coil according to claim 1, wherein the radius or the center position of the radius is different. 内周側の電線と外周側の電線からなる一対の電線を巻回したことを特徴とする請求項1に記載のコイル。   The coil according to claim 1, wherein a pair of wires including an inner wire and an outer wire are wound. 前記電線どうしが当接する部位を接着したことを特徴とする請求項1乃至4いずれか1項に記載のコイル。   The coil according to any one of claims 1 to 4, wherein a portion where the electric wires come into contact with each other is adhered. 金属製または樹脂製の基板と、
前記基板の上に配置した磁心コア板と、
前記磁心コア板の上に配置した請求項1乃至5いずれか1項に記載の前記コイルと
を具備する非接触給電装置。
A metal or resin substrate,
A magnetic core plate disposed on the substrate,
A non-contact power supply device comprising the coil according to any one of claims 1 to 5 disposed on the magnetic core plate.
電線を複数回巻回してコーナー区間と、このコーナー区間の巻線方向両側に直線区間とを有するコイルを形成するコイルの製造方法であって、
前記コーナー区間において、巻きはじめから、第N、第(N+1)、第(N+2)巻き目の電線を離間させて曲線状に配置する工程と、
前記直線区間に、一巻きおきの第N巻き目の電線と第(N+2)巻き目の電線が一定の間隔をおいて平行に配線される平行区間を配置する工程と、
前記第(N+1)巻き目の電線が前記間隔内で蛇行して前記平行区間内で他の平行な巻き目の電線と離間する第1離間区間を前記直線区間に配置する工程と、
前記直線区間において前記第1離間区間の両側に、前記第(N+1)巻き目の電線が平行な巻き目の電線のいずれかに当接する第1および第2当接区間を配置する工程と
を有することを特徴とするコイルの製造方法。
A method for manufacturing a coil in which a wire is wound a plurality of times to form a coil having a corner section and a straight section on both sides in a winding direction of the corner section,
In the corner section, from the beginning of winding, the N-th, (N + 1) -th and (N + 2) -th winding wires are separated from each other and arranged in a curved line;
Arranging, in the straight section, a parallel section in which every other turn of the N-th wire and the (N + 2) -th wire are wired in parallel at a fixed interval;
Arranging, in the straight section, a first separation section in which the (N + 1) th winding wire meanders within the interval and separates from the other parallel winding wires in the parallel section;
Arranging first and second contact sections in which the (N + 1) th wire is in contact with any of the parallel wires on both sides of the first separation section in the straight section. A method for manufacturing a coil, comprising:
JP2018133006A 2018-07-13 2018-07-13 Contactless power supply device, coil, and method for manufacturing coil Active JP7199170B2 (en)

Priority Applications (1)

Application Number Priority Date Filing Date Title
JP2018133006A JP7199170B2 (en) 2018-07-13 2018-07-13 Contactless power supply device, coil, and method for manufacturing coil

Applications Claiming Priority (1)

Application Number Priority Date Filing Date Title
JP2018133006A JP7199170B2 (en) 2018-07-13 2018-07-13 Contactless power supply device, coil, and method for manufacturing coil

Publications (2)

Publication Number Publication Date
JP2020013810A true JP2020013810A (en) 2020-01-23
JP7199170B2 JP7199170B2 (en) 2023-01-05

Family

ID=69170001

Family Applications (1)

Application Number Title Priority Date Filing Date
JP2018133006A Active JP7199170B2 (en) 2018-07-13 2018-07-13 Contactless power supply device, coil, and method for manufacturing coil

Country Status (1)

Country Link
JP (1) JP7199170B2 (en)

Cited By (2)

* Cited by examiner, † Cited by third party
Publication number Priority date Publication date Assignee Title
JP2022010678A (en) * 2020-06-29 2022-01-17 大日本印刷株式会社 Coil, power transmission device and power receiving device and power transmission system
JP2023124710A (en) * 2022-02-25 2023-09-06 大日本印刷株式会社 Coil components, coils, power transmitters, power receivers, and power transmission systems

Citations (9)

* Cited by examiner, † Cited by third party
Publication number Priority date Publication date Assignee Title
JPS5031855Y1 (en) * 1970-05-26 1975-09-17
JP2013208012A (en) * 2012-03-29 2013-10-07 Equos Research Co Ltd Antenna coil unit and magnetic field resonance power supply system
JP2014086621A (en) * 2012-10-25 2014-05-12 Taiyo Koki:Kk Spiral coil
JP2016127628A (en) * 2014-12-26 2016-07-11 公明 岩谷 Coreless coil, manufacturing method thereof, permanent magnet type rotating machine using the same, and manufacturing method thereof
JP2016186955A (en) * 2015-03-27 2016-10-27 田淵電機株式会社 High frequency coil and coil device
JP2017224791A (en) * 2016-06-17 2017-12-21 太陽誘電株式会社 Common mode choke coil
US20180086211A1 (en) * 2016-09-23 2018-03-29 Qualcomm Incorporated Twisted wire for power charging
JP2019012731A (en) * 2017-06-29 2019-01-24 昭和電線ケーブルシステム株式会社 Non-contact power supply device, coil and coil manufacturing method
JP2019110207A (en) * 2017-12-18 2019-07-04 昭和電線ケーブルシステム株式会社 Non-contact power feeder and coil

Patent Citations (9)

* Cited by examiner, † Cited by third party
Publication number Priority date Publication date Assignee Title
JPS5031855Y1 (en) * 1970-05-26 1975-09-17
JP2013208012A (en) * 2012-03-29 2013-10-07 Equos Research Co Ltd Antenna coil unit and magnetic field resonance power supply system
JP2014086621A (en) * 2012-10-25 2014-05-12 Taiyo Koki:Kk Spiral coil
JP2016127628A (en) * 2014-12-26 2016-07-11 公明 岩谷 Coreless coil, manufacturing method thereof, permanent magnet type rotating machine using the same, and manufacturing method thereof
JP2016186955A (en) * 2015-03-27 2016-10-27 田淵電機株式会社 High frequency coil and coil device
JP2017224791A (en) * 2016-06-17 2017-12-21 太陽誘電株式会社 Common mode choke coil
US20180086211A1 (en) * 2016-09-23 2018-03-29 Qualcomm Incorporated Twisted wire for power charging
JP2019012731A (en) * 2017-06-29 2019-01-24 昭和電線ケーブルシステム株式会社 Non-contact power supply device, coil and coil manufacturing method
JP2019110207A (en) * 2017-12-18 2019-07-04 昭和電線ケーブルシステム株式会社 Non-contact power feeder and coil

Cited By (3)

* Cited by examiner, † Cited by third party
Publication number Priority date Publication date Assignee Title
JP2022010678A (en) * 2020-06-29 2022-01-17 大日本印刷株式会社 Coil, power transmission device and power receiving device and power transmission system
JP7604794B2 (en) 2020-06-29 2024-12-24 大日本印刷株式会社 Coil, power transmitting device, power receiving device, and power transmission system
JP2023124710A (en) * 2022-02-25 2023-09-06 大日本印刷株式会社 Coil components, coils, power transmitters, power receivers, and power transmission systems

Also Published As

Publication number Publication date
JP7199170B2 (en) 2023-01-05

Similar Documents

Publication Publication Date Title
JP7038677B2 (en) Contactless power supply and coil
CN104838459B (en) Litz wire coil
CN102947903B (en) Reactor
JP5613268B2 (en) Contactless power supply system
US10096421B2 (en) Coil device and method for manufacturing the same
US20120092117A1 (en) Conductor wire for motor and coil for motor
JP6056100B2 (en) Spiral coil
US20130120100A1 (en) Coil component
JP6971062B2 (en) Manufacturing method of coil for non-contact power supply device and coil for non-contact power supply device
JP2020013810A (en) Non-contact power supply device, coil, and manufacturing method of coil
JP2005327834A (en) Coil and its manufacturing method
US9004389B2 (en) Bobbin and method of using the same
JP6499723B2 (en) Non-contact power feeding device, coil and coil manufacturing method
US20160268037A1 (en) Stationary Induction Electric Apparatus and Method for Making the Same
JP7246185B2 (en) Coil and coil manufacturing method
CN210325464U (en) Magnetic induction coil
CN100495599C (en) Transformer
JP2014093846A (en) Structure of winding wire and electrical apparatus using the same
CN213635662U (en) Honeycomb transformer coil winding structure convenient to modularization equipment
JP2010206029A (en) Coil member for reactor, method of manufacturing the same, and reactor
JP4968588B2 (en) Coil device
CN209747305U (en) ER type paster transformer
CN216435633U (en) Coil structure and wireless charging device
JP2020107753A (en) Coil and coil manufacturing method
CN112216481A (en) Magnetic induction coil

Legal Events

Date Code Title Description
A621 Written request for application examination

Free format text: JAPANESE INTERMEDIATE CODE: A621

Effective date: 20210219

A977 Report on retrieval

Free format text: JAPANESE INTERMEDIATE CODE: A971007

Effective date: 20220120

A131 Notification of reasons for refusal

Free format text: JAPANESE INTERMEDIATE CODE: A131

Effective date: 20220125

A521 Request for written amendment filed

Free format text: JAPANESE INTERMEDIATE CODE: A523

Effective date: 20220323

A02 Decision of refusal

Free format text: JAPANESE INTERMEDIATE CODE: A02

Effective date: 20220809

A521 Request for written amendment filed

Free format text: JAPANESE INTERMEDIATE CODE: A523

Effective date: 20221108

C60 Trial request (containing other claim documents, opposition documents)

Free format text: JAPANESE INTERMEDIATE CODE: C60

Effective date: 20221108

A911 Transfer to examiner for re-examination before appeal (zenchi)

Free format text: JAPANESE INTERMEDIATE CODE: A911

Effective date: 20221114

C21 Notice of transfer of a case for reconsideration by examiners before appeal proceedings

Free format text: JAPANESE INTERMEDIATE CODE: C21

Effective date: 20221115

TRDD Decision of grant or rejection written
A01 Written decision to grant a patent or to grant a registration (utility model)

Free format text: JAPANESE INTERMEDIATE CODE: A01

Effective date: 20221206

A61 First payment of annual fees (during grant procedure)

Free format text: JAPANESE INTERMEDIATE CODE: A61

Effective date: 20221220

R150 Certificate of patent or registration of utility model

Ref document number: 7199170

Country of ref document: JP

Free format text: JAPANESE INTERMEDIATE CODE: R150

S111 Request for change of ownership or part of ownership

Free format text: JAPANESE INTERMEDIATE CODE: R313111

R371 Transfer withdrawn

Free format text: JAPANESE INTERMEDIATE CODE: R371

S111 Request for change of ownership or part of ownership

Free format text: JAPANESE INTERMEDIATE CODE: R313111

R350 Written notification of registration of transfer

Free format text: JAPANESE INTERMEDIATE CODE: R350