JP2019173339A - Flange connection device - Google Patents

Flange connection device Download PDF

Info

Publication number
JP2019173339A
JP2019173339A JP2018061319A JP2018061319A JP2019173339A JP 2019173339 A JP2019173339 A JP 2019173339A JP 2018061319 A JP2018061319 A JP 2018061319A JP 2018061319 A JP2018061319 A JP 2018061319A JP 2019173339 A JP2019173339 A JP 2019173339A
Authority
JP
Japan
Prior art keywords
flange
bolt
nut
hole
manhole
Prior art date
Legal status (The legal status is an assumption and is not a legal conclusion. Google has not performed a legal analysis and makes no representation as to the accuracy of the status listed.)
Granted
Application number
JP2018061319A
Other languages
Japanese (ja)
Other versions
JP6588593B2 (en
Inventor
達也 白石
Tatsuya Shiraishi
達也 白石
克男 川合
Katsuo Kawai
克男 川合
宗一 喜多見
Soichi Kitami
宗一 喜多見
Current Assignee (The listed assignees may be inaccurate. Google has not performed a legal analysis and makes no representation or warranty as to the accuracy of the list.)
Tokyo Electric Generation Co Inc
Original Assignee
Tokyo Electric Generation Co Inc
Priority date (The priority date is an assumption and is not a legal conclusion. Google has not performed a legal analysis and makes no representation as to the accuracy of the date listed.)
Filing date
Publication date
Application filed by Tokyo Electric Generation Co Inc filed Critical Tokyo Electric Generation Co Inc
Priority to JP2018061319A priority Critical patent/JP6588593B2/en
Application granted granted Critical
Publication of JP6588593B2 publication Critical patent/JP6588593B2/en
Publication of JP2019173339A publication Critical patent/JP2019173339A/en
Active legal-status Critical Current
Anticipated expiration legal-status Critical

Links

Images

Landscapes

  • Underground Structures, Protecting, Testing And Restoring Foundations (AREA)

Abstract

【課題】ボルトを安全に支えることができ、しかも一人で上下フランジの接続作業を行えるフランジ接続装置を提供する。【解決手段】廻り止め板18は、上下フランジのうち下フランジの下面部に固定され、上面部に上下フランジの取り付けボルトの通し穴に対面して設けられたボルト通し穴21を有し、受け台19は、廻り止め板18の下部にスペーサ20を介して取り付けられ、ナット支え部22は受け台19に設けられ、廻り止め板18のボルト通し穴21を通して挿入されたボルトを螺合するナットを保持する。【選択図】図1An object of the present invention is to provide a flange connection device that can safely support a bolt and can perform connection work of upper and lower flanges alone. A detent plate is fixed to a lower surface of a lower flange of upper and lower flanges, and has a bolt through hole provided on an upper surface thereof so as to face a through hole of a mounting bolt of the upper and lower flanges. The base 19 is attached to the lower portion of the rotation preventing plate 18 via a spacer 20, and the nut support portion 22 is provided on the receiving base 19, and a nut for screwing a bolt inserted through the bolt through hole 21 of the rotation preventing plate 18. Hold. [Selection diagram] Fig. 1

Description

本発明は、上下フランジをボルト・ナットで接続するフランジ接続装置に関する。   The present invention relates to a flange connection device that connects upper and lower flanges with bolts and nuts.

通常、上下フランジを接続するには、上下フランジにそれぞれ設けたボルト孔にボルトを挿入しナットで締め付けることにより接続される(例えば、特許文献1の図2参照)。上下フランジとしては、水車出口側マンホール蓋及びそのマンホールのフランジがある。水車はケーシングに収納されており、ケーシングには水車の点検のために水車入口側マンホールと水車出口側マンホールとが設けられており、このうち水車出口側のマンホール蓋は、上下フランジで互いに接続されている。   Usually, the upper and lower flanges are connected by inserting bolts into bolt holes provided in the upper and lower flanges and tightening them with nuts (see, for example, FIG. 2 of Patent Document 1). As the upper and lower flanges, there are a turbine exit side manhole cover and a flange of the manhole. The turbine is housed in a casing, and the casing is provided with a manhole on the turbine entrance side and a manhole on the exit side of the turbine for inspection of the turbine. Among these, the manhole cover on the turbine exit side is connected to each other by upper and lower flanges. ing.

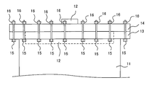
図5は、従来の上下フランジの接続の説明図であり、水車の出口側のマンホール11のフランジ13(下フランジ13)に水車出口側マンホール蓋12のフランジ14(上フランジ14)を接続する場合を示している。   FIG. 5 is an explanatory diagram of the conventional connection of the upper and lower flanges, in which the flange 14 (upper flange 14) of the water turbine outlet side manhole cover 12 is connected to the flange 13 (lower flange 13) of the manhole 11 on the outlet side of the turbine. Is shown.

図5に示すように、マンホール11の下フランジ13はマンホール11の開口部の周辺に鍔状に形成されており、水車出口側マンホール蓋12の上フランジ14は水車出口側マンホール蓋12の周辺に鍔状に形成されている。マンホール11の下フランジ13に水車出口側マンホール蓋12の上フランジ14を接続するにあたっては、上フランジ14及び下フランジ13に設けられたボルト通し穴に、下フランジ13側からボルト15を挿入し、上フランジ14側でナット16で締め付けて接続される。   As shown in FIG. 5, the lower flange 13 of the manhole 11 is formed in a bowl shape around the opening of the manhole 11, and the upper flange 14 of the waterwheel outlet side manhole cover 12 is formed around the waterwheel outlet side manhole cover 12. It is formed in a bowl shape. When connecting the upper flange 14 of the waterwheel outlet side manhole cover 12 to the lower flange 13 of the manhole 11, the bolts 15 are inserted into the bolt through holes provided in the upper flange 14 and the lower flange 13 from the lower flange 13 side, It is connected by tightening with a nut 16 on the upper flange 14 side.

この場合、ナット16をボルト15にねじ込む際に、ボルト15とナット16とが供廻りすることがあるため、その供廻り防止策として、一人が下フランジ13側でスパナをボルト15に当てて支え、もう一人が上フランジ14側でナット16をインパクトレンチで締める作業を行っていた。また、マンホール蓋12の取り外しの場合も同様に、一人が下フランジ13側でスパナをボルト15に当てて支え、もう一人が上フランジ14側でナット16をインパクトレンチで緩める作業を行っていた。   In this case, when the nut 16 is screwed into the bolt 15, the bolt 15 and the nut 16 may rotate. As a measure for preventing the rotation, one person supports the spanner with the bolt 15 on the lower flange 13 side. Another person was working to tighten the nut 16 with an impact wrench on the upper flange 14 side. Similarly, when the manhole cover 12 is removed, one person supports the spanner with the bolt 15 on the lower flange 13 side, and the other person loosens the nut 16 with the impact wrench on the upper flange 14 side.

特開平9−273476(図2)JP-A-9-273476 (FIG. 2)

このように、従来においては、マンホール11にマンホール蓋12の取り付け及び取り外し作業には二人を要していた。また、その作業の際には、下フランジ13側では、ボルト15とナット16との供廻り防止だけでなく、ボルト15を下フランジ13側から上フランジ14側にボルト通し穴に挿入しなければならないので、ボルト15が落下しないように配慮しなければならない。ボルト15の数が多くボルト15は重量もあるため、安全にボルト15を支えるには、そのボルト支え装置は相応の強度を備えたものが必要になっていた。   Thus, conventionally, two people are required to attach and remove the manhole cover 12 to the manhole 11. Further, during the operation, not only the bolt 15 and the nut 16 are prevented from rotating on the lower flange 13 side, but also the bolt 15 must be inserted into the bolt through hole from the lower flange 13 side to the upper flange 14 side. Therefore, care must be taken so that the bolt 15 does not fall. Since the number of the bolts 15 is large and the bolts 15 are heavy, in order to support the bolts 15 safely, the bolt support devices having appropriate strength are required.

本発明の目的は、ボルトを安全に支えることができ、しかも一人で上下フランジの接続作業を行えるフランジ接続装置を提供することである。   An object of the present invention is to provide a flange connecting device that can safely support a bolt and can perform a connecting operation of upper and lower flanges by one person.

請求項1の発明に係るフランジ接続装置は、上下フランジのうち下フランジの下面部に固定され上面部に前記上下フランジの取り付けボルトの通し穴に対面して設けられたボルト通し穴を有した廻り止め板と;前記廻り止め板の下部にスペーサを介して取り付けられた受け台と、前記受け台に設けられ前記廻り止め板のボルト通し穴を通して挿入されたボルトを螺合するナットを保持するためのナット支え部とを備えたことを特徴とする。   The flange connecting device according to the first aspect of the present invention includes a bolt connecting hole that is fixed to the lower surface portion of the lower flange of the upper and lower flanges and is provided on the upper surface portion so as to face the through hole of the mounting bolt of the upper and lower flange. A holding plate; a pedestal attached to the lower portion of the anti-rotation plate via a spacer; and a nut for screwing a bolt provided on the pedestal and inserted through a bolt through hole of the anti-rotation plate And a nut support portion.

請求項2の発明に係るフランジ接続装置は、請求項1の発明において、前記上下フランジは、水車出口側マンホール蓋のフランジとそのマンホールのフランジであることを特徴とする。   According to a second aspect of the present invention, there is provided a flange connecting device according to the first aspect, wherein the upper and lower flanges are a flange of a waterwheel outlet side manhole cover and a flange of the manhole.

本発明によれば、下フランジの下面部に固定された廻り止め板の下部に取り付けられた受け台にナット支え部を設け、廻り止め板の通し穴を通して挿入されたボルトを螺合するナットを保持するので、ボルトとナットとの供廻りを防止できる。また、ボルトは上フランジ側から下フランジ側のナット支え部に向けて挿入するので、ボルトはナット支え部のナットで受け止められる。従って、下フランジ側でボルトを支える作業が不要となり、ボルトが落下することもなく安全にボルトを支えることができる。   According to the present invention, the nut support portion is provided on the cradle attached to the lower portion of the detent plate fixed to the lower surface portion of the lower flange, and the nut for screwing the bolt inserted through the through hole of the detent plate is provided. Since it is held, it is possible to prevent the bolt and nut from rotating. Further, since the bolt is inserted from the upper flange side toward the nut support portion on the lower flange side, the bolt is received by the nut of the nut support portion. Accordingly, it is not necessary to support the bolt on the lower flange side, and the bolt can be safely supported without dropping the bolt.

本発明の実施形態に係るフランジ接続装置の構成図。The block diagram of the flange connection apparatus which concerns on embodiment of this invention. 本発明の実施形態に係るフランジ接続装置で上フランジ及び下フランジを接続した状態を示す説明図。Explanatory drawing which shows the state which connected the upper flange and the lower flange with the flange connection apparatus which concerns on embodiment of this invention. 本発明の実施形態に係るフランジ接続装置を用いて上下フランジを接続する手順のうち前半手順の説明図。Explanatory drawing of the first half procedure among the procedures which connect an upper and lower flange using the flange connection apparatus which concerns on embodiment of this invention. 本発明の実施形態に係るフランジ接続装置を用いて上下フランジを接続する手順のうち後半手順の説明図。Explanatory drawing of the latter half procedure among the procedures which connect an upper and lower flange using the flange connection apparatus which concerns on embodiment of this invention. 従来の上下フランジの接続の説明図。Explanatory drawing of the connection of the conventional up-and-down flange.

以下、本発明の実施形態を説明する。図1は本発明の実施形態に係るフランジ接続装置の構成図であり、図1(a)は斜視図、図1(b)は側面図である。   Embodiments of the present invention will be described below. 1A and 1B are configuration diagrams of a flange connecting device according to an embodiment of the present invention, in which FIG. 1A is a perspective view and FIG. 1B is a side view.

図1(a)に示すように、フランジ接続装置17は、廻り止め板18と受け台19とが対面して平面である円環状に形成されている。廻り止め板18はフランジ接続装置17の上面部であり、受け台19がフランジ接続装置17の下面部である。廻り止め板18及び受け台19は、例えば、円板の中心部をくり抜き円環状に形成されたものである。図1(a)では、廻り止め板18及び受け台19はともに円環が2分割されたものを示している。また、廻り止め板18と受け台19はスペーサ20にて間隔を保って連結されている。すなわち、受け台19は廻り止め板18の下部にスペーサ20を介して取り付けられている。   As shown in FIG. 1 (a), the flange connecting device 17 is formed in an annular shape that is a flat surface with the rotation stop plate 18 and the cradle 19 facing each other. The detent plate 18 is an upper surface portion of the flange connection device 17, and the cradle 19 is a lower surface portion of the flange connection device 17. The rotation stop plate 18 and the cradle 19 are formed, for example, by hollowing out the central portion of the disc. In FIG. 1 (a), the rotation stop plate 18 and the cradle 19 both show an annular ring divided into two parts. Further, the rotation stop plate 18 and the cradle 19 are connected to each other with a spacer 20 at a distance. That is, the cradle 19 is attached to the lower part of the rotation stop plate 18 via the spacer 20.

廻り止め板18には、複数個のボルト通し穴21が設けられている。図1(a)では18個のボルト通し穴21が設けられた場合を示しているが、このボルト通し穴21は、図示省略の上下フランジの取り付けボルトの通し穴に対応して設けられている。すなわち、上下フランジの取り付けボルトの通し穴に対面して設けられるので、ボルト通し穴21の数は上下フランジの取り付けボルトの通し穴の数に対応して設けられる。   The rotation stop plate 18 is provided with a plurality of bolt through holes 21. Although FIG. 1A shows a case where 18 bolt through holes 21 are provided, the bolt through holes 21 are provided corresponding to through holes of mounting bolts of upper and lower flanges (not shown). . That is, since it is provided facing the through holes of the mounting bolts of the upper and lower flanges, the number of bolt through holes 21 is provided corresponding to the number of through holes of the mounting bolts of the upper and lower flanges.

受け台19にはナット支え部22が設けられている。ナット支え部22は、廻り止め板18のボルト通し穴21を通して挿入されたボルトを螺合するナットを保持するものであり、廻り止め板18のボルト通し穴21の数に対応した数のナット支え部22が設けられている。ナット支え部22の上部に位置する廻り止め板18のボルト通し穴21は、ナットの形状(六角穴形状)に形成され、ナットの廻り止めを阻止しナットを支持できるようになっている。   The cradle 19 is provided with a nut support portion 22. The nut support portion 22 holds a nut for screwing a bolt inserted through the bolt through hole 21 of the rotation stop plate 18, and has a number of nut supports corresponding to the number of bolt through holes 21 of the rotation stop plate 18. A portion 22 is provided. The bolt through hole 21 of the rotation stop plate 18 positioned at the upper portion of the nut support portion 22 is formed in the shape of a nut (hexagonal hole shape) so as to prevent the rotation of the nut and support the nut.

図1(b)に示すように、ナット支え部22は廻り止め板18のボルト通し穴21に対面して設けられ、図示省略のボルトと螺合するナットがボルト通し穴21に位置するようにナットを支持する。これにより、図示省略のボルトがボルト通し穴21に挿入されると、ボルト通し穴21及びナット支え部22に保持された図示省略のナットに螺合される。ナット支え部22としては、例えば塩ビキャップを用いる。塩ビキャップはボルトを締め込んだ際に、ボルトの先がナットより数ミリ飛び出すので、その長さを吸収できる長さとする。   As shown in FIG. 1B, the nut support portion 22 is provided so as to face the bolt passage hole 21 of the rotation stop plate 18 so that a nut screwed with a bolt (not shown) is positioned in the bolt passage hole 21. Support the nut. Thus, when a bolt (not shown) is inserted into the bolt through hole 21, the bolt is screwed into a nut (not shown) held in the bolt through hole 21 and the nut support portion 22. As the nut support part 22, for example, a vinyl chloride cap is used. The PVC cap has a length that can absorb the length of the bolt because the tip of the bolt protrudes several millimeters from the nut when the bolt is tightened.

図2は、本発明の実施形態に係るフランジ接続装置17で上フランジ14及び下フランジ13を接続した状態を示す説明図である。図2では、マンホール11のフランジを下フランジ13とし、マンホール蓋12のフランジを上フランジ14とし、フランジ接続装置17を用いて上フランジ14と下フランジ13とを接続したものである。フランジ接続装置17は 下フランジ13の下面部に固定される。例えば、廻り止め板18の上面と下フランジ13の下面とが溶接にて固定される。   FIG. 2 is an explanatory view showing a state in which the upper flange 14 and the lower flange 13 are connected by the flange connecting device 17 according to the embodiment of the present invention. In FIG. 2, the flange of the manhole 11 is the lower flange 13, the flange of the manhole cover 12 is the upper flange 14, and the upper flange 14 and the lower flange 13 are connected using the flange connection device 17. The flange connecting device 17 is fixed to the lower surface portion of the lower flange 13. For example, the upper surface of the rotation stop plate 18 and the lower surface of the lower flange 13 are fixed by welding.

そして、上フランジ14から下フランジ13に向けて、上下フランジの取り付けボルトの通し穴にボルト15が挿通され、下フランジ13の下面に取り付けられたフランジ接続装置17の廻り止め板18のボルト通し穴21及びナット支え部22に保持されたナット16に螺合される。   Then, from the upper flange 14 toward the lower flange 13, the bolt 15 is inserted into the through hole of the mounting bolt of the upper and lower flanges, and the bolt through hole of the rotation stop plate 18 of the flange connecting device 17 attached to the lower surface of the lower flange 13. 21 and the nut 16 held by the nut support 22 are screwed together.

このように、本発明の実施形態では、ボルト15とナット16との位置関係は、図5に示した従来例と異なり、ボルト15を上から挿入するようにしている。このように、重いボルト15を上から挿入し軽いナット16を下から固定するので、低い強度でも十分支えることが可能である。つまり、ボルト15とナット16との上下の挿入方向を入れ替え、汎用品の軽い塩ビキャップで形成されたナット支え部22を用いてナット16を支えることで、マンホール11とナット16とを一体化する。これにより、ナット16の供廻り防止と落下防止の機能を同時に担うことができる。フランジ接続装置17の設置後は,下側でボルト15を支える作業が不要となり、一人でマンホール蓋12の上側からボルト取外し(緩め)及び取付け(締付け)作業を行える。   Thus, in the embodiment of the present invention, the positional relationship between the bolt 15 and the nut 16 is different from the conventional example shown in FIG. 5, and the bolt 15 is inserted from above. As described above, since the heavy bolt 15 is inserted from above and the light nut 16 is fixed from below, it is possible to sufficiently support even a low strength. That is, the manhole 11 and the nut 16 are integrated by supporting the nut 16 using the nut support portion 22 formed of a light-weight PVC cap of a general-purpose product by switching the upper and lower insertion directions of the bolt 15 and the nut 16. . Thereby, the function of preventing the rotation of the nut 16 and the prevention of dropping can be performed simultaneously. After the flange connection device 17 is installed, it is not necessary to support the bolt 15 on the lower side, and the bolt can be removed (loosened) and attached (tightened) from the upper side of the manhole cover 12 alone.

図3は本発明の実施形態に係るフランジ接続装置を用いて上下フランジを接続する手順のうち前半手順の説明図であり、図4は本発明の実施形態に係るフランジ接続装置を用いて上下フランジを接続する手順のうち後半手順の説明図である。   FIG. 3 is an explanatory diagram of the first half of the procedure for connecting the upper and lower flanges using the flange connecting device according to the embodiment of the present invention, and FIG. 4 is the upper and lower flanges using the flange connecting device according to the embodiment of the present invention. It is explanatory drawing of the latter half procedure among the procedures which connect.

図3(a)はマンホール11の概略側面図であり、マンホール11の開口部にはフランジが設けられている。このマンホール11のフランジが下フランジ13となって、後述のマンホール蓋12のフランジ(上フランジ14)に接続される。マンホール11のフランジには、上下フランジの取り付けボルトの通し穴23が設けられている。この通し穴にボルトが挿通される。   FIG. 3A is a schematic side view of the manhole 11, and an opening of the manhole 11 is provided with a flange. The flange of the manhole 11 becomes the lower flange 13 and is connected to a flange (upper flange 14) of the manhole cover 12 described later. The flange of the manhole 11 is provided with through holes 23 for mounting bolts of the upper and lower flanges. Bolts are inserted into the through holes.

図3(b)はフランジ接続装置17を下フランジ13の下面部に固定した状態を示す概略側面図である。取り付けボルトの通し穴23にフランジ接続装置17の廻り止め板18のボルト通し穴21が対面するように、フランジ接続装置17はマンホール11の下フランジ13の下面部に取り付けられる。   FIG. 3B is a schematic side view showing a state in which the flange connecting device 17 is fixed to the lower surface portion of the lower flange 13. The flange connection device 17 is attached to the lower surface portion of the lower flange 13 of the manhole 11 so that the bolt through hole 21 of the rotation stop plate 18 of the flange connection device 17 faces the through hole 23 of the attachment bolt.

図4(a)は、フランジ接続装置17を下フランジ13の下面部に固定した状態で、マンホール11の開口部にマンホール蓋12を被せる状態を示す説明図である。図4(a)に示すように、マンホール蓋12にも取り付けボルトの通し穴23が設けられており、この通し穴23にボルトが挿通される。   FIG. 4A is an explanatory view showing a state in which the manhole cover 12 is put on the opening of the manhole 11 with the flange connecting device 17 fixed to the lower surface of the lower flange 13. As shown in FIG. 4A, the manhole cover 12 is also provided with a through-hole 23 for a mounting bolt, and the bolt is inserted into the through-hole 23.

図4(b)は、フランジ接続装置17のナット支え部22にナット16を装着し、上フランジ14及び下フランジ13の取り付けボルトの通し穴23にボルト15を挿入して、ボルト15をナット16に螺合させようとしている状態を示す概略側面図である。図4(b)の状態から、ボルト15をナット16に螺合させると図2に示したように上フランジ14及び下フランジ13が接続された状態となる。これにより、ボルト15とナット16とが供廻りしない仕組みが達成でき、上下フランジの接続作業が一人でできる。   4B, the nut 16 is attached to the nut support portion 22 of the flange connecting device 17, the bolt 15 is inserted into the through-hole 23 of the mounting bolt of the upper flange 14 and the lower flange 13, and the bolt 15 is inserted into the nut 16. It is a schematic side view which shows the state which is going to be screwed together. When the bolt 15 is screwed into the nut 16 from the state of FIG. 4B, the upper flange 14 and the lower flange 13 are connected as shown in FIG. As a result, a mechanism in which the bolt 15 and the nut 16 do not rotate can be achieved, and the upper and lower flanges can be connected by one person.

本発明の実施形態に係るフランジ接続装置17は、上下フランジの接続として、水車出口側マンホール蓋のフランジとそのマンホールのフランジの接続に適用できる。   The flange connection device 17 according to the embodiment of the present invention can be applied to the connection of the flange of the water turbine outlet side manhole cover and the flange of the manhole as the connection of the upper and lower flanges.

以上、本発明の実施形態を説明したが、この実施形態は、例として提示したものであり、発明の範囲を限定することは意図していない。この新規な実施形態は、その他の様々な形態で実施されることが可能であり、発明の要旨を逸脱しない範囲で、種々の省略、置き換え、変更を行うことができる。この実施形態やその変形は、発明の範囲や要旨に含まれるとともに、特許請求の範囲に記載された発明とその均等の範囲に含まれる。   As mentioned above, although embodiment of this invention was described, this embodiment is shown as an example and is not intending limiting the range of invention. The novel embodiment can be implemented in various other forms, and various omissions, replacements, and changes can be made without departing from the scope of the invention. This embodiment and its modifications are included in the scope and gist of the invention, and are included in the invention described in the claims and the equivalents thereof.

11…マンホール、12…マンホール蓋、13…下フランジ、14…上フランジ、15…ボルト、16…ナット、17…フランジ接続装置、18…廻り止め板、19…受け台、20…スペーサ、21…ボルト通し穴、22…ナット支え部、23…通し穴 DESCRIPTION OF SYMBOLS 11 ... Manhole, 12 ... Manhole cover, 13 ... Lower flange, 14 ... Upper flange, 15 ... Bolt, 16 ... Nut, 17 ... Flange connecting device, 18 ... Anti-rotation plate, 19 ... Receptacle, 20 ... Spacer, 21 ... Bolt through hole, 22 ... nut support, 23 ... through hole

請求項1の発明に係るフランジ接続装置は、上下フランジのうち下フランジの下面部に固定され上面部に前記上下フランジの取り付けボルトの通し穴に対面して設けられたボルト通し穴を有した廻り止め板と、前記廻り止め板の下部にスペーサを介して取り付けられた受け台と、前記受け台に設けられ前記廻り止め板のボルト通し穴を通して挿入されたボルトを螺合するナットを保持するためのナット支え部とを備え、前記上下フランジは、水車出口側マンホール蓋のフランジとそのマンホールのフランジであることを特徴とする。 The flange connecting device according to the first aspect of the present invention includes a bolt connecting hole which is fixed to the lower surface portion of the lower flange of the upper and lower flanges and is provided on the upper surface portion so as to face the through hole of the mounting bolt of the upper and lower flanges. To hold a stop plate , a cradle attached to the lower part of the detent plate via a spacer, and a nut for screwing a bolt provided in the pedestal and inserted through a bolt through hole of the detent plate And the upper and lower flanges are a flange of a waterwheel outlet side manhole cover and a flange of the manhole .

本発明によれば、下フランジ(マンホールのフランジ)の下面部に固定された廻り止め板の下部に取り付けられた受け台にナット支え部を設け、廻り止め板の通し穴を通して挿入されたボルトを螺合するナットを保持するので、ボルトとナットとの供廻りを防止できる。また、ボルトは上フランジ(水車出口側マンホール蓋のフランジ)側から下フランジ側のナット支え部に向けて挿入するので、ボルトはナット支え部のナットで受け止められる。従って、ボルトが落下することもなく安全にボルトを支えることができるため、下フランジ側でボルトを支える作業者一人が不要となる。これにより、一人で上フランジ側から上下フランジの接続作業を行えるようになり二人作業から一人作業に省人化できる。
According to the present invention, the nut support portion is provided on the cradle attached to the lower portion of the detent plate fixed to the lower surface portion of the lower flange (manhole flange) , and the bolt inserted through the through hole of the detent plate is provided. Since the nut to be screwed is held, the rotation of the bolt and the nut can be prevented. Moreover, since the bolt is inserted from the upper flange (the flange of the waterwheel outlet side manhole cover) side toward the nut support portion on the lower flange side, the bolt is received by the nut of the nut support portion. Thus, since the bolt can be supported safely bolt can no fall, that Do unnecessary operator alone to support the bolt in the lower flange side. As a result, one person can perform the connection work of the upper and lower flanges from the upper flange side, thereby saving labor from two persons to one person.

Claims (2)

上下フランジのうち下フランジの下面部に固定され上面部に前記上下フランジの取り付けボルトの通し穴に対面して設けられたボルト通し穴を有した廻り止め板と;
前記廻り止め板の下部にスペーサを介して取り付けられた受け台と、
前記受け台に設けられ前記廻り止め板のボルト通し穴を通して挿入されたボルトを螺合するナットを保持するためのナット支え部とを備えたことを特徴とするフランジ接続装置。
A detent plate having a bolt through hole which is fixed to the lower surface portion of the lower flange of the upper and lower flanges and is provided on the upper surface portion so as to face the through hole of the mounting bolt of the upper and lower flange;
A cradle attached via a spacer to the bottom of the rotation stop plate;
A flange connecting device comprising: a nut support portion for holding a nut that is screwed into a bolt that is provided in the cradle and is inserted through a bolt through hole of the rotation stop plate.
前記上下フランジは、水車出口側マンホール蓋のフランジとそのマンホールのフランジであることを特徴とする請求項1記載のフランジ接続装置。   The flange connection device according to claim 1, wherein the upper and lower flanges are a flange of a waterwheel outlet side manhole cover and a flange of the manhole.
JP2018061319A 2018-03-28 2018-03-28 Flange connection device Active JP6588593B2 (en)

Priority Applications (1)

Application Number Priority Date Filing Date Title
JP2018061319A JP6588593B2 (en) 2018-03-28 2018-03-28 Flange connection device

Applications Claiming Priority (1)

Application Number Priority Date Filing Date Title
JP2018061319A JP6588593B2 (en) 2018-03-28 2018-03-28 Flange connection device

Publications (2)

Publication Number Publication Date
JP6588593B2 JP6588593B2 (en) 2019-10-09
JP2019173339A true JP2019173339A (en) 2019-10-10

Family

ID=68159731

Family Applications (1)

Application Number Title Priority Date Filing Date
JP2018061319A Active JP6588593B2 (en) 2018-03-28 2018-03-28 Flange connection device

Country Status (1)

Country Link
JP (1) JP6588593B2 (en)

Cited By (1)

* Cited by examiner, † Cited by third party
Publication number Priority date Publication date Assignee Title
WO2021059973A1 (en) 2019-09-24 2021-04-01 Kddi株式会社 Base station device, terminal device, control method, and program that use notification information taking into consideration existence of multiple carriers

Cited By (1)

* Cited by examiner, † Cited by third party
Publication number Priority date Publication date Assignee Title
WO2021059973A1 (en) 2019-09-24 2021-04-01 Kddi株式会社 Base station device, terminal device, control method, and program that use notification information taking into consideration existence of multiple carriers

Also Published As

Publication number Publication date
JP6588593B2 (en) 2019-10-09

Similar Documents

Publication Publication Date Title
JP4510115B2 (en) Support bracket
KR101289572B1 (en) Adjustable foot bearing
JP6588593B2 (en) Flange connection device
JP2006328812A (en) Mounting device of faucet
KR20090006046A (en) Temporary Fixture Bolt
CN205690072U (en) The simple detachable A-frame of gas cylinder overturning-preventing
JP4196027B2 (en) Form remover and combined form remover and concrete mold work method
JPH11229629A (en) Lifeline support device for construction
JP2000198082A (en) Pulley shaft removing device
KR20220129444A (en) Sprinkler coupling structure
US3839752A (en) Temporary drain connection means
KR20160000511U (en) Scaffold fixture
JP6695591B2 (en) Wrench tool
JP6632499B2 (en) Gas cylinder fixture
CN223241484U (en) A prism-integrated non-destructive installation device for shield tunnel measuring points
CN204784102U (en) Screw fastener with safeguard function
JPS5942095Y2 (en) Improvement of temporary strainer
JP3733131B2 (en) U-shaped strainer
JP2000008605A (en) Fixing tool for scaffold pipe
JP2000002225A (en) Screw locking fixture
CN119412158A (en) Prism integrated shield tunnel measuring point non-destructive installation device
JP3156273U (en) Tube fixing device.
JP3063996U (en) Rotating body fixing device
JPS6332413Y2 (en)
JP4179500B2 (en) Packing removal device at gas meter connection

Legal Events

Date Code Title Description
A621 Written request for application examination

Free format text: JAPANESE INTERMEDIATE CODE: A621

Effective date: 20180411

A131 Notification of reasons for refusal

Free format text: JAPANESE INTERMEDIATE CODE: A131

Effective date: 20190528

A521 Request for written amendment filed

Free format text: JAPANESE INTERMEDIATE CODE: A523

Effective date: 20190705

TRDD Decision of grant or rejection written
A01 Written decision to grant a patent or to grant a registration (utility model)

Free format text: JAPANESE INTERMEDIATE CODE: A01

Effective date: 20190910

A61 First payment of annual fees (during grant procedure)

Free format text: JAPANESE INTERMEDIATE CODE: A61

Effective date: 20190912

R150 Certificate of patent or registration of utility model

Ref document number: 6588593

Country of ref document: JP

Free format text: JAPANESE INTERMEDIATE CODE: R150

R250 Receipt of annual fees

Free format text: JAPANESE INTERMEDIATE CODE: R250

R250 Receipt of annual fees

Free format text: JAPANESE INTERMEDIATE CODE: R250

R250 Receipt of annual fees

Free format text: JAPANESE INTERMEDIATE CODE: R250

R250 Receipt of annual fees

Free format text: JAPANESE INTERMEDIATE CODE: R250