JP2019143351A - ターンテーブル装置 - Google Patents

ターンテーブル装置 Download PDF

Info

Publication number
JP2019143351A
JP2019143351A JP2018027950A JP2018027950A JP2019143351A JP 2019143351 A JP2019143351 A JP 2019143351A JP 2018027950 A JP2018027950 A JP 2018027950A JP 2018027950 A JP2018027950 A JP 2018027950A JP 2019143351 A JP2019143351 A JP 2019143351A
Authority
JP
Japan
Prior art keywords
turntable
divided
turntables
opening
split
Prior art date
Legal status (The legal status is an assumption and is not a legal conclusion. Google has not performed a legal analysis and makes no representation as to the accuracy of the status listed.)
Granted
Application number
JP2018027950A
Other languages
English (en)
Other versions
JP6933989B2 (ja
Inventor
慎 江波戸
Shin Ebato
慎 江波戸
Current Assignee (The listed assignees may be inaccurate. Google has not performed a legal analysis and makes no representation or warranty as to the accuracy of the list.)
Nissei Ltd
Original Assignee
Nissei Ltd
Priority date (The priority date is an assumption and is not a legal conclusion. Google has not performed a legal analysis and makes no representation as to the accuracy of the date listed.)
Filing date
Publication date
Application filed by Nissei Ltd filed Critical Nissei Ltd
Priority to JP2018027950A priority Critical patent/JP6933989B2/ja
Publication of JP2019143351A publication Critical patent/JP2019143351A/ja
Application granted granted Critical
Publication of JP6933989B2 publication Critical patent/JP6933989B2/ja
Active legal-status Critical Current
Anticipated expiration legal-status Critical

Links

Images

Landscapes

  • Vehicle Cleaning, Maintenance, Repair, Refitting, And Outriggers (AREA)

Abstract

【課題】現地での吊り上げ作業を多くの労力と時間を費やすことなく、容易に行うことができるターンテーブル装置を提供する。【解決手段】ターンテーブル1はその中心2を通る直線に沿って分割して分割ターンテーブル1A,1Bを構成し、両分割ターンテーブル1A,1Bは、結合状態における上板14A,14Bの中心部となる位置にそれぞれ形成した開口部15A,15Bと、分割面13A,13Bに沿ってそれぞれ延びた分割方向フレーム17A,17Bと、これに直交する関係で配置した鉛直方向フレーム18A,18Bを有し、開口部15A,15Bから挿入した吊ワイヤーでフレーム17A〜18Bの交点近傍それぞれ吊るようにし、現地において分割ターンテーブル1A,1Bを結合して円板状のターンテーブルを構成する。【選択図】図3

Description

本発明は、駐車車両の方向転換などを行うターンテーブル装置に関する。
従来のターンテーブル装置として、特開平11−229656号公報(特許文献1)などが知られている。
この特許文献1には、自動車の乗入部における床面の凹部に敷設され、内周に沿って溝状のガイド部を有する円形のレールと、中央部にリフトにより移送されたトレーを通過するトレー通過開口部を有し、周囲にレールのガイド部上を転動可能な複数のローラを軸支されて、レールに対して内側に配置されたターンテーブルと、ターンテーブルを旋回駆動する駆動装置とを備え、ターンテーブルをほぼレールの高さの範囲内に収め、旋回させることを特徴とするターンテーブル装置が記載されている。
特開平11−229656号公報
しかしながら、従来のターンテーブル装置においては、通常、ターンテーブル装置を工場において製作し組み立てられた状態で、据え付け現場へと搬送されている。このため、現地への搬送が大掛かりな作業となり、また大型で重量物のターンテーブル装置を現地において吊り上げ作業を行う場合に、吊り上げのための準備作業に多くの労力と時間を費やしていた。
本発明の目的は、現地での吊り上げ作業を多くの労力と時間を費やすことなく、容易に行うことができるターンテーブル装置を提供することにある。
本発明は上記目的を達成するために、支持装置によって可回転的に支持された回転中心軸を有したほぼ円板状のターンテーブルと、前記回転中心軸を中心にして前記ターンテーブルを回転駆動する駆動装置を有したターンテーブル装置において、前記ターンテーブルはその中心を通る直線に沿って分割して一対の分割ターンテーブルで構成し、前記一対の分割ターンテーブルは、それぞれ乗込面を形成する上板と、結合状態における前記上板の中心部となる位置にそれぞれ形成した開口部と、前記一対の分割ターンテーブルの分割面に沿ってそれぞれ延びた分割方向フレームと、前記分割方向フレームに直交する関係でそれぞれ配置した鉛直方向フレームを有して構成し、前記開口部に対応する位置に前記分割方向フレームと前記鉛直方向フレームの交点近傍をそれぞれ位置させ、現地において前記一対の分割ターンテーブル間を結合して円板状の前記ターンテーブルを構成するようにしたことを特徴とする。
このような構成によれば、両分割ターンテーブルは、工場において分割された状態で製作されて、分割状態で現地へと搬送することができるので、一体化されている円板状のターンテーブルを搬送する場合に比べて、製作、搬送が容易になる。しかも、開口部から吊ワイヤーを通してすぐに分割方向フレームと鉛直方向フレームの交点近傍に掛けて吊り上げることができるので、現地において吊り上げ作業のために大掛かりな作業と労力を費やすことなく容易に行うことができるようになり、作業性が大幅に改善される。
また本発明は、上述の構成に加えて、前記両分割ターンテーブルは、前記開口部の中心部からほぼ等距離となるよう加重バランスを考慮した位置にそれぞれ取り外し可能な吊金具をそれぞれ一対ずつ設け、前記両分割ターンテーブルを結合して円板状の前記ターンテーブルを構成した後に、前記各吊金具を取り外しことを特徴とする。
このような構成によれば、現地において、吊各金具を用いて吊り上げ作業を行った後、各吊金具を簡単に取り外すことができる。
また本発明は、上述の構成に加えて、前記吊金具は前記上板の前記乗込面側から取り付けたボルトによって取り外し可能に構成し、前記各吊金具の取り外し後のボルト挿入孔に、低頭ボルトを設けたことを特徴とする。
このような構成によれば、予め付加した吊金具やボルトが、ターンテーブルとしての実際の使用時における乗込面の障害となることを簡単を防止することができる。
また本発明は上述の構成に加えて、前記上板の中心部となる位置にそれぞれ形成された開口部は、前記分割ターンテーブルと前記分割ターンテーブルの結合後に蓋板で封じたことを特徴とする。
このような構成によれば、吊り上げ作業において開口部を利用して各分割ターンテーブルをそれぞれ吊り上げるために使用する吊ワイヤーを通すことができるが、ターンテーブル装置として組み立てられたときは、蓋板によって簡単に封じることができる。
本発明によるターンテーブル装置によれば、両分割ターンテーブルは、工場において分割された状態で製作されて、分割状態で組み立て現地へと搬送することができるので、工場で一体化された円板状のターンテーブルを搬送する場合に比べて、製作、搬送が容易になる。しかも、開口部から吊ワイヤーを通してすぐに分割方向フレームと鉛直方向フレームの交点近傍に掛けて吊り上げることができるので、現地において吊り上げ作業のために大掛かりな作業と労力を費やすことなく容易に行うことができるようになり、作業性が大幅に改善される。
本発明の一実施例によるターンテーブル装置の要部であるターンテーブルを示す平面図である。 図1に示したターンテーブルを組み込んだターンテーブル装置の要部を示す側面図である。 図1に示したターンテーブルの工場製作時を示す平面図である。 図3に示した分割ターンテーブルにおける要部の結合前の状態を示す側面図である。 図3に示した分割ターンテーブルの補強体を拡大して示す平面図である。 図3に示した分割ターンテーブルの分割面を示す正面図である。 図3に示した分割ターンテーブルの要部である吊金具近傍を示す側面図である。 図3に示した吊金具近傍の取り外し後の状態を示す側面図である。 図3に示した両分割ターンテーブルの結合状態を示す要部側面図である。 図3に示した一方の分割ターンテーブルにおける吊り状態を示す斜視図である。 結合状態のターンテーブルにおける吊り状態を示す斜視図である。 図2に示したターンテーブルを組み込んだ状態における要部を示す断面図である。
以下、本発明の実施例を図面に基づいて説明する。
図1は、本発明の一実施例によるターンテーブル装置の要部であるターンテーブルの組み立て状態を示す平面図である。
円板状に構成されたターンテーブル1は、その中心2を通る直線に沿って二分割されて構成され、現地作業によって一体的に結合されている。二分割された分割ターンテーブル1A,1Bの中心部には、対向した位置にそれぞれ半円状の開口がそれぞれ形成されており、現地での組み立て作業によって一つの開口となるように分割ターンテーブル1A,1Bが結合されている。その後の使用状態では、上述した一つの開口の上部が蓋板3で封じられている。また一体的に結合されたターンテーブル1における各分割ターンテーブル1A,1Bには、詳細については後述するが、荷重バランスを取りながら吊り点を形成することになる位置に、ボルト挿入孔4A,5Aおよびボルト挿入孔4B,5Bが配置されている。
図2は、ターンテーブル装置を示す側面図である。
設置床面に形成されているピット6内には、ターンテーブル1の回転中心軸7を可回転的に支持する支持装置8と、ターンテーブル1に回転を与えるようモータ9によって回転される駆動ローラ10を有した駆動装置11と、ターンテーブル1の裏面側を支持しながら回転案内するローラ12が設置されている。
駆動装置11のモータ9によって駆動ローラ10が回転されると、ターンテーブル1の裏面側に圧接されている駆動ローラ10を介してターンテーブル1が回転中心軸7を中心に回転される。
従って、ターンテーブル装置を機械式駐車装置や平置き式駐車場で使用したとき、駐車車両を機械式駐車装置の格納スペースに格納するとき、駐車車両をターンテーブル1の上面側である乗込面に乗り込ませて停止させた後、駆動装置11を作動させると、ターンテーブル1と共に駐車車両の向きを格納に都合の良い向きに変換することができる。同様に、駐車車両を出庫させる場合も、格納スペースからターンテーブル1上に駐車車両を移動させた後、駆動装置11を作動させてターンテーブル1を回転させ、駐車車両を出庫させるのに都合の良い向きに変換することができる。
図3は、工場での製作時におけるターンテーブル1を示す平面図である。
ターンテーブル1は、上述したような使用形態であり、その上面の乗込面に駐車車両を搭載させるものであるため、かなりの大きさで重量物となる。そこで、工場における製作時点でのターンテーブル1は、半円板状の分割ターンテーブル1Aと、ほぼ同じ半円板状の分割ターンテーブル1Bとに分割されている。こうして、小型軽量化された分割単位として取り扱うことができるようになり、製作、輸送、吊り上げ作業などが容易になる。
このようなターンテーブル1A,1Bは、現地まで搬送された後、溶接やボルトなどの結合手段によって結合されて、全体としては円板状のターンテーブル1となる。分割ターンテーブル1Aと分割ターンテーブル1Bの分割面13A,13Bは、現地において突き合わせて結合すると、図1に示したように円板状構成のターンテーブル1における中心2を通る直線に沿って形成されている。
分割ターンテーブル1A,1Bは種々の構成を採用することができるが、ここでは駐車車両の乗込面となる上板14A,14Bと、上板14A,14Bの下方に一体的に結合された主フレームや補強部材などを配置して構成したものとして説明する。
分割ターンテーブル1Aにおける上板14Aの乗込面側には、分割面13Aの中心部に半円状に形成された開口部15Aと、この開口部15Aとほぼ同心的な上面側に図示しない駐車車両の停止位置を決定するよう半環状に突出して形成されたタイヤ止め16Aなどが構成されている。
一方、上板14Aの下方には、分割面13Aの全長に沿って配置された分割面方向主フレーム17Aと、分割面方向主フレーム17Aにおける開口部15Aの中心から鉛直方向に延びた鉛直方向主フレーム18Aと、分割面方向主フレーム17Aと鉛直方向主フレーム18Aの間に位置して図1に示した中心2から放射状に延び放射方向フレーム19A〜22Aと、これらの各フレーム間に配置された複数の補強体23が設けられ、溶接などの結合手段によって結合されている。
これらの各フレームのうち、分割面方向主フレーム17Aは開口部15A内を通過しているが、鉛直方向主フレーム18Aの中心側端は、開口部15A内で分割面方向主フレーム17Aへ溶接などによって結合されている。このとき、半円状の開口部15Aは、分割面方向主フレーム17Aおよび鉛直方向主フレーム18Aの周辺部に空部を形成する大きさに選定されており、開口部15Aに存在する空部を通して分割面方向主フレーム17Aおよび鉛直方向主フレーム18Aの結合部付近に詳細を後述する吊ワイヤーを掛けることができる構成となっている。
しかし、放射方向に延びた他の放射方向フレーム19A〜22Aの中心側端部は、開口部15Aよりも外周に位置した補強部材24Aに結合されており、開口部15Aまでは延びていない。従って、各放射方向フレーム19A〜20Aの中心側端部によって、上述した吊ワイヤーのために使用されることになる開口部15Aの空部が損なわれることはない。
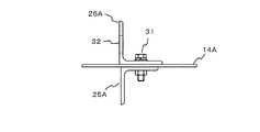
また分割ターンテーブル1Aの上板14Aの裏面側には、鉛直方向主フレーム18Aと、放射方向フレーム20Aおよび放射方向フレーム21A間に跨がって吊金具取付用補強部材25Aが結合されており、この吊金具取付用補強部材25Aは分割面13Aとほぼ平行に延びている。吊金具取付用補強部材25Aには、開口部15Aの中心からほぼ等距離となる位置に、後述する吊金具26A,27Aをボルトによって取り外し可能に取り付けることができるようにボルト挿入孔4A,5Aがそれぞれ形成されている。
さらに分割ターンテーブル1Aの裏面側には、ターンテーブル1として回転するとき、図2に示したローラ12が転動することになる半環状走行路面28Aが形成されている。
分割ターンテーブル1Bも分割ターンテーブル1Aと同様の構成であり、分割ターンテーブル1Bにおける上板14Bの上面側には、分割面13Bの中心部に半円状に形成された開口部15Bと、この開口部15Bとほぼ同心的に図示しない駐車車両の停止位置を決定するよう半環状に突出して形成したタイヤ止め16Bが構成されている。分割ターンテーブル1Aと分割ターンテーブル1Bが結合されて一体のターンテーブル1とされたとき、開口部15Bは開口部15Aと共に一つの円形状開口を形成し、またタイヤ止め16Bはタイヤ止め16Aと共に一体の環状タイヤ止めを形成する。
一方、上板14Bの裏面側には、分割面13Bの全長に沿って配置された分割面方向主フレーム17Bと、分割面方向主フレーム17Bにおける開口部15Bの中心から鉛直方向に延びた鉛直方向主フレーム18Bと、分割面方向主フレーム17Bと鉛直方向主フレーム18Bの間に位置して図1に示した中心2から放射状に延び放射方向フレーム19B〜22Bと、これらの各フレーム間に配置された複数の補強体23が設けられ、溶接などの結合手段によって結合されている。
これらの各フレームのうち、分割面方向主フレーム17Bは開口部15B内を通過しているが、鉛直方向主フレーム18Bの中心側端は、開口部15B内で分割面方向主フレーム17Bに結合されている。このとき、半円状の開口部15Bは、開口部15Aと同様に分割面方向主フレーム17Bおよび鉛直方向主フレーム18Bの周辺部に空部を形成する大きさであり、開口部15Bに存在する空部を通して分割面方向主フレーム17Bおよび鉛直方向主フレーム18Bの結合部付近に詳細を後述する吊ワイヤーを掛けることができる構成となっている。
しかし、放射方向に延びた他の放射方向フレーム19B〜22Bの中心側端部は、開口部15Bよりも外周に位置した補強部材24Bに結合されている。従って、各放射方向フレーム19B〜20Bの中心側端部は、開口部15Bまでは延びていないので、上述した吊ワイヤーのために使用されることになる開口部15Bの空部が損なわれることはない。
また分割ターンテーブル1Bの上板14Bの裏面側には、鉛直方向主フレーム18Bと、放射方向フレーム20Bおよび放射方向フレーム21B間に跨がって吊金具取付用補強部材25Bが結合されており、この吊金具取付用補強部材25Bは分割面13Bとほぼ平行に延びている。吊金具取付用補強部材25Bには、開口部15Bの中心からほぼ等距離となる位置に、後述する吊金具26B,27Bをボルトによって取り外し可能に取り付けることができるようにボルト挿入孔4B,5Bがそれぞれ形成されている。
さらに分割ターンテーブル1Bにおける上板14Bの裏面側には、ターンテーブル1として回転するとき、図2に示したローラ12が転動することになる半環状走行路面28Bが形成されている。分割ターンテーブル1Aと分割ターンテーブル1Bが結合されて一体のターンテーブル1とされたとき、この半環状走行路面28Bは、半環状走行路面28Aと共に図2に示した回転中心軸7を中心とする一連の環状走行路として形成される。
図4は、開口部15Aに対応して配置された分割面方向主フレーム17Aと鉛直方向主フレーム18Aの結合前の状態を拡大して示す断面図である。
上述したように分割面方向主フレーム17Aと鉛直方向主フレーム18Aは、直交する関係で配置されている。分割面方向主フレーム17Aは、上下部に折り返し部30A,30Bが形成されたフレーム構造であり、また鉛直方向主フレーム18Aも全体的な形状はほぼ同様で上下部に折り返し部30C,30Dが形成されたフレーム構造である。鉛直方向主フレーム18Aの先端部が、分割面方向主フレーム17Aにおける対向側の凹部内に挿入され、同状態で両者は溶接によって結合されている。特に、分割面方向主フレーム17Aにおける下部の折り返し部30Bと、鉛直方向主フレーム18Aにおける下部の折り返し部30Dは、図12で詳細を説明するように回転中心軸7を取り付けるために利用されている。
説明を省略するが、分割ターンテーブル1Bにおける分割面方向主フレーム17Bと鉛直方向主フレーム18B間も同様に結合されている。
図5は、各フレーム間に配置された複数の補強体23を示す平面図である。
補強体23の一つは、鉛直方向主フレーム18Aと放射方向フレーム21Aの間を結合したものである。他の隣接するフレーム間を結合する他の補強体23もほぼ同一構成であり、各補強体23が周方向に結合されている。各補強体23を周方向に結合することによって、上板14Aの周方向強度が増大されている。
鉛直方向主フレーム18Aと放射方向フレーム21Aの中心側には、図3に示した補強部材24Aの周方向の一部である周方向分割補強部材34が一体的に結合されている。周方向分割補強部材34の中心側には、図3に示した開口部15Aにおける周方向の一部が形成されている。
このように構成された複数の補強体23が周方向に結合されると、各周方向分割補強部材34によって図3に示した半環状の補強部材24Aが構成される。詳細な説明は省略するが、分割ターンテーブル1Bにおける補強体23も同一構成である。
尚、本実施例では、上板14A,14Bの裏面側にそれぞれ複数のフレームや補強部材を結合しているが、これらのフレームや補強部材の形状および位置は、図示のものに限らず採用することができる。吊金具取付用補強部材25Aおよび吊金具取付用補強部材25Bには、予め、吊金具26A,27Aおよび吊金具26B,27Bをそれぞれ取り外し可能に取り付けるためのボルト挿入孔4A,5Aおよびボルト挿入孔4B,5Bを形成したものとして説明したが、他の補強部材、例えば、放射方向フレーム20A,21Aに吊金具26A,27Aをそれぞれ取り外し可能に取り付けられるようなボルト挿入孔を形成しておき、また放射方向フレーム20B,21Bに吊金具26B,27Bをそれぞれ取り外し可能に取り付けられるようなボルト挿入孔を形成しておいても良い。
図6は、分割ターンテーブル1Aの正面図である。
分割ターンテーブル1Aにおいて分割面13Aに配置された分割面方向主フレーム17Aは、その長手方向に分割ターンテーブル1Bにおける分割面方向主フレーム17Bとの結合のために使用される複数のボルト孔35が形成されている。また、分割面方向主フレーム17Aにおける長手方向の下部には、半環状走行路面28Aの他に、分割面方向主フレーム17Bを突き合わせて結合するときに、分割面方向主フレーム17Bを搭載して位置決めを行うための載置部36が複数形成されている。
上述した分割ターンテーブル1Aおよび分割ターンテーブル1Bは,工場において分割状態で製作され、その分割状態のまま現地まで搬送される。その後、現地において次のように組み立て作業が行われる。吊金具26A,27Aおよび吊金具26B,27Bは、工場において取り付けることもできるが、本実施例では、これらを取り付けない状態で現地に搬送され、現地において取り付けが行われるものとして説明する。
図7は、上述した吊金具26Aの近傍を拡大して示す側面図である。
上述したように工場での組み立て時点では、図3に示すように分割ターンテーブル1Aにおける上板14Aの裏面側には、吊金具取付用補強部材25Aが固定されている。この吊金具取付用補強部材25Aおよび上板14Aには、図1に示したように予め一連のボルト挿入孔4A,5Aが形成されている。また、現地において取り付けられる吊金具26Aにも、このボルト挿入孔4A,5Aに対応する位置に吊金具ボルト挿入孔が予め形成されている。
現地において作業者は、図7に示すように上板14Aと、吊金具取付用補強部材25Aに形成されている一連のボルト挿入孔に吊金具ボルト挿入孔が合うように吊金具26Aを配置し、これらのボルト挿入孔にボルト31を挿入し、ナットで締め付けている。吊金具26Aには吊ワイヤーを通すことができる挿入孔32が予め形成されている。
このボルト31によって吊金具26Aを強度部材である吊金具取付用補強部材25Aへ取り外し可能に強固に固定することができる。しかし、このような吊金具26Aの固定構造は、図1に示したように上板14Aにボルト挿入孔4A,5Aを形成するため、使用後に吊金具26Aを取り外すと、上板14Aにボルト挿入孔4A,5Aが残ってしまう。
図8は、上述した吊金具26Aを取り外した状態を示す側面図である。
吊金具26Aを利用して分割ターンテーブル1Aを吊り上げながら所定の位置に移動した後、作業者によって図7に示したボルト31が取り外され、吊金具26Aも取り外される。その後、作業者は、同じボルト挿入孔4A,5Aを用いて図8に示すように低頭ボルト33を取り付ける。ボルト31のために上板14Aに形成されていたボルト挿入孔4A,5Aは、低頭ボルト33の新たな取り付けによって塞がれる。こうして、新たなボルト挿入孔などを形成することなく、吊金具26Aの取り付けのためのボルト挿入孔4A,5Aを利用して上板14Aと吊金具取付用補強部材25A間を結合しながら塞ぐことができる。
図示を省略したが、他の吊金具27A,26B,27Bにおいても、それらの取り外し後に、同様にボルト31を低頭ボルト33に交換する。
図9は、分割面方向主フレーム17Aと分割面方向主フレーム17Bの結合状態を示す要部を拡大した側面図である。
分割ターンテーブル1Aと分割ターンテーブル1B間の結合作業は、予め想定されていた分割面13A,13Bを突き合わせて結合させることによって行われる。分割面13A,13Bには分割面方向主フレーム17Aと分割面方向主フレーム17Bが設けられているので、作業者は、分割ターンテーブル1Aにおける分割面方向主フレーム17Aと、分割ターンテーブル1Bにおける分割面方向主フレーム17Bとを突き合わせる。このとき、作業者は、図6に示した載置部36上に、分割面方向主フレーム17Bを載せて位置決めを行う。この状態で、作業者は、図7に示した複数のボルト孔35を用いて複数のボルト37を挿入してナットで締め付けると、分割ターンテーブル1Aと分割ターンテーブル1B間を強固に結合させてターンテーブル1が完成される。
ところで、分割ターンテーブル1Aおよび分割ターンテーブル1Bを組み立てるとき、現地における吊り上げ作業が行われる。次に、この吊り上げ作業について説明する。
図10は、分割ターンテーブル1Bの吊り上げ状態を示す斜視図である。
吊り上げ作業に先立って、作業者は、開口部15Bから吊ワイヤー38を挿入し、図3で説明した分割面方向主フレーム17Bおよび鉛直方向主フレーム18Bの結合部付近に吊ワイヤー38を掛けてから、吊ワイヤー38の端部をフック39に掛ける。また作業者は、図5に示したように吊金具26Bに形成されている挿入孔32を通して吊ワイヤー40を掛けてから、吊ワイヤー40の端部をフック39に掛ける。同様に、作業者は、他方の吊金具27Bに形成されている挿入孔32を通して吊ワイヤー41を掛けてから、吊ワイヤー41の端部をフック39に掛ける。
この吊ワイヤー掛け作業においては、予め形成されている開口部15Bを利用することによって、分割面方向主フレーム17Bおよび鉛直方向主フレーム18Bの結合部付近が露出して見えるようになっており、しかも、開口部15Bによって吊ワイヤー38を通す空間部を積極的に形成している。このため、現地において分割ターンテーブル1Bを特別に加工することなく、吊ワイヤー38を掛けることができるので、大きな構造変更を伴うことのない簡単な構造で、吊り上げのための吊ワイヤー掛け作業を非常に簡単にすることができる。
また、他の吊点となる吊金具26Bおよび吊金具27Bも、分割ターンテーブル1Bに既に取り付けられているので、この部分での吊ワイヤー掛け作業も簡単である。
さらに、上述した図3で説明したように分割面13Bと吊金具取付用補強部材25Bはほぼ平行であり、開口部15Bの中心から吊金具26Bまでの長さと、開口部15Bの中心から吊金具27Bまでの長さがほぼ等しいため、容易に荷重バランスを取りながら分割ターンテーブル1Bを吊り上げることができる。また、分割ターンテーブル1Bは、ターンテーブル1を二分割したもので、一体型のターンテーブル1よりも小型軽量であるため、取り扱いが容易である。
その後、所定の位置まで分割ターンテーブル1Bを移動した後、吊金具26Bおよび吊金具27Bを図4および図5で説明したように取り外す。分割ターンテーブル1Aの吊り作業も、分割ターンテーブル1Bと同様にして行う。
分割ターンテーブル1Bまたは分割ターンテーブル1Aを移動させる位置は、図2に示したように設置床面に組み込んだ位置でも良いが、分割ターンテーブル1Aと分割ターンテーブル1Bとを合体させる作業を比較的に開放された場所で行うための作業位置であっても良い。
後者のような比較的に開放された場所で分割ターンテーブル1Aと分割ターンテーブル1Bの結合作業を行ってから、図2に示したように設置床面に組み込む場合、図11に示すように吊り上げ作業を行うこともできる。
図11は、一体化されたターンテーブル1の吊り上げ状態を示す斜視図である。
既に説明したように分割ターンテーブル1Aまたは分割ターンテーブル1Bの単体での吊り上げ作業を行った後、分割ターンテーブル1A,1Bを一体化してターンテーブル1とする。その後、開口部15A,15Bの上部を蓋板3によって塞ぐ。蓋板3のすぐ下には、分割面方向主フレーム17A,17Bおよび鉛直方向主フレーム18A,18Bが位置しているため、予めそれらの所定の位置に形成しておいた取付孔を用いてボルトやねじで蓋板3をしっかりと固定することができる。
今回の吊り上げ方法では、まだ取り外していない吊金具26A,26B,27A,27Bに吊ワイヤー40A〜41Bをそれぞれ掛けてから全体を吊り上げ、図2に示したように設置床面に組み込み、その後、吊金具26A,26B,27A,27Bを取り外し、図5に示した各ボルト31を図6に示した低頭ボルト33に取り替えられる。
またターンテーブル1を設置床面に組み込んだ後、蓋板3を固定するなら、図10で説明したように開口部15Bおよび開口部15Aに対応する部分を吊点として使用することもできる。
このように設置床面に組み込む場合、その搬入のために十分なスペースが確保できるなら、図11に示したように分割ターンテーブル1A,1Bを一体化してから搬入し、一方、設置床面に組み込むときの搬入のために十分なスペースが確保できないなら、図9に示したように分割ターンテーブル1Aまたは分割ターンテーブル1B毎に分割状態で搬入することができる。
その後、作業者は一体化されたターンテーブル1の下部側に図2に示した回転中心軸7を取り付け、この回転中心軸7を支持装置8で支持させる。
図12は、設置床面にターンテーブル1を組み込んだ状態を示す断面図である。
同図は、図2に示したように設置床面に形成されているピット6内に配置されている支持装置8上に、結合状態のターンテーブル1を載せた状態で、回転中心軸7の近傍のみを示している。
ターンテーブル1の下面側には、図4で説明したように分割面方向主フレーム17A,17Bにおける下部側の折り返し部30Bと、鉛直方向主フレーム18A,18Bにおける折り返し部30Dが位置しており、これらの折り返し部30B,30Dを利用して支持ベース42が複数のボルト43によって固定されている。この支持ベース42には、下方に延びた回転中心軸7が取り付けられている。この支持ベース42および回転中心軸7の取り付けは、ターンテーブル1を支持装置8上に設置する前に行われる。
ピット6側に固定した支持装置8は、回転中心軸7を可回転的に支持した軸受44を有しており、この軸受44内に上述した回転中心軸7を挿入されている。
回転中心軸7は、図3に示した開口部15A,15Bの中心部に対応してターンテーブル1における下方側に配置されている。このため、回転中心軸7の中心軸上には、そのすぐ上方に、吊り上げ用としても利用された分割面方向主フレーム17A,17Bと、鉛直方向主フレーム18A,18Bが設けられており、同部は十分な機械強度を有している。こうして、ターンテーブル1の中心2を通る中心線上の回転中心軸7を支持装置8で支持しているため、ターンテーブル1の回転時でも安定して強固に支持することができる。
また、ターンテーブル1の中心部に形成されていた開口部15A,15Bは、既に取り付けられている蓋板3によって封じられているが、この蓋板3の下方には図11に示すように分割面方向主フレーム17A,17Bや鉛直方向主フレーム18A,18Bが開口部15A,15B内まで延長されて設けられているため、同部にボルトなどの固定手段によって簡単に固定することができる。
尚、上述した実施例では、分割ターンテーブル1Aおよび分割ターンテーブル1Bの中心部に形成された開口部15A,15Bは、それぞれ半円状としている。しかし、開口部15A,15Bの形状は、これに限定するものではなく、他の形状であっても良く、また開口部15A,15Bの形状に応じて蓋板3の形状も合わせると良い。
以上説明したように本発明は、支持装置8によって可回転的に支持された回転中心軸7を有したほぼ円板状のターンテーブル1と、回転中心軸7を中心にしてターンテーブル1を回転駆動する駆動装置11を有したターンテーブル装置において、ターンテーブル1はその中心2を通る直線に沿って分割して分割ターンテーブル1Aと分割ターンテーブル1Bとで構成し、分割ターンテーブル1Aおよび分割ターンテーブル1Bは、それぞれ乗込面を形成する上板14A,14Bと、結合状態における上板14A,14Bの中心部となる位置にそれぞれ形成した開口部15A,15Bと、分割ターンテーブル1Aおよび分割ターンテーブル1Bの分割面に沿ってそれぞれ延びた分割方向フレーム17A,17Bと、分割方向フレーム17A,17Bに直交する関係で配置した鉛直方向フレーム18A,18Bを有して構成し、開口部15Aまたは15Bに対応する位置に分割方向フレーム17Aと鉛直方向フレーム18Aの交点近傍または分割方向フレーム17Bと鉛直方向フレーム18Bの交点近傍をそれぞれ位置させ、現地において分割ターンテーブル1Aと分割ターンテーブル1Bを結合して円板状のターンテーブルを構成するようにしたことを特徴とする。
このような構成によれば、分割ターンテーブル1Aと分割ターンテーブル1Bとは、工場において分割された状態で製作されて、分割状態で設置現地へと搬送することができるので、一体化されている円板状のターンテーブル1を搬送する場合に比べて、製作、搬送が容易になる。しかも、開口部15A,15Bから吊ワイヤー36を通してすぐに分割方向フレーム17A,17Bと鉛直方向フレーム18A,18Bの交点近傍に掛けて吊り上げることができるので、現地において吊り上げ作業のために大掛かりな作業と労力を費やすことなく容易に行うことができるようになり、作業性が大幅に改善される。
また本発明は上述の構成に加えて、分割ターンテーブル1Aと分割ターンテーブル1Bは、各開口部15A,15Bの中心部からほぼ等距離となるよう加重バランスを考慮した位置にそれぞれ取り外し可能な吊金具26A,26B,27A,27Bをそれぞれ設け、分割ターンテーブル1Aと分割ターンテーブル1Bを結合して円板状のターンテーブルを構成した後に、吊金具26A,26B,27A,27Bを取り外しことを特徴とする。
このような構成によれば、吊金具26A,26B,27A,27Bを取り付けた状態では、これらの吊金具26A,26B,27A,27Bを用いて吊り上げ作業を行うことができ、その後、吊金具26A,26B,27A,27Bを簡単に取り外すことができる。
また本発明は上述の構成に加えて、吊金具26A,26B,27A,27Bは上板14A,14Bの上面側から取り付けたボルトによって取り外し可能に構成し、吊金具26A,26B,27A,27Bの取り外し後のボルト挿入孔4A,4B,5A,5Bに、低頭ボルト33を設けたことを特徴とする。
このような構成によれば、予め付加した吊金具26A,26B,27A,27Bやボルトが、ターンテーブル1としての実際の使用時における乗込面の障害となることを簡単に防止することができる。
また本発明は上述の構成に加えて、上板14A,14Bの中心部となる位置にそれぞれ形成された開口部15A,15Bは、分割ターンテーブル1Aと分割ターンテーブル1Bの結合後に蓋板3で封じたことを特徴とする。
このような構成によれば、吊り上げ作業において開口部15A,15Bを利用して分割ターンテーブル1Aまたは分割ターンテーブル1Bを吊り上げるために使用する吊ワイヤーを通すことができるが、ターンテーブル装置として組み立てられたときは、蓋板3によって簡単に封じることができる。
1 ターンテーブル
1A 分割ターンテーブル
1B 分割ターンテーブル
2 中心
3 蓋板
4A〜5B ボルト挿入孔
7 回転中心軸
11 駆動装置
12 ローラ
14A,14B 上板
15A,15B 開口部
17A,17B 分割方向フレーム
18A,18B 鉛直方向フレーム
26A,26B,27A,27B 吊金具
33 低頭ボルト

Claims (4)

  1. 支持装置によって可回転的に支持された回転中心軸を有したほぼ円板状のターンテーブルと、前記回転中心軸を中心にして前記ターンテーブルを回転駆動する駆動装置を有したターンテーブル装置において、
    前記ターンテーブルはその中心を通る直線に沿って分割して一対の分割ターンテーブルで構成し、前記一対の分割ターンテーブルは、それぞれ乗込面を形成する上板と、結合状態における前記上板の中心部となる位置にそれぞれ形成した開口部と、前記一対の分割ターンテーブルの分割面に沿ってそれぞれ延びた分割方向フレームと、前記分割方向フレームに直交する関係でそれぞれ配置した鉛直方向フレームを有して構成し、前記開口部に対応する位置に前記分割方向フレームと前記鉛直方向フレームの交点近傍をそれぞれ位置させ、現地において前記一対の分割ターンテーブル間を結合して円板状の前記ターンテーブルを構成するようにしたことを特徴とするターンテーブル装置。
  2. 前記両分割ターンテーブルは、前記開口部の中心部からほぼ等距離となるよう加重バランスを考慮した位置にそれぞれ取り外し可能な吊金具をそれぞれ一対ずつ設け、前記両分割ターンテーブルを結合して円板状の前記ターンテーブルを構成した後に、前記各吊金具を取り外すことを特徴とする請求項1に記載のターンテーブル装置。
  3. 前記吊金具は、前記上板の前記乗込面側から取り付けたボルトによって取り外し可能に構成し、前記各吊金具の取り外し後のボルト挿入孔に、低頭ボルトを設けたことを特徴とする請求項1に記載のターンテーブル装置。
  4. 前記上板の中心部となる位置にそれぞれ形成された開口部は、前記分割ターンテーブルと前記分割ターンテーブルの結合後に蓋板で封じたことを特徴とする請求項1に記載のターンテーブル装置。
JP2018027950A 2018-02-20 2018-02-20 ターンテーブル装置 Active JP6933989B2 (ja)

Priority Applications (1)

Application Number Priority Date Filing Date Title
JP2018027950A JP6933989B2 (ja) 2018-02-20 2018-02-20 ターンテーブル装置

Applications Claiming Priority (1)

Application Number Priority Date Filing Date Title
JP2018027950A JP6933989B2 (ja) 2018-02-20 2018-02-20 ターンテーブル装置

Publications (2)

Publication Number Publication Date
JP2019143351A true JP2019143351A (ja) 2019-08-29
JP6933989B2 JP6933989B2 (ja) 2021-09-08

Family

ID=67771085

Family Applications (1)

Application Number Title Priority Date Filing Date
JP2018027950A Active JP6933989B2 (ja) 2018-02-20 2018-02-20 ターンテーブル装置

Country Status (1)

Country Link
JP (1) JP6933989B2 (ja)

Cited By (4)

* Cited by examiner, † Cited by third party
Publication number Priority date Publication date Assignee Title
JP2021023518A (ja) * 2019-08-02 2021-02-22 株式会社ニューギン 遊技機
JP2021023521A (ja) * 2019-08-02 2021-02-22 株式会社ニューギン 遊技機
JP2021023520A (ja) * 2019-08-02 2021-02-22 株式会社ニューギン 遊技機
JP2021023522A (ja) * 2019-08-02 2021-02-22 株式会社ニューギン 遊技機

Citations (8)

* Cited by examiner, † Cited by third party
Publication number Priority date Publication date Assignee Title
JPH06346616A (ja) * 1993-06-11 1994-12-20 Koushinshiya:Kk ターンテーブル
JP2004339728A (ja) * 2003-05-14 2004-12-02 Daiwa Kosho Lease Co Ltd 再利用目的建物の再利用可能布基礎および布基礎再利用方法
JP3184684U (ja) * 2013-04-26 2013-07-11 株式会社森精機製作所 ツールマガジンの組立て装置
JP2014237371A (ja) * 2013-06-07 2014-12-18 株式会社アプラス ターンテーブル装置
JP2015048638A (ja) * 2013-09-02 2015-03-16 元治 中 回転式駐車場装置
JP2017071396A (ja) * 2014-09-16 2017-04-13 日本精工株式会社 ステアリング装置
US20170282868A1 (en) * 2016-03-31 2017-10-05 Czarnowski Display Service, Inc. Vehicle turntable
CN107700903A (zh) * 2017-09-04 2018-02-16 陕西隆翔停车设备集团有限公司 一种立体车库用车辆调头装置

Patent Citations (8)

* Cited by examiner, † Cited by third party
Publication number Priority date Publication date Assignee Title
JPH06346616A (ja) * 1993-06-11 1994-12-20 Koushinshiya:Kk ターンテーブル
JP2004339728A (ja) * 2003-05-14 2004-12-02 Daiwa Kosho Lease Co Ltd 再利用目的建物の再利用可能布基礎および布基礎再利用方法
JP3184684U (ja) * 2013-04-26 2013-07-11 株式会社森精機製作所 ツールマガジンの組立て装置
JP2014237371A (ja) * 2013-06-07 2014-12-18 株式会社アプラス ターンテーブル装置
JP2015048638A (ja) * 2013-09-02 2015-03-16 元治 中 回転式駐車場装置
JP2017071396A (ja) * 2014-09-16 2017-04-13 日本精工株式会社 ステアリング装置
US20170282868A1 (en) * 2016-03-31 2017-10-05 Czarnowski Display Service, Inc. Vehicle turntable
CN107700903A (zh) * 2017-09-04 2018-02-16 陕西隆翔停车设备集团有限公司 一种立体车库用车辆调头装置

Cited By (4)

* Cited by examiner, † Cited by third party
Publication number Priority date Publication date Assignee Title
JP2021023518A (ja) * 2019-08-02 2021-02-22 株式会社ニューギン 遊技機
JP2021023521A (ja) * 2019-08-02 2021-02-22 株式会社ニューギン 遊技機
JP2021023520A (ja) * 2019-08-02 2021-02-22 株式会社ニューギン 遊技機
JP2021023522A (ja) * 2019-08-02 2021-02-22 株式会社ニューギン 遊技機

Also Published As

Publication number Publication date
JP6933989B2 (ja) 2021-09-08

Similar Documents

Publication Publication Date Title
JP2019143351A (ja) ターンテーブル装置
JP2661753B2 (ja) タイヤユニフォミティマシン
KR20140146325A (ko) 전자세 용접용 포지셔너 및 그것을 이용한 작업방법
JP2014190107A (ja) 橋桁の架設方法、撤去方法、および橋桁工事用装置
JP2019128034A (ja) 作業台及びそれを用いた施工方法
JP5160121B2 (ja) 既製杭に取り付ける杭保持具、既製杭の連結埋設方法
JP2003095580A (ja) 建設機械
JPH0361541B2 (ja)
JP5368269B2 (ja) ワークの缶組み装置
JP2018135572A (ja) ロール交換用治具およびロール交換方法
JPH0842153A (ja) 長尺鉄骨部材の建方方法及び鉄骨梁の接合仕口構造
JPH1037513A (ja) 二重殻低温タンクの建設工法
JPH0762885A (ja) 鉄骨柱の位置決め治具装置
JP7555596B2 (ja) セントルフォーム側板におけるカラーの固定方法及びセントルフォーム側板の反転装置
CN114314316A (zh) 一种高炉炉顶除尘管道安装方法
JP3133234U (ja) 円柱鉄塔工事用足場
CN218253369U (zh) 翻转装置
JP7692755B2 (ja) 荷揚機
JP6689148B2 (ja) 防音板材の交換装置
JPH08231161A (ja) 下降型工事用エレベータおよびそのエレベータマストを下降方向に延長する方法
JPH054938Y2 (ja)
JP7661171B2 (ja) 荷揚機
JP6038545B2 (ja) 駐車装置の作業台装置およびそれを用いた据え付け方法
JP2015078041A (ja) 資材運搬用昇降装置
CN214291305U (zh) 电焊机搬运作业一体车

Legal Events

Date Code Title Description
RD01 Notification of change of attorney

Free format text: JAPANESE INTERMEDIATE CODE: A7421

Effective date: 20191023

A621 Written request for application examination

Free format text: JAPANESE INTERMEDIATE CODE: A621

Effective date: 20200319

A977 Report on retrieval

Free format text: JAPANESE INTERMEDIATE CODE: A971007

Effective date: 20210216

A131 Notification of reasons for refusal

Free format text: JAPANESE INTERMEDIATE CODE: A131

Effective date: 20210406

A521 Request for written amendment filed

Free format text: JAPANESE INTERMEDIATE CODE: A523

Effective date: 20210426

TRDD Decision of grant or rejection written
A01 Written decision to grant a patent or to grant a registration (utility model)

Free format text: JAPANESE INTERMEDIATE CODE: A01

Effective date: 20210811

A61 First payment of annual fees (during grant procedure)

Free format text: JAPANESE INTERMEDIATE CODE: A61

Effective date: 20210820

R150 Certificate of patent or registration of utility model

Ref document number: 6933989

Country of ref document: JP

Free format text: JAPANESE INTERMEDIATE CODE: R150

R250 Receipt of annual fees

Free format text: JAPANESE INTERMEDIATE CODE: R250

R250 Receipt of annual fees

Free format text: JAPANESE INTERMEDIATE CODE: R250