JP2019127611A - 製鋼方法および製鋼システムにおけるワイヤ投入ステーション - Google Patents

製鋼方法および製鋼システムにおけるワイヤ投入ステーション Download PDF

Info

Publication number
JP2019127611A
JP2019127611A JP2018008569A JP2018008569A JP2019127611A JP 2019127611 A JP2019127611 A JP 2019127611A JP 2018008569 A JP2018008569 A JP 2018008569A JP 2018008569 A JP2018008569 A JP 2018008569A JP 2019127611 A JP2019127611 A JP 2019127611A
Authority
JP
Japan
Prior art keywords
wire
station
molten steel
ladle
addition
Prior art date
Legal status (The legal status is an assumption and is not a legal conclusion. Google has not performed a legal analysis and makes no representation as to the accuracy of the status listed.)
Granted
Application number
JP2018008569A
Other languages
English (en)
Other versions
JP7063635B2 (ja
Inventor
研二 上手
Kenji Kamite
研二 上手
晋 松原
Susumu Matsubara
晋 松原
雄三 加藤
Yuzo Kato
雄三 加藤
克一郎 房前
Katsuichiro Fusamae
克一郎 房前
Current Assignee (The listed assignees may be inaccurate. Google has not performed a legal analysis and makes no representation or warranty as to the accuracy of the list.)
Topy Industries Ltd
Original Assignee
Topy Industries Ltd
Priority date (The priority date is an assumption and is not a legal conclusion. Google has not performed a legal analysis and makes no representation as to the accuracy of the date listed.)
Filing date
Publication date
Application filed by Topy Industries Ltd filed Critical Topy Industries Ltd
Priority to JP2018008569A priority Critical patent/JP7063635B2/ja
Publication of JP2019127611A publication Critical patent/JP2019127611A/ja
Application granted granted Critical
Publication of JP7063635B2 publication Critical patent/JP7063635B2/ja
Active legal-status Critical Current
Anticipated expiration legal-status Critical

Links

Images

Landscapes

  • Treatment Of Steel In Its Molten State (AREA)
  • Waste-Gas Treatment And Other Accessory Devices For Furnaces (AREA)

Abstract

【課題】 生産性を向上させたり、設備コストを低減することができる製鋼方法および製鋼システムを提供する。【解決手段】製鋼例えば電気炉製鋼において、電気炉精錬ステーションS1で、電気炉から取鍋100に溶鋼を移し、次の炉外精錬ステーションS2で取鍋100内の溶鋼に電流を流しながら添加元素を投入して第1段階の成分調整を実行する。次のワイヤ投入ステーションS3で、添加元素を含む添加管20を取鍋100内の溶鋼に投入することにより第2段階の成分調整を実行する。さらにワイヤ投入ステーションS3で、必要とされる添加元素を充填した細長い鋼管からなるワイヤ91〜94を取鍋100内の溶鋼に投入することにより第3段階の成分調整を実行する。ワイヤ91〜94の投入や保温材80の投入は、集塵フード71を取鍋に被せたまま実行する。【選択図】 図1

Description

本発明は、製鋼方法の改良および製鋼システムにおけるワイヤ投入ステーションの設備の改良に関する。
従来の一般的な製鋼方法を、電気炉製鋼方法を例にとって簡単に説明する。
[第1工程]
電気炉精錬ステーションにおいて、電気炉内で黒鉛電極に大電流を流すことにより、鉄スクラップを溶解する。この際、酸素を吹き込むことにより酸化熱で温度を上昇させる(酸化精錬)。酸化精錬後、酸化スラグを電気炉外に出す。
[第2工程]
電気炉の真下に搬入した取鍋に溶鋼を移し、この取鍋を電気炉精錬ステーションから炉外精錬ステーションへと移す。
炉外精錬ステーションでは、黒鉛電極に電流を流し、取鍋内の溶鋼の温度を調節しながら、脱酸剤や石灰を加えて還元性スラグを生成させ、脱酸、脱硫を行う(還元精錬)。この工程では、溶鋼の均一化や酸化物系介在物、硫化物系介在物の除去を行うとともに、各種元素を添加し、成分調整を行う。第1段階の成分調整では酸化しにくい元素を溶鋼中に投入する。第2段階の成分調整では、酸化しやすい元素を鋼製の添加管に充填して溶鋼中に投入する。
[第3工程]
取鍋を炉外精錬ステーションからワイヤ投入ステーションに移す。このワイヤ投入ステーションでは、必要とされる添加元素を充填した細長い鋼管からなるワイヤを、取鍋中の溶鋼に送り込むことにより、第3段階(最終段階)の成分調整を行う。特許文献1参照。
[第4工程]
取鍋をワイヤ投入ステーションから搬出し、取鍋の溶鋼をタンディッシュに移し、タンディッシュの複数のノズルから鋳型へ溶鋼を送り、鋳造品を得る。
なお、上記元素添加の直後には、保温材を投入する。この保温材が溶鋼上面を覆うことにより、溶鋼温度の降下を抑制する。特許文献2,3参照。
実開平6−42952号公報 実開昭59−165450号公報 特開平5−179337号公報
上述した従来の製鋼方法では、炉外精錬ステーション(第2工程)において、第1段階の成分調整のための添加元素投入作業のみならず、第2段階の成分調整のための添加管投入作業を含むために、作業時間が第1工程、第3工程、第4工程より長くなり、その結果、第1工程、第3工程、第4工程において待ち時間が生じ、生産性が低く、その改善が待たれていた。
一方で、炉外精錬ステーションの設備費用負担が重いため、設備費用の削減の要求もあった。
本発明は上記課題を解決するためになされたもので、製鋼方法において、一次精錬ステーションで、炉から取鍋に溶鋼を移し、ワイヤ投入ステーションで、添加元素を含む添加管を上記取鍋内の溶鋼に投入し、さらに必要とされる添加元素を充填した細長い鋼管からなるワイヤを取鍋内の溶鋼に投入することを特徴とする。
上記方法によれば、下記の効果を得ることができる。
一次精錬ステーションとワイヤ投入ステーションとの間に炉外精錬ステーションが介在される場合には、今まで炉外精錬ステーションで実行していた添加管投入作業を、ワイヤ投入ステーションで実行することにより、炉外精錬ステーションでの作業時間を短縮して一次精錬ステーションとワイヤ投入ステーションでの作業時間に近づけることができ、これにより一次精錬ステーション、ワイヤ投入ステーションでの待ち時間を減じることができ、生産性を向上させることができる。
また、炉外精錬ステーションを省くことも可能になり、この場合には生産性向上の代わりに、設備コストの費用削減を図ることができる。
好ましくは、上記ワイヤ投入ステーションにおいて、排気ダクトに接続された集塵フードで集塵しながら上記ワイヤ投入を実行する。
上記方法によれば、ワイヤ投入時の粉塵の飛散を回避でき、作業環境を改善することができる。
好ましくは、上記ワイヤ投入ステーションにおいて、上記添加管投入後および上記ワイヤ投入後に、保温材を溶鋼に投入し、この保温材投入を排気ダクトに接続された集塵フードで集塵しながら実行する。
上記方法によれば、保温材投入時の粉塵の飛散を回避でき、作業環境を改善することができる。
好ましくは、上記添加管が、ホイール生産工程で生じた複数の廃品を溶接することにより構成されている。
上記方法によれば、添加管としてホイール廃品を用いることにより、生産コストを低下させることができる。
好ましくは、リムとディスクを有するホイール廃品により、上記添加管の上下端部が構成され、リムだけの複数のホイール廃品により上記添加管の中間部が構成され、上記ホイール廃品のリム同士が溶接されており、吊り下げ鉄製棒が上記添加管の中心軸線を通り上記添加管から上方に延びており、上記吊り下げ鉄製棒が、上記添加管の上下端部を構成するホイール廃品のディスクに溶接されている。
上記方法によれば、リムとディスクからなるホイール廃品とリムだけのホイール廃品とを組み合わせて使用することにより、添加元素を収容するのに適した添加管を得ることができる。また、添加管の上方に延びる吊り下げ鉄製棒を介して添加管を吊り下げながら溶鋼中に投入することにより、投入作業を円滑に行うことができる。
本発明方法の具体的態様では、上記一次精錬ステーションで溶鋼を受けた取鍋を、炉外精錬ステーションに移し、この炉外精錬ステーションで、上記取鍋内の溶鋼に添加元素を投入して第1段階の成分調整を実行した後、上記取鍋を上記ワイヤ投入ステーションに移し、上記ワイヤ投入ステーションで、上記添加管投入による第2段階の成分調整を実行するとともに、上記ワイヤ投入により、第3段階の成分調整または後続工程のための添加元素の添加を実行する。
具体的態様の一例では、上記一次精錬ステーションが電気炉精錬ステーションであり、上記炉外精錬ステーションでは、電流を流しながら添加元素を投入することにより上記第1段階の成分調整を実行する。
本発明の他の態様は、製鋼システムにおいて、一次精錬ステーションから溶鋼を受けた取鍋が搬入されるワイヤ投入ステーションであって、
所定位置に設置された上記取鍋の溶鋼中に、添加元素を含む添加管を投入する添加管投入装置と、
必要とされる添加元素を充填した細長い鋼管からなるワイヤを送る送り機構と、この送り機構からのワイヤを案内するワイヤガイドとを有するワイヤ投入装置と、
を備えたことを特徴とする。
上記ワイヤ投入ステーションによれば、添加管投入作業を実行することにより、炉外精錬ステーションでの作業時間を短縮することができ、これにより一次精錬ステーション、ワイヤ投入ステーションでの待ち時間を減じることができ、生産性を向上させることができる。
また、炉外精錬ステーションを省くことも可能になり、この場合には生産性向上の代わりに、設備コストの費用削減を図ることができる。
好ましくは、さらに、集塵フードと、この集塵フードに接続された排気ダクトと、この集塵フードに設けられたワイヤ案内シュートとを有する集塵装置とを備え、
上記集塵装置は、上記集塵フードが上記取鍋に被さる使用位置と、上記集塵フードが上記取鍋から離れた後退位置との間で移動可能であり、
上記集塵装置が上記使用位置にある時、上記ワイヤ案内シュートが上記ワイヤ投入装置の上記ワイヤガイドに連なり、これにより、上記送り機構からの上記ワイヤを上記ワイヤガイドおよび上記ワイヤ案内シュートを介して溶鋼中に投入することができることを特徴とする。
上記ワイヤステーションによれば、集塵フードを取鍋に被せた状態でワイヤを溶鋼中に投入できるので、ワイヤ投入時の粉塵の飛散を回避でき、作業環境を改善することができる。
好ましくは、さらに保温材投入装置を備え、この保温材投入装置は、保温材を収容するホッパーと、このホッパーの下端に連なる供給管を有し、上記集塵フードにはさらに保温材案内シュートが設けられており、上記集塵装置が上記使用位置にある時、上記保温材案内シュートが上記保温材投入装置の上記供給管に連なり、これにより、上記ホッパー内の保温材を上記供給管および上記保温材案内シュートを介して溶鋼中に投入することができる。
上記ワイヤ投入ステーションによれば、集塵フードを取鍋に被せた状態で保温材を溶鋼中に投入できるので、ワイヤ投入時のみならず保温材投入時の粉塵の飛散をも回避でき、作業環境をより一層改善することができる。
好ましくは、さらに、昇降可能な温度測定器およびサンプリング器を含む測定装置を備え、上記集塵フードには、上記温度測定器やサンプリング器の通過を許容する測定穴が形成されている。
本発明によれば、炉外精錬ステーションでの作業時間を短縮して電気炉精錬ステーションとワイヤ投入ステーションでの作業時間に近づけることができるので、生産性を向上させることができる。また、炉外精錬ステーションを省くことも可能になり、この場合には生産性向上の代わりに、設備コストの費用削減を図ることができる。
本発明の一実施形態に係る製鋼システムにおける4つのステーションと取鍋の移動経路を概略的に示す図であり、実線の矢印は溶鋼が収容された取鍋の移動経路を示し、破線の矢印は空の取鍋の移動経路を示す。 上記製鋼システムにおけるワイヤ投入ステーションを概略的に示す平面図である。 上記ワイヤ投入ステーションの添加管投入装置により、添加管を取鍋の溶鋼中に投入する工程を概略的に示す側面図である。 上記添加管投入装置におけるチャック機構の側面図である。 上記添加管の斜視図である。 上記ワイヤ投入ステーションにおける集塵装置、測定装置および保温材投入装置を概略的に示す断面図である。 上記保温材投入装置により取鍋の溶湯中に保温材を投入する工程を概略的に示す断面図である。 上記ワイヤ投入ステーションにおいて、ワイヤ投入装置によりワイヤを取鍋の溶鋼中に投入している状態を概略的に示す側面図である、 上記ワイヤ投入装置における送り機構の断面図である。
以下、本発明の一実施形態を、図面を参照しながら説明する。最初に本実施形態の製鋼方法の概略を、図1を参照しながら説明する。
[第1工程]
電気炉精錬ステーションS1(一次精錬ステーション)において、電気炉内で黒鉛電極に電流を流すことにより、鉄スクラップを溶解する。この際、酸素を吹き込むことにより酸化熱で温度を上昇させる(酸化精錬)。酸化精錬後、酸化スラグを電気炉外に出す。この一次精錬に係る第1工程は、従来の電気炉製鋼方法と同様である。
次に、二次精錬に係る第2、第3工程に進む。
[第2工程]
後述する仮置き場P1から空の取鍋を電気炉精錬ステーションS1まで台車で搬入し、電気炉の溶鋼を取鍋に移す。この取鍋を台車に載せたまま電気炉精錬ステーションS1から炉外精錬ステーションS2へと移す。
炉外精錬ステーションS2では、黒鉛電極に電流を流し続けることにより取鍋内の溶鋼の温度を調節しながら、脱酸剤や石灰を加えて還元性スラグを生成させ、脱酸、脱硫を行う(還元精錬)。溶鋼の均一化や酸化物系介在物、硫化物系介在物を除去する。
炉外精錬ステーションS2では、さらに第1段階の成分調整を行う。主としてV、Cr、Mnをフェロバナジウム、フェロクロム、フェロマンガンの鉄合金の形態で溶鋼中に投入するとともに、Siをフェロシリコンの形態で、Cをカーボン粉末の形態で投入する。
炉外精錬ステーションS2において、上記第1段階の成分調整を実行することは従来の製鋼方法と同様である。しかし、本実施形態では炉外精錬ステーションS2において後述の第2段階の成分調整を実行しない点で、従来の製鋼方法とは異なる。その結果、炉外精錬ステーションS2での第2工程の所要時間が短縮される。
[第3工程]
取鍋を台車に載せたまま炉外精錬ステーションS2から仮置き場P1に移す。さらに、取鍋をクレーンにより仮置き場P1からワイヤ投入ステーションS3に移す。
ワイヤ投入ステーションS3において、第2段階および第3段階(最終段階)の成分調整を行う点で従来の製鋼方法とは異なる。
第2段階の成分調整では、Al、Ti等を添加するとともに、Bを例えばフェロボロンの形態で添加する。具体的には、これら金属を鋼製の添加管に充填して溶鋼中に投入する。添加管を用いることにより、溶鋼中に浸かった状態で合金元素が溶鋼中に溶け出すので、歩留まりを上げることができる。
第3段階の成分調整は、基本的には従来の製鋼方法と同様である。以下、詳述する。
第2段階の成分調整の後に溶鋼のサンプリングを行い、このサンプリングの結果に基づき第2段階の成分調整で添加した元素Al,Ti,Bのうち補充すべき元素があれば、当該元素を充填した細長い鋼管からなるワイヤ(以下、単にワイヤと言う)を溶鋼中に投入する。
第3段階の成分調整において、快削鋼などSの含有量が多い鋼種を製造する場合には、Sの粉末を充填したワイヤも溶鋼中に投入する。
さらに、Ca−Siを充填したワイヤを取鍋中の溶鋼に送り込む。溶鋼中のAlは融点が高く、後述する第4工程でタンディッシュの出口ノズルに付着して出口ノズルを閉塞する原因となるが、Caを添加してAlの融点を下げることにより出口ノズルでの付着を防止するのである。CaはFeより沸点が低く蒸気圧が高いため単独では溶鋼中に溶け込むのが困難であるが、一緒に添加されるSiがCaの活量を下げるのでCaの鋼中溶解度を高めることができる。
上述したCa−Si(後続工程のための元素)を充填したワイヤを投入するだけで、成分調整のためのワイヤ投入(第3段階の成分調整)を必要としない場合には、添加管投入による第2段階の成分調節が、最終段階の成分調節となる。
ワイヤ投入ステーションS3での他の作業については、後述する。
[第4工程]
取鍋をクレーンにより、ワイヤ投入ステーションS3から鋳造ステーションS4へと移す。この鋳造ステーションS4では、取鍋の溶鋼をタンディッシュに流し込み、タンディッシュの複数の出口ノズルから鋳型へ溶鋼を送り、鋳造品を得る。この第4工程は、従来の製鋼方法と同様である。
空になった取鍋は、クレーンにより仮置き場P2まで運ばれ、ここで待機する。さらにクレーンにより仮置き場P2から仮置き場P1に戻される。本実施形態の製鋼システムでは、複数台の取鍋が図1の矢印に沿って巡回する。
上述したように、添加管投入による第2段階の成分調整を炉外精錬ステーションS2での第2工程で実行せず、ワイヤ投入ステーションS3での第3工程で実行するので、従来の製鋼方法において最も長かった第2工程の所要時間を短縮することができ、これにより、第1〜第4工程での所要時間の差を縮めることができ、生産性を向上させることができる。また、第1工程において電気炉内に溶鋼を収容した状態での待ち時間を短くすることができるので、無駄なエネルギーの消耗を減じることができる。
本実施形態ではワイヤ投入ステーションS3の設備に工夫を加えることにより、作業効率および作業環境を改善することができる。以下、図2〜図9を参照しながら、ワイヤ投入ステーションS3の設備について詳述する。
ワイヤ投入ステーションS3には架台1が構築されている。架台1には、添加管投入装置10(図2,図3参照)と、測定装置40および保温材投入装置50(図6,図7参照)と、ワイヤ投入装置60(図2、図8、図9参照)が設置されている。
架台1の近傍の床には、取鍋100を載せるための支持台(図示しない)と、添加管保管装置30(図2参照)が設置されている。
さらに、ワイヤ投入ステーションS3の設備は、後述の使用位置と後退位置との間で台車により移動可能な集塵装置70(図6〜図8参照)を備えている。
取鍋100の底部にはノズル101が形成されており、ノズル101から不活性ガスを供給して溶鋼を撹拌し、後述の添加元素の溶解を促進する。この不活性ガスによる撹拌は、取鍋100のワイヤ投入ステーションS3への搬入直後から、取鍋100がワイヤ投入ステーションS3から搬出されるまで継続して行われる。なお、この不活性ガスの撹拌は溶鋼の温度低下を伴うので、電磁バルブにより不活性ガス噴出量を調節することにより、温度調節を行うこともできる。
添加管投入装置10は、支持フレーム11と、旋回駆動部12と、チャック機構13とを備えている。
図2、図3に示すように、支持フレーム11は、旋回駆動部12に支持されて垂直軸線を中心に回動される支柱11aと、この支柱11aに固定されて水平方向に延びる旋回アーム11bと、旋回アーム11bの先端部から下方に垂下し昇降機構(図示しない)により昇降する支持ロッド11cと、を有している。
旋回アーム11bは、基部アーム部と、この基部アーム部に支持された先部アーム部と、この先部アームを基部アーム部から突出させたり後退させたりする駆動機構(図示しない)とを有しており、伸縮可能である。
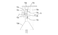
チャック機構13は支持ロッド11cの下端に支持されている。図4に示すように、チャック機構13は、支持ロッド11cの下端に固定された固定台13aと、この固定台13aから下方に延びる受側サポート13bおよび押圧側サポート13cと、受側サポート13cの下端に固定された傘形状のガイド13dと、固定板13aの下面に固定されたストッパ13eとを有している。
上記ガイド13dは、上方に向かうにしたがって内径が小さくなるようなテーパを有しており、その上端部には開口が形成されている。ストッパ13eは、この開口を通る垂直の中心軸線上に配置されている。受側サポート13bには上下に離間した2つの鉄製棒受部13xが固定されている。これら鉄製棒受部13xは、上下方向に凹凸をなす受面を有している。押圧側サポート13cには、図示しないシリンダにより上記中心軸線に向かって進んだり後退したりする水平ロッド13yがスライド可能に支持されている。この水平ロッド13yの先端には、鉄製棒押圧部13zが固定されている。この鉄製棒押圧部13zは、上下方向に凹凸をなす押圧面を有している。上記鉄製棒受部13xと鉄製棒押圧部13zの受け面は上記中心軸線を向いている。
上記添加管投入装置10により投入される添加管20は、図5に示すように縦長の筒部21と、この筒部21の上端と下端を塞ぐ閉塞板22、23とを有しており、内部に前述した元素金属が収容されている。
添加管20には、吊り下げ鉄製棒25が固定されている。この吊り下げ鉄製棒25は、閉塞板22,23を貫通して筒部21の中心軸線を通っており、短い横鉄製棒26,27を介して溶接により閉塞板22,23の外面に固定されている。吊り下げ鉄製棒25は、添加管20の上端閉塞板22から上方に延びている。
本実施形態の添加管20は、鋼製ホイールの生産過程で不良と認定されたり、市中から回収された廃品(以下、ホイール廃品と言う)を同軸をなして重ねることにより構成されている。
詳述すると、中間の複数段のホイール廃品W1は未成形のリムR’だけからなる。すなわち、円筒形のリムの原形を製造した段階で不良品と認定されたものである。このリムR’が筒部21の中間部として提供される。
最上段のホイール廃品W2と最下段のホイール廃品W3は、リムRとこのリムRの軸方向一方側に溶接されたディスクDにより構成されている。すなわち、リムRにディスクDを溶接した後に不良品と認定されたものである。
最上段のホイール廃品W2のリムRにより添加管20の筒部21の上端部が提供され、ディスクDにより添加管20の上端閉塞板22が提供されている。
最下段のホイール廃品W3のリムRにより添加管20の筒部21の下端部が提供され、ディスクDにより添加管20の下端閉塞板23が提供されている。
上記ホイールW1、W2、W3のリムR同士を溶接することにより、添加管20が得られる。
添加管20には、添加元素の金属塊が収容されている。大きい金属塊を下にし、小さい金属塊を上にすることにより、下端閉塞板23を構成するディスクDに飾り穴等の穴が形成されていても漏れることはない。
図2に示すように、添加管保管装置30は、支持台31と、この支持台31に回転可能に支持された2つのカートリッジ32とを有している。一方のカートリッジ32は支持フレーム11の旋回軸線に近く、他方のカートリッジ32は旋回軸線から離れている。
各カートリッジ32には、吊り下げ鉄製棒25付きの複数の添加管20が、回転中心から等距離離れて支持されている。
添加管投入装置10は、添加管保管装置30に保管された1つの添加管20を取り出して取鍋100の溶鋼中に投入する。以下、詳述する。
添加管投入装置10の旋回アーム11bを旋回させて図2の想像線で示すように添加管保管装置30の真上に配置し、昇降機構を駆動して支持ロッド1cを下降させる。すると、支持フレーム11の旋回軸線から最も遠い添加管20の吊り下げ鉄製棒25の上端部がチャック機構13のガイド13dを通ってストッパ13eに当たる。この状態でチャック機構13のシリンダを駆動すると、鉄製棒押圧部13zが吊り下げ鉄製棒25を押す。ガイド13dの上端開口の径は吊り下げ鉄製棒25の径より大きいので、吊り下げ鉄製棒25は若干量横移動して鉄製棒受部13xに当たる。このようにして、吊り下げ鉄製棒25が鉄製棒押圧部13zと鉄製棒受部13xによって把持される。
次に、昇降機構を駆動して支持ロッド11cを上昇させ、添加管20をカートリッジ32から上方に引き抜く。次に、旋回駆動部12を駆動してアーム11bを旋回させ、図2に実線で示すように取鍋100の上方に位置させる。次に昇降機構を駆動して支持ロッド11cを下降させ、吊り下げ鉄製棒25が途中まで取鍋100の溶鋼中に入り込むまで、添加管20を溶鋼中に押し込む。これにより、添加管20全体を溶鋼中に浸漬し、溶鋼中に溶解させる。このようにして第2段階の成分調整が完了する。
なお、Alだけを添加すれば良い場合がある。その場合にはアルミ製のホイールの廃品を用いて上記添加管20と同様の添加管を用い、この添加管を空の状態で投入してもよい。
添加管20として、ホイール廃品ではなく専用の鋼製管を用いてもよい。
上記添加管20の溶解後、旋回駆動部12を駆動して旋回アーム11bを添加管保管装置30の真上の位置まで戻し、取鍋への次の添加管20の投入に備える。添加管保管装置30では、旋回軸線から遠い方のカートリッジ32を所定角度回動させて、次の添加管20がチャック機構13の真下に位置するように準備する。
なお、旋回軸線から遠い方のカートリッジ32に添加管20が無くなった時には、旋回アーム11bを短くし、上記と同様にして旋回軸線に近い方のカートリッジ32から添加管20の取り出しを行なう。
添加管20の投入後に、図6に示すように、台車に支持された集塵装置70を取鍋100から離れた後退位置から使用位置へと移動する。集塵装置70は、使用位置において僅かな隙間を介して取鍋100の上端開口を覆う集塵フード71と、この集塵フード71に接続された排気ダクト72を有している。排気ダクト72は炉外精錬ステーションS2の集塵設備に接続されている。
集塵フード71には、測定装置40の真下に位置する測定穴73が形成されるとともに、保温材ガイドシュート74と複数(本実施形態では4つ)のワイヤガイドシュート75が設けられている。
集塵装置60の設置後、次の作業が実行される。
測定装置40の温度測定器41を下方に移動し、測定穴73を通って溶鋼中の温度を測定し、元の上方位置に戻る。なお、温度測定は取鍋100がワイヤ投入ステーションS3から搬出されるまでにこまめに実施される。
また、添加管20の溶解が完了したのちサンプリング器42を下方に移動し、測定穴73を通って溶鋼をサンプリングし、元の上方位置に戻る。
次に、図7に示すように、保温材投入装置50から保温材を溶鋼中に投入する。保温材投入装置50は、保温材80を収容したホッパー51と、このホッパー51の下端に取り付けられた第1供給管52と、この第1供給管52に格納され保温材80の投入時に集塵装置70の保温材案内シュート74の入口まで延びる第2供給管53とを有している。ホッパー51の下端の弁を開くと、ホッパー51内の保温材80は、第1供給管52、第2供給管53および保温材案内シュート74を介して溶鋼上に供給される。溶鋼面上の保温材80は不活性ガスによる溶鋼の撹拌作用により溶鋼の上面全域に広がる。これにより、溶鋼の温度低下を抑制することができる。
次に、図8、図9に示すようにワイヤ投入を行う。本実施形態では、4本のワイヤ91,92,93,94が用意されている。ワイヤ91,92は、毎回投入されるものであり、Ca−Siの混合粉末が充填されている。残りの2本のワイヤ93,94には、Al,Ti,B、S等の元素が選択的に充填されている。これらワイヤ93,94は、製造される鋼種および上記サンプリングの結果に基づいて決定された補充すべき添加元素に対応して選択される。
図2、図8、図9に示すように、4つのワイヤ投入装置60の各々は、架台1に設置されたハウジング61と、ハウジング61内に収納されピンチロール62aをモータ62bで回転することによりワイヤ91〜94を送る送り機構62と、ハウジング61に固定されドラムから引き出されたワイヤ91〜94を送り機構62へと案内する入口ガイド63と、ハウジング61に固定され、送り機構62から送り出されたワイヤ91〜94を導出する出口ガイド64と、一端が出口ガイド64に近接したワイヤガイド65と、を備えている。4つのワイヤ投入装置60のワイヤガイド65の他端は、使用位置にある集塵装置70の4つのワイヤ案内シュート75の入口に、それぞれ近接して配置されている。
選択されたワイヤ投入装置60では、送り機構62が駆動し、出口ガイド64から導出されたワイヤ91〜94が、ワイヤガイド65を通り、ワイヤ案内シュート75を通って取鍋100の溶鋼中に投入される。このワイヤ91〜94の溶解により、後続工程のための元素添加と、必要に応じて第3段階の成分調整のための元素添加が完了する。
ワイヤ91〜94の投入溶解後、再びサンプリングを行い、さらに保温材80を投入し、鋳造ステーションS4へと取鍋を搬出する。
排気ダクト72は炉外精錬ステーションS2の集塵設備のファンにより吸引されている。上述した保温材80の投入時、ワイヤ91〜94の投入時に発生する粉塵は、集塵フード71から排気ダクト72を通って上記集塵設備に送られるので、ワイヤ投入ステーションS3の作業環境の悪化を防止することができる。
上記実施形態では、炉外精錬ステーションで第1段階の成分調整を行ったが、例えば添加元素が少ない場合には、この炉外精錬ステーションを省いてもよい。これにより、設備費用を大幅に削減することができる。この場合、ワイヤ投入ステーションにおいて、添加元素を添加管に収容して投入することができる。
本発明は上記実施形態に制約されず、種々の形態を採用可能である。
集塵装置の集塵フードには、添加管を通すための開口を形成してもよい。この場合、取鍋をワイヤ投入ステーションに搬入した直後に、集塵装置を使用位置まで移動して取鍋を集塵フードで被う。
上記実施形態では、集塵装置を台車により直線移動させたが、使用位置と後退位置との間で旋回させてもよいし、昇降させてもよい。
本実施形態では電気炉製鋼方法を採用したが、本発明を転炉による製鋼方法・システムに適用してもよい。この場合、一次精錬ステーションに転炉が配置される。転炉では、高炉からの銑鉄に酸素を吹いて脱炭する。転炉からの溶鋼が取鍋に移される。取鍋は、炉外精錬ステーションを経てワイヤ投入ステーションに移送するか、ワイヤ投入ステーションに直接移送される。
本発明は、製鋼方法に適用することができる。
S1 電気炉精錬ステーション(一次精錬ステーション)
S2 炉外精錬ステーション
S3 ワイヤ投入ステーション
S4 鋳造ステーション
W1〜W3 ホイール廃品
R リム
D ディスク
10 添加管投入装置
20 添加管
21 筒部
22 上端閉塞板
23 下端閉塞板
25 吊り下げ鉄製棒
40 測定装置
41 温度測定器
42 サンプリング器
50 保温材投入装置
51 ホッパ
52,53 供給管
60 ワイヤ投入装置
62 送り機構
65 ワイヤガイド
70 集塵装置
71 集塵フード
72 排気ダクト
73 測定穴
74 保温材案内シュート
75 ワイヤ案内シュート
80 保温材
91〜94 ワイヤ
100 取鍋
101 ノズル

Claims (11)

  1. 一次精錬ステーションで、炉から取鍋に溶鋼を移し、
    ワイヤ投入ステーションで、添加元素を含む添加管を上記取鍋内の溶鋼に投入し、さらに必要とされる添加元素を充填した細長い鋼管からなるワイヤを取鍋内の溶鋼に投入することを特徴とする製鋼方法。
  2. 上記ワイヤ投入ステーションにおいて、排気ダクトに接続された集塵フードで集塵しながら上記ワイヤ投入を実行することを特徴とする請求項1に記載の製鋼方法。
  3. 上記ワイヤ投入ステーションにおいて、上記添加管投入後および上記ワイヤ投入後に、保温材を溶鋼に投入し、この保温材投入を排気ダクトに接続された集塵フードで集塵しながら実行することを特徴とする請求項2に記載の製鋼方法。
  4. 上記添加管が、ホイール生産工程で生じた複数の廃品を溶接することにより構成されていることを特徴とする請求項1〜3のいずれかに記載の製鋼方法。
  5. リムとディスクを有するホイール廃品により、上記添加管の上下端部が構成され、リムだけの複数のホイール廃品により上記添加管の中間部が構成され、上記ホイール廃品のリム同士が溶接されており、
    吊り下げ鉄製棒が上記添加管の中心軸線を通り上記添加管から上方に延びており、上記吊り下げ鉄製棒が、上記添加管の上下端部を構成するホイール廃品のディスクに溶接されていることを特徴とする請求項4に記載の製鋼方法。
  6. 上記一次精錬ステーションで溶鋼を受けた取鍋を、炉外精錬ステーションに移し、この炉外精錬ステーションで、上記取鍋内の溶鋼に添加元素を投入して第1段階の成分調整を実行した後、上記取鍋を上記ワイヤ投入ステーションに移し、上記ワイヤ投入ステーションで、上記添加管投入による第2段階の成分調整を実行するとともに、上記ワイヤ投入により、第3段階の成分調整または後続工程のための添加元素の添加を実行することを特徴とする請求項1〜5のいずれかに記載の製鋼方法。
  7. 上記一次精錬ステーションが電気炉精錬ステーションであり、上記炉外精錬ステーションでは、電流を流しながら添加元素を投入することにより上記第1段階の成分調整を実行することを特徴とする請求項6に記載の製鋼方法。
  8. 製鋼システムにおいて、一次精錬ステーションから溶鋼を受けた取鍋が搬入されるワイヤ投入ステーションであって、
    所定位置に設置された上記取鍋の溶鋼中に、添加元素を含む添加管を投入する添加管投入装置と、
    必要とされる添加元素を充填した細長い鋼管からなるワイヤを送る送り機構と、この送り機構からのワイヤを案内するワイヤガイドとを有するワイヤ投入装置と、
    を備えたことを特徴とするワイヤ投入ステーション。
  9. さらに、集塵フードと、この集塵フードに接続された排気ダクトと、この集塵フードに設けられたワイヤ案内シュートとを有する集塵装置とを備え、
    上記集塵装置は、上記集塵フードが上記取鍋に被さる使用位置と、上記集塵フードが上記取鍋から離れた後退位置との間で移動可能であり、
    上記集塵装置が上記使用位置にある時、上記ワイヤ案内シュートが上記ワイヤ投入装置の上記ワイヤガイドに連なり、これにより、上記送り機構からの上記ワイヤを上記ワイヤガイドおよび上記ワイヤ案内シュートを介して溶鋼中に投入することができることを特徴とする請求項8に記載のワイヤ投入ステーション。
  10. さらに保温材投入装置を備え、この保温材投入装置は、保温材を収容するホッパーと、このホッパーの下端に連なる供給管を有し、
    上記集塵フードにはさらに保温材案内シュートが設けられており、
    上記集塵装置が上記使用位置にある時、上記保温材案内シュートが上記保温材投入装置の上記供給管に連なり、これにより、上記ホッパー内の保温材を上記供給管および上記保温材案内シュートを介して溶鋼中に投入することができることを特徴とする請求項9に記載のワイヤ投入ステーション。
  11. さらに、昇降可能な温度測定器およびサンプリング器を含む測定装置を備え、
    上記集塵フードには、上記温度測定器やサンプリング器の通過を許容する測定穴が形成されていることを特徴とする請求項10に記載のワイヤ投入ステーション。
JP2018008569A 2018-01-23 2018-01-23 製鋼方法および製鋼システムにおけるワイヤ投入ステーション Active JP7063635B2 (ja)

Priority Applications (1)

Application Number Priority Date Filing Date Title
JP2018008569A JP7063635B2 (ja) 2018-01-23 2018-01-23 製鋼方法および製鋼システムにおけるワイヤ投入ステーション

Applications Claiming Priority (1)

Application Number Priority Date Filing Date Title
JP2018008569A JP7063635B2 (ja) 2018-01-23 2018-01-23 製鋼方法および製鋼システムにおけるワイヤ投入ステーション

Publications (2)

Publication Number Publication Date
JP2019127611A true JP2019127611A (ja) 2019-08-01
JP7063635B2 JP7063635B2 (ja) 2022-05-09

Family

ID=67471895

Family Applications (1)

Application Number Title Priority Date Filing Date
JP2018008569A Active JP7063635B2 (ja) 2018-01-23 2018-01-23 製鋼方法および製鋼システムにおけるワイヤ投入ステーション

Country Status (1)

Country Link
JP (1) JP7063635B2 (ja)

Citations (13)

* Cited by examiner, † Cited by third party
Publication number Priority date Publication date Assignee Title
JPS5145905U (ja) * 1974-10-02 1976-04-05
JPS5831259U (ja) * 1981-08-24 1983-03-01 トピ−工業株式会社 溶鋼への添加物添加装置
JPS58117840A (ja) * 1981-12-30 1983-07-13 Nippon Steel Corp 溶融金属への添加方法および装置
JPS59165450U (ja) * 1983-03-22 1984-11-06 株式会社神戸製鋼所 取鍋内への保温剤投入装置
JPS6184315A (ja) * 1984-09-28 1986-04-28 Nippon Kokan Kk <Nkk> 溶鋼の取鍋精錬方法
JPH0741819A (ja) * 1993-07-29 1995-02-10 Godo Seitetsu Kk 炉外精錬装置における副原料の投入方法
JPH07126735A (ja) * 1993-10-29 1995-05-16 Aichi Steel Works Ltd ワイヤ式添加材送給装置
JPH07292406A (ja) * 1994-04-26 1995-11-07 Kubota Corp 黒鉛球状化剤圧力添加自動化装置
JPH08157935A (ja) * 1994-12-06 1996-06-18 Sumitomo Metal Ind Ltd 溶鋼へのCa系ワイヤ添加方法
JPH08176636A (ja) * 1994-12-28 1996-07-09 Honda Motor Co Ltd 溶湯に対する添加剤の添加方法
JP2002363691A (ja) * 2001-06-07 2002-12-18 Yoshimura Gijutsu Jimusho:Kk 硫黄含有快削鋼、その快削鋼の製造方法、および快削鋼の機械加工方法
JP2006316331A (ja) * 2005-05-16 2006-11-24 Nippon Chutetsukan Kk 黒鉛球状化処理方法
JP2007254844A (ja) * 2006-03-24 2007-10-04 Jfe Steel Kk 溶鋼の脱硫方法

Patent Citations (13)

* Cited by examiner, † Cited by third party
Publication number Priority date Publication date Assignee Title
JPS5145905U (ja) * 1974-10-02 1976-04-05
JPS5831259U (ja) * 1981-08-24 1983-03-01 トピ−工業株式会社 溶鋼への添加物添加装置
JPS58117840A (ja) * 1981-12-30 1983-07-13 Nippon Steel Corp 溶融金属への添加方法および装置
JPS59165450U (ja) * 1983-03-22 1984-11-06 株式会社神戸製鋼所 取鍋内への保温剤投入装置
JPS6184315A (ja) * 1984-09-28 1986-04-28 Nippon Kokan Kk <Nkk> 溶鋼の取鍋精錬方法
JPH0741819A (ja) * 1993-07-29 1995-02-10 Godo Seitetsu Kk 炉外精錬装置における副原料の投入方法
JPH07126735A (ja) * 1993-10-29 1995-05-16 Aichi Steel Works Ltd ワイヤ式添加材送給装置
JPH07292406A (ja) * 1994-04-26 1995-11-07 Kubota Corp 黒鉛球状化剤圧力添加自動化装置
JPH08157935A (ja) * 1994-12-06 1996-06-18 Sumitomo Metal Ind Ltd 溶鋼へのCa系ワイヤ添加方法
JPH08176636A (ja) * 1994-12-28 1996-07-09 Honda Motor Co Ltd 溶湯に対する添加剤の添加方法
JP2002363691A (ja) * 2001-06-07 2002-12-18 Yoshimura Gijutsu Jimusho:Kk 硫黄含有快削鋼、その快削鋼の製造方法、および快削鋼の機械加工方法
JP2006316331A (ja) * 2005-05-16 2006-11-24 Nippon Chutetsukan Kk 黒鉛球状化処理方法
JP2007254844A (ja) * 2006-03-24 2007-10-04 Jfe Steel Kk 溶鋼の脱硫方法

Also Published As

Publication number Publication date
JP7063635B2 (ja) 2022-05-09

Similar Documents

Publication Publication Date Title
TWI480378B (zh) 最低化耗能之多功能電弧爐系統及製造鋼產品之製程
CN108300929B (zh) 一种板材的加工方法及其连铸设备的进料机构
CN203216279U (zh) 一种用于电炉出钢添加合金的装置
US5817164A (en) Method and apparatus for making feedstock for steel making
CN107267711B (zh) 一种旋转喷吹粉剂的钢水合金化装置及合金化方法
JP3867683B2 (ja) 溶鋼精錬装置
JP2019127611A (ja) 製鋼方法および製鋼システムにおけるワイヤ投入ステーション
KR20170106073A (ko) 강의 정련 방법
JP5122842B2 (ja) 精錬用上蓋の地金付着防止方法
CN102925631A (zh) 新型真空循环脱气炉及其处理方法
US11674754B2 (en) Steelmaking and ironmaking scrap segregation and packaging system and method thereof
CN211734447U (zh) 一种真空脱气稀土钢的生产装置
JPH0733538B2 (ja) 空気圧製鋼容器及び鋼製造方法
CN215713118U (zh) 一种转炉直上工艺氩站快速调整钢水成分的装置
JP2022053706A (ja) 溶銑脱硫設備および溶銑脱硫方法
KR100807661B1 (ko) 회전식 금속 와이어 투입장치
CN220288161U (zh) 真空熔炼系统
JP3666750B2 (ja) 黒鉛球状化処理設備
CN120940627A (zh) 一种提高钢锭纯净度的浇注方法
CN112981031A (zh) 一种炼钢用卸灰装置及其使用方法
CN115715238A (zh) 用于生产钢材的设备和对应方法
Satyavolu Optimization of production parameters in sms plant, welspun
Belobrov et al. Startup of a New Metallurgical Complex.
ITMI20070739A1 (it) &#34;metodo a apparato di colata di metallo&#34;
JPS58213814A (ja) 受鋼台車上の溶鋼処理装置

Legal Events

Date Code Title Description
A621 Written request for application examination

Free format text: JAPANESE INTERMEDIATE CODE: A621

Effective date: 20201225

A977 Report on retrieval

Free format text: JAPANESE INTERMEDIATE CODE: A971007

Effective date: 20211110

A131 Notification of reasons for refusal

Free format text: JAPANESE INTERMEDIATE CODE: A131

Effective date: 20211130

A601 Written request for extension of time

Free format text: JAPANESE INTERMEDIATE CODE: A601

Effective date: 20220125

A521 Request for written amendment filed

Free format text: JAPANESE INTERMEDIATE CODE: A523

Effective date: 20220228

TRDD Decision of grant or rejection written
A01 Written decision to grant a patent or to grant a registration (utility model)

Free format text: JAPANESE INTERMEDIATE CODE: A01

Effective date: 20220405

A61 First payment of annual fees (during grant procedure)

Free format text: JAPANESE INTERMEDIATE CODE: A61

Effective date: 20220421

R150 Certificate of patent or registration of utility model

Ref document number: 7063635

Country of ref document: JP

Free format text: JAPANESE INTERMEDIATE CODE: R150

R250 Receipt of annual fees

Free format text: JAPANESE INTERMEDIATE CODE: R250