JP2019060221A - 撹拌剥離式吸引装置、撹拌剥離式吸引システム及び撹拌剥離式吸引工法 - Google Patents

撹拌剥離式吸引装置、撹拌剥離式吸引システム及び撹拌剥離式吸引工法 Download PDF

Info

Publication number
JP2019060221A
JP2019060221A JP2018076578A JP2018076578A JP2019060221A JP 2019060221 A JP2019060221 A JP 2019060221A JP 2018076578 A JP2018076578 A JP 2018076578A JP 2018076578 A JP2018076578 A JP 2018076578A JP 2019060221 A JP2019060221 A JP 2019060221A
Authority
JP
Japan
Prior art keywords
stirring
peeling type
type suction
cutting roller
suction device
Prior art date
Legal status (The legal status is an assumption and is not a legal conclusion. Google has not performed a legal analysis and makes no representation as to the accuracy of the status listed.)
Granted
Application number
JP2018076578A
Other languages
English (en)
Other versions
JP6456007B1 (ja
Inventor
手塚 隆
Takashi Tezuka
隆 手塚
Current Assignee (The listed assignees may be inaccurate. Google has not performed a legal analysis and makes no representation or warranty as to the accuracy of the list.)
Individual
Original Assignee
Individual
Priority date (The priority date is an assumption and is not a legal conclusion. Google has not performed a legal analysis and makes no representation as to the accuracy of the date listed.)
Filing date
Publication date
Application filed by Individual filed Critical Individual
Application granted granted Critical
Publication of JP6456007B1 publication Critical patent/JP6456007B1/ja
Priority to PCT/JP2019/006959 priority Critical patent/WO2019198354A1/ja
Publication of JP2019060221A publication Critical patent/JP2019060221A/ja
Active legal-status Critical Current
Anticipated expiration legal-status Critical

Links

Images

Landscapes

  • Treatment Of Sludge (AREA)

Abstract

【課題】水生植物等の異物を細かに切断して吸引する撹拌剥離式吸引装置、撹拌剥離式吸引システム及び撹拌剥離式吸引工法を提供する。【解決手段】この撹拌剥離式吸引装置80は、前面視で下から上に回転する第1の切断ローラ30aと、この第1の切断ローラ30aの上方に位置し前面視で上から下の方向に回転する第2の切断ローラ30bとを有している。そして、これら第1、第2の切断ローラ30a、30bが水底に堆積もしくは繁茂している水生植物等の異物をポンプ部20が吸引可能なサイズに切断する。このためポンプ部20の吸引口に異物が詰まることがなく、ポンプ部20の吸引能力を良好な状態で維持することができる。これにより、底泥の吸引作業を長時間連続して行うことができる。【選択図】図3

Description

本発明は、貯水池や池、湖沼等の底に溜まった底泥を水ごと吸引して、底泥を分離回収する撹拌剥離式吸引装置、撹拌剥離式吸引システム及び撹拌剥離式吸引工法に関するものである。
東日本大震災による福島第一原子力発電所の事故により放射性物質が広範囲に放出され、その除染が大きな問題となっている。尚、これら放射性物質は雨水によって徐々に湖沼等に運ばれ細かな泥に吸着された状態で底に堆積する。よって、湖沼等の除染にはこれら放射性物質が吸着した底泥を回収し、処理することが重要である。
このような湖沼等の底泥の浚渫装置として、例えば下記[特許文献1]に記載の発明が挙げられる。この[特許文献1]に記載の発明は、湖沼の水面にベース船を浮かべ、このベース船から吸引ポンプを搭載した吸引体を吊下げ、湖沼の底に堆積した底泥を水ごと吸引して陸側の処理装置に圧送する。
特開2014−80797号公報
しかしながら、湖沼等の底には枯死した植物が堆積していたり、水草や抽水植物の根等が生い茂っている場合が多く、[特許文献1]に記載の吸引体ではこれらの異物が吸引口を詰まらせて吸引能力を著しく悪化させる。このため、定期的に吸引体を引き上げて吸引口に詰まった異物を除去する必要があり、作業効率が極めて悪いという問題点がある。
本発明は上記事情に鑑みてなされたものであり、水生植物等の異物を細かに切断して吸引する撹拌剥離式吸引装置、撹拌剥離式吸引システム及び撹拌剥離式吸引工法の提供を目的とする。
本発明は、
(1)水面に位置する台船10から水底に吊り下げて底泥を水ごと吸引する吸引装置であって、
前方に位置し底泥を撹拌する撹拌ローラ40と、前記撹拌ローラ40の後方に位置し複数の円板刃34aが周面に設けられた第1の切断ローラ30aと、前記第1の切断ローラ30aの上方に位置し複数の円板刃34bが周面に設けられた第2の切断ローラ30bと、前記第1の切断ローラ30aと第2の切断ローラ30bの後方に吸引口が位置し底泥を水ごと吸引するポンプ部20と、前記ポンプ部20と接続し吸引した底泥を前記台船10側に送る送水ホース12と、を有し、
前記第1の切断ローラ30aは前面視で下から上に回転するとともに、前記第2の切断ローラ30bは前面視で上から下に回転し、
前記第1の切断ローラ30aと第2の切断ローラ30bの間隙に巻き込んだ異物を前記第1の切断ローラ30aと第2の切断ローラ30bの円板刃34a、34bが切断することを特徴とする撹拌剥離式吸引装置80を提供することにより、上記課題を解決する。
(2)第2の切断ローラ30bの回転速度が第1の切断ローラ30aの回転速度よりも遅いことを特徴とする上記(1)記載の撹拌剥離式吸引装置80を提供することにより、上記課題を解決する。
(3)ポンプ部20の前に設けられ、前記ポンプ部20の吸引口に付着した異物を除去する剥離ローラ60をさらに有することを特徴とする上記(1)または(2)に記載の撹拌剥離式吸引装置80を提供することにより、上記課題を解決する。
(4)前面と底面が開口し上面と奥面と両側面28aとが閉塞した筐体部28を有し、
さらに、前記筐体部28の前面にスライド可能に設置され、前記前面の開口の幅を変化させるスライド板29を備えたことを特徴とする上記(1)乃至(3)のいずれかに記載の撹拌剥離式吸引装置80を提供することにより、上記課題を解決する。
(5)上記(1)乃至(4)のいずれかに記載の撹拌剥離式吸引装置80と、水面に位置するとともに前記撹拌剥離式吸引装置80を水底に吊り下げる台船10と、陸側に設けられた底泥処理装置14と、前記撹拌剥離式吸引装置80が吸引した底泥を前記底泥処理装置14に送るホース部材と、前記撹拌剥離式吸引装置80を移動させるための移動手段50と、を有することを特徴とする撹拌剥離式吸引システム100を提供することにより、上記課題を解決する。
(6)移動手段50が、ワイヤ54によって撹拌剥離式吸引装置80を牽引して移動させる牽引手段50aもしくは前記撹拌剥離式吸引装置80に一端が固定したシャフト56を押し引きして移動させるシャフト式移動手段50bであることを特徴とする上記(5)記載の撹拌剥離式吸引システム100を提供することにより、上記課題を解決する。
(7)上記(5)または(6)に記載の撹拌剥離式吸引システム100を用いた撹拌剥離式吸引工法であって、
台船10を水面の所定の位置に配置するステップと、
前記台船10から撹拌剥離式吸引装置80を水底に下ろすステップと、
前記撹拌剥離式吸引装置80を動作させ、撹拌ローラ40が底泥を撹拌して掻き上げ、第1の切断ローラ30aと第2の切断ローラ30bとが異物を切断し、前記ポンプ部20が底泥と切断された異物と水とを吸引するステップと、
吸引した底泥と切断された異物と水とをホース部材を介して底泥処理装置14に圧送するステップと、
前記底泥処理装置14が底泥を異物と水から分離して回収するステップと、
前記撹拌剥離式吸引装置80を水底で移動させるステップと、有することを特徴とする撹拌剥離式吸引工法を提供することにより、上記課題を解決する。
本発明に係る撹拌剥離式吸引装置は、前面視で下から上に回転する第1の切断ローラと、この第1の切断ローラの上方に位置し前面視で上から下の方向に回転する第2の切断ローラとを有している。そして、これら第1、第2の切断ローラが水生植物等の異物をポンプ部が吸引可能なサイズに切断する。このためポンプ部の吸引口に異物が詰まることがなく、ポンプ部の吸引能力を良好な状態で維持することができる。これにより、底泥の吸引作業を長時間連続して行うことができる。
また、本発明に係る撹拌剥離式吸引装置は、上面、奥面、両側面が閉塞し、前面開口部はスライド板によって適度な開口幅に調整されるから、撹拌剥離式吸引装置外の底泥を舞い上げることがなく、底泥の堆積状態を維持し効果的に回収を行う事ができる。また、水の透明度を維持することができる。
また、本発明に係る撹拌剥離式吸引装置は、スライド板により前面開口部の開口幅を増減することができるため、送水する底泥の濃度を調整することができる。
また、本発明に係る撹拌剥離式吸引システム及び撹拌剥離式吸引工法は、上記の撹拌剥離式吸引装置を有するため、底泥の吸引作業を効率良く長時間連続して行うことができる。
本発明に係る撹拌剥離式吸引システムの全体を示す図である。 他の移動手段を備えた本発明に係る撹拌剥離式吸引システムを示す図である。 本発明に係る撹拌剥離式吸引装置を示す図である。 本発明に係る撹拌剥離式吸引装置の第1、第2の切断ローラを示す図である。 本発明に係る撹拌剥離式吸引装置の撹拌ローラの例を示す図である。
本発明に係る撹拌剥離式吸引装置80、撹拌剥離式吸引システム100及び撹拌剥離式吸引工法の実施の形態について図面に基づいて説明する。ここで、図1、図2は本発明に係る撹拌剥離式吸引システム100の全体を示す図である。また、図3(a)は本発明に係る撹拌剥離式吸引装置80の内部構造を示す模式断面図であり、図3(b)は撹拌剥離式吸引装置80を前面から見た図である。また、図4は撹拌剥離式吸引装置80の内部の第1の切断ローラ30a、第2の切断ローラ30bを前面側から見た略図である。また、図5は撹拌剥離式吸引装置80の撹拌ローラ40の例を示す図である。
図1に示す本発明に係る撹拌剥離式吸引システム100は、貯水池、池、湖沼、掘等の底泥を水ごと吸引するものであり、水面に位置する台船10と、この台船10から水底に吊り下げられる撹拌剥離式吸引装置80と、陸側に設けられた底泥処理装置14と、撹拌剥離式吸引装置80と底泥処理装置14とを繋ぐホース部材と、台船10や陸地に設置され撹拌剥離式吸引装置80を移動させるための移動手段50と、を有している。尚、ホース部材は、台船10に周知の中継ポンプ16を設置して、撹拌剥離式吸引装置80と接続した送水ホース12と、底泥処理装置14と接続した中継ホース18とを中継ポンプ16を介して接続して構成することが好ましい。この構成によれば、中継ポンプ16が撹拌剥離式吸引装置80の吸引した底泥等の圧送を補助するため、ホース部材の総延長が長い場合でも底泥等の底泥処理装置14への圧送を滞りなく行うことができる。
また、台船10は作業者が主に撹拌剥離式吸引装置80の操作や移動を行う足場であり、フロート等で水面に浮かせても良いし、水上に陸側から鋼材を架け渡すなどして、水面に固定しても良い。
また、底泥処理装置14は撹拌剥離式吸引装置80が水ごと吸引した底泥を分離回収するものであり、如何なる装置を用いても良い。尚、一般的な底泥処理装置14は、吸引した底泥と異物等とを分離する周知の分離手段と、底泥と水とを分離する周知の底泥分離手段と、分離した底泥を脱水して回収する周知の脱水手段と、を有している。
また、移動手段50は撹拌剥離式吸引装置80の水底での移動等を行うものであり如何なる装置を用いても構わない。ここで、移動手段50の好適な一例として、牽引手段50a及びシャフト式移動手段50bの構成に関して説明する。先ず牽引手段50aは、撹拌剥離式吸引装置80と接続したワイヤ54と、このワイヤ54の巻上、巻伸ばしが可能なクレーン52とを有している。この構成ではクレーン52の倒伏動作とワイヤ54の巻上、巻伸ばし動作により、撹拌剥離式吸引装置80の吊下げ、吊上げ、水底での前方及び横方向の移動を行うことができる。また、底泥の回収を行う湖沼を挟むようにして牽引手段50aを2台設け、撹拌剥離式吸引装置80を前進、後退可能とするようにしても良い。
また、シャフト式移動手段50bは図2に示すように撹拌剥離式吸引装置80の例えば筐体部28にシャフト56の一端が固定され、このシャフト56を台船10もしくは陸地から押し引きすることで撹拌剥離式吸引装置80を移動させる。尚、シャフト式移動手段50bでは撹拌剥離式吸引装置80の吊下げ、吊上げを周知のウインチ等で行うようにしても良い。さらに、移動手段50は牽引手段50aとシャフト式移動手段50bとを組み合わせて、例えば撹拌剥離式吸引装置80の前進は牽引手段50aを用いて行い、撹拌剥離式吸引装置80の後退はシャフト式移動手段50bを用いて行うようにしても良い。そして、特に撹拌剥離式吸引装置80の前進、後退が可能な移動手段50を用いた構成では、撹拌剥離式吸引装置80の横位置を順次ずらすことで底泥の浚渫を連続して効率良く行う事ができる。
次に、本発明の特徴的な構成である撹拌剥離式吸引装置80に関して説明する。本発明に係る撹拌剥離式吸引装置80は、前述の台船10から水底に吊り下げて底泥を水ごと吸引するものであり、筐体部28と、この筐体部28の前方に位置し底泥を撹拌する撹拌ローラ40と、撹拌ローラ40の後方に位置し複数の円板刃34aが周面に設けられた第1の切断ローラ30aと、第1の切断ローラ30aの上方に位置し複数の円板刃34bが周面に設けられた第2の切断ローラ30bと、これら第1の切断ローラ30aと第2の切断ローラ30bの後方に位置し底泥を水ごと吸引するポンプ部20と、このポンプ部20と接続し吸引した底泥を台船10側に送る送水ホース12と、を有している。また、撹拌剥離式吸引装置80は、ポンプ部20の前に設けられ、ポンプ部20の吸引口に付着した異物を除去する剥離ローラ60をさらに有していても良い。
また、撹拌剥離式吸引装置80を構成する筐体部28は、図3(a)、(b)に示すように、撹拌ローラ40の前方に位置する前面と底面とが開口し、上面と奥面と両側面28aとが閉塞し、さらに奥面が斜面となった箱型を呈している。そして、この斜面にポンプ部20が吸引口を内側にして固定する。また、筐体部28の前面の開口部には、スライド板29がスライド可能に設置される。そして、スライド板29の位置を下げて前面開口部の開口幅を狭めて固定することで、撹拌剥離式吸引装置80が取り込む底泥の比率を増やし、底泥処理装置14に送る底泥の濃度を上昇させることができる。また、スライド板29の位置を上げ前面開口部の開口幅を拡げて固定することで、底泥の厚みが厚い場合に対応することができる。また、水の取り込み量を増やして底泥処理装置14に送る底泥の濃度を低下させることができる。
尚、筐体部28は上面、奥面、両側面28aが閉塞し、前面開口部はスライド板29によって適度な開口幅に調整されるから、撹拌剥離式吸引装置80内で撹拌された底泥は筐体部28内からほとんど漏れず、底泥の効果的な回収を行うことができる。また筐体部28内の撹拌ローラ40、切断ローラ30a、30b等の回転によって生じる水流は筐体部28が遮蔽するため、外部の底泥を舞い上げることがなく、底泥の堆積状態を維持して効果的な浚渫を行う事ができる。また、底泥の舞い上げを防止することで水の透明度を維持することができる。特に底泥が放射性物質を含んでいる場合には、これら放射性物質を再拡散することなく、効率的な除染を行うことができる。
また、筐体部28の上面には、図3、図4に示すように、第1の切断ローラ30a、第2の切断ローラ30bを回転させる第1のモータ70aと、撹拌ローラ40と剥離ローラ60とを回転させる第2のモータ70bとが固定する。
撹拌ローラ40は、図5に示すように円柱状のローラ42と、このローラ42の周面に設置された撹拌部材44と有している。尚、撹拌部材44の形状に関しては特に限定はなく、図5(a)に示すようにワイヤブラシとしても良いし、図5(b)に示すように板状体としても良い。また、図5(c)に示すように板刃としても良い。さらに、撹拌ローラ40を付け替え可能としても良い。この構成によれば、例えば藻などの沈水植物が多い場合にはワイヤブラシの撹拌ローラ40を用い、ガマや葦のような抽水植物が多い場合には板刃の撹拌ローラ40を用いるなど、水底の環境、特に水草の種類や繁茂状態に応じて適切な撹拌ローラ40を選択することができる。
そして、撹拌ローラ40はベアリング等の周知の軸受を介して筐体部28に回転可能に軸着される。尚、撹拌ローラ40の設置位置は固定式としても良いし、筐体部28の上下方向や斜め方向に位置調整を可能としても良い。また、ローラ42の一端には歯車46が固定され、この歯車46はチェーン等の図示しない動力伝達機構を介して第2のモータ70bの減速歯車72bと接続する。そして、第2のモータ70bが回転動作することで、その回転力は減速歯車72b、動力伝達機構、歯車46を介して撹拌ローラ40に伝達し、これにより撹拌ローラ40が回転する。尚、このときの撹拌ローラ40の回転方向は図3の矢印に示す、前面視で上から下に回転する方向が好ましい。
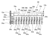
また、第1の切断ローラ30a、第2の切断ローラ30bは、円柱状のローラ32a、32bと、このローラ32a、32bの周面に略等間隔で設置された複数の円板刃34a、34bと、この円板刃34a、34bの近傍に設置されたスクレイパ38a、38bと、を有している。尚、円板刃34a、34bは水生植物等の異物を切断するためのものであり、その設置間隔は概ね5cm〜15cm程度が好ましい。また、スクレイパ38a、38bは水生植物等の異物を引っ掛けて引き込んだり、破砕したりする機能を有する。
そして、第1、第2の切断ローラ30a、30bの両端は周知の軸受を介して筐体部28に回転可能に軸着される。このとき、第2の切断ローラ30bは、第1の切断ローラ30aの上方、例えば真上や斜め前方に設置する。また、第1の切断ローラ30aと第2の切断ローラ30bとの設置間隔は、第1の切断ローラ30aの円板刃34aと第2の切断ローラ30bの円板刃34bとが側面視で重なる位置とすることが好ましい。よって、円板刃34a、34b、スクレイパ38a、38bの位置は第1の切断ローラ30aと第2の切断ローラ30bとで軸線方向に若干ずらして構成することが好ましい。また、円板刃34aと円板刃34bとは近接して配置することが好ましく、図4に示すように、一方の円板刃34a(34b)とスクレイパ38a(38b)との間に他方の円板刃34b(34a)を位置させることが最も好ましい。この構成によれば、第1、第2の切断ローラ30a、30bが巻き込んだ水生植物等の異物を下側の円板刃34aと上側の円板刃34bとが挟み込んで効果的に切断することができる。
また、第1、第2の切断ローラ30a、30bの一端には歯車36a、36bが固定され、この歯車36a、36bは動力伝達機構74を介して第1のモータ70aの減速歯車72aと接続する。尚、ここでは減速歯車72aと第1の切断ローラ30aの歯車36aとを動力伝達機構74としてのチェーンを介して接続し、第2の切断ローラ30bの歯車36bは第1の切断ローラ30aに固定した伝達歯車36cを介して接続する例を示している。そして、第1のモータ70aが回転動作することで、その回転力は減速歯車72a、チェーン(動力伝達機構74)、歯車36aを介して第1の切断ローラ30aに伝達し、これにより第1の切断ローラ30aが回転する。尚、このときの第1の切断ローラ30aの回転方向は図3の矢印に示す前面視で下から上に回転する方向とする。また、第1の切断ローラ30aが回転することで伝達歯車36cが回転し、この回転力は伝達歯車36cと噛合する歯車36bによって第2の切断ローラ30bに伝達し、これにより第2の切断ローラ30bが図3の矢印に示す第1の切断ローラ30aとは逆方向の前面視で上から下の方向に回転する。
またこのとき、歯車36bのギア比を伝達歯車36cよりも大きくするなどして、第2の切断ローラ30bの回転速度を第1の切断ローラ30aの回転速度より遅くすることが好ましい。この構成によれば第1の切断ローラ30aの円板刃34aと第2の切断ローラ30bの円板刃34bとが異なる速度で回転し、異物等に対する切断能力をさらに向上させることができる。また、下側の第1の切断ローラ30aの回転速度を速くすることで、第1の切断ローラ30aが底泥を撹拌する役割も果たすことができる。尚、第1の切断ローラ30aと第2の切断ローラ30bとの回転速度の比は、1:4〜1:8程度が好ましく、1:6程度が最も好ましい。
また、剥離ローラ60は円柱状のローラ62と、このローラ64の周面に設置された剥離部材64と、を有している。そして、剥離ローラ60の両端は周知の軸受を介して筐体部28に回転可能に軸着される。このときの剥離ローラ60の位置は剥離部材64がポンプ部20の吸引口に接触もしくは近接する位置とする。尚、剥離部材64に関しては特に限定はなく、合成樹脂製のブラシやヘラ部材等を用いることができる。そして、剥離ローラ60の一端には図示しない歯車が固定され、この歯車はチェーン等の図示しない動力伝達機構を介して第2のモータ70bの減速歯車72bと接続する。そして、第2のモータ70bが回転動作することで、その回転力は減速歯車72b、動力伝達機構、歯車を介して剥離ローラ60に伝達し、これにより剥離ローラ60が回転する。尚、このときの剥離ローラ60の回転方向に特に限定はないが、図3の矢印に示す前面視で上から下に回転する方向が機械構成上好ましい。
また、ポンプ部20に関してはある程度の粘性を有する流動体を吸引可能な物であれば特に限定はなく、中でも周知の水中サンドポンプを用いることが特に好ましい。
次に、本発明に係る撹拌剥離式吸引装置80と撹拌剥離式吸引システム100の動作及びこれらを用いた本発明に係る撹拌剥離式吸引工法に関して説明する。
先ず、底泥処理装置14を浚渫を行う貯水池、池、湖沼、掘等の陸側に設置する。次に、撹拌剥離式吸引装置80及び中継ポンプ16を搭載した台船10を水面の所定の位置に配置する。このときの台船10の設置方法には特に限定はない。次に、中継ポンプ16と撹拌剥離式吸引装置80とを送水ホース12で接続し、中継ポンプ16と底泥処理装置14とを中継ホース18で接続する。次に、作業者はスライド板29の位置を調整し、前面開口部の開口幅を適切なものとする。
次に、作業者が移動手段50等を操作して撹拌剥離式吸引装置80を台船10から水底に下ろす。次に作業者が撹拌剥離式吸引システム100を動作させる。これにより、撹拌剥離式吸引装置80の第1のモータ70aと第2のモータ70bとが回転動作し、撹拌ローラ40と剥離ローラ60とが前面視で上から下に回転する。また、第1の切断ローラ30aが前面視で下から上に回転し、第2の切断ローラ30bが前面視で上から下に回転する。また、ポンプ部20、中継ポンプ16が稼働して吸引動作を行う。これにより、撹拌ローラ40が水底に堆積した底泥、土砂等の堆積物を撹拌し第1の切断ローラ30a側に舞い上げるとともに、水生植物や枯れ枝等の植物性堆積物、ゴミ等の異物を舞い上げもしくは引き抜いて第1の切断ローラ30a側に送る。そして、舞い上げられた底泥や土砂等の比較的粒子の細かなものは第1の切断ローラ30a及び第2の切断ローラ30bの間隙を通過してポンプ部20側に移動する。また、水生植物、植物性堆積物、ゴミ等の異物は第1の切断ローラ30aと第2の切断ローラ30bの間隙に巻き込まれ、第1の切断ローラ30aの円板刃34aと第2の切断ローラ30bの円板刃34bによって適度な長さに切断される。そして、後方のポンプ部20側に排出される。尚、前述のように筐体部28の上面、奥面、両側面28aは閉塞されているから、舞い上げられた底泥等が筐体部28の外側に漏れることはほとんど無く、水の透明度を維持しながら作業することができる。
ポンプ部20はこれら底泥及び切断された異物等を水ごと吸引し送水ホース12を通して中継ポンプ16側に圧送する。尚、異物は前述のように第1、第2の切断ローラ30a、30bによって適度な大きさに切断されているため、ポンプ部20の吸引口に引っ掛かることはない。また、仮にポンプ部20の吸引口に引っ掛かった場合でも剥離ローラ60がこれを除去し第1、第2切断ローラ30a、30bの側に送る。そして、第1、第2の切断ローラ30a、30bによって再度、切断処理される。これにより、ポンプ部20の吸引口に異物が詰まることはなく、ポンプ部20の吸引能力を良好な状態で維持することができる。そして、作業者は移動手段50を適宜操作して撹拌剥離式吸引装置80を水底で移動させる。これにより、新たな底泥がスライド板29で制限された前面開口部を通して筐体部28内に取り込まれ、連続して吸引、圧送される。
ポンプ部20によって吸引された底泥、土砂、水、異物等は、送水ホース12を通って中継ポンプ16に送られ、中継ホース18を介して底泥処理装置14に圧送される。そして先ず、篩や遠心分離装置等の周知の分離手段によって異物や小石、砂等が分離除去される。次に、沈殿槽などの周知の底泥分離手段に溜められ、例えば凝集剤が投入される。これにより、底泥が凝集沈殿し水と分離する。分離した水は放水管15を通して元の池等に放流される。また、沈殿濃縮した底泥は例えば脱水手段に送られて脱水された後、回収され、然るべき処理に付される。
以上のように、本発明に係る撹拌剥離式吸引装置80は、前面視で下から上に回転する第1の切断ローラ30aと、この第1の切断ローラ30aの上方に位置し前面視で上から下の方向に回転する第2の切断ローラ30bとを有している。そして、これら第1、第2の切断ローラ30a、30bが水底に堆積もしくは繁茂している水生植物等の異物をポンプ部20が吸引可能なサイズに切断する。このためポンプ部20の吸引口に異物が詰まることがなく、ポンプ部20の吸引能力を良好な状態で維持することができる。これにより、底泥の吸引作業を長時間連続して行うことができる。
また、本発明に係る撹拌剥離式吸引装置80は、第1、第2の切断ローラ30a、30bの前側に撹拌ローラ40を有している。この撹拌ローラ40は水底に堆積した底泥、土砂等の堆積物を撹拌してポンプ部20での吸引を補助するとともに、水生植物や枯れ枝等の植物性堆積物、ゴミ等の異物を舞い上げもしくは引き抜いて第1の切断ローラ30a側に送る。これにより、第1、第2の切断ローラ30a、30bへの負荷が軽減し、異物の切断を円滑に行うことができる。
このとき、本発明に係る撹拌剥離式吸引装置80は、筐体部28の上面、奥面、両側面28aが閉塞されているため、筐体部28内で撹拌された底泥等が筐体部28の外側に漏れることは無く、湖沼の透明度を維持しながら作業することができる。また、底泥の堆積状態を維持して効果的な回収作業を行う事ができる。特に底泥が放射性物質を含んでいる場合には、これら放射性物質を再拡散することなく、効率的な除染を行うことができる。さらに、底泥の厚み等に応じてスライド板29の位置を調整し前面開口部の開口幅を最適化することで、適した濃度の底泥を底泥処理装置14側へ圧送することができる。
またさらに、本発明に係る撹拌剥離式吸引装置80は、ポンプ部20の吸引口の近傍に剥離ローラ60を有している。この剥離ローラ60はポンプ部20の吸引口をスイープして、仮に異物がポンプ部20の吸引口に引っ掛かった場合でもこれを除去することができる。これにより、底泥の吸引作業を安定して長時間連続して行うことができる。
そして、この撹拌剥離式吸引装置80を備えた本発明に係る撹拌剥離式吸引システム100及び撹拌剥離式吸引工法は、底泥の吸引作業を効率良く長時間連続して行うことができる。
尚、本例で示した撹拌剥離式吸引装置80、撹拌剥離式吸引システム100の各部の形状、構成、動作機構、配置、配管経路等は一例であり、本発明は本発明の要旨を逸脱しない範囲で変更して実施することが可能である。
10 台船
12 送水ホース
14 底泥処理装置
20 ポンプ部
28 筐体部
28a 側面
29 スライド板
30a 第1の切断ローラ
30b 第2の切断ローラ
34a、34b 円板刃
40 撹拌ローラ
50 移動手段
50a 牽引手段
50b シャフト式移動手段
54 ワイヤ
56 シャフト
60 剥離ローラ
80 撹拌剥離式吸引装置
100 撹拌剥離式吸引システム

Claims (7)

  1. 水面に位置する台船から水底に吊り下げて底泥を水ごと吸引する吸引装置であって、
    前方に位置し底泥を撹拌する撹拌ローラと、
    前記撹拌ローラの後方に位置し複数の円板刃が周面に設けられた第1の切断ローラと、
    前記第1の切断ローラの上方に位置し複数の円板刃が周面に設けられた第2の切断ローラと、
    前記第1の切断ローラと第2の切断ローラの後方に吸引口が位置し底泥を水ごと吸引するポンプ部と、
    前記ポンプ部と接続し吸引した底泥を前記台船側に送る送水ホースと、を有し、
    前記第1の切断ローラは前面視で下から上に回転するとともに、前記第2の切断ローラは前面視で上から下に回転し、
    前記第1の切断ローラと第2の切断ローラの間隙に巻き込んだ異物を前記第1の切断ローラと第2の切断ローラの円板刃が切断することを特徴とする撹拌剥離式吸引装置。
  2. 第2の切断ローラの回転速度が第1の切断ローラの回転速度よりも遅いことを特徴とする請求項1記載の撹拌剥離式吸引装置。
  3. ポンプ部の前に設けられ、前記ポンプ部の吸引口に付着した異物を除去する剥離ローラをさらに有することを特徴とする請求項1または請求項2に記載の撹拌剥離式吸引装置。
  4. 前面と底面が開口し上面と奥面と両側面とが閉塞した筐体部を有し、
    さらに、前記筐体部の前面にスライド可能に設置され、前記前面の開口の幅を変化させるスライド板を備えたことを特徴とする請求項1乃至請求項3のいずれかに記載の撹拌剥離式吸引装置。
  5. 請求項1乃至請求項4のいずれかに記載の撹拌剥離式吸引装置と、
    水面に位置するとともに前記撹拌剥離式吸引装置を水底に吊り下げる台船と、
    陸側に設けられた底泥処理装置と、
    前記撹拌剥離式吸引装置が吸引した底泥を前記底泥処理装置に送るホース部材と、
    前記撹拌剥離式吸引装置を移動させるための移動手段と、を有することを特徴とする撹拌剥離式吸引システム。
  6. 移動手段が、ワイヤによって撹拌剥離式吸引装置を牽引して移動させる牽引手段もしくは前記撹拌剥離式吸引装置に一端が固定したシャフトを押し引きして移動させるシャフト式移動手段であることを特徴とする請求項5記載の撹拌剥離式吸引システム。
  7. 請求項5または請求項6に記載の撹拌剥離式吸引システムを用いた撹拌剥離式吸引工法であって、
    台船を水面の所定の位置に配置するステップと、
    前記台船から撹拌剥離式吸引装置を水底に下ろすステップと、
    前記撹拌剥離式吸引装置を動作させ、撹拌ローラが底泥を撹拌して掻き上げ、第1の切断ローラと第2の切断ローラとが異物を切断し、前記ポンプ部が底泥と切断された異物と水とを吸引するステップと、
    吸引した底泥と切断された異物と水とをホース部材を介して底泥処理装置に圧送するステップと、
    前記底泥処理装置が底泥を異物と水から分離して回収するステップと、
    前記撹拌剥離式吸引装置を水底で移動させるステップと、有することを特徴とする撹拌剥離式吸引工法。
JP2018076578A 2017-09-22 2018-04-12 撹拌剥離式吸引装置、撹拌剥離式吸引システム及び撹拌剥離式吸引工法 Active JP6456007B1 (ja)

Priority Applications (1)

Application Number Priority Date Filing Date Title
PCT/JP2019/006959 WO2019198354A1 (ja) 2018-04-12 2019-02-25 環境対策を含めた溜め池総合除染工法

Applications Claiming Priority (2)

Application Number Priority Date Filing Date Title
JP2017181870 2017-09-22
JP2017181870 2017-09-22

Publications (2)

Publication Number Publication Date
JP6456007B1 JP6456007B1 (ja) 2019-01-23
JP2019060221A true JP2019060221A (ja) 2019-04-18

Family

ID=65036997

Family Applications (1)

Application Number Title Priority Date Filing Date
JP2018076578A Active JP6456007B1 (ja) 2017-09-22 2018-04-12 撹拌剥離式吸引装置、撹拌剥離式吸引システム及び撹拌剥離式吸引工法

Country Status (1)

Country Link
JP (1) JP6456007B1 (ja)

Cited By (3)

* Cited by examiner, † Cited by third party
Publication number Priority date Publication date Assignee Title
CN110318437A (zh) * 2019-07-12 2019-10-11 河海大学常州校区 一种新型滚刀辅助式耙吸挖泥船耙头
WO2020196868A1 (en) 2019-03-27 2020-10-01 Sony Corporation Endoscope system, non-transitory computer readable medium, and method
JP7531844B2 (ja) 2020-08-28 2024-08-13 日鉄環境株式会社 浚渫装置及びそれを用いた浚渫方法

Families Citing this family (2)

* Cited by examiner, † Cited by third party
Publication number Priority date Publication date Assignee Title
CN114293614B (zh) * 2022-01-10 2023-02-17 浙江丰茂盛业建设有限公司 一种新型河道淤泥综合治理生态修复装置及其施工方法
CN116005743B (zh) * 2022-09-14 2023-10-03 江苏筑港建设集团有限公司 底泥环保疏浚技术与资源化处理疏浚装置及其处理方法

Citations (3)

* Cited by examiner, † Cited by third party
Publication number Priority date Publication date Assignee Title
JPH06280283A (ja) * 1993-03-30 1994-10-04 Eniwa Kensetsu Kk 浚渫バケット
JPH09184163A (ja) * 1995-12-28 1997-07-15 Hayamizugumi:Kk 浚渫装置
JP2014080797A (ja) * 2012-10-17 2014-05-08 Toa Harbor Works Co Ltd 浚渫方法

Patent Citations (3)

* Cited by examiner, † Cited by third party
Publication number Priority date Publication date Assignee Title
JPH06280283A (ja) * 1993-03-30 1994-10-04 Eniwa Kensetsu Kk 浚渫バケット
JPH09184163A (ja) * 1995-12-28 1997-07-15 Hayamizugumi:Kk 浚渫装置
JP2014080797A (ja) * 2012-10-17 2014-05-08 Toa Harbor Works Co Ltd 浚渫方法

Cited By (3)

* Cited by examiner, † Cited by third party
Publication number Priority date Publication date Assignee Title
WO2020196868A1 (en) 2019-03-27 2020-10-01 Sony Corporation Endoscope system, non-transitory computer readable medium, and method
CN110318437A (zh) * 2019-07-12 2019-10-11 河海大学常州校区 一种新型滚刀辅助式耙吸挖泥船耙头
JP7531844B2 (ja) 2020-08-28 2024-08-13 日鉄環境株式会社 浚渫装置及びそれを用いた浚渫方法

Also Published As

Publication number Publication date
JP6456007B1 (ja) 2019-01-23

Similar Documents

Publication Publication Date Title
JP6456007B1 (ja) 撹拌剥離式吸引装置、撹拌剥離式吸引システム及び撹拌剥離式吸引工法
CN109944286B (zh) 一种环保清污系统
JP6006762B2 (ja) 浚渫用分級ポンプ及び浚渫システム
RS54691B1 (sr) Plovni bager za čišćenje sedimenata sa morskog dna i postupak čišćenja
CN207919522U (zh) 一种水上油污、垃圾高效自动收集处理清污机器人
JP6247663B2 (ja) 浚渫システム
CN204279886U (zh) 一种垃圾筛分清污船
CN206494834U (zh) 一种河湖淤泥处理装置
JP2016125277A (ja) 浚渫システム
CN114809162B (zh) 一种水利工程清淤装置
CN214169211U (zh) 一种用于河道清淤的智能排污装置
CN214614297U (zh) 一种河道淤泥疏浚处理系统
CN109927854A (zh) 一种淤泥质海岸垃圾清理船
JP2017002534A (ja) 底泥回収システム及び底泥回収方法
JP2007146425A (ja) 湖沼水の浚渫方法及び浚渫システム
JPH08158397A (ja) ヘドロなどの除去方法及び除去装置
US4410426A (en) Beach cleaning method and apparatus therefor
JP6359902B2 (ja) 浚渫システム
CN212405304U (zh) 一种可带水操作的鱼塘清淤装置
JP2009022834A (ja) 水中及び水底に浮遊又は堆積する不要藻類、浮泥等を回収する装置
CN210946958U (zh) 一种耙吸挖泥船
US4302339A (en) Beach cleaning method
US4366052A (en) Controlled flooding and skimming apparatus for beach cleaning
KR20230148477A (ko) 수중 오염물의 신속분리를 위한 고액분리장치 및 그 이용방법
JP3289962B2 (ja) 水上清掃機

Legal Events

Date Code Title Description
A621 Written request for application examination

Free format text: JAPANESE INTERMEDIATE CODE: A621

Effective date: 20181031

A871 Explanation of circumstances concerning accelerated examination

Free format text: JAPANESE INTERMEDIATE CODE: A871

Effective date: 20181031

A975 Report on accelerated examination

Free format text: JAPANESE INTERMEDIATE CODE: A971005

Effective date: 20181211

TRDD Decision of grant or rejection written
A01 Written decision to grant a patent or to grant a registration (utility model)

Free format text: JAPANESE INTERMEDIATE CODE: A01

Effective date: 20181217

A61 First payment of annual fees (during grant procedure)

Free format text: JAPANESE INTERMEDIATE CODE: A61

Effective date: 20181217

R150 Certificate of patent or registration of utility model

Ref document number: 6456007

Country of ref document: JP

Free format text: JAPANESE INTERMEDIATE CODE: R150

R250 Receipt of annual fees

Free format text: JAPANESE INTERMEDIATE CODE: R250

R250 Receipt of annual fees

Free format text: JAPANESE INTERMEDIATE CODE: R250

R250 Receipt of annual fees

Free format text: JAPANESE INTERMEDIATE CODE: R250

R250 Receipt of annual fees

Free format text: JAPANESE INTERMEDIATE CODE: R250