JP2019021909A - Compact optical fiber amplifier - Google Patents

Compact optical fiber amplifier Download PDF

Info

Publication number
JP2019021909A
JP2019021909A JP2018095950A JP2018095950A JP2019021909A JP 2019021909 A JP2019021909 A JP 2019021909A JP 2018095950 A JP2018095950 A JP 2018095950A JP 2018095950 A JP2018095950 A JP 2018095950A JP 2019021909 A JP2019021909 A JP 2019021909A
Authority
JP
Japan
Prior art keywords
support structure
fiber
optical fiber
fiber coil
coil support
Prior art date
Legal status (The legal status is an assumption and is not a legal conclusion. Google has not performed a legal analysis and makes no representation as to the accuracy of the status listed.)
Granted
Application number
JP2018095950A
Other languages
Japanese (ja)
Other versions
JP6586194B2 (en
Inventor
ティモシー グリーン エリック
Timothy Green Eric
ティモシー グリーン エリック
クリストファー マイヤーズ ダニエル
Christopher Myers Daniel
クリストファー マイヤーズ ダニエル
グレゴリー スターナー トッド
Gregory Starner Todd
グレゴリー スターナー トッド
リチャード ウィリアムズ マーティン
Richard Williams Martin
リチャード ウィリアムズ マーティン
フィリポヴィチ マーク
Filipowicz Mark
フィリポヴィチ マーク
Current Assignee (The listed assignees may be inaccurate. Google has not performed a legal analysis and makes no representation or warranty as to the accuracy of the list.)
Coherent Corp
Original Assignee
II VI Inc
Priority date (The priority date is an assumption and is not a legal conclusion. Google has not performed a legal analysis and makes no representation as to the accuracy of the date listed.)
Filing date
Publication date
Priority claimed from US15/648,885 external-priority patent/US10749309B2/en
Application filed by II VI Inc filed Critical II VI Inc
Publication of JP2019021909A publication Critical patent/JP2019021909A/en
Application granted granted Critical
Publication of JP6586194B2 publication Critical patent/JP6586194B2/en
Active legal-status Critical Current
Anticipated expiration legal-status Critical

Links

Images

Classifications

    • HELECTRICITY
    • H01ELECTRIC ELEMENTS
    • H01SDEVICES USING THE PROCESS OF LIGHT AMPLIFICATION BY STIMULATED EMISSION OF RADIATION [LASER] TO AMPLIFY OR GENERATE LIGHT; DEVICES USING STIMULATED EMISSION OF ELECTROMAGNETIC RADIATION IN WAVE RANGES OTHER THAN OPTICAL
    • H01S3/00Lasers, i.e. devices using stimulated emission of electromagnetic radiation in the infrared, visible or ultraviolet wave range
    • H01S3/05Construction or shape of optical resonators; Accommodation of active medium therein; Shape of active medium
    • H01S3/06Construction or shape of active medium
    • H01S3/063Waveguide lasers, i.e. whereby the dimensions of the waveguide are of the order of the light wavelength
    • H01S3/067Fibre lasers
    • H01S3/06754Fibre amplifiers

Landscapes

  • Physics & Mathematics (AREA)
  • Electromagnetism (AREA)
  • Engineering & Computer Science (AREA)
  • Plasma & Fusion (AREA)
  • Optics & Photonics (AREA)
  • Lasers (AREA)
  • Light Guides In General And Applications Therefor (AREA)

Abstract

【課題】光増幅器の増幅ファイバ部分を小型化した光ファイバコイル支持構造体を提供する【解決手段】ファイバベースの光増幅器は、可撓性基板を利用して、基板上で「スピン」されるフラットコイルとしての増幅ファイバを支持することにより、コンパクトな構成で組み立てられる。増幅ファイバ20の支持構造体は、ファイバの許容可能な最小曲げ半径と、増幅器パッケージの全体寸法内に収まる最大直径とを規定するように構成される。ファイバを定位置に保持するために、感圧接着剤コーティングが可撓性基板30に塗布される。許容可能な絶縁性質を有する可撓性材料(ポリイミドなど)を使用し、ファイバ筐体の下方の空間に電子部品を配置することにより、最終アセンブリにおける更なる小型化が達成される。【選択図】図2An optical fiber coil support structure in which an amplification fiber portion of an optical amplifier is miniaturized is provided. A fiber-based optical amplifier is "spun" on a substrate using a flexible substrate. By supporting the amplification fiber as a flat coil, it is assembled in a compact configuration. The support structure of the amplification fiber 20 is configured to define a minimum allowable bend radius of the fiber and a maximum diameter that fits within the overall dimensions of the amplifier package. A pressure sensitive adhesive coating is applied to the flexible substrate 30 to hold the fiber in place. Further miniaturization in the final assembly is achieved by using flexible materials (such as polyimide) with acceptable insulating properties and placing electronic components in the space below the fiber housing. [Selection] Figure 2

Description

関連出願の相互参照
この出願は、2015年3月19日に出願された米国仮出願第62/135,641号の利益を主張する、2016年3月16日に出願された米国特許出願第15/071,296号の一部継続出願であり、両文献は引用により本明細書に援用される。
CROSS REFERENCE TO RELATED APPLICATIONS This application is a U.S. patent application filed on March 16, 2016 that claims the benefit of US Provisional Application No. 62 / 135,641 filed on March 19, 2015. No. 071,296, which is a continuation-in-part application, both of which are incorporated herein by reference.

本発明は、ファイバベースの光増幅器に関し、特に、光増幅器の増幅ファイバ部分の小型構造に関する。   The present invention relates to a fiber-based optical amplifier, and more particularly to a compact structure of an amplification fiber portion of an optical amplifier.

エルビウムドープファイバ増幅器(EDFA)および分布ラマン増幅器(DRA)などの様々なタイプのファイバベースの光増幅器は、光通信システムのユビキタス要素であり、フェージング光信号の再生が必要な場合に、光−電気−光信号変換を実行する必要性をなくすことができる。   Various types of fiber-based optical amplifiers, such as erbium-doped fiber amplifiers (EDFAs) and distributed Raman amplifiers (DRAs), are ubiquitous elements of optical communication systems and require opto-electrical regeneration when fading optical signal regeneration is required. -The need to perform optical signal conversion can be eliminated.

EDFAの場合、(典型的には980nmで動作する)光ポンプレーザがErドープ光ファイバのセクションに結合され、入射光信号が励起光とともにドープファイバを伝播する。エルビウムドーパントによる励起光の存在は、光励起されたエルビウムイオンの遷移によって伝播する光信号の増幅を生じさせる。分散ラマン増幅器(DRA)は、光信号の伝播を支える伝送ファイバのセクションに沿って、短い高出力パルスを注入することによって動作する。それらパルス(光信号に対して共伝播または逆伝播の何れか)が存在すると、光子はより高いエネルギーレベルに励起され、その基底状態に戻る際に誘導放射を生成する。   In the case of an EDFA, an optical pump laser (typically operating at 980 nm) is coupled to a section of an Er-doped optical fiber and an incident optical signal propagates through the doped fiber along with pump light. The presence of excitation light due to the erbium dopant causes amplification of the optical signal propagating by the transition of the photoexcited erbium ions. A distributed Raman amplifier (DRA) operates by injecting short high-power pulses along a section of the transmission fiber that supports the propagation of optical signals. In the presence of those pulses (either co-propagating or counter-propagating with respect to the optical signal), the photon is excited to a higher energy level and produces stimulated emission upon returning to its ground state.

光増幅器モジュールを形成する様々なコンポーネントは、典型的には、ファイバ結合要素として作られており、場合によっては、一体化(またはハイブリッド化)されて、例えば、アイソレータとWDMフィルタの複合体、またはアイソレータとGFFフィルタの複合体などを形成する。当然のことながら、低コストで小型のモジュールはシステム全体のコストを引き下げる。このため、より小さいコンポーネント、更なるハイブリダイゼーション、より小さいモジュールへの傾向がしばらく続いている。実際のところ、業界には、より小さいフォームファクタと低コストへの圧力が続いている。   The various components forming the optical amplifier module are typically made as fiber coupling elements, and in some cases integrated (or hybridized), for example, an isolator and WDM filter composite, or A complex of an isolator and a GFF filter is formed. Of course, low cost and small modules reduce the overall system cost. For this reason, the trend towards smaller components, further hybridization, and smaller modules has continued for some time. In fact, the industry continues to pressure on smaller form factors and lower costs.

これらの要求を満たすための1つの方法は、様々なコンポーネントのサイズを絶えず減らし、おそらくは、統合度を高めることである。しかしながら、これは、増幅器モジュールのコストも懸念事項である環境では容易に達成されるものではない。実際に、それらコンポーネントのサイズは、低コストの労働によって容易に組み立てることができないレベルにまで減少している(すなわち、それらコンポーネントの幾つかのサイズは、1mm×1mm×1mmのオーダーである)。   One way to meet these requirements is to continually reduce the size of the various components and possibly increase the degree of integration. However, this is not easily achieved in an environment where the cost of the amplifier module is also a concern. In fact, the size of these components has been reduced to a level that cannot be easily assembled by low-cost labor (ie, some sizes of these components are on the order of 1 mm × 1 mm × 1 mm).

さらに、ハイブリッドコンポーネント内の統合レベルを上げるなどして、光増幅器モジュールのサイズを小さくしても、異なるハイブリッドを、ファイバスプライスおよびルーティングを介して互いに結合する必要がある。光ファイバの最小曲げ半径の結果として、さらには、それにより比較的多数のファイバスプライスとスプライスプロテクタを必要とするため、現在の構成をさらにハイブリッド化する能力は、技術的限界、サイズ的限界、および経済的な実現可能性にすぐに到達する。「曲げ半径」は、信号損失の許容量を規定することに関連する決定的要因である。特に、光信号に生じる損失は、信号を伝播させるファイバの曲げ半径が小さいほど増加する。非常に小さい曲げ半径値では、ファイバ自体が物理的に破損してしまう可能性もある。   Furthermore, even if the size of the optical amplifier module is reduced, such as by increasing the level of integration within the hybrid component, different hybrids need to be coupled together via fiber splices and routing. As a result of the minimum bend radius of the optical fiber, and further thereby requiring a relatively large number of fiber splices and splice protectors, the ability to further hybridize current configurations is a technical limitation, a size limitation, and Reach economic feasibility quickly. “Bend radius” is a decisive factor associated with defining an acceptable amount of signal loss. In particular, the loss that occurs in the optical signal increases as the bend radius of the fiber that propagates the signal decreases. At very small bend radii values, the fiber itself can be physically damaged.

このため、ファイバベースの光増幅器が、性能要件を維持しながら、コストおよびサイズ縮小の期待に応え続けるためには、増幅ファイバを光増幅器モジュール内に組み込むための異なるアプローチが必要と考えられる。   Thus, in order for fiber-based optical amplifiers to continue to meet cost and size reduction expectations while maintaining performance requirements, a different approach for incorporating an amplification fiber into an optical amplifier module may be necessary.

従来技術に残る必要性は、ファイバベースの光増幅器、より詳細には、増幅器の増幅ファイバ部分のコンパクト構造に関する本発明によって対処される。   The need remaining in the prior art is addressed by the present invention with respect to fiber-based optical amplifiers, and more particularly to the compact structure of the amplifier fiber portion of the amplifier.

本発明の一実施形態によれば、例示的な光増幅器は、光学モジュールおよびファイバモジュールを含むように構成されている。光学モジュールは、増幅された信号を受け入れ可能な出力形式へと処理するために利用される様々な光学デバイスを収容するために使用され、ファイバモジュールは、増幅が行われる実際のファイバを収容するために使用される。本発明のファイバモジュールは、感圧接着剤トップコーティングを有する絶縁材料(例えば、ポリイミド)の可撓性基板からなる。ファイバ自体は、絶縁材料上にコイル形態で巻かれ、接着剤コーティングによって定位置に保持される。より剛性の高い材料の支持トレーが、可撓性材料に機械的強度を付与するために使用され、コイルの半径が規定の最小ファイバ曲げ半径を下回らないようにするためのガイドを含むように形成することができる。   According to one embodiment of the present invention, an exemplary optical amplifier is configured to include an optical module and a fiber module. The optical module is used to accommodate various optical devices that are utilized to process the amplified signal into an acceptable output format, and the fiber module to accommodate the actual fiber that is being amplified. Used for. The fiber module of the present invention comprises a flexible substrate of an insulating material (eg, polyimide) having a pressure sensitive adhesive top coating. The fiber itself is wound in coil form on an insulating material and held in place by an adhesive coating. A stiffer material support tray is used to provide mechanical strength to the flexible material and includes a guide to keep the coil radius below the specified minimum fiber bend radius can do.

本発明の特定の実施形態は、希土類ドープ光ファイバ増幅器として構成することができ、特定波長の励起光を供給して、入力光信号と同時に、希土類(例えば、エルビウム)ドープ光ファイバのコイルに沿って伝播させる。本発明の別の実施形態は、入力光信号が伝播する信号路に高出力レーザパルスが注入される分布ラマン増幅器(DRA)の形態をとる。   Certain embodiments of the present invention can be configured as rare earth doped optical fiber amplifiers that provide pumping light of a specific wavelength along with a coil of rare earth (eg, erbium) doped optical fiber simultaneously with an input optical signal. Propagate. Another embodiment of the invention takes the form of a distributed Raman amplifier (DRA) in which high power laser pulses are injected into the signal path through which the input optical signal propagates.

本発明の例示的な実施形態は、増幅されたバージョンからの出力光信号を生成するのに利用される光学素子を収容する光学モジュールと、光学モジュールに光学的に結合されたファイバモジュールとを含む光ファイバ増幅器の形態をとる。ファイバモジュールは、励起光の存在下で伝播する光信号に利得を生成するための増幅ファイバのセクションを収容するために使用され、ファイバモジュールは、特に、フラットコイルの形態の増幅ファイバのセクションを支持するための可撓性基板と、可撓性基板の下方に配置された支持構造体とを備え、支持構造体が、光学モジュールにファイバモジュールを機械的に取り付けるための終端部を含む。   Exemplary embodiments of the present invention include an optical module containing optical elements used to generate an output optical signal from an amplified version, and a fiber module optically coupled to the optical module. It takes the form of an optical fiber amplifier. The fiber module is used to accommodate the section of the amplification fiber for generating gain in the optical signal propagating in the presence of the pumping light, and the fiber module specifically supports the section of the amplification fiber in the form of a flat coil And a support structure disposed below the flexible substrate, the support structure including a termination for mechanically attaching the fiber module to the optical module.

本発明の選択された実施形態は、(ファイバコイルの最小直径を規定する境界を形成する)中央ボビンと、(ファイバコイルの最大直径を規定する境界を形成する)外側境界要素とを含むファイバ封入コンポーネントを備えた光ファイバコイル支持構造体の形態を取ることができる。底部支持シートがファイバ封入コンポーネントの底面に取り付けられ、外側カバーが外側境界要素構造の上面および中央ボビンの少なくとも一部に取り付けられ、それにより、底部支持シートと外側カバーとの間に、光ファイバコイルの支持および格納のための空間を形成する。   Selected embodiments of the present invention include a fiber encapsulation that includes a central bobbin (which defines the boundary defining the minimum diameter of the fiber coil) and an outer boundary element (which defines the boundary defining the maximum diameter of the fiber coil). It can take the form of a fiber optic coil support structure with components. A bottom support sheet is attached to the bottom surface of the fiber encapsulating component, and an outer cover is attached to the top surface of the outer boundary element structure and at least a portion of the central bobbin so that the fiber optic coil is interposed between the bottom support sheet and the outer cover. Forms a space for supporting and storing.

本発明のその他の態様および更なる態様は、以下の説明の過程で、かつ添付の図面を参照することによって明らかになるであろう。   Other and further aspects of the invention will become apparent during the course of the following description and by reference to the accompanying drawings.

ここで図面を参照する。幾つかの図面において同様の符号は同様の部分を表している。
図1は、本発明に従って形成された例示的な光ファイバ増幅器の等角図である。 図2は、図1の光ファイバ増幅器の分解図である。 図3は、増幅器のファイバモジュール内で使用するためのフラットコイルとして提供される増幅ファイバのセクションを示している。 図4は、例示的なファイバモジュール上に配置されたときの、図3の増幅ファイバのコイルを示している。 図5は、ファイバモジュールの支持構造体部分の図であり、ファイバがコイル状にされたときに増幅ファイバが受ける曲げ半径を制御するパラメータを示している。 図6は、本発明の光増幅器の光学モジュールにファイバモジュールを取り付けるための別の構成を示している。 図7は、コンパクト構成を示しており、この構成では、ファイバモジュールの材料により提供される電気的絶縁によって、電子回路基板を光増幅器に近接して配置することが可能となっている。 図8は、本発明に従って形成されたファイバモジュールの代替的な実施形態の分解図である。 図9は、図8のファイバモジュールの等角図である。 図10は、図9のファイバモジュールの一部分の切欠側面図である。 図11は、図8のファイバモジュール内に収容され得る3つのファイバコイルの例示的なセットを示している。 図12は、ファイバモジュールに配置されたときの第1ファイバコイルを示している。 図13は、ファイバモジュールの外側部分に配置された一対のファイバスプライスコイルが第1ファイバコイルから離れた状態の最終アセンブリを示している。 図14は、図13のモジュールの上に置かれる外側カバーを示す分解図である。 図15は、外側カバーが定位置にある、図9の例示的なファイバモジュールを示している。 図16は、本発明に係るファイバ支持構造体内で使用され得る中央ボビンの代替的な幾何学的形状を示している。 図17は、本発明に係るファイバ支持構造体内で使用され得る外側境界要素の代替的な幾何学的形状を示している。
Reference is now made to the drawings. Like reference symbols in the various drawings indicate like parts.
FIG. 1 is an isometric view of an exemplary fiber optic amplifier formed in accordance with the present invention. FIG. 2 is an exploded view of the optical fiber amplifier of FIG. FIG. 3 shows a section of an amplifying fiber provided as a flat coil for use in an amplifier fiber module. FIG. 4 shows the coil of the amplification fiber of FIG. 3 when placed on an exemplary fiber module. FIG. 5 is a view of the support structure portion of the fiber module, showing the parameters that control the bend radius experienced by the amplification fiber when the fiber is coiled. FIG. 6 shows another configuration for attaching a fiber module to the optical module of the optical amplifier of the present invention. FIG. 7 shows a compact configuration in which the electronic circuit board can be placed in close proximity to the optical amplifier due to the electrical insulation provided by the fiber module material. FIG. 8 is an exploded view of an alternative embodiment of a fiber module formed in accordance with the present invention. FIG. 9 is an isometric view of the fiber module of FIG. 10 is a cutaway side view of a portion of the fiber module of FIG. FIG. 11 illustrates an exemplary set of three fiber coils that can be housed in the fiber module of FIG. FIG. 12 shows the first fiber coil when placed in the fiber module. FIG. 13 shows the final assembly with a pair of fiber splice coils located on the outer portion of the fiber module away from the first fiber coil. 14 is an exploded view showing the outer cover placed on the module of FIG. FIG. 15 shows the exemplary fiber module of FIG. 9 with the outer cover in place. FIG. 16 illustrates an alternative geometry of the central bobbin that may be used within the fiber support structure according to the present invention. FIG. 17 illustrates an alternative geometry of the outer boundary element that may be used within a fiber support structure according to the present invention.

図1は、本発明に従って形成された例示的な小型光増幅器10の等角図である。光増幅器10は、光学モジュール12と増幅ファイバモジュール14の両方を備える。光学モジュール12は、例えば、従来の形態であり、定義されたシステム要件(例えば、ノイズフロア、アイソレーション、利得プロファイル、挿入損失などに関する要件)を満たす増幅された出力信号を生成するために利用される様々な光学素子、ハイブリッドを含む。ファイバモジュール14は、入射光信号に対して実際の増幅機能を実行するために使用される増幅ファイバの(比較的長い)セクションを収容する。光学モジュール12内に必要とされる光学機能を提供するために使用され得る多くの異なる構成が存在する。同時係属中の米国出願第15/072,520号(2016年3月17日出願)には幾つかの好ましい実施形態が記載されている。この出願は引用により本明細書に援用されるものとする。   FIG. 1 is an isometric view of an exemplary miniature optical amplifier 10 formed in accordance with the present invention. The optical amplifier 10 includes both an optical module 12 and an amplification fiber module 14. The optical module 12 is, for example, in conventional form and is used to generate an amplified output signal that meets defined system requirements (eg, requirements regarding noise floor, isolation, gain profile, insertion loss, etc.). Including various optical elements and hybrids. The fiber module 14 houses a (relatively long) section of amplification fiber that is used to perform the actual amplification function on the incident optical signal. There are many different configurations that can be used to provide the required optical functions within the optical module 12. Several preferred embodiments are described in co-pending US application Ser. No. 15 / 072,520 (filed Mar. 17, 2016). This application is hereby incorporated by reference.

分かり易くするために、定位置に増幅ファイバを有していないファイバモジュール14が図1に示されている。希土類ドープファイバ増幅器を設計する場合、ドープファイバ(例えば、エルビウムドープファイバ)のセクションがファイバモジュール14内に配置されることを理解されたい。分布ラマン増幅器の場合、従来の単一モードファイバのセクションは、典型的には、ファイバモジュール14内に配置される。増幅ファイバをモジュール14内に装填する例示的なプロセスを、図3−図5に関連して以下に説明する。   For clarity, a fiber module 14 that does not have an amplification fiber in place is shown in FIG. When designing a rare earth doped fiber amplifier, it should be understood that a section of doped fiber (eg, erbium doped fiber) is disposed within the fiber module 14. In the case of a distributed Raman amplifier, a conventional single mode fiber section is typically placed in the fiber module 14. An exemplary process for loading the amplification fiber into the module 14 is described below in connection with FIGS.

図2は、例示的な小型光増幅器10の別の図であって、この場合は分解図であり、同図には、光学モジュール12がファイバモジュール14から分離されるものとして示されるとともに、ファイバモジュール14を形成する例示的なコンポーネントのセットも示されている。図1および図2の両方を参照すると、入射光信号は、ファイバピグテール接続部16を介して光学モジュール12内に導入される。入射光信号および励起光(別個の外部源または光学モジュール12内に同一パッケージされる源から供給されるものであってもよい)は、光学モジュール12内で結合され、ピグテールファイバ接続部17を介してファイバモジュール14内に結合される。光信号および励起光は、ファイバモジュール14に収容された増幅ファイバ20の長さ部分を通って伝播し、光信号の増幅されたものが最終的にファイバモジュール14から出射する。その後、増幅された信号は、光ファイバピグテール18で光学モジュール12に戻って結合される。様々な増幅後の光学機能(特定のシステム要件によって定められる利得平坦化、パワー調整など)が信号に対して実行され、その後、信号は、光増幅器10からの増幅された出力信号として光ファイバピグテール19から光学モジュール12を出る。   FIG. 2 is another view of an exemplary miniature optical amplifier 10, in this case an exploded view, in which the optical module 12 is shown as being separated from the fiber module 14 and the fiber An exemplary set of components that form module 14 is also shown. With reference to both FIG. 1 and FIG. 2, the incident optical signal is introduced into the optical module 12 via the fiber pigtail connection 16. The incident light signal and excitation light (which may be supplied from separate external sources or sources packaged in the optical module 12) are combined in the optical module 12 and via the pigtail fiber connection 17. Are coupled into the fiber module 14. The optical signal and the pumping light propagate through the length portion of the amplification fiber 20 accommodated in the fiber module 14, and the amplified optical signal is finally emitted from the fiber module 14. The amplified signal is then coupled back to the optical module 12 at the fiber optic pigtail 18. Various post-amplification optical functions (gain flattening, power adjustment, etc. defined by specific system requirements) are performed on the signal, after which the signal is fiber optic pigtail as an amplified output signal from the optical amplifier 10. 19 exits the optical module 12.

図2の特定の実施形態を参照すると、ファイバモジュール14は、相対的に円形の遠位部分24と、ファイバモジュール14を光学モジュール12に取り付けるために使用される反対のペアの終端部26,28とを有するように構成された剛性支持部材22を含むものとして示されている。適当な絶縁材料(例えば、ポリイミドベースの材料)からなる可撓性基板30が支持部材22内に配置され、可撓性基板30に感圧接着剤のコーティング31が塗布される。接着剤コーティングは、可撓性基板30への増幅ファイバ20の取付の完全性を保証するために使用されている。図2に示すように、ファイバモジュール14内に増幅ファイバ20を(図1の最終形態に示すように)収容するために、上部カバープレート32および下部カバープレート34が使用されている。   Referring to the particular embodiment of FIG. 2, the fiber module 14 includes a relatively circular distal portion 24 and opposite pairs of terminations 26, 28 used to attach the fiber module 14 to the optical module 12. Are shown as including a rigid support member 22 configured to have: A flexible substrate 30 made of a suitable insulating material (eg, a polyimide-based material) is placed in the support member 22 and a pressure sensitive adhesive coating 31 is applied to the flexible substrate 30. The adhesive coating is used to ensure the integrity of attachment of the amplification fiber 20 to the flexible substrate 30. As shown in FIG. 2, an upper cover plate 32 and a lower cover plate 34 are used to house the amplification fiber 20 in the fiber module 14 (as shown in the final configuration of FIG. 1).

この特定の構成には変形例が考えられ、それには、ファイバモジュール14を光学モジュール12に機械的に取り付ける終端部をより少なく又は多く使用することが含まれる。さらに、可撓性材料30上に接着剤コーティング31を含むことが好ましいが、付加的なコーティングを必要とせずに接着性を示すタイプの可撓性材料も存在する。   Variations on this particular configuration are possible, including using fewer or more terminations that mechanically attach the fiber module 14 to the optical module 12. In addition, although it is preferred to include an adhesive coating 31 on the flexible material 30, there are types of flexible materials that exhibit adhesion without the need for additional coatings.

本発明の一態様は、(従来技術において一般的なファイバを束ねるのと比較して)フラットコイルとしての増幅ファイバの特定の構造である。図3では、増幅ファイバ20が、20−1および20−1として示される2つのフラットコイルの「スタック」を形成するように巻かれた状態で示されている。図4は、支持構造体22の円形部分24内の定位置に置かれた増幅ファイバ20のコイルを示している。小型光増幅器のこの部分を製造するプロセスにおいて、増幅ファイバは、接着剤コーティング31がコイル状のファイバを定位置に保持するのを可能にするのに十分な圧力を使用して、可撓性材料30上に文字通りスピンされる。   One aspect of the present invention is the specific structure of the amplifying fiber as a flat coil (as compared to bundling common fibers in the prior art). In FIG. 3, the amplification fiber 20 is shown wound to form a “stack” of two flat coils shown as 20-1 and 20-1. FIG. 4 shows the coil of the amplification fiber 20 placed in place within the circular portion 24 of the support structure 22. In the process of manufacturing this part of the miniature optical amplifier, the amplifying fiber is made of flexible material using sufficient pressure to allow the adhesive coating 31 to hold the coiled fiber in place. Spins literally on 30.

EDFAの実施において、増幅ファイバ20は、長さ約1メートルの希土類ドープファイバのセクションを含む(ときには、1メートル以上が必要とされる場合もある)。DRAは、増幅ファイバ20の形成において数メートルの長さの従来の信号モード光ファイバを利用することがある。相対的に小さい寸法のパッケージ内にそれらの相対的に長い増幅ファイバを組み込もうとする場合、伝播する信号に対する曲げ損失の影響を理解する必要がある。すなわち、ファイバが、非常にタイトな曲げ半径で曲線状に曲げられると(この場合には、コイルを形成すると)、伝播する信号の大部分がコア領域から散乱し、ファイバ半径が減少するほど損失が増加する。ファイバの曲げ半径が非常に小さいと、ファイバ自体が破損する可能性もある。一方、曲げ半径が大きい値に維持される場合(すなわち、比較的「緩やかな」曲げのみがファイバに付与される場合)、1または2メートルの増幅ファイバを収容するのに必要なパッケージのサイズは、多くのCFP要件には大き過ぎる。   In an EDFA implementation, amplification fiber 20 includes a section of rare earth doped fiber that is approximately 1 meter long (sometimes more than 1 meter may be required). The DRA may utilize a conventional signal mode optical fiber that is several meters long in forming the amplification fiber 20. When attempting to incorporate these relatively long amplification fibers in a relatively small size package, it is necessary to understand the effect of bending loss on the propagating signal. That is, if the fiber is bent into a curve with a very tight bend radius (in this case, forming a coil), the majority of the propagated signal is scattered from the core region and the loss decreases as the fiber radius decreases. Will increase. If the bend radius of the fiber is very small, the fiber itself may be broken. On the other hand, if the bend radius is maintained at a large value (i.e., only relatively “slow” bends are applied to the fiber), the size of the package required to accommodate one or two meters of amplified fiber is Too large for many CFP requirements.

図5は、増幅ファイバ20のコイル構造に導入される曲率を制御するために、本発明のそれらの態様に従って形成された例示的な支持構造体22の図である。特に、支持構造体22の円形部分24は、中央開口部36を含むものとして示されており、開口部36の直径dが、増幅ファイバ20が非常にきつい曲げ半径で巻かれないように選択されている。円形部分24の外径Dは、光増幅器10の最終寸法が特定のパッケージ設計によって課せられる制限内に十分に収まるように選択される。開口部36は、増幅ファイバがこの中央領域に入るのを防止するためにリム38を含むことができる。同様に、支持構造体22の外周は、指定された境界内にファイバを閉じ込めた状態で維持するためにリム40を含むことができる。   FIG. 5 is a diagram of an exemplary support structure 22 formed in accordance with those aspects of the present invention to control the curvature introduced into the coil structure of the amplification fiber 20. In particular, the circular portion 24 of the support structure 22 is shown as including a central opening 36, and the diameter d of the opening 36 is selected so that the amplification fiber 20 is not wound with a very tight bend radius. ing. The outer diameter D of the circular portion 24 is selected so that the final dimensions of the optical amplifier 10 are well within the limits imposed by the particular package design. The opening 36 can include a rim 38 to prevent the amplification fiber from entering this central region. Similarly, the outer periphery of the support structure 22 can include a rim 40 to maintain the fiber confined within specified boundaries.

例示的な組立てプロセスの1つでは、プロセスのためのガイドとして開口部36(リム38を有する)および外側リム40を使用して、増幅ファイバ20が支持構造体22の表面可撓性基板30上にスピンされる。すなわち、増幅ファイバ20は、従来技術のように束ねられるのではなく、フラットな形態で巻かれ、小型のスプライスプロテクタがファイバピグテール17,18に接続するために定位置に挿入される。このため、光増幅器のこの部分は、自動化された方法で組み立てることができ、それにより、高歩留まり、低コスト、さらに小さなフットプリントで、高度に反復可能なプロセスを実現することができる。   In one exemplary assembly process, the amplification fiber 20 is on the surface flexible substrate 30 of the support structure 22 using an opening 36 (with a rim 38) and an outer rim 40 as a guide for the process. To be spun on. That is, the amplifying fiber 20 is not bundled as in the prior art, but is wound in a flat form and a small splice protector is inserted in place for connection to the fiber pigtails 17 and 18. Thus, this part of the optical amplifier can be assembled in an automated manner, thereby achieving a highly repeatable process with high yield, low cost and even a small footprint.

ファイバモジュール14を光学モジュール12に機械的に取り付けるために使用され得る様々な異なる構成(上述したような、ファイバピグテール17,18を介して提供される光学接続)が存在することを理解されたい。図1および図2に示す例示的な構成は、ファイバモジュール14の終端部26,28と、光学モジュール12のハウジング46内に形成された関連する取付要素42,44(図2に最も良く示されている)との間に簡易なスナップフィット摩擦嵌合を利用している。   It should be understood that there are a variety of different configurations that can be used to mechanically attach the fiber module 14 to the optical module 12 (optical connections provided through the fiber pigtails 17, 18 as described above). The exemplary configuration shown in FIGS. 1 and 2 is best shown in FIG. 2 with the terminations 26 and 28 of the fiber module 14 and associated mounting elements 42 and 44 formed in the housing 46 of the optical module 12. A simple snap-fit friction fit.

図6は、代替的な取付構成を示す等角図であり、この場合、ネジ48のセットを用いて、光学モジュール12のハウジング46にファイバモジュール14の終端部26,28を取り付けるようにしている。また、リム38,40の詳細も、光学モジュール12へのファイバモジュール14の取付を示すこの本発明の小型光増幅器モジュールの図に、光増幅器10の下側から具体的に示されている。この図では、両終端部26,28が示されており、補強要素42,42’が図示のように配置されている。取付ネジ50,52は、終端部28を取り付けるために使用される類似の取付ネジ50’,52’とともに、終端部26を光学モジュール12に取り付けるものとして示されている。   FIG. 6 is an isometric view showing an alternative mounting configuration, in which the set of screws 48 is used to mount the terminations 26 and 28 of the fiber module 14 to the housing 46 of the optical module 12. . The details of the rims 38 and 40 are also specifically shown from the underside of the optical amplifier 10 in the figure of the small optical amplifier module of the present invention showing the attachment of the fiber module 14 to the optical module 12. In this figure, both end portions 26, 28 are shown, and reinforcing elements 42, 42 'are arranged as shown. Mounting screws 50, 52 are shown as attaching the termination 26 to the optical module 12 along with similar mounting screws 50 ′, 52 ′ used to attach the termination 28.

上述したように、本発明の小型増幅器モジュール構成の別の利点は、ファイバモジュール14の支持構造体22が絶縁材料で形成されていることである。このため、関連する電気回路を、その性能に影響を与えることなくファイバモジュール14に近接して配置することが可能である。図7は、この態様を示す本発明の小型光増幅器の例示的な図である。明確にするために、増幅ファイバ20を覆う被覆層は示されていない。この場合、電子回路基板100は、小型光増幅器10の真下に配置されて、光学モジュール12とファイバモジュール14の両方の下に延在するものとして示されている。   As mentioned above, another advantage of the miniature amplifier module configuration of the present invention is that the support structure 22 of the fiber module 14 is formed of an insulating material. For this reason, it is possible to arrange the related electric circuit close to the fiber module 14 without affecting its performance. FIG. 7 is an exemplary diagram of a compact optical amplifier of the present invention showing this aspect. For clarity, the coating layer over the amplification fiber 20 is not shown. In this case, the electronic circuit board 100 is shown as being disposed directly below the miniature optical amplifier 10 and extending under both the optical module 12 and the fiber module 14.

ファイバベースの光増幅器とともに使用する本発明のファイバモジュールは、ドープファイバ増幅器(EDFAなど)または分布ラマン増幅器の形成に使用することができ、アセンブリの唯一の変更は、モジュールの可撓性基板上に巻かれるファイバのタイプであることを理解されたい。そのため、支持構造体22(特に中心開口部32)の特定の寸法は、特定の増幅器の設計基準に付随する最小曲げ半径の関数として異なる場合がある。   The fiber module of the present invention for use with a fiber-based optical amplifier can be used to form a doped fiber amplifier (such as an EDFA) or a distributed Raman amplifier, the only modification of the assembly being on the flexible substrate of the module It should be understood that this is the type of fiber being wound. As such, the specific dimensions of the support structure 22 (especially the central opening 32) may vary as a function of the minimum bend radius associated with the specific amplifier design criteria.

図8は、特に光増幅器またはその他の任意のファイバベースの装置とともに使用するのに適した、光ファイバの1またはそれ以上のコイルを封入して支持するための薄型構造の別の実施形態を示している。ファイバ支持構造体80は、図8の分解図に示されており、図9には組み立てた形態で示されている。この特定の実施形態では、ファイバ支持構造体80は、外側境界要素82およびボビン83で形成される封入コンポーネントを含み、ボビン83が外側境界要素82の内側領域内に配置されている。ボビン83の寸法は、ファイバ支持構造体80内に配置されてボビン83の周りに巻回されるファイバのコイルに許容される最小曲げ半径を規定する。幾つかの実施形態では、外側境界要素82は、ファイバ導入部84,86を含むように形成することができる。外側境界要素82およびボビン83は、比較的剛性のプラスチック材料を含む任意の適切な材料から形成することができる。   FIG. 8 illustrates another embodiment of a thin structure for encapsulating and supporting one or more coils of optical fiber, particularly suitable for use with an optical amplifier or any other fiber-based device. ing. The fiber support structure 80 is shown in an exploded view in FIG. 8 and in an assembled form in FIG. In this particular embodiment, the fiber support structure 80 includes an encapsulating component formed by an outer boundary element 82 and a bobbin 83, with the bobbin 83 disposed within the inner region of the outer boundary element 82. The dimensions of the bobbin 83 define the minimum bend radius allowed for the coil of fiber disposed within the fiber support structure 80 and wound around the bobbin 83. In some embodiments, the outer boundary element 82 can be formed to include fiber introductions 84, 86. Outer boundary element 82 and bobbin 83 may be formed from any suitable material, including relatively rigid plastic materials.

本発明のこの実施形態によれば、外側境界要素82の底面82Bおよびボビン83Bの底面83Bの周りにプラスチック材料(例えば、ポリイミド、ポリカーボネートなど)の第1のシート90が取り付けられる。このプラスチック材料の第1のシートは、以下、ファイバ支持構造体80の「ボトムシート90」と規定する。ファイバコイル20は、ボトムシート90上に配置され、ファイバコイル20の直径は、外側境界要素82の内径よりも小さい。その後、外側境界要素82の上面82Tを覆うように、(ボトムシート90と同じ材料または同様の材料で形成された)プラスチック材料の第2のトップシート92が配置される。シート90,92は、外側境界要素82に溶接(例えば、超音波、熱または化学溶接)することができ、あるいはその他の方法でリングに接着することができる。   According to this embodiment of the invention, a first sheet 90 of plastic material (eg, polyimide, polycarbonate, etc.) is attached around the bottom surface 82B of the outer boundary element 82 and the bottom surface 83B of the bobbin 83B. This first sheet of plastic material is hereinafter defined as the “bottom sheet 90” of the fiber support structure 80. The fiber coil 20 is disposed on the bottom sheet 90, and the diameter of the fiber coil 20 is smaller than the inner diameter of the outer boundary element 82. Thereafter, a second topsheet 92 of plastic material (formed of the same material as the bottomsheet 90 or a similar material) is disposed so as to cover the upper surface 82T of the outer boundary element 82. The sheets 90, 92 can be welded (eg, ultrasonic, thermal or chemical welds) to the outer boundary element 82, or otherwise adhered to the ring.

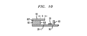
本発明のこの実施形態の1またはそれ以上の構成では、トップシート92は、当該トップシート92が外側境界要素82の内側表面82Iから僅かに張り出すことを可能にする予め設定された幅Wを含むことができる。図10は、図9の構成の一部の破断側面図であり、外側境界要素82の内側表面82Iに対するトップシート92のオーバーハングDおよびボトムシート90を示している。オーバーハングDは、ファイバ支持構造体80の覆われた外側部分を作り出すように設計されており、この外側部分は、図10に示すように、少なくとも2本のファイバ直径よりも僅かに長い幅に広がっている。この構成は、後述するように、オーバーハングの下方にファイバの接合部分を挿入することを可能にする。任意選択的に、スロットまたは切欠部などの特徴部を、トップシート92のオーバーハング部分に含ませることができ、それにより、組立作業中において望ましいときに、ファイバを制御された方法で構造体から逃がすことができる。   In one or more configurations of this embodiment of the invention, the topsheet 92 has a preset width W that allows the topsheet 92 to slightly protrude from the inner surface 82I of the outer boundary element 82. Can be included. FIG. 10 is a cutaway side view of a portion of the configuration of FIG. 9, showing the overhang D of the topsheet 92 and the bottomsheet 90 relative to the inner surface 82I of the outer boundary element 82. FIG. The overhang D is designed to create a covered outer portion of the fiber support structure 80 that is slightly wider than at least two fiber diameters, as shown in FIG. It has spread. This arrangement makes it possible to insert a fiber junction below the overhang, as will be described later. Optionally, features such as slots or notches can be included in the overhang portion of the topsheet 92, thereby allowing the fiber to be removed from the structure in a controlled manner when desired during assembly operations. I can escape.

ファイバのコイルを支持するために使用される場合、コイルの直径は、典型的にはファイバ支持構造体80内の利用可能な体積の一部のみを占めるような直径とされる。この場合、ファイバ支持構造体80の占有されていない領域(例えば、上述したように、トップシート92のオーバーハングによって覆われる領域)は、設置または修理中に接合を行う際にしばしば必要となる、追加のファイバの格納のために確保することができる。図11は、ファイバ支持構造体80内に収容されるファイバのセットを示している。この図には、上述したように予め作られたファイバコイル20と、第1のファイバスプライス部20−1および第2のファイバスプライス部20−2が示されており、ここでは、各スプライス部がファイバコイル20の両終端部に結合されている。図12は、トップシート92によって形成されるオーバーハングの下方のファイバ構造体80の外側部分内にファイバスプライス20−1,20−2を配置する前に、ファイバ支持構造体80のボトムシート90上に配置されたファイバコイル20を示している。ファイバコイルは、必ずしも平面状である必要はなく、ファイバ支持構造体80のボビン83の周りにスタック構成で配置された複数の平面コイルを含むことができることを理解されたい。   When used to support a fiber coil, the diameter of the coil is typically such that it occupies only a portion of the available volume within the fiber support structure 80. In this case, an unoccupied area of the fiber support structure 80 (e.g., an area covered by an overhang of the topsheet 92 as described above) is often required when joining during installation or repair. Can be reserved for additional fiber storage. FIG. 11 shows a set of fibers housed within the fiber support structure 80. In this figure, a fiber coil 20 made in advance as described above, and a first fiber splice portion 20-1 and a second fiber splice portion 20-2 are shown. Coupled to both end portions of the fiber coil 20. FIG. 12 shows the top of the fiber support structure 80 on the bottom sheet 90 prior to placing the fiber splices 20-1, 20-2 in the outer portion of the fiber structure 80 below the overhang formed by the topsheet 92. The fiber coil 20 arrange | positioned is shown. It should be understood that the fiber coils need not be planar, but can include a plurality of planar coils disposed in a stacked configuration around the bobbin 83 of the fiber support structure 80.

実際のところ、予め作られたコイル20から延在するファイバスプライス20−1,20−2の長さは、スプライスがファイバ支持構造体80内の予め設定された位置に確実に収まるような精度に制御され、その位置は、ファイバにかかる応力を最小限に抑えるように選択され、その結果、高い信頼性が得られる。その長さは、ファイバが構造体の予備の外側部分に収まるまで益々小さなコイルに折り曲げられて輪状にされるときに、さらに特定される。このため、ファイバは最小の応力状態を達成する(すなわち、長さが制御されていないか又は制御が不十分である場合にひねりに起因して生じるような残留応力は当該ファイバには存在しない)。図13は、ファイバ支持構造体80内に配置されたファイバスプライス20−1,20−2を示している。   In fact, the lengths of the fiber splices 20-1 and 20-2 extending from the pre-made coil 20 are such that the splices can be securely received at preset positions in the fiber support structure 80. Controlled and its position is selected to minimize stress on the fiber, resulting in high reliability. The length is further specified when the fiber is folded into an increasingly smaller coil until it fits in the spare outer portion of the structure. Thus, the fiber achieves a minimum stress state (i.e., there is no residual stress in the fiber as would be caused by twisting when the length is uncontrolled or poorly controlled). . FIG. 13 shows the fiber splices 20-1 and 20-2 disposed in the fiber support structure 80.

図13に示すように、接合されたファイバ20−1,20−2のループは、自然に拡張して、構造体の予備の部分の最大直径を満たす。したがって、スプライスは、(外側境界要素82の内側表面82Iに近い)利用可能な最大直径の近くに存在し、最終展開状態において可能な限り小さい曲げ応力を受け、高い信頼性と低い挿入損失を保証する。   As shown in FIG. 13, the loops of bonded fibers 20-1, 20-2 naturally expand to fill the maximum diameter of the spare portion of the structure. Thus, the splice is near the maximum available diameter (close to the inner surface 82I of the outer boundary element 82) and is subjected to the lowest possible bending stress in the final deployed state, ensuring high reliability and low insertion loss. To do.

また、トップシート92のオーバーハングDによって、スプライス20−1,20−2をトップシート92の下方に配置した後、上述したように、ファイバ支持構造体のボトムシート90の外側部分に沿って定位置に配置することが可能になるのは、図13からも明らかである。この図には、ファイバ構造体80内のスプライス20−1,20−2の配置を制御するために使用されるスロット94も示されている。   In addition, after the splices 20-1 and 20-2 are disposed below the top sheet 92 due to the overhang D of the top sheet 92, as described above, the splices 20-1 and 20-2 are fixed along the outer portion of the bottom sheet 90 of the fiber support structure. It is also clear from FIG. 13 that it is possible to arrange the position. Also shown in this figure is a slot 94 used to control the placement of splices 20-1, 20-2 within fiber structure 80.

その最終形態では、ファイバ支持構造体80は、格納されたファイバコイル20およびスプライス20−1,20−2(および/または支持構造体80内に収容されるその他の任意のファイバ)を覆い保護する外側カバーをさらに含むことができる。図14は、ファイバ構造体80に対する外側カバー100を示す例示的な構成の分解図である。ファイバコイル20およびスプライス20−1,20−2は、この図には示されていないことに留意されたい。図15は、ファイバ構造体80のトップシート92上の定位置に取り付けられた外側カバー100を示す最終図である。   In its final form, the fiber support structure 80 covers and protects the stored fiber coil 20 and splices 20-1, 20-2 (and / or any other fiber housed within the support structure 80). An outer cover can further be included. FIG. 14 is an exploded view of an exemplary configuration showing the outer cover 100 for the fiber structure 80. Note that fiber coil 20 and splices 20-1, 20-2 are not shown in this figure. FIG. 15 is a final view showing the outer cover 100 attached in place on the topsheet 92 of the fiber structure 80.

図8−図15に示す特定の実施形態は、円形の外側境界要素82およびボビン83の使用を示しているが、ボビン周りの光ファイバに生じる曲げ(湾曲)が最小許容曲げ半径よりも大きくない限りは、その他の幾何学形状を採用することができる。例えば、図16のボビン83Aとして示されるやや丸みを帯びた三角形のボビンを使用することができる。   The particular embodiment shown in FIGS. 8-15 illustrates the use of a circular outer boundary element 82 and a bobbin 83, but the bending (curving) that occurs in the optical fiber around the bobbin is not greater than the minimum allowable bend radius. As long as other geometric shapes can be employed. For example, a slightly rounded triangular bobbin shown as a bobbin 83A in FIG. 16 can be used.

図17は、例示的なファイバ支持構造体80Aの平面図であり、この場合、非円形の外側境界要素82A(これは、本発明に係る所与のファイバの最小曲げ半径の制約に適合するように依然として構成されている)を利用している。この特定の実施例では、外側境界要素82Aの内周82AIが七角形であり、ファイバコイル20のための十分な空間を提供し、追加され得る任意のファイバスプライスのための追加スペースも有する。外側境界要素82Aの外側形状は、任意の適切な形状とすることができることに留意されたい。図17に示す特定の構成では、外側境界が矩形状である。その他の場合には、それは円形であってもよく、あるいは内周82AIの七角形の設計に従うものであってもよい。当然のことながら、外側境界要素82Aの七角形の幾何学的形状は、単なる例示として考慮するべきであり、特定の用途のための曲げ半径要件を満たしている限りは、様々なその他の幾何学的形状を使用することができる。   FIG. 17 is a plan view of an exemplary fiber support structure 80A, where a non-circular outer boundary element 82A (which meets the minimum bend radius constraint of a given fiber according to the invention). Is still configured). In this particular embodiment, the inner circumference 82AI of the outer boundary element 82A is heptagonal, providing sufficient space for the fiber coil 20 and also having additional space for any fiber splice that can be added. It should be noted that the outer shape of the outer boundary element 82A can be any suitable shape. In the specific configuration shown in FIG. 17, the outer boundary is rectangular. In other cases, it may be circular or it may follow a heptagonal design with an inner circumference 82AI. Of course, the heptagonal geometry of the outer boundary element 82A should be considered merely as an example and various other geometries as long as they meet the bend radius requirements for a particular application. The target shape can be used.

当業者であれば、本発明の広い概念から逸脱することなく、上述した実施形態に変更を加えることができることが理解されよう。したがって、本発明は、開示した特定の実施形態に限定されるものではなく、添付の特許請求の範囲によって規定される本発明の概念の主旨および範囲内の変更を含むことが意図されることが理解されよう。   Those skilled in the art will appreciate that changes can be made to the above-described embodiments without departing from the broad concepts of the present invention. Accordingly, the invention is not limited to the specific embodiments disclosed, but is intended to include modifications within the spirit and scope of the concepts of the invention as defined by the appended claims. It will be understood.

Claims (12)

光ファイバコイル支持構造体であって、
ファイバコイルの最小直径を規定する境界を形成する中央ボビンと、ファイバコイルの最大直径を規定する境界を形成する外側境界要素とを含むファイバ封入コンポーネントと、
前記ファイバ封入コンポーネントの底面に取り付けられた底部支持シートと、
外側カバーであって、前記外側境界要素構造の上面および前記中央ボビンの少なくとも一部に取り付けられて、前記底部支持シートと前記外側カバーとの間に、光ファイバコイルの支持および収納のための空間を形成する外側カバーとを備えることを特徴とする光ファイバコイル支持構造体。
An optical fiber coil support structure comprising:
A fiber encapsulating component including a central bobbin defining a boundary defining a minimum diameter of the fiber coil and an outer boundary element forming a boundary defining a maximum diameter of the fiber coil;
A bottom support sheet attached to the bottom surface of the fiber encapsulated component;
An outer cover, attached to at least a part of the upper surface of the outer boundary element structure and the central bobbin, and a space for supporting and storing the optical fiber coil between the bottom support sheet and the outer cover. An optical fiber coil support structure, comprising: an outer cover that forms
請求項1に記載の光ファイバコイル支持構造体において、
前記底部支持シートが前記ファイバ封入コンポーネントに溶接されることを特徴とする光ファイバコイル支持構造体。
The optical fiber coil support structure according to claim 1,
An optical fiber coil support structure, wherein the bottom support sheet is welded to the fiber encapsulating component.
請求項1に記載の光ファイバコイル支持構造体において、
前記ファイバ支持構造体がさらに、前記外側境界要素と前記外側カバーとの間に配置された上部支持シートを備え、前記上部支持シートが、前記外側境界要素の上面に取り付けられるとともに、前記外側境界要素の幅より僅かに張り出すようにサイズ設定されて、前記底部支持シートの内側部分および前記中央ボビンを露出させたままとし、追加の長さのファイバスプライスを、前記上部支持シートの張り出した幅の下方に配置することができることを特徴とする光ファイバコイル支持構造体。
The optical fiber coil support structure according to claim 1,
The fiber support structure further comprises an upper support sheet disposed between the outer boundary element and the outer cover, the upper support sheet being attached to an upper surface of the outer boundary element, and the outer boundary element Sizing slightly beyond the width of the bottom support sheet, leaving the inner portion of the bottom support sheet and the central bobbin exposed, and adding an additional length of fiber splice to the overhang width of the top support sheet. An optical fiber coil support structure characterized in that it can be disposed below.
請求項1に記載の光ファイバコイル支持構造体において、
前記底部支持シートおよび上部支持シートが前記外側境界要素に溶接されていることを特徴とする光ファイバコイル支持構造体。
The optical fiber coil support structure according to claim 1,
An optical fiber coil support structure, wherein the bottom support sheet and the top support sheet are welded to the outer boundary element.
請求項3に記載の光ファイバコイル支持構造体において、
前記上部支持シートが、前記ファイバコイル支持構造体内のファイバコイルへのアクセスを提供するための1またはそれ以上のスロットを含むように形成されていることを特徴とする光ファイバコイル支持構造体。
The optical fiber coil support structure according to claim 3,
An optical fiber coil support structure, wherein the upper support sheet is formed to include one or more slots for providing access to a fiber coil within the fiber coil support structure.
請求項1に記載の光ファイバコイル支持構造体において、
前記底部支持シートがプラスチック材料で形成されていることを特徴とする光ファイバコイル支持構造体。
The optical fiber coil support structure according to claim 1,
An optical fiber coil support structure, wherein the bottom support sheet is made of a plastic material.
請求項6に記載の光ファイバコイル支持構造体において、
前記プラスチック材料が、ポリイミド、ポリカーボネート、ポリ塩化ビニルからなる群のなかから選択されることを特徴とする光ファイバコイル支持構造体。
The optical fiber coil support structure according to claim 6,
The optical fiber coil support structure according to claim 1, wherein the plastic material is selected from the group consisting of polyimide, polycarbonate, and polyvinyl chloride.
請求項3に記載の光ファイバコイル支持構造体において、
前記上部支持シートが透明材料で形成されていることを特徴とする光ファイバコイル支持構造体。
The optical fiber coil support structure according to claim 3,
An optical fiber coil support structure, wherein the upper support sheet is made of a transparent material.
請求項8に記載の光ファイバコイル支持構造体において、
前記上部支持シートが透明プラスチック材料で形成されていることを特徴とする光ファイバコイル支持構造体。
The optical fiber coil support structure according to claim 8,
An optical fiber coil support structure, wherein the upper support sheet is made of a transparent plastic material.
請求項1に記載の光ファイバコイル支持構造体において、
前記外側境界要素が、前記ファイバコイル支持構造体に入る光ファイバの長さ部分および前記ファイバコイル支持構造体から出る光ファイバの長さ部分を支持するための溝部を含むことを特徴とする光ファイバコイル支持構造体。
The optical fiber coil support structure according to claim 1,
An optical fiber wherein the outer boundary element includes a length of an optical fiber entering the fiber coil support structure and a groove for supporting the length of the optical fiber exiting the fiber coil support structure Coil support structure.
請求項1に記載の光ファイバコイル支持構造体において、
前記ファイバ封入コンポーネントの中央ボビンが、円形の外周を呈することを特徴とする光ファイバコイル支持構造体。
The optical fiber coil support structure according to claim 1,
An optical fiber coil support structure, wherein a central bobbin of the fiber encapsulating component has a circular outer periphery.
請求項1に記載の光ファイバコイル支持構造体において、
前記ファイバ封入コンポーネントの外側境界要素が、円形の内周を呈することを特徴とする光ファイバコイル支持構造体。
The optical fiber coil support structure according to claim 1,
An optical fiber coil support structure, wherein an outer boundary element of the fiber encapsulating component has a circular inner periphery.
JP2018095950A 2017-07-13 2018-05-18 Compact optical fiber amplifier Active JP6586194B2 (en)

Applications Claiming Priority (2)

Application Number Priority Date Filing Date Title
US15/648,885 2017-07-13
US15/648,885 US10749309B2 (en) 2015-03-19 2017-07-13 Compact optical fiber amplifier

Publications (2)

Publication Number Publication Date
JP2019021909A true JP2019021909A (en) 2019-02-07
JP6586194B2 JP6586194B2 (en) 2019-10-02

Family

ID=65051428

Family Applications (1)

Application Number Title Priority Date Filing Date
JP2018095950A Active JP6586194B2 (en) 2017-07-13 2018-05-18 Compact optical fiber amplifier

Country Status (2)

Country Link
JP (1) JP6586194B2 (en)
CN (1) CN109256661B (en)

Families Citing this family (1)

* Cited by examiner, † Cited by third party
Publication number Priority date Publication date Assignee Title
CN109921269B (en) * 2019-03-05 2024-10-11 深圳市杰普特光电股份有限公司 Laser device

Family Cites Families (8)

* Cited by examiner, † Cited by third party
Publication number Priority date Publication date Assignee Title
US5469526A (en) * 1994-01-07 1995-11-21 Porta Systems Corp. Optical fiber support for printed circuit boards
GB9412528D0 (en) * 1994-06-22 1994-08-10 Bt & D Technologies Ltd Packaged optical amplifier assembly
KR100242412B1 (en) * 1996-10-25 2000-03-02 윤종용 Packaging box for fixing optical element of optical fiber amplifier
US6334020B1 (en) * 1999-09-30 2001-12-25 The Boeing Company Compact package structure for fiber optic devices
KR100492966B1 (en) * 2002-12-06 2005-06-07 삼성전자주식회사 Spool for winding optical fiber
CN202149950U (en) * 2011-06-16 2012-02-22 长飞光纤光缆(上海)有限公司 Novel wire coil for optical cable
US9477058B2 (en) * 2014-10-30 2016-10-25 Fujikura, Ltd. Housing case for optical fiber
CN205374833U (en) * 2015-12-29 2016-07-06 华兴新锐通信科技集团有限公司 Two core rubber -insulated -wire cable branches box

Also Published As

Publication number Publication date
CN109256661B (en) 2021-07-23
CN109256661A (en) 2019-01-22
JP6586194B2 (en) 2019-10-02

Similar Documents

Publication Publication Date Title
JP3138244B2 (en) Optical fiber amplifier packaging structure
US5703990A (en) Apparatus for housing a linearized optical fiber amplifier
US7899296B2 (en) Optical fiber reel
US10749309B2 (en) Compact optical fiber amplifier
JP3619139B2 (en) Small package structure for optical fiber equipment
CN1213877A (en) Encapsulation device for optical fiber amplifier
CN113906691A (en) Fiber pumped laser system and method for underwater optical repeater
US8682126B2 (en) Method for assembling high power fiber laser system and module realizing the method
JP6586194B2 (en) Compact optical fiber amplifier
JPH0955556A (en) Optical amplifier module
US9722387B2 (en) Compact optical fiber amplifier
WO2004055553A2 (en) Interconnect including a repeater for an optical transmission cable
CN104170186B (en) Amplifying device and amplification medium
AU713819B2 (en) Apparatus and method for housing high-heat-emission electrooptical components
CN112751253A (en) Signal light high-order mode filtering method, high-order mode filtering amplification light path and laser
WO2017138468A1 (en) Optical module and optical communication substrate on which optical module is mounted
JPH1079542A (en) Optical amplifier module and optical fiber housing means used therefor
JP2007114369A (en) Optical circuit mounting equipment
CN110518444A (en) Laser radar and its optical fiber laser
JP3513791B2 (en) Optical fiber coil housing case and extra length processing case for housing it
JPH04253037A (en) Multifiber optical amplifier and structure for connecting multiple optical fiber using this amplifier
JP2004133056A (en) Optical module and method of manufacturing the same
JP2001133635A (en) Optical fiber module
JP2013076835A (en) Storage substrate for optical fiber, optical module including storage substrate for optical fiber, and storage box including storage substrate for optical fiber
HK1085312B (en) Optical amplifier module housed in a universal cable joint for an undersea optical transmission system

Legal Events

Date Code Title Description
A621 Written request for application examination

Free format text: JAPANESE INTERMEDIATE CODE: A621

Effective date: 20180702

A131 Notification of reasons for refusal

Free format text: JAPANESE INTERMEDIATE CODE: A131

Effective date: 20190521

A977 Report on retrieval

Free format text: JAPANESE INTERMEDIATE CODE: A971007

Effective date: 20190522

A521 Request for written amendment filed

Free format text: JAPANESE INTERMEDIATE CODE: A523

Effective date: 20190820

TRDD Decision of grant or rejection written
A01 Written decision to grant a patent or to grant a registration (utility model)

Free format text: JAPANESE INTERMEDIATE CODE: A01

Effective date: 20190827

A61 First payment of annual fees (during grant procedure)

Free format text: JAPANESE INTERMEDIATE CODE: A61

Effective date: 20190906

R150 Certificate of patent or registration of utility model

Ref document number: 6586194

Country of ref document: JP

Free format text: JAPANESE INTERMEDIATE CODE: R150

R250 Receipt of annual fees

Free format text: JAPANESE INTERMEDIATE CODE: R250

R250 Receipt of annual fees

Free format text: JAPANESE INTERMEDIATE CODE: R250

R250 Receipt of annual fees

Free format text: JAPANESE INTERMEDIATE CODE: R250

R250 Receipt of annual fees

Free format text: JAPANESE INTERMEDIATE CODE: R250