JP2019018264A - Coolant tank cleaning device - Google Patents

Coolant tank cleaning device Download PDF

Info

Publication number
JP2019018264A
JP2019018264A JP2017136799A JP2017136799A JP2019018264A JP 2019018264 A JP2019018264 A JP 2019018264A JP 2017136799 A JP2017136799 A JP 2017136799A JP 2017136799 A JP2017136799 A JP 2017136799A JP 2019018264 A JP2019018264 A JP 2019018264A
Authority
JP
Japan
Prior art keywords
coolant tank
sludge
coolant
cleaning device
tank cleaning
Prior art date
Legal status (The legal status is an assumption and is not a legal conclusion. Google has not performed a legal analysis and makes no representation as to the accuracy of the status listed.)
Pending
Application number
JP2017136799A
Other languages
Japanese (ja)
Inventor
貴博 中山
Takahiro Nakayama
貴博 中山
Current Assignee (The listed assignees may be inaccurate. Google has not performed a legal analysis and makes no representation or warranty as to the accuracy of the list.)
Toyota Motor Corp
Original Assignee
Toyota Motor Corp
Priority date (The priority date is an assumption and is not a legal conclusion. Google has not performed a legal analysis and makes no representation as to the accuracy of the date listed.)
Filing date
Publication date
Application filed by Toyota Motor Corp filed Critical Toyota Motor Corp
Priority to JP2017136799A priority Critical patent/JP2019018264A/en
Publication of JP2019018264A publication Critical patent/JP2019018264A/en
Pending legal-status Critical Current

Links

Images

Landscapes

  • Auxiliary Devices For Machine Tools (AREA)

Abstract

【課題】クーラントタンク内におけるスラッジの残留を抑制することが可能な、クーラントタンク清掃装置を提供すること。【解決手段】本発明にかかるクーラントタンク清掃装置は、クーラントタンク内のスラッジSを清掃するクーラントタンク清掃装置1であって、クーラントタンク清掃装置1を任意の方向へ移動させる搬送機構11と、スラッジSを回収する回収装置12と、を備え、クーラントタンク内の少なくとも一部に空気が充填された空間を形成する空隙部AS1を有し、空隙部AS1には回収されたスラッジSを溜める回収容器15が設置され、スラッジSの回収時において、回収装置12から回収容器15にスラッジSを搬送する。【選択図】図1To provide a coolant tank cleaning device capable of suppressing sludge residue in a coolant tank. A coolant tank cleaning device according to the present invention is a coolant tank cleaning device 1 that cleans sludge S in a coolant tank, and includes a transport mechanism 11 that moves the coolant tank cleaning device 1 in an arbitrary direction, and sludge. And a recovery device 12 that recovers S, and has a void portion AS1 that forms a space filled with air in at least a portion of the coolant tank, and the void portion AS1 collects the collected sludge S. 15 is installed, and when the sludge S is collected, the sludge S is conveyed from the collection device 12 to the collection container 15. [Selection] Figure 1

Description

本発明は、クーラントタンク清掃装置に関する。   The present invention relates to a coolant tank cleaning device.

クーラントは、機械を冷却するための液体であり、循環させることにより繰り返し用いられる。循環により、クーラントには異物であるスラッジが混入することがある。スラッジは菌の温床となり、クーラントを腐敗させ、クーラントから悪臭が発生する原因となる。特許文献1には、クーラントとスラッジとを分離させる、クーラントタンク清掃装置が開示されている。   The coolant is a liquid for cooling the machine and is repeatedly used by circulating. Due to the circulation, the sludge that is a foreign matter may be mixed in the coolant. Sludge becomes a hotbed of bacteria, causing the coolant to rot and causing odors from the coolant. Patent Document 1 discloses a coolant tank cleaning device that separates coolant and sludge.

特開2005−007210号公報JP-A-2005-007210

本願の発明者は、クーラントタンクを清掃する際に、クーラントタンク内においてクーラントとスラッジとを分離させる手法について検討した。従来のクーラントタンク清掃装置は、クーラントタンクの循環経路、すなわちクーラントタンクの外部に設置されている。つまり、クーラントとスラッジとを分離させるためには、スラッジを含んだクーラントを吸い出すなどして、クーラントタンクの外部へ一旦導出させる必要がある。しかしながら、クーラントタンクからクーラントを導出させる際、または浄化したクーラントをクーラントタンクへ戻す際に、クーラントタンク内に沈んでいたスラッジが舞い上がってしまい、スラッジを十分に取り除くことができず、クーラントタンク内にスラッジが残留してしまうという問題が生じることが判明した。   The inventor of the present application studied a technique for separating the coolant and the sludge in the coolant tank when cleaning the coolant tank. The conventional coolant tank cleaning device is installed in the circulation path of the coolant tank, that is, outside the coolant tank. In other words, in order to separate the coolant and the sludge, it is necessary to draw out the coolant containing the sludge and to once lead it out of the coolant tank. However, when the coolant is led out from the coolant tank or when the purified coolant is returned to the coolant tank, the sludge that has submerged in the coolant tank rises, and the sludge cannot be removed sufficiently. It has been found that there is a problem that sludge remains.

本発明は、上記の問題を鑑みてなされたものであり、クーラントタンク内におけるスラッジの残留を抑制することが可能な、クーラントタンク清掃装置を提供するものである。   The present invention has been made in view of the above problems, and provides a coolant tank cleaning device capable of suppressing sludge residue in a coolant tank.

本発明にかかるクーラントタンク清掃装置は、クーラントタンク内のスラッジを清掃するクーラントタンク清掃装置であって、前記クーラントタンク清掃装置を任意の方向へ移動させる搬送機構と、前記スラッジを回収する回収装置と、を備え、前記クーラントタンク内の少なくとも一部に空気が充填された空間を形成する空隙部を有し、前記空隙部には回収された前記スラッジを溜める回収容器が設置され、前記スラッジの回収時において、前記回収装置から前記回収容器に前記スラッジを搬送する。   A coolant tank cleaning device according to the present invention is a coolant tank cleaning device that cleans sludge in a coolant tank, a transport mechanism that moves the coolant tank cleaning device in an arbitrary direction, and a recovery device that recovers the sludge. And having a void portion that forms a space filled with air in at least a part of the coolant tank, a collection container for collecting the collected sludge is installed in the void portion, and the sludge is collected. At times, the sludge is transported from the collection device to the collection container.

本発明により、スラッジを含むクーラントの清掃の際の、クーラントタンク内におけるスラッジの残留を抑制することができる。   According to the present invention, it is possible to suppress sludge remaining in the coolant tank when cleaning the coolant containing sludge.

実施の形態1にかかるクーラントタンク清掃装置の側面図である。It is a side view of the coolant tank cleaning apparatus concerning Embodiment 1. FIG. 実施の形態1にかかるクーラントタンク清掃装置の斜視図である。1 is a perspective view of a coolant tank cleaning device according to a first embodiment. 実施の形態1にかかるクーラントタンク清掃装置の背面図である。It is a rear view of the coolant tank cleaning apparatus concerning Embodiment 1. FIG. 実施の形態1にかかるクーラントタンク清掃装置の平面図である。1 is a plan view of a coolant tank cleaning apparatus according to a first embodiment. 実施の形態1にかかるクーラントタンク清掃装置の底面図である。FIG. 3 is a bottom view of the coolant tank cleaning device according to the first exemplary embodiment. 実施の形態2にかかるクーラントタンク清掃装置の側面図である。It is a side view of the coolant tank cleaning apparatus concerning Embodiment 2. 実施の形態3にかかるカメラを備えたクーラントタンク清掃装置の側面図である。It is a side view of the coolant tank cleaning apparatus provided with the camera concerning Embodiment 3. 実施の形態4にかかるAIを搭載したクーラントタンク清掃装置の側面図である。It is a side view of the coolant tank cleaning device carrying AI concerning Embodiment 4. FIG. 実施の形態5にかかる動力線を備えるクーラントタンク清掃装置の側面図である。It is a side view of a coolant tank cleaning apparatus provided with the power line concerning Embodiment 5. 実施の形態6にかかる非接触充電器を備えるクーラントタンク清掃装置の側面図である。It is a side view of a coolant tank cleaning apparatus provided with the non-contact charger concerning Embodiment 6.

以下、本発明の具体的な実施の形態について、図面を参照しながら詳細に説明する。ただし、本発明が以下の実施の形態に限定される訳ではない。また、説明を明確にするため、図面は適宜、簡略化されている。
なお、当然のことながら、図1〜9に示した左手系xyz座標は、構成要素の位置関係を説明するための便宜的なものである。通常、z軸プラス向きが鉛直上向き、xy平面が水平面であり、図面間で共通である。
Hereinafter, specific embodiments of the present invention will be described in detail with reference to the drawings. However, the present invention is not limited to the following embodiment. In addition, the drawings are appropriately simplified for the sake of clarity.
As a matter of course, the left-handed xyz coordinates shown in FIGS. 1 to 9 are convenient for explaining the positional relationship of the components. Usually, the z-axis plus direction is vertically upward, and the xy plane is a horizontal plane, which is common between the drawings.

<実施の形態1>
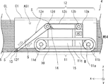
図1は、実施の形態1にかかるクーラントタンク清掃装置1の側面図である。また、図2〜5はそれぞれ、実施の形態1にかかるクーラントタンク清掃装置1の斜視図、背面図、平面図および底面図である。図1及び図3において、クーラントの水面を二点鎖線によって示す。つまり、本実施の形態において、クーラントタンク清掃装置1は、その上面部近傍を除きクーラントCL中(水中)に沈んでいる状態である。
以下、図1〜5を参照し、本実施の形態にかかるクーラントタンク清掃装置1の構成を説明する。
<Embodiment 1>
FIG. 1 is a side view of a coolant tank cleaning apparatus 1 according to the first embodiment. 2 to 5 are a perspective view, a rear view, a plan view, and a bottom view, respectively, of the coolant tank cleaning device 1 according to the first embodiment. In FIG.1 and FIG.3, the water surface of a coolant is shown with a dashed-two dotted line. That is, in the present embodiment, the coolant tank cleaning device 1 is in a state of being submerged in the coolant CL (underwater) except for the vicinity of the upper surface portion thereof.
Hereinafter, with reference to FIGS. 1-5, the structure of the coolant tank cleaning apparatus 1 concerning this Embodiment is demonstrated.

図1〜5は、クーラントタンク清掃装置1を任意の方向へ移動させつつ、回収装置12によってスラッジSを回収する様子を示している。図1〜図5に示すように、本実施の形態にかかるクーラントタンク清掃装置1は、底板10と、搬送機構11と、回収装置12と、スクレーパー13と、ベルトクリーナ14と、回収容器15と、バッテリーBと、カバーC1と、フレームFと、を備える。   FIGS. 1-5 has shown a mode that the sludge S is collect | recovered by the collection | recovery apparatus 12, moving the coolant tank cleaning apparatus 1 to arbitrary directions. As shown in FIGS. 1 to 5, the coolant tank cleaning device 1 according to the present embodiment includes a bottom plate 10, a transport mechanism 11, a recovery device 12, a scraper 13, a belt cleaner 14, and a recovery container 15. The battery B, the cover C1, and the frame F are provided.

図3及び図5に示すように、底板10は、矩形状の板状部材である。底板10の長手方向(x軸正方向)の両側の側面に、搬送機構11が配設されている。搬送機構11は、クーラントタンク清掃装置1が任意の方向に移動することを可能にする。搬送機構11の詳細は、後述する。   As shown in FIGS. 3 and 5, the bottom plate 10 is a rectangular plate member. On the side surfaces on both sides of the bottom plate 10 in the longitudinal direction (x-axis positive direction), a transport mechanism 11 is disposed. The conveyance mechanism 11 enables the coolant tank cleaning device 1 to move in an arbitrary direction. Details of the transport mechanism 11 will be described later.

図1及び図2に示すように、底板10の上面に、クーラントタンク清掃装置1の進行方向(x軸正方向)に対し前側から順に、回収容器15と、バッテリーBと、モータ11aとが載置されている。図2に示すように、回収容器15は、例えば、上面が開口した箱状の形状を有している。図4に示すように、回収容器15は、回収したスラッジSを溜める容器である。図1及び図4に示すように、回収容器15は、ベルトコンベア12eによって運ばれてきたスラッジSをベルトコンベア12eから取り除き、回収容器15へ落下させるベルトクリーナ14を備える。このように、スラッジSを、ベルトクリーナ14を用いてベルトコンベア12eから回収容器15へ落下させることにより、より確実にスラッジSを回収することができる。つまり、スラッジSがベルトコンベア12eに付着したまま再びクーラントCLへ戻ってしまい、クーラントCL中へ拡散してしまうことを防ぐことができる。   As shown in FIGS. 1 and 2, a recovery container 15, a battery B, and a motor 11 a are mounted on the upper surface of the bottom plate 10 in order from the front side with respect to the traveling direction (x-axis positive direction) of the coolant tank cleaning device 1. Is placed. As shown in FIG. 2, the collection container 15 has, for example, a box shape with an upper surface opened. As shown in FIG. 4, the collection container 15 is a container for storing the collected sludge S. As shown in FIGS. 1 and 4, the collection container 15 includes a belt cleaner 14 that removes the sludge S carried by the belt conveyor 12 e from the belt conveyor 12 e and drops it to the collection container 15. Thus, the sludge S can be more reliably collected by dropping the sludge S from the belt conveyor 12e to the collection container 15 using the belt cleaner 14. That is, it is possible to prevent the sludge S from returning to the coolant CL while adhering to the belt conveyor 12e and diffusing into the coolant CL.

バッテリーBは、モータ11aと、モータ12aとを駆動させるバッテリーである。モータ11aは、クーラントタンク清掃装置1を任意の方向へ移動させる搬送機構11を動作させる装置である。モータ12aは、スラッジを回収する回収装置12を動作させる装置である。   The battery B is a battery that drives the motor 11a and the motor 12a. The motor 11a is a device that operates a transport mechanism 11 that moves the coolant tank cleaning device 1 in an arbitrary direction. The motor 12a is a device that operates a collecting device 12 that collects sludge.

図1及び図2に示すように、バッテリーBの上面には、スラッジSを回収する回収装置12のモータ12aが載置されている。回収装置12(12a〜12f)の詳細は、後述する。クーラントタンク清掃装置1にバッテリーBを搭載することにより、外部から電力を供給するための動力線を設ける必要がない。そのため、クーラントタンク清掃装置1は、クーラントタンク内における動作を制限されることなく、クーラントタンク内を任意の方向に、自由に移動することが可能である。さらに、クーラントタンク清掃装置1が動力線を有さないことにより、クーラントタンクの開口部から離れた場所であっても清掃することが可能である。
また、バッテリーBと併設する制御部(不図示)を設けることにより、クーラントタンク清掃装置1を遠隔操作することができる。
As shown in FIGS. 1 and 2, the motor 12 a of the collecting device 12 that collects the sludge S is placed on the upper surface of the battery B. Details of the collection device 12 (12a to 12f) will be described later. By mounting the battery B on the coolant tank cleaning device 1, it is not necessary to provide a power line for supplying electric power from the outside. Therefore, the coolant tank cleaning device 1 can freely move in the coolant tank in any direction without being restricted in the operation in the coolant tank. Furthermore, since the coolant tank cleaning apparatus 1 does not have a power line, it is possible to clean even a place away from the opening of the coolant tank.
Moreover, the coolant tank cleaning apparatus 1 can be remotely operated by providing a control unit (not shown) provided with the battery B.

図1〜図3に示すように、カバーC1はクーラントタンク清掃装置本体MB1を被装している。図2に示すように、カバーC1は下面が開口した箱状の形状を有している。本実施の形態において、図2〜5に示すように、カバーC1はフレームF(図1では不図示)に固定されている。ただし、カバーC1をクーラントタンク清掃装置本体MB1に固定できればよく、カバーC1の固定方法がフレームFに固定する方法に限定されるものではない。図2に示すように、フレームFは、平面矩形状の板状部材である。フレームFは、底板10の長手方向の両側の側面と、スラッジの回収容器15の側面とに沿うように配設されている。   As shown in FIGS. 1 to 3, the cover C1 covers the coolant tank cleaning device main body MB1. As shown in FIG. 2, the cover C <b> 1 has a box shape with an open bottom surface. In the present embodiment, as shown in FIGS. 2 to 5, the cover C1 is fixed to a frame F (not shown in FIG. 1). However, it is only necessary that the cover C1 can be fixed to the coolant tank cleaning device main body MB1, and the fixing method of the cover C1 is not limited to the method of fixing to the frame F. As shown in FIG. 2, the frame F is a planar rectangular plate-like member. The frame F is disposed along the side surfaces on both sides in the longitudinal direction of the bottom plate 10 and the side surface of the sludge collection container 15.

カバーC1の内部は、空気が充填された空間である、空隙部AS1を有する。すなわち、カバーC1を設けることにより、本実施の形態のようにクーラントタンク清掃装置本体MB1がクーラントCLの中(水中)へ沈んでいる場合であっても、カバーC1の内部は空気が充填された空間である、空隙部AS1を有する。本実施の形態では、クーラントタンク清掃装置本体MB1の全体がカバーC1によって覆われているが、必ずしもクーラントタンク清掃装置本体MB1の全体が覆われている必要はなく、少なくとも回収装置12の上部と、回収容器15の上面の開口部とが覆われていればよい(実施の形態2及び図6参照)。   The interior of the cover C1 has a gap AS1 that is a space filled with air. That is, by providing the cover C1, the inside of the cover C1 is filled with air even when the coolant tank cleaning device main body MB1 is submerged in the coolant CL (underwater) as in the present embodiment. It has space part AS1 which is space. In the present embodiment, the entire coolant tank cleaning device main body MB1 is covered by the cover C1, but the entire coolant tank cleaning device main body MB1 is not necessarily covered, and at least the upper part of the recovery device 12, It is only necessary to cover the opening on the upper surface of the collection container 15 (see the second embodiment and FIG. 6).

また、カバーC1の形状は、箱状の形状に限定されるものではない。回収装置12の上部と、回収容器15の上面の開口部とが覆われるような形状であればよく、例えば、半球状、円錐状、角錐状の形状などが含まれる。   Further, the shape of the cover C1 is not limited to the box shape. Any shape that covers the upper part of the recovery device 12 and the opening on the upper surface of the recovery container 15 may be used, and examples thereof include a hemispherical shape, a conical shape, and a pyramidal shape.

以下、搬送機構11と回収装置12との構成について、詳細に説明する。   Hereinafter, the configuration of the transport mechanism 11 and the collection device 12 will be described in detail.

(搬送機構11の構成)
まず、搬送機構11の構成について説明する。搬送機構11は、クーラントタンク清掃装置1が、クーラントタンク内を前後左右の任意の方向への移動を可能にする。搬送機構11は、例えば、クローラや車輪などである。本実施の形態では、クローラを用いている。
図1に示すように、搬送機構11は、モータ11aと、起動輪11bと、クローラベルト11cと、遊動輪11dと、を備える。
(Configuration of the transport mechanism 11)
First, the configuration of the transport mechanism 11 will be described. The transport mechanism 11 allows the coolant tank cleaning device 1 to move in the coolant tank in any direction, front, back, left, and right. The transport mechanism 11 is, for example, a crawler or a wheel. In this embodiment, a crawler is used.
As shown in FIG. 1, the transport mechanism 11 includes a motor 11a, an activation wheel 11b, a crawler belt 11c, and an idler wheel 11d.

図1及び図2に示すように、起動輪11bはモータ11aの回転をクローラベルト11cへと伝える歯車である。起動輪11bと対となるように、クーラントタンク清掃装置1の進行方向に対して前方(x軸正方向側)に遊動輪11dが配設されている。クローラベルト11cが回転することにより、前後左右の任意の方向へ移動することができる。クローラベルト11cは、例えば、ゴム製や、金属製のものを含む。   As shown in FIGS. 1 and 2, the starting wheel 11b is a gear that transmits the rotation of the motor 11a to the crawler belt 11c. An idler wheel 11d is disposed forward (x-axis positive direction side) with respect to the traveling direction of the coolant tank cleaning device 1 so as to be paired with the starter wheel 11b. By rotating the crawler belt 11c, the crawler belt 11c can move in any direction, front, back, left, and right. The crawler belt 11c includes, for example, rubber or metal.

図5に示すように、搬送機構11にクローラを用いると、搬送機構11とクーラントタンクの底面との接触面積が広くなる。クーラントCL中(水中)を移動する際にクーラントCL(水)の抵抗が生じることがある。搬送機構11にクローラを用いることにより、クローラベルト11cとクーラントタンクの底面との接触面積が広くなることから、クーラントCL(水)の抵抗が生じた場合であっても、クーラントタンク清掃装置1の安定性をより高めることができる。なお、本実施の形態では搬送機構11をクローラとしたが、タイヤなどの車輪を用いることも可能である。   As shown in FIG. 5, when a crawler is used for the transport mechanism 11, the contact area between the transport mechanism 11 and the bottom surface of the coolant tank is increased. When moving in the coolant CL (underwater), resistance of the coolant CL (water) may occur. By using a crawler for the transport mechanism 11, the contact area between the crawler belt 11 c and the bottom surface of the coolant tank is widened. Therefore, even when the resistance of the coolant CL (water) occurs, the coolant tank cleaning device 1 Stability can be further increased. In the present embodiment, the transport mechanism 11 is a crawler, but wheels such as tires may be used.

(回収装置12の構成)
次に、回収装置12の構成について説明する。回収装置12は、クーラントタンクの底に溜まったスラッジSをスクレーパー13によってすくい上げ、ベルトコンベア12eに載置し、ベルトコンベア12eによって回収容器15へと運ぶことによってスラッジSを回収する装置である。
図1及び図2に示すように、回収装置12は、モータ12aと、ドライブプーリ12bと、平ベルト12cと、スナブプーリ12dと、ベルトコンベア12eと、テールプーリ12fと、を備える。
(Configuration of the collection device 12)
Next, the configuration of the collection device 12 will be described. The recovery device 12 is a device that recovers the sludge S by scooping up the sludge S collected at the bottom of the coolant tank by the scraper 13, placing it on the belt conveyor 12e, and carrying it to the recovery container 15 by the belt conveyor 12e.
As shown in FIGS. 1 and 2, the collection device 12 includes a motor 12a, a drive pulley 12b, a flat belt 12c, a snubb pulley 12d, a belt conveyor 12e, and a tail pulley 12f.

図1及び図2に示すように、モータ12aの回転が、ドライブプーリ12bへ伝わる。本実施の形態におけるベルトコンベアの駆動方式として、平ベルト方式を用いている。ドライブプーリ12bは、平ベルト12cとベルトコンベア12eとを、モータ12aからの回転を伝えることによって駆動させるプーリである。平ベルト12cは、ドライブプーリ12bとスナブプーリ12dとを連絡し、ドライブプーリ12bからの回転をスナブプーリ12dへと伝えるベルトである。スナブプーリ12dは、プーリに対するベルトの巻き付け角度を調整するものである。スナブプーリ12dにより角度が調整されたベルトコンベア12eは、回収容器15の外縁部(x軸正方向の端部かつz軸正方向の端部)からクーラントタンクの底へと向かって斜設されている。   As shown in FIGS. 1 and 2, the rotation of the motor 12a is transmitted to the drive pulley 12b. A flat belt system is used as the driving system of the belt conveyor in the present embodiment. The drive pulley 12b is a pulley that drives the flat belt 12c and the belt conveyor 12e by transmitting rotation from the motor 12a. The flat belt 12c is a belt that connects the drive pulley 12b and the snubber pulley 12d and transmits the rotation from the drive pulley 12b to the snubber pulley 12d. The snubb pulley 12d adjusts the winding angle of the belt around the pulley. The belt conveyor 12e, the angle of which is adjusted by the snubber pulley 12d, is provided obliquely from the outer edge (the end in the x-axis positive direction and the end in the z-axis positive direction) of the collection container 15 toward the bottom of the coolant tank. .

図1及び図2に示すように、ベルトコンベア12eの回転方向は、ベルトコンベア12eの表となる面(z軸正向きの上面)が、斜面の下側から上側へと向かう方向である(図1及び図2における白抜き矢印方向)。クーラントタンク清掃装置1によって回収するスラッジSは汚泥であり、水分を含んでいる。つまり、ベルトコンベア12eが斜設される角度θが大きくなると、ベルトコンベア12eからスラッジSがずり落ちてしまい、回収が困難となる。したがって、図1に示すように、ベルトコンベア12eを斜設する際の角度θは、スラッジSがベルトコンベア12eに載置された際にずり落ちてしまわない程度の角度とする。その角度は、より小さい方が好ましい。また、角度θを小さくすることにより、後述するカバーC1の高さ(z軸方向の高さ)を小さくすることができるため、クーラントタンク清掃装置1をより小型化することができる。   As shown in FIGS. 1 and 2, the rotation direction of the belt conveyor 12e is a direction in which the surface (upper surface in the z-axis direction) of the belt conveyor 12e is directed from the lower side of the slope to the upper side (see FIG. 1). 1 and white arrow direction in FIG. 2). The sludge S collected by the coolant tank cleaning device 1 is sludge and contains moisture. That is, if the angle θ at which the belt conveyor 12e is obliquely increased, the sludge S slides down from the belt conveyor 12e, making recovery difficult. Accordingly, as shown in FIG. 1, the angle θ when the belt conveyor 12e is obliquely set is set to an angle that does not cause the sludge S to slide down when placed on the belt conveyor 12e. The angle is preferably smaller. Moreover, since the height (z-axis direction height) of a cover C1 to be described later can be reduced by reducing the angle θ, the coolant tank cleaning device 1 can be further downsized.

テールプーリ12fは、ベルトコンベア12eの尾部に位置するプーリである。テールプーリ12fにスクレーパー13が連設されている。スクレーパー13は、先端がクーラントタンクの底面と接するように配設されている。スクレーパー13は、例えば、ステンレスなどの金属製のスクレーパー、樹脂製のスクレーパー、セラミックのスクレーパーなどを含む。樹脂製のスクレーパーなど、柔軟性を有する素材のスクレーパーをスクレーパー13として用いた場合は、クーラントタンクの底が平面では無く湾曲する面であったとしても、スラッジSをすくい取ることができる。   The tail pulley 12f is a pulley located at the tail portion of the belt conveyor 12e. A scraper 13 is connected to the tail pulley 12f. The scraper 13 is disposed so that the tip thereof is in contact with the bottom surface of the coolant tank. The scraper 13 includes, for example, a metal scraper such as stainless steel, a resin scraper, a ceramic scraper, and the like. When a scraper made of a material having flexibility, such as a resin scraper, is used as the scraper 13, even if the bottom of the coolant tank is not a flat surface but a curved surface, the sludge S can be scraped off.

本実施の形態において、ベルトコンベアの駆動方法の一例として、平ベルト駆動方式を示しているが、これに限定されない。具体的には、ベルトコンベアの駆動方法として、丸ベルト駆動方式、チェーン駆動方式、隣接ローラ駆動方式、フリーローラ方式、非接触式駆動方式などが含まれる。   In the present embodiment, a flat belt driving method is shown as an example of a driving method of the belt conveyor, but the present invention is not limited to this. Specifically, the belt conveyor driving method includes a round belt driving method, a chain driving method, an adjacent roller driving method, a free roller method, a non-contact driving method, and the like.

以下、図1及び図2を用い、実施の形態1にかかるクーラントタンク清掃装置1が、クーラントタンクの底に溜まったスラッジを回収する一連の流れを説明する。   Hereinafter, a series of flows in which the coolant tank cleaning apparatus 1 according to the first embodiment collects sludge collected on the bottom of the coolant tank will be described with reference to FIGS. 1 and 2.

図1及び図2は、クーラントタンク清掃装置1をクーラントタンク内のクーラントCL(水中)にその上面部近傍を除き、沈めた状態を示す。図1において、二点鎖線はクーラントCLの水面を示す。本実施の形態において、クーラントタンク清掃装置1はクーラントタンクの外部に設置するのではなく、クーラントCLの中(水中)に沈めるため、クーラントCLの清掃を、クーラントタンクの蓋(不図示)を閉めた状態で行うことができる。   1 and 2 show a state where the coolant tank cleaning device 1 is submerged in the coolant CL (underwater) in the coolant tank except for the vicinity of the upper surface portion thereof. In FIG. 1, the two-dot chain line indicates the water surface of the coolant CL. In the present embodiment, the coolant tank cleaning device 1 is not installed outside the coolant tank, but is submerged in the coolant CL (in water). Therefore, the coolant CL is cleaned by closing the coolant tank lid (not shown). It can be done in the state.

まず、図1及び図2に示すように、スクレーパー13が、クーラントタンクの底に溜まったスラッジSをすくい上げる。すくい上げられたスラッジSは、回収装置12であるベルトコンベア12eの上面に載置される。ベルトコンベア12eに載置されたスラッジSは、ベルトコンベア12eの斜面の下側から上側へと運ばれる(図1、2における白抜き矢印方向)。   First, as shown in FIG.1 and FIG.2, the scraper 13 scoops up the sludge S collected on the bottom of the coolant tank. The scooped up sludge S is placed on the upper surface of the belt conveyor 12e, which is the collection device 12. The sludge S placed on the belt conveyor 12e is carried from the lower side to the upper side of the inclined surface of the belt conveyor 12e (in the direction of the white arrow in FIGS. 1 and 2).

図1及び図2に示すように、スラッジSがベルトコンベア12eによって運ばれる途中、スラッジSはカバーC1の内部の空間に入る。カバーC1の内部は、空気が充填された空間、つまり空隙部AS1である。スラッジSがカバーC1内の空隙部AS1へ入ると、液体であるクーラントCLは、重力に従ってベルトコンベア12eの下側へ向かい流れ落ちる。そのため、カバーC1内の空隙部AS1において、クーラントCLを取り除き、固形物であるスラッジSを取り出すことができる。   As shown in FIGS. 1 and 2, while the sludge S is being conveyed by the belt conveyor 12e, the sludge S enters the space inside the cover C1. The inside of the cover C1 is a space filled with air, that is, the gap AS1. When the sludge S enters the gap AS1 in the cover C1, the coolant CL, which is a liquid, flows down toward the lower side of the belt conveyor 12e according to gravity. Therefore, in the gap AS1 in the cover C1, the coolant CL can be removed and the sludge S that is a solid matter can be taken out.

このとき、カバーC1の底面とクーラントタンクの底面との距離が短いほど、クーラントCLの浮力の影響を受けにくい。すなわち、汚泥であるスラッジSがベルトコンベア12e上においてクーラントCLへ再び拡散してしまうことを防ぐことができる。さらに、クーラントタンク清掃装置1の移動に伴い、クーラントタンク内にはクーラントCLの流れが生じる場合があるが、そのようなクーラントCLの流れが生じた場合であっても、空隙部AS1は、クーラントCLの流れの影響を受けない。したがって、カバーC1の底部とクーラントタンクの底面との距離が短いほど、より確実にクーラントCLとスラッジSとを分離し、スラッジSを回収することができる。   At this time, the shorter the distance between the bottom surface of the cover C1 and the bottom surface of the coolant tank, the less affected by the buoyancy of the coolant CL. That is, it is possible to prevent the sludge S, which is sludge, from diffusing again into the coolant CL on the belt conveyor 12e. Furthermore, with the movement of the coolant tank cleaning device 1, the coolant CL may flow in the coolant tank. Even when such coolant CL flows, the gap AS1 is Not affected by CL flow. Therefore, as the distance between the bottom of the cover C1 and the bottom surface of the coolant tank is shorter, the coolant CL and the sludge S can be more reliably separated and the sludge S can be recovered.

このように、カバーC1の内部に、空気が充填された空間である空隙部AS1を有することにより、クーラントタンク清掃装置1をクーラントCL中(水中)に沈めた場合においても、クーラントCL(液体)とスラッジS(固体)とを分離することができる。なお、本実施の形態はクーラントCLの量が多く、クーラントタンク清掃装置1をクーラントCLに沈めた状態であるが、クーラントCLの量が少ない場合であっても、上記の構成により、クーラントCL(液体)とスラッジS(固体)との分離を行うことができる。   Thus, even when the coolant tank cleaning device 1 is submerged in the coolant CL (underwater) by having the gap AS1 that is a space filled with air inside the cover C1, the coolant CL (liquid). And sludge S (solid) can be separated. In the present embodiment, the amount of the coolant CL is large and the coolant tank cleaning device 1 is submerged in the coolant CL. However, even if the amount of the coolant CL is small, the above configuration allows the coolant CL ( Liquid) and sludge S (solid) can be separated.

クーラントCLの量が極端に少ない場合は、カバーC1を装着せずにクーラントCLの清掃を行うこともできる。具体的には、回収容器15の上面の開口部より少ない量のクーラントCLの場合は、カバーC1を装着せずクーラントCLとスラッジSとを分離することができる。   When the amount of the coolant CL is extremely small, the coolant CL can be cleaned without attaching the cover C1. Specifically, when the amount of the coolant CL is smaller than the opening on the upper surface of the recovery container 15, the coolant CL and the sludge S can be separated without attaching the cover C1.

また、クーラントタンク清掃装置1の搬送機構11が任意の方向へ進む速度と、ベルトコンベア12eの回転速度とを同期させることにより、クーラントタンク清掃装置1を任意の方向に動かしつつ、スラッジSを回収することができる。なお、当該速度はスラッジが回収しやすい速度に適宜設定することができるものとする。   Further, by synchronizing the speed at which the transport mechanism 11 of the coolant tank cleaning device 1 advances in an arbitrary direction and the rotation speed of the belt conveyor 12e, the sludge S is recovered while moving the coolant tank cleaning device 1 in an arbitrary direction. can do. In addition, the said speed shall be suitably set to the speed which sludge collect | recovers easily.

図1及び図2に示すように、ベルトコンベア12eの折り返し地点であるスナブプーリ12dの位置まで運ばれたスラッジSは、ベルトクリーナ14によって取り除かれ、回収容器15内へ落下する。回収容器15内にある一定量のスラッジSが溜まったら、クーラントタンク清掃装置1をクーラントタンクから回収する。
以上が、実施の形態1にかかるクーラントタンク清掃装置1が、クーラントタンクの底に溜まったスラッジを回収する一連の流れである。
As shown in FIGS. 1 and 2, the sludge S carried to the position of the snubbing pulley 12 d that is the turning point of the belt conveyor 12 e is removed by the belt cleaner 14 and falls into the collection container 15. When a certain amount of sludge S is collected in the recovery container 15, the coolant tank cleaning device 1 is recovered from the coolant tank.
The above is a series of flows in which the coolant tank cleaning device 1 according to the first embodiment collects sludge accumulated at the bottom of the coolant tank.

本願の発明者は、クーラントタンクを清掃する際に、クーラントタンク内においてクーラントとスラッジとを分離させる手法について検討した。従来のクーラントタンク清掃装置は、クーラントタンクの循環経路、すなわちクーラントタンクの外部に設置されている。つまり、クーラントとスラッジとを分離させるためには、スラッジを含んだクーラントを吸い出すなどして、クーラントタンクの外部へ持ち出す必要がある。クーラントタンクからクーラントを持ち出す際、または浄化したクーラントをクーラントタンクへ戻す際に、クーラントタンク内に沈んでいたスラッジが舞い上がってしまい、クーラントタンク内にスラッジが残留してしまうという問題が生じることが判明した。   The inventor of the present application studied a technique for separating the coolant and the sludge in the coolant tank when cleaning the coolant tank. The conventional coolant tank cleaning device is installed in the circulation path of the coolant tank, that is, outside the coolant tank. That is, in order to separate the coolant and the sludge, it is necessary to suck out the coolant containing the sludge and take it out of the coolant tank. When taking out the coolant from the coolant tank or returning the purified coolant to the coolant tank, it turns out that the sludge that has submerged in the coolant tank rises and the sludge remains in the coolant tank did.

そこで本実施の形態では、クーラントタンク清掃装置1に、クーラントタンク清掃装置を任意の方向へ移動させる搬送機構と、スラッジを回収する回収装置と、を備え、クーラントタンク内の少なくとも一部に空気が充填された空間を形成する空隙部AS1を有し、空隙部AS1には回収された前記スラッジを溜める回収容器が設置され、スラッジの回収時において、回収装置から回収容器に前記スラッジを搬送する。このような構成により、クーラントタンク清掃装置1がクーラントタンク内においてクーラントCLとスラッジとを分離することができ、クーラントタンク内におけるスラッジの残留を抑制することができる。   Therefore, in the present embodiment, the coolant tank cleaning device 1 is provided with a transport mechanism that moves the coolant tank cleaning device in an arbitrary direction and a recovery device that recovers sludge, and air is at least partially in the coolant tank. There is a gap AS1 that forms a filled space, and a collection container for collecting the collected sludge is installed in the gap AS1, and the sludge is transported from the collection device to the collection container when collecting the sludge. With such a configuration, the coolant tank cleaning device 1 can separate the coolant CL and the sludge in the coolant tank, and the residual sludge in the coolant tank can be suppressed.

<実施の形態2>
次に、実施の形態2にかかるクーラントタンク清掃装置2について説明する。図6は、実施の形態2にかかるクーラントタンク清掃装置2の側面図である。なお、図1〜図5と同一の構成要素には同一の符号を付し、その説明は省略する。
<Embodiment 2>
Next, the coolant tank cleaning apparatus 2 concerning Embodiment 2 is demonstrated. FIG. 6 is a side view of the coolant tank cleaning device 2 according to the second embodiment. In addition, the same code | symbol is attached | subjected to the same component as FIGS. 1-5, and the description is abbreviate | omitted.

図6に示すように、カバーC2の形状は下面が開口した箱状の形状を有するが、これに限定されない。具体的には、カバーC2の形状として、例えば、半球状、円錐状、角錐状の形状なども含む。カバーC2は、回収装置12の上部と、回収容器15の開口部とを覆っている。カバーC2の内部は、実施の形態1におけるカバーC1と同様、空気が充填された空間、つまり空隙部AS2である。スラッジSがベルトコンベア12eによって運ばれ、カバーC2の内部の空隙部AS2へ入ると、液体であるクーラントCLは、重力に従ってベルトコンベア12eの下側へ向かい流れ落ちる。そのため、カバーC2内の空隙部AS2において、液体であるクーラントCLと固形物であるスラッジSとを分離させ、スラッジSを回収することができる。実施の形態1のカバーC1のサイズと比較すると、カバーC2のサイズは小型であるため、クーラントタンク清掃装置2全体の小型化が可能である。
カバーC2以外の構成は、実施の形態1と同様である。
As shown in FIG. 6, the shape of the cover C2 has a box shape with an open bottom surface, but is not limited thereto. Specifically, the shape of the cover C2 includes, for example, a hemispherical shape, a conical shape, and a pyramid shape. The cover C <b> 2 covers the upper part of the collection device 12 and the opening of the collection container 15. The inside of the cover C2 is a space filled with air, that is, the gap portion AS2, like the cover C1 in the first embodiment. When the sludge S is carried by the belt conveyor 12e and enters the gap AS2 inside the cover C2, the coolant CL, which is a liquid, flows down toward the lower side of the belt conveyor 12e according to gravity. Therefore, in the gap portion AS2 in the cover C2, the liquid coolant CL and the solid sludge S can be separated, and the sludge S can be recovered. Compared with the size of the cover C1 of the first embodiment, the size of the cover C2 is small, so that the coolant tank cleaning device 2 as a whole can be downsized.
The configuration other than the cover C2 is the same as that of the first embodiment.

<実施の形態3>
次に、実施の形態3にかかるクーラントタンク清掃装置3について説明する。図7は、実施の形態3にかかるカメラを備えたクーラントタンク清掃装置の側面図である。なお、図1〜図5と同一の構成要素には同一の符号を付し、その説明は省略する。
<Embodiment 3>
Next, the coolant tank cleaning device 3 according to the third embodiment will be described. FIG. 7 is a side view of the coolant tank cleaning apparatus including the camera according to the third embodiment. In addition, the same code | symbol is attached | subjected to the same component as FIGS. 1-5, and the description is abbreviate | omitted.

図7に示すように、カバーC1にカメラCamを設置する。図7では、カメラCamの設置位置の例として、クーラントタンク清掃装置3の進行方向に対し、カバーC1の前方の上面(x軸正側の端部)としたが、これに限定されない。具体的には、例えば、カバーC1の上面の中央部に、カバーC1に対して鉛直方向に回転軸を設け、その回転軸にカメラCamを取り付けてもよい。その場合、回転軸は回転し、任意の方向にカメラCamの方向を向けることができるものとする。
カメラCam以外の構成は、実施の形態1と同様である。
As shown in FIG. 7, the camera Cam is installed on the cover C1. In FIG. 7, as an example of the installation position of the camera Cam, the upper surface (the end on the x-axis positive side) in front of the cover C1 with respect to the traveling direction of the coolant tank cleaning device 3 is used, but the present invention is not limited thereto. Specifically, for example, a rotation axis may be provided in the center of the upper surface of the cover C1 in the vertical direction with respect to the cover C1, and the camera Cam may be attached to the rotation axis. In this case, it is assumed that the rotation axis rotates and can direct the direction of the camera Cam in an arbitrary direction.
The configuration other than the camera Cam is the same as that of the first embodiment.

<実施の形態4>
次に、実施の形態4にかかるクーラントタンク清掃装置4について説明する。図8は、実施の形態4にかかるAIを搭載したクーラントタンク清掃装置の側面図である。なお、図1〜図5と同一の構成要素には同一の符号を付し、その説明は省略する。
<Embodiment 4>
Next, the coolant tank cleaning device 4 according to the fourth embodiment will be described. FIG. 8 is a side view of the coolant tank cleaning device on which the AI according to the fourth embodiment is mounted. In addition, the same code | symbol is attached | subjected to the same component as FIGS. 1-5, and the description is abbreviate | omitted.

図8に示すように、実施の形態1における制御部の代わりに、バッテリーBと併設して人工知能(Artificial Intelligence, AI)を搭載する。AIは、スラッジSを認識すると、スラッジSを自動的に回収するような設定とする。
AI以外の構成は、実施の形態1と同様である。
As shown in FIG. 8, instead of the control unit in the first embodiment, artificial intelligence (AI) is mounted in combination with the battery B. When the AI recognizes the sludge S, the AI is set to automatically collect the sludge S.
The configuration other than the AI is the same as that of the first embodiment.

<実施の形態5>
次に、実施の形態5にかかるクーラントタンク清掃装置5について説明する。図9は、実施の形態5にかかる動力線を備えるクーラントタンク清掃装置の側面図である。なお、図1〜図5と同一の構成要素には同一の符号を付し、その説明は省略する。
<Embodiment 5>
Next, the coolant tank cleaning device 5 according to the fifth embodiment will be described. FIG. 9 is a side view of a coolant tank cleaning device including a power line according to the fifth embodiment. In addition, the same code | symbol is attached | subjected to the same component as FIGS. 1-5, and the description is abbreviate | omitted.

図9に示すように、実施の形態1におけるバッテリーBへ電力を供給する、有線の動力線CCを有する。本実施の形態では、クーラントタンク清掃装置5をクーラントCL内に沈めておき、定期的にクーラントタンク内の清掃を行う。クーラントタンク清掃装置5に対して有線の動力線CCを設けることにより、バッテリーBへ常に電力が供給されることになり、バッテリー切れが生じない。つまり、回収容器15内の容量一杯までスラッジSを溜めてから、スラッジSの回収を行うことができ、回収効率を上げることが可能である。
有線充電のための動力線CC以外の構成は、実施の形態1と同様である。
As shown in FIG. 9, it has a wired power line CC that supplies electric power to the battery B in the first embodiment. In the present embodiment, the coolant tank cleaning device 5 is submerged in the coolant CL, and the coolant tank is periodically cleaned. By providing a wired power line CC to the coolant tank cleaning device 5, power is always supplied to the battery B, and the battery does not run out. That is, the sludge S can be collected after the sludge S is accumulated to the full capacity in the collection container 15, and the collection efficiency can be increased.
The configuration other than the power line CC for wired charging is the same as that of the first embodiment.

<実施の形態6>
次に、実施の形態6にかかるクーラントタンク清掃装置6について説明する。図10は、実施の形態6にかかる非接触充電を行うクーラントタンク清掃装置の側面図である。なお、図1〜図5と同一の構成要素には同一の符号を付し、その説明は省略する。
<Embodiment 6>
Next, the coolant tank cleaning apparatus 6 concerning Embodiment 6 is demonstrated. FIG. 10 is a side view of a coolant tank cleaning device that performs non-contact charging according to the sixth embodiment. In addition, the same code | symbol is attached | subjected to the same component as FIGS. 1-5, and the description is abbreviate | omitted.

図10に示すように、実施の形態1におけるバッテリーBに対して、非接触給電により電力を供給する非接触充電器WCを有する。非接触充電器WCは、モータ11aと隣接するように配設し、クーラントタンクの内壁に設けられた非接触充電器WCと対を成すものとする。クーラントタンク清掃装置6に対して非接触充電器WCを設けることにより、バッテリーBに対して適宜電力が供給されることになり、バッテリー切れが生じない。さらに、非接触充電とすることにより、動力線が不要であるため、クーラントタンクの内部を任意の方向へ自由に移動することが可能である。
非接触充電器WC以外の構成は、実施の形態1と同様である。
As shown in FIG. 10, the battery B according to the first embodiment includes a non-contact charger WC that supplies power by non-contact power feeding. The non-contact charger WC is disposed so as to be adjacent to the motor 11a, and forms a pair with the non-contact charger WC provided on the inner wall of the coolant tank. By providing the non-contact charger WC with respect to the coolant tank cleaning device 6, electric power is appropriately supplied to the battery B, and the battery does not run out. Furthermore, since non-contact charging eliminates the need for power lines, the inside of the coolant tank can be freely moved in any direction.
The configuration other than the non-contact charger WC is the same as that of the first embodiment.

なお、本発明は上記実施の形態に限られたものではなく、趣旨を逸脱しない範囲で適宜変更することが可能である。   Note that the present invention is not limited to the above-described embodiment, and can be changed as appropriate without departing from the spirit of the present invention.

1、2、3、4、5、6 クーラントタンク清掃装置
10 底板
11 搬送機構
11a、12a モータ
11b 起動輪
11c クローラベルト
11d 遊動輪
12 回収装置
12b ドライブプーリ
12c 平ベルト
12d スナブプーリ
12e ベルトコンベア
12f テールプーリ
13 スクレーパー
14 ベルトクリーナ
15 回収容器
AS1、AS2 空隙部
B バッテリー
C1、C2 カバー
Cam カメラ
CC 動力線
CL クーラント
MB1、MB4、MB5、MB6 クーラントタンク清掃装置本体
S スラッジ
WC 非接触充電器
1, 2, 3, 4, 5, 6 Coolant tank cleaning device 10 Bottom plate 11 Transport mechanism 11a, 12a Motor 11b Starting wheel 11c Crawler belt 11d Idle wheel 12 Recovery device 12b Drive pulley 12c Flat belt 12d Snub pulley 12e Belt conveyor 12f Tail pulley 13 Scraper 14 Belt cleaner 15 Recovery container AS1, AS2 Cavity B Battery C1, C2 Cover Cam Camera CC Power line CL Coolant MB1, MB4, MB5, MB6 Coolant tank cleaning device body S Sludge WC Non-contact charger

Claims (1)

クーラントタンク内のスラッジを清掃するクーラントタンク清掃装置であって、
前記クーラントタンク清掃装置を任意の方向へ移動させる搬送機構と、
前記スラッジを回収する回収装置と、を備え、
前記クーラントタンク内の少なくとも一部に空気が充填された空間を形成する空隙部を有し、
前記空隙部には回収された前記スラッジを溜める回収容器が設置され、
前記スラッジの回収時において、
前記回収装置から前記回収容器に前記スラッジを搬送する、
クーラントタンク清掃装置。
A coolant tank cleaning device for cleaning sludge in a coolant tank,
A transport mechanism for moving the coolant tank cleaning device in an arbitrary direction;
A recovery device for recovering the sludge,
Having a gap that forms a space filled with air in at least a portion of the coolant tank;
A collection container for collecting the collected sludge is installed in the gap,
When collecting the sludge,
Transporting the sludge from the recovery device to the recovery container;
Coolant tank cleaning device.
JP2017136799A 2017-07-13 2017-07-13 Coolant tank cleaning device Pending JP2019018264A (en)

Priority Applications (1)

Application Number Priority Date Filing Date Title
JP2017136799A JP2019018264A (en) 2017-07-13 2017-07-13 Coolant tank cleaning device

Applications Claiming Priority (1)

Application Number Priority Date Filing Date Title
JP2017136799A JP2019018264A (en) 2017-07-13 2017-07-13 Coolant tank cleaning device

Publications (1)

Publication Number Publication Date
JP2019018264A true JP2019018264A (en) 2019-02-07

Family

ID=65354792

Family Applications (1)

Application Number Title Priority Date Filing Date
JP2017136799A Pending JP2019018264A (en) 2017-07-13 2017-07-13 Coolant tank cleaning device

Country Status (1)

Country Link
JP (1) JP2019018264A (en)

Cited By (2)

* Cited by examiner, † Cited by third party
Publication number Priority date Publication date Assignee Title
CN109664156A (en) * 2019-02-22 2019-04-23 浙江元畅不锈钢科技有限公司 A kind of stainless steel processing workshop is interior to cut fluid circulation
JP7645763B2 (en) 2021-10-08 2025-03-14 住友重機械ファインテック株式会社 Cleaning Equipment

Cited By (2)

* Cited by examiner, † Cited by third party
Publication number Priority date Publication date Assignee Title
CN109664156A (en) * 2019-02-22 2019-04-23 浙江元畅不锈钢科技有限公司 A kind of stainless steel processing workshop is interior to cut fluid circulation
JP7645763B2 (en) 2021-10-08 2025-03-14 住友重機械ファインテック株式会社 Cleaning Equipment

Similar Documents

Publication Publication Date Title
US20090184040A1 (en) Contaminated fluid recovery apparatus
JP4290221B2 (en) Coolant fluid purification device for machine tools
CN204711677U (en) The chip conveyer of lathe
JP2019018264A (en) Coolant tank cleaning device
KR20190061685A (en) Automated oil recovery Manned/unmanned vessel
JP2009220228A (en) Chip conveyor device
JP2021126731A (en) Coolant purifying device and purifying method
CN110280383B (en) Beach garbage classification device
JP5912524B2 (en) Oil separation system
JP2003255792A5 (en)
CN219292297U (en) Sediment cleaning robot in oil storage state of diesel tank
JP2014128844A (en) Filter device using flat-shaped filtration tank as filtration tank for dumping spent cutting oil
JP2015009280A (en) Chip processing equipment for machine tools
CN218779455U (en) Clear device and processing system that floats of ship lift
JP7356210B2 (en) Scum processing robot
JP4247876B2 (en) Conveyor drainer
CN109160158A (en) Garbage recycling vehicle and its domestic sewage treatment device
JP2005230943A (en) Coolant treating apparatus
CN113102106A (en) Automatic garbage cleaning boat
JP2008238286A (en) Chip conveyor
CN207404885U (en) A kind of air floatation machine with waste residue collection device
JP2008253959A (en) Electrode cleaning mechanism of electrolytic treatment tank
CN117065924B (en) Material dust recycling device
CN214286797U (en) Oil removal module and water-oil separation device composed of same
KR101704802B1 (en) Automatic Discharge Device for Food Waste Remainder and Food Waste Container Cleaning Vehicle Comprising the Same