JP2018174658A - 映像機器用端子盤 - Google Patents

映像機器用端子盤 Download PDF

Info

Publication number
JP2018174658A
JP2018174658A JP2017071534A JP2017071534A JP2018174658A JP 2018174658 A JP2018174658 A JP 2018174658A JP 2017071534 A JP2017071534 A JP 2017071534A JP 2017071534 A JP2017071534 A JP 2017071534A JP 2018174658 A JP2018174658 A JP 2018174658A
Authority
JP
Japan
Prior art keywords
terminal
video equipment
connector
terminal board
panel
Prior art date
Legal status (The legal status is an assumption and is not a legal conclusion. Google has not performed a legal analysis and makes no representation as to the accuracy of the status listed.)
Granted
Application number
JP2017071534A
Other languages
English (en)
Other versions
JP6830395B2 (ja
Inventor
徹 岩▲崎▼
Toru Iwasaki
徹 岩▲崎▼
卓 半澤
Suguru Hanzawa
卓 半澤
Current Assignee (The listed assignees may be inaccurate. Google has not performed a legal analysis and makes no representation or warranty as to the accuracy of the list.)
Kowa Co Ltd
Original Assignee
Kowa Co Ltd
Priority date (The priority date is an assumption and is not a legal conclusion. Google has not performed a legal analysis and makes no representation as to the accuracy of the date listed.)
Filing date
Publication date
Application filed by Kowa Co Ltd filed Critical Kowa Co Ltd
Priority to JP2017071534A priority Critical patent/JP6830395B2/ja
Publication of JP2018174658A publication Critical patent/JP2018174658A/ja
Application granted granted Critical
Publication of JP6830395B2 publication Critical patent/JP6830395B2/ja
Active legal-status Critical Current
Anticipated expiration legal-status Critical

Links

Images

Landscapes

  • Connection Or Junction Boxes (AREA)

Abstract

【課題】中継コネクタの縦設置と横設置の両方に対応することができる映像機器用端子盤を提供する。【解決手段】端子箱2に対して取り付け自在な映像機器用端子盤3は、端子本体7及び取り付けパネル6を有する。端子本体及び取り付けパネルは、端子本体が取り付けパネルに対して正対した状態で、90°ピッチで回転する度に、相互に取り付け自在に設けられている。端子本体には、1個以上の中継コネクタ9、10が装着されている。中継コネクタは、接続部が扁平な形状に形成されており、接続部の長手方向が、所定の1方向に向くように端子本体に装着されている。【選択図】図2

Description

本発明は、壁や机などに設けられ、パーソナルコンピュータ、DVDプレイヤその他の各種の映像機器からの信号をHDMIコネクタやD−サブミニチュア(D−sub)コネクタなどの中継コネクタが設けられた映像機器用端子盤を介して、室内、机上に配置されたディスプレイ等へ配信する際に使用される、映像機器用端子盤に関する。
映像信号ケーブル等の接続に用いられるHDMIコネクタやD−subコネクタ等の映像機器用の中継コネクタは、接続部の断面が、細長い形状、例えば長方形などの扁平な四角形状を有するものが多く用いられている。こうした中継コネクタは、最近では壁面や机上面に埋め込み設置された既設の端子箱に装着される形で用いられることも多い。
中継コネクタを端子箱に設置する場合には、それら中継コネクタを装着した端子盤を用いて、該端子盤を既設の端子箱にねじ止めなどにより固定設置することで行われる。中継コネクタが、その接続部を正面から見た際の形状が長方形などの扁平な形状を有する場合、例えば、図1(a)に示すように、HDMIコネクタ1が端子箱2に装着されている場合、扁平な長方形状に形成されているHDMIコネクタ1が、その長手方向を図中水平方向(図中矢印A,B方向)に設置した状態(以下、単に「横設置」と称する)とする形で装着されているか、図1(b)に示すように、HDMIコネクタ1が、その長手方向を図中垂直方向(矢印D、E方向)とする形で設置した状態(以下、単に「縦設置」と称する)で装着されているかのどちらかである。
これらの中継コネクタの装着態様は、端子盤によってどちらか一方に設定されており、一旦、使用する端子盤が決まると、コネクタの装着態様は、横設置か縦設置のどちらか一方に、一義的に決定されることとなる。従って、ユーザが中継コネクタの設置方向を、端子箱の設置環境に合わせて縦設置と横設置とで自由にその設置方向を選択するためには、2種類の端子盤を購入する必要が生じ、煩雑であるとともに、使用しない設置方向の端子盤が余るなど無駄が生じやすい不都合があった。
同様なことは、端子盤の製造、施工者にとっても言うことが出来、ユーザの中継コネクタの設置方向に合わせて2種類の端子盤を準備することは、製造及び施工に多くの手間が掛かることは論を待たない。
本発明は上記の事情を鑑みてなされたもので、単一の端子盤で、中継コネクタの縦設置と横設置の両方に対応することができ、設置後においても、その設置態様を変更することが可能な映像機器用端子盤を提供することを目的とする。
本発明の第1の観点は、端子箱(2)に対して(あるいは不図示の壁面や机上面に対して直接)取り付け自在な映像機器用端子盤(3)であって、前記映像機器用端子盤(3)は、端子本体(7)及び取り付けパネル(6)を有し、前記端子本体(7)及び取り付けパネル(6)は、前記端子本体(7)が取り付けパネル(6)に対して正対した状態で、90°ピッチで回転する度に、相互に取り付け自在に設けられており、前記端子本体(7)には、1個以上の中継コネクタ(9,10)が装着されており、前記中継コネクタ(9、10)は、接続部が扁平な形状に形成されており、前記中継コネクタ(9,10)は、前記接続部の長手方向が、所定の1方向(矢印A、B方向、矢印D、E方向)に向くように前記端子本体(7)に装着されている、ことを特徴とする。
本発明の第2の観点は、前記中継コネクタ(9、10)は、HDMIコネクタ又はD−subコネクタ又はUSBコネクタである、ことを特徴とする。
本発明の第3の観点は、前記取り付けパネル(6)には、前記中継コネクタ(9、10)の先端部が貫通するコネクタ取り付け穴(11b)が形成された化粧パネル(11)が着脱自在に設けられており、前記化粧パネル(11)の表面には、前記端子本体の前記取り付けパネルに対する取り付け態様に応じた文字表示(11c)が配置されている、ことを特徴とする。
本発明の第4の観点は、前記化粧パネル(11)は、前記中継コネクタ(9、10)の前記端子箱(2)に対する設置態様に応じて複数種類、前記取り付けパネル(6)に対して選択的に着脱自在に設けられている、ことを特徴とする。
本発明によれば、端子本体(7)を取り付けパネル(6)に対して90°刻みで回転させることで、中継コネクタ(9、10)の端子箱(2)に対する縦設置と横設置を任意に選択することが出来るので、ユーザの中継コネクタの設置方向に合わせて2種類の端子盤を準備する必要が無くなり、製造及び施工の手間を簡略化することが出来る。
また、ユーザにとっても、中継コネクタの設置方向を、端子箱の設置環境に合わせて縦設置と横設置とで自由にその設置方向を選択することが出来るために、2種類の端子盤を購入する必要が無くなり、使用しない設置方向の端子盤が余るなど無駄も生じることが無く、好都合である。また、端子盤の設置後においても、その設置態様を端子本体(7)を回転させるだけで簡単に変更することが可能であり、利便性に富むものである。
なお、括弧内の番号等は、図面における対応する要素を示す便宜的なものであり、従って、本記述は図面上の記載に限定拘束されるものではない。
図1は、本発明の1実施例による映像機器用端子盤を端子箱に装着した際の斜視図で有り、(a)は中継コネクタが横設置の場合で、(b)は中継コネクタが縦設置の場合である。 図2は、図1で示した端子盤の横設置(a)と縦設置(b)のそれぞれの分解斜視図である。 図3は、HDMIコネクタの接続部の図1におけるC矢視図である。 図4は、本発明による映像機器用端子盤の縦設置の例を示す正面図である。 図5は、本発明による映像機器用端子盤の横設置の例を示す正面図である。
以下、図面に基づき、本発明の実施例を説明する。
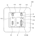
本発明による映像機器用端子盤3が装着される端子箱2は、図1及び2に示すように、全体が正方形の箱状に形成された本体5を有しており、本体5には、図2に示すように、箱状の端子盤収容空間5aが形成されている。本体5の開口部5bには、取り付けタブ5cが開口部5bの上下に2カ所ずつ設けられており、取り付けタブ5cには、本発明による映像機器用端子盤3が取り付けパネル6を介して、後述する端子本体7を端子盤収容空間5a内に陥入収容させた形で、取り付けパネル6に穿設された4個の取り付け穴6aを介してねじ等の固定手段を介して取り付け自在に装着されている。取り付け穴6aは、取り付けパネル6の図2上下に2カ所ずつ取り付けタブ5cと対応する形で設けられており、従って端子本体7は、取り付け穴6a及び取り付けタブ5cを介して図示しないねじなどにより端子箱2に取り付けられている。
取り付けパネル6は全体が四角い板状に形成されており、中央には、端子本体7の正方形の前面7bが陥入係合する正方形の装着穴6bが穿設されている。取り付けパネル6の装着穴6bの周囲のフレーム6cは全体が四角形枠状に形成されており、フレーム6cの4辺、即ち上下左右の辺には、それぞれ端子本体7取り付け用のねじ穴6dが、各辺について2カ所(個数は任意)ずつ穿設形成されている。
取り付けパネル6には、端子本体7が、端子本体7の周囲上下左右の辺に設けられた取り付け片7aを介してねじ穴6d及び図示しないねじなどにより着脱自在に取り付けられている。端子本体7の前面7bには、HDMIコネクタやD−subコネクタ等の映像機器用の複数種類の中継コネクタ9,10が装着されており、各中継コネクタ9,10の接続部は、図3に示すように、横幅Wが縦幅Hよりも大きな、扁平な略長方形に形成されている。各中継コネクタ9,10は、その接続部の長手方向、即ち横幅方向が、一致するように端子本体7に装着されている。即ち、図2(a)の端子本体7の場合は、中継コネクタ9,10はその横幅方向が、所定の1方向である水平方向、即ち図中矢印A、B方向となるように端子本体7に装着されており(即ち、横設置)、図2(b)の場合は、図2(a)の端子本体7を、90°反時計方向に回転させて、中継コネクタ9,10はその横幅方向が、前述の所定の1方向に直角な垂直方向、即ち図中矢印D、E方向となるように端子本体7に装着されている(即ち、縦設置)。
また、取り付けパネル6の、端子本体7が装着された側とは反対側には、化粧パネル11が同様に図2に示すように化粧パネル11の上下の位置に形成された取り付けタブ11a、11aを介してねじなどにより着脱自在に装着されており、当該化粧パネルは、端子本体7の取り付けパネル6への装着態様に応じて2種類の化粧パネル11A、11Bが、選択的に取り付けパネル6に装着されている。
化粧パネル11には、中継コネクタ9,10の外形形状に対応したコネクタ取り付け穴11bが複数穿設形成されており、各コネクタ取り付け穴11bは、それぞれ端子本体7に取り付けられた中継コネクタ9,10の先端の接続部が貫通するように形成されている。従って、端子本体7が図2(a)に示す横設置の場合には、コネクタ取り付け穴11bが、当該穴の長手方向が矢印A、B方向となるように穿設形成されており、端子本体7が図2(b)に示す縦設置の場合には、コネクタ取り付け穴11bが、当該穴の長手方向が矢印D、E方向となるように穿設形成されている。
横設置の端子本体7に対応した化粧パネル11Aは、図5に示すように、化粧パネル11Aの表面11dに記載された文字表示11cも、横設置の端子本体7に応じた形で配置されており、縦設置の端子本体7に対応した化粧パネル11Bは、図4に示すように、化粧パネル11Bの表面11dに記載された文字表示11cも、縦設置の端子本体7に応じた形で配置されている。即ち、化粧パネル11A、11Bは、その文字表示11cの表示態様が、中継コネクタ9、10の端子箱2に対する設置態様に応じて互いに異なる形で形成され、取り付けパネル6に対して選択的に脱着自在に設けられている。
化粧パネル11の、図2前面には、端子箱2を構成する枠体2aが取り付けパネル6に対して着脱自在に設けられている。枠体2aには、表示穴2bが形成されており、化粧パネル11の表面11dを表示穴2bを介して外部から容易に認識することが出来る。
端子箱2及び映像機器用端子盤3は以上のような構成を有するので、図示しない壁の壁面や机の机上面などに既に設置されている端子箱2に、本発明による映像機器用端子盤3を装着する場合には、まず、端子箱2の枠体2aを、図2に示すように取り外した状態で、本発明の映像機器用端子盤3を端子箱2の本体5の端子盤収容空間5a内に、端子本体7を収納する形で取り付ける。
それには、映像機器用端子盤3の設置態様、即ち、映像機器用端子盤3を端子箱2に対して縦設置で取り付けるのか、横設置で取り付けるのかを、顧客からの指示、設置仕様書などで確認し、指示された設置態様に従って、端子本体7を取り付けパネル6に取り付ける。
設置態様が、横設置(端子箱2の設置位置によって、「縦設置」と「横設置」の区別が曖昧となる場合があるが、本明細書では、便宜上、端子箱2の本体5の図2中、左右方向(矢印A、B方向)に中継コネクタ9,10の長手方向が向く場合を、「横設置」とし、端子箱2の本体5の図2中、上下方向(矢印D、E方向)に中継コネクタ9,10の長手方向が向く場合を、「縦設置」とする)の場合には、図2(a)に示すように、端子本体7を中継コネクタ9,10の長手方向を矢印A、B方向に向けた形で取り付けパネル6に4個の取り付けタブ7aを介して取り付ける。
この状態で、取り付けパネル6と端子本体7を、端子本体7を端子箱2の本体5の端子盤収容空間5a内に挿入する形で、取り付けパネル6の4個の取り付け穴6aを端子箱2の本体5の4個の取り付けタブ5cと整合させて、ねじ等を用いて端子箱2に取り付ける。この状態で、端子本体7の設置態様に対応した横設置の化粧パネル11Aを、2個の取り付けタブ11aを介してねじ等により取り付けパネル6に取り付ける。最後に、端子箱2を構成する枠体2を、取り付けパネル6にねじ等を用いて装着すると、図5に示すように、横設置に応じた化粧パネル11Aが装備された映像機器用端子盤3が端子箱2に装着される。
また、設置態様が、縦設置の場合には、図2(b)に示すように、横設置に用いる端子本体7と同一の端子本体7を、反時計方向に90°回転させて中継コネクタ9,10の長手方向を矢印D、E方向の縦方向に設定し、その状態で端子本体7を取り付けパネル6に4個の取り付け片7aを介して取り付ける。端子本体7は、前面7bが正方形で形成されており、取り付けパネル6の装着穴6bも正方形に形成され、端子本体7は、取り付けパネル6と正対する図2の状態で、90ピッチで回転させる度に、前面7bは装着穴6bに陥入係合することができるように形成されている。また、端子本体7の前面7bが取り付けパネル6の装着穴6bに陥入係合した際には、両者は、取り付けパネル6の周囲4辺に形成された複数のねじ穴6d及び端子本体7の周囲4カ所に形成された取り付け片7aにより固定することが出来るので、端子本体7は取り付けパネル6に対して縦設置でも横設置でも、自由に取り付けることが出来る。
なお、取り付けパネル6と端子本体7の、90°ピッチでの取り付け態様は、上述したねじ等を用いた態様に限らず、バネ等その他の固定手段を用いて両者を固定するように構成することも可能である。
端子本体7を縦設置の状態で取り付けパネル6に固定した後は、前述と同様に、端子本体7を取り付けパネル6と共に、端子箱2の本体5の端子盤収容空間5a内に端子本体7を収納する形で、取り付けパネル6の4個の取り付け穴6aを端子箱2の本体5の4個の取り付けタブ5cと整合させて、ねじ等を用いて端子箱2に取り付ける。この状態で、端子本体7の設置態様に対応した縦設置の化粧パネル11Bを、2個の取り付けタブ11aを介してねじ等により取り付けパネル6に取り付ける。最後に、端子箱2を構成する枠体2aを、取り付けパネル6にねじ等を用いて装着すると、図4に示すように、縦設置に応じた化粧パネル11Bが装備された映像機器用端子盤3が端子箱2に装着される。
以上、説明したように、端子箱2に対して同一の端子本体7を用いて、中継コネクタ9,10の縦設置と横設置を実現することが可能となるので、縦設置、横設置用の端子本体7を2種類準備する必要が無くなる。
なお、端子本体7には、中継コネクタ9,10に限らず、図4及び5に示すように、適宜なスイッチ類12,12を操作可能に設けて構成することも当然可能である。
2……端子箱
3……映像機器用端子盤
6……取り付けパネル
7……端子本体
9、10……中継コネクタ
11、11A、11B……化粧パネル
11b……取り付け穴
11c……文字表示

Claims (4)

  1. 端子箱、壁面あるいは机上面に対して取り付け自在な映像機器用端子盤であって、
    前記映像機器用端子盤は、端子本体及び取り付けパネルを有し、
    前記端子本体及び取り付けパネルは、前記端子本体が取り付けパネルに対して正対した状態で、90°ピッチで回転する度に、相互に取り付け自在に設けられており、
    前記端子本体には、1個以上の中継コネクタが装着されており、
    前記中継コネクタは、接続部が扁平な形状に形成されており、
    前記中継コネクタは、前記接続部の長手方向が、所定の1方向に向くように前記端子本体に装着されている、
    ことを特徴とする映像機器用端子盤。
  2. 前記中継コネクタは、HDMIコネクタ又はD−subコネクタ又はUSBコネクタである、請求項1記載の映像機器用端子盤。
  3. 前記取り付けパネルには、前記中継コネクタの先端部が貫通するコネクタ取り付け穴が形成された化粧パネルが着脱自在に設けられており、
    前記化粧パネルの表面には、前記端子本体の前記取り付けパネルに対する取り付け態様に応じた文字表示が配置されている、ことを特徴とする請求項1乃至2記載の映像機器用端子盤。
  4. 前記化粧パネルは、前記中継コネクタの前記端子箱に対する設置態様に応じて複数種類、前記取り付けパネルに対して選択的に着脱自在に設けられている、ことを特徴とする請求項3記載の映像機器用端子盤。
JP2017071534A 2017-03-31 2017-03-31 映像機器用端子盤 Active JP6830395B2 (ja)

Priority Applications (1)

Application Number Priority Date Filing Date Title
JP2017071534A JP6830395B2 (ja) 2017-03-31 2017-03-31 映像機器用端子盤

Applications Claiming Priority (1)

Application Number Priority Date Filing Date Title
JP2017071534A JP6830395B2 (ja) 2017-03-31 2017-03-31 映像機器用端子盤

Publications (2)

Publication Number Publication Date
JP2018174658A true JP2018174658A (ja) 2018-11-08
JP6830395B2 JP6830395B2 (ja) 2021-02-17

Family

ID=64108929

Family Applications (1)

Application Number Title Priority Date Filing Date
JP2017071534A Active JP6830395B2 (ja) 2017-03-31 2017-03-31 映像機器用端子盤

Country Status (1)

Country Link
JP (1) JP6830395B2 (ja)

Cited By (1)

* Cited by examiner, † Cited by third party
Publication number Priority date Publication date Assignee Title
WO2022010118A1 (ko) * 2020-07-07 2022-01-13 주식회사 루텍 설치 유연성을 가진 디스플레이 모듈 구비 전기장치

Citations (4)

* Cited by examiner, † Cited by third party
Publication number Priority date Publication date Assignee Title
JP2002078133A (ja) * 2000-08-28 2002-03-15 Matsushita Electric Works Ltd 配線器具用プレート
JP2009026502A (ja) * 2007-07-17 2009-02-05 Panasonic Electric Works Co Ltd マルチメディア配線装置
US20100226100A1 (en) * 2009-03-05 2010-09-09 Yen International, Llc Modular multimedia management and distribution system
JP2013099243A (ja) * 2011-11-02 2013-05-20 Mun-Yoo Ryo モジュール化の壁コンセント

Patent Citations (4)

* Cited by examiner, † Cited by third party
Publication number Priority date Publication date Assignee Title
JP2002078133A (ja) * 2000-08-28 2002-03-15 Matsushita Electric Works Ltd 配線器具用プレート
JP2009026502A (ja) * 2007-07-17 2009-02-05 Panasonic Electric Works Co Ltd マルチメディア配線装置
US20100226100A1 (en) * 2009-03-05 2010-09-09 Yen International, Llc Modular multimedia management and distribution system
JP2013099243A (ja) * 2011-11-02 2013-05-20 Mun-Yoo Ryo モジュール化の壁コンセント

Cited By (1)

* Cited by examiner, † Cited by third party
Publication number Priority date Publication date Assignee Title
WO2022010118A1 (ko) * 2020-07-07 2022-01-13 주식회사 루텍 설치 유연성을 가진 디스플레이 모듈 구비 전기장치

Also Published As

Publication number Publication date
JP6830395B2 (ja) 2021-02-17

Similar Documents

Publication Publication Date Title
JP2011102825A (ja) 画像表示装置
TWM569542U (zh) Computer case
JP6248760B2 (ja) 端子台ならびに空気調和機
JP2018174658A (ja) 映像機器用端子盤
JP4719928B2 (ja) 電子機器用筐体と支持装置との組み物およびこの組み物と電子機器とのセット
KR101689756B1 (ko) 케이블 정리용 조립식 홀더
CN107564408B (zh) 显示装置
JP2009295495A (ja) 自在同軸接栓座ユニット
JP5044533B2 (ja) コーナーキャビネットの構造及びその組み立て方法
TW201401077A (zh) 電子裝置及其擴展卡
JP5361969B2 (ja) 配線用固定金具とこの固定金具を用いた収納キャビネット
JP6738082B2 (ja) 化粧パネル
KR100598955B1 (ko) 디스플레이장치의 연결잭 회전장치
US9961424B1 (en) Audio cabinet and control panel
JP4776718B2 (ja) ソケット
JP2023067371A (ja) 表示装置用スタンド
JP5215824B2 (ja) コーナーキャビネットの構造
KR20110092369A (ko) 멀티단자박스
JP2011172106A (ja) テレビジョン装置
JP6705996B1 (ja) コネクタおよび電子機器
JP6831261B2 (ja) 筐体および機能ボックス
CN206807924U (zh) 显示装置
KR100630971B1 (ko) 디스플레이장치
JPH09233645A (ja) ジョイントボックス用取付台
KR20110008233U (ko) 컴퓨터용 유선리모컨

Legal Events

Date Code Title Description
A621 Written request for application examination

Free format text: JAPANESE INTERMEDIATE CODE: A621

Effective date: 20200205

A977 Report on retrieval

Free format text: JAPANESE INTERMEDIATE CODE: A971007

Effective date: 20201224

TRDD Decision of grant or rejection written
A01 Written decision to grant a patent or to grant a registration (utility model)

Free format text: JAPANESE INTERMEDIATE CODE: A01

Effective date: 20210118

A61 First payment of annual fees (during grant procedure)

Free format text: JAPANESE INTERMEDIATE CODE: A61

Effective date: 20210126

R150 Certificate of patent or registration of utility model

Ref document number: 6830395

Country of ref document: JP

Free format text: JAPANESE INTERMEDIATE CODE: R150

R250 Receipt of annual fees

Free format text: JAPANESE INTERMEDIATE CODE: R250

R250 Receipt of annual fees

Free format text: JAPANESE INTERMEDIATE CODE: R250

R250 Receipt of annual fees

Free format text: JAPANESE INTERMEDIATE CODE: R250