JP2018066200A - 構造物の支持構造 - Google Patents

構造物の支持構造 Download PDF

Info

Publication number
JP2018066200A
JP2018066200A JP2016205880A JP2016205880A JP2018066200A JP 2018066200 A JP2018066200 A JP 2018066200A JP 2016205880 A JP2016205880 A JP 2016205880A JP 2016205880 A JP2016205880 A JP 2016205880A JP 2018066200 A JP2018066200 A JP 2018066200A
Authority
JP
Japan
Prior art keywords
pile
footing
columnar
filler
support structure
Prior art date
Legal status (The legal status is an assumption and is not a legal conclusion. Google has not performed a legal analysis and makes no representation as to the accuracy of the status listed.)
Granted
Application number
JP2016205880A
Other languages
English (en)
Other versions
JP6614454B2 (ja
Inventor
剛隆 室野
Tsuyotaka Murono
剛隆 室野
篤志 日野
Atsushi Hino
篤志 日野
Current Assignee (The listed assignees may be inaccurate. Google has not performed a legal analysis and makes no representation or warranty as to the accuracy of the list.)
Railway Technical Research Institute
Original Assignee
Railway Technical Research Institute
Priority date (The priority date is an assumption and is not a legal conclusion. Google has not performed a legal analysis and makes no representation as to the accuracy of the date listed.)
Filing date
Publication date
Application filed by Railway Technical Research Institute filed Critical Railway Technical Research Institute
Priority to JP2016205880A priority Critical patent/JP6614454B2/ja
Publication of JP2018066200A publication Critical patent/JP2018066200A/ja
Application granted granted Critical
Publication of JP6614454B2 publication Critical patent/JP6614454B2/ja
Expired - Fee Related legal-status Critical Current
Anticipated expiration legal-status Critical

Links

Images

Landscapes

  • Foundations (AREA)

Abstract

【課題】地表断層変位による損傷を抑えることができる構造物の支持構造を提供する。【解決手段】地盤Gに埋設された複数の杭2と、杭2の上部に支持された構造物3と、を備えた構造物の支持構造1であって、杭2の上端部および構造物3の下端部は、水平方向において充填材7を介して対向配置されるとともに、鉛直方向において相対変位可能に配置されている。これにより、地震の際に、鉛直方向の断層変位が発生すると、杭2および構造物3が鉛直方向に相対変位することができ、杭2に大きな引抜力が加えられることがなく、地表断層変位による損傷を抑えることができる。【選択図】図1

Description

本発明は、構造物の支持構造に関する。
一般に、下記特許文献1に示されるような、地盤に埋設された複数の杭と、この杭の上部に支持された構造物と、を備えた構造物の支持構造が知られている。
特開2009−35927号公報
しかしながら、特許文献1に示される構造物の支持構造では、例えば大規模な内陸直下型地震等の際に発生する鉛直方向の断層変位(地表断層変位)により、構造物を支持する複数の杭の間に高低差が生じると、低所に位置する杭に大きな引抜力が加えられる。これにより、杭が破断したり、杭と構造物との接続部分であるフーチングが破損したりするおそれがあった。
本発明は、上述した事情に鑑みてなされたものであって、地表断層変位による損傷を抑えることができる構造物の支持構造を提供することを目的とする。
上記課題を解決するために、この発明は以下の手段を提案している。
本発明は、地盤に埋設された複数の杭と、前記杭の上部に支持された構造物と、を備えた構造物の支持構造であって、前記杭の上端部および前記構造物の下端部は、充填材を介して配置されるとともに、鉛直方向において相対変位可能に配置されていることを特徴とする。
本発明によれば、杭の上端部および構造物の下端部が、充填材を介して配置されるとともに、鉛直方向において相対変位可能に配置されている。このため、地震の際に、鉛直方向の断層変位が発生し、構造物に鉛直方向の力が加えられると、杭および構造物が、鉛直方向に相対変位することができる。これにより、杭に大きな引抜力が加えられることがなく、地表断層変位による損傷を抑えることができる。
また、水平方向の揺れに対しては、杭の上端部、充填材、および構造物の下端部が一体となって抵抗し、構造物を十分に支持することができる。
また、本発明の構造物の支持構造では、前記充填材は細骨材であることを特徴とする。
本発明によれば、充填材が細骨材であるため、杭の上端部と構造物の下端部との間に充填材が流れ込み、隙間なく埋めることができる。これにより、構造物を十分に支持することができる。
また、本発明の構造物の支持構造では、前記杭の上端部には、中心軸が鉛直方向に沿う有底筒状部が形成され、前記構造物の下端部には、中心軸が鉛直方向に沿う柱状部が形成され、前記有底筒状部の内側に前記柱状部が配置され、前記有底筒状部と前記柱状部との間に前記充填材が配置されていることを特徴とする。
本発明によれば、構造物の下端部の柱状部が、杭の上端部に形成された有底筒状部の内側に、有底筒状部に対して半径方向に間隔をおいて配置されているので、全ての水平方向の揺れに対して構造物を十分に支持することができる。
また、本発明の構造物の支持構造では、前記柱状部の下端部は、錐状に形成されていることを特徴とする。
本発明によれば、充填材内に配設される構造物の柱状部の下端部が錐状に形成されているので、構造物が杭に対して上方に相対変位した後に、柱状部が構造物の自重により充填材内に再度進入しやすく、鉛直方向の初期位置に容易に戻ることができる。これにより、構造物の支持構造を恒常的に安定したものとすることができる。
本発明によれば、地表断層変位による損傷を抑えることができる。
本発明の実施形態に係る構造物の支持構造を示す正面図である。 図1に示す構造物の支持構造の要部の拡大図である。 図1に示す構造物の支持構造の地盤に、鉛直方向の断層変位が発生した際の正面図である。 図1に示す構造物の支持構造に、大規模な地震による揺れが発生した際の正面図である。
本発明の実施形態について図1〜図4を参照して説明する。
図1に示すように、本発明に係る構造物の支持構造1は、地盤Gに埋設された複数の杭2と、この杭2の上部に支持された構造物と、を備えている。以下の説明では、構造物として、ラーメン高架橋3およびその基礎であるフーチング6を例に挙げて説明する。また、鉛直方向において、ラーメン高架橋3側を上方、杭2側を下方とする。
ラーメン高架橋3は、上部に位置するスラブ4と、スラブ4を支持する柱5と、柱5が立設されたフーチング6と、を備えている。
スラブ4の上面には、図示しない軌道スラブおよび線路が敷設されている。なお、線路は単線であっても複線であってもよい。
柱5はスラブ4の幅方向の両側に配設されている。柱5は、スラブ4と一体に形成されている。柱5の下端部は埋戻し土B内に埋設され、フーチング6と接続されている。
フーチング6は直方体状をなしている。フーチング6は、地盤を一定深さに掘り起こした部分に配設されている。
フーチング6の下端部には、中心軸が鉛直方向に沿う柱状部6aが形成されている。柱状部6aは、フーチング6と一体に形成されている。柱状部6aは柱5と同軸に配置され、下方に向けて突出する円柱状をなしている。柱状部6aには、ラーメン高架橋3に、後述する地震等による揺れが作用した際に、スラブ4に発生する慣性力を、充填材7および杭2とともに支持可能な剛性、耐力を有していることが求められる。
柱状部6aの下端部6bは、錐状に形成されている。図示の例では、下端部6bは円錐状に形成されている。
なお、柱状部6aは、フーチング6と別体に形成されていてもよい。また、柱状部6aは、多角柱状をなしていてもよい。また、柱状部6aの下端部6bは角錐状に形成されていてもよい。また、柱状部6aは、柱5と同軸に配置されていなくてもよい。
杭2は、地盤Gに鉛直方向に沿って埋設されている。本実施形態では、杭2として鋼管ソイルセメント杭が採用されている。鋼管ソイルセメント杭は、鋼管2aの内部に、ソイルセメント2bを充填して固化させることで形成されている。なお、杭2としては、このような鋼管ソイルセメント杭が好ましいが、鋼管杭を採用してもよい。
鋼管2aの上端部には、鋼管2aの中空部を鉛直方向に仕切る仕切り板2cが設けられている。仕切り板2cは金属製の板材である。ソイルセメント2bは、鋼管2aの中空部のうち、仕切り板2cよりも下方に位置する部分に充填されている。なお、仕切り板2cは、金属以外の材質であってもよい。
杭2の上端部の開口端縁は、フーチング6の下面と当接している。このように、フーチング6は、複数の杭2により支持されている。
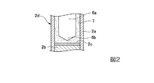
杭2の上端部には、中心軸が鉛直方向に沿う有底筒状部2dが形成されている。有底筒状部2dは、鋼管2aの上端部の内周面と、仕切り板2cの上面と、により画成されている。有底筒状部2dの内径は、柱状部6aの外径よりも大きく形成されている。なお、有底筒状部2dは、多角筒状に形成されていてもよい。
そして本実施形態では、杭2の上端部、およびフーチング6の下端部は、水平方向において充填材7を介して対向配置されるとともに、鉛直方向において相対変位可能に配置されている。
すなわち、図2に示すように、杭2の有底筒状部2d内に、フーチング6の柱状部6aが配置され、有底筒状部2dと柱状部6aとの間に充填材7が充填されている。充填材7として細骨材である砂が充填されている。充填材7としては、流動性を備えた材料が好ましい。なお、細骨材としては砂に限られず、同程度の粒子径を備えた材料であれば、例えば人工骨材や再生骨材等のその他の材料であってもよい。
有底筒状部2dおよび柱状部6aは、同軸にかつ半径方向に互いに間隔をおいて配置されている。このため、有底筒状部2dの内周面と、柱状部6aの外周面と、の間の水平方向の距離は、全周にわたって均等となっている。また、柱状部6aの下端部6bは、仕切り板2cの上面よりも上方に位置する部分に配置されている。このため、充填材7は、有底筒状部2dと柱状部6aとの水平方向および鉛直方向の両方向における間に位置する部分に充填されている。
なお、有底筒状部2dの内周面と、柱状部6aの外周面と、の間の水平方向の距離は、全周にわたって均等でなくてもよい。また、柱状部6aの下端部6bが、仕切り板2cの上面に当接していてもよい。
次に、以上のように構成された構造物の支持構造1の作用について説明する。
図3に示すように、例えば地震による断層のずれにより、フーチング6を支持する複数の杭2の間で鉛直方向の断層変位が発生した場合には、水平方向の一方側に位置する杭2が地盤とともに隆起し、これによりフーチング6が上昇する。
この際、フーチング6の柱状部6aの外周面と、杭2の有底筒状部2dの内周面とは、鉛直方向に相対変位可能に配置されている。このため、柱状部6aがフーチング6とともに上昇することで、水平方向の他方側に位置する柱状部6a、およびフーチング6が、他方側に位置する杭2の有底筒状部2dに対して上方に向けて相対変位する。これにより、他方側の柱状部6aに大きな引抜力が加えられることがなく、また、フーチング6にも大きな力が発生せず、ラーメン高架橋3の損傷を抑えることができる。
一方、この構造物の支持構造1は、中小規模の地震における水平方向の揺れにより、杭2が地盤Gとともに水平方向に変位する。この際、フーチングの柱状部6aの外周面と、杭2の有底筒状部2dの内周面と、の間に充填材が充填されている。このため、杭2の有底筒状部2d、充填材7、およびフーチング6の柱状部6aが一体となって水平方向の揺れに対して抵抗し、フーチング6を支持することができる。(図1参照)これにより、ラーメン高架橋3を走行する車両の走行安全性を確保することができる。
また、地震の規模が大きい場合には、図4に示すように、この構造物の支持構造1では、水平方向および鉛直方向の揺れにより、杭2を介してフーチング6に水平方向および鉛直方向の力が加えられる。
この際、前述の通り、フーチング6の柱状部6aは、杭2の有底筒状部2dに対して鉛直方向において相対変位可能となっているので、柱状部6aが有底筒状部2dに対して一時的に上昇することで、鉛直方向の揺れから受ける力を逃がすことができる。このため、大きな引抜力が柱状部6aに加えられることが無く、杭2および柱状部6aの損傷を抑えることができる。
また、上昇したフーチング6および柱状部6aは、揺れが収まるとともに下降する。この際、柱状部6aの下端部6bが先細り形状である錐状に形成されているので、柱状部6aの下端部6bが、充填材7をかき分けながら充填材7内に進入していくことができる。これにより、フーチング6および柱状部6aは、それぞれの自重により、鉛直方向の当初の位置に戻ることができる。
ここで、フーチングと杭との接続強度を上げるための従来の対策としては、杭の本数を増やしたり、杭径を太くしたりするといった対策や、杭と構造物との接続を強固にするために、杭と構造物とを接続するアンカーや配筋を過密にするといった対策が挙げられる。
また揺れに対する対策としては、杭の上端部にダンパ等の減衰装置を設置して構造物の損傷を低減させる対策が挙げられる。
これらのような対策とは異なり、本実施形態の構造物の支持構造1では、杭2とフーチング6との間の縁が切れている。このため、仮に大規模な地震により水平方向および鉛直方向の大きな揺れが発生したとしても、地震の規模に関わらず、杭2とフーチング6との接続部分に、局所的に大きな力がかかるといったことが無い。
また、前記従来の対策では、いずれも部品や減衰装置等の費用のほか、施工の工数が増えることにより、施工費の高騰を招くといった懸念があった。一方、本実施形態の構造物の支持構造1では、杭2とフーチング6との接続部分を単純な構成とすることができ、施工費の高騰を招くこともない。
以上説明したように、本発明に係る構造物の支持構造1によれば、杭2の上端部およびフーチング6の下端部が、水平方向において充填材7を介して対向配置されるとともに、鉛直方向において相対変位可能に配置されている。このため、地震の際に、鉛直方向の断層変位が発生し、フーチング6に鉛直方向の力が加えられると、杭2およびフーチング6が鉛直方向に相対変位することができる。これにより、杭に大きな引抜力が加えられることがなく、地表断層変位による損傷を抑えることができる。
また、水平方向の揺れに対しては、杭2の上端部、充填材7、およびフーチング6の下端部が一体となって抵抗し、構造物を十分に支持することができる。
また、本発明の構造物の支持構造1では、充填材7が細骨材であるため、杭2の上端部とラーメン高架橋3の下端部との間に充填材7が流れ込み、隙間なく埋めることができる。これにより、フーチング6を十分に支持することができる。
また、本発明の構造物の支持構造1では、フーチング6の下端部の柱状部6aが、杭2の上端部に形成された有底筒状部2dの内側に、有底筒状部2dに対して半径方向に間隔をおいて配置されているので、全ての水平方向の揺れに対して構造物を十分に支持することができる。
また、杭2の上部に設けられた有底筒状部2dにより、充填材7を収容することができるので、杭2の上端部およびフーチング6の下端部において、充填材7を保持するための別の構成を設ける必要が無い。さらにまた、杭2として、例えば鋼管ソイルセメント杭等のような、中空部を備え、支持力の大きな杭を採用すれば、配置する杭2の本数を低減することができ、施工費を低減することができる。
また、本発明の構造物の支持構造1では、充填材7内に配設される構造物の柱状部6aの下端部6bが錐状に形成されている。このため、フーチング6が杭2に対して上方に相対変位した後に、柱状部6aが構造物の自重により充填材7内に再度進入しやすく、鉛直方向の初期位置に容易に戻ることができる。これにより、構造物の支持構造1を恒常的に安定したものとすることができる。
なお、本発明の技術的範囲は前記実施形態に限定されるものではなく、本発明の趣旨を逸脱しない範囲において種々の変更を加えることができる。
例えば、上記実施形態においては、充填材7は細骨材である構成を示したが、このような構成に限られない。細骨材よりも粒子の大きな砕石や礫といった粗骨材を用いてもよいし、例えば樹脂やウレタンといったその他の流動性を備えた材料であってもよい。これらの場合には、充填材の材料としての選択肢が増えるため、充填材を容易に手配することができる。
また、上記実施形態においては、フーチング6から下方に向けて突出する柱状部6aが形成され、杭2の鋼管2aの内部に形成された有底筒状部2d内に配置された構成について示したが、このような態様に限られない。フーチングの下端部に、下方に向けて開口する凹部が形成され、この凹部内に杭の上端部が配置されていてもよい。このような場合には、フーチングの下面に、凹部内に充填された充填材を所定の範囲内に制限するために保持するネット等の保持具が設けられていることが望ましい。
また、杭の上端部に立設された一対の平板の間に、構造物の下端部に立設された平板が配置されることで、杭の上端部と、構造物の下端部と、が水平方向に対向配置される構成としてもよい。
また、上記実施形態においては、柱状部6aの下端部6bが錐状である構成を示したが、このような態様に限られない。柱状部の下端部の形状としては、例えば半球状であってもよい。さらに、柱状部6aの下端部6bは先細り形状でなくてもよく、平坦面状であってもよい。
また、上記実施形態においては、フーチング6の柱状部6aと杭2の数が等しい構成について示したが、このような態様に限られない。例えば複数の杭の有底筒状部に対して、フーチングの柱状部を間欠的に配置し、柱状部が配置されない杭の上端部が、フーチングを直接に支持している構成であってもよい。
また、構造物としては、ラーメン高架橋3に限られず、その他の構造形式であってもよいし、ビルやその他の構造物であってもよい。そのような場合には、杭や柱状部の形状、寸法、数量等は任意に変更することが可能である。
その他、本発明の趣旨を逸脱しない範囲で、上記した実施の形態における構成要素を周知の構成要素に置き換えることは適宜可能であり、また、上記した変形例を適宜組み合わせてもよい。
1 構造物の支持構造
2 杭
2d 有底筒状部
3 ラーメン高架橋(構造物)
6 フーチング(構造物)
6a 柱状部
6b 柱状部の下端部
7 充填材

Claims (4)

  1. 地盤に埋設された複数の杭と、前記杭の上部に支持された構造物と、を備えた構造物の支持構造であって、
    前記杭の上端部および前記構造物の下端部は、充填材を介して配置されるとともに、鉛直方向において相対変位可能に配置されていることを特徴とする構造物の支持構造。
  2. 前記充填材は、細骨材であることを特徴とする請求項1に記載の構造物の支持構造。
  3. 前記杭の上端部には、中心軸が鉛直方向に沿う有底筒状部が形成され、
    前記構造物の下端部には、中心軸が鉛直方向に沿う柱状部が形成され、
    前記有底筒状部の内側に前記柱状部が配置され、前記有底筒状部と前記柱状部との間に前記充填材が配置されていることを特徴とする請求項1又は2に記載の構造物の支持構造。
  4. 前記柱状部の下端部は、錐状に形成されていることを特徴とする請求項3に記載の構造物の支持構造。
JP2016205880A 2016-10-20 2016-10-20 構造物の支持構造 Expired - Fee Related JP6614454B2 (ja)

Priority Applications (1)

Application Number Priority Date Filing Date Title
JP2016205880A JP6614454B2 (ja) 2016-10-20 2016-10-20 構造物の支持構造

Applications Claiming Priority (1)

Application Number Priority Date Filing Date Title
JP2016205880A JP6614454B2 (ja) 2016-10-20 2016-10-20 構造物の支持構造

Publications (2)

Publication Number Publication Date
JP2018066200A true JP2018066200A (ja) 2018-04-26
JP6614454B2 JP6614454B2 (ja) 2019-12-04

Family

ID=62085751

Family Applications (1)

Application Number Title Priority Date Filing Date
JP2016205880A Expired - Fee Related JP6614454B2 (ja) 2016-10-20 2016-10-20 構造物の支持構造

Country Status (1)

Country Link
JP (1) JP6614454B2 (ja)

Citations (16)

* Cited by examiner, † Cited by third party
Publication number Priority date Publication date Assignee Title
JPS57209334A (en) * 1981-06-18 1982-12-22 Takechi Koumushiyo:Kk Construction of foundation for structure
JPH09158208A (ja) * 1995-12-12 1997-06-17 Geotop Corp 構造体の免震構造
JPH10252082A (ja) * 1997-03-14 1998-09-22 Sumitomo Metal Ind Ltd 免震杭および免震杭用杭頭ユニット
JPH10331173A (ja) * 1997-05-28 1998-12-15 Shimizu Corp 基礎構造
JP2001336306A (ja) * 2000-05-26 2001-12-07 Takenaka Komuten Co Ltd 免震構造架構
JP2004060322A (ja) * 2002-07-30 2004-02-26 Takenaka Komuten Co Ltd 杭先端の浮き上がりを許容した制震構造
JP2004238927A (ja) * 2003-02-06 2004-08-26 Shimizu Corp 既製杭と柱との接合構造およびその軸力伝達用部材
JP2004257120A (ja) * 2003-02-26 2004-09-16 Fujita Corp 建物の基礎に用いる接続構造
JP2005248596A (ja) * 2004-03-05 2005-09-15 Sogo Business:Kk 建造物の基礎及びその施工方法
JP2007051500A (ja) * 2005-08-19 2007-03-01 Jfe Steel Kk 柱と杭の接合構造
JP2007162416A (ja) * 2005-12-16 2007-06-28 Takenaka Komuten Co Ltd コンクリート杭の接合方法
JP2008121400A (ja) * 2006-11-14 2008-05-29 Shigekazu Hanzawa 基礎杭減震装置
JP2012046897A (ja) * 2010-08-24 2012-03-08 Kangna Nelson Shen 家屋ユニットの杭基礎
JP2012136858A (ja) * 2010-12-27 2012-07-19 Mitsubishi Heavy Ind Ltd 1柱1杭基礎構造
JP2016023451A (ja) * 2014-07-18 2016-02-08 株式会社大林組 構造物の基礎構造
US20160265184A1 (en) * 2015-03-12 2016-09-15 Ingios Geotechnics, Inc. Soil improvement foundation isolation and load spreading systems and methods

Patent Citations (16)

* Cited by examiner, † Cited by third party
Publication number Priority date Publication date Assignee Title
JPS57209334A (en) * 1981-06-18 1982-12-22 Takechi Koumushiyo:Kk Construction of foundation for structure
JPH09158208A (ja) * 1995-12-12 1997-06-17 Geotop Corp 構造体の免震構造
JPH10252082A (ja) * 1997-03-14 1998-09-22 Sumitomo Metal Ind Ltd 免震杭および免震杭用杭頭ユニット
JPH10331173A (ja) * 1997-05-28 1998-12-15 Shimizu Corp 基礎構造
JP2001336306A (ja) * 2000-05-26 2001-12-07 Takenaka Komuten Co Ltd 免震構造架構
JP2004060322A (ja) * 2002-07-30 2004-02-26 Takenaka Komuten Co Ltd 杭先端の浮き上がりを許容した制震構造
JP2004238927A (ja) * 2003-02-06 2004-08-26 Shimizu Corp 既製杭と柱との接合構造およびその軸力伝達用部材
JP2004257120A (ja) * 2003-02-26 2004-09-16 Fujita Corp 建物の基礎に用いる接続構造
JP2005248596A (ja) * 2004-03-05 2005-09-15 Sogo Business:Kk 建造物の基礎及びその施工方法
JP2007051500A (ja) * 2005-08-19 2007-03-01 Jfe Steel Kk 柱と杭の接合構造
JP2007162416A (ja) * 2005-12-16 2007-06-28 Takenaka Komuten Co Ltd コンクリート杭の接合方法
JP2008121400A (ja) * 2006-11-14 2008-05-29 Shigekazu Hanzawa 基礎杭減震装置
JP2012046897A (ja) * 2010-08-24 2012-03-08 Kangna Nelson Shen 家屋ユニットの杭基礎
JP2012136858A (ja) * 2010-12-27 2012-07-19 Mitsubishi Heavy Ind Ltd 1柱1杭基礎構造
JP2016023451A (ja) * 2014-07-18 2016-02-08 株式会社大林組 構造物の基礎構造
US20160265184A1 (en) * 2015-03-12 2016-09-15 Ingios Geotechnics, Inc. Soil improvement foundation isolation and load spreading systems and methods

Also Published As

Publication number Publication date
JP6614454B2 (ja) 2019-12-04

Similar Documents

Publication Publication Date Title
JP6219644B2 (ja) 土圧低減による橋台の耐震補強方法
JP2018076661A (ja) 鋼管杭の自沈防止装置、自沈防止構造及び自沈防止工法
JP2003064657A (ja) 軟弱地盤改良工法
JP2011179247A (ja) 大水深岸壁構造
JP6021993B1 (ja) 支柱下端部とコンクリート杭との剛結構造体
JP6650257B2 (ja) 山留め構造およびその構築方法
JP2017186766A (ja) 深礎杭および深礎杭に用いられる土留材
JP6182402B2 (ja) 落橋を防止するための橋の耐震補強方法
JP6614454B2 (ja) 構造物の支持構造
JP5688040B2 (ja) 仕切り構造体
JP2005213904A (ja) 支持力増加方法、シートパイル基礎の施工方法、シートパイル基礎、橋梁
KR100642332B1 (ko) 도로 교량용 교대 기초 전도방지 구조물
JP5041758B2 (ja) 人工地盤を有する免震構造物
JP5382900B2 (ja) 液状化による地中構造物の浮き上がり防止方法
JP2004339894A (ja) 杭基礎構造物の耐震補強構造
JP6774774B2 (ja) 杭基礎構造
KR101995451B1 (ko) 지진응답 감쇠기능을 갖는 자재 및 이를 이용한 건물의 기초 구조물
JP2013181322A (ja) 杭基礎の改築方法および杭基礎構造
JP2008031722A (ja) 盛土構造物及び盛土構造物の補強方法
JP4705513B2 (ja) 基礎構造
JP6945679B2 (ja) 鋼製柱と杭の接合部構造
JPH08113959A (ja) 構造物の支持地盤の補強構造
JP4866713B2 (ja) マンホールの構造
KR101030114B1 (ko) 구조물 지지 구조
KR101858021B1 (ko) 내진형 팽이말뚝, 내진형 팽이말뚝기초 및 이의 시공방법

Legal Events

Date Code Title Description
A621 Written request for application examination

Free format text: JAPANESE INTERMEDIATE CODE: A621

Effective date: 20180808

RD03 Notification of appointment of power of attorney

Free format text: JAPANESE INTERMEDIATE CODE: A7423

Effective date: 20181102

A977 Report on retrieval

Free format text: JAPANESE INTERMEDIATE CODE: A971007

Effective date: 20190404

A131 Notification of reasons for refusal

Free format text: JAPANESE INTERMEDIATE CODE: A131

Effective date: 20190409

A521 Request for written amendment filed

Free format text: JAPANESE INTERMEDIATE CODE: A523

Effective date: 20190521

TRDD Decision of grant or rejection written
A01 Written decision to grant a patent or to grant a registration (utility model)

Free format text: JAPANESE INTERMEDIATE CODE: A01

Effective date: 20191008

A61 First payment of annual fees (during grant procedure)

Free format text: JAPANESE INTERMEDIATE CODE: A61

Effective date: 20191023

R150 Certificate of patent or registration of utility model

Ref document number: 6614454

Country of ref document: JP

Free format text: JAPANESE INTERMEDIATE CODE: R150

LAPS Cancellation because of no payment of annual fees