JP2018053566A - Fixing structure of floor plate material and fixing construction method of floor plate material - Google Patents

Fixing structure of floor plate material and fixing construction method of floor plate material Download PDF

Info

Publication number
JP2018053566A
JP2018053566A JP2016190987A JP2016190987A JP2018053566A JP 2018053566 A JP2018053566 A JP 2018053566A JP 2016190987 A JP2016190987 A JP 2016190987A JP 2016190987 A JP2016190987 A JP 2016190987A JP 2018053566 A JP2018053566 A JP 2018053566A
Authority
JP
Japan
Prior art keywords
floor board
board material
floor
bolt
piece
Prior art date
Legal status (The legal status is an assumption and is not a legal conclusion. Google has not performed a legal analysis and makes no representation as to the accuracy of the status listed.)
Granted
Application number
JP2016190987A
Other languages
Japanese (ja)
Other versions
JP6366203B2 (en
Inventor
大樹 田嶋
Hiroki Tajima
大樹 田嶋
健夫 小西
Takeo Konishi
健夫 小西
浩一 西野
Koichi Nishino
浩一 西野
一也 豊島
Kazuya Toyoshima
一也 豊島
真之介 潮
Shinnosuke Ushio
真之介 潮
Current Assignee (The listed assignees may be inaccurate. Google has not performed a legal analysis and makes no representation or warranty as to the accuracy of the list.)
Sekisui House Ltd
Nankai Kogyo KK
Original Assignee
Sekisui House Ltd
Nankai Kogyo KK
Priority date (The priority date is an assumption and is not a legal conclusion. Google has not performed a legal analysis and makes no representation as to the accuracy of the date listed.)
Filing date
Publication date
Application filed by Sekisui House Ltd, Nankai Kogyo KK filed Critical Sekisui House Ltd
Priority to JP2016190987A priority Critical patent/JP6366203B2/en
Publication of JP2018053566A publication Critical patent/JP2018053566A/en
Application granted granted Critical
Publication of JP6366203B2 publication Critical patent/JP6366203B2/en
Active legal-status Critical Current
Anticipated expiration legal-status Critical

Links

Images

Landscapes

  • Building Environments (AREA)
  • Joining Of Building Structures In Genera (AREA)
  • Panels For Use In Building Construction (AREA)

Abstract

【課題】 床の上から床板材の固定作業をすることができ、床板材を加工する必要がない床板材の固定構造及び床板材の固定施工方法を提供する。【解決手段】床板材の固定構造は、水平に設けられる梁と、前記梁に平行で少なくとも水平部を有する長手材と、端部が前記水平部に載置される床板材と、下端に前記長手材の下面に引っ掛かる水平な突片を有し、当該長手材に嵌合する嵌合部と、前記嵌合部の上方に突出して設けられるボルト部と、前記ボルト部に挿入される挿入孔を有し、前記床板材の上面に当接する押さえ片と、前記押さえ片の上から前記ボルト部に螺合するナットと、を備え、前記水平部と前記押さえ片とで前記板材を挟んで固定してなる。【選択図】図1PROBLEM TO BE SOLVED: To provide a fixing structure of a floor board material and a fixing method for fixing the floor board material, which can fix the floor board material from above the floor and do not need to process the floor board material. A fixing structure of a floor board material includes a beam provided horizontally, a longitudinal member parallel to the beam and having at least a horizontal portion, a floor board material having an end portion mounted on the horizontal portion, and a lower end of the floor plate material. A horizontal projecting piece that is hooked on the lower surface of the longitudinal member, a fitting portion that fits into the longitudinal member, a bolt portion that protrudes above the fitting portion, and an insertion hole that is inserted into the bolt portion A pressing piece that contacts the upper surface of the floor plate material, and a nut that is screwed onto the bolt portion from above the pressing piece, and is fixed with the plate material sandwiched between the horizontal portion and the pressing piece. Do it. [Selection] Figure 1

Description

本発明は、例えば押出成形セメント板のような床板材の固定構造及び当該床板材の固定構造の施工方法に関する。   The present invention relates to a fixing structure of a floor board material such as an extruded cement board and a construction method of the fixing structure of the floor board material.

従来より鉄骨住宅や集合住宅においては押出成形セメント板の床板が使用されている。そして、この押出成形セメント板を梁に留付けるために種々の留付構造が提案されている。   Conventionally, floor panels made of extruded cement boards have been used in steel frame houses and apartment houses. Various fastening structures have been proposed for fastening the extruded cement board to the beam.

例えば特許文献1及び特許文献2に記載の構造は、押出成形セメント板の中空部内に押さえバネによってボルトをねじ込むための角形ナットが予め挿入設置されており、当該押出成形セメント床板を梁に順次敷きつめている。そして、押出成形セメント床板を梁に留め付けるため、梁の形状に対応した形状の留め付け具であるZ型金物を使用する。Z型金物を用いた押出成形セメント床板の留付構造では、押出成形セメント板床の下面側からボルトを挿入し、スプリングワッシャ及びワッシャを介して角形ナットにねじ込み、Zクリップを締付け固定することによって押出成形セメント板床を梁に留付けている。   For example, in the structures described in Patent Document 1 and Patent Document 2, a square nut for screwing a bolt with a presser spring is inserted and installed in the hollow portion of an extruded cement board, and the extruded cement floor board is sequentially laid on the beam. ing. And in order to fasten an extrusion-molded cement floor board to a beam, the Z type metal fitting which is a fastener corresponding to the shape of a beam is used. In the fastening structure of an extruded cement floor board using Z-shaped hardware, the bolt is inserted from the lower surface side of the extruded cement board floor, screwed into a square nut via a spring washer and washer, and the Z clip is fastened and fixed. The molded cement board floor is fastened to the beam.

しかし、特許文献1及び特許文献2のような留付構造は、押出成形セメント板をパネル裏面側の梁にZクリップなどを用いて階下側から留付けるものである、先に天井板が施工されていると、この天井板が邪魔になって施工できない。また、押出成形セメント板の設置及び固定作業に階の移動が必要となるので、作業性が悪く、さらに、階下側からの作業は床面からの高さが2.5m以上の高い位置での作業となるので、作業の安全性に問題があった。   However, the fastening structures such as Patent Document 1 and Patent Document 2 are used to fasten the extruded cement board from the downstairs side using a Z clip or the like to the beam on the back side of the panel. If this is the case, this ceiling panel will be in the way and cannot be installed. In addition, since it is necessary to move the floor to install and fix the extrusion-molded cement board, workability is poor, and work from the downstairs side is at a high position of 2.5 m or more from the floor. Since this is a work, there was a problem in work safety.

一方、特許文献3には、中空部100を持つパネル状の押出成形セメント板床101を梁102に留付ける構造が記載されており、押出成形セメント板床101の中空部100に固定される固定ナット103と、遊穴104を有し基端が可撓部材を介して押出成形セメント板床101の裏面に固定されるとともに可撓部材によって可変自在となった先端が裏面とで梁102を挟持可能なZ型クリップ材105と、該Z型クリップ材105の遊穴104に下方から挿通されて固定ナット103に螺合しかつ先端部に床上からの回動を可能とする回動部106が形成された回動部付ボルト107とを有する押出成形セメント板床用金具108を用いた構造が記載されている。   On the other hand, Patent Document 3 describes a structure in which a panel-shaped extruded cement board floor 101 having a hollow part 100 is fastened to a beam 102, and a fixing nut 103 fixed to the hollow part 100 of the extruded cement board floor 101. And a free end 104 having a base end fixed to the back surface of the extrusion-molded cement board floor 101 via a flexible member and a tip which can be changed by the flexible member being able to sandwich the beam 102 with the back surface Z A die clip member 105 and a turning portion 106 that is inserted from below into the free hole 104 of the Z-like clip member 105 and screwed into the fixing nut 103 and that can turn from the floor at the tip are formed. A structure using an extrusion-molded cement board floor fitting 108 having a rotating part-attached bolt 107 is described.

この押出成形セメント板床用金具108を用いた構造によると、可撓部材を介してZ型クリップ材105を押出成形セメント板床108の裏面に固定し、固定ナット103を緩めて、Z型クリップ材105の先端を裏面より離反した状態に傾斜配置させておき、この状態で、押出成形セメント板床101を上方より梁102上に載置する。そして、押出成形セメント板床101が梁102に載置された後、床上から工具109を挿入して回動部付ボルト107が締め付け方向へ回転することで、Z型クリップ材105の先端が押出成形セメント板床101の裏面に接近する方向に可変され、裏面との間に梁102が挟持され、床上から押出成形セメント板床101が梁102に留付けられるので、上階からの操作で押出成形セメント板床用金具108を梁102に固定することができる。   According to the structure using the extrusion-molded cement board floor fitting 108, the Z-type clip material 105 is fixed to the back surface of the extrusion-molded cement board floor 108 via a flexible member, the fixing nut 103 is loosened, and the Z-type clip material 105 is fixed. In this state, the extruded cement board floor 101 is placed on the beam 102 from above. Then, after the extrusion-molded cement board floor 101 is placed on the beam 102, the tool 109 is inserted from above the floor, and the bolt 107 with the rotating portion rotates in the tightening direction, whereby the tip of the Z-shaped clip material 105 is extrusion-molded. Since the beam 102 is sandwiched between the cement plate floor 101 and the back surface of the cement plate floor 101 and the extruded cement plate floor 101 is fastened to the beam 102 from above the floor, the extrusion cement plate floor is operated from the upper floor. The metal fitting 108 can be fixed to the beam 102.

特開平8−53892号公報JP-A-8-53892 特開平8−53894号公報JP-A-8-53894 特開2005−264438号公報JP 2005-264438 A

しかし、従来の構造は、いずれも押出成形セメント板床の中空部内に予めナットを配置しておく必要があるとともに、ボルトを挿入し、当該ボルトを締め付ける作業を行うための挿入孔が必要となるので、押出成形セメント板床に予め当該挿入孔を加工して設けておく必要がある。また、特許文献3のように床上からボルトを締め付ける場合には、押出成形セメント板床の上面に操作孔が必要となり、押出成形セメント板床の加工手間が必要であるとともに、設置後も操作孔を塞ぐなどの処理が必要となる。   However, all of the conventional structures require a nut to be placed in advance in the hollow portion of the extruded cement board floor, and an insertion hole for inserting a bolt and tightening the bolt is necessary. It is necessary to process and provide the insertion hole in advance in the extruded cement board floor. In addition, when bolts are tightened from above the floor as in Patent Document 3, an operation hole is required on the upper surface of the extrusion-molded cement board floor, and processing work for the extrusion-molded cement board floor is required, and the operation hole is blocked after installation. Such processing is required.

そこで本発明は、床の上から床板材の固定作業をすることができ、床板材を加工する必要がない床板材の固定構造及び床板材の固定施工方法を提供することを目的とする。   Therefore, an object of the present invention is to provide a floor board material fixing structure and a floor board material fixing construction method that can fix the floor board material from above the floor and do not need to process the floor board material.

本発明の床板材の固定構造は、水平に設けられる梁と、前記梁に平行で少なくとも水平部を有する長手材と、端部が前記水平部に載置される床板材と、下端に前記長手材の下面に引っ掛かる水平な突片を有し、当該長手材に嵌合する嵌合部と、前記嵌合部の上方に突出して設けられるボルト部と、前記ボルト部に挿入される挿入孔を有し、前記床板材の上面に当接する押さえ片と、前記押さえ片の上から前記ボルト部に螺合するナットと、を備え、前記水平部と前記押さえ片とで前記板材を挟んで固定してなることを特徴としている。   The floor board material fixing structure according to the present invention includes a beam provided horizontally, a longitudinal member parallel to the beam and having at least a horizontal portion, a floor plate material having an end portion placed on the horizontal portion, and the longitudinal member at a lower end. A horizontal projecting piece that is hooked on the lower surface of the material, a fitting part that fits into the longitudinal member, a bolt part that protrudes above the fitting part, and an insertion hole that is inserted into the bolt part A pressing piece that contacts the upper surface of the floor board material, and a nut that is screwed onto the bolt portion from above the pressing piece, and is fixed with the plate material sandwiched between the horizontal portion and the pressing piece. It is characterized by.

本発明の床板材の固定構造は、更に、前記床板材は充填材を挿入可能な中空部を有することを特徴としている。   The floor board material fixing structure of the present invention is further characterized in that the floor board material has a hollow part into which a filler can be inserted.

本発明の床板材の固定構造は、更に、前記長手材は前記梁に間隙を開けて鉛直部が設けられるとともに当該鉛直部の下端から前記梁と離反する方向に延びる水平部が設けられ、前記梁に平行に固定されたアングルであり、前記嵌合部はその下端に前記鉛直部の下端に係る前記突片を有するとともにその上端に前記鉛直部の上端に引っ掛かるフック部を有する弾性体であり、前記突片の突出長さは前記間隙に挿入可能な長さであることを特徴としている。   In the floor board material fixing structure of the present invention, the longitudinal member is further provided with a vertical portion with a gap in the beam, and with a horizontal portion extending in a direction away from the beam from the lower end of the vertical portion, The angle is fixed in parallel to the beam, and the fitting portion is an elastic body having the protrusion on the lower end of the vertical portion at the lower end and a hook portion hooked on the upper end of the vertical portion at the upper end. The protruding length of the protruding piece is a length that can be inserted into the gap.

本発明の床板材の固定施工方法は、上記の床板材の固定構造の施工方法であって、前記アングルの前記水平部に前記床板材の端部を載置して当該床板材を配置し、上方から前記梁と前記鉛直部との間隙に前記嵌合部を下端側から挿入し、前記突片を前記鉛直部の下端に引っ掛けるとともに、前記フック部を前記鉛直部の上端に引っ掛けて固定し、前記ボルト部に前記押さえ片を外挿させて、当該ボルト部と前記ナットとを締結することで、前記押さえ片を前記床板材の上面に圧接させ、前記押さえ片と前記水平部とで、前記床板材の端部を挟持することを特徴としている。   The floor board material fixing construction method of the present invention is a construction method of the above-mentioned floor board material fixing structure, wherein the floor board material is placed by placing the end of the floor board material on the horizontal portion of the angle, The fitting portion is inserted from above into the gap between the beam and the vertical portion from the lower end side, the projecting piece is hooked on the lower end of the vertical portion, and the hook portion is hooked on the upper end of the vertical portion and fixed. The pressing piece is extrapolated to the bolt portion, and the bolt portion and the nut are fastened, so that the pressing piece is pressed against the upper surface of the floor board material, and the pressing piece and the horizontal portion, It is characterized in that the end portion of the floor board material is sandwiched.

本発明の床板材の固定構造によると、水平な梁に固定される長手材の水平部に床板材の端部が載置され、長手材に嵌合する嵌合部の上方に突出するボルト部に外挿する押さえ片がボルト部に螺合するナットによって押さえられて、水平部と押さえ片とで床板材を挟んで固定してなるので、床板材にボルト孔などの加工を施すことなく、床板材を梁に簡単に固定することができる。   According to the floor board material fixing structure of the present invention, the end of the floor board material is placed on the horizontal portion of the longitudinal material fixed to the horizontal beam, and the bolt portion projects above the fitting portion that fits the longitudinal material. Since the pressing piece to be extrapolated to is pressed by a nut that is screwed into the bolt portion, and the floor plate material is sandwiched and fixed between the horizontal portion and the pressing piece, the floor plate material is not subjected to processing such as bolt holes, The floor board can be easily fixed to the beam.

本発明の床板材の固定構造によると、床板材は充填材を挿入可能な中空部を有するので、中空部に所望の効果を有する充填材を挿入することができる。前述の通り床板材には、ボルト孔などの加工がされておらず、且つ、床板材にボルトなどが貫通していないので、中空部に簡単に充填材を詰めることができる。   According to the floor board material fixing structure of the present invention, the floor board material has a hollow part into which the filler can be inserted. Therefore, the filler having a desired effect can be inserted into the hollow part. As described above, the floor board material is not processed with bolt holes and the like, and the bolt or the like does not penetrate the floor board material, so that the hollow portion can be easily filled with the filler.

本発明の床板材の固定構造によると、長手材はアングルであり、梁と長手材とは、間隙を開けて配置されており、嵌合部はの下端に設けられる突片はの突出長さは当該間隙に挿入可能な長さであるので、上方からこの間隙を通して嵌合部の突片を挿入し、鉛直部の下端に突片を掛けるとともに、鉛直部の上端にフック部を引っ掛けることで、嵌合部を長手材に上方から嵌合することができ、嵌合部の上方に突出するボルト部に押さえ片を外挿させてナットを上方から螺合させることで、押さえ片を床板材の上面に圧接させることができ、水平部と押さえ片とで床板材を挟んで固定することができる。したがって、床板材の上から床板材の固定作業をすることができ、床板材の上側から下階側に移動する必要がないので、作業の効率を高めることができる。また、床板材の上からのみの作業なので、下階側から例えば脚立に立って作業する場合のように不安定な足場で作業する必要がなく、作業の安全性を高めることができる。   According to the fixing structure of the floor board material of the present invention, the longitudinal member is an angle, the beam and the longitudinal member are arranged with a gap, and the protruding piece provided at the lower end of the fitting portion has a protruding length of Is a length that can be inserted into the gap, so that the protrusion of the fitting part is inserted through the gap from above, the protrusion is hung on the lower end of the vertical part, and the hook part is hooked on the upper end of the vertical part. The fitting part can be fitted to the longitudinal member from above, and the holding piece is externally inserted into the bolt part protruding above the fitting part and the nut is screwed from above, so that the holding piece is a floor board material. The floor plate material can be sandwiched and fixed between the horizontal portion and the pressing piece. Therefore, the floor board material can be fixed from above the floor board material, and it is not necessary to move from the upper side of the floor board material to the lower floor side, so that the efficiency of the work can be increased. Further, since the work is performed only from above the floor board material, it is not necessary to work on an unstable scaffolding, for example, when standing on a stepladder from the lower floor side, and the work safety can be improved.

本発明の床板材の固定施工方法によると、アングルの水平部に床板材の端部を載置して当該床板材を配置し、上方から梁と鉛直部との間隙に嵌合部を下端側から挿入し、突片を鉛直部の下端に引っ掛けるとともに、フック部を鉛直部の上端に引っ掛けて固定し、ボルト部に押さえ片を外挿させて、当該ボルト部とナットとを締結することで、押さえ片を床板材の上面に圧接させ、押さえ片と水平部とで、床板材の端部を挟持するので、床板材の上から全ての床板材の固定施工作業をすることができ、床板材の上側から下階側に移動する必要がないので、作業の効率を高めることができる。また、床板材の上からのみの作業となるので、下階側から例えば脚立に立って作業する場合のように不安定な足場で作業する必要がなく、作業の安全性を高めることができる。   According to the method for fixing floor board material according to the present invention, the end part of the floor board material is placed on the horizontal part of the angle and the floor board material is arranged, and the fitting part is placed on the lower end side in the gap between the beam and the vertical part from above. And hook the projecting piece to the lower end of the vertical part, hook the hook part to the upper end of the vertical part, and fix the bolt part and nut. The presser piece is pressed against the top surface of the floorboard material, and the end of the floorboard material is sandwiched between the presser piece and the horizontal part, so that all floor board materials can be fixed from above the floorboard material. Since it is not necessary to move from the upper side of the plate material to the lower floor side, work efficiency can be improved. In addition, since the work is performed only from above the floor board material, it is not necessary to work on an unstable scaffold, for example, when standing on a stepladder from the lower floor side, and the work safety can be improved.

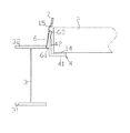
床板材の固定構造の全体構成を説明する梁の一部を省略した斜視図。The perspective view which abbreviate | omitted some beams explaining the whole structure of the fixing structure of a floor board material. 嵌合部、ボルト接続部、ボルト部、押さえ片、及びナットの構成を説明する斜視図。The perspective view explaining the structure of a fitting part, a bolt connection part, a bolt part, a pressing piece, and a nut. 梁に固定片を固定し、固定片に長手材を固定した状態を示す図。The figure which shows the state which fixed the fixed piece to the beam and fixed the longitudinal member to the fixed piece. 長手材の水平部に床板材の端部を載置した状態を示す図。The figure which shows the state which mounted the edge part of the floorboard material in the horizontal part of a longitudinal material. 梁と長手材の鉛直部との間に嵌合部の下端の突片を挿入している状態を示す図。The figure which shows the state which has inserted the protrusion of the lower end of a fitting part between a beam and the vertical part of a longitudinal material. 長手材の鉛直部に嵌合部を嵌合させた状態を示す図。The figure which shows the state which made the fitting part fit the vertical part of a longitudinal material. ボルト部に押さえ片を外挿させ、その上からナットを螺合させて、押さえ片の当接部を床板材に圧接させた状態を示す図。The figure which shows the state which made the bolt part extrapolate the press piece, screwed the nut from the top, and press-contacted the contact part of the press piece to the floor board material. 従来の中空部を持つパネル状の押出成形セメント板床を梁に留付ける構造の一例を示す図。The figure which shows an example of the structure which fastens the panel-like extrusion-molded cement board floor with a conventional hollow part to a beam.

以下、本発明に係る床板材の固定構造1及び床板材の固定施工方法の最良の実施形態について各図を参照しつつ説明する。本実施形態の床板材の固定構造1は、例えば鉄骨住宅や集合住宅において用いられる押出成形セメント板の床板材2を固定する構造及び固定施工方法である。   Hereinafter, the best embodiment of the floor board material fixing structure 1 and the floor board material fixing method according to the present invention will be described with reference to the drawings. The floor board material fixing structure 1 according to the present embodiment is a structure and a fixing construction method for fixing the floor board material 2 of an extrusion-molded cement board used in, for example, steel frame houses and apartment houses.

床板材の固定構造1は、図1及び図7に示すように、水平に設けられる梁3と、梁3に固定されて長手材4を支持する固定片5と、固定片5に支持されるアングルの長手材4と、長手材4の水平部41に端部が載置される床板材2と、長手材4に嵌合する嵌合部6と、嵌合部6の上方に突出して設けられるボルト部7と、ボルト部7に外挿して床板材2の上面に当接する押さえ片8と、押さえ片8の上からボルト部7に螺合するナット9と、を備えている。   As shown in FIGS. 1 and 7, the floor board material fixing structure 1 is supported by a beam 3 provided horizontally, a fixing piece 5 fixed to the beam 3 and supporting a longitudinal member 4, and a fixing piece 5. An angled longitudinal member 4, a floor board member 2 whose end is placed on the horizontal part 41 of the longitudinal member 4, a fitting portion 6 that fits into the longitudinal member 4, and a projection protruding above the fitting portion 6. And a pressing piece 8 that is extrapolated to the bolt part 7 and abuts against the upper surface of the floor board material 2, and a nut 9 that is screwed onto the bolt part 7 from above the pressing piece 8.

梁3はH形鋼で形成され、上下階の間に設置される梁3である。図1においては、図示の都合から梁3の一部のみを記載しているが、梁3の両端は図示しない柱等に接合している。梁3は少なくとも矩形の床板材2の2つの短辺に平行に隣接する位置に配置されている。   The beam 3 is a beam 3 formed of H-shaped steel and installed between upper and lower floors. In FIG. 1, only a part of the beam 3 is shown for the convenience of illustration, but both ends of the beam 3 are joined to columns (not shown). The beam 3 is disposed at a position adjacent to at least two short sides of the rectangular floor board material 2 in parallel.

固定片5は、図1及び図3に示すように、梁3の下側のフランジ31に固定される下部固定部51と、梁3の上側のフランジ32に固定される上部固定部52と、長手材4を下側から支持する支持プレート53とを有している。下部固定部51は、軸方向に垂直な断面の形状がL字状で、下部が梁3の下側のフランジ31の上にボルト10及びナット11で固定される水平な平板状に形成されるとともに、下側のフランジ31の端縁から水平方向に突出して配置される基端部54と、基端部54の突出縁から上方向に折曲して梁3の上側のフランジ32よりも高い位置まで延びる立ち上がり部55とを有する。上部固定部52は、平板状に形成されており、梁3の上側のフランジ32の上にボルト12及びナット13で固定され、上側のフランジ32の端縁から水平方向に突出して先端が下部固定部51の立ち上がり部55に接続する。支持プレート53は、下部固定部51の立ち上がり部55の梁3と逆側の面に溶接された略直角三角形の平板状に形成されたプレートであり、上側の辺が水平に突出して長手材4を下側から支持している。固定片5は、図1に示すように、1つの床板材2の短辺に対して2つずつ配置されている。   As shown in FIGS. 1 and 3, the fixing piece 5 includes a lower fixing portion 51 fixed to the lower flange 31 of the beam 3, an upper fixing portion 52 fixed to the upper flange 32 of the beam 3, And a support plate 53 that supports the longitudinal member 4 from below. The lower fixing portion 51 has an L-shaped cross section perpendicular to the axial direction, and the lower portion is formed in a horizontal flat plate shape that is fixed on the lower flange 31 of the beam 3 with bolts 10 and nuts 11. At the same time, a base end portion 54 that protrudes in the horizontal direction from the end edge of the lower flange 31, and is bent upward from the protrusion edge of the base end portion 54 and is higher than the upper flange 32 of the beam 3. And a rising portion 55 extending to the position. The upper fixing portion 52 is formed in a flat plate shape, is fixed on the upper flange 32 of the beam 3 with bolts 12 and nuts 13, protrudes in the horizontal direction from the edge of the upper flange 32, and the tip is fixed at the lower portion. Connected to the rising part 55 of the part 51. The support plate 53 is a plate formed in a substantially right triangular plate shape welded to a surface opposite to the beam 3 of the rising portion 55 of the lower fixing portion 51, and the upper side protrudes horizontally to extend the longitudinal member 4. Is supported from below. As shown in FIG. 1, two fixed pieces 5 are arranged on each short side of one floor board material 2.

長手材4は固定片5を介して梁3に平行に固定されるアングルであり、固定片5によって梁3の上側のフランジ32との間に間隙を開けて、上側のフランジ32に隣接して配置されている。長手材4は、鉛直部42が下部固定部51の立ち上がり部55に固定されており、当該鉛直部42の下端から梁3と離反する方向に向かって水平部41が設けられている。長手材4の水平部41の上面には制震ゴム14が載置されており、水平部41の上に制震ゴム14を介して床板材2の端部を載置することで、床板材2の振動が梁3に伝達することを抑制して防音性能を高めることができる。   The longitudinal member 4 is an angle fixed in parallel to the beam 3 via a fixing piece 5, and a gap is formed between the fixing piece 5 and the upper flange 32 of the beam 3 so as to be adjacent to the upper flange 32. Has been placed. In the longitudinal member 4, the vertical portion 42 is fixed to the rising portion 55 of the lower fixing portion 51, and a horizontal portion 41 is provided from the lower end of the vertical portion 42 in a direction away from the beam 3. The damping rubber 14 is placed on the upper surface of the horizontal portion 41 of the longitudinal member 4, and the end of the floor board material 2 is placed on the horizontal portion 41 via the damping rubber 14, so that the floor board material is placed. It is possible to suppress the transmission of the vibration 2 to the beam 3 and improve the soundproofing performance.

床板材2は、図1に示すように、矩形平板の押出成形セメント板であり、長手方向に一端から他端に至る複数の貫通孔からなる中空部21が設けられている。中空部21には砂状の無機材を充填しており、これによって防音性能や衝撃遮断性能を高めている。床板材2は、両側の梁3にそれぞれ固定されている長手材4にそれぞれの端部が載置されて、長手材4の間に架設されるように配置される。   As shown in FIG. 1, the floor board material 2 is a rectangular flat extruded cement board, and is provided with a hollow portion 21 including a plurality of through holes extending from one end to the other end in the longitudinal direction. The hollow portion 21 is filled with a sand-like inorganic material, thereby enhancing soundproofing performance and impact shielding performance. The floor board material 2 is arranged so that each end is mounted on the longitudinal member 4 fixed to the beams 3 on both sides and is laid between the longitudinal members 4.

嵌合部6は、図2に示すように、長手材4の鉛直部42に嵌合するバネ鋼からなる部材である。嵌合部6のの下端には、長手材4の鉛直部42の下端に係る2つの突片61が形成されている。また、嵌合部6の上端には、鉛直部42の上端に引っ掛かるフック部62が形成されている。嵌合部6の背面にはボルト接続部15が固定されている。ボルト接続部15は、嵌合部6の背面にかしめ固定されて上部が嵌合部6の上方を覆うように水平に折り曲げられている。ボルト接続部15の水平な上部には、ボルト部7が上方を向くように溶接固定されている。ボルト部7は、嵌合部6の上方でボルト接続部15から突出しており、ボルト部7の上端は長手材4の水平部41に載置された床板材2の上面よりも高くなる。   As shown in FIG. 2, the fitting portion 6 is a member made of spring steel that fits into the vertical portion 42 of the longitudinal member 4. Two projecting pieces 61 related to the lower end of the vertical portion 42 of the longitudinal member 4 are formed at the lower end of the fitting portion 6. Further, a hook portion 62 that is hooked on the upper end of the vertical portion 42 is formed at the upper end of the fitting portion 6. A bolt connection portion 15 is fixed to the back surface of the fitting portion 6. The bolt connection portion 15 is caulked and fixed to the back surface of the fitting portion 6, and is bent horizontally so that the upper portion covers the upper portion of the fitting portion 6. The bolt part 7 is welded and fixed to the horizontal upper part of the bolt connection part 15 so as to face upward. The bolt portion 7 protrudes from the bolt connecting portion 15 above the fitting portion 6, and the upper end of the bolt portion 7 is higher than the upper surface of the floor board material 2 placed on the horizontal portion 41 of the longitudinal member 4.

押さえ片8は、鉛直方向を向く垂れ部81と、垂れ部81の上端から水平方向に折れ曲がりボルト部7を挿入する挿入孔82が形成されたボルト挿入部83と、ボルト挿入部83よりも低く位置するように段が設けられており、床板材2の上面に当接する当接部84とを有している。垂れ部81は、ボルト部7の側面に当接して押さえ片8の姿勢を維持する姿勢保持部85が設けられている。ボルト挿入部83には、垂れ部81に寄った位置にボルト部7を挿入する挿入孔82が形成されており、ボルト挿入部83から当接部84にかけて上方に向けて線状に膨らむように形成された補強溝86が設けられている。押さえ片8はボルト部7に挿入孔82が外挿してその上方からボルト部7にナット9を螺合させて固定し、当接部84を床板材2の端部の上面に圧接させた状態で、当接部84と長手材4の水平部41とで挟んで固定している。   The holding piece 8 has a drooping portion 81 that faces in the vertical direction, a bolt insertion portion 83 in which an insertion hole 82 that is bent horizontally from the upper end of the dripping portion 81 is inserted, and is lower than the bolt insertion portion 83. A step is provided so as to be positioned, and a contact portion 84 that contacts the upper surface of the floor board material 2 is provided. The hanging portion 81 is provided with a posture holding portion 85 that contacts the side surface of the bolt portion 7 and maintains the posture of the pressing piece 8. The bolt insertion portion 83 is formed with an insertion hole 82 for inserting the bolt portion 7 at a position close to the drooping portion 81 so as to swell linearly upward from the bolt insertion portion 83 to the contact portion 84. A formed reinforcing groove 86 is provided. The holding piece 8 is inserted into the bolt portion 7 with an insertion hole 82 and is fixed by screwing a nut 9 into the bolt portion 7 from above, and the contact portion 84 is in pressure contact with the upper surface of the end portion of the floor board 2. Thus, the contact portion 84 and the horizontal portion 41 of the longitudinal member 4 are sandwiched and fixed.

なお、本実施形態では、嵌合部6、ボルト接続部15、ボルト部7、押さえ片8、及びナット9は、床板材2のそれぞれの短辺の中央付近に1つずつ配置されて床板材2を固定しているがこれに限定されるものではなく、床板材2の短辺にそれぞれ2つ以上配置されていても良い。   In the present embodiment, the fitting portion 6, the bolt connecting portion 15, the bolt portion 7, the holding piece 8, and the nut 9 are arranged one by one near the center of each short side of the floor board material 2, and the floor board material. However, the present invention is not limited to this, and two or more of them may be arranged on the short side of the floor board material 2.

床板材2の固定施工方法は、梁3を図示しない柱に架設した後、図3に示すように、当該梁3に固定片5を固定する。すなわち、梁3の上側のフランジ32に上部固定部52をボルト12及びナット13で固定し、梁3の下側のフランジ31に下部固定部51の基端部54をボルト10及びナット11で固定することで、梁3に固定片5を固定する。そして、長手材4の鉛直部42を固定片5の下部固定部51の立ち上がり部55に溶接し、長手材4の水平部41を固定片5の支持プレート53に溶接して、長手材4を固定片5に固定する。なお、長手材4と固定片5とは、梁3に固定片5を固定する前に予め固定されていてもよく、例えば工場などで予め長手材4と固定片5とが溶接固定された状態で建築現場に出荷されるものであっても良い。   In the method of fixing the floor board material 2, after the beam 3 is installed on a pillar (not shown), the fixing piece 5 is fixed to the beam 3 as shown in FIG. 3. That is, the upper fixing portion 52 is fixed to the upper flange 32 of the beam 3 with the bolt 12 and the nut 13, and the proximal end portion 54 of the lower fixing portion 51 is fixed to the lower flange 31 of the beam 3 with the bolt 10 and the nut 11. As a result, the fixing piece 5 is fixed to the beam 3. Then, the vertical portion 42 of the longitudinal member 4 is welded to the rising portion 55 of the lower fixing portion 51 of the fixed piece 5, the horizontal portion 41 of the longitudinal member 4 is welded to the support plate 53 of the fixed piece 5, and the longitudinal member 4 is Fix to the fixed piece 5. The longitudinal member 4 and the fixing piece 5 may be fixed in advance before the fixing piece 5 is fixed to the beam 3. For example, the longitudinal member 4 and the fixing piece 5 are fixed in advance by welding at a factory or the like. It may be shipped to the construction site.

次に長手材4の水平部41の上に制震ゴム14を配置して、その上に、図4に示すように、床板材2の端部を載置する。前述の通り床板材2はそれぞれの短辺が長手材4の水平部41に載置されて架設される。なお、床板材2の固定は例えば図示しないクレーン等で床板材2を吊り下げて行われる。床板材2が長手材4の水平部41の間に架設されると、次に、作業者が床板材2の上に乗って、図5に示すように、嵌合部6を下端から梁3と長手材4の鉛直部42との間の間隙に挿入する。   Next, the damping rubber 14 is disposed on the horizontal portion 41 of the longitudinal member 4, and the end portion of the floor board material 2 is placed thereon as shown in FIG. As described above, the floor board 2 is installed with the short sides thereof placed on the horizontal portion 41 of the longitudinal member 4. The floor board material 2 is fixed by, for example, hanging the floor board material 2 with a crane or the like (not shown). When the floor board material 2 is installed between the horizontal portions 41 of the longitudinal members 4, the operator then rides on the floor board material 2 and, as shown in FIG. And inserted into the gap between the vertical portion 42 of the longitudinal member 4.

嵌合部6の下端の突片61の突出長さは梁3と長手材4の鉛直部42との間の間隙に挿入可能な長さである。嵌合部6は下端を梁3と長手材4の鉛直部42との間に挿入しつつ、嵌合部6の上端のフック部62を長手材4の鉛直部42の上端に引っ掛けるように押し込む。嵌合部6は例えばバネ鋼のような弾性を有する材料で形成されていることで、長手材4の鉛直部42の上端にフック部62を引っ掛けつつ、嵌合部6を梁3と長手材4の鉛直部42との間に挿入することができる。そして、図6に示すように、嵌合部6の突片61を長手材4の鉛直部42の下端に掛ける。嵌合部6は突片61が鉛直部42の下端に掛かり、フック部62が鉛直部42の上端に引っ掛かかることで、長手材4に嵌合して固定される。   The protruding length of the protruding piece 61 at the lower end of the fitting portion 6 is a length that can be inserted into the gap between the beam 3 and the vertical portion 42 of the longitudinal member 4. The fitting portion 6 is pushed so that the hook portion 62 at the upper end of the fitting portion 6 is hooked on the upper end of the vertical portion 42 of the longitudinal member 4 while the lower end is inserted between the beam 3 and the vertical portion 42 of the longitudinal member 4. . The fitting portion 6 is formed of an elastic material such as spring steel, for example, so that the fitting portion 6 is connected to the beam 3 and the longitudinal member while the hook portion 62 is hooked on the upper end of the vertical portion 42 of the longitudinal member 4. 4 vertical portions 42 can be inserted. Then, as shown in FIG. 6, the protruding piece 61 of the fitting portion 6 is hung on the lower end of the vertical portion 42 of the longitudinal member 4. The fitting portion 6 is fitted and fixed to the longitudinal member 4 by the protruding piece 61 hooking on the lower end of the vertical portion 42 and the hook portion 62 hooking on the upper end of the vertical portion 42.

以上のようにすると、図6に示すように嵌合部6が長手材4に固定され、嵌合部6の上方にボルト接続部15を介してボルト部7が固定される。そして、ボルト部7の上から押さえ片8の挿入孔82を外挿し、さらにその上からボルト部7にナット9を螺合させて固定し、当接部84を床板材2の端部の上面に圧接させた状態で、当接部84と長手材4の水平部41とで挟んで固定する。このとき押さえ片8の垂れ部81の姿勢保持部85がボルト部7の側面に当接して押さえ片8の姿勢を適切に保持するとともに、押さえ片8の当接部84の回転止め87が床板材2の上面に当接してナット9の回転にともなって押さえ片8が供回りすることを抑制することができる。   As described above, the fitting portion 6 is fixed to the longitudinal member 4 as shown in FIG. 6, and the bolt portion 7 is fixed above the fitting portion 6 via the bolt connection portion 15. Then, the insertion hole 82 of the pressing piece 8 is extrapolated from above the bolt part 7, and further, the nut 9 is screwed and fixed to the bolt part 7 from above, and the contact part 84 is the upper surface of the end of the floor board material 2. In this state, the contact portion 84 and the horizontal portion 41 of the longitudinal member 4 are sandwiched and fixed. At this time, the posture holding portion 85 of the hanging portion 81 of the pressing piece 8 abuts against the side surface of the bolt portion 7 to appropriately hold the posture of the pressing piece 8, and the rotation stop 87 of the abutting portion 84 of the pressing piece 8 is the floor. It is possible to prevent the pressing piece 8 from being brought into contact with the upper surface of the plate member 2 as the nut 9 rotates.

このように本実施形態の床板材の固定構造1によると、床板材2は、長手材4の水平部41と押さえ片8とで挟んで固定しているので、床板材2自体にボルト孔などの加工を施すことなく、床板材2を梁3に簡単に固定することができる。また、床板材2を貫通するようなボルトなどの部材を設ける必要がないことで、床板材2の中空部21に充填材を詰めることができ、防音性や耐衝撃性に優れた床板材2とすることができる。そして、床板材2の上から作業を行うことができるので、下階側から例えば脚立に立って作業する場合のように不安定な足場で作業する必要がなく、作業の安全性を高めることができるとともに、床板材2の上側から下階側に移動する必要がないので、作業の効率を高めることができる。   As described above, according to the fixing structure 1 of the floor board material of the present embodiment, the floor board material 2 is fixed by being sandwiched between the horizontal portion 41 of the longitudinal member 4 and the pressing piece 8, so that a bolt hole or the like is provided in the floor board material 2 itself. The floor board material 2 can be easily fixed to the beam 3 without performing the above processing. Further, since it is not necessary to provide a member such as a bolt penetrating the floor board material 2, the hollow material 21 of the floor board material 2 can be filled with a filler, and the floor board material 2 having excellent soundproofing and impact resistance. It can be. And since work can be performed from the top of the floor board material 2, it is not necessary to work on an unstable scaffold, for example, when standing on a stepladder from the lower floor side, and the safety of the work can be improved. In addition, since it is not necessary to move from the upper side of the floor board material 2 to the lower floor side, work efficiency can be increased.

なお、本発明の実施の形態は上述の形態に限ることなく、本発明の思想の範囲を逸脱しない範囲で適宜変更することができることは云うまでもない。   Needless to say, the embodiment of the present invention is not limited to the above-described embodiment, and can be appropriately changed without departing from the scope of the idea of the present invention.

本発明に係る床板材の固定構造1及び床板材の固定施工方法は、例えば押出成形セメント板の床板材を梁3に固定する構造及び施工方法として、好適に用いることができる。   The floor board material fixing structure 1 and the floor board material fixing construction method according to the present invention can be suitably used, for example, as a structure and construction method for fixing a floor board material of an extruded cement board to a beam 3.

1 床板材の固定構造
2 床板材
3 梁
4 長手材
6 嵌合部
7 ボルト部
8 押さえ片
9 ナット
41 水平部
42 鉛直部
61 突片
62 フック部
DESCRIPTION OF SYMBOLS 1 Fixing structure of floor board material 2 Floor board material 3 Beam 4 Longitudinal material 6 Fitting part 7 Bolt part 8 Holding piece 9 Nut 41 Horizontal part 42 Vertical part 61 Projection piece 62 Hook part

Claims (4)

水平に設けられる梁と、
前記梁に平行に固定されており、少なくとも水平部を有する長手材と、
端部が前記水平部に載置される床板材と、
下端に前記長手材の下面に引っ掛かる水平な突片を有し、当該長手材に嵌合する嵌合部と、
前記嵌合部の上方に突出して設けられるボルト部と、
前記ボルト部に挿入される挿入孔を有し、前記床板材の上面に当接する押さえ片と、
前記押さえ片の上から前記ボルト部に螺合するナットと、を備え、
前記水平部と前記押さえ片とで前記床板材を挟んで固定してなることを特徴とする床板材の固定構造。
A horizontal beam,
A longitudinal member fixed in parallel to the beam and having at least a horizontal portion;
A floor board material whose end is placed on the horizontal part;
A lower end of the longitudinal member that has a horizontal protruding piece that is hooked on the lower end, and a fitting portion that fits the longitudinal member;
A bolt portion provided to protrude above the fitting portion;
A holding piece that has an insertion hole to be inserted into the bolt part and abuts against an upper surface of the floor board material;
A nut screwed onto the bolt portion from above the pressing piece,
The floor board material fixing structure, wherein the floor board material is fixed by being sandwiched between the horizontal portion and the pressing piece.
前記床板材は充填材を挿入可能な中空部を有することを特徴とする請求項1に記載の床板材の固定構造。   The said floor board material has a hollow part which can insert a filler, The fixing structure of the floor board material of Claim 1 characterized by the above-mentioned. 前記長手材は前記梁に間隙を開けて鉛直部が設けられるとともに当該鉛直部の下端から前記梁と離反する方向に延びる水平部が設けられ、前記梁に固定片を介して平行に固定されたアングルであり、
前記嵌合部はその下端に前記鉛直部の下端に係る前記突片を有するとともにその上端に前記鉛直部の上端に引っ掛かるフック部を有する弾性体であり、
前記突片の突出長さは前記間隙に挿入可能な長さであることを特徴とする請求項1又は請求項2に記載の床板材の固定構造。
The longitudinal member is provided with a vertical portion with a gap in the beam and a horizontal portion extending in a direction away from the beam from the lower end of the vertical portion, and is fixed to the beam in parallel via a fixing piece. Angle,
The fitting portion is an elastic body that has the projecting piece related to the lower end of the vertical portion at the lower end and a hook portion that hooks on the upper end of the vertical portion at the upper end,
The floor board material fixing structure according to claim 1, wherein the protruding length of the protruding piece is a length that can be inserted into the gap.
請求項3に記載の床板材の固定構造の施工方法であって、
前記アングルの前記水平部に前記床板材の端部を載置して当該床板材を配置し、
上方から前記梁と前記鉛直部との間隙に前記嵌合部を下端側から挿入し、
前記突片を前記鉛直部の下端に引っ掛けるとともに、前記フック部を前記鉛直部の上端に引っ掛けて固定し、
前記ボルト部に前記押さえ片を外挿させて、当該ボルト部と前記ナットとを締結することで、前記押さえ片を前記床板材の上面に圧接させ、
前記押さえ片と前記水平部とで、前記床板材の端部を挟持することを特徴とする床板材の固定施工方法。
It is a construction method of the fixed structure of the floor board material according to claim 3,
Placing the end of the floorboard material on the horizontal portion of the angle and placing the floorboard material;
Insert the fitting part into the gap between the beam and the vertical part from above from the lower end side,
While hooking the protruding piece to the lower end of the vertical part, hook the hook part to the upper end of the vertical part and fix,
By extrapolating the pressing piece to the bolt part and fastening the bolt part and the nut, the pressing piece is pressed against the upper surface of the floor board material,
The floor board material fixing construction method, wherein an end portion of the floor board material is sandwiched between the pressing piece and the horizontal portion.
JP2016190987A 2016-09-29 2016-09-29 Floor board fixing structure and floor board fixing method Active JP6366203B2 (en)

Priority Applications (1)

Application Number Priority Date Filing Date Title
JP2016190987A JP6366203B2 (en) 2016-09-29 2016-09-29 Floor board fixing structure and floor board fixing method

Applications Claiming Priority (1)

Application Number Priority Date Filing Date Title
JP2016190987A JP6366203B2 (en) 2016-09-29 2016-09-29 Floor board fixing structure and floor board fixing method

Publications (2)

Publication Number Publication Date
JP2018053566A true JP2018053566A (en) 2018-04-05
JP6366203B2 JP6366203B2 (en) 2018-08-01

Family

ID=61836261

Family Applications (1)

Application Number Title Priority Date Filing Date
JP2016190987A Active JP6366203B2 (en) 2016-09-29 2016-09-29 Floor board fixing structure and floor board fixing method

Country Status (1)

Country Link
JP (1) JP6366203B2 (en)

Cited By (1)

* Cited by examiner, † Cited by third party
Publication number Priority date Publication date Assignee Title
CN111206491A (en) * 2020-01-17 2020-05-29 重庆交通大学 Cooperative locking mechanism of Bailey sheet and distribution beam

Citations (6)

* Cited by examiner, † Cited by third party
Publication number Priority date Publication date Assignee Title
JPS63201103U (en) * 1987-06-18 1988-12-26
JPH09221863A (en) * 1996-02-20 1997-08-26 Sumitomo Forestry Co Ltd Fitting structure of alc panel for floor or roof
JP2000054540A (en) * 1998-08-06 2000-02-22 Sekisui House Ltd Slab structure
JP2002030754A (en) * 2000-07-14 2002-01-31 East Japan Railway Co Support method for PC floorboard
JP2003013531A (en) * 2001-06-28 2003-01-15 Asahi Kasei Corp Floor panel mounting structure
US20110088348A1 (en) * 2007-06-22 2011-04-21 Housh Rahimzadeh Framing structure

Patent Citations (6)

* Cited by examiner, † Cited by third party
Publication number Priority date Publication date Assignee Title
JPS63201103U (en) * 1987-06-18 1988-12-26
JPH09221863A (en) * 1996-02-20 1997-08-26 Sumitomo Forestry Co Ltd Fitting structure of alc panel for floor or roof
JP2000054540A (en) * 1998-08-06 2000-02-22 Sekisui House Ltd Slab structure
JP2002030754A (en) * 2000-07-14 2002-01-31 East Japan Railway Co Support method for PC floorboard
JP2003013531A (en) * 2001-06-28 2003-01-15 Asahi Kasei Corp Floor panel mounting structure
US20110088348A1 (en) * 2007-06-22 2011-04-21 Housh Rahimzadeh Framing structure

Cited By (1)

* Cited by examiner, † Cited by third party
Publication number Priority date Publication date Assignee Title
CN111206491A (en) * 2020-01-17 2020-05-29 重庆交通大学 Cooperative locking mechanism of Bailey sheet and distribution beam

Also Published As

Publication number Publication date
JP6366203B2 (en) 2018-08-01

Similar Documents

Publication Publication Date Title
FI20206032A1 (en) Arrangements for fixing solar panels
JP6366203B2 (en) Floor board fixing structure and floor board fixing method
JP2009046968A (en) New base material and its mounting structure
JP5748325B2 (en) Solar panel mount for slate roof
JP2016008479A (en) Ceiling board mounting apparatus, ceiling structure using the same, and construction method therefor
JP4654218B2 (en) Fixing bracket for origami roofing material
JP7693371B2 (en) Ceiling base structure
JP2007146405A (en) Wall panel mounting method and mounting device
JP2776476B2 (en) Fastening structure of extruded cement board
JP2020076252A (en) Metal fittings for construction
JP2013227732A (en) Fixture for building
JP5427059B2 (en) Corner wall panel mounting method and structure
JP7721133B2 (en) Ceiling support bracket, its installation method, ceiling material mounting structure using this ceiling support bracket, and exterior structure
JP5289924B2 (en) Fixing base material for equipment and panel having the same
JP3377871B2 (en) Wall panel mounting structure
JP7535618B1 (en) Suspended folded plate roof and its construction method
JP7158250B2 (en) Fixing structure for building members
JP7695614B2 (en) Exterior wall mounting structure and construction method for the exterior wall mounting structure
JP7349677B2 (en) Support structure of temporary handrail
JP7646150B2 (en) Hanging hardware
JP5431770B2 (en) Seismic structure of floor panel
JP2009138445A (en) Supporting brackets for mounting the ceiling panel to the building and the mounting structure of the ceiling panel
JP5822588B2 (en) Construction panel mounting aid and construction panel mounting structure
JP2002146973A (en) Jig and structure for renewing external facing material
KR20110018619A (en) Panel fixing device of building and its installation structure

Legal Events

Date Code Title Description
A977 Report on retrieval

Free format text: JAPANESE INTERMEDIATE CODE: A971007

Effective date: 20180612

TRDD Decision of grant or rejection written
A01 Written decision to grant a patent or to grant a registration (utility model)

Free format text: JAPANESE INTERMEDIATE CODE: A01

Effective date: 20180628

A61 First payment of annual fees (during grant procedure)

Free format text: JAPANESE INTERMEDIATE CODE: A61

Effective date: 20180702

R150 Certificate of patent or registration of utility model

Ref document number: 6366203

Country of ref document: JP

Free format text: JAPANESE INTERMEDIATE CODE: R150

R250 Receipt of annual fees

Free format text: JAPANESE INTERMEDIATE CODE: R250

R250 Receipt of annual fees

Free format text: JAPANESE INTERMEDIATE CODE: R250