JP2018017017A - Cap for foundation pile, and installation method of support post - Google Patents

Cap for foundation pile, and installation method of support post Download PDF

Info

Publication number
JP2018017017A
JP2018017017A JP2016147985A JP2016147985A JP2018017017A JP 2018017017 A JP2018017017 A JP 2018017017A JP 2016147985 A JP2016147985 A JP 2016147985A JP 2016147985 A JP2016147985 A JP 2016147985A JP 2018017017 A JP2018017017 A JP 2018017017A
Authority
JP
Japan
Prior art keywords
foundation pile
cap
hole
foundation
column
Prior art date
Legal status (The legal status is an assumption and is not a legal conclusion. Google has not performed a legal analysis and makes no representation as to the accuracy of the status listed.)
Granted
Application number
JP2016147985A
Other languages
Japanese (ja)
Other versions
JP6771980B2 (en
Inventor
小川 徹
Toru Ogawa
徹 小川
前川 拓也
Takuya Maekawa
拓也 前川
Current Assignee (The listed assignees may be inaccurate. Google has not performed a legal analysis and makes no representation or warranty as to the accuracy of the list.)
Sekisui Jushi Corp
Original Assignee
Sekisui Jushi Corp
Priority date (The priority date is an assumption and is not a legal conclusion. Google has not performed a legal analysis and makes no representation as to the accuracy of the date listed.)
Filing date
Publication date
Application filed by Sekisui Jushi Corp filed Critical Sekisui Jushi Corp
Priority to JP2016147985A priority Critical patent/JP6771980B2/en
Publication of JP2018017017A publication Critical patent/JP2018017017A/en
Application granted granted Critical
Publication of JP6771980B2 publication Critical patent/JP6771980B2/en
Active legal-status Critical Current
Anticipated expiration legal-status Critical

Links

Images

Landscapes

  • Foundations (AREA)

Abstract

PROBLEM TO BE SOLVED: To provide a cap that facilitates fitting of a support post on a foundation pile.SOLUTION: A cap for a foundation pile is a cap 41 fitted on a top edge part 32 of a tubular foundation pile 31 buried in a ground 20, and includes a ring-form disc 42, a hanging piece 43 hanging from a peripheral edge of the disc, and a through-hole 44 communicating a space above the foundation pile 31 and an outdoor space outside of the foundation pile 31 while the cap is fitted on the top edge part 32 of the foundation pile 31. The top edge part 32 of the foundation pile 31 is covered by the disc 42, the hanging piece 43, and a side wall surface part of the through-hole 44. The through-hole 44 includes a tapered part 47 of which a diameter gradually decreases toward an opening bottom end 46.SELECTED DRAWING: Figure 2

Description

本発明は、フェンス、看板、標識等の設置物の支柱を地面に立設するための基礎杭を用いるキャップ及びそのキャップを取付けた基礎杭に支柱を設置するための設置方法に関する。   The present invention relates to a cap using a foundation pile for standing a support column of an installation such as a fence, a signboard, and a sign on the ground, and an installation method for installing the column on a foundation pile to which the cap is attached.

従来から、フェンス、看板、標識等の設置物を地面に設置する際は、地面に基礎が埋設され、その基礎に設置物の支柱が挿入されて設置物の支柱が地面に立設される。
基礎の設置方法としては、支柱が挿入される支柱固定用孔を上面に有するコンクリートブロックを埋設する方法(例えば、特許文献1参照)があるが、この方法では、地面を大きく掘削して穴を形成する必要があり、手間が掛かるという問題がある。
このような問題に対し、金属製の管状の基礎杭を地面に打ち込む方法がある(例えば、特許文献2参照)。
Conventionally, when installing an installation such as a fence, a signboard, a sign, or the like on the ground, a foundation is embedded in the ground, and a support column of the installation object is inserted into the foundation, and the support column of the installation is erected on the ground.
As a method of installing the foundation, there is a method of embedding a concrete block having a column fixing hole into which a column is inserted on the upper surface (see, for example, Patent Document 1). There is a problem that it needs to be formed and takes time and effort.
For such a problem, there is a method of driving a metal tubular foundation pile into the ground (for example, see Patent Document 2).

特開2006−299530号公報JP 2006-299530 A 特開2000−64306号公報JP 2000-64306 A

しかしながら、特許文献2に開示されている従来の基礎杭の打ち込みにおいて、基礎杭は一般に円筒状のものを用いられるが、支柱は、円筒状のものばかりではなく、断面長方形状、正方形状の角筒状のものを用いられることも多いため、前者においては基礎杭の内径に比べ支柱の外径が小さい場合や後者の支柱では、基礎杭と支柱との間に隙間が生じやすく、施工時に支柱が傾きやすく、また基礎杭に対する位置調整も煩わしいという問題があった。
そこで、本発明は、かかる問題点に鑑み、基礎杭に対して支柱を取付けやすくするためのキャップ及びこのキャップを用いた支柱の設置方法を提供することを目的とする。
However, in the driving of the conventional foundation pile disclosed in Patent Document 2, the foundation pile is generally a cylindrical one, but the column is not only a cylindrical one but also a rectangular cross section, a square corner. Since the cylinder is often used, in the former case, when the outer diameter of the column is smaller than the inner diameter of the foundation pile or in the latter column, a gap is easily generated between the foundation pile and the column. However, there was a problem that the position of the foundation pile was troublesome.
Then, an object of this invention is to provide the cap for making it easy to attach a support | pillar with respect to a foundation pile, and the installation method of the support | pillar using this cap in view of this problem.

上記目的を達成するために、本発明に係る基礎杭用キャップは、地面に埋設した管状の基礎杭の上端部に取付けるキャップであって、リング状の円板とその外周縁から垂下する垂下片と、基礎杭の上端部に取付けられた状態で基礎杭の上部空間と基礎杭外の外部空間とを連通する貫通孔とを備え、前記円板と垂下片と貫通孔の側壁面部とによって基礎杭の上端部が覆われるとともに、前記貫通孔は、開口下端に向けて徐々に小径となるテーパ部を有していることを特徴とするものである。   In order to achieve the above object, a foundation pile cap according to the present invention is a cap attached to the upper end portion of a tubular foundation pile embedded in the ground, and is a hanging piece hanging from a ring-shaped disk and its outer periphery. And a through-hole communicating with the upper space of the foundation pile and the external space outside the foundation pile in a state of being attached to the upper end of the foundation pile, and the foundation by the disk, the hanging piece, and the side wall surface portion of the through-hole. While the upper end part of a pile is covered, the said through-hole has the taper part which becomes a small diameter gradually toward an opening lower end, It is characterized by the above-mentioned.

また、本発明に係る支柱の設置方法は、前記キャップが取付けられた基礎杭に支柱を設置する支柱の設置方法であって、基礎杭の上端部が地面から突き出た状態で埋設する埋設工程と、前記基礎杭の上端部にキャップを取付ける工程と、前記キャップに設けられた、基礎杭の上部空間と基礎杭外の外部空間とを連通するとともに、開口下端に向けて徐々に小径となるテーパ部を有する貫通孔に支柱を挿入する挿入工程と、基礎杭内及びテーパ部の内部空間をモルタルで充填する充填工程とを含むことを特徴とするものである。   Further, the column installation method according to the present invention is a column installation method in which a column is installed on a foundation pile to which the cap is attached, and an embedding step in which the upper end of the foundation pile projects from the ground. The step of attaching a cap to the upper end portion of the foundation pile, and the taper that is provided in the cap and communicates with the upper space of the foundation pile and the external space outside the foundation pile, and gradually decreases in diameter toward the lower end of the opening. It includes an insertion step of inserting a column into a through-hole having a portion, and a filling step of filling the internal space of the foundation pile and the tapered portion with mortar.

本発明の基礎杭用キャップによれば、キャップの貫通孔は、開口下端に向けて徐々に小径となるテーパ部を有しているので、貫通孔内に支柱を通して、セメント、モルタル等の充填材で充填し固化することによって、キャップは基礎杭から容易に外れなくなる。   According to the foundation pile cap of the present invention, the through hole of the cap has a tapered portion that gradually decreases in diameter toward the lower end of the opening, so that a filler such as cement and mortar is passed through the support in the through hole. By filling and solidifying with, the cap will not easily come off the foundation pile.

また、本発明の支柱の設置方法によれば、基礎杭に取付けられたキャップにより、テーパ部に支柱を通すと開口下端の位置に誘導されるので、支柱を所定の位置に誘導するとともに、傾いたりしにくくなり、基礎杭に支柱を取付けやすくなる。   In addition, according to the method of installing the support of the present invention, the cap attached to the foundation pile is guided to the position of the lower end of the opening when the support is passed through the tapered portion, so that the support is guided to a predetermined position and tilted. This makes it easier to attach the column to the foundation pile.

本発明の第1の実施形態に係る基礎杭の設置方法を説明するための斜視図である。It is a perspective view for demonstrating the installation method of the foundation pile which concerns on the 1st Embodiment of this invention. 本発明の第1の実施形態に係る基礎杭の設置方法を説明するための斜視図である。It is a perspective view for demonstrating the installation method of the foundation pile which concerns on the 1st Embodiment of this invention. 図2(b)の主要部の説明図である。It is explanatory drawing of the principal part of FIG.2 (b). 図2(d)の主要部の説明図である。It is explanatory drawing of the principal part of FIG.2 (d). 図4の主要部の平面図である。It is a top view of the principal part of FIG. 図2(d)の主要部の説明図である。It is explanatory drawing of the principal part of FIG.2 (d).

以下、本発明の実施形態について、図面を用いて詳細に説明する。   Hereinafter, embodiments of the present invention will be described in detail with reference to the drawings.

(第1の実施形態)
本発明に係る支柱の設置方法の実施の一形態について、図1及び図2を用いて説明する。
(First embodiment)
One embodiment of the column installation method according to the present invention will be described with reference to FIGS.

図1及び図2は、本実施形態に係る基礎杭の設置方法を説明するための図である。
最初に、図1(a)に示されるように、地面20における基礎を設置する箇所の上に円管状の基礎杭31を立設すると共に、基礎杭31の上方に打ち込み部材10を配置する。
ここで、打ち込み部材10は、基礎杭31の上端の円形状の開口33の幅(直径)D1よりも小さな幅(直径)D2の幅狭部12を下端に有すると共に開口33よりも大きな幅(直径)D3の幅広部11を幅狭部12の上方に有する治具である。幅狭部12及び幅広部11は共に円盤状の板材であり、主面が平行になるように配置された状態で連結されている。
FIG.1 and FIG.2 is a figure for demonstrating the installation method of the foundation pile which concerns on this embodiment.
First, as shown in FIG. 1A, a tubular foundation pile 31 is erected on a place where a foundation is installed on the ground 20, and the driving member 10 is disposed above the foundation pile 31.
Here, the driving member 10 has a narrow portion 12 having a width (diameter) D2 smaller than the width (diameter) D1 of the circular opening 33 at the upper end of the foundation pile 31 at the lower end and a width larger than the opening 33 ( A jig having a wide portion 11 having a diameter D3 above the narrow portion 12. The narrow portion 12 and the wide portion 11 are both disk-shaped plate members and are connected in a state where the main surfaces are arranged in parallel.

また、打ち込み部材10は、さらに、幅狭部12及び幅広部11の間に配置され、幅狭部12及び幅広部11の重心同士を連結する棒材13と、幅広部11の上方に配置され、下端が幅広部11と連結された棒材14とを有している。棒材13は、幅狭部12の幅D2と比較して更に小さい径を持つため、幅狭部12と共に基礎杭31の上端の開口33内に挿入可能である。棒材14は、打ち込み部材10を所定の位置に配置する際に、作業者が手で掴む把持部である。なお、棒材13及び14は、別々の棒材ではなく、幅広部11を貫通する1つの棒材とされてもよい。   Further, the driving member 10 is further disposed between the narrow portion 12 and the wide portion 11, and is disposed above the wide portion 11 and the bar 13 that connects the centers of gravity of the narrow portion 12 and the wide portion 11. The lower end has a bar 14 connected to the wide portion 11. Since the bar 13 has a smaller diameter than the width D <b> 2 of the narrow portion 12, it can be inserted into the opening 33 at the upper end of the foundation pile 31 together with the narrow portion 12. The bar 14 is a gripping part that an operator grips with a hand when placing the driving member 10 at a predetermined position. The bars 13 and 14 may be one bar that penetrates the wide portion 11 instead of separate bars.

次に、図1(b)に示されるように、基礎杭31の上端の開口33内に、打ち込み部材10の幅狭部12及び棒材13を挿入し、幅広部11の周縁が基礎杭31の上端に引っ掛かるまで下方に向かって押し入れる。この引っ掛かった状態では、幅広部11の下面が基礎杭31上端の開口端面に当接して基礎杭31の上端の開口33が幅広部11で蓋をされている。そして、幅狭部12は、基礎杭31の下端の開口から突き出ることなく基礎杭31内に位置し、基礎杭31内の空間を上部空間及び下部空間の2つに隔てている。   Next, as shown in FIG. 1B, the narrow portion 12 and the bar 13 of the driving member 10 are inserted into the opening 33 at the upper end of the foundation pile 31, and the periphery of the wide portion 11 is the foundation pile 31. Push it down until it catches on the top edge. In this hooked state, the lower surface of the wide portion 11 is in contact with the opening end surface of the upper end of the foundation pile 31, and the opening 33 at the upper end of the foundation pile 31 is covered with the wide portion 11. And the narrow part 12 is located in the foundation pile 31, without protruding from the opening of the lower end of the foundation pile 31, and has divided the space in the foundation pile 31 into two, upper space and lower space.

次に、図1(c)及び図1(d)に示されるように、打ち込み部材10の棒材14の上端をハンマー等の工具30により下方に向けて叩いて、打ち込み部材10の幅広部11を基礎杭31上端の開口端面に押し付けることにより、基礎杭31を地面20に押し付けて打ち込む。そして、基礎杭31の上端部32が少しだけ地面20から突き出た状態となったときに(図1(d))、基礎杭31の打ち込みを終える。なお、幅広部11を把持して打ち込み部材10を所定の位置に配置できる場合、打ち込み部材10に棒材14は設けられなくてもよく、この構成においては工具30により幅広部11の上面が叩かれて基礎杭31の打ち込みが行われる。   Next, as shown in FIG. 1C and FIG. 1D, the upper end of the bar 14 of the driving member 10 is struck downward with a tool 30 such as a hammer so that the wide portion 11 of the driving member 10 is widened. Is pressed against the ground 20 by driving it against the open end face of the upper end of the foundation pile 31. Then, when the upper end 32 of the foundation pile 31 is slightly protruded from the ground 20 (FIG. 1D), the driving of the foundation pile 31 is finished. When the driving member 10 can be disposed at a predetermined position by gripping the wide portion 11, the bar 14 may not be provided on the driving member 10, and in this configuration, the upper surface of the wide portion 11 is beaten by the tool 30. The foundation pile 31 is driven.

ここで、基礎杭31の打ち込みにおいて、基礎杭31が地中の深くに侵入するにしたがって基礎杭31の下端の開口より地中の土が基礎杭31内に徐々に侵入していく。しかしながら、図1(c)に示されるように、地中の土が幅狭部12まで侵入すると、侵入した土を幅狭部12が下方に押さえ付けるため、地中の土はこれ以上基礎杭31内に侵入しなくなる。その結果、図1(d)に示されるように、地面20への打ち込みが終了した基礎杭31において、基礎杭31内の幅狭部12で隔たれた下部空間及び上部空間のうち下部空間は全て地面20より下方に位置して地中の土で充填される一方、上部空間は一部が地面20より下方に位置して地中の土で充填されない。
また、基礎杭31の打ち込みにおいて、打ち込み部材10の幅広部11は、基礎杭31上端の開口端面に強く押し付けられる。従って、この押し付けにより大きな打撃音が発生したり、基礎杭31上端の開口端面が損傷を受けたりしないよう、幅広部11の基礎杭31上端の開口端面と当接する下面は、樹脂等の弾性や可撓性を有する軟性の材料により構成されることが好ましい。
Here, when the foundation pile 31 is driven, the underground soil gradually enters the foundation pile 31 through the opening at the lower end of the foundation pile 31 as the foundation pile 31 penetrates deep into the ground. However, as shown in FIG. 1 (c), when the underground soil penetrates to the narrow portion 12, the narrow portion 12 presses the invaded soil downward. No longer intrudes into 31. As a result, as shown in FIG. 1 (d), in the foundation pile 31 that has been driven into the ground 20, all of the lower space among the lower space and the upper space separated by the narrow portion 12 in the foundation pile 31 is present. While being located below the ground 20 and being filled with underground soil, the upper space is partially below the ground 20 and not being filled with underground soil.
Further, in driving the foundation pile 31, the wide portion 11 of the driving member 10 is strongly pressed against the open end surface of the upper end of the foundation pile 31. Therefore, the lower surface of the wide portion 11 that is in contact with the opening end surface of the foundation pile 31 is not elastic, such as resin, so that a large impact sound is not generated by this pressing and the opening end surface of the upper end of the foundation pile 31 is not damaged. It is preferable to be composed of a flexible soft material.

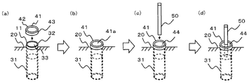
次に、図2(a)及び図2(b)に示されるように、基礎杭31内から打ち込み部材10を引き抜いた後、基礎杭31の地面20から突き出た上端部32に、上方から被せるようにキャップ41を取付ける。   Next, as shown in FIGS. 2A and 2B, after the driving member 10 is pulled out from the foundation pile 31, the upper end portion 32 protruding from the ground 20 of the foundation pile 31 is covered from above. Attach the cap 41 as shown.

図3は、図2(b)の主要部の説明図であって、キャップ41が取付けられた基礎杭31付近の拡大縦断面図を示すものである。キャップ41は、リング状の円板42とその外周縁から垂下する垂下片43とを有している。基礎杭31の上端部32にキャップ41の取り付ける際は、円板42が基礎杭31上端の開口端面上に接して位置すると共に、垂下片43が基礎杭31の上端部32の外周面に沿って位置するように基礎杭31に取付ける。これにより、打ち込み部材10の幅広部11に押し付けられて損傷し易い基礎杭31上端の開口端面をキャップ41により被覆し、雨水等により開口端面付近に錆が発生することを抑制し、錆が発生したとしても外から見えにくくすることができる。   FIG. 3 is an explanatory view of the main part of FIG. The cap 41 has a ring-shaped disk 42 and a hanging piece 43 that hangs down from the outer peripheral edge thereof. When the cap 41 is attached to the upper end portion 32 of the foundation pile 31, the disk 42 is positioned on the opening end surface of the upper end of the foundation pile 31, and the hanging piece 43 extends along the outer peripheral surface of the upper end portion 32 of the foundation pile 31. It attaches to the foundation pile 31 so that it may be located. As a result, the opening end surface of the upper end of the foundation pile 31 that is pressed against the wide portion 11 of the driving member 10 and easily damaged is covered with the cap 41, and the occurrence of rust near the opening end surface due to rainwater or the like is suppressed, and rust is generated. Even if it does, it can be made difficult to see from the outside.

キャップ41は、基礎杭31の上端部32に取付けられた状態で、基礎杭31の上部空間と基礎杭31の外の外部空間とを連通する貫通孔44を有している。そして、貫通孔44の側壁面部44aと円板42と垂下片43とにより、下方に開口する溝部45が形成されている。溝部45の横方向の幅D4は、基礎杭31の肉厚D5よりも十分大きな寸法となっている。   The cap 41 has a through hole 44 that connects the upper space of the foundation pile 31 and the external space outside the foundation pile 31 in a state of being attached to the upper end portion 32 of the foundation pile 31. A groove 45 that opens downward is formed by the side wall surface portion 44 a of the through hole 44, the disc 42, and the hanging piece 43. The width D4 in the lateral direction of the groove 45 is sufficiently larger than the thickness D5 of the foundation pile 31.

この構成により、打ち込み工程において、基礎杭31上端の開口端面が潰されたり、変形が生じたりしても、基礎杭31の上端部32にキャップ41を確実に取付けることができる。   With this configuration, the cap 41 can be reliably attached to the upper end portion 32 of the foundation pile 31 even if the opening end surface of the upper end of the foundation pile 31 is crushed or deformed in the driving step.

次に、図2(c)に示されているように、基礎杭31内の上部空間内に貫通孔44を通して設置物の支柱50を挿入する。続いて、図2(d)に示されているように、基礎杭31内の上部空間に、支柱50と基礎杭31との隙間(空洞)を埋めるように液状のセメントモルタル等の充填材(図示せず)を流し込み、基礎杭31内の上部空間を充填材で充填する。この上部空間に充填された充填材を硬化させることにより、支柱50を地面20に強固に立設することができる。   Next, as shown in FIG. 2C, the support column 50 of the installation object is inserted through the through hole 44 into the upper space in the foundation pile 31. Subsequently, as shown in FIG. 2 (d), a filler (such as liquid cement mortar) is filled in the upper space in the foundation pile 31 so as to fill a gap (cavity) between the support column 50 and the foundation pile 31. The upper space in the foundation pile 31 is filled with a filler. The support 50 can be firmly erected on the ground 20 by curing the filler filled in the upper space.

上記において、一般には、基礎杭31による充填工程と、支柱50の挿入工程とは、並行して実施されることが多いが、充填材の充填時期は、基礎杭31内から打ち込み部材10が引き抜かれた後であれば、作業上差し支えの内範囲で、どのタイミングで行われてもよい。   In the above, generally, the filling process by the foundation pile 31 and the insertion process of the support column 50 are often performed in parallel, but the filling member 10 is pulled from the foundation pile 31 at the filling time of the filler. If it is after it has been removed, it may be performed at any timing within the range of work support.

図4は図2(d)の主要部の説明図であって、基礎杭31内に充填材を充填する前における中央付近の主要部の縦断面図であり、図5は図4の主要部の平面図である。キャップ41の貫通孔44は、開口下端46に向けて徐々に小径となるテーパ部47を有している。   FIG. 4 is an explanatory view of the main part of FIG. 2 (d), and is a longitudinal sectional view of the main part near the center before filling the foundation pile 31 with the filler, and FIG. 5 is the main part of FIG. 4. FIG. The through hole 44 of the cap 41 has a tapered portion 47 that gradually decreases in diameter toward the lower end 46 of the opening.

この構成により、貫通孔44を通して基礎杭31に支柱50を挿入する際、支柱50の下端がテーパ部46の表面に接触しても開口下端46側に誘導される。また、基礎杭31に挿入された支柱50は、開口下端46によって横方向の動き規制される。この構成により、支柱50の横方向の位置合わせ作業が容易となる。本形態では、貫通孔44の開口下端46は、平面視円形状であって、キャップ41の平面視中央部に形成されており、支柱50を基礎杭31の平面視中央部に誘導しやすくなる。   With this configuration, when the column 50 is inserted into the foundation pile 31 through the through hole 44, the column 50 is guided to the opening lower end 46 side even if the lower end of the column 50 contacts the surface of the tapered portion 46. Further, the column 50 inserted into the foundation pile 31 is restricted in movement in the lateral direction by the lower end 46 of the opening. With this configuration, the horizontal alignment operation of the support column 50 is facilitated. In this embodiment, the lower open end 46 of the through hole 44 has a circular shape in plan view, and is formed in the center portion in plan view of the cap 41, so that the column 50 can be easily guided to the center portion in plan view of the foundation pile 31. .

図6は図2(d)の主要部の説明図であって、基礎杭31内に充填材60を充填した後における中央付近の主要部の縦断面図である。充填材60は基礎杭31内の上部空間を充填するとともに、テーパ部47の開口下端を経て貫通孔44の内部を充填しており、本形態では、キャップ41の上端まで充填して固化している。   FIG. 6 is an explanatory diagram of the main part of FIG. 2D, and is a longitudinal sectional view of the main part near the center after the filler 60 is filled in the foundation pile 31. The filling material 60 fills the upper space in the foundation pile 31 and fills the inside of the through hole 44 through the lower opening end of the taper portion 47. In this embodiment, the filling material 60 is filled up to the upper end of the cap 41 and solidified. Yes.

この構成により、キャップ41を上方に抜き出そうとしても、テーパ部47の内部空間で固化している充填材60によって阻止されるので、ビス等の固定具を用いなくても、キャップ41の上方向の移動が阻止される。   With this configuration, even if the cap 41 is to be pulled upward, it is blocked by the filler 60 solidified in the internal space of the taper portion 47, so that the top of the cap 41 can be obtained without using a fixing tool such as a screw. Directional movement is prevented.

更に、貫通孔44の外側も下端に向けて徐々に小径となる傾斜面部48が形成されている。この構成により、基礎杭31に充填材60を充填する際、基礎杭31と傾斜面部48との間にも充填材60が充填されやすくなる。また、キャップ41の溝部45の幅D4は基礎杭31の肉厚D5より十分に大きな寸法であるため、キャップ41は横方向には移動しやすいところ、この横方向の移動も制限されるので、前記のテーパ部47の効果と相まって、基礎杭31に対してキャップ41をしっかりと固定することができる。   Further, an inclined surface portion 48 having a gradually decreasing diameter toward the lower end is also formed on the outer side of the through hole 44. With this configuration, when the foundation pile 31 is filled with the filler 60, the filler 60 is easily filled between the foundation pile 31 and the inclined surface portion 48. Further, since the width D4 of the groove portion 45 of the cap 41 is sufficiently larger than the thickness D5 of the foundation pile 31, the cap 41 is easy to move in the lateral direction, but this lateral movement is also limited. In combination with the effect of the tapered portion 47, the cap 41 can be firmly fixed to the foundation pile 31.

以上のように本実施形態の基礎杭用キャップは、地面20に埋設した管状の基礎杭31の上端部32に取付けるキャップ41であって、リング状の円板42とその外周縁から垂下する垂下片43と、基礎杭31の上端部32に取付けられた状態で基礎杭31の上部空間と基礎杭31外の外部空間とを連通する貫通孔44とを備え、円板42と垂下片43と貫通孔44の側壁面部とによって基礎杭31の上端部32が覆われるとともに、前記貫通孔44は、開口下端46に向けて徐々に小径となるテーパ部47を有していることを特徴とする。   As described above, the foundation pile cap of the present embodiment is a cap 41 that is attached to the upper end portion 32 of the tubular foundation pile 31 embedded in the ground 20, and is suspended from the ring-shaped disk 42 and its outer periphery. A piece 43 and a through-hole 44 that communicates the upper space of the foundation pile 31 and the external space outside the foundation pile 31 in a state of being attached to the upper end 32 of the foundation pile 31; The upper end portion 32 of the foundation pile 31 is covered with the side wall surface portion of the through hole 44, and the through hole 44 has a tapered portion 47 that gradually decreases in diameter toward the lower end of the opening 46. .

この構成により、また、テーパ部47の内部空間に充填材6が充填されることによって、ビス等の固定具がなくてもキャップ41を基礎杭31に固定することができる。また、支柱50がテーパ部47の開口下端46を通過できる範囲で、基礎杭31に対して支柱50を所定の位置に誘導して立設することが可能となる。   With this configuration, the filler 41 is filled in the internal space of the taper portion 47, so that the cap 41 can be fixed to the foundation pile 31 without a fixing tool such as a screw. In addition, it is possible to guide the column 50 to a predetermined position with respect to the foundation pile 31 in a range where the column 50 can pass through the opening lower end 46 of the tapered portion 47.

以上のように本実施形態の支柱の設置方法は、地面に埋設した円管状の基礎杭31内に支柱50を挿入して立設させる支柱の設置方法であって、基礎杭31の上端部32が地面20から突き出た状態で埋設する埋設工程(図2(a))と、基礎杭31の上端部32にキャップ41を取付けるキャップ工程(図2(b))と、キャップ41に設けられた、基礎杭31の上部空間と基礎杭31外の外部空間とを連通するとともに、開口下端46に向けて徐々に小径となるテーパ部47を有する貫通孔44に支柱50を挿入する挿入工程(図2(c))と、基礎杭31内及びテーパ部47の内部空間を充填材6で充填する充填工程(図2(d))とを含む。   As described above, the column installation method according to the present embodiment is a column installation method in which the column 50 is inserted into the cylindrical foundation pile 31 embedded in the ground and is erected, and the upper end portion 32 of the foundation pile 31. Provided in the cap 41, an embedding step (FIG. 2A) for embedding in a state protruding from the ground 20, a cap step (FIG. 2B) for attaching the cap 41 to the upper end 32 of the foundation pile 31. The insertion step of inserting the column 50 into the through-hole 44 having a tapered portion 47 that gradually decreases in diameter toward the lower end 46 of the opening while communicating the upper space of the foundation pile 31 and the external space outside the foundation pile 31 (FIG. 2 (c)) and a filling step (FIG. 2 (d)) for filling the inside of the foundation pile 31 and the internal space of the tapered portion 47 with the filler 6.

この構成により、支柱50を基礎杭31に挿入する際、テーパ部47を有する貫通孔44を通るので、平面視において支柱50の挿入位置をテーパ部47の開口下端47に誘導し、支柱50挿入後は、開口下端47に規制されて支柱が傾きにくくなるので、支柱の立設作業が容易となる。   With this configuration, when the support column 50 is inserted into the foundation pile 31, the insertion position of the support column 50 is guided to the opening lower end 47 of the taper portion 47 in plan view so that the support column 50 is inserted. After that, the column is hardly tilted by being restricted by the opening lower end 47, so that the column erecting operation becomes easy.

以上、本発明の基礎杭用キャップ及び支柱の設置方法について、実施形態に基づいて説明したが、本発明は、これらの実施形態に限定されるものではない。本発明の要旨を逸脱しない範囲内で当業者が思いつく各種変形を施したものも本発明の範囲内に含まれる。   As mentioned above, although the installation method of the cap for foundation piles and support | pillar of this invention was demonstrated based on embodiment, this invention is not limited to these embodiment. The present invention includes various modifications made by those skilled in the art without departing from the scope of the present invention.

本発明は、支柱を地面に立設するための基礎杭用キャップ及びそのキャップが取付けられた基礎杭に支柱の設置する場合において広く利用することができる。   INDUSTRIAL APPLICABILITY The present invention can be widely used in the case where a pillar is installed on a foundation pile to which the pillar is erected on the ground and the foundation pile to which the cap is attached.

10 打ち込み部材
11 幅広部
12 幅狭部
13、14 棒材
20 地面
30 工具
31 基礎杭
32 上端部
33 開口
41 キャップ
42 平板
43 垂下片
44 貫通孔
44a 側壁面部
45 溝部
46 開口下端
47 テーパ部
48 傾斜面部
50 支柱
60 充填材
DESCRIPTION OF SYMBOLS 10 Driving member 11 Wide part 12 Narrow part 13, 14 Bar material 20 Ground 30 Tool 31 Foundation pile 32 Upper end part 33 Opening 41 Cap 42 Flat plate 43 Hanging piece 44 Through hole 44a Side wall surface part 45 Groove part 46 Opening lower end 47 Taper part 48 Inclination Surface 50 Strut 60 Filler

Claims (2)

地面に埋設した管状の基礎杭の上端部に取付けるキャップであって、
リング状の円板とその外周縁から垂下する垂下片と、基礎杭の上端部に取付けられた状態で基礎杭の上部空間と基礎杭外の外部空間とを連通する貫通孔とを備え、
前記円板と垂下片と貫通孔の側壁面部とによって基礎杭の上端部が覆われるとともに、
前記貫通孔は、開口下端に向けて徐々に小径となるテーパ部を有していることを特徴とする基礎杭用キャップ。
A cap attached to the upper end of a tubular foundation pile embedded in the ground,
A ring-shaped disk, a hanging piece that hangs down from the outer periphery thereof, and a through hole that communicates the upper space of the foundation pile and the external space outside the foundation pile in a state of being attached to the upper end of the foundation pile,
The upper end portion of the foundation pile is covered with the disk, the hanging piece, and the side wall surface portion of the through hole,
The said through-hole has a taper part which becomes a small diameter gradually toward an opening lower end, The cap for foundation piles characterized by the above-mentioned.
請求項1に記載のキャップが取付けられた基礎杭に支柱を設置する支柱の設置方法であって、
基礎杭の上端部が地面から突き出た状態で埋設する埋設工程と、
前記基礎杭の上端部にキャップを取付ける工程と、
前記キャップに設けられた、基礎杭の上部空間と基礎杭外の外部空間とを連通するとともに、開口下端に向けて徐々に小径となるテーパ部を有する貫通孔に支柱を挿入する挿入工程と、
基礎杭内及びテーパ部の内部空間をモルタルで充填する充填工程とを含むことを特徴とする支柱の設置方法。
A support installation method for installing a support pillar on a foundation pile to which the cap according to claim 1 is attached,
An embedment process in which the upper end of the foundation pile projects from the ground;
Attaching a cap to the upper end of the foundation pile;
An insertion step of inserting a column into a through-hole having a tapered portion that gradually decreases in diameter toward the lower end of the opening while communicating with the upper space of the foundation pile and the external space outside the foundation pile provided in the cap;
And a filling step of filling the interior space of the foundation pile and the tapered portion with mortar.
JP2016147985A 2016-07-28 2016-07-28 How to install the support Active JP6771980B2 (en)

Priority Applications (1)

Application Number Priority Date Filing Date Title
JP2016147985A JP6771980B2 (en) 2016-07-28 2016-07-28 How to install the support

Applications Claiming Priority (1)

Application Number Priority Date Filing Date Title
JP2016147985A JP6771980B2 (en) 2016-07-28 2016-07-28 How to install the support

Publications (2)

Publication Number Publication Date
JP2018017017A true JP2018017017A (en) 2018-02-01
JP6771980B2 JP6771980B2 (en) 2020-10-21

Family

ID=61081434

Family Applications (1)

Application Number Title Priority Date Filing Date
JP2016147985A Active JP6771980B2 (en) 2016-07-28 2016-07-28 How to install the support

Country Status (1)

Country Link
JP (1) JP6771980B2 (en)

Also Published As

Publication number Publication date
JP6771980B2 (en) 2020-10-21

Similar Documents

Publication Publication Date Title
KR101229250B1 (en) Pile type fence support device of fence
KR101513066B1 (en) Method for reinforcing masonry wall
JP2009228212A (en) Device for concrete construction
JP4420697B2 (en) Standing structure of steel pipe columns
JP2018017017A (en) Cap for foundation pile, and installation method of support post
KR101864173B1 (en) Ground attachment type retaining wall and Construction method of it
US20060283137A1 (en) Side-attached anchor bolt holding bracket
JP6558981B2 (en) How to install foundation pile
JP3936989B2 (en) Reinforcement method for concrete frame
JP2016130388A (en) Hole-in anchor, installation method for hole-in anchor, and frame for hole-in anchor
KR101631676B1 (en) Prefabricated support Equipment
JP6647778B2 (en) Post-installed anchor and its installation method
JP2013011053A (en) Anchor bolt holder for concrete foundation and retainer with anchor bolt
KR101036503B1 (en) Formwork Insulation Fixture
JP5766828B2 (en) Method for installing solar cell module installation stand and solar cell module installation stand
JP5828572B2 (en) How to build steel columns
KR101695720B1 (en) A based pile tip connected type based pile and construction method therefor
KR100763406B1 (en) Posts for fence
KR101663174B1 (en) A based pile with based pile tip and construction method therefor
KR101977762B1 (en) Anchor Bolt Hole making device to make hole for Anchor Bolt on Concrete depositing and Method thereof
JP2006016952A (en) Anchor, method for temporarily fixing it, and temporary fixing structure using the same
KR200443047Y1 (en) Anchor body for ground anchor
KR101438081B1 (en) A fixing device for a out side panel of building
JP2005248456A (en) Recessed section forming jig
JP6278937B2 (en) Round boxing fixing device

Legal Events

Date Code Title Description
A621 Written request for application examination

Free format text: JAPANESE INTERMEDIATE CODE: A621

Effective date: 20190322

A131 Notification of reasons for refusal

Free format text: JAPANESE INTERMEDIATE CODE: A131

Effective date: 20200204

A977 Report on retrieval

Free format text: JAPANESE INTERMEDIATE CODE: A971007

Effective date: 20200131

A521 Written amendment

Free format text: JAPANESE INTERMEDIATE CODE: A523

Effective date: 20200402

TRDD Decision of grant or rejection written
A01 Written decision to grant a patent or to grant a registration (utility model)

Free format text: JAPANESE INTERMEDIATE CODE: A01

Effective date: 20200929

A61 First payment of annual fees (during grant procedure)

Free format text: JAPANESE INTERMEDIATE CODE: A61

Effective date: 20200930

R150 Certificate of patent or registration of utility model

Ref document number: 6771980

Country of ref document: JP

Free format text: JAPANESE INTERMEDIATE CODE: R150