JP2017527374A - 麻酔用エアウェイデバイスのための封止機構 - Google Patents

麻酔用エアウェイデバイスのための封止機構 Download PDF

Info

Publication number
JP2017527374A
JP2017527374A JP2017512991A JP2017512991A JP2017527374A JP 2017527374 A JP2017527374 A JP 2017527374A JP 2017512991 A JP2017512991 A JP 2017512991A JP 2017512991 A JP2017512991 A JP 2017512991A JP 2017527374 A JP2017527374 A JP 2017527374A
Authority
JP
Japan
Prior art keywords
airway
mouth
patient
airway device
plate
Prior art date
Legal status (The legal status is an assumption and is not a legal conclusion. Google has not performed a legal analysis and makes no representation as to the accuracy of the status listed.)
Granted
Application number
JP2017512991A
Other languages
English (en)
Other versions
JP2017527374A5 (ja
JP6616828B2 (ja
Inventor
マクドナルド,ニール
Original Assignee
エアウェイ メディカル リミテッド
エアウェイ メディカル リミテッド
Priority date (The priority date is an assumption and is not a legal conclusion. Google has not performed a legal analysis and makes no representation as to the accuracy of the date listed.)
Filing date
Publication date
Application filed by エアウェイ メディカル リミテッド, エアウェイ メディカル リミテッド filed Critical エアウェイ メディカル リミテッド
Publication of JP2017527374A publication Critical patent/JP2017527374A/ja
Publication of JP2017527374A5 publication Critical patent/JP2017527374A5/ja
Application granted granted Critical
Publication of JP6616828B2 publication Critical patent/JP6616828B2/ja
Expired - Fee Related legal-status Critical Current
Anticipated expiration legal-status Critical

Links

Images

Classifications

    • AHUMAN NECESSITIES
    • A61MEDICAL OR VETERINARY SCIENCE; HYGIENE
    • A61MDEVICES FOR INTRODUCING MEDIA INTO, OR ONTO, THE BODY; DEVICES FOR TRANSDUCING BODY MEDIA OR FOR TAKING MEDIA FROM THE BODY; DEVICES FOR PRODUCING OR ENDING SLEEP OR STUPOR
    • A61M16/00Devices for influencing the respiratory system of patients by gas treatment, e.g. ventilators; Tracheal tubes
    • A61M16/04Tracheal tubes
    • A61M16/0488Mouthpieces; Means for guiding, securing or introducing the tubes
    • A61M16/0497Tube stabilizer
    • AHUMAN NECESSITIES
    • A61MEDICAL OR VETERINARY SCIENCE; HYGIENE
    • A61MDEVICES FOR INTRODUCING MEDIA INTO, OR ONTO, THE BODY; DEVICES FOR TRANSDUCING BODY MEDIA OR FOR TAKING MEDIA FROM THE BODY; DEVICES FOR PRODUCING OR ENDING SLEEP OR STUPOR
    • A61M16/00Devices for influencing the respiratory system of patients by gas treatment, e.g. ventilators; Tracheal tubes
    • A61M16/04Tracheal tubes
    • A61M16/0475Tracheal tubes having openings in the tube
    • A61M16/0477Tracheal tubes having openings in the tube with incorporated means for delivering or removing fluids
    • A61M16/0484Tracheal tubes having openings in the tube with incorporated means for delivering or removing fluids at the distal end
    • AHUMAN NECESSITIES
    • A61MEDICAL OR VETERINARY SCIENCE; HYGIENE
    • A61MDEVICES FOR INTRODUCING MEDIA INTO, OR ONTO, THE BODY; DEVICES FOR TRANSDUCING BODY MEDIA OR FOR TAKING MEDIA FROM THE BODY; DEVICES FOR PRODUCING OR ENDING SLEEP OR STUPOR
    • A61M16/00Devices for influencing the respiratory system of patients by gas treatment, e.g. ventilators; Tracheal tubes
    • A61M16/04Tracheal tubes
    • A61M16/0488Mouthpieces; Means for guiding, securing or introducing the tubes
    • A61M16/049Mouthpieces
    • A61M16/0493Mouthpieces with means for protecting the tube from damage caused by the patient's teeth, e.g. bite block
    • AHUMAN NECESSITIES
    • A61MEDICAL OR VETERINARY SCIENCE; HYGIENE
    • A61MDEVICES FOR INTRODUCING MEDIA INTO, OR ONTO, THE BODY; DEVICES FOR TRANSDUCING BODY MEDIA OR FOR TAKING MEDIA FROM THE BODY; DEVICES FOR PRODUCING OR ENDING SLEEP OR STUPOR
    • A61M16/00Devices for influencing the respiratory system of patients by gas treatment, e.g. ventilators; Tracheal tubes
    • A61M16/04Tracheal tubes
    • A61M16/0488Mouthpieces; Means for guiding, securing or introducing the tubes
    • A61M16/049Mouthpieces
    • A61M16/0495Mouthpieces with tongue depressors
    • AHUMAN NECESSITIES
    • A61MEDICAL OR VETERINARY SCIENCE; HYGIENE
    • A61MDEVICES FOR INTRODUCING MEDIA INTO, OR ONTO, THE BODY; DEVICES FOR TRANSDUCING BODY MEDIA OR FOR TAKING MEDIA FROM THE BODY; DEVICES FOR PRODUCING OR ENDING SLEEP OR STUPOR
    • A61M16/00Devices for influencing the respiratory system of patients by gas treatment, e.g. ventilators; Tracheal tubes
    • A61M16/20Valves specially adapted to medical respiratory devices
    • A61M16/208Non-controlled one-way valves, e.g. exhalation, check, pop-off non-rebreathing valves

Landscapes

  • Health & Medical Sciences (AREA)
  • Pulmonology (AREA)
  • Emergency Medicine (AREA)
  • Engineering & Computer Science (AREA)
  • Anesthesiology (AREA)
  • Biomedical Technology (AREA)
  • Heart & Thoracic Surgery (AREA)
  • Hematology (AREA)
  • Life Sciences & Earth Sciences (AREA)
  • Animal Behavior & Ethology (AREA)
  • General Health & Medical Sciences (AREA)
  • Public Health (AREA)
  • Veterinary Medicine (AREA)
  • Otolaryngology (AREA)
  • Orthopedics, Nursing, And Contraception (AREA)
  • Respiratory Apparatuses And Protective Means (AREA)

Abstract

本発明は、患者の口の中に挿入するように適合された多目的エアウェイデバイスに関する。エアウェイデバイスは、(a)実質的に楕円形または実質的に円形断面の細長い管状エアウェイ本体を備え、その近位端は一体型バイトブロックとして機能するように適合された実質的な直線部分と、遠位末端を備えた湾曲した遠位部と、挿管デバイスを受容するための中心チャネルとを有する。エアウェイデバイスは実質的に長円形状の取り外し可能な口内封止、および呼吸または麻酔機器の取り付けを促進するためのコネクタをさらに備える。本発明は、また多目的エアウェイデバイスに取り付けるためのETTロッキングデバイス、ならびに多目的エアウェイデバイスおよびETTロッキングデバイスを備える多目的エアウェイパックに関する。【選択図】図1a

Description

本発明は、麻酔用エアウェイデバイスのための封止機構に関し、より詳細には、取り外し可能な可撓性の自己保持および自己封止するデバイスに関し、これは患者の口の内側を封止し、一般に使用されるすべての麻酔用エアウェイデバイスとともに使用できる。
患者の気道の維持は麻酔にとって最も重要である。気道の管理の難しさまたは失敗は、麻酔に関連する罹患率および死亡率の根底にある主因である。全身麻酔によって意識を失った状態で、麻酔、オピオイド、または筋弛緩薬の効果に起因して、気道防御反射(咳嗽など)がなく、気道開存性がなく、また場合によっては規則的な呼吸パターンがない。受容可能なパラメータ内で気道を確保し呼吸を調節するために、患者が意識を失った後、通常何らかの形の「呼吸チューブ」が気道に挿入される。気道管理は、患者の肺と外界との間に開いた通路を確保し、ならびに肺を誤嚥から確実に守る医療工程である。
患者が室内の空気を呼吸できない閉鎖された呼吸回路は、麻酔のために多くの理由で必要とされる。
1.酸素、空気、および麻酔ガスの濃度を制御するため。
2.陽圧換気を促進するため。
3.麻酔排ガスを掃気するため。
呼吸回路と患者との接点で、一般に3つの機構が回路を封止するために利用される。
1.口腔咽頭エアウェイ(OPA)(Oropharyngeal Airway)の有無にかかわらない麻酔用フェイスマスク。
2.ラリンジアルマスクエアウェイ(LMA)(Laryngeal Mask Airway)などの声門上エアウェイデバイス。
3.カフ付き気管内チューブ(ETT)(endotracheal tube)。
麻酔および蘇生の進行中、常に麻酔科医は開放気道を維持し、陽圧換気のために呼吸回路を封止できることが必要である。陽圧換気は、バッグバルブ技法を手動で使用するか、または人工呼吸器を使用して送達することができる。
麻酔用フェイスマスクを使用するとき、麻酔科医は開放気道を維持し、同時に口腔咽頭エアウェイ(OPA)の有無にかかわらず患者の口および鼻の周りでマスクを封止しなければならない。バッグマスクバルブ換気は患者の5%を以上に困難であり、0.16%には不可能である。
空気で膨張したカフはLMAを封止する。しかし封止を達成することは困難であることがしばしばあり、これによりカフの中に注入される空気がより多くなる。これらの高いカフ圧力の結果として患者の40%までに咽頭痛が起きる。LMAの使用後に重症の神経麻痺および咽頭損傷が報告されている。
カフ付き気管内チューブは、気管内に配置されたカフの中で空気を膨張させることによって封止される。手術中にカフは誤作動または破裂する恐れがある。カフ無しのETTは、気管の損傷を回避するために小児に好まれることが多い。膨張したカフは非常に刺激が強いので、患者がまだ深い麻酔状態にいる間にETTのカフの空気を抜くことにより、咳嗽や吐き気が少ない円滑な抜管を促進できる。「深い抜管」は、患者がまだ深い麻酔状態にあり、気道防御反射が戻る前にETTを取り除く、ある特定の手術後に使用される。不安定な低血圧の重病で人工呼吸を器付けた集中治療中の患者は、ETTのカフが常に膨張していることにより、気管の粘膜に虚血性障害を引き起こす可能性がある。
バッグマスクバルブ換気は、麻酔科医が同時に開放気道を維持し、患者の顔の上でマスクを封止しなければならないので、「ハンズオン」技法である。開放気道を回復させるためにマスクおよびOPAを動かすことにより封止を妨害し、逆も同様である。
実際にこのことは、麻酔科医が麻酔の持続中に患者の気道を動的に維持し、呼吸回路を封止しなければならないことを意味する。かつては、処置を「ハンズフリー」にする試みにおいて、特別なハーネス(例えばクラウセンハーネス)の使用を含んだ技法が、時々利用されたが、ハーネスにマスクが引っ張られ、下顎に押し戻すことにより気道を妨害するというように、ほとんど成功しなかった。
ラリンジアルマスクエアウェイ(LMA)が導入された1988年より前は、小手術に対する全身麻酔は、自然呼吸の患者(全身麻酔の約30〜40%)にゲデル(Guedel)エアウェイなどのOPAの有無にかかわらずバッグマスク技法を使用して行われた。今日ではLMAは、短い全身麻酔に対して最もよく使用されるエアウェイデバイスである。LMAは「ハンズフリー」である。
しかしLMAはOPAより侵襲的であり、例えばそれを使用後に咽頭痛の発生率が非常に高い。咽頭組織および神経の損傷が起こることがある。LMAを設置するために、麻酔科医は、咽頭および喉頭閉鎖反射を抑えるために、プロポフェールおよび/または筋弛緩薬などの導入薬を充分に多く投薬しなければならない。これにより、弱い高齢の患者ならびに心臓血管および呼吸器疾患のある患者は著しい低血圧および無呼吸を頻繁に引き起こす。対照的に、OPAは高レベルの麻酔で挿入することができ、そのため麻酔をより段階的に誘導することができる。
またETTを使用する麻酔も、いったん気道が確保されると麻酔科医が自由に他の作業に当たるという点で「ハンズフリー」である。
患者の喉頭の外側に位置付けられたエアウェイデバイスは、声門上エアウェイと総称される。口腔咽頭エアウェイは中咽頭と同じ位の突出に過ぎない声門上エアウェイの型である。例えばゲデルエアウェイは、全身麻酔および蘇生中に開放気道を維持する役に立つために50年以上使用されており、最も一般に使用されるタイプの口腔咽頭エアウェイである。ゲデルエアウェイは、患者の顔とフェイスマスクとの間に封止を形成する役に立ち、患者の咽頭に風洞を提供し、顎挙上を促進し、患者の舌を前方に押して舌が喉頭蓋を覆うことを防止する。多くの麻酔科医は、患者が目覚めたとき、例えば最後に気管内チューブを除去中に噛みしめた場合、麻酔された患者の口の中にバイトブロックをさらに置くことが良い行為であると考えている。噛みしめることは歯の損傷の一般的な原因であり、場合によって陰圧肺水腫をもたらす恐れがある。
一般的に麻酔に使用されるが、ゲデルエアウェイは多くの欠点を有する。ゲデルエアウェイは呼吸回路に連結せず、バイトブロックは固く、遠位端は鋭い縁部を有し、これにより歯および口内の軟組織に外傷をもたらす恐れがある。ゲデルエアウェイは、遠位端の声門表面は鋭く、直線で固く、舌にぶつかる傾向があるので、設置するのが厄介である可能性がある。ゲデルエアウェイを設置する推奨される方法は、ゲデルエアウェイを逆さまにして始め、遠位端が中咽頭に達したとき、すなわち末端が喉の奥に届いたときにそれを180°回転させることである。
さらにゲデルエアウェイは一時的なデバイスであり、麻酔中に2、3分以上使用されることはまれであり、その後は通常ゲデルエアウェイはラリンジアルマスクエアウェイ(LMA)または気管内チューブ(ETT)などの他の声門上エアウェイに置換される。進歩したエアウェイ技能がこれらのデバイスを使用するときに必要とされる。例えば喉頭閉鎖反射は、時として麻痺していない患者にLMAを設置した直後に起きる。気道管理に経験の浅いまたは未熟な従事者は、デバイスの位置異常を引き起こしたと思い込む可能性があり、したがってLMAを除去するか、または強引に「詰めて」患者の腹部を膨張させることがある。咽頭反射が活性化した場合は、嘔吐反射も活性化することがある。したがって全身麻酔による咽頭反射の低下は、通常このようなデバイスを使用するときに必要とされる。
麻酔科医がバッグマスクバルブ(BMV)換気中に適切な気密封止を維持できない場合、例えば患者が顎髭または口髭などの顔髭を有するとき、歯がない(歯が欠損している)、肥満である、顔面熱傷または他の顔面の皮膚状態もしくは外傷を有するような場合に、麻酔科医は通常LMAまたはETTのいずれかを早めに設置することにより、全身麻酔の誘導を急がなければならないはずである。またBMV換気も、手が小さい麻酔科医が大柄の患者に対応するのは困難であり、一部の患者は(例えば閉所恐怖症により)マスクを恐れ、全身麻酔の誘導前に予備酸化のためのフェイスマスクに耐えられない。
場合によって麻酔の深さは、手術のタイプへの必要性より、むしろ使用されるエアウェイデバイスのタイプによって決定される。ここですべての患者、特に乳幼児および高齢者が麻酔に曝されること、すなわち麻酔の深さおよび全持続時間を最小にすることが賢明であると考えられる。
多数の換気システムが、気管挿管またはフェイスマスクの使用の代替えとして提案されてきた。例えば米国特許第4,270,531号は、ゲデルエアウェイなどの従来の口腔咽頭チューブと同じ全体構造を有する、エアウェイチューブの外部の周囲に篏合するU字形のバイトブロックを開示している。バイトブロックは、患者の歯または歯茎の外表面および唇の内側に篏合するように、垂直に分離した上歯および下歯の係合面または歯茎の係合面および外周リムを有する。患者の口に挿入されると、後管部は舌の上で上部喉まで延び、舌が喉を遮断するのを防ぐ。これにはいくつかの不都合がある。例えばゲデルエアウェイのように、すなわちまず逆さまに位置付けなければならない可能性が高いはずである。このデバイスはゲデルエアウェイよりかさばるので、これは難しいはずである。柔軟で繊細な咽頭構造に外傷の恐れが高いはずであり、バイトブロックにより歯に過酷な外傷をもたらす可能性がある。加えてU字形のバイトブロックは上顎および下顎の形状に合わされている。上顎と下顎との間の開口は、このデバイスによって覆われた開口よりはるかに大きい。陽圧呼吸中、ガスは顎とデバイスの背後または横から漏れる。口は、頬および唇の上に外圧を加えることによって封止のみをすることができる。加えて米国特許第4,270,531号に開示されたデバイスは、光ファイバー挿管(FOI)を促進することはできず、すなわちこれはFOIに対するエアウェイとして機能するために適正な形状ではなく、FOI中に100%の酸素および陽圧呼吸を施すこともできない。加えてこれを喉頭マスクエアウェイまたは気管内チューブを封止するために使用できない。
国際公開第2005/097245号は、換気される人の歯茎および唇の内側の自然形状に篏合するように構成された、口内マウスピースを有する呼吸マスクを開示している。しかしこの口内マウスピースは、例えば陽圧呼吸中に口の開口を封止するように構成されていない。口内マウスピースは上顎と下顎との間の開口より小さい。陽圧換気中に、ガスは後縁の周囲で漏れ、マウスピースと頬との間を押し、口角から漏れようとする。封止は頬の上に外圧を加えることによって達成される。加えて起伏のある形状であること起因して、口内マスクは口から飛び出す傾向がある。口内マウスピースは、強化襟部を有する管状延長部の中に供給する中心オリフィスを有する。襟部により、医療提供者が呼吸マスクを取り扱い位置付けることができる。可撓性の口腔咽頭エアウェイは、口内マウスピースの内壁における凹部に取り付け、または管状延長部を通って摺動可能な挿入のいずれかによって、口内マウスピースと組み合わせて使用されてもよい。これは直感的ではなく、たまに使用する人が支障をきたすことがある。口内マウスピースおよび口腔咽頭エアウェイの両方の可撓性に起因して、麻酔科医は両方を一緒に組み合わせて使用するときに舌などの気道構造の上で制御できない。国際公開第2005/097245号に開示された呼吸マスクは、バイトブロックとして作用できない。加えて呼吸マスクはFOIを促進するために使用できず、FOI中に100%の酸素および陽圧呼吸を施すこともできない。加えて呼吸マスクをカフなし気管内チューブを介して陽圧換気に使用することができない。加えて呼吸マスクは、ラリンジアルマスクエアウェイ(LMA)のカフがエアウェイの封止に失敗したときに、LMAを封止することができない。
本明細書に上述された先行技術の進歩にもかかわらず、侵襲性の少ない簡単な処置に対する麻酔の工程を進め、このような麻酔を高レベルおよび「ハンズフリー」で行うことができるエアウェイデバイス、ならびにより容易に挿入され、患者が覚醒中に配置することができ、それを通るETTまたは光気管支鏡(FOB)などの医療機器を通過させることができ、バイトブロックを組み込む、エアウェイデバイスを提供することが必要とされている。加えて特別に適合されたラリンジアルマスクエアウェイ(LMA)または気管内チューブ(ETT)とともに使用するときに口内封止は、陽圧換気のための代替封止機構を提供することができる。
前述された問題を軽減するよう模索するデバイスおよび方法を提供することが本発明の目的である。
本発明は添付の特許請求項1〜31により具体的に定義されている。
したがって第1の態様によれば、本発明は患者の口の中に挿入するように適合された多目的エアウェイデバイスを提供し、該エアウェイデバイスは、
(a)実質的に楕円形または実質的に円形断面の細長い管状エアウェイ本体であって、その近位端は一体型バイトブロックとして機能するように適合された、実質的な直線部分、遠位先端を備えた湾曲した遠位部、ならびに酸素および麻酔ガスが通過するため、および挿管デバイスを受容するための、中心チャネルを有し、
(b)MPAの中心チャネルは、ゲデル式のOPAより大きい前後径を有し、これにより舌を咽頭の後壁から遠ざけたままに保ち、患者の気道開放を保つ助けとなる、細長い管状エアウェイ本体と、
(c)それに呼吸または麻酔機器の取り付けを促進するためのコネクタであって、コネクタはエアウェイ本体の近位端に取り付けられ、その外表面上に溝を有し、溝は口内板を受容するための円形チャネルを形成する、コネクタとを備える。
本明細書で使用される場合、用語「遠位」は、それが細長い管状エアウェイ本体を指す際は、使用中にデバイスが患者の口の中に導入されるように導き、デバイスを配備する臨床医から離れている、エアウェイ本体の部分を指すのに対し、用語「近位」は、使用中に臨床医に近いエアウェイ本体の他方の端部を指す。
エアウェイデバイスは、気管内チューブと組み合わせて使用されるときに以下の利点を有する。
・エアウェイデバイスを患者に固定するために使用される紐またはテープと無関係に、気管内チューブを適所に固定できる。
・バイトブロックを提供する。
- 気管内チューブの捻じれを防止する。
- 抜管時に声門上換気のための手段を提供する。
- 深い抜管のための手段を提供する。
心肺蘇生のために自己保持および自己封止するエアウェイデバイスが提供される。
また最も一般的なエアウェイ緊急事態のすべてを防ぎ、かつまたは処理することができる、エアウェイデバイスも提供される。
- マスク換気が困難で不可能
- マスク換気が困難で不可能、かつ挿管が困難
- 噛みしめ
- 抜管後の換気が不充分
取り外し可能な可撓性の自己封止および自己保持する板を、口腔および口腔咽頭エアウェイ、声門上エアウェイ(例えばLMA)、ならびに気管内チューブを含む、種々のエアウェイデバイス上に装着できる。この板は麻酔、蘇生、および様々な形の非侵襲的換気補助に使用できる。板を特別に適合されたLMAまたはETT上に装着したとき、その板は陽圧換気のために膨張されたカフに代替え封止機構を提供できる。
取り外し可能な可撓性の自己封止および自己保持する板は基本的に平坦であり、口の開口より大きい断面積である。形状は、口を半開きにしたときの口の開口に対応する。各端部は、設置を助けるために口を開いたときの口角のような矢印形状である。
板は外周を巡る強化リムを有する。第2のリムは中心孔を囲む。2つのリムは変形に耐える。板は、板が自己保持および自己封止するように、弾性、剛性、復元力、および可撓性の適正な性質を所有する、ポリ塩化ビニル、ポリウレタン、シリコン、または他の弾性材料からなる一体構造である。弾性により、その構造がエアウェイデバイス上の適所に篏合し保持できる。弾性により、頬の内側に設置するために端部を親指と人差し指との間で圧迫できる。
板の断面積は口の開口より大きいため、基本的に平坦な形状であるため、また充分に高い剛性および降伏強度のため、板は口の内側で自己保持する。板はさらなる撓みに抵抗するので、口から飛び出さない。実際に板は非常に低い曲げ剛性を有するので、挿入のために点荷重により撓むことができるが、非常に固いので口内に置かれたときに口内で板が陽圧によって加えられた分布荷重を効果的に有し、しかも口によって押えられる撓みを限定することができる。
板はその元の形状に速やかに絶えず戻ろうとする点において、その復元力のために板は自己封止する。このように板が封止する口の表面の変化に板が引き続き追従するという点において、板は口の内側の動的封止を形成する。したがって呼吸サイクルの異なる段階中に口が大きさおよび形状の小さい変化を受け得るときに、板は陽圧換気の期間中に連続して封止する。板は、口の開口が大きさおよび形状を変える際に封止を維持するだけでなく、封止効果も浴槽内の水が栓を栓の穴の中に押し下げるのと同じように、封止が頬の内側を押す、ガス圧によって高められる。選択された弾性材料は高い弾性限界を有し、その動作範囲内で可塑性を表示しない。
唇は、主に口輪筋の大部分により、唇が弛緩され収縮していないときでさえ、巾着縫合糸として機能する。板の外周を巡るリムは捻じれに抵抗し、口の前庭における適所にあるとき口輪筋の外側に位置するので、陽圧呼吸の間でさえも板を保持する。板は、板の中心孔内を横断し堅固に把持されたエアウェイデバイスにより、唇および頬と歯茎および歯との間で口の前庭の適切な位置にさらに支持される。適切な大きさの中心孔をもつ板は各エアウェイデバイスに必要とされる。板の中心における上部および底部の切り欠きは、上部および底部小帯に適合する。
外周リムと中心孔を囲むリムとの間の板は柔軟で非常に可撓性である。陽圧換気呼吸の間、板は頬および唇の柔軟に湿った平滑な粘膜に付着することによって口の開口を封止する。板が移動に耐えるので、板は顎挙上に寄与する。板が口の前庭内の適切な位置にあるとき、板は頬の内側の輪郭に適合するために頬によって押し付けられる。移動に耐える際に上顎が固定され移動できないので、板は牽引力を下顎に掛ける。口内の板は、上顎と下顎との間の大きな開口を封止するのではなく、むしろ口を内側から封止する。
口の前庭の幅は口の開口の幅よりよりはるかに大きく、これにより板の幅を口の開口の最大幅よりはるかに大きくすることができる。したがって口角は特に良好に封止され、口角からガスが漏れない。
エアウェイデバイス、例えばOral Airway(口腔エアウェイ)、OPA、LMA、またはETTを自己保持、自己封止する板の有無にかかわらず使用できる。患者に挿入する前にエアウェイデバイス上に元から装着されていない場合、板をエアウェイデバイスの近位端から篏合させ、唇/頬と歯/歯茎との間で口の前庭の適切な位置に押し下げることができる。
エアウェイを封止する必要がないときは、板を唇の外側でエアウェイデバイス上に位置付け、口を塞がないように90度回転させることができる。
自己保持および自己封止する口内板は取り外し可能であることにより、様々な大きさの板を様々な大きさのエアウェイデバイスに篏合させることができる。このため多様な患者の生体構造に可能である。
自己保持および自己封止する板に内側、外側、上側、または下側はない。板がエアウェイデバイスに篏合する方法については本質的に直感でわかる。これは緊急時に時間の浪費がなく、また板を逆に篏合する恐れがないことを意味する。
本発明による自己保持および自己封止する板により、麻酔科医の仕事が容易になり、患者の安全性が増し、エアウェイ技能の熟練者でない人が容易に達成する基本のエアウェイ管理をもたらす。
好ましくは、ノーズクリップなどの従来の鼻を塞ぐ手段を自己保持および自己封止する板と組み合わせて使用して、患者の陽圧換気が可能になる。別法として、ノーズクリップを使用するより、むしろ麻酔科医または麻酔科医の助手が患者の鼻孔をつまんで閉じることができる。
好ましい実施形態では、多目的エアウェイデバイスは多目的経口エアウェイデバイスであり、エアウェイ本体の湾曲した遠位端は、口蓋の屈曲に実質的に一致するが、咽頭の中に延びない。代替実施形態では、多目的エアウェイデバイスは多目的口腔咽頭エアウェイデバイスであり、エアウェイ本体の湾曲した遠位端は、柔軟な口蓋と喉頭蓋の上縁部との間の咽頭の部分の屈曲に実質的に一致する。
実質的に平坦な長円形状の取り外し可能な口内板は、患者の歯茎および歯と唇および頬との間に篏合するように適合される。エアウェイ本体は、取り外し可能な口内板の中心孔を通過するように適合される。取り外し可能な口内板を、近位端からコネクタを介して、または遠位端からエアウェイ本体を介するいずれかで、多目的エアウェイデバイスに篏合させることができる。エアウェイは陽圧呼吸中に板を支持する。取り外し可能な口内板を多目的エアウェイデバイスの近位端から篏合させることができることにより、多目的エアウェイデバイスを口腔咽頭エアウェイとして使用するときに、麻酔科医が万一フェイスマスクと患者の顔との間に封止を達成できない場合に、麻酔科医はエアウェイデバイスが患者の口内の適所にある間に取り外し可能な口内板を確実に篏合できる。これはもし患者が噛みしめている場合は特に有利である。
取り外し可能な自己保持および自己封止する板は、少なくとも1つの対称軸を有し、好ましくは2つの対称軸を有する。好ましい実施形態では、取り外し可能な口内板の形状は無限大記号に似ており、すなわち上部および底部に三角形の切り欠きをもつ長円である。これは各端部において矢印形状または三角形状である。
使用中に取り外し可能な、口内で自己保持および自己封止する板は、特に陽圧呼吸の間に本体と患者の口の内側との間に実質的に気密封止を提供する。陽圧呼吸の間にエアウェイの遠位端から放出するガスは板を押し上げ、浴槽内の水圧が栓を栓の穴の中に押すのと同じように封止効果が増加する。気密封止は患者の歯がない場合でさえも提供される。これは、例えば患者の肥満、皮膚状態、顔の変形、歯がない、または髭があることに起因して、良好な封止をマスクと患者の顔との間に作成できない場合に陽圧換気を促進する。
板は自己保持および自己封止するので、板はまた「ハンズフリー」でもある。エアウェイをさらに患者の首の周りに輪にした単純な弾性の紐で固定することができる。このような紐は下顎に外圧を掛けず、顎挙上を邪魔しない。
取り外し可能な、口内で自己保持および自己封止する板を受容するための溝は、板をコネクタ上の溝内でエアウェイ本体に対して回転させることができるように、コネクタの周囲を囲む。この回転が可能であることは、患者の顔が非対称であるとき、例えば頭および首の癌の手術後、それによって患者の口の片方が著しく落下しているときに特に有益である。患者のこの群は、複数の手術が必要であることが多く、患者の以前の顔が変形したために、BMV換気が困難であることが多く、すなわちこのような患者に先行技術のフェイスマスクを使用して封止を達成することはしばしば困難である。取り外し可能な口内で自己保持および自己封止する板を、コネクタ上でエアウェイ本体の主軸を中心に回転できることにより、口を封止し、コネクタと取り外し可能な口内で自己保持および自己封止する板との間の気密封止を維持するために、確実に板を口の開口と位置合わせできる。
エアウェイ本体は、患者が噛みしめている場合であっても管腔を維持するために、好ましくは固い内部表面を有する、すなわちエアウェイ本体は好ましくは内側が固い材料から作成される。したがってエアウェイ本体の実質的に直線の中央部の近位端は、一体型バイトブロックとして働く。好ましくは、エアウェイ本体は、医療用ポリエチレン、ポリプロピレン、ポリ塩化ビニル、およびポリカーボネートの中から選択されたポリマー、好ましくはポリエチレンから製造される。
エアウェイ本体の直線の中央部の裏側には、舌が咽頭を塞がない助けとなるように声門表面が設けられる、すなわち舌と接触するエアウェイ本体の一部が湾曲している。声門表面の外形は、声門表面の舌に対する位置が水平である。次いで外形は舌と接触するその面積を増加するために、垂れ下がり、口の輪郭に実質的に一致する。
エアウェイ本体の遠位端の先端縁部は、生体構造への外傷を最小にするために、例えば繊細な経口および咽頭組織への外傷を最小にするために丸みを帯びている。口腔咽頭エアウェイデバイスにおいて、遠位端の声門表面(すなわち裏側)には、丸みを帯びた唇部が遠位末端に設けられ、これはデバイスを患者の咽頭の中に置くのに役に立つ。唇部によりデバイスが患者の舌の上を摺動することができ、設置中に舌および中咽頭への外傷を最小にする。
エアウェイ本体の遠位端の湾曲した裏側は、存在する場合に声門唇部の働きと同様に、多目的エアウェイデバイスを患者の中に設置する助けとなる。したがって舌の上に当たる傾向がある鋭く直線で固い遠位端を有する標準のエアウェイデバイス、例えばゲデルエアウェイでは必要とされるはずであるように、まず逆さまに回転することなく多目的エアウェイデバイスを設置することができる。
エアウェイ本体および取り外し可能な口内で自己保持および自己封止する板は、乳児、小児、女性、男性、および様々な大きさの成人などの多様な患者の群に適応するために、それぞれが独立して異なる大きさで作成されてもよい。好ましくは取り外し可能な口内封止およびエアウェイデバイスは、それぞれが独立して、1〜5の整数、例えば3などのサイズ識別子が設けられる。このサイズ識別子は、ゲデルおよびLMAのサイズ化システムと同様のサイズ化システムを表し、サイズ1は乳児用、2は小児用、3は小柄な成人用、4は成人用、および5は大柄な成人用である。
本発明による多目的エアウェイデバイスは、逆止弁または陽圧換気のためのバッグバルブなどの呼吸器と併せて使用するのに適している。さらに、多目的エアウェイデバイスは麻酔機器と併せて使用するのに適している。
取り外し可能な口内板のない多目的エアウェイデバイスを、ゲデルエアウェイなどの従来の口腔咽頭エアウェイデバイスと同じ方法だが、設置中にデバイスを回転する必要なしに使用できる。
口腔咽頭エアウェイ本体の遠位先端を患者の咽頭の中に進める、または咽頭から引き抜くことができることにより、多目的口腔咽頭エアウェイデバイスが患者の咽頭反射を活性化させることなく、麻酔のレベルが深くなるにつれて徐々に進めることができる。
エアウェイ本体の屈曲の半径は、好ましくは約20mm〜約50mmの範囲であり、例えば35.50mm、または35.75mmである。
一実施形態では、多目的エアウェイデバイスは小児に適切であり、円形の内部および外部外形を有する、すなわち円形断面を有する。この実施形態では、エアウェイ本体の内径は好ましくは約7mm〜約40mmの範囲であり、例えば11.75mmである。別の実施形態では、多目的エアウェイデバイスは成人に適切であり、小児に適した型より大きく、楕円断面を有する。この実施形態では、エアウェイ本体の外部共役直径は約15mm〜約50mmの範囲であり、例えば18.50mmであり、エアウェイ本体の外部横径は、約15mm〜約50mmの範囲であり、例えば23.50mmである。成人用エアウェイ本体の内径は、サイズ8(標準男性成人用サイズ)のETTの通過が可能であるために充分であり、好ましくは10mm〜約45mmの範囲であり、例えば15.5mmである。
またコネクタの直径は成人用および小児用の型で異なる。好ましくは成人用コネクタの外径は、約15mm〜約50mmの範囲であり、例えば30mmであり、成人用コネクタの内径は、約10mm〜約45mmの範囲であり、例えば23mmである。成人用デバイスのコネクタは、紐材料を受容するための円形チャネルを提供する、第2の溝を有する。成人用と小児用の型との断面が異なる理由は、標準呼吸器と接続する方法にある。「標準呼吸器」とは、麻酔および呼吸器に対するISO国際標準規格に準拠する呼吸器を意味する。小児用サイズのコネクタは、呼吸回路に篏合する際に雄コネクタとして低減された外径からなるのに対して、大きい直径の成人用サイズのコネクタは呼吸回路に篏合するときに雌コネクタとして働く。主要な寸法はISO5356.1.2004標準規格Anaesthetic & Respiratory Equipment−Conical Connectors(麻酔および呼吸機器‐円錐形コネクタ)によって推進される。
本発明による多目的エアウェイデバイスは、これに限定されないが以下の場合、すなわち「ハンズフリー」の患者のエアウェイの維持、エアウェイの困難な状態、例えばバッグマスク換気の困難な状態、麻酔、蘇生、マスク恐怖症の患者の予備酸化、鎮静処置中、特に鎮静が過度に深いとき、すなわち医師が意図した以上の薬物が投与され呼吸を支援しなければならないときのエアウェイの維持およびエアウェイの救出、鎮静下で胃カメラなどの他の医療機器を通すためのエアウェイおよびバイトブロックの組み合わせ、ETTおよびFOBなどの医療機器のためのガイドおよび通路、ガスの誘導、ならびに抜管における声門上換気の使用に適している。
「エアウェイの困難な状態」の標準定義は、入手可能な文献で確認することができないが、従来訓練された麻酔専門医が上部エアウェイのフェイスマスク換気に支障をきたす、気管挿管が困難、またはその両方である臨床的状況と定義することができる。エアウェイの困難は、患者の要因と臨床背景と実行者の技能との間の複雑な相互作用を表す。
エアウェイの困難には、これに限定されないが、以下が含まれる。
1.フェイスマスクまたは声門上エアウェイ(SGA)換気(例えばLMA、LMA挿管(ILMA)、咽頭チューブ)が困難。麻酔科医が1つまたは複数の以下の問題のために充分な換気を提供できない、すなわちマスクまたはSGA封止の不足、過度のガス漏れ、またはガスの進入または退出に対する過剰抵抗。換気不足の兆候には、(これに限定されないが)胸の動きの欠如または不足、呼吸音がないまたは不足、重度閉塞の聴診兆候、チアノーゼ、胃への空気の侵入または膨張、酸素飽和度(SpO)の低減または不足、吐き出された二酸化炭素の欠如または不足、吐き出されたガス流のスパイロメトリー測定値の欠如または不足、および低酸素血症または高炭酸症に関連した血行動態変化(例えば高血圧、頻脈、不整脈)が含まれる。
2.SGAの設置が困難。SGAの設置には、喉頭または気管の病理の有無にかかわらず多数の試みが必要である。
3.咽頭鏡検査が困難。従来の咽頭鏡検査において多数の試みの後に、声帯のあらゆる部分を可視化することは不可能である。
4.気管挿管が困難。気管挿管には、喉頭または気管の病理の有無にかかわらず多数の試みが必要である。
5.挿管の失敗。気管内チューブの設置が多数の試み後に失敗した。
従来の呼吸マスクには、着用者の口および鼻の上に篏合する、固定された半球またはカップ形状のデバイスが含まれる。この半球またはカップの縁部は着用者の顔に篏合する。本発明による多目的エアウェイデバイスは、患者の顔面皮膚とマスクとの間を接触させる圧力を必要としない。これは圧力により患者が負傷する可能性がある際、例えば顔の外傷、熱傷、皮膚感染などの後に場合によっては有利である。
LMAが導入された1988年より前は、小手術に対する全身麻酔は、フェイスマスクおよび口腔咽頭エアウェイ技法を使用して行われたことが多い。下顎上のハーネスによって掛けられた圧力はエアウェイの妨害を引き起こす傾向があるので、クラウセンハーネスなどのデバイスを使用することにより、麻酔科医を患者と直接接触することから解放する試みはしばしば失敗した。LMAは、患者に対して本発明による口腔咽頭エアウェイより侵襲的であり、術後の咽頭痛をもたらすことが多い。加えて完全な全身麻酔がLMAを設置するために必要である。
多くの簡単な処置において、必要とされる麻酔の深さは、処置に必要なものより、むしろ使用されるエアウェイデバイスによって決定される。少なくとも乳幼児および高齢者に対する全身麻酔は、永続的な神経的障害を引き起こすことがある懸念が増加している。本発明による多目的エアウェイデバイスは、麻酔下の検査および厳密な膀胱鏡検査などの短い簡単な処置に対して、特に単純なノーズクリップと顎支柱を組み合わせて使用するときに、全身麻酔を必要とするエアウェイデバイスに単純な代替手段を供給する。
エアウェイの問題は麻酔の誘導時より抜管時(例えばETTの除去)に起こることが多い。深い抜管が望ましいとき、麻酔からの円滑な覚醒を促進するために、本発明による多目的エアウェイデバイスを抜管後に適所に残すことができる。必要とされる場合、また最初から適所にない場合、取り外し可能な口内板を多目的エアウェイデバイス上に戻すことができ、多目的エアウェイデバイスを麻酔回路に連結することができるので、100%の酸素を穏やかな陽圧換気と併せて患者に施すことができる。本発明による多目的エアウェイデバイスは、非常に重要である可能性がある手術、例えば頭および首の整形外科手術などから覚醒中に咳嗽およびバッキングの危険性を低減する。これはETTまたはLMAと違い、多目的口腔咽頭エアウェイデバイスは、ETTまたはLMAほど患者の中に入らず、したがってETTまたはLMAより患者の咽頭反射を促すことが少ないという事実に起因する。多目的経口エアウェイデバイスは、患者の咽頭反射を全く刺激しない。
まれであるが、患者は麻酔から覚醒するときに不意に激しく噛みしめる可能性がある。これにより歯の損傷、低酸素症、陰圧肺水腫などを引き起こす恐れがある。ETT上に装着されたとき、またはLMAもしくはETTと並行して設置されたとき、本発明による多目的エアウェイデバイスのエアウェイ本体の実質的に直線の中央部の近位端はバイトブロックとして働き、ETTの管腔を保護し、患者が噛みしめ、ETTを塞いだ場合に低酸素症またはまれに陰圧肺水腫を引き起こす恐れがある気道閉塞を防止する。
多目的エアウェイデバイスは、麻酔回路または呼吸回路に連結できるので、多目的エアウェイデバイスは、従来の装置より容易に陽圧換気の達成を促すことができる。この陽圧換気がより容易であることは、患者の唇/頬と歯または歯茎との間の取り外し可能な自己保持および自己封止する板によって、また鼻をつまむもしくはクリップで留めることによってさらに促される。
現在は先行技術のデバイスを使用して、麻酔科医は麻酔の導入においてフェイスマスクと患者の顔との間に封止を達成しなければならない。麻酔科医が封止を達成できない場合は、患者は低酸素症になることがあり、麻酔科医は誘導を急がなければならなくなる。しかし本発明による取り外し可能な口内で自己保持および自己封止する板ならびにエアウェイ本体を適所に設置すれば、封止が患者の口の中、例えば患者の唇/頬と歯または歯茎との間で達成される。鼻をつまむまたはクリップで留めると、麻酔回路を直接多目的エアウェイデバイスに連結することができる。
多目的エアウェイデバイスの呼吸回路または麻酔回路への直接連結は、コネクタによって促進される。例えば本発明による多目的エアウェイデバイスを麻酔回路または呼吸回路に直接連結することができる。バッグマスクバルブ換気が困難であると予測される場合は、取り外し可能な口内で自己保持および自己封止する板を備えた経口の多目的エアウェイデバイスを、全身麻酔の誘導前に位置付けることができ、あるいは多目的エアウェイデバイスおよび板を全身麻酔の誘導後に位置付けることができる。
エアウェイ本体内に中心チャネルが存在することに起因して、多目的エアウェイデバイスは、それを通って酸素および吸入麻酔薬、例えばセボフルラン、イソフルラン、デスフルラン、亜酸化窒素など、およびそれらの組み合わせを投与する導管として役目を果たすことができる。
多目的エアウェイデバイスを、取り外し可能な自己保持および自己封止する板の有無にかかわらず、局部麻酔で患者の気道が麻酔された、覚醒している患者に位置付けることができる。多目的エアウェイデバイスおよび板を使用するとき、自己封止する孔を組み込んだ専用のカテーテル装着アダプタを備えた呼吸回路または麻酔回路を、多目的エアウェイデバイスに連結することができる。これは、酸素化を維持しながら、経口光ファイバー挿管を促進する。専用エアウェイ交換カテーテル(例えばAintree airway exchange catheter(アインツリーエアウェイ交換カテーテル)、Cook Medical airway exchange catheter(クック医療エアウェイ交換カテーテル))を使用して、FOIを達成できる。
BMV換気は、開放気道を維持する一方で、同時にフェイスマスクと患者の顔との間に封止を達成しなければならないので、経験を積んだ医療従事者にとっても衰弱した無呼吸の患者に達成することが困難である可能性がある。本発明による多目的エアウェイデバイスは、代替バッグバルブ気道換気または口元弁気道換気を供給し、多くの蘇生に携わる人はこれにより適正な換気をより容易に達成することがわかる。本発明による多目的エアウェイデバイスでの封止は、バッグマスクバルブよりはるかに容易に達成される。これは、取り外し可能な自己保持および自己封止する板が使用中に患者の唇および頬と歯茎または歯との間に設置されることに起因する。同時に多目的エアウェイデバイスは、開放気道を維持するのを助ける。心肺蘇生中、特にCPR(心肺蘇生)に携わる人が1人である間、多目的エアウェイデバイスは正しい位置に(「ハンズフリー」で)保持されるので、胸部圧迫と人工呼吸の周期の間の遅れを最小にする。
本発明による多目的経口エアウェイデバイスを、患者が覚醒しているときまたは軽い麻酔に掛かっているときに設置できるという事実、および本発明による多目的口腔咽頭エアウェイデバイスを、患者が軽い麻酔に掛かっているとき(ゲデルエアウェイと同様に)設置できるという事実に起因して、マスクと顔との間に封止を達成できないような患者、例えば顔髭のある患者、歯がない、皮膚状態、顔面変形、および肥満した患者にさえも、急がず穏やかに誘導する麻酔を達成できる。同時に多目的エアウェイデバイスは、患者の気道開放を保つ役に立つ。
本発明による多目的エアウェイデバイスにより、麻酔科医は、患者が軽いレベルの麻酔状態から深いレベルの麻酔状態に咽頭反射を活性化することなく進む際に、気密封止を達成できる。患者の咽頭反射を刺激することを回避するために、多目的経口エアウェイデバイスを使用でき、別法として多目的口腔咽頭エアウェイデバイスを麻酔状態が深くなるまで咽頭の中に完全に進める必要はない。
多目的エアウェイデバイスは、単純な顎支柱とともに使用するときに自然呼吸の患者に簡単な処置をするために全身麻酔用の代替の「ハンズフリー」エアウェイを提供する。無呼吸は発生頻度が低い。しかし万一陽圧呼吸が必要とされる場合、麻酔科医は一時的に鼻をつまんで閉じることができる。これにより「ハンズフリー」エアウェイを提供できなかった患者に対しては、下咽頭チューブが多目的エアウェイデバイスを通過し、喉頭蓋を過ぎて下咽頭の中に入ることにより、「ハンズフリー」エアウェイを達成できる。
自然呼吸の患者が全身麻酔に掛かっている間、呼吸回路の閉鎖は、単に粘着テープの細長い小片で鼻孔を封止することによって、かつ/または水泳選手がよく使用する専用のノーズクリップで鼻孔を閉じることによって達成される。自然呼吸では、患者の吸気は機能しており、粘着テープを吸い込む傾向があるので、鼻孔を封止し、ガスの流入は口内のエアウェイを介す。呼気は受動的で、ガスは多目的エアウェイを通って口から出る最小抵抗線を流れる。
本発明による多目的エアウェイデバイスは、酸素化および麻酔を維持する役に立ち、経口および鼻腔FOIを助けることができる。これは、麻酔の誘導後に予期せぬ「挿管困難」に直面したときに麻酔科医に特に価値がある。予期せぬ挿管困難が起きた場合、酸素化および換気の両方を維持でき、FOIを多目的エアウェイデバイスで達成できる。しかし自己封止する孔およびエアウェイ交換カテーテルを備えるカテーテル装着アダプタなどの付属機器が必要になる。
本発明による多目的エアウェイデバイスをFOIのための訓練手段として使用できる。FOIは麻酔科医にとって中心技能であり、気管挿管が困難な患者に対して最良の選択肢とみなされることが多い。多くの麻酔科医はFOIを実行する自身の能力に自信がない。FOIのために多目的エアウェイデバイスを使用することにより処置の危機的時間が少なくなり、したがって首尾よい挿管が促される。呼吸回路または麻酔回路は麻酔下でFOI中に患者への連結が維持され、したがって酸素化および麻酔が維持される。FOIを覚醒中に多目的エアウェイデバイスは100%の酸素を送達できる。多目的エアウェイデバイスを使用しているときに従来のFOIエアウェイ(Berman、Ovassapian)と違い、100%の酸素および陽圧呼吸を患者に施すことができる閉鎖した麻酔回路を使用できる。エアウェイ交換カテーテルを装着したFOBを、自己封止装置を組み込んだ専用カテーテル装着アダプタを通し、次いで本発明による多目的エアウェイデバイスを通して気管の中に入れることができる。これにより患者に100%の酸素を与えることができ、かつ/または患者の換気を支援できる。このことによりFOIの処置の危機的時間が少なくなるので、より安全になる。
本発明による多目的エアウェイデバイスは、例えば除細動、ECT、および小手術に必要な短時間の麻酔、ならびに例えば内視鏡検査、気管支鏡検査、結腸内視鏡検査などに必要な深い鎮静状態のどちらにも使用される。エアウェイを管理するすべての従事者、例えば経験を積んだ麻酔科医、麻酔科研修生/助手、救急救命科(A&E、緊急治療室)の医療人員、看護師、救急救命士、初期対応者が多目的エアウェイデバイスを使用することができる。
別の態様から本発明は、押し回し式連結を介して多目的エアウェイデバイスのコネクタに取り付けられたロッキングデバイスを用いて、ETTを多目的エアウェイに可逆的に係止するための手段を提供する。エアウェイデバイスと回路との間、および回路の部品間のすべての連結は「押し回し」行為によってなされる。例えばLMAまたはETTを呼吸回路に連結するためには、ETTのコネクタ端部をカテーテル装着部の中に押圧し、それを回す。ロッキングデバイスは、コネクタの中に挿入するための中空シリンダ、およびシリンダから延在し、ETTを紐またはテープで固定してもよいスロットを有する指部を備える。ロッキングデバイスをコネクタに挿入するとき、スロットを備えた指部のみがコネクタから突出する。
このようにしてETT上に多目的エアウェイデバイスを装着することにより、以下の追加の利益が生じる。
- 多目的エアウェイデバイスの一体型バイトブロックはETTの内腔を保護する。
- 取り外し可能な口内板を適所に置いて(必要であれば鼻をつまんで)100%の酸素の陽圧呼吸を抜管後に患者に送達できるので、患者は「深い抜管」をより安全に受けることができる。
Miller’s Anesthesia、第7版、2009年、50章に説明されているように、抜管は、用語「覚醒」、「軽い」、「深い」とともにしばしば用いられて異なる深さの麻酔で実行してもよい。「軽い」は保護呼吸反射の回復を示唆し、「深い」はそれらがないことを示唆する。「覚醒」は言語刺激への適切な応答を示唆する。「深い」抜管は、気管チューブの存在、およびその除去によってもたらされる有害反射を回避するために、低換気および上部エアウェイ閉塞のより高い危険性を犠牲にして行われる。外科的修復を妨害する可能性がある緊張は、「深い」抜管で起きる可能性が低い。上部エアウェイ閉塞および低換気は、有害な血行動態および呼吸反射を犠牲にする、「軽い」抜管中に生じる可能性が低い。
麻酔科医が患者に挿管するとき、麻酔科医は通常、ETTおよび患者の顔に接着する強力な接着テープを使用してETTを患者の顔にテープで貼ることによる、または最初に紐を患者の首の周りに通した後ETTを適所に結ぶことによる、2つの方法の一方でETTを固定する。しかし本発明による多目的エアウェイデバイスおよびロッキング機構は、挿管前にETT上に装着するように適合される。多目的エアウェイデバイスおよびロッキング機構は、接着テープで、または紐を患者の首の周りに使用することにより、患者に固定するように適合される。ETTは、本明細書に説明されたロッキングデバイスの指部に固定される。これにより、ETTの手術中の操作を容易にすることができ、患者の顔に付けたあらゆるテープを取り除き、再付着する必要が回避され、したがって患者の皮膚上での手間がより省かれる。加えてこの方法でETTを固定することにより、ETTが捻じれる危険性が取り除かれる。
場合によってETTの位置を手術中に変えなければならない。例えばETTが不注意に遠くに行き過ぎ、竜骨を超えた場合(気管支内挿管)。先行技術の装置では、麻酔科医は、ETTを患者に固定するために使用されるテープおよび/または紐を緩めなければならない。テープを使用した場合、これは患者の皮膚上では難しい可能性がある。加えて一部の手術では、麻酔科医は、滅菌ドレープが存在するので患者への接近が制限される。胸部手術などで2腔チューブが使用されるとき、麻酔科医はチューブの位置を頻繁に変えなければならないだけでなく、患者は側臥位にしなければならず、テープおよび/または紐を緩めることは困難である。
本発明による多目的エアウェイデバイスを使用するときにETTを再位置付けする必要がある場合、ETTをロッキングデバイスに固定するテープまたは紐を開き、次いで再位置付け後に再度付けることが容易である。これは2腔ETTを使用するときに特に有益であるが、その理由はそのような2腔ETTは手術中に頻繁に再位置付ける必要があるからである。
ETTを適切な位置に結ぶときに、ETTの周りの結び目は、ETTの壁が平滑であるため、ETTは滑る可能性があり、このためETTはさらに患者の中に入り気管支内の位置に進むか、あるいは滑り出て予想外の抜管を引き起こすことがある。ETTをロッキングデバイスの指部に固定し、多目的エアウェイデバイスを患者に結んだとき、結び目は多目的エアウェイデバイスの溝内に固定され、滑らない。
さらなる態様から、本発明はETTのための気密封止を生み出すための方法を提供し、このような方法は、口を封止するために本明細書に説明された自己保持および自己封止する板を使用するものである。鼻を塞ぐクリップは鼻を封止する必要がある。カフ付き気管内チューブが陽圧換気に最もよく使用され、気密封止は気管内のカフを膨張させることによって生み出される。気密封止を達成するために圧力が非常に高くなるまでカフを膨張させなければならないので、かつ/または患者の血行動態が不安定であり低血圧になり、そのため気管に虚血性障害を引き起こす危険性がより大きいので、状況によって膨張したカフは気管に虚血性障害を引き起こす恐れがある。同じ理由でカフなし気管内チューブが小児に好ましいことが多い。自己保持および自己封止する板をETTと組み合わせて使用するとき、ETTのパイロット・バルーン・チューブはETTの軸の近位端付近から出現し、板は陽圧換気のために代替封止機構を供給する。気管粘膜への血流を一時的に増加させるために、そのような虚血性障害の危険性が高い患者内でETTのカフを断続的に収縮させることができる。加えてETT上のカフは誤動作して収縮したり、エアウェイ手術中に手術用刃もしくは針で破裂させられたりすることがある。
したがってさらなる態様から見ると、本発明は、本明細書に説明されたような多目的経口または口腔咽頭エアウェイデバイス、自己保持および自己封止する板、本明細書に説明されたようなETTロッキングデバイス、ならびに恣意的にデバイスを患者の顔に取り付けるための紐、例えば好ましくは長さ1mの伸縮性のある布の紐を備える、多目的エアウェイパックを提供する。
さらなる態様から、本発明は、マスクを恐れる患者の麻酔の前に予備酸化を促すために、本明細書に説明された経口エアウェイデバイスを使用する方法を提供し、該方法は以下のステップを含む。
(i)口内封止が歯茎に達するまで経口エアウェイデバイスの遠位端を患者の口の中に設置し、口内封止の上で患者の口を閉鎖する。
(ii)経口エアウェイデバイスの近位端をエアウェイ本体上のコネクタを介して呼吸回路または麻酔回路に連結させて100%の酸素を送達する。
(iii)患者の鼻をクリップで留める、もしくはつまむ、または患者に自身の鼻孔を閉じ、口を通して呼吸するように要求する。
この方法は、フェイスマスクから呼吸することを拒む閉所恐怖症の患者に特に有益である。麻酔科医は特に麻酔前の緊急事態においては決まって患者を予備酸化する。
またさらなる態様から、本発明は、挿管された患者の医療を高める手助けをするために、本明細書に説明された経口エアウェイデバイスを使用する方法を提供し、該方法は以下のステップを含む。
(i)本明細書に説明されたETTロッキングデバイスをエアウェイ本体上のコネクタに取り付ける。
(ii)取り外し可能な口内板を経口エアウェイデバイスのコネクタ上の溝の中に取り付ける。
(iii)気管内チューブの上に取り付けられた口内板およびロッキングデバイスを備えた経口エアウェイデバイスを装着し、経口エアウェイデバイスを抜管前に気管内チューブの近位端に摺動させる。
(iv)患者に挿管する。
(v)エアウェイ本体の直線部分が患者の上歯と下歯または歯がない場合は歯茎との間に据えられるまで、経口エアウェイデバイスおよび係合装置を気管内チューブに沿って摺動させる。
(vi)経口エアウェイデバイスの口内板を患者の唇の外側に位置付け、口を塞がないようにその長軸は頭からつま先の方向に向ける。
(vii)気管内チューブをロッキングデバイスの指部にテープで貼るか紐で結ぶ。
(viii)経口エアウェイデバイスを患者の顔にテープで貼る、または最初に紐を患者の首の周りに輪にした後に経口エアウェイデバイスを紐で結ぶ。
挿管前に経口エアウェイデバイスを気管内チューブの近位端に摺動させることにより、経口エアウェイデバイスはバイトブロックとして働くことができる。ステップ(vi)において患者の唇の外側に位置付けられた口内板は、エアウェイ本体が患者に結び付けられたときにクッションとして機能する。
深い抜管は、気管チューブの存在、およびその除去によってもたらされる有害反射を回避するために、より高い低換気および上気道閉塞の危険性を犠牲にして行われる。深い抜管では、気管内チューブは、患者がまだ麻酔状態におり、気道防御反射が戻る前に患者から取り除かれる。ETTはロッキングデバイスで固定され、「深い抜管」またはより安全な「深い抜管」は、ETTおよびロッキングデバイスは気道反射が戻る前に取り除かれ、麻酔回路または呼吸回路が経口エアウェイデバイスに連結され、口内板が患者の唇と歯または歯茎との間に位置付けられるような、上記の方法で促進される。
またさらなる態様から、本発明は、患者の深い抜管のために本明細書に説明された多目的経口エアウェイデバイスを使用する方法を提供し、該方法は以下のステップを含む。
(i)本明細書に説明されたETTロッキングデバイスをエアウェイ本体上のコネクタに取り付ける。
(ii)気管内チューブの上に、取り付けられた口内板およびロッキングデバイスを備えた経口エアウェイデバイスを装着し、経口エアウェイデバイスを挿管前に気管内チューブの近位端に摺動させる。
(iii)患者に挿管する。
(iv)エアウェイ本体が患者の上歯と下歯または歯がない場合は歯茎との間に据えられるように、経口エアウェイデバイスおよび係合装置を気管内チューブに摺動させて下げて戻す。
(v)気管内チューブをロッキングデバイスの指部にテープで貼るか紐で結ぶ。
(vi)経口エアウェイデバイスを患者の顔にテープで貼る、または最初に紐を患者の首の周りに輪にした後に経口エアウェイデバイスを紐で結ぶ。
(vii)抜管時に、経口エアウェイデバイスの口内板を患者の歯茎または歯と唇との間に位置付ける。
(viii)準備が整ったとき、患者から、また経口エアウェイから気管内チューブおよびロッキングデバイスを引くことにより患者から抜管する。
さらなる恣意的なステップには、唇および頬と歯茎および歯との間に板を挿入する前に吸引すること、ならびに恣意的に陽圧呼吸を施すために麻酔回路または呼吸回路を経口エアウェイデバイスの遠位端に連結することが含まれる。
またさらなる態様から、本発明は、ETTが多目的経口エアウェイデバイスなしに単独で使用されるとき、患者の円滑、かつ/または深い抜管のために本明細書に説明された自己保持および自己封止する板を使用する方法を提供し、該方法は以下のステップを含む。
(i)板をETT上に装着する。ETTのパイロット・バルーン・チューブはその近位端近くからETTを出て、板をETTの近位端に押圧する。
(ii)患者に挿管する。
(iii)ETTを患者の顔にテープで貼る、または最初に紐を患者の首の周りに輪にした後にETTを紐で結ぶ。
(iv)抜管時に、口内板を患者の歯茎または歯と唇との間に位置付ける。
(v)準備が整ったとき、気管および咽頭から気管内チューブを引き出すことにより患者から抜管し、咽頭内に遠位端を残す。
(vi)ここでETTを口腔咽頭エアウェイとして使用でき、またはさらに引き抜いて経口エアウェイとして使用できる。
さらなる恣意的なステップには、唇および頬と歯茎および歯との間に板を挿入する前に吸引すること、ならびに恣意的に陽圧呼吸を施すために麻酔回路または呼吸回路をETTの遠位端に連結することが含まれる。
本発明は、LMA上のカフがLMAの封止に失敗した、または麻酔科医が咽頭痛の危険性を低減させるためにカフを膨張させることを選択しなかった、いずれかのためにLMAを使用するとき、陽圧呼吸を促進するために本明細書に説明された自己保持および自己封止する板を使用する方法をさらに提供し、該方法は以下のステップを含む。
(i)板を特別に適合されたLMA上に近位端から装着する。LMAのパイロット・バルーン・チューブはLMAの近位端から出る。
(ii)LMAを患者に挿入する。
(iii)口内板を患者の歯茎または歯と唇との間に位置付ける。
(iv)LMAを患者の顔にテープで貼る、または最初に紐を患者の首の周りに輪にした後にLMAを紐で結ぶ。
(v)陽圧呼吸のために鼻を塞ぐデバイスを適用する。
(vi)準備が整ったとき、LMAを取り除く。
本発明は、無意識の患者の蘇生中に陽圧呼吸を促進するために、本明細書に説明された口腔咽頭エアウェイデバイスを使用する方法をさらに提供し、該方法は以下のステップを含む。
(i)取り外し可能な口内板をエアウェイ本体上のコネクタ内の溝の上に篏合させる。
(ii)口腔咽頭エアウェイ本体の遠位端を患者の口を介して患者の中咽頭の中に設置する。
(iii)口腔咽頭エアウェイデバイスの近位端をエアウェイ本体上のコネクタを介して呼吸回路または麻酔回路に、あるいは気道陽圧呼吸のために口用1方向流体フィルターに連結する。
(iv)患者の鼻孔を閉じるために患者の鼻をクリップで留める、またはつまむ。
またさらなる態様から、本発明は、麻酔が掛かった患者の光ファイバー挿管のために本明細書に説明された口腔咽頭エアウェイデバイスを使用する方法を提供する。
(i)取り外し可能な口内板をエアウェイ本体上のコネクタ内の溝の上に篏合する。
(ii)口腔咽頭エアウェイデバイスを患者の口を介して患者の中咽頭の中に設置する。
(iii)麻酔回路を口腔咽頭エアウェイデバイスのコネクタに連結する。
(iv)患者の鼻孔をつまむ、またはクリップで留める。
(v)専用エアウェイ交換カテーテル(例えばAintreeもしくはCook医療専用エアウェイ交換カテーテル)を光ファイバー気管支鏡上に装着する。
(vi)光ファイバー気管支鏡を自己封止する孔を備えた専用エアウェイコネクタを通し、口腔咽頭エアウェイデバイスを通して患者の咽頭および気管の中に挿入する。
(vii)光ファイバー気管支鏡の上でエアウェイ交換カテーテルを気管の中に進める。
(viii)光ファイバー気管支鏡を取り除く。
(ix)一時的に麻酔回路を口腔咽頭エアウェイデバイスから取り外し、エアウェイ交換カテーテルの上で気管内チューブを気管の中に押し込む。
(x)エアウェイ交換カテーテルを取り除き、麻酔回路を気管内チューブに連結する。
また本明細書に説明された口腔咽頭エアウェイデバイスを、覚醒した患者の光ファイバー挿管に使用してもよい。
次に本発明による多目的エアウェイデバイスの実施形態を示す添付図面を参照して、本発明について説明する。
成人に適切な本発明による好ましい多目的経口エアウェイデバイスの斜視図である。 図1aの多目的経口エアウェイデバイスの別の斜視図である。 口内封止が取り付けられた図1aおよび図1bの多目的経口エアウェイデバイスの斜視図である。 図2の平面図である。 図2の側面図である。 成人に適切な本発明による好ましい多目的口腔咽頭エアウェイデバイスの斜視図である。 図5aの多目的経口エアウェイデバイスの別の斜視図である。 口内封止を取り付けられた図5aおよび図5bの多目的エアウェイデバイスの斜視図である。 口内封止を取り付けられた図5aおよび図5bの多目的エアウェイデバイスの側面図である。 口内封止を取り付けられた図5aおよび図5bの多目的エアウェイデバイスの平面図である。 近位端から見た図5aの多目的経口エアウェイデバイスの端面図である。 遠位端から見た図5aの多目的経口エアウェイデバイスの端面図である。 好ましい取り外し可能な口内封止の斜視図である。 図5aおよび図5bの多目的エアウェイデバイスならびに好ましいETTロッキングデバイスの斜視図である。 図5aおよび図5bの多目的エアウェイデバイスならびに好ましいETTロッキングデバイスの斜視図である。 ETTを取り付けた図9bの斜視図である。 図9bの多目的エアウェイデバイスの平面図である。 図9bの多目的エアウェイデバイスの側面図である。 口内封止を取り外した小児に適した本発明による多目的経口エアウェイデバイスの斜視図である。 口内封止を取り外した小児に適した本発明による多目的経口エアウェイデバイスの側面図である。 口内封止を取り外した小児に適した本発明による多目的経口エアウェイデバイスの平面図である。 口内封止を取り付けた図12aの多目的経口エアウェイデバイスの斜視図である。 口内封止を取り付けた図12aの多目的経口エアウェイデバイスの斜視図である。 口内封止を取り外した小児に適した本発明による多目的口腔咽頭エアウェイデバイスの斜視図である。 口内封止を取り外した小児に適した本発明による多目的口腔咽頭エアウェイデバイスの側面図である。 口内封止を取り外した小児に適した本発明による多目的口腔咽頭エアウェイデバイスの平面図である。 口内封止を取り付けた図14aの多目的口腔咽頭エアウェイデバイスの斜視図である。 口内封止を取り付けた図14aの多目的口腔咽頭エアウェイデバイスの斜視図である。 コネクタ内に逆止弁を備えた図9aの多目的口腔咽頭エアウェイデバイスの断側面である。 コネクタ内に逆止弁を備えた図9aの多目的口腔咽頭エアウェイデバイスの断側面である。 本発明により、また成人に適した多目的経口エアウェイデバイスおよび口内封止の第5の実施形態の側面図である。 本発明により、また成人に適した多目的経口エアウェイデバイスおよび口内封止の第5の実施形態の平面図である。 本発明により、また成人に適した多目的経口エアウェイデバイスおよび口内封止の第5の実施形態の斜視図である。 口内封止のない図17〜図19の実施形態のエアウェイデバイスの側面図である。 口内封止のない図17〜図19の実施形態のエアウェイデバイスの平面図である。 口内封止のない図17〜図19の実施形態のエアウェイデバイスの斜視図である。 それぞれ図17〜図22の実施形態の組み立ておよび操作を示す、3つの連続した斜視図である。 それぞれ図17〜図22の実施形態の組み立ておよび操作を示す、3つの連続した斜視図である。 それぞれ図17〜図22の実施形態の組み立ておよび操作を示す、3つの連続した斜視図である。 図17〜図25の実施形態を患者の口の中にどのように挿入するかを示す側面図である。 図17〜図25の実施形態を患者の口の中にどのように適切な位置に配置するかを示す、図17〜図25の実施形態の側面図である。 本発明による多目的経口エアウェイデバイスの第6の実施形態の側面図である。 本発明による多目的経口エアウェイデバイスの第6の実施形態の平面図である。 本発明による多目的経口エアウェイデバイスの第6の実施形態の斜視図である。 口内封止がエアウェイデバイス上に組み立てることを示す第6の実施形態の斜視図である。 ETTロッキングデバイスが取り付けられることを示す第6の実施形態の斜視図である。 ETTロッキングデバイスが取り付けられた第6の実施形態を示す側面図である。 ETTロッキングデバイスが取り付けられた第6の実施形態を示す平面図である。 組み立てられたエアウェイデバイスおよび口内封止の第6の実施形態の斜視図であり、気管内チューブをそれに組み立て、患者の口の中に挿入される前の装置全体を示す図である。 含まれたチューブによって修正された第5の実施形態の端面図である。 含まれたチューブによって修正された第5の実施形態の断側面図である。 含まれたチューブによって修正された第5の実施形態の断側面図である。 第5の実施形態とともに使用される、含まれたチューブの側面図である。 第5の実施形態とともに使用される、含まれたチューブの側面図である。 第5の実施形態とともに使用される、含まれたチューブの断面図である。 第5の実施形態とともに使用される、含まれたチューブの端面図である。 第5の実施形態とともに使用される、含まれたチューブの端面図である。 修正された第5の実施形態のエアウェイデバイスの設置を示す図である。 本発明による第7の実施形態の一部分を形成する、ラリンジアルマスクエアウェイ(LMA)として公知の口内封止を含む、本発明によるエアウェイデバイスの斜視図である。 下咽頭内の咽頭(咽喉頭とも呼ばれる)の背後に位置付けられたラリンジアルマスクエアウェイ(LMA)として働く、患者の口内の適切な位置に配置された第7の実施形態の側面図である。 気管内チューブ(ETT)として機能する、口内封止を含む、本発明によるエアウェイデバイスの第8の実施形態の斜視図である。 患者の口および喉頭および気管内の適切な位置に配置された第8の実施形態の側面図である。 本発明のエアウェイデバイスを通って延在する第6の実施形態の断側面図である。 患者の口の中に挿入される図49に示されたような第6の実施形態の側面図である。 患者の口内の適切な位置に置かれた図49および図50に示されたような、第6の実施形態の側面図である。
図面を参照すると、類似の参照番号は類似の特徴を指す。図1〜図4では、概ね参照番号100で示された、本発明の一実施形態による多目的エアウェイデバイスが示されている。多目的エアウェイデバイス100は成人に適切な経口エアウェイデバイスであり、細長い管状エアウェイ本体101を備える。エアウェイ本体101は、その近位端が一体型バイトブロック103として機能するように適合された実質的な直線部102、遠位末端105を備えた湾曲した遠位部104、および挿管デバイス(図示せず)を受容するための中心チャネル106を有する。遠位末端105および湾曲した遠位部104は、患者の口内に多目的エアウェイデバイス100を設置することを促進する。
また経口エアウェイデバイス100は、エアウェイ本体101を受領するための中心孔131を有する、実質的に長円の無限大記号形の取り外し可能な口内封止130も有する。中心孔131は実質的に円形であり、口内封止130の短軸および長軸のそれぞれに対して中心に配置され、口内封止130を通る通路を提供する。取り外し可能な口内封止130は可撓性材料から作成され、患者の口の開口を封止するために患者の歯茎と唇との間に篏合するように適合される。無限大または蝶の形状により、口内封止130が患者の唇と歯茎との間の小帯を刺激することを低減する、または刺激を防止する。麻酔機器の取り付けを促すためのコネクタ120はエアウェイ本体101の近位端に取り付けられ、取り外し可能な口内封止130を受容するための溝121、およびエアウェイデバイスを患者に取り付けるための材料を受容するための溝122を有する。エアウェイ本体101は、取り外し可能な口内封止130がコネクタ120の溝121内に配置されるまで、取り外し可能な口内封止130の中心孔131を通過するように適合される。
エアウェイ本体101の実質的な直線部102の裏側は、使用中に舌に対する相対位置が水平外形を有し、舌と接触するその面積を増加するために口の輪郭に実質的に追従して下がる、声門表面を備える。遠位末端105は、舌を横切る圧力を分散することにより、経口エアウェイデバイス100を患者の口の中に設置する助けとなる、湾曲した裏側を有する。したがってまず多目的経口エアウェイデバイス100を逆さまに回転することなく、多目的経口エアウェイデバイス100を患者の中に設置することができる。
取り外し可能な口内封止130は、麻酔誘導の前後のいずれにも多目的エアウェイデバイス100とともに、または多目的エアウェイデバイス100と無関係に設置される。例えば多目的エアウェイデバイス100を麻酔誘導の後に口内封止130の孔131を通過させる。別法として、多目的エアウェイデバイス100は取り付けられた口内封止130とともに麻酔誘導の前に位置付けられる。
経口エアウェイデバイス100は以下の方法に従って使用される。全身麻酔の誘導の前に、経口エアウェイデバイス100の遠位端を患者の口の中に設置し、コネクタ120を介して呼吸回路または麻酔回路に連結する。次いで全身麻酔の誘導の後に、鼻孔を閉じるために患者の鼻をクリップで留める、またはつまむ。これにより、封止がフェイスマスクと患者の顔との間で達成できないはずである陽圧呼吸が可能になる。
次に図5a〜図8を参照すると、概ね参照番号200で示された、本発明の一実施形態による多目的口腔咽頭エアウェイデバイスが示されている。多目的エアウェイデバイス200は成人に適切であり、細長い管状エアウェイ本体201を備える。エアウェイ本体201は、その近位端が一体型バイトブロック203として機能するように適合された実質的な直線部202、遠位末端205を備えた湾曲した遠位部204、および挿管デバイス(図示せず)を受容するための中心チャネル206を有する。遠位末端205および湾曲した遠位部204は、患者の口および喉の中に多目的エアウェイデバイス200を設置することを促進する。
また口腔咽頭エアウェイデバイス200は、実質的に長円の蝶形の取り外し可能な口内封止130およびコネクタ120も有する。エアウェイ本体201は、取り外し可能な口内封止130がコネクタ120の溝121内に配置されるまで、取り外し可能な口内封止130の中心孔131を通過するように適合される。
エアウェイ本体201の実質的な直線部202の裏側は、使用中に舌に対する相対位置が水平外形を有し、舌と接触するその面積を増加するために口の輪郭に実質的に追従して下がる、声門表面を備える。これは舌が咽頭を塞ぐことを防止する補助をする。遠位末端205は、舌の後部を横切る圧力を分散することにより、口腔咽頭エアウェイデバイス200を患者の口および喉の中に設置する助けとなる、湾曲した裏側を有する。遠位末端205は、舌の後部を横切る圧力を分散することにより、口腔咽頭エアウェイデバイス200を患者の口および喉の中に設置する助けとなる、下方にずれたリム215を備える。したがってまず多目的口腔咽頭エアウェイデバイス200を逆さまに回転することなく、多目的口腔咽頭エアウェイデバイス200を患者の中に設置することができる。
取り外し可能な口内封止130は、麻酔誘導の後に多目的エアウェイデバイス200とともに、または多目的エアウェイデバイス200と無関係に設置される。例えば多目的エアウェイデバイス200を麻酔誘導の後に口内封止130の孔131を通過させる。別法として、多目的エアウェイデバイス200は取り付けられた口内封止130とともに麻酔誘導の後に位置付けられる。多目的口腔咽頭エアウェイデバイス200が患者の咽頭反射を活性化させることなく、麻酔のレベルが深くなるにしたがって徐々に進めることができるために、遠位末端205を患者の咽頭の中に進める、または咽頭から引き抜くことができる。
図9a〜図11に示されたように、ETTロッキングデバイス240は、典型的な押し回し式連結を使用して多目的エアウェイデバイス200のコネクタ120に取り付けられてもよい。ETTロッキングデバイス240は、コネクタ120の中に挿入するための中空シリンダ241、およびシリンダ241から延在し、図9cに示されたようにそれにETTを紐Tまたはテープで固定するスロット243を有する指部242を備える。ETTロッキングデバイス240をコネクタ120の中に挿入すると、スロット243を有する指部242のみがコネクタ120から突出する。
使用中に多目的エアウェイデバイス200は患者に固定され、ETTはETTロッキングデバイス240を介して多目的エアウェイデバイス200に固定される。これにより手術中のETTの操作を容易にすることができ、患者の顔に対していかなるテープも除去および再付着する必要が回避され、したがって患者の皮膚上での扱いがより容易になる。加えてこのようにETTを固定することにより、ETTが捻じれる危険性がなくなる。ETTを再設置する必要がある場合、ETTをETTロッキングデバイス240の指部242に固定するテープまたは紐Tは容易に解かれ、次いで再設置後に再度固定される。これは2管式ETTを使用するときに特に有益であるが、それは2管式ETTが手術中の再設置を頻繁に必要とするからである。
図16aおよび図16bは、コネクタ内に逆止弁250を備える、図9aの多目的口腔咽頭エアウェイデバイス200を示す。逆止弁250は蘇生のために使用されるレスキューマスク上に見いだされるものと同様である。
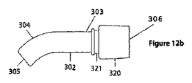
次に図12a〜図13bを参照すると、概ね参照番号300で示された、本発明の一実施形態による多目的経口エアウェイデバイスが示されている。多目的経口エアウェイデバイス300は小児に適しており、細長い管状エアウェイ本体301を備える。エアウェイ本体301は、その近位端が一体型バイトブロック303として機能するように適合された実質的な直線部302、遠位末端305を備えた湾曲した遠位部304、および挿管デバイス(図示せず)を受容するための中心チャネル306を有する。遠位末端305および湾曲した遠位部304は、患者の口の中に多目的経口エアウェイデバイス300を設置することを促進する。
また経口エアウェイデバイス300は、エアウェイ本体301を受領するための中心孔331を有する、実質的に長円の無限大記号形の取り外し可能な口内封止330も有する。中心孔331は実質的に円形であり、口内封止330の短軸および長軸のそれぞれに対して中心に配置され、口内封止330を通る通路を提供する。取り外し可能な口内封止330は可撓性材料から作成され、患者の口の開口を封止するために患者の歯茎と唇との間に篏合するように適合される。無限大または蝶の形状により、口内封止330が患者の唇と歯茎との間の小帯を刺激することを低減する、または刺激を防止する。小児用の口内封止330は、大きさが小さいことは別として、図7a、図7b、および図8に示されたような成人用の口内封止130と同様である。
麻酔機器の取り付けを促進するためのコネクタ320はエアウェイ本体301の近位端に取り付けられ、取り外し可能な口内封止330を受容するための溝321を有する。エアウェイ本体301は、取り外し可能な口内封止330がコネクタ320の溝321内に配置されるまで、取り外し可能な口内封止330の中心孔331を通過するように適合される。
エアウェイ本体301の実質的な直線部302の裏側は、使用中に舌に対する相対位置が水平外形を有し、舌と接触するその面積を増加するために口の輪郭に実質的に追従して下がる、声門表面を備える。
小児用サイズのコネクタ320は、雄コネクタとして呼吸回路に篏合するように、成人用コネクタ120に比べて低減された外径からなるのに対して、大きい外径の成人用サイズのコネクタ120は、呼吸回路に篏合するときに雌コネクタとして働く。
次に図14a〜図14c、図15a、および図15bを参照すると、概ね参照番号400で示された、本発明の一実施形態による多目的口腔咽頭エアウェイデバイスが示されている。多目的口腔咽頭エアウェイデバイス400は小児に適しており、細長い管状エアウェイ本体301を備える。エアウェイ本体301は、その近位端が一体型バイトブロック303として機能するように適合された実質的な直線部302、遠位末端305を備えた湾曲した遠位部304、および挿管デバイス(図示せず)を受容するための中心チャネル306を有する。遠位末端305および湾曲した遠位部304は、患者の口および喉の中に多目的口腔咽頭エアウェイデバイス400を設置することを促進する。
また口腔咽頭エアウェイデバイス400は、エアウェイ本体301を受領するための中心孔331を有する、実質的に長円の無限大記号形の取り外し可能な口内封止330も有する。中心孔331は実質的に円形であり、口内封止330の短軸および長軸のそれぞれに対して中心に配置され、口内封止330を通る通路を提供する。取り外し可能な口内封止330は可撓性材料から作成され、患者の口の開口を封止するために患者の歯茎と唇との間に篏合するように適合される。無限大または蝶の形状により、口内封止330が患者の唇と歯茎との間の小帯を刺激することを低減する、または刺激を防止する。小児用の口内封止330は、大きさが小さいことは別として、図7a、図7b、および図8に示されたような成人用の口内封止130と同様である。
麻酔機器の取り付けを促進するためのコネクタ320はエアウェイ本体301の近位端に取り付けられ、取り外し可能な口内封止330を受容するための溝321を有する。エアウェイ本体301は、取り外し可能な口内封止330がコネクタ320の溝321内に配置されるまで、取り外し可能な口内封止330の中心孔331を通過するように適合される。
エアウェイ本体301の実質的な直線部302の裏側は、使用中に舌に対する相対位置が水平外形を有し、舌と接触するその面積を増加するために口の輪郭に実質的に追従して下がる、声門表面を備える。これは舌が咽頭を塞ぐことを防止する補助をする。遠位末端305は、舌の後部を横切る圧力を分散することにより、口腔咽頭エアウェイデバイス400を患者の口および喉の中に設置する助けとなる、下方にずれたリム415を備える。したがってまず多目的口腔咽頭エアウェイデバイス400を逆さまに回転することなく、多目的口腔咽頭エアウェイデバイス400を患者の中に設置することができる。
小児用サイズのコネクタ320は、雄コネクタとして呼吸回路に篏合するように、成人用コネクタ120に比べて低減された外径からなるのに対して、大きい外径の成人用サイズのコネクタ120は、呼吸回路に篏合するときに雌コネクタとして働く。
次に多目的経口エアウェイデバイスおよび口内封止の第5の実施形態について、図17〜図27を参照して説明する。
これらの図では、概ね参照番号500で示された、本発明による多目的口腔咽頭エアウェイデバイスが示されている。多目的口腔咽頭エアウェイデバイス500は成人に適しており、細長い管状エアウェイ本体501を含む。エアウェイ本体501は、その近位端が一体型バイトブロック503として機能するように適合された実質的な直線部502、遠位末端505を備えた湾曲した遠位部504、および挿管デバイス(図示せず)を受容するための中心チャネル506を有する。遠位末端505および湾曲した遠位部504は、患者の口および喉の中に多目的口腔咽頭エアウェイデバイス500を設置することを促進する。遠位末端505は下方にずれたリム515を備える。
また口腔咽頭エアウェイデバイス500は、実質的に長円の蝶形の取り外し可能な口内封止530およびコネクタ520も有する。エアウェイ本体501は、取り外し可能な口内封止530がコネクタ520の溝521内に配置されるまで、取り外し可能な口内封止530の中心孔531を通過するように適合される。口内封止530は管状エアウェイ本体501の長軸に直角に延在し、両側が丸みを帯びた点535に向かって狭くなっている。リム540は、必要な固さや堅さを提供するように口内封止530の外周を巡って延在する。口内封止530を折り曲げ、患者の口内に配置する助けとなる、2つの中心凹状輪郭542は、リム540内に提供される。
エアウェイ本体501の実質的な直線部502の裏側は、使用中に舌に対する相対位置が水平外形を有し、舌と接触するその面積を増加するために口の輪郭に実質的に追従して下がる、声門表面を備える。これは舌が咽頭を塞ぐことを防止する補助をする。遠位末端505は、舌の後部を横切る圧力を分散することにより、口腔咽頭エアウェイデバイス500を患者の口および喉の中に設置する助けとなる、湾曲した裏側を有する。したがってまず多目的口腔咽頭エアウェイデバイス500を逆さまに回転することなく、多目的口腔咽頭エアウェイデバイス500を患者の中に設置することができる。また下方に延在するリム515は舌の後部と係合し、喉頭蓋の近位で終了する(図26および図27参照)。
多目的口腔咽頭エアウェイデバイス500の使用について図25〜図27を参照して説明する。多目的口腔咽頭エアウェイデバイス500を患者の口および喉の中に配置するために、麻酔科医は自身の指を使用して口内封止530の翼部532を遠位方向に遠位末端505に向かって押圧する。
次いでエアウェイ本体501は、遠位末端505およびリム515が舌TOと喉頭蓋Eとの間の領域内に置かれるまで、唇Lを通過し舌TOの上に挿入される。麻酔科医が口内封止530を押して唇Lを通過すると、麻酔科医は翼部532を放し、翼部532は患者の歯TEと唇Lとの間で正常な配向に跳ね返り、したがってガスの気密封鎖が生成される。
図28〜図35では、概ね参照番号600で示された、本発明の多目的経口エアウェイデバイスが示されている。多目的経口エアウェイデバイス600は成人に適しており、比較的短い管状エアウェイ本体601を含む。エアウェイ本体601は、その近位端が一体型バイトブロック603として機能するように適合された実質的な直線部602、遠位末端605、および挿管デバイス(図示せず)を受容するための中心チャネル606を有する。遠位末端605は、患者の口の中に多目的経口エアウェイデバイス600を設置することを促進する。
また多目的経口エアウェイデバイス600は、実質的に長円の蝶形の取り外し可能な口内封止630およびコネクタ620も有する。エアウェイ本体601は、取り外し可能な口内封止630がコネクタ620の溝621内に配置されるまで、取り外し可能な口内封止630の中心孔631を通過するように適合される。口内封止630は管状エアウェイ本体601の長軸に直角に延在し、両側が丸みを帯びた点635に向かって狭くなっている。リム640は、必要な固さや堅さを提供するように口内封止630の外周を巡って延在する。口内封止630を折り曲げ、患者の口内に配置する助けとなる、2つの中心凹状輪郭642(図に標されていない)は、リム640内に提供される。
エアウェイ本体601の実質的な直線部602の裏側は、使用中に舌に対する相対位置が水平外形を有し、口の輪郭に追従する声門表面を備える。
図32〜図35に示されたように、ETTロッキングデバイス650は、典型的な押し回し式連結を使用して多目的経口エアウェイデバイス600のコネクタ620に取り付けられてもよい。ETTロッキングデバイス650は、コネクタ620の中に挿入するための中空シリンダ651、およびシリンダ651から延在し、それにETTを紐またはテープで固定するスロット635を有する指部652を備える。ETTロッキングデバイス650をコネクタ620の中に挿入すると、スロット635を有する指部652のみがコネクタ620から突出する。
図49は、気管内チューブ800上に装着された封止630およびロッキングデバイス650を有するエアウェイデバイス600を示す。図50は気管TRに入る気管内チューブ800の遠位末端を示す。図51は、膨張され、患者の気管を封止する気管内チューブ800のカフを示す。封止630は患者の唇の外側に置かれ、口を塞がないようにその長軸は頭からつま先の方向に向ける。
使用中に多目的経口エアウェイデバイス600は患者に固定され、ETT800はETTロッキングデバイス650を介して多目的経口エアウェイデバイス600に固定される。これにより手術中のETTの操作を容易にすることができ、患者の顔に対していかなるテープも除去および再付着する必要が回避され、したがって患者の皮膚上での扱いがより容易になる。加えてこのようにETTを固定することにより、ETTが捻じれる危険性がなくなる。ETTを再設置する必要がある場合、ETT800をETTロッキングデバイス650の指部652に固定するテープまたは紐Tは容易に解かれ、次いで再設置後に再度固定される。これは2管式ETTを使用するときに特に有益であるが、それは2管式ETTが手術中の再設置を頻繁に必要とするからである。
次に口腔咽頭エアウェイデバイスの修正された第5の実施形態について図36〜図44を参照して説明する。多目的口腔咽頭エアウェイデバイス500の第5の実施形態は、管状エアウェイ本体501およびコネクタ520の中にぴたりと篏合する、分離した下咽頭チューブ660の提供によって修正される。下咽頭チューブ660は、多目的口腔咽頭エアウェイデバイス500の屈曲に追従するようにわずかに湾曲した本体662を備える。長円形状の開口664は下咽頭チューブ660の遠位端に片側に形成されるので、図44に示されたようにその場で、下咽頭チューブ660を通って流れる空気およびガスが患者の喉頭LXに向けられる。多目的口腔咽頭エアウェイデバイス500のコネクタ520内に完全に篏合するタブ670が、下咽頭チューブ660の近位端に提供される。下咽頭チューブ660を除去するために、麻酔科医は自身の指でタブ670を把持し、下咽頭チューブ660を多目的口腔咽頭エアウェイデバイス500から引っ張る。別法として麻酔科医は器具を使用して、タブ670を把持する、または堅固な係合を与えるためにタブ670内に提供されたオリフィス672内に係合し、下咽頭チューブ660を引っ張る。襟部674は、下咽頭チューブ660が多目的口腔咽頭エアウェイデバイス500の中に延び過ぎるのを防止する。麻酔回路が多目的口腔咽頭エアウェイデバイス500のコネクタ520に連結されると、タブ670は麻酔回路コネクタの内腔内に収容される。使用中に下咽頭チューブ660は、図44に示されたように喉頭蓋を超えて通り下咽頭の中に入る。これにより、多目的口腔咽頭エアウェイデバイス500と下咽頭チューブ660を組み合わせて「ハンズフリー」エアウェイにする。
次にラリンジアルマスクエアウェイ(LMA)デバイスである第7の実施形態について図45および図46を参照して説明する。遠位端のオリフィスパッド720ならびに装置の近位端の標準コネクタ725および726を有するLMA装置700は、コネクタ726に繋がる長さのパイロット・バルーン・チューブを管状本体711に組み込むことによって修正される。LMA装置710は、実質的に長円の蝶形の取り外し可能な口内封止730の提供によって修正され、この口内封止730は主管状本体711の上に篏合し、第5の実施形態500に関連して先に説明された作動に類似している。LMA装置700は、封止730が患者の唇Lと歯TEおよび歯茎Gとの間に配置されるように、図46に示されたように患者の中に同様の手法で据え付けられる。出口オリフィスパッド720は食道Eの頂部上に置かれ、空気およびガスが喉頭に直接向かうことができる。
気管内チューブ(ETT)として機能する第8の実施形態について図47および図48を参照して説明する。図47および図48に示されたように、ETTチューブ800は、遠位端における膨張可能なカフ820ならびに標準コネクタ825および826を有する。口内封止830は主管状本体811の上に篏合し、その場で使用されるときに患者の唇Lと歯TEおよび歯茎Gとの間に封止を形成する。膨張可能なカフ820は患者の気管TR内に配置され、膨張すると気管を封止する。ガスは主に終端開口から出て送達される。ETT上のオリフィス821はマーフィーアイと呼ばれ、ETTが気管支内の位置を行き過ぎるので遠位オリフィスが遮られる場合にそこに存在する。図50および図51は多目的経口エアウェイデバイス600を備えたETTチューブ800の使用を示す。封止630が患者の口の外側に配置され、口を塞がないように頭からつま先の方向に向けるように、封止630は多目的経口エアウェイデバイス600の長軸を中心に90°回転される。膨張可能なカフ820は必要な封止機能を提供する。
当然のことながら本発明は本明細書に説明されたような具体的な詳細に限定されず、それらの具体的な詳細は例として与えられたに過ぎず、様々な代替および修正が添付の特許請求の範囲に定義されたように本発明の範囲を逸脱することなく可能であることが理解されよう。

Claims (27)

  1. 患者の口の中に挿入するように適合された多目的エアウェイデバイスであって、
    (a)実質的に楕円形または実質的に円形断面の細長い管状エアウェイ本体であって、前記エアウェイ本体は、その近位端は一体型バイトブロックとして機能するように適合された実質的な直線部分と、遠位末端を備えた湾曲した遠位部と、酸素および麻酔ガスが通過するため、および挿管デバイスを受容するための中心チャネルとを有する、細長い管状エアウェイ本体と、
    (b)前記エアウェイ本体を受領するための孔を有する、内側から前記口を動的に封止するための、実質的に長円形状の取り外し可能な口内の自己保持および自己封止する板と、
    (c)コネクタへの呼吸または麻酔機器の取り付けを促進するための前記コネクタであって、前記コネクタは前記エアウェイ本体の前記近位端に取り付けられ、その外表面上に溝を有し、前記溝は前記取り外し可能な口内板を受容するための円形チャネルを形成する、コネクタと
    を備え、
    前記外周を巡る強化リムを備えた基本的に平坦な前記板は変形に抵抗し、第2のリムは前記中心孔を囲み、
    前記板は、弾性、剛性、および可撓性の必要な特性を所有する、ポリ塩化ビニル、ポリウレタン、シリコン、または何らかの他の弾性材料から構成される一体構造であるので、前記板は自己保持および自己封止し、その弾性により前記板をエアウェイデバイス上の適所に篏合し保持でき、前記患者の前記頬の内側に設置するために前記板の前記端部を親指と人差し指との間で圧迫でき、前記親指と前記人差し指によって開放されたときに前記頬によって圧迫され、前記頬の前記内側の前記湾曲した輪郭を追従するために押し付けられ、前記口を前記内側から動的に封止し、この封止効果は陽圧換気の間に前記板を前記口の前記内側に押圧する前記ガス圧によって高められ、
    前記板の前記外周リムと前記中心孔を囲む前記リムとの間で前記板は柔軟で可撓性であるので、前記板は前記頬および前記唇の前記柔軟に湿った平滑な粘膜に付着することによって前記口の開口を封止し、前記口内の板は前記上顎と前記下顎との間の前記大きい開口を封止せず、むしろ前記口の前記前庭の幅が前記口の開口の幅よりよりはるかに大きく、前記板の幅を前記口の開口の最大幅よりはるかに大きくすることができることに起因して、前記患者の前記口を封止し、
    それによって前記口角は特に良好に封止され、前記口角からガスが漏れない、多目的エアウェイデバイス。
  2. 前記エアウェイ本体の前記湾曲した遠位端は、実質的に患者の口蓋の屈曲に一致するが、前記患者の咽頭の中に延在しない、請求項1に記載の多目的エアウェイデバイス。
  3. 前記エアウェイ本体の前記湾曲した遠位端は、実質的に前記柔軟な口蓋と前記喉頭蓋の上縁部との間の前記患者の咽頭の部分の前記屈曲に一致する、請求項1に記載の多目的エアウェイデバイス。
  4. 前記取り外し可能な口内の自己保持および自己封止する板は、プラスチック、ゴム、シリコン、または他の可撓性材料、好ましくはポリ塩化ビニルから作成される、請求項1〜3のいずれか1項に記載の多目的エアウェイデバイス。
  5. 前記自己保持および自己封止する板は、概して平坦であり、前記口の開口よりはるかに大きい断面積であり、各端部は設置を助けるために矢印形状である、請求項1〜4のいずれか1項に記載の多目的エアウェイデバイス。
  6. 前記取り外し可能な可撓性の自己封止および自己保持する板は、基本的に平坦であり、前記口の開口より大きい断面積であり、前記形状は、前記口を開いたときに前記口に対応し、各端部は設置を助けるために開いたときに前記口角のような矢印形状である、請求項1〜5のいずれか1項に記載の多目的エアウェイデバイス。
  7. 前記板は、最初は前記患者の前記頬の内側の前記屈曲に変形するその「剛性率(剛性係数)」の結果として自己保持するが、その「応力・歪曲線」の傾斜が応力とともに増加することに起因して、さらなる変形に抵抗し、それによって次第に変形がより困難になり、したがって前記患者の前記口から飛び出さない、請求項1〜6のいずれか1項に記載の多目的エアウェイデバイス。
  8. 前記板は、前記板が速やかに常にその元の形状に戻ろうとするという点において、その復元力に起因して自己封止するので、前記板が封止する前記口の前記表面内の変形に継続して追従するという点において、前記板は前記患者の前記口の内側に動的封止を形成し、前記呼吸サイクルの異なる段階の間、前記口が大きさおよび形状の小さい変化を受けることがあるときに、それによって前記板は、前記口の開口が大きさおよび形状が変化する際に封止を維持し、前記封止効果は陽圧換気の間に前記板を前記頬の前記内側に押し付ける前記ガス圧によって高められる、請求項1〜7のいずれか1項に記載の多目的エアウェイデバイス。
  9. 前記選択された弾性材料は高い弾性限界を有するが、その作用範囲において可塑性を示さないので、前記患者の前記唇は、主に前記口輪筋の大部分により、前記唇が弛緩され収縮していないときでさえ巾着縫合糸として機能し、それによって前記板の前記外周を巡る前記リムは捻じれに抵抗し、前記口の前庭内の適所にあるとき前記口輪筋の外側に位置するので、陽圧呼吸の間でさえも前記板を保持し、前記板は、前記板の前記中心孔内を横断し堅固に把持された前記エアウェイデバイスにより、前記患者の前記唇および前記頬と前記歯茎および前記歯との間で前記口の前庭内の適切な位置でさらに支持され、適切な大きさの中心孔を備える板は各エアウェイデバイスに必要とされる、請求項1〜8のいずれか1項に記載の多目的エアウェイデバイス。
  10. 前記板は、小帯の上部および底部に適合するために、前記板の中心において上部および底部に切り欠きを有する、請求項1〜9のいずれか1項に記載の多目的エアウェイデバイス。
  11. 前記板は変形に耐えるので前記板は顎挙上に寄与し、それによって前記板が前記患者の前記口の前記前庭内の適切な位置にあり、前記板は前記頬の前記内側の前記輪郭に適合するために前記頬によって押し付けられ、変形に耐える際に前記上顎が固定され移動できないので、前記板は前記下顎に牽引力を掛け、これは、陽圧換気の間に前記エアウェイデバイスの前記遠位端から放出する圧力下のガスが前記板を前記内側から押圧するときに、高められる、請求項1〜10のいずれか1項に記載の多目的エアウェイ。
  12. 前記エアウェイ本体は、医療用ポリエチレン、ポリプロピレン、およびポリカーボネートの中から選択されたポリマー、好ましくはポリエチレンから製造される、請求項1〜11のいずれか1項に記載の多目的エアウェイデバイス。
  13. 前記取り外し可能な口内封止を受容するための前記溝は、前記取り外し可能な口内封止を前記エアウェイ本体に対して回転することができるように適合される、請求項1〜12のいずれか1項に記載の多目的エアウェイデバイス。
  14. 前記多目的エアウェイデバイスは小児の患者に適切な大きさからなり、前記エアウェイ本体は円形断面を有する、請求項1〜13のいずれか1項に記載の多目的エアウェイデバイス。
  15. 前記エアウェイ本体の内径は約7mm〜約40mmの範囲であり、例えば11.75mmである、請求項14に記載の多目的エアウェイデバイス。
  16. 前記多目的エアウェイデバイスは、成人の患者に適切な大きさからなり、前記エアウェイ本体は楕円形断面を有する、請求項1〜15のいずれか1項に記載の多目的エアウェイデバイス。
  17. 前記エアウェイ本体の外部共役直径は約15mm〜約50mmの範囲であり、例えば18.50mmである、請求項16に記載の多目的エアウェイデバイス。
  18. 前記エアウェイ本体の外部横径は、約15mm〜約50mmの範囲であり、例えば23.50mmである、請求項16または17に記載の多目的エアウェイデバイス。
  19. 前記エアウェイ本体の内径は、約10mm〜約45mmの範囲であり、例えば15.5mmである、請求項16〜18のいずれか1項に記載の多目的エアウェイデバイス。
  20. 前記コネクタは、紐材料を受容するための円形チャネルを提供する第2の溝を有する、請求項16〜19のいずれか1項に記載の多目的エアウェイデバイス。
  21. 前記ロッキングデバイスは、前記多目的エアウェイデバイスの前記コネクタの中に挿入するための中空シリンダおよび指部を備え、前記指部は前記シリンダから延在し、ETTが接着テープによって、または紐によって固定されてもよいスロットを有する、請求項1〜6のいずれか1項に記載の多目的エアウェイデバイスに取り付けるためのETTロッキングデバイス。
  22. 分離した下咽頭チューブは、前記管状エアウェイ本体および前記コネクタの中にぴたりと篏合し、前記管状エアウェイ本体の前記端部を超えて突出するために提供されるので、使用中に前記チューブは、患者の喉頭蓋を超えて通り前記下咽頭の中に入り、それによって前記デバイスを「ハンズフリー」エアウェイにする、請求項1〜21のいずれか1項に記載の多目的エアウェイデバイス。
  23. 前記下咽頭チューブは、前記エアウェイデバイスの前記屈曲に追従するように適合された細長い湾曲した本体を有し、開口は前記チューブの前記遠位端においてその片側に提供されるので、使用中に空気およびガスが前記患者の喉頭に直接向かう、請求項22に記載の多目的エアウェイデバイス。
  24. 把持タブは前記下咽頭チューブの前記近位端に提供され、前記把持タブは前記エアウェイデバイスの前記コネクタ内に完全に篏合するように適合される、請求項22または23に記載の多目的エアウェイデバイス。
  25. 前記把持タブは配置オリフィスを備える、請求項24に記載の多目的エアウェイデバイス。
  26. 細長い管状本体の前記遠位端にオリフィスパッドを備えた前記細長い管状本体、前記細長い管状本体の前記近位端における1つまたは複数のコネクタ、および内側から前記口を動的に封止するための実質的に長円形状の取り外し可能な口内の自己保持および自己封止する板であって、前記細長い管状本体を受領するための孔を有する板を有する、多目的エアウェイデバイス。
  27. 気管内チューブ(ETT)の前記遠位端に膨張可能なカフを備えた細長いETTチューブ、前記ETTチューブの前記近位端における1つまたは複数のコネクタを備える、患者の口の中に挿入するための多目的エアウェイデバイス。

JP2017512991A 2014-09-04 2015-09-01 多目的エアウェイデバイスのための封止機構 Expired - Fee Related JP6616828B2 (ja)

Applications Claiming Priority (3)

Application Number Priority Date Filing Date Title
EP14183563.7A EP2992919A1 (en) 2014-09-04 2014-09-04 Multipurpose airway device
EP14183563.7 2014-09-04
PCT/EP2015/069925 WO2016034572A1 (en) 2014-09-04 2015-09-01 Sealing mechanism for anaesthetic airway devices

Publications (3)

Publication Number Publication Date
JP2017527374A true JP2017527374A (ja) 2017-09-21
JP2017527374A5 JP2017527374A5 (ja) 2018-10-11
JP6616828B2 JP6616828B2 (ja) 2019-12-04

Family

ID=51564439

Family Applications (1)

Application Number Title Priority Date Filing Date
JP2017512991A Expired - Fee Related JP6616828B2 (ja) 2014-09-04 2015-09-01 多目的エアウェイデバイスのための封止機構

Country Status (12)

Country Link
US (1) US10709858B2 (ja)
EP (2) EP2992919A1 (ja)
JP (1) JP6616828B2 (ja)
AU (1) AU2015310984B2 (ja)
CA (1) CA2997226C (ja)
DK (1) DK3188781T3 (ja)
ES (1) ES2701864T3 (ja)
HR (1) HRP20190149T1 (ja)
HU (1) HUE042491T2 (ja)
PL (1) PL3188781T3 (ja)
PT (1) PT3188781T (ja)
WO (1) WO2016034572A1 (ja)

Cited By (2)

* Cited by examiner, † Cited by third party
Publication number Priority date Publication date Assignee Title
JP2020028504A (ja) * 2018-08-23 2020-02-27 一般社団法人 医科学総合研究所 呼吸器チューブの固定具、固定具製造装置、固定具製造プログラム、及び、コンピュータ読取可能な記録媒体
KR20200121585A (ko) * 2019-04-16 2020-10-26 녹원메디칼(주) 모듈식 기도 유지장치

Families Citing this family (17)

* Cited by examiner, † Cited by third party
Publication number Priority date Publication date Assignee Title
KR200486414Y1 (ko) * 2016-09-29 2018-05-15 최정환 의료용 튜브 홀더
CN106512162A (zh) * 2016-12-12 2017-03-22 合肥达米医疗科技有限公司 弱刺激气管导管固定型口咽通气道
JP6796558B2 (ja) * 2017-06-30 2020-12-09 美智義 讃岐 エアウェイ
US10631944B2 (en) 2017-10-26 2020-04-28 Brock Bodashefsky Oropharyngeal measurement device and method
IE87067B1 (en) * 2018-02-21 2019-11-13 Airway Medical Ltd Snorkel ventilating airway and bite block
US11000661B2 (en) 2018-09-24 2021-05-11 NPA Medical, LLC Nasopharyngeal airway device
EP3980103A4 (en) * 2019-06-07 2023-07-05 Scott Airway Management Pty Ltd. OROPHARYNGEAL DEVICE FOR MAINTAINING AIRWAY
AU2020302956A1 (en) * 2019-06-24 2022-02-17 Airway Medical Innovations S.L. Shielded intubation guide and method
USD903096S1 (en) * 2019-08-23 2020-11-24 Alexander Hotinsky Tongue release oro-pharyngeal airway
CN112439114A (zh) * 2019-09-03 2021-03-05 德克萨斯州大学系统董事会 用于建立畅通气道的咽管部
CN110448390B (zh) * 2019-09-04 2021-06-01 查君敬 一种气管插管病人用口腔灌洗辅助装置
US20220160981A1 (en) * 2020-11-24 2022-05-26 New York University System and Method For Inserting A Medical Device
US11040161B1 (en) 2020-11-27 2021-06-22 Phong Duy Bui Gastro-intestinal (G.I.) endoscopy mask and methods of making and using same
USD1048571S1 (en) 2021-10-07 2024-10-22 Masimo Corporation Bite block
US20240366070A1 (en) * 2023-05-05 2024-11-07 Intermed Labs Llc Oropharyngeal cannula compatible with bite guard
WO2025230939A1 (en) * 2024-04-29 2025-11-06 Baylor College Of Medicine Stabilizing rod
CN121016035B (zh) * 2025-09-01 2026-01-23 首都医科大学附属北京口腔医院 一种牙科患者麻醉用口咽通气道

Citations (3)

* Cited by examiner, † Cited by third party
Publication number Priority date Publication date Assignee Title
JP2000051357A (ja) * 1998-08-13 2000-02-22 Fisher & Paykel Ltd 加圧気体をユ―ザ―に供給するためのマウスピ―ス付き装置
JP2005535397A (ja) * 2002-08-14 2005-11-24 ナジール,ムハマド,アスラム 改良型エアウェイ装置
JP2007531595A (ja) * 2004-04-01 2007-11-08 ナマスク・インコーポレーテッド 大きなシール面積と多重シール形態を有する口腔内マウスピースを備えた呼吸マスク

Family Cites Families (13)

* Cited by examiner, † Cited by third party
Publication number Priority date Publication date Assignee Title
US4270531A (en) 1978-12-11 1981-06-02 Blachly Paul H Oropharyngeal airway and bite block assembly and method of use for closed pulmonary ventilation
US5443063A (en) * 1993-08-31 1995-08-22 The Johns Hopkins University Cuffed oro-pharyngeal airway
US6679257B1 (en) * 1998-08-13 2004-01-20 Fisher & Paykel Limited Breathing assistance apparatus
US20030121520A1 (en) * 2001-12-27 2003-07-03 Parker Lisa M. Mouthpiece to prevent air leakage and method for using the same
US6736139B1 (en) * 2003-02-20 2004-05-18 Mark Wix Ventilation mask assist device
US7866313B2 (en) * 2007-01-02 2011-01-11 Isen Innovations, Llc Oral airways that facilitate tracheal intubation
US20100170506A1 (en) * 2008-12-05 2010-07-08 Andres Pawels Oral device to facilitate the artificial pulmonary ventilation to an unconscious edentulous patients
US8434486B2 (en) * 2009-12-18 2013-05-07 Covidien Lp Supraglottic fixation device for endotracheal tubes
US8397730B2 (en) * 2010-02-16 2013-03-19 Covidien Lp Tracheal tube adaptor and flaring jig
US20130284181A1 (en) * 2011-02-01 2013-10-31 Phillip Benjamin Guerra Endotracheal tube system
WO2013173477A1 (en) * 2012-05-15 2013-11-21 The Regents Of The University Of California Combined bite block/oral airway/tongue depressor appliance
CH706950A1 (de) * 2012-08-31 2014-03-14 Michael Steffling Mundeinlage.
US20140216449A1 (en) * 2012-12-19 2014-08-07 Los Angeles Biomedical Research Institute At Harbor-Ucla Medical Center Device for surfactant administration and ventilation of low birth weight infants

Patent Citations (3)

* Cited by examiner, † Cited by third party
Publication number Priority date Publication date Assignee Title
JP2000051357A (ja) * 1998-08-13 2000-02-22 Fisher & Paykel Ltd 加圧気体をユ―ザ―に供給するためのマウスピ―ス付き装置
JP2005535397A (ja) * 2002-08-14 2005-11-24 ナジール,ムハマド,アスラム 改良型エアウェイ装置
JP2007531595A (ja) * 2004-04-01 2007-11-08 ナマスク・インコーポレーテッド 大きなシール面積と多重シール形態を有する口腔内マウスピースを備えた呼吸マスク

Cited By (4)

* Cited by examiner, † Cited by third party
Publication number Priority date Publication date Assignee Title
JP2020028504A (ja) * 2018-08-23 2020-02-27 一般社団法人 医科学総合研究所 呼吸器チューブの固定具、固定具製造装置、固定具製造プログラム、及び、コンピュータ読取可能な記録媒体
JP7107784B2 (ja) 2018-08-23 2022-07-27 一般社団法人 医科学総合研究所 呼吸器チューブの固定具、固定具製造装置、固定具製造プログラム、及び、コンピュータ読取可能な記録媒体
KR20200121585A (ko) * 2019-04-16 2020-10-26 녹원메디칼(주) 모듈식 기도 유지장치
KR102247185B1 (ko) * 2019-04-16 2021-05-04 녹원메디칼(주) 모듈식 기도 유지장치

Also Published As

Publication number Publication date
HUE042491T2 (hu) 2019-07-29
HRP20190149T1 (hr) 2019-03-22
DK3188781T3 (en) 2019-02-25
EP3188781B1 (en) 2018-11-07
WO2016034572A1 (en) 2016-03-10
CA2997226C (en) 2022-09-06
CA2997226A1 (en) 2016-03-10
AU2015310984B2 (en) 2019-07-18
AU2015310984A1 (en) 2017-03-16
EP2992919A1 (en) 2016-03-09
EP3188781A1 (en) 2017-07-12
PL3188781T3 (pl) 2019-01-31
US10709858B2 (en) 2020-07-14
US20190232008A1 (en) 2019-08-01
ES2701864T3 (es) 2019-02-26
JP6616828B2 (ja) 2019-12-04
PT3188781T (pt) 2019-01-24

Similar Documents

Publication Publication Date Title
JP6616828B2 (ja) 多目的エアウェイデバイスのための封止機構
US11623058B2 (en) Lower jaw thrusting, mandibular protracting, tongue holding, universal oropharyngeal airway device
US4848331A (en) Apparatus and method for pulmonary ventilation of a patient concurrent with fiberoptic respiratory tract examination and tracheal intubation
JP4468391B2 (ja) 気管内チューブ固定装置
US8640692B2 (en) Oropharyngeal device for assisting oral ventilation of a patient
US20180333553A1 (en) Apparatus, systems, and methods for accessing the airway with medical instruments without interruption of assisted respiration
US20050166928A1 (en) Methods and devices for maintaining an open airway
WO2019162024A1 (en) Snorkel ventilating airway and bite-block
US20180264220A1 (en) Seal Between Bag Valve Mask and Face, with Nasal Cannula
KR100777454B1 (ko) 기관튜브 고정장치
JP3503730B2 (ja) 救急蘇生用食道内エアウェイ
KR100902666B1 (ko) 기관튜브 고정장치
JP3539578B2 (ja) 人工呼吸用フェイスマスク
KR100902665B1 (ko) 기관튜브 고정장치
KR20150005827A (ko) 내시경용 기도유지장치
Gupta et al. Masks and Airways
Lavender et al. 6 Laryngeal Mask Airway AP
CN118615542A (zh) 潮汐式双气囊嘴罩及其组件
Anderson Airway Placement Procedures
CN105079932A (zh) 一种多功能气管插管
Myatra et al. Supraglottic Airway Devices
Bose Laryngeal mask airway insertion
SUNDAR BONAFIDE CERTIFICATE
CN114099885A (zh) 多用途插管固定器及操作方法
Wong et al. Emergency Airway Management

Legal Events

Date Code Title Description
A521 Request for written amendment filed

Free format text: JAPANESE INTERMEDIATE CODE: A523

Effective date: 20170427

A521 Request for written amendment filed

Free format text: JAPANESE INTERMEDIATE CODE: A523

Effective date: 20170728

A521 Request for written amendment filed

Free format text: JAPANESE INTERMEDIATE CODE: A523

Effective date: 20180829

A621 Written request for application examination

Free format text: JAPANESE INTERMEDIATE CODE: A621

Effective date: 20180829

A131 Notification of reasons for refusal

Free format text: JAPANESE INTERMEDIATE CODE: A131

Effective date: 20190702

A977 Report on retrieval

Free format text: JAPANESE INTERMEDIATE CODE: A971007

Effective date: 20190628

A521 Request for written amendment filed

Free format text: JAPANESE INTERMEDIATE CODE: A523

Effective date: 20190926

TRDD Decision of grant or rejection written
A01 Written decision to grant a patent or to grant a registration (utility model)

Free format text: JAPANESE INTERMEDIATE CODE: A01

Effective date: 20191105

A61 First payment of annual fees (during grant procedure)

Free format text: JAPANESE INTERMEDIATE CODE: A61

Effective date: 20191108

R150 Certificate of patent or registration of utility model

Ref document number: 6616828

Country of ref document: JP

Free format text: JAPANESE INTERMEDIATE CODE: R150

R250 Receipt of annual fees

Free format text: JAPANESE INTERMEDIATE CODE: R250

LAPS Cancellation because of no payment of annual fees